Întreţinere
Note: Determinați partea stângă și dreaptă a mașinii din poziția de operare normală.
Susținerea unității de tăiere
Oricând trebuie să înclinați unitatea de tăiere pentru a expune contracuțitul/cilindrul, sprijiniți spatele unității de tăiere pentru a asigura faptul că piulițele de la capătul posterior al șuruburilor de reglare pentru bara de cadru nu stau pe suprafața de lucru (Figura 12).

Specificații privind contracuțitul
Lucrări de service pentru contracuțit
Doar un mecanic instruit corespunzător poate realiza lucrări de service pentru bara de cadru și contracuțit, pentru a preveni deteriorarea cilindrului, barei de cadru sau contracuțitului. Se recomandă transportarea unității de tăiere la distribuitorul autorizat Toro pentru realizarea lucrărilor de service. Consultați Manual de service al unității de tracțiune pentru instrucțiuni complete, unelte speciale și diagrame pentru lucrările de service pentru contracuțit. În cazul în care trebuie să îndepărtați sau să montați bara de cadru pe cont propriu, instrucțiunile se regăsesc mai jos, alături de specificațiile privind lucrările de service pentru contracuțit.
Important: Respectați întotdeauna procedurile privind contracuțitul, detaliate în Manual de service, atunci când efectuați lucrări de service pentru contracuțit. Montarea și ascuțirea necorespunzătoare a contracuțitului poate duce la deteriorarea cilindrului, barei de cadru sau contracuțitului.
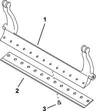
Îndepărtarea ansamblului bară de cadru/contracuțit
-
Rotiți șurubul de reglare pentru bara de cadru în sens invers acelor de ceasornic, pentru a îndepărta contracuțitul de cilindru (Figura 13).

-
Deșurubați piulița pentru tensionarea arcului până când șaiba nu mai este lipită de bara de cadru (Figura 13).
-
Pe fiecare latură a mașinii, slăbiți contrapiulița care fixează șurubul barei de cadru (Figura 14).

-
Îndepărtați fiecare șurub al barei de cadru, permițând tragerea în jos și îndepărtarea acesteia de pe unitatea de tăiere (Figura 14).
Asigurați-vă că la capătul barei de cadru există 2 șaibe din nailon și 1 șaibă din oțel (Figura 15).

-
Îndepărtați contracuțitul de la nivelul barei de cadru prin eliminarea tuturor șuruburilor care îl fixează. Utilizați o cheie tubulară cu unealta pentru înșurubarea contracuțitului (nr. piesă TOR510880).
Note: Puteți utiliza o cheie de impact mecanică sau pneumatică pentru a slăbi șuruburile contracuțitului.
Note: Eliminați contracuțitul și șuruburile.
Instalarea contracuțitului nou
-
Selectați un contracuțit nou în conformitate cu Diagrame de selectare a înălțimii de tăiere și a contracuțitului.
-
Îndepărtați urmele de rugină și de coroziune și depunerile de pe suprafața barei de cadru și aplicați un strat subțire de ulei pe suprafața barei de cadru.
Important: Nu îndepărtați materialul turnat de la nivelul barei de cadru. Prin concept, bara de cadru este concavă în centru; nu rectificați.
-
Curățați filetele de la nivelul barei de cadru.
-
Aplicați agent anti-blocare pe șuruburile noi ale contracuțitului și montați contracuțitul pe bara de cadru.
Important: Utilizați numai șuruburi noi pentru contracuțit.
Note: Cantitatea de șuruburi variază în funcție de bara de cadru.

-
Strângeți cele 2 șuruburi exterioare la un cuplu de 1 N∙m.
-
Începând din centrul contracuțitului, strângeți șuruburile la un cuplu de 25,9 +/- 1,4 N∙m.
Important: Nu strângeți șuruburile contracuțitului cu ajutorul unei chei de impact mecanice sau pneumatice.

-
Rectificați contracuțitul, consultați Specificații pentru rectificarea contracuțitului.
Specificații pentru rectificarea contracuțitului

| Unghi de aşezare pentru contracuțit (superior) | Consultați Diagrame de selectare a înălțimii de tăiere și a contracuțitului. |
| Interval unghi frontal | 13° - 17° |
| Unghi de așezare pentru contracuțit Fairway | 10° |
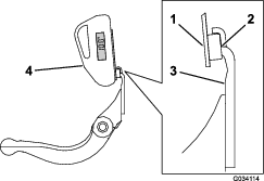
Verificarea unghiului de rectificare superior
Unghiul folosit pentru ascuțirea contracuțitelor este foarte important.
Folosiți indicatorul de unghi (nr. piesă Toro 131-6828) și suportul indicatorului de unghi (nr. piesă Toro 131-6829) pentru a verifica unghiul produs de rectificator și corectați orice eroare a acestuia.
-
Amplasați indicatorul de unghi în partea inferioară a contracuțitului, conform indicațiilor din Figura 19.

-
Apăsați butonul Alt Zero de pe indicatorul de unghi.
-
Amplasați suportul indicatorului de unghi pe marginea contracuțitului, astfel încât marginea magnetului să se îmbine cu marginea contracuțitului (Figura 20).
Note: La acest pas, afișajul digital trebuie să fie vizibil din aceeași parte ca la pasul 1.

-
Amplasați indicatorul de unghi pe suport, conform indicațiilor din Figura 20.
Note: Acesta este unghiul rectificatorului și trebuie să fie într-o marjă de 2 de grade față de unghi de rectificare superior recomandat.
Instalarea ansamblului bară de cadru/contracuțit
-
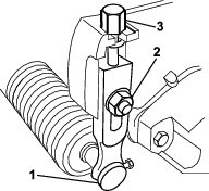
Instalați ansamblul bară de cadru/contracuțit, poziționând urechile de montare între șaibe și șurubul de reglare pentru bara de cadru (Figura 13).
Important: Centrați șuruburile de reglare DPA în urechile barei de cadru, așa cum se arată în Figura 21.Dacă șuruburile de reglare DPA sunt instalate lipite de urechile barei de cadru, acest lucru poate avea un efect negativ asupra contactului între contracuțit și cilindru.

-
Fixați bara de cadru de fiecare placă laterală, cu ajutorul șuruburilor barei de cadru (piulițe pe șuruburi) și 3 șaibe (6 în total).
-
Amplasați o șaibă din nailon pe fiecare parte a butucului plăcii laterale. Amplasați o șaibă din oțel în afara fiecărei șaibe din nailon (Figura 15).
-
Strângeți șuruburile barei de cadru la un cuplu de 27 – 36 N∙m.
-
Strângeți piulița până când eliminați jocul șaibelor din oțel, dar astfel încât acestea să poată fi rotite manual. Șaibele din interior pot lăsa un spațiu.
Important: Nu strângeţi excesiv contrapiuliţele, deoarece vor încovoia plăcile laterale.
-
Strângeți piulița pentru tensionarea arcului până când arcul este pliat, apoi deșurubați-o jumătate de rotație (Figura 22).

-
Reglați contracuțitul pe cilindru; consultați Reglarea contracuțitului pe cilindru.
Specificații pentru cilindru
Pregătirea cilindrului pentru rectificare
-
Asigurați-vă că toate componentele unității de tăiere sunt în stare bună și rectificați orice problemă înainte de rectificare.
-
Respectați instrucțiunile producătorului rectificatorului pentru cilindru, în vederea rectificării cilindrului de tăiere conform specificațiilor de mai jos.
Specificații pentru rectificarea cilindrului Diametru cilindru nou 128,5 mm Limită pentru reparații privind diametrul cilindrului 114,3 mm Unghi de aşezare a lamei 30° ± 5° Intervalul de lățime la sol a lamei 0,8 – 1,2 mm Limită pentru reparații privind diametrul conic al cilindrului 0,25 mm
Rectificare pentru detalonarea cilindrului
Noul cilindru are o lățime la sol între 0,8 și 1,2 mm și un unghi de rectificare de 30°.
Când lățimea la sol depășește 3 mm, luați următoarele măsuri:
-
Aplicați un unghi de rectificare 30° pentru toate lamele cilindrului, până când lățimea la sol atinge 0,8 mm (Figura 23).

-
Învârtiți cilindrul pentru a obține o bătaie a cilindrului de <0,025 mm.
Note: Acest lucru duce la o ușoară creștere a lățimii la sol.
-
Reglați unitatea de tăiere; consultați Manualul utilizatorului al unității de tăiere.
Note: Pentru a prelungi durata de timp în care marginea cilindrului și contracuțitului rămân ascuțite după operația de ascuțire a cilindrului și/sau a contracuțitului, verificați contactul dintre cilindru și contracuțit după ce tundeți iarba de pe 2 spații verzi, deoarece se vor îndepărta orice bavuri. Bavurile pot crea un spațiu inadecvat între cilindru și contracuțit, lucru care poate accelera uzura.
Suprapunerea inversă unității de tăiere
Pericol
Contactul cu cilindrul sau cu alte piese mobile poate duce la vătămare personală.
Ţineţi degetele, mâinile şi îmbrăcămintea la distanţă faţă de cilindri sau alte piese mobile.
-
Mențineți distanța față de cilindru în timpul suprapunerii inverse.
-
Nu folosiți niciodată o pensulă cu mâner scurt pentru suprapunerea inversă. Pensulele cu mâner lung sunt disponibile la distribuitorul autorizat Toro local.
-
Amplasați maşina pe o suprafaţă plană, curată, coborâţi unităţile de tăiere, opriţi motorul, cuplaţi frâna de parcare şi scoateţi cheia din contact.
-
Îndepărtați motoarele de cilindru de pe unitățile de tăiere și deconectați și îndepărtați unitățile de tăiere de pe brațele de ridicare.
-
Conectați mașina de suprapunere inversă de unitatea de tăiere prin inserarea unui butuc pătrat de ⅜" în cuplajul canelat de la capătul unității de tăiere.
Note: Instrucțiuni și proceduri suplimentare privind suprapunerea inversă sunt disponibile în Manualul utilizatorului unității de tracțiune și în Manualul Toro pentru ascuțirea cilindrului și mașinilor de tuns iarba rotative, Formular nr. 80-300PT.
Note: Pentru o margine de tăiere mai bună, piliți latura frontală a contracuțitului și cilindrului după finalizarea operațiunii de suprapunere. Acest lucru va îndepărta orice bavuri sau asperități care se pot forma pe marginea de tăiere.
Lucrări de service pentru rolă
Setul pentru reconstrucția mașinii cu role (nr. piesă 140-5552) și Setul de unelte pentru reconstrucția mașinii cu role (nr. piesă 140-5553) (Figura 24) sunt disponibile pentru lucrările de service pentru rolă. Setul pentru reconstrucția mașinii cu role include toți rulmenții, piulițele pentru rulmenți, garniturile de etanșare interioare și garniturile de etanșare exterioare pentru reconstruirea unei mașini cu role. Setul de unelte pentru reconstrucția mașinii cu role pentru gazon include toate uneltele și instrucțiunile de instalare necesare reconstrucției unei mașini cu role, cu ajutorul setului pentru reconstrucția mașinii cu role. Consultați catalogul de piese sau contractați distribuitorul autorizat Toro pentru asistență.



, care înseamnă
Atenţie, Avertisment sau Pericol – instrucţiune
privind siguranţa personală. Nerespectarea acestor instrucţiuni
poate cauza vătămări corporale sau moartea.









