Údržba
Note: Ľavá a pravá strana stroja sa určuje podľa bežnej prevádzkovej polohy.
Podpera rezacej jednotky
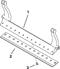
Vždy keď musíte nakloniť rezaciu jednotku, aby ste získali prístup k nožu plošiny/kotúču, podoprite zadnú časť rezacej jednotky a dbajte na to, aby matice na regulačných skrutkách na zadnom konci tyče plošiny neboli umiestnené na pracovnom povrchu (Obrázok 12).

Špecifikácie noža plošiny
Servis noža plošiny
Servis tyče plošiny a noža plošiny smie vykonávať len vhodne školený mechanik, aby sa predišlo poškodeniu kotúča, tyče plošiny alebo noža plošiny. V ideálnom prípade odneste rezaciu jednotku k autorizovanému distribútori spoločnosti Toro, aby vykonal servis. Úplné pokyny, informácie o špeciálnych nástrojoch a schémy na servis noža plošiny nájdete v servisnej príručke k trakčnej jednotke. Ak budete niekedy potrebovať sami demontovať alebo zmontovať tyč plošiny, pokyny spolu so špecifikáciami servisu noža plošiny nájdete nižšie.
Important: Pri vykonávaní servisu noža plošiny vždy dodržiavajte postupy týkajúce sa noža plošiny detailne uvedené v servisnej príručke. Nesprávna montáž a ostrenie noža plošiny môžu spôsobiť poškodenie kotúča, tyče plošiny alebo noža plošiny.
Demontáž tyče plošiny/Zostavenie noža plošiny
-
Otočením regulačnej skrutky tyče plošiny proti smeru hodinových ručičiek odsuňte nôž plošiny smerom od kotúča (Obrázok 13).

-
Uvoľňujte napínaciu maticu pružiny, kým sa neuvoľní napnutie podložky na tyči plošiny (Obrázok 13).
-
Na oboch stranách stroja uvoľnite poistnú maticu zaisťujúcu skrutku tyče plošiny (Obrázok 14).

-
Odskrutkujte všetky skrutky tyče plošiny, aby ste mohli tyč plošiny stiahnuť nadol a demontovať ju z rezacej jednotky (Obrázok 14).
Nastavte 2 nylonové a 1 oceľovú podložku na oboch koncoch tyče plošiny (Obrázok 15).

-
Odstráňte nôž plošiny z tyče plošiny tak, že odstránite všetky skrutky, ktoré ho držia na mieste. Použite nástrčný kľúč s nástrojom na skrutky noža plošiny (číslo dielu TOR510880).
Note: Na uvoľnenie skrutiek noža plošiny môžete použiť mechanický alebo pneumatický rázový kľúč.
Note: Nôž plošiny a skrutky zlikvidujte.
Montáž nového noža plošiny
-
Vyberte si nový nôž plošiny podľa Tabuľky výšky kosenia a výberu noža plošiny.
-
Odstráňte z povrchu tyče plošiny hrdzu a šupinky a naneste naň tenkú vrstvu oleja.
Important: Neodstraňujte materiál odliatku z tyče plošiny. Tyč plošiny je v strede konkávne vyhĺbená; nebrúste ju.
-
Vyčistite závity v tyči plošiny.
-
Na nové skrutky noža plošiny naneste prostriedok proti zasekávaniu a namontujte nôž plošiny na tyč plošiny.
Important: Používajte len nové skrutky noža plošiny.
Note: Množstvo skrutiek sa líši v závislosti od tyče plošiny.

-
2 vonkajšie skrutky utiahnite momentom 1 N∙m.
-
Smerom od stredu noža plošiny doťahujte skrutky momentom 25,9 +/- 1,4 N∙m.
Important: Skrutky noža plošiny nedoťahujte mechanickým alebo pneumatickým rázovým kľúčom.

-
Nový nôž plošiny nabrúste; pozri Špecifikácie ostrenia noža plošiny.
Špecifikácie ostrenia noža plošiny

| Uhol (vrchného) podbrúsenia noža plošiny | Pozrite si časť Tabuľky výšky kosenia a výberu noža plošiny. |
| Rozsah predného uhla | 13° až 17° |
| Predný uhol plochého noža Fairway | 10° |
Kontrola uhla vrchného podbrúsenia
Uhol, pri ktorom ostríte nože plošiny, je veľmi dôležitý.
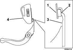
Na kontrolu uhla brúsky a následnú opravu akýchkoľvek nepresností pri ostrení používajte indikátor uhla (diel č. 131-6828 spoločnosti Toro) a držiak indikátora uhla (diel č. 131-6829 spoločnosti Toro).
-
Indikátor uhla umiestnite na spodnú časť noža plošiny, ako je znázornené na Obrázok 19.

-
Na indikátore uhla stlačte tlačidlo Alt+0.
-
Držiak indikátora uhla umiestnite na hranu noža plošiny tak, aby hrana magnetu lícovala s hranou noža plošiny (Obrázok 20).
Note: Digitálny displej by mal byť pri tomto kroku viditeľný z rovnakej strany ako pri kroku 1.

-
Indikátor uhla umiestnite na držiak, ako je znázornené na Obrázok 20.
Note: Tento uhol vytvára brúska a od odporúčaného uhla vrchného podbrúsenia by sa mal líšiť maximálne o 2 stupne.
Inštalácia zostavy tyče/noža plošiny
-
Namontujte tyč/nôž plošiny tak, že umiestníte montážne ušká medzi podložky a regulačnú skrutku tyče plošiny (Obrázok 13).
Important: Vycentrujte nastavovacie prvky DPA v uškách tyče plošiny, ako je znázornené na Obrázok 21.Ak sú nastavovacie prvky DPA namontované proti uškám tyče plošiny, môže to negatívne ovplyvniť kontakt noža plošiny s kotúčom.

-
Tyč plošiny zaistite na oboch bočných doskách pomocou skrutiek tyče plošiny (matice na skrutkách) a 3 podložiek (celkovo 6).
-
Na obe strany výčnelka bočnej dosky umiestnite nylonovú podložku. Na obe nylonové podložky zvonka umiestnite oceľové podložky (Obrázok 15).
-
Skrutky tyče plošiny dotiahnite momentom 27 až 36 N∙m.
-
Poistné matice uťahujte, kým sa oceľové podložky pevne nezaistia, no musíte ich byť stále schopní otočiť rukou. Podložky na vnútornej strane môžu mať medzeru.
Important: Poistné matice neuťahujte nadmerne, inak poškodia bočné dosky.
-
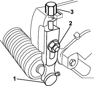
Uťahujte napínaciu maticu pružiny, kým sa pružina nestiahne, potom ju otočte späť o ½ otočky (Obrázok 22).

-
Nastavte nôž plošiny na kotúči. Pozrite si časť Nastavenie noža plošiny na kotúči.
Špecifikácie kotúča
Príprava kotúča na ostrenie
-
Dbajte na to, aby boli všetky súčasti rezacej jednotky v dobrom stave a pred ostrením odstráňte všetky nedostatky.
-
Pri ostrení rezacieho kotúča postupujte podľa pokynov od výrobcu brúsky kotúča a dodržte nasledujúce špecifikácie.
Špecifikácie ostrenia kotúča Nový priemer kotúča 128,5 mm Servisný limit priemeru kotúča 114,3 mm Uhol podbrúsenia čepele 30° ±5° Rozsah šírky plochy čepele 0,8 až 1,2 mm Servisný limit skosenia priemeru kotúča 0,25 mm
Podbrúsenie kotúča
Nový kotúč má šírku plochy 0,8 až 1,2 mm a uhol podbrúsenia 30°.
Ak je šírka plochy väčšia ako 3 mm, vykonajte tieto kroky:
-
Všetky čepele kotúča podbrusujte pod uhlom 30°, kým nebude šírka plochy 0,8 mm (Obrázok 23).

-
Pri ostrení kotúč otáčajte, aby ste dosiahli obrúsenie kotúča < 0,025 mm.
Note: Týmto spôsobom sa šírka plochy o niečo zväčší.
-
Upravte rezaciu jednotku. Pozrite si používateľskú príručku k rezacej jednotke.
Note: Ak chcete predĺžiť životnosť naostrenej hrany kotúča a noža plošiny po naostrení, po pokosení 2 greenov znova skontrolujte kontakt medzi kotúčom a nožom plošiny, či sa odstránili všetky drsné časti. Drsné časti môžu vytvárať nesprávnu vzdialenosť medzi kotúčom a nožom plošiny, čo môže urýchliť opotrebovanie.
Ostrenie rezacej jednotky
Nebezpečie
Kontakt s kotúčom alebo inými pohybujúcimi sa časťami môže mať za následok zranenie osôb.
Udržujte prsty, ruky a oblečenie v bezpečnej vzdialenosti od kotúčov alebo iných pohybujúcich sa častí.
-
Nepribližujte sa ku kotúču počas ostrenia.
-
Na ostrenie nikdy nepoužívajte štetec s krátkou rukoväťou. Štetce s dlhou rukoväťou vám poskytne miestny autorizovaný distribútor spoločnosti Toro.
-
Stroj zaparkujte na čistom, rovnom povrchu, spustite rezacie jednotky, vypnite motor, zatiahnite parkovaciu brzdu a vyberte kľúč zo zapaľovania.
-
Demontujte motory kotúča z rezacích jednotiek a odpojte a demontujte rezacie jednotky zo zdvíhacích ramien.
-
Pripojte k rezacej jednotke ostriaci nástroj tak, že do konca rezacej jednotky do drážkovanej spojky zasuniete kúsok ⅜" hranatého dielu.
Note: Ďalšie pokyny a postupy ostrenia nájdete v používateľskej príručke k trakčnej jednotke a v príručke k ostreniu kotúčov a rotačných kosačiek značky Toro, číslo formulára 80-300PT.
Note: Lepšiu reznú hranu dosiahnete tak, že po ostrení pilníkom na dokončenie ostrenia prejdete cez prednú stranu noža plošiny a kotúča. Odstránia sa tak všetky ostré alebo nerovné hrany, ktoré mohli vzniknúť na reznej hrane.
Servis valca
Na servis valca sú k dispozícii súprava na opravu valca (diel č. 140-5552) a súprava nástrojov na opravu valca (diel č. 140-5553) (Obrázok 24). Súprava na opravu valca zahŕňa všetky ložiská, matice ložísk, vnútorné a vonkajšie tesnenia na opravu valca. Súprava nástrojov na opravu valca zahŕňa všetky nástroje a pokyny na montáž potrebné na opravu valca pomocou súpravy na opravu valca. Pozrite si katalóg dielov alebo sa so žiadosťou o pomoc obráťte na autorizovaného distribútora spoločnosti Toro.



, ktorý znamená
Pozor, Výstraha alebo Nebezpečenstvo – osobné
bezpečnostné pokyny. Nedodržanie týchto
pokynov môže zapríčiniť zranenie
alebo smrť.









