Održavanje
Note: Odredite lijevu i desnu stranu uređaja s uobičajenog vozačeva položaja.
Podupiranje jedinice za rezanje
Kad god trebate nagnuti jedinicu za rezanje kako biste mogli pristupiti noževima ležišta ili cilindru, poduprite stražnji dio jedinice za rezanje kako biste osigurali da se matice na stražnjem kraju vijaka za podešavanje nosača noža ležišta ne naslanjaju na radnu površinu (Slika 12).

Specifikacije noža ležišta
Servisiranje noža ležišta
Nosač noža ležišta i noževe ležišta smije servisirati isključivo primjereno obučen mehaničar kako bi se spriječila oštećenja cilindra, nosača noža ležišta ili noža ležišta. Najbolje bi bilo dati jedinicu za rezanje na servis ovlaštenom distributeru tvrtke Toro. Pogledajte Priručnik za održavanje vučne jedinice za potpune upute, posebne alate i dijagrame za servisiranje noža ležišta. U nastavku su navedene upute za uklanjanje ili postavljanje nosača noža ležišta, ako to nekad budete morali učiniti sami, kao i specifikacije za servisiranje noža ležišta.
Important: Pri servisiranju noža ležišta uvijek primijenite postupke koji se odnose na nož ležišta navedene u Priručniku za održavanje. U slučaju neispravnog postavljanja i brušenja noža ležišta može doći do oštećenja cilindra, nosača noža ležišta ili noža ležišta.
Uklanjanje nosača noža ležišta/ sklopa noža ležišta
-
Okrenite vijak za podešavanje nosača noža ležišta u smjeru suprotnom od kazaljki na satu kako biste nož ležišta odmaknuli od cilindra (Slika 13).

-
Izvlačite maticu s oprugom sve dok podloška više ne bude priljubljena uz nosač noža ležišta (Slika 13).
-
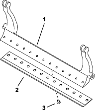
Otpustite sigurnosnu maticu koja učvršćuje vijak nosača noža ležišta na svakoj strani uređaja (Slika 14).

-
Uklonite vijke nosača noža ležišta kako biste mogli povući nosač noža ležišta prema dolje i ukloniti ga iz jedinice za rezanje (Slika 14).
Pripazite na 2 najlonske podloške i 1 čeličnu podlošku sa svake strane nosača noža ležišta (Slika 15).

-
Uklonite nož ležišta s nosača noža ležišta tako da izvadite sve vijke kojim je pričvršćen. Upotrijebite nasadni ključ s alatom za vijke noža ležišta (dio br. TOR510880).
Note: Za otpuštanje vijaka noža ležišta možete upotrijebiti mehanički ili pneumatski udarni ključ.
Note: Nož ležišta i vijke bacite.
Postavljanje novog noža ležišta
-
Odaberite novi nož ležišta prema Tablice visine košnje i odabira noža ležišta.
-
Uklonite hrđu, strugotine i koroziju s površine nosača noža ležišta i nanesite tanak sloj ulja na površinu nosača noža ležišta.
Important: Ne uklanjajte lijevani materijal s nosača noža ležišta. Nosač noža ležišta konkavan je u sredini; nemojte ga brusiti.
-
Očistite navoje na nosaču noža ležišta.
-
Nanesite sredstvo protiv zaribavanja na vijke novog noža ležišta i postavite nož ležišta na nosač noža ležišta.
Important: Upotrijebite samo vijke novog noža ležišta.
Note: Broj vijaka ovisi o nosaču noža ležišta.

-
Pritegnite 2 vanjska vijka na 1 Nm.
-
Počevši od središta noža ležišta, pritegnite vijke na 25,9 +/- 1,4 Nm.
Important: Ne pritežite vijke noža ležišta s pomoću mehaničkog ili pneumatskog udarnog ključa.

-
Izbrusite novi nož ležišta; pogledajte Specifikacije za brušenje noža ležišta.
Specifikacije za brušenje noža ležišta

| (Gornji) kut brušenja noža ležišta | Pogledajte Tablice visine košnje i odabira noža ležišta. |
| Raspon prednjeg kuta | 13° do 17° |
| Prednji kut noža ležišta za fairway | 10° |
Provjera gornjeg kuta brušenja
Kut koji primjenjujete pri brušenju noževa ležišta vrlo je važan.
Upotrijebite indikator nagiba (Toro dio br. 131-6828) i nosač indikatora nagiba (Toro dio br. 131-6829) da biste provjerili kut brušenja, a zatim ispravite kut ako je brušenje neprecizno.
-
Postavite indikator nagiba na donju stranu noža ležišta kako prikazuje Slika 19.

-
Pritisnite gumb Alt Zero (Nulta točka) na indikatoru nagiba.
-
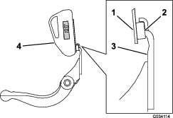
Postavite nosač indikatora nagiba na rub noža ležišta tako da je rub magneta priljubljen uz rub noža ležišta (Slika 20).
Note: Digitalni zaslon trebao bi biti vidljiv na istoj strani u tom koraku kao i u koraku 1.

-
Postavite indikator nagiba na nosač kako prikazuje Slika 20.
Note: To je kut koji dobivate brušenjem, a mora biti unutar 2 stupnja od preporučenog gornjeg kuta brušenja noža ležišta.
Postavljanje sklopa nosača noža ležišta / noža ležišta
-
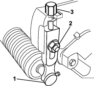
Postavite sklop nosača noža ležišta / noža ležišta postavljanjem krilca za montažu između podložaka i vijka za podešavanje nosača noža ležišta (Slika 13).
Important: Postavite DPA podešivače centralno između krilca nosača noža ležišta kako prikazuje Slika 21.Ako se DPA podešivače postavi uz krilca nosača noža ležišta, to može negativno utjecati na dodirne točke noža ležišta i cilindra.

-
Pričvrstite nosač noža ležišta na svaku bočnu ploču upotrebom vijaka nosača noža ležišta (matice na vijcima) i 3 podloške (ukupno 6).
-
Postavite najlonsku podlošku na svaku stranu izdignute površine na bočnoj ploči. Postavite čeličnu podlošku s vanjske strane svake najlonske podloške (Slika 15).
-
Pritegnite vijke nosača noža ležišta na 27 do 36 Nm.
-
Pritegnite sigurnosne matice sve dok se čelične podloške ne prestanu okretati, ali ih možete okretati rukom. Kod podloški s unutarnje strane moguć je razmak.
Important: Nemojte prejako zategnuti sigurnosne matice jer će doći do savijanja bočnih ploča.
-
Pritegnite maticu za pritezanje opruge sve dok opruga nije u potpunosti skupljena, a zatim vratite za 1/2 okreta (Slika 22).

-
Podesite nož ležišta na cilindar; pogledajte Podešavanje noža ležišta na cilindar.
Specifikacije cilindra
Priprema cilindra za brušenje
-
Provjerite jesu li svi dijelovi jedinice za rezanje u ispravnom stanju i ispravite eventualne probleme prije brušenja.
-
Slijedite upute proizvođača alata za brušenje cilindra da biste izbrusili cilindar jedinice za rezanje u skladu sa sljedećim specifikacijama.
Specifikacije za brušenje cilindra Promjer novog cilindra 128,5 mm Promjer cilindra – ograničenje za servis 114,3 mm Kut brušenja oštrice 30° ± 5° Raspon širine oboda oštrice 0,8 do 1,2 mm Razlika u promjeru cilindra – ograničenje za servis 0,25 mm
Natražno brušenje cilindra
Novi cilindar ima širinu oboda od 0,8 do 1,2 mm i kut brušenja od 30°.
Kad širina oboda postane veća od 3 mm, učinite sljedeće:
-
Pod kutom od 30° izbrusite sve noževe cilindra dok širina dodirne površine ne bude 0,8 mm (Slika 23).

-
Metodom ravnog brušenja izbrusite cilindar kako bi odstupanje cilindra bilo <0,025 mm.
Note: Pritom dolazi do blagog povećanja oboda.
-
Podesite jedinicu za rezanje; pročitajte Upute za upotrebu jedinice za rezanje.
Note: Da bi rub cilindra i nož ležišta bili što dulje oštri, kad dovršite brušenje cilindra i/ili noža ležišta, ponovno provjerite dodirnu točku cilindra i noža ležišta nakon košnje 2 greena jer će se pritom otkloniti eventualni grubi rubovi. Grubi rubovi mogu dovesti do pojave neispravnog razmaka između cilindra i noža ležišta te ubrzati trošenje.
Oštrenje jedinice za rezanje
Opasnost
Dodirivanje cilindara ili drugih dijelova u pokretu može dovesti do tjelesnih ozljeda.
Držite prste, ruke i odjeću podalje od cilindara i drugih pomičnih dijelova.
-
Držite se podalje od cilindra pri oštrenju.
-
Nikad nemojte upotrebljavati kist s kratkom ručkom za oštrenje. Kistovi s dugačkom ručkom dostupni su kod lokalnog ovlaštenog distruibutera tvrtke Toro.
-
Postavite uređaj na čistu, ravnu površinu, spustite jedinice za rezanje, zaustavite motor, aktivirajte ručnu kočnicu i izvadite ključ za paljenje.
-
Uklonite motore cilindara iz jedinica za rezanje i odspojite i skinite jedinice za rezanje s poluga za podizanje.
-
Spojite uređaj za oštrenje na jedinicu za rezanje umetanjem kvadratnog oslonca veličine 9,5 mm u spojnicu sa žlijebovima na kraju jedinice za rezanje.
Note: Dodatne upute za oštrenje i povezani postupci dostupni su u Uputama za upotrebu vučne jedinice i u Priručniku Toro za oštrenje cilindričnih i rotacijskih kosilica, br. obrasca 80-300PT.
Note: Kako biste bolje naoštrili oštrice, nakon oštrenja prođite turpijom preko prednje strane noža ležišta i cilindra. Time će se ukloniti sve izbočine ili grubi rubovi koji su se možda stvorili na oštrici.
Servisiranje valjka
Za servisiranje valjka dostupni su komplet za popravak valjka (dio br. 140-5552) i komplet alata za popravak valjka (dio br. 140-5553) (Slika 24). Komplet za popravak valjka sadržava sve ležajeve, matice ležajeva te unutarnje i vanjske brtve potrebne za popravak valjka. Komplet alata za popravak valjka za travu sadržava sve potrebne alate i upute za popravak valjka s pomoću kompleta za popravak. Pogledajte katalog dijelova ili se obratite ovlaštenom distributeru tvrtke Toro za pomoć.



, koji označava Oprez,
Upozorenje ili Opasnost – upute za osobnu sigurnost. Nepridržavanje
uputa može dovesti do tjelesnih ozljeda ili smrti.









