Kunnossapito
Note: Koneen vasen ja oikea puoli määritellään normaalista käyttöasennosta käsin.
Leikkuuyksikön tukeminen
Jos leikkuuyksikköä on kallistettava kiinteän terän / kelan esiin saamiseksi, nosta leikkuuyksikön takaosa tuen varaan siten, että runkopalkin säätöpulttien takaosan mutterit eivät nojaa työpintaan (Kuva 12).

Kiinteän terän tiedot
Kiinteän terän huolto
Vain asianmukaisesti koulutettu mekaanikko saa huoltaa runkopalkin ja kiinteän terän, jotta kela, runkopalkki tai kiinteä terä eivät vaurioidu. Leikkuuyksikkö on paras huollattaa valtuutetulla Toro-jälleenmyyjällä. Kattavat ohjeet, erikoistyökalut ja kaaviot kiinteän terän huoltoon ovat ajoyksikön huolto-oppaassa. Jos runkopalkki on irrotettava tai koottava itse, alla on tähän ohjeet sekä lisäksi kiinteän terän huoltotiedot.
Important: Noudata huolto-oppaan kiinteän terän huoltomenettelyä sitä huollettaessa. Jos kiinteää terää ei asenneta ja hiota oikein, kela, runkopalkki tai kiinteä terä saattavat vaurioitua.
Runkopalkin irrotus/ kiinteän terän kokoonpano
-
Käännä runkopalkin säätöruuvia vastapäivään, jotta kiinteä terä siirtyy etäämmälle kelasta (Kuva 13).

-
Löysää jousen kiristysmutteria, kunnes aluslaatta ei ole enää painunut runkopalkkia vasten (Kuva 13).
-
Löysää runkopalkin pultin lukkomutteria koneen molemmilta puolilta (Kuva 14).

-
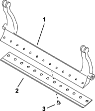
Irrota kaikki runkopalkin pultit, jotta runkopalkki voidaan vetää alaspäin ja irrottaa leikkuuyksiköstä (Kuva 14).
Ota talteen kaksi nailonista aluslaattaa ja yksi teräsaluslaatta runkopalkin kummastakin päästä (Kuva 15).

-
Irrota kiinteä terä runkopalkista irrottamalla neljä ruuvia, joilla se on kiinnitetty. Käytä hylsyavainta kiinteän terän ruuvaustyökalun (osanro TOR510880) kanssa.
Note: Voit käyttää mekaanista tai pneumaattista iskuavainta kiinteän terän ruuvien löysäämiseen.
Note: Hävitä kiinteä terä ja ruuvit.
Uuden kiinteän terän asennus
-
Valitse uusi kiinteä terä taulukon (Leikkuukorkeuden ja kiinteän terän valintataulukot) mukaisesti.
-
Poista ruoste, karsta ja korroosio runkopalkin pinnasta ja levitä ohut kerros öljyä runkopalkin pinnalle.
Important: Älä poista valuosan materiaalia runkopalkista. Runkopalkin kuuluu olla keskeltä kovera. Älä hio.
-
Puhdista runkopalkin kierteet.
-
Levitä kiinteän terän ruuveihin lukkiintumisen estoainetta ja asenna kiinteä terä runkopalkkiin.
Important: Käytä vain uusia kiinteän terän ruuveja.
Note: Ruuvien lukumäärä vaihtelee runkopalkin mukaan.

-
Kiristä kaksi ulompaa ruuvia momenttiin 1 N·m.
-
Aloita kiinteän terän keskeltä ja kiristä ruuvit momenttiin 25,9 ±1,4 N·m.
Important: Älä kiristä kiinteän terän ruuveja mekaanisella tai pneumaattisella iskuavaimella.

-
Hio uusi kiinteä terä. Katso Kiinteän terän hiomistiedot.
Kiinteän terän hiomistiedot

| Kiinteän terän (yläosan) takakulma | Katso Leikkuukorkeuden ja kiinteän terän valintataulukot. |
| Etukulman alue | 13–17° |
| Väyläleikkuuseen tarkoitetun kiinteän terän takakulma | 10° |
Yläosan hiontakulman tarkistus
Kiinteän terän hiontakulma on erittäin tärkeä.
Hiontalaitteen kulma on tarkistettava kulman osoittimella (Toro-osanro 131-6828) ja kulman osoittimen kiinnittimellä (Toro-osanro 131-6829), ja mahdollinen epätarkkuus on korjattava.
-
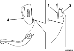
Aseta kulman osoitin kiinteän terän alaosaan kuvan mukaisesti (Kuva 19).

-
Paina kulman osoittimen Alt Zero -painiketta.
-
Aseta kulman osoittimen kiinnitin kiinteän terän reunaan siten, että magneetin reuna kiinnittyy kiinteän terän reunaan (Kuva 20).
Note: Digitaalinäytön tulee näkyä samalta puolelta tämän vaiheen aikana kuin vaiheessa 1.

-
Aseta kulman osoitin kiinnittimeen kuvan mukaisesti (Kuva 20).
Note: Tämä on hiontalaitteen kulma, joka saa poiketa enintään kaksi astetta suositellusta yläosan hiontakulmasta.
Runkopalkin / kiinteän terän kokoonpanon asennus
-
Asenna runkopalkin / kiinteän terän kokoonpano asettamalla asennuskorvakkeet aluslaattojen ja runkopalkin säätöruuvien väliin (Kuva 13).
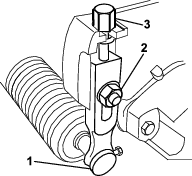
Important: Keskitä DPA-säätimet runkopalkin korvakkeissa kuvan mukaisesti (Kuva 21).Jos DPA-säätimet on asennettu runkopalkin korvakkeita vasten, kiinteän terän ja kelan kosketus voi heiketä.

-
Kiinnitä runkopalkki molempiin sivulevyihin runkopalkin pulteilla (pulteissa mutterit) ja kolmella aluslaatalla (kuusi yhteensä).
-
Aseta nailoninen aluslaatta sivulevyn keskiön kummallekin puolelle. Aseta teräksinen aluslaatta jokaisen nailonaluslaatan ulkopuolelle (Kuva 15).
-
Kiristä runkopalkin pultit momenttiin 27–36 N·m.
-
Kiristä lukkomuttereita, kunnes teräsaluslaattojen päittäisvälys katoaa, mutta niitä voidaan kääntää käsin. Sisäpuolella olevissa aluslaatoissa saa olla rako.
Important: Älä kiristä lukkomuttereita liikaa, sillä muuten sivulevyt voivat taipua.
-
Kiristä jousen kiristysmutteria, kunnes jousi painuu kokoon, ja löysää sitten mutteria puoli kierrosta (Kuva 22).

-
Säädä kiinteä terä kelaan. Katso kohta Kiinteän terän kohdistus kelaan.
Kelan tiedot
Kelan valmistelu hiomista varten
-
Varmista, että kaikki leikkuuyksikön osat ovat kunnossa ja korjaa mahdolliset ongelmat ennen hiomista.
-
Noudata kelahiomakoneen valmistajan ohjeita leikkuukelan hiomiseksi seuraavien määritysten mukaiseksi.
Kelan hiomistiedot Uusi kelan halkaisija 128,5 mm Kelan halkaisijan huoltoraja 114,3 mm Terän takakulma 30° ± 5° Terän kierreleveyden alue 0,8–1,2 mm Kelan halkaisijan kaventuman huoltoraja 0,25 mm
Kelan takatahkoaminen
Uudessa kelassa on 0,8–1,2 mm:n kierreleveys ja 30 asteen takatahkous.
Kun kierreleveys on suurempi kuin 3 mm, on tehtävä seuraavat toimenpiteet:
-
Tee kaikkiin kelan lehtiin 30 asteen takatahkous, kunnes kierreleveys on 0,8 mm (Kuva 23).

-
Hio kelaa, kunnes sen jättö on <0,025 mm.
Note: Tämä kasvattaa hieman kierreleveyttä.
-
Säädä leikkuuyksikkö. Katso lisätietoja leikkuuyksikön käyttöoppaasta.
Note: Kelan ja kiinteän terän leikkuusärmän pysymistä terävänä voi pidentää tarkistamalla kelan ja/tai kiinteän terän hionnan jälkeen kelan ja kiinteän terän kosketuksen uudelleen kahden viheriön leikkaamisen jälkeen. Tämä poistaa mahdolliset jäysteet. Jäysteet voivat aiheuttaa virheellisen kelan ja kiinteän terän välyksen ja siten nopeuttaa kulumista.
Leikkuuyksikön läppäys
Hengenvaara
Kelan tai muiden liikkuvien osien koskettaminen saattaa johtaa loukkaantumiseen.
Pidä sormet, kädet ja vaatteet etäällä keloista ja muista liikkuvista osista.
-
Pysy etäällä kelasta läppäyksen aikana.
-
Älä koskaan käytä läppäykseen lyhytvartista pensseliä. Pitkävartisia harjoja on saatavilla paikalliselta valtuutetulta Toro-jälleenmyyjältä.
-
Pysäköi kone puhtaalle tasaiselle alustalle, laske leikkuuyksiköt alas, sammuta moottori, kytke seisontajarru ja irrota avain virtalukosta.
-
Irrota kelamoottorit leikkuuyksiköistä sekä irrota ja poista leikkuuyksiköt nostovarsista.
-
Kytke läppäyskone leikkuuyksikköön asettamalla 9,5 mm:n neliölevy uraliitokseen leikkuuyksikön päähän.
Note: Lisäohjeita läppäyksestä ja siihen liittyvistä menettelyistä on ajoyksikön käyttöoppaassa ja Toro Sharpening Reel & Rotary Mowers -oppaassa, lomakenro 80-300PT.
Note: Saat paremman leikkuusärmän, jos pyyhkäiset kiinteän terän ja kelan etusivua viilalla läppäyksen jälkeen. Tämä poistaa mahdolliset jäysteet ja vajaasyrjät, joita on saattanut muodostua leikkuusärmään.
Rullan huolto
Rullan huoltoa varten on saatavana rullan korjaussarja (osanro 140-5552) ja rullan korjaussarjan työkalusarja (osanro 140-5553) (Kuva 24). Rullan korjaussarja sisältää kaikki rullan korjauksessa tarvittavat laakerit, laakerimutterit sekä sisä- ja ulkotiivisteet. Rullan korjaussarjan työkalusarja sisältää kaikki rullan korjaussarjan käytössä tarvittavat työkalut ja asennusohjeet. Lisätietoja saa osaluettelosta tai valtuutetulta Toro-jälleenmyyjältä.



, joka tarkoittaa varoitusta,
vaaraa tai hengenvaaraa – henkilöturvallisuusohjeet. Ohjeiden
laiminlyönti saattaa johtaa henkilövahinkoon tai kuolemaan.









