Viðhald
Note: Miðið vinstri og hægri hlið vinnuvélarinnar út frá hefðbundinni vinnustöðu.
Stuðningur við sláttubúnaðinn
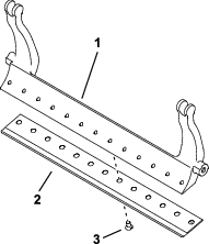
Þegar velta þarf sláttubúnaðinum við til að komast að botnblaðinu/keflinu skal setja stuðning við afturhluta sláttubúnaðarins til að tryggja að hægt sé að komast að róm stillibolta botnstangarinnar (Mynd 12).

Forskriftir botnblaðs
Viðhald botnblaðs
Vinna við botnstöngina og botnblaðið skal eingöngu vera í höndum hæfs vélvirkja til að koma í veg fyrir skemmdir á keflinu, botnstönginni eða botnblaðinu. Best væri að vinnu við sláttubúnaðinn sé sinnt hjá viðurkenndum dreifingaraðila Toro. Í þjónustuhandbók sláttuvélarinnar er að finna nákvæmar leiðbeiningar, upplýsingar um sérverkfæri og skýringarmyndir fyrir vinnu við botnblaðið. Komi til þess að notandi/eigandi þurfi að taka botnstöngina af eða setja hana á skal notast við leiðbeiningar og forskriftir fyrir vinnu við botnblaðið sem er að finna hér á eftir.
Important: Þegar unnið er við botnblaðið skal ávallt fylgja verkferlum fyrir botnblaðið sem er að finna í þjónustuhandbókinni. Ef botnblaðið er ekki rétt slípað og rétt sett í er hætta á skemmdum á keflinu, botnstönginni eða botnblaðinu.
Botnstöngin tekin af/Samsetning botnblaðs
-
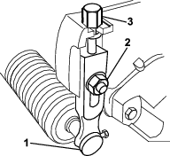
Snúið stilliskrúfu botnstangarinnar rangsælis til að færa botnblaðið frá keflinu (Mynd 13).

-
Losið gormspennuna þar til skinnunni er ekki lengur þrýst að botnstönginni (Mynd 13).
-
Losið lásrærnar sem festa botnstangarboltana (Mynd 14) á báðum hliðum sláttuvélarinnar.

-
Fjarlægið báða botnstangarboltana til að hægt sé að draga botnstöngina niður og af sláttubúnaðinum (Mynd 14).
Passið upp á plastskinnurnar tvær og stálskinnuna sem er að finna á hvorum enda botnstangarinnar (Mynd 15).

-
Fjarlægið botnblaðið af botnstönginni með því að fjarlægja allar skrúfur sem halda því á sínum stað. Notið topplykil með skrúflykli botnblaðs (hlutanr. TOR510880).
Note: Hægt er að nota vélræna- eða loftknúinn högglykil til að losa hnífskrúfurnar.
Note: Fargið botnblaðinu og skrúfunum.
Nýtt botnblað sett á
-
Veljið nýtt botnblað samkvæmt Töflur til að velja sláttuhæð og botnblað.
-
Hreinsið ryð, hrúður og tæringu af botnstönginni og berið þunnt olíulag á hana.
Important: Ekki skal fjarlægja húðunarefni af botnblaðinu. Botnblaðið er með skiljugrind í miðjunni, ekki skal slípa það.
-
Hreinsið skrúfganga botnblaðsins.
-
Berið samsetningarfeiti á skrúfur nýja botnblaðsins og festið það á botnstöngina.
Important: Notið aðeins nýjar hnífskrúfur.
Note: Magn skrúfa er breytileg eftir botnstöng.

-
Herðið ytri skrúfurnar tvær í 1 N m.
-
Herðið skrúfurnar, út frá miðju botnblaðsins, í 25,9 +/- 1,4 N∙m (19 +/- 1 ft-lb).
Important: Ekki herða skrúfur botnblaðsins með vélrænum eða loftknúnum högglykli.

-
Slípun nýja botnblaðsins; sjá Forskriftir fyrir slípun botnblaðs.
Forskriftir fyrir slípun botnblaðs

| Losun botnblaðs (efst) Horn | Sjá Töflur til að velja sláttuhæð og botnblað. |
| Svið framhorns | 13° til 17° |
| Fairway botnblað fremra horn | 10° |
Slípað topphorn kannað
Hornið sem botnblöðin eru slípuð í skipta miklu máli.
Notið hornmæli (Toro-hlutarnr. 131-6828) og hornmælisfestingu (Toro-hlutarnr. 131-6829) til að kanna hornið sem slípirokkurinn myndar og leiðrétta mögulega skekkju.
-
Setjið hornmælinn undir botnblaðið eins og sýnt er á Mynd 19.

-
Ýtið á Alt Zero-hnappinn á hornmælinum.
-
Setjið hornmælisfestinguna á brún botnblaðsins þannig að brún segulsins liggi að brún botnblaðsins (Mynd 20).
Note: Stafræni skjárinn ætti að sjást frá sömu hlið í þessu skrefi og í skrefi 1.

-
Setjið hornmælinn á festinguna eins og sýnt er á Mynd 20.
Note: Þetta er hornið sem slípirokkurinn myndar og það ætti að vera innan 2 gráða frá ráðlögðu slípuðu topphorni.
Uppsetning botnstangar/botnblaðssamstæðu
-
Setjið botnstöngina/botnblaðssamstæðuna á, með festieyrun á milli skinnanna og stilliskrúfu botnstangarinnar (Mynd 13).
Important: Miðjustillið DPA-stillibúnað botnstangareyra eins og sýnt er á Mynd 21.Ef DPA-stillibúnaður hefur verið uppsettur upp við botnstangareyrun þá getur þetta haft neikvæð áhrif á snertingu botnblaðs við kefli.

-
Festið botnstöngina á hliðarplöturnar með botnstangarboltunum (rær á boltum) og 3 skinnum (6 alls).
-
Setjið plastskinnu báðum megin á kraga hliðarplötunnar. Setjið stálskinnur utan á plastskinnurnar (Mynd 15).
-
Herðið botnstangarboltana í 27 til 36 N∙m (20 til 27 ft-lb).
-
Herðið lásrærnar þar til ekki verður lengur vart við hlaup í stálskinnunum en þó er hægt að snúa þeim með handafli. Bil kann að vera innan við skinnurnar.
Important: Ekki ofherða lásrærnar. Það getur beyglað hliðarplöturnar.
-
Herðið gormspenntu róna þar til gormurinn liggur alveg saman. Losið þá um hálfan snúning (Mynd 22).

-
Stillið botnblaðið af við keflið; sjá Botnblaðið stillt af við keflið.
Tæknilýsing keflis
Keflið undirbúið fyrir slípun
-
Gangið úr skugga um að allir íhlutir sláttubúnaðarins séu í góðu ásigkomulagi og lagið öll vandamál áður en slípun fer fram.
-
Fylgið leiðbeiningum framleiðanda slípirokksins þegar sláttukeflið er slípað samkvæmt forskriftum.
Forskriftir fyrir slípun keflis Þvermál nýs keflis 128,5 mm Mörk þvermáls keflis 114,3 mm Losunarhorn blaðs 30° ± 5° Breidd blaðbrúnarSvið 0,8 til 1,2 mm Mörk uppmjókkunar þvermáls keflis 0,25 mm
Losunarhorn keflis
Nýtt kefli er með 0,8 til 1,2 mm breiða brún og 30° losunarhorn.
Þegar brún verður breiðari en 3 mm þarf að gera eftirfarandi:
-
Notið 30° losunarhorn á öll keflisblöð þar til landbreiddin er 0,8 mm (Mynd 23.

-
Slípið keflið til að ná <0,025 mm kasti.
Note: Þetta veldur því að breidd brúnarinnar eykst lítillega.
-
Stillið sláttubúnaðinn; sjá notendahandbók sláttubúnaðarins.
Note: Til að lengja endingu á biti keflisbrúnarinnar og botnblaðsins – eftir að keflið og/eða botnblaðið hefur verið slípað – athugið snertingu keflisins við botnblaðið aftur eftir að hafa slegið 2 grasfleti, þar sem allar gráðir verða fjarlægðar. Gráðir geta skapað óviðeigandi bil milli keflis og botnblaðs, sem getur flýtt fyrir sliti.
Sláttubúnaðurinn bakslípaður
Hætta
Snerting við kefli eða aðra hluta á hreyfingu getur valdið meiðslum.
Haldið fingrum, höndum og fatnaði fjarri keflinu eða öðrum hlutum á hreyfingu.
-
Haldið öruggri fjarlægð frá keflinu meðan á bakslípun stendur.
-
Aldrei skal nota pensil með stuttu handfangi við bakslípun. Pensla með löngu handfangi er hægt að fá hjá næsta viðurkennda dreifingaraðila Toro.
-
Leggið sláttuvélinni á hreinu og sléttu undirlagi, látið sláttubúnaðinn síga, drepið á vélinni, setjið stöðuhemilinn á og takið lykilinn úr svissinum.
-
Fjarlægið keflamótorana af sláttubúnaðinum og aftengið og fjarlægið sláttubúnaðinn af lyftiörmunum.
-
Tengið bakslípunarvélina við sláttubúnaðinn með því að stinga 3/8 tommu ferköntuðum pinna í tengið á enda sláttubúnaðarins.
Note: Frekari leiðbeiningar og verkferli við bakslípun er að finna í notendahandbók sláttuvélarinnar og handbók Toro fyrir brýningu kefla- og snúningssláttuvéla, eyðublaðsnúmer 80-300PT.
Note: Betri skurðarbrún næst með því að renna þjöl eftir framhluta botnblaðsins og keflisins þegar bakslípun er lokið. Þetta fjarlægir gráð eða hnökra sem kunna að hafa myndast á skurðarbrúninni.
Viðhald rúllu
Hægt er að nota endurbyggingarsett fyrir rúllu (hlutarnr. 140-5552) og verkfærasett fyrir endurbyggingu rúllu (hlutanr. 140-5553) (Mynd 24) við viðhald rúllunnar. Endurbyggingarsett fyrir rúllu inniheldur allar legur, legurær, innri þétti og ytri þétti fyrir endurbyggingu rúllu. Verkfærasett fyrir endurbyggingu rúllu inniheldur öll verkfæri og uppsetningarleiðbeiningar fyrir endurbyggingu rúllu með endurbyggingarsetti fyrir rúllu. Frekari aðstoð er að finna í varahlutaskránni eða hjá viðurkenndum dreifingaraðila Toro.



, sem merkir Aðgát“, Viðvörun“
eða Hætta“ – öryggisleiðbeiningar.
Ef ekki er farið eftir þessum leiðbeiningum er hætta
á meiðslum á fólki eða dauða.









