Техническое обслуживание
Note: Определите левую и правую стороны машины (при взгляде со стороны места оператора).
Поддержка режущего блока с помощью опоры
Если режущий блок необходимо наклонить для получения доступа к неподвижному ножу или барабану, обоприте заднюю часть режущего блока на опору, чтобы гайки с обратной стороны регулировочных болтов планки неподвижного ножа не упирались в рабочую поверхность (Рисунок 12).

Технические характеристики неподвижных ножей
Обслуживание неподвижного ножа
Во избежание повреждения барабана, планки и неподвижного ножа обслуживать планку и неподвижный нож должен только прошедший надлежащее обучение механик. Лучше всего обслуживать режущий блок у официального дистрибьютора Toro. Полные инструкции, сведения по специальным инструментам и графики техобслуживания неподвижного ножа см. в Руководстве по техническому обслуживанию режущего блока. При необходимости демонтировать или собрать планку неподвижного ножа самостоятельно, следуйте инструкциям, приведенным ниже вместе с техническими характеристиками для обслуживания неподвижного ножа.
Important: Обязательно соблюдайте процедуры техобслуживания неподвижного ножа, подробно изложенные в Руководстве по техническому обслуживанию. Несоблюдение правил установки и заточки неподвижного ножа может привести к повреждению барабана, планки или неподвижного ножа.
Демонтаж неподвижного ножа/Неподвижный нож в сборе
-
Поверните регулировочный болт планки неподвижного ножа против часовой стрелки, чтобы отвести неподвижный нож от барабана (Рисунок 13).

-
Отвинчивайте гайку натяжения пружины до тех пор, пока шайба больше не будет нажимать на планку неподвижного ножа (Рисунок 13).
-
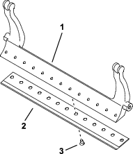
С каждой стороны машины ослабьте контргайку, крепящую болт планки неподвижного ножа (Рисунок 14).

-
Выверните все болты планки неподвижного ножа, потяните планку вниз и отсоедините от режущего блока (Рисунок 14).
Не забудьте снять две нейлоновые и одну стальную шайбы с каждой стороны планки неподвижного ножа (Рисунок 15).

-
Снимите неподвижный нож с планки неподвижного ножа, открутив все винты, которые удерживают его на месте. Используйте торцевой ключ с инструментом для винтов неподвижного ножа (номер детали TOR510880).
Note: Вы можете использовать механический или пневматический гаечный ключ для откручивания винтов неподвижного ножа.
Note: Удалите в отходы неподвижный нож и винты.
Установка новго неподвижного ножа.
-
Выберите новый неподвижный нож согласно Таблицы выбора высоты скашивания и неподвижного ножа.
-
Удалите ржавчину, окалину и коррозию с поверхности планки неподвижного ножа и нанесите тонкий слой масла на его поверхность.
Important: Не удаляйте литьевой материал с планки неподвижного ножа. Планка неподвижного ножа преднамеренно вогнута посередине; не выравнивайте ее.
-
Очистите резьбы в планке неподвижного ножа.
-
Нанесите противозадирный состав на новые винты неподвижного ножа и установите неподвижный нож на планку неподвижного ножа.
Important: Используйте только новые винты неподвижного ножа.
Note: Количество винтов варьируется в зависимости от планки неподвижного ножа.

-
Затяните 2 наружных винта с моментом 1 Н∙м.
-
Затяните винты с моментом 25,9 +/- 1,4 Н∙м, начиная от середины неподвижного ножа.
Important: Не затягивайте винты неподвижного ножа, используя механический или пневматический ударный гаечный ключ.

-
Заточите новый неподвижный нож; см Характеристики заточки неподвижных ножей.
Характеристики заточки неподвижных ножей

| Задний (верхний) угол неподвижного ножа | См. Таблицы выбора высоты скашивания и неподвижного ножа. |
| Диапазон передних углов | От 13° до 17°. |
| Передний угол неподвижного ножа Fairway | 10° |
Проверка верхнего угла заточки
Угол заточки неподвижных ножей очень важен.
С помощью индикатора угла (№ детали 131-6828 по каталогу Toro) и крепления для индикатора угла (номер детали 131-6829 по каталогу Toro) проверьте угол, который обеспечивает устройство для заточки, и при несовпадении скорректируйте его.
-
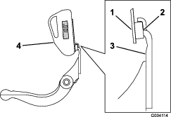
Установите индикатор угла на нижней стороне неподвижного ножа, как показано на Рисунок 19.

-
Нажмите кнопку Alt Zero (Нулевая высота) на индикаторе угла.
-
Установите крепление индикатора угла на кромке неподвижного ножа так, чтобы кромка магнита совпала с кромкой неподвижного ножа (Рисунок 20).
Note: При выполнении действий, описанных в данном пункте, цифровой дисплей должен быть виден с той же стороны, что и при выполнении действий, описанных в пункте 1.

-
Установите индикатор угла на крепление, как показано на Рисунок 20.
Note: Угол, получаемый с помощью устройства для заточки, не должен отличаться более чем на 2 градуса от рекомендованного верхнего угла заточки.
Установка планки неподвижного ножа / неподвижного ножа в сборе
-
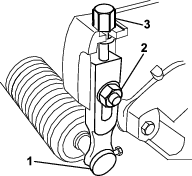
Установите планку неподвижного ножа / неподвижный нож в сборе, расположив монтажные проушины между шайбами и регулировочным винтом планки неподвижного ножа (Рисунок 13).
Important: Выровните регуляторы DPA по центрам проушин планки неподвижного ножа, как показано на Рисунок 21.Если регуляторы DPA установлены напротив проушин планки неподвижного ножа, это может отрицательно повлиять на контакт неподвижного ножа с барабаном.

-
Прикрепите планку неподвижного ножа к боковым пластинам с помощью болтов планки неподвижного ножа (гаек на болтах) и 3 шайб (всего 6 шт.).
-
С каждой стороны установите нейлоновую шайбу на выступ боковой пластины. На нейлоновые шайбы установите стальные шайбы (Рисунок 15).
-
Затяните болты планки неподвижного ножа с моментом от 27 до 36 Н∙м.
-
Затяните контргайки до такой степени, чтобы устранить торцевой люфт в стальных шайбах, но чтобы их можно было провернуть вручную. Шайбы внутри могут иметь зазор.
Important: Во избежание деформации боковых пластин не затягивайте контргайки слишком сильно.
-
Затяните гайку натяжения пружины, чтобы пружина полностью сжалась, затем отверните ее на 1/2 оборота (Рисунок 22).

-
Отрегулируйте контакт барабана с неподвижным ножом; см. Регулировка контакта барабана с неподвижным ножом.
Технические данные барабана
Подготовка барабана к заточке
-
Перед заточкой убедитесь, что все компоненты режущего блока находятся в исправном состоянии, и устраните любые нарушения.
-
Следуйте указаниям изготовителя заточного станка, чтобы заточить режущий барабан в соответствии со следующими характеристиками.
Характеристики заточки барабанов Диаметр нового барабана 128,5 мм Эксплуатационный предел для диаметра барабана 114,3 мм Задний угол ножа 30° ± 5° Ширина витка ножаДиапазон От 0,8 до 1,2 мм Предельный ресурс конусности по диаметру барабана 0,25 мм
Затыловочное шлифование барабана
Ширина витка нового барабана составляет от 0,8 до 1,2 мм, он заточен затыловочным шлифованием под 30 градусов.
Если ширина витка превышает 3 мм, выполните следующее:
-
Выполните 30-градусное затыловочное шлифование всех ножей барабана так, чтобы ширина витка составляла 0,8 мм (Рисунок 23).

-
Выполните шлифование методом вращения барабана, чтобы биение барабана было меньше 0,025 мм.
Note: При этом ширина витка немного увеличится.
-
Отрегулируйте режущий блок; см. Руководство оператора для режущего блока.
Note: Чтобы после заточки барабана и/или неподвижного ножа их кромки оставались острыми как можно дольше, проверьте контакт барабана с неподвижным ножом еще раз после скашивания 2 гринов, так как при скашивании удаляются все заусенцы. Заусенцы могут привести к нарушению зазора между барабаном и неподвижным ножом, что приведет к ускоренному износу.
Заточка режущего блока обратным вращением
Опасно
Прикосновение к барабану или другим движущимся частям может привести к травме.
Следите, чтобы пальцы, руки и одежда находились на безопасном расстоянии от барабанов или других движущихся частей.
-
Держитесь на безопасном расстоянии от барабана при заточке обратным вращением.
-
Никогда не используйте малярную кисть с короткой ручкой при заточке обратным вращением. Щетки с длинными ручками можно заказать у вашего официального дистрибьютора компании Toro.
-
Установите машину на чистой ровной поверхности, опустите режущие блоки, выключите двигатель, включите стояночный тормоз и извлеките ключ из замка зажигания.
-
Снимите электродвигатели барабана с режущих блоков. Отсоедините и снимите режущие блоки с подъемных рычагов.
-
Подсоедините к режущему блоку устройство для обратного вращения барабана, вставив ручку с концом квадратного сечения ⅜ дюйма (9,5 мм) в шлицевое соединение на конце режущего блока.
Note: Дополнительные указания и описания процедур заточки обратным вращением приведены в Руководстве оператора и Руководстве Toro по заточке барабанных и ротационных газонокосилок, форма № 80-300PT.
Note: Для получения лучшей режущей кромки обработайте напильником переднюю лицевую поверхность неподвижного ножа после заточки методом обратного вращения. Это позволит удалить все заусенцы или неровные края, которые могут образоваться на режущей кромке.
Обслуживание валика
Для обслуживания валика предусмотрены ремонтный комплект валика (номер по каталогу 140-5552) и набор инструментов для ремонта валика (номер по каталогу 140-5553) (Рисунок 24). Ремонтный комплект валика включает в себя все подшипники, гайки подшипника, внутренние и внешние уплотнения для ремонта валика. Набор инструментов для ремонта валика включает в себя все инструменты и инструкции, необходимые для ремонта валика с помощью ремонтного комплекта. См. каталог запасных частей для вашей машины или свяжитесь с официальным дистрибьютором компании Toro для получения помощи.



которые
имеют следующее
значение: «Осторожно!»,
«Внимание!» или
«Опасно!» – указания
по обеспечению
личной безопасности.
Несоблюдение данных
инструкций может
стать причиной
травмы или гибели.









