| Onderhoudsinterval | Onderhoudsprocedure |
|---|---|
| Bij elk gebruik of dagelijks |
|
Deze machine is een zitmaaier met messenkooien bedoeld voor gebruik door professionele bestuurders in commerciële toepassingen. De machine is voornamelijk ontworpen voor het maaien van gras op goed onderhouden gazons. Dit product gebruiken voor andere doeleinden dan het bedoelde gebruik kan gevaarlijk zijn voor u of voor omstanders.
Lees deze informatie zorgvuldig door, zodat u weet hoe u de machine op de juiste wijze moet gebruiken en onderhouden en om schade aan de machine en letsel te voorkomen. U bent verantwoordelijk voor het juiste en veilige gebruik van de machine.
Ga naar www.toro.com voor meer informatie, inclusief veiligheidstips, instructiemateriaal, informatie over accessoires, hulp bij het vinden van een dealer of om uw product te registreren.
Als u service, originele Toro-onderdelen of aanvullende informatie nodig hebt, kunt u contact opnemen met een erkende Toro dealer. U dient hierbij altijd het modelnummer en het serienummer van het product te vermelden. De locatie van het plaatje met het modelnummer en het serienummer van het product is aangegeven op Figuur 1. U kunt de nummers noteren in de ruimte hieronder.
Important: U kunt met uw mobiel apparaat de QR-code op het plaatje met het serienummer (indien aanwezig) scannen om toegang te krijgen tot de garantie, onderdelen en andere productinformatie.

Deze handleiding wijst u op mogelijke gevaren en bevat veiligheidswaarschuwingen die u kunt herkennen aan het waarschuwingspictogram (Figuur 2), dat wijst op een gevaar dat ernstig letsel of de dood kan veroorzaken indien u nalaat de voorgeschreven maatregelen te treffen.

Er worden in deze handleiding twee woorden gebruikt om uw aandacht op bijzondere informatie te vestigen. Belangrijk attendeert u op bijzondere technische informatie en Opmerking duidt algemene informatie aan die bijzondere aandacht verdient.
Dit product voldoet aan alle relevante Europese richtlijnen; zie voor details de aparte productspecifieke conformiteitsverklaring.
Als de machine zonder goed werkende vonkenvanger of goed onderhouden brandveilige motor wordt gebruikt in een bosgebied of op een met dicht struikgewas of gras begroeid terrein, handelt de bestuurder in strijd met de bepalingen van sectie 4442 of 4443 van de Wet op de Openbare Hulpbronnen (Public Resources Code) van de Staat Californië.
De bijgevoegde gebruikershandleiding van de motor biedt informatie over het Amerikaanse Environmental Protection Agency (EPA) en het Californische controlesysteem voor emissies, onderhoud en garantie. U kunt vervangingsonderdelen bestellen via de fabrikant van de motor.
Als deze machine is uitgerust met een telematica-apparaat, neem dan contact op met uw erkende Toro distributeur voor instructies over hoe u het apparaat moet activeren.
CALIFORNIË
Proposition 65 Waarschuwing
De uitlaatgassen van de dieselmotor van dit product bevatten bestanddelen waarvan bekend is dat ze kanker, geboorteafwijkingen of andere schade aan de voortplantingsorganen kunnen veroorzaken.
Accuklemmen, accupolen en dergelijke onderdelen bevatten lood en loodverbindingen. Van deze stoffen is bekend dat ze kanker en schade aan de voortplantingsorganen veroorzaken. Was altijd uw handen nadat u met deze onderdelen in aanraking bent geweest.
Gebruik van dit product kan leiden tot blootstelling aan chemische stoffen waarvan de Staat Californië weet dat ze kanker, geboorteafwijkingen en andere schade aan het voortplantingssysteem veroorzaken.
Dit product kan handen of voeten afsnijden en voorwerpen uitwerpen.
Lees deze Gebruikershandleiding en zorg ervoor dat u deze begrijpt voordat u de motor start.
Geef uw volledige aandacht als u de machine gebruikt. Zorg ervoor dat u met niets anders bezig bent waardoor u kunt worden afgeleid, anders kunt u verwondingen oplopen of kan eigendom worden beschadigd.
Houd handen en voeten uit de buurt van de bewegende onderdelen van de machine.
Gebruik de machine niet als er schermen of andere beveiligingsmiddelen ontbreken of als deze niet naar behoren werken.
Houd omstanders en kinderen uit de buurt van het werkgebied. Hou omstanders en kinderen uit de buurt van het werkgebied. Laat kinderen nooit de machine bedienen.
Zet de machine af, verwijder het contactsleuteltje en wacht totdat alle bewegende onderdelen tot stilstand zijn gekomen voordat u de bestuurderspositie verlaat. Laat de machine afkoelen voordat u deze afstelt, reinigt, stalt of er onderhoudswerkzaamheden aan verricht.
Onjuist gebruik of onderhoud van deze machine kan letsel tot
gevolg hebben. Om het risico op letsel te verkleinen, dient u zich
aan de volgende veiligheidsinstructies te houden en altijd op het
veiligheidssymbool
te letten, dat betekent Voorzichtig,
Waarschuwing of Gevaar – instructie voor persoonlijke veiligheid.
Niet-naleving van deze instructies kan leiden tot lichamelijk of dodelijk
letsel.
![]() |
Veiligheidsstickers en veiligheidsinstructies zijn gemakkelijk zichtbaar voor de bestuurder en bevinden zich bij plaatsen waar gevaar kan ontstaan. Vervang alle beschadigde of verdwenen stickers. |













Benodigde onderdelen voor deze stap:
| Rolbeugel | 1 |
| Bout (½" x 3¾") | 4 |
| Flensmoer (½") | 4 |
Verwijder de bovenste steun uit de transportverpakking.
Verwijder de rolbeugel uit de transportverpakking.
Verwijder de 3 bouten waarmee het rechterdeksel aan de machine is bevestigd en verwijder het zijdeksel.
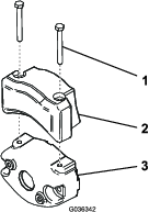
Verwijder de 2 bouten waarmee de beugel van de zekeringhouder is bevestigd aan de beugel van de rolbeugel; zie Figuur 3.

Breng de beugel van de zekeringhouder aan op de rechterbeugel van de rolbeugel en gebruik 4 bouten (½" x 3¾") en 4 flensmoeren (½") om de rolbeugel te monteren in de beugels van de rolbeugel aan weerszijden van de machine.
Draai het de bevestigingsmiddelen vast met een torsie van 136 tot 149 N·m.
Gebruik de 3 bouten die u eerder verwijderd hebt om het rechterdeksel te bevestigen aan de machine.
Benodigde onderdelen voor deze stap:
| Set met stoel (afzonderlijk bestellen; neem contact op met uw erkende Toro-distributeur) | 1 |
Bestel de gewenste bestuurdersstoel bij de distributeur en monteer deze op de machine; zie de montage-instructies in de set.
Benodigde onderdelen voor deze stap:
| Onderhoudssticker (onderdeelnr. 139-2728) | 1 |
| Maaisticker (115-8156) | 1 |
Breng de onderhoudssticker (onderdeelnr. 139-2728) en de maaisticker (onderdeelnr. 115-8156) aan op de stoel; zie Figuur 4 voor de premium stoel (modelnr. 04719) of Figuur 5 voor de standaard stoel (modelnr. 04508).


Benodigde onderdelen voor deze stap:
| Stuur | 1 |
| Borgmoer (1½") | 1 |
| Sluitring | 1 |
| Dop van stuur | 1 |
Benodigde onderdelen voor deze stap:
| Telematica-apparaat | 1 |
| Beugel van apparaat | 1 |
| Telematicakabelboom | 1 |
| Zeskantbout (nr. 10 x 1") | 4 |
| Borgmoer (nr. 10) | 4 |
| U-bout | 1 |
| Flensmoer (ā ") | 2 |
| Kabelbinder | 4 |
Gebruik 4 zeskantbouten (nr. 10 x 1") en 4 borgmoeren (nr. 10) om het telematica-apparaat aan de beugel van het apparaat te bevestigen (Figuur 7).

Gebruik een U-bout en 2 flensmoeren (ā ") om de beugel van het apparaat boven de hendel op de buis op de rolbeugel te bevestigen (Figuur 8).

Sluit de connector met de aanduiding P02 op de telematicakabelboom aan op het telematica-apparaat (Figuur 9).

Verwijder de rechterkap (Figuur 10) van de machine.

Leid de kabelboom naar beneden langs de rolbeugel en sluit de kabelboomconnector met de aanduiding P01 aan op de connector op de machinekabelboom met de aanduiding P49 (Figuur 11).
Bevestig de telematicakabelboom op de hoofdkabelboom met een kabelbinder (Figuur 11).

Bevestig de kabelboom met kabelbinders aan de rolbeugel zoals wordt getoond.

Plaats de rechterkap op de machine (Figuur 10).
Laad de accu op; zie De accu opladen.
Benodigde onderdelen voor deze stap:
| Haken van grasvanger | 6 |
| Flensbouten | 12 |
Monteer de 6 haken voor de grasvanger aan de uiteinden van de ophangarm met behulp van 12 flensbouten (Figuur 13).

Benodigde onderdelen voor deze stap:
| Meetstaaf | 1 |
| Maai-eenheid (verkrijgbaar bij uw erkende Toro distributeur) | 3 |
| Grasvanger | 3 |
| Contragewicht van elektrische messenkooimotor | 3 |
| Inbusbout | 6 |
| O-ring | 3 |
Bereid de maai-eenheden voor op installatie; zie de Gebruikershandleiding van de maai-eenheden.
Breng smeer aan op de binnendiameter van de aandrijfkoppeling.
Monteer een O-ring op elke messenkooimotor zoals getoond in Figuur 14.

Monteer het contragewicht van de elektrische messenkooimotor; zie Montage van de elektrische contragewichten.
Monteer de maai-eenheden; zie Maaidekken monteren.
De machine is voorzien van een Clip-Control functie. Deze functie past de snelheid van de messenkooien aan de snelheid van de machine aan voor een constante maaibewerking. Zo verkrijgt u gegarandeerd een hoge maaikwaliteit en een gelijkmatig resultaat. De Clip-Control functie staat standaard uit. Voor de configuratie en omschakeling naar aan, zie Instellen van de Clip-Control functie.
Benodigde onderdelen voor deze stap:
| Set ballastgewichten, onderdeelnr. 121-6665 (afzonderlijk aan te schaffen) NB: deze set is niet nodig voor machines voorzien van de aandrijfset met 3 wielen. | 1 |
Deze machine voldoet aan EN ISO 5395:2013 en ANSI B71.4-2017 indien deze is voorzien van de set ballastgewichten, onderdeelnummer 121-6665.
Note: Indien de machine is voorzien van de aandrijfset met 3 wielen zijn er geen extra gewichten nodig om te voldoen aan EN ISO 5395:2013 en ANSI B71.4-2017.
Benodigde onderdelen voor deze stap:
| Set met CE-scherm – onderdeelnummer 04443 (afzonderlijk verkocht) | 1 |
Montage van de set met CE-scherm; zie de installatie-instructies voor set met CE-scherm voor Greensmaster 3420 TriFlex tractie-eenheid.
Benodigde onderdelen voor deze stap:
| Waarschuwingssticker (onderdeelnummer 136-8505) | 1 |
| Sticker CE-markering | 1 |
| Sticker productiejaar | 1 |
Als deze machine wordt gebruikt in een land waar de CE normen van toepassing zijn, neem dan de volgende stappen na het monteren van de beschermkap op de machine:
Breng de CE-waarschuwingssticker (onderdeelnummer 136-8505) aan over de aanwezige waarschuwingssticker (onderdeelnummer 136-8506). Figuur 15 toont de locatie van de waarschuwingssticker.

Breng de CE-markeringssticker aan op het frame, onder de voorkant van de stoel (Figuur 16).

Breng de sticker met het productiejaar aan bij het plaatje met serienummer (Figuur 17).

De banden worden in de fabriek t.b.v. de verzending opzettelijk te hard opgepompt. Verklein de druk in de banden volgens de aanbevelingen alvorens de machine te starten; zie De bandenspanning controleren.
Polijst de remmen; zie De remmen polijsten.

Het tractiepedaal (Figuur 19) heeft 3 functies: de machine vooruit en achteruit laten rijden en tot stilstand brengen. U moet de bovenkant van het pedaal intrappen om vooruit te rijden en de onderkant van het pedaal om achteruit te rijden of bij het stoppen als u vooruitrijdt. Daarnaast kunt u het pedaal in de neutraalstand zetten om de machine te stoppen. Laat uw hiel omwille van uw comfort niet op het achteruitgedeelte van het tractiepedaal rusten als u vooruitrijdt (Figuur 20).


De rijsnelheden zijn als volgt:
Maaisnelheid vooruit: 3,2 tot 8 km/u
Maximale transportsnelheid: 16 km/u
Snelheid achteruit: 4 km/u
Druk het pedaal in (Figuur 19) en breng de stuurarm omhoog of omlaag tot een comfortabele positie en laat het pedaal los om de arm te vergrendelen.
Met de gashendel (Figuur 21) kunt u de snelheid van de motor regelen. Als u de gashendel in de SNEL-stand zet zal de motorsnelheid toenemen; als u de gashendel in de LANGZAAM-stand zet zal de motorsnelheid afnemen.
Note: U kunt de motor niet stoppen met de gashendel.

Als u de hendel (Figuur 21) tijdens het maaien naar voren beweegt, laat u de maai-eenheden neer en start u de messenkooien. Om de messenkooien tot stilstand te brengen en de maaidekken omhoog te brengen, moet u de hendel naar achteren trekken. Om de messenkooien tot stilstand te brengen zonder de maai-eenheden omhoog te brengen moet u de hendel eventjes naar achteren trekken en dan loslaten. U stelt de messenkooien in werking door de hendel naar voren te bewegen.
De schakelhendel (Figuur 21) heeft 2 tractiestanden plus een NEUTRAALSTAND. U kunt van maaien naar transport en van transport naar maaien schakelen (niet naar de neutraalstand) als de machine in beweging is; hierdoor wordt de machine niet beschadigd.
ACHTERSTE stand – neutraalstand; gebruiken tijdens het wetten van de messenkooien
MIDDELSTE stand – gebruiken tijdens het maaien
VOORSTE stand – gebruiken om de machine van het ene werkgebied naar het andere te rijden
Steek het sleuteltje in het contact (Figuur 21) en draai het naar rechts op START om de motor te starten. Laat het sleuteltje direct los als de motor start; het sleuteltje komt automatisch op AAN. Draai het sleuteltje linksom naar STOP om de motor af te zetten.
Trek aan de remhendel (Figuur 22) om de parkeerrem in te schakelen. Schakel de parkeerrem uit door de vrijgavehendel aan de onderkant van de remhendel in te drukken en naar beneden te bewegen in de vrije stand. Stel altijd de parkeerrem in werking als u de machine verlaat.

Het InfoCenter display toont informatie zoals de bedrijfsmodus en diverse diagnostieken en andere informatie over de machine.

Note: De knoppen kunnen verschillende functies vervullen afhankelijk van wat op dat moment nodig is. Voor elke knop is er een pictogram dat de huidige functie weergeeft.
Gebruik de navigatieknoppen om tussen het hoofdscherm, het scherm over de eReel motor en de menuopties te navigeren
Hoofdscherm (Figuur 24): toont huidige informatie over de machine terwijl het sleuteltje op AAN staat.

Scherm over de eReel motor (Figuur 25): toont de snelheid en stroom van elke motor van de maai-eenheid.

Hoofdmenu: zie De menu's gebruiken.
![]() | Urenteller |
![]() | Functiebedieningsschakelaar is in de NEUTRAALSTAND. |
![]() | Functiebedieningsschakelaar is in de stand TRANSPORT. |
![]() | Functiebedieningsschakelaar is in de stand MAAIEN. |
![]() | De bestuurder moet op de stoel zitten. |
![]() | De parkeerrem is in werking gesteld. |
![]() | Start de motor. |
![]() | Motor |
![]() | Motorkoelvloeistof |
![]() | Gloeibougie |
![]() | De aftakas is ingeschakeld. |
![]() | De aftakas is uitgeschakeld. |
![]() | Accu |
![]() | De maai-eenheden worden omhoog gebracht. |
![]() | De maai-eenheden worden omlaag gebracht. |
![]() | Actief |
![]() | Inactief |
![]() | Vorige |
![]() | Volgende |
![]() | Verhogen |
![]() | Verlagen |
![]() | Vorig scherm |
![]() | Volgend scherm |
![]() | Waarde verhogen |
![]() | Waarde verlagen |
![]() | Menu |
![]() | Omhoog/omlaag scrollen |
![]() | Naar links/rechts scrollen |
Druk in het hoofdscherm op de MENUKNOP om naar het InfoCenter menusysteem te gaan. U gaat naar het HOOFDMENU. Raadpleeg de volgende tabellen voor een overzicht van de opties die u hebt in de menu's:
| Menuoptie | Beschrijving |
| STORING | Het menu STORINGEN bevat een lijst met de recente machinestoringen. Raadpleeg de Gebruikershandleiding of een erkende Toro distributeur voor meer informatie over het menu STORINGEN en de informatie die het bevat. |
| ONDERHOUD | Het menu ONDERHOUD bevat informatie over de machine, zoals bedrijfsuren en andere cijfergegevens van die aard. Raadpleeg de tabel Onderhoud. |
| DIAGNOSTIEK | Het menu DIAGNOSTISCH SYSTEEM geeft de huidige toestand aan van diverse aspecten van de machine. U kunt dit menu gebruiken om sommige problemen op te lossen. In het menu ziet u namelijk welke onderdelen in- en uitgeschakeld zijn. |
| INSTELLINGEN | In het menu INSTELLINGEN kunt u de instellingen voor het InfoCenter display wijzigen. Raadpleeg de tabel Instellingen. |
MACHINE-INSTELLINGEN![]() | In het menu MACHINE-INSTELLINGEN kunt u de machine-instellingen aanpassen, zoals het messenkooitoerental, de maximale maaisnelheid en de maximale transportsnelheid. Raadpleeg de tabel Machine-instellingen. |
| MACHINE | In het menu MACHINE ziet u het modelnummer, het serienummer en de versie van de software op uw machine. Raadpleeg de tabel Machine. |
| Menuoptie | Beschrijving |
| UUR | Het totale aantal bedrijfsuren van de machine, motor, messenkooien, weteenheid en ventilator, alsook het aantal uren dat de machine getransporteerd en oververhit is geweest. |
| COUNTS | Het aantal keer dat de machine voorverwarmd en gestart is geweest. |
| WETTEN | Schakelt wetten AAN/UIT (als het wetten aanstaat kunt u het uitschakelen met deze instelling of met het contactsleuteltje). |
| Menuoptie | Beschrijving |
| PINCODE INVOEREN | Geeft een door uw bedrijf geautoriseerde persoon (toezichthouder/mecanicien) toegang tot de beveiligde menu's met een pincode. |
| ACHTERGRONDVERLICHTING | De helderheid van het lcd. |
| TAAL | Bepaalt de taal die gebruikt wordt in het InfoCenter. |
| LETTERGROOTTE | Bepaalt de lettergrootte op het InfoCenter. |
| EENHEDEN | Bepaalt de eenheden die gebruikt worden in het InfoCenter. De opties zijn Engels of metrisch. |
BEVEILIGDE INSTELLINGEN ![]() | Configureert de beveiligde menu's. |
STANDAARDWAARDEN HERSTELLEN![]() | Herstelt de standaardwaarden van het InfoCenter. |
| Menuoptie | Beschrijving |
STANDAARDWAARDEN HERSTELLEN![]() | Herstelt de standaardwaarden van het InfoCenter. |
HEFVERTRAGING![]() | Bepaalt de hefvertraging van het middelste maaidek. |
VERTRAGING BIJ LATEN ZAKKEN![]() | Bepaalt de vertraging bij het laten zakken van het middelste maaidek. |
TAP-OFFTIJD![]() | Bepaalt de tap-offvertraging. |
MESSENKOOITOERENTAL![]() | Regelt de maaimessnelheid op de maaidekken. |
WETSNELHEID![]() | Regelt het toerental voor het wetten. |
CLIP-CONTROL![]() | Schakelt de automatische Clip-Control functie aan of uit. |
AANTAL MESSEN![]() | Stelt het aantal messen van elke kooi in. Deze instelling is alleen nodig indien CLIP-CONTROL is ingesteld op AAN. |
MAAIHOOGTE![]() | Stelt de gewenste maaihoogte in. Deze instelling is alleen nodig indien CLIP-CONTROL is ingesteld op AAN. |
| Menuoptie | Beschrijving |
| MODEL | Het modelnummer van de machine. |
| Serienummer | Het serienummer van de machine. |
| SOFTWARE REVISIE | De softwareversie van de hoofdbedieningseenheid. |
XDM-2700 ![]() | De softwareversie van het InfoCenter. |
MAAI-EENHEID 1![]() | De softwareversie van de motor van de middelste maai-eenheid. |
MAAI-EENHEID 2![]() | De softwareversie van de motor van de voorste maai-eenheid links. |
MAAI-EENHEID 3![]() | De softwareversie van de motor van de voorste maai-eenheid rechts. |
GENERATOR![]() | Het serienummer van de generator. |
Note:
Beveiligd
menu – enkel toegankelijk met de pincode; zie Toegang tot de beveiligde menu's.
Note: De standaard pincode van de machine is 0000 of 1234.Als u de pincode heeft gewijzigd en vergeten bent, neem dan contact op met uw erkende Toro distributeur voor hulp.
Scrol in het HOOFDMENU naar beneden tot het menu INSTELLINGEN en druk op de selectieknop (Figuur 26).

Scrol in het menu INSTELLINGEN naar PINCODE INVOEREN en druk op de selectieknop (Figuur 27A).

Om de pincode in te voeren, drukt u op de navigatieknoppen omhoog/omlaag tot het eerste gewenste cijfer verschijnt. Druk dan op de rechter navigatieknop om naar het volgende cijfer te gaan (Figuur 27B en Figuur 27C). Herhaal deze stap tot het laatste cijfer ingevoerd is.
Druk op de selectieknop (Figuur 27D).
Note: Als het display de pincode accepteert en het beveiligde menu
opent, dan verschijnt
in de rechter bovenhoek van het scherm.
Om het beveiligd menu weer te vergrendelen, draait u de contactschakelaar naar UIT-stand en dan naar de AAN-stand.
Scrol in INSTELLINGEN naar beneden naar INSTELLINGEN BEVEILIGEN.
Om de instellingen te bekijken en te veranderen zonder
een pincode in te voeren, zet u met de selectieknop INSTELLINGEN
BEVEILIGEN op
(Uit).
Om de instellingen te bekijken en te veranderen met
een pincode, stelt u met de selectieknop INSTELLINGEN
BEVEILIGEN in op
(Aan). Stel vervolgens de pincode in, en draai
het contactsleuteltje UIT en daarna weer AAN.

Knipperend rood - actieve fout
Ononderbroken rood - actieve melding
Ononderbroken blauw - kalibratie-/dialoogberichten
Ononderbroken groen - normale werking
Stel de hef/daal-vertraging van het middelste maaidek in het InfoCenter in. De instelling loopt van 1 tot 10, zie onderstaande tabel. De standaardinstelling is 6 (375 ms), wat de optimale instelling is bij een maaisnelheid van 6,1 km/u.
| Stap | Vertragingstijd (seconden) |
| 1 | 0,100 |
| 2 | 0,150 |
| 3 | 0,200 |
| 4 | 0,250 |
| 5 | 0,300 |
| 6 | 0,375 |
| 7 | 0,475 |
| 8 | 0,600 |
| 9 | 0,750 |
| 10 | 0,925 |
Met de tap-offvertraging kunnen de maaidekken uitgeschakeld worden zonder ze te heffen. U kunt dit in het InfoCenter instellen. De vertragingsinstelling is de maximale tijd gedurende dewelke de hendel voor omhoog/omlaag in de omhoogstand mag blijven om deze functie te activeren. De standaardwaarde is 1 (de functie is niet geactiveerd).
| Stap | Vertragingstijd (seconden) |
| 1 | Uit |
| 2 | 0,050 |
| 3 | 0,100 |
| 4 | 0,150 |
| 5 | 0,200 |
| 6 | 0,250 |
| 7 | 0,300 |
| 8 | 0,350 |
| 9 | 0,400 |
| 10 | 0,450 |
Om een constante, hoge maaikwaliteit te verkrijgen en een uniform aanzicht na het maaien is deze machine voorzien van de Clip-Control functie. Deze functie past de snelheid van de maaikooien aan de snelheid van de machine, voor een constante maaibewerking. Deze functie staat standaard UIT. Als u deze functie inschakelt, zorg er dan voor dat het aantal messen en de maaihoogte op de juiste waarde in het menu INSTELLINGEN zijn ingesteld.
De Clip-Control functie stemt de messenkooisnelheid automatisch af op de machinesnelheid. Als u de Clip-Control functie niet gebruikt, stel de messenkooisnelheid dan met de hand in:
Selecteer de maaihoogte waarop de maaidekken zijn ingesteld.
Kies de rijsnelheid die het meest geschikt is voor de maaiomstandigheden.
Gebruik de betreffende grafiek (Figuur 29), voor maaidekken met 5, 8, 11 of 14 messen, om de gewenste messenkooisnelheid te bepalen.

Om het toerental van de messenkooi te regelen gaat u in het InfoCenter naar het Hoofdmenu en scrolt u naar beneden, naar INSTELLINGEN.
In het menu INSTELLINGEN scrolt u naar beneden tot MESSENKOOISNELHEID en gebruikt u de gepaste knop om de messenkooisnelheid in te stellen.
Het icoontje van het storingslogboek verschijnt op het hoofdscherm als zich een storing voordoet in de machine. Dit icoontje wijst op een nieuw item in het logboek. Ga naar het menu Storingen om na te gaan wat het probleem is of vraag dit aan uw dealer.
Raadpleeg voor een lijst met de storingen een erkende dealer of de Onderhoudshandleiding.
De hendel voor de lengte-instelling van de stoel bevindt zich links vooraan de stoel (Figuur 30). Deze laat toe de stoel naar voren of naar achteren te verstellen.
Note: Als de stoel nog verder moet versteld worden, kunt u de 4 moeren verwijderen waarmee de schuifrails van de stoel aan de basis zijn bevestigd en de schuifrails van de stoel naar de tweede reeks montageopeningen verplaatsen.

Sluit de brandstofafsluitklep (Figuur 31) achter de stoel en onder de benzinetank voordat u de machine opslaat of transporteert op een vrachtwagen of een aanhanger.

Voor het plaatsen van, verwijderen van of werken aan de maaidekken moet u altijd de maaidekken loskoppelen van de voedingsbron door de snelkoppeling los te maken (Figuur 32). Deze vindt u onderaan de rolbeugel aan de linkerkant van de tractie-eenheid. Sluit de snelkoppelingen weer aan voordat u de machine gaat bedienen.

Als u de voeding naar de maaidekken niet onderbreekt, bestaat de kans dat iemand de maaidekken per ongeluk start. Hierdoor kan ernstig letsel aan handen en voeten ontstaan.
Koppel altijd de snelkoppelingen voor de voeding naar de maaidekken los voordat u werkzaamheden aan de maaidekken gaat uitvoeren.
Note: Specificaties en ontwerp kunnen zonder voorafgaande kennisgeving worden gewijzigd.
| Maaibreedte | 151 cm |
| Minimale afstand tot de grond (bij middellijn machine) | 11 cm |
| Wielloopvlak (tot het midden van het wiel) | 128 cm |
| Wielloopvlak (tot de buitenkant van het wiel) | 154 cm |
| Wielbasis | 119 cm |
| Totale lengte (met grasvangers) | 249 cm |
| Totale breedte | 179 cm |
| Totale hoogte | 205 cm |
| Nettogewicht met messenkooien met 8 messen | 766 kg |
| Nettogewicht met messenkooien met 11 messen | 770 kg |
Een selectie van door Toro goedgekeurde werktuigen en accessoires is verkrijgbaar voor gebruik met de machine om de mogelijkheden daarvan te verbeteren en uit te breiden. Neem contact op met een erkende servicedealer of een erkende Toro distributeur, of bezoek www.Toro.com voor een lijst van alle goedgekeurde werktuigen en accessoires.
Om de beste prestaties te verkrijgen en er zeker van te zijn dat de machine altijd veilig kan worden gebruikt, moet u ter vervanging uitsluitend originele Toro onderdelen en accessoires gebruiken. Gebruik ter vervanging nooit onderdelen en accessoires van andere fabrikanten, omdat dit gevaarlijk kan zijn. Dit kan ertoe leiden dat de garantie op het product komt te vervallen.
Note: Bepaal de linker- en rechterzijde van de machine vanuit de normale bedieningspositie.
Laat kinderen of personen die geen instructie hebben ontvangen, de machine nooit gebruiken of onderhoudswerkzaamheden daaraan verrichten. Plaatselijke voorschriften kunnen nadere eisen stellen aan de leeftijd van degene die met de machine werkt. Plaatselijke voorschriften kunnen nadere eisen stellen aan de leeftijd van degene die met de machine werkt. De eigenaar is verantwoordelijk voor de instructie van alle bestuurders en technici.
Zorg ervoor dat u vertrouwd raakt met de bedieningsorganen en de veiligheidssymbolen, en weet hoe u de machine veilig kunt gebruiken.
Schakel de parkeerrem in, schakel de machine uit, verwijder het contactsleuteltje, en wacht totdat alle bewegende onderdelen tot stilstand zijn gekomen voordat u de bestuurderspositie verlaat. Laat de machine afkoelen voordat u deze afstelt, reinigt, stalt of er onderhoudswerkzaamheden aan verricht.
Zorg ervoor dat u weet hoe u de machine snel kunt stoppen.
Controleer de aanwezigheid en goede werking van de dodemansinrichtingen, veiligheidsschakelaars en beveiligingsmiddelen. Gebruik de machine uitsluitend als deze naar behoren werkt.
Controleer voordat u begint te maaien altijd de machine om zeker te zijn dat de maai-eenheden in goede staat zijn.
Inspecteer het terrein waarop u de machine gaat gebruiken en verwijder voorwerpen die de machine kan uitwerpen.
Wees uiterst voorzichtig bij het omgaan met brandstof. Brandstof is ontvlambaar en de dampen kunnen tot ontploffing komen.
Doof alle sigaretten, sigaren, pijpen en andere ontstekingsbronnen.
Gebruik uitsluitend een goedgekeurd vat of blik voor de brandstof.
Wanneer de motor loopt of heet is, mag u de brandstofdop niet verwijderen of geen brandstof toevoegen.
Geen brandstof bijvullen of aftappen in een afgesloten ruimte.
Bewaar de machine en het brandstofvat niet op plaatsen waar open vlammen, vonken of waakvlammen (bv. van een boiler of een ander toestel) aanwezig kunnen zijn.
Probeer de motor niet te starten als u brandstof hebt gemorst; voorkom elke vorm van open vuur of vonken totdat de brandstofdampen volledig zijn verdwenen.
Inhoud brandstoftank: 22,7 liter
Aanbevolen brandstof:
Gebruik voor optimaal resultaat uitsluitend schone, verse dieselbrandstof of biodiesel met een laag (<500 ppm) of ultralaag (<15 ppm) zwavelgehalte. Het cetaangetal moet minimaal 40 zijn. Koop brandstof in hoeveelheden die binnen 180 dagen kunnen worden gebruikt zodat u altijd verse brandstof heeft.
Gebruik zomerdieselbrandstof (nr. 2-D) bij temperaturen boven -7 °C en winterdieselbrandstof (nr. 1-D of nr. 1-D/2-D-mengsel) bij temperaturen beneden -7 °C. Gebruik van winterbrandstof bij lage temperaturen biedt een lager vlampunt en een lager stolpunt. Dit vergemakkelijkt het starten en vermindert de kans dat de filters verstopt raken.
Note: Als u bij temperaturen boven -7 °C zomerbrandstof gebruikt, zal de pomp langer meegaan en meer vermogen leveren dan bij gebruik van winterbrandstof.
Deze machine kan ook gebruik maken van een dieselmengsel tot maximaal B20 (20% biodiesel, 80% petrodiesel). Het deel petrodiesel moet een laag of ultralaag zwavelgehalte hebben. Neem de volgende voorzorgsmaatregelen in acht:
Her deel biodiesel van de brandstof moet voldoen aan de specificatie ASTM D6751 of EN 14214.
Het dieselmengsel moet beantwoorden aan ASTM D975 of EN 590.
Gelakte oppervlakken kunnen worden beschadigd door biodiesel.
Gebruik B5 (biodieselinhoud 5%) of mengsels met een lager percentage in koud weer.
Controleer afdichtingen, slangen en pakkingen, die in contact met brandstof komen, omdat zij in de loop der tijd hierdoor kunnen worden aangetast.
De kans bestaat dat een brandstoffilter na verloop van tijd verstopt raakt, nadat u bent overgestapt op een biodieselmengsel.
Neem voor verdere informatie over biodiesel contact op met een erkende Toro distributeur.
Reinig de omgeving van de dop van de brandstoftank en verwijder de dop (Figuur 33).

Giet de aanbevolen brandstof in de brandstoftank tot 25 mm vanaf de onderkant van de vulbuis. Dit geeft de brandstof in de tank ruimte om uit te zetten.
Important: Vul de brandstoftank niet helemaal.
Plaats daarna de dop terug.
Note: U hoort een klik als de dop goed bevestigd is.
Neem eventueel gemorste brandstof op.
| Onderhoudsinterval | Onderhoudsprocedure |
|---|---|
| Bij elk gebruik of dagelijks |
|
Ga elke dag als volgt te werk voordat u de machine start:
Controleer het oliepeil in de motor – zie Motoroliepeil controleren..
Water aftappen uit het brandstoffilter – zie Water aftappen uit het brandstoffilter.
Het koelsysteem controleren – zie Onderhoud koelsysteem.
Controleer de bandenspanning – zie De bandenspanning controleren.
Controleer het peil van de hydraulische vloeistof – zie Het peil van de hydraulische vloeistof controleren.
Controleer het contact tussen de messenkooi en het ondermes – zie Afstelling van contact tussen ondermes en messenkooi controleren.
De eigenaar/gebruiker is verantwoordelijk voor ongelukken die persoonlijk letsel of materiële schade kunnen veroorzaken, en hij dient zulke ongelukken te voorkomen.
Draag geschikte kleding en uitrusting, zoals oogbescherming, een lange broek, stevige schoenen met een gripvaste zool en gehoorbescherming. Draag lang haar niet los en draag geen losse kleding of juwelen.
Gebruik de machine niet als u ziek, moe of onder de invloed van alcohol of drugs bent.
Geef uw volledige aandacht als u de machine gebruikt. Zorg ervoor dat u met niets anders bezig bent waardoor u kunt worden afgeleid, anders kunnen er letsels ontstaan of kan eigendom worden beschadigd.
Voordat u de motor start: zorg dat alle aandrijvingen in de neutraalstand staan, de parkeerrem in werking is gesteld en u zich in de bestuurderspositie bevindt.
Vervoer geen passagiers op de machine.
Hou omstanders en kinderen uit de buurt van het werkgebied. Als er collega's aanwezig moeten zijn, moet u voorzichtig zijn en controleren of de grasmanden op de machine gemonteerd zijn.
Gebruik de machine uitsluitend bij een goede zichtbaarheid zodat u kuilen en verborgen gevaren kunt vermijden.
Gebruik de machine niet op nat gras. Als de wielen hun grip verliezen, kan de machine gaan glijden.
Houd uw handen en voeten uit de buurt van de maai-eenheden.
Kijk achterom en omlaag voordat u achteruitrijdt om er zeker van te zijn dat de weg vrij is.
Wees voorzichtig bij het naderen van blinde hoeken, struiken, bomen, en andere objecten die uw zicht kunnen belemmeren.
Schakel de maai-eenheden uit wanneer u niet maait.
Verminder uw snelheid en wees voorzichtig als u een bocht maakt of wegen en voetpaden oversteekt met de machine. Verleen altijd voorrang.
Laat de motor enkel draaien in goed verluchte omgevingen. Uitlaatgassen bevatten koolstofmonoxide, dat dodelijk is bij inademing.
Laat een machine met draaiende motor niet onbeheerd achter.
Doe het volgende voordat u de bestuurdersstoel verlaat:
Parkeer de machine op een horizontaal oppervlak.
Laat de maai-eenheden neer op de grond en zorg ervoor dat ze uitgeschakeld zijn.
Haal de parkeerrem aan.
Zet de motor af en verwijder het sleuteltje.
Wacht totdat alle bewegende onderdelen tot stilstand zijn gekomen.
Gebruik de machine uitsluitend als het zicht goed is en bij geschikte weersomstandigheden. Gebruik de machine niet als er kans op bliksem is.
Verwijder geen onderdelen van de rolbeugel van de machine.
Zorg dat u de veiligheidsgordel draagt en deze in een noodgeval snel kunt losmaken.
Doe altijd de veiligheidsgordel om.
Controleer aandachtig of er obstakels zijn waar u onderdoor moet rijden, en zorg dat u ze niet raakt.
Houd de rolbeugel in deugdelijke staat door deze regelmatig grondig te controleren op beschadiging, en zorg dat alle bevestigingsmateriaal stevig is vastgedraaid.
Vervang alle beschadigde onderdelen van de rolbeugel. U mag deze niet repareren of aanpassen.
Het maaien op hellingen is een belangrijke factor bij ongelukken waarbij de controle over de machine wordt verloren of deze omkantelt. Dit kan ernstig of dodelijk letsel veroorzaken. U bent verantwoordelijk voor een veilig gebruik van de machine op hellingen. Gebruik van de machine op hellingen vereist altijd extra voorzichtigheid.
Onderzoek de toestand van het werkgebied om te bepalen of de machine veilig kan worden gebruikt op de helling. Gebruik altijd uw gezond verstand en uw beoordelingsvermogen wanneer u dit onderzoek uitvoert.
Neem de onderstaande instructies door voor gebruik van de machine op hellingen. Beoordeel de omstandigheden van het terrein alvorens de machine te gebruiken om na te gaan of u de machine op een bepaalde dag op dit terrein kunt gebruiken. Veranderingen in het terrein kunnen tot gevolg hebben dat de machine anders reageert op hellingen.
Vermijd starten, stoppen of bochten maken op hellingen. Vermijd plotse veranderingen van snelheid of richting. Draai langzaam en geleidelijk.
Gebruik een machine nooit in omstandigheden waarbij u twijfelt over tractie, sturen of stabiliteit.
Verwijder of markeer obstakels zoals greppels, putten, geulen, hobbels, stenen en andere verborgen gevaren. In hoog gras zijn obstakels niet altijd zichtbaar. De machine kan omslaan op oneffenheden in het terrein.
Denk eraan dat de machine tractie kan verliezen doordat u bergafwaarts, op nat gras of dwars op een helling maait. Als de aandrijfwielen tractie verliezen, kunnen ze gaan slippen en kunt u niet meer remmen of sturen.
Rij zeer voorzichtig als u de machine gebruikt in de buurt van steile hellingen, greppels, dijken, waterpartijen en andere gevaarlijke punten. De machine kan plotseling omslaan als een wiel over de rand komt, of als de rand instort. Zorg voor een veilige afstand tussen de machine en een gevarenzone.
Spoor gevaren onderaan de helling op. Indien er gevaren zijn, maait u de helling met een loopmaaimachine.
Laat de maai-eenheden indien mogelijk neer op de grond wanneer u werkt op hellingen. Als u de maai-eenheden omhoog brengt op hellingen, kan de machine onstabiel worden.
Wees uiterst voorzichtig met grasopvangsystemen of andere werktuigen. Deze kunnen de machine minder stabiel maken, waardoor u de controle over de machine kunt verliezen.
Raadpleeg de bijgeleverde Gebruikershandleiding van de motor voor informatie over olieverversingsbeurten en aanbevolen onderhoudsprocedures tijdens de inrijperiode.
Voor de inrijperiode is 8 uur genoeg.
Aangezien de eerste bedrijfsuren van cruciaal belang zijn voor de betrouwbaarheid van de machine in de toekomst, moet u de werking en de prestaties van de machine scherp in het oog houden zodat kleine gebreken die later grote problemen kunnen veroorzaken, worden opgemerkt en verholpen. Controleer de machine tijdens de inrijperiode veelvuldig op olielekken, losse bevestigingen of andere gebreken.
Important: Gebruik geen ether of andere soorten startvloeistof.
Note: U moet mogelijk het brandstofsysteem ontluchten voordat u de motor start, indien zich één van de volgende situaties heeft voorgedaan:
Eerste keer starten van een nieuwe motor.
De motor is gestopt omdat de brandstof op was.
Er is onderhoud uitgevoerd aan componenten van het brandstofsysteem, bijvoorbeeld er is een nieuw filter gemonteerd, etc.
Raadpleeg de gebruikershandleiding van de motor.
Ga op de stoel zitten, trek de parkeerrem aan, zet de heffen/dalen maai-bediening vrij, en zet de schakelhendel in de NEUTRAALSTAND.
Neem uw voet van het tractiepedaal en verzeker dat het pedaal in de NEUTRAALSTAND staat.
Zet de gashendel op LANGZAAM.
Plaats het sleuteltje in het contact en draai het naar de AAN-stand. Houd het in de AAN-stand tot het indicatielampje van de gloeibougies uitschakelt (ongeveer 6 seconden).
Draai het contactsleuteltje dan naar de START-stand.
Important: Om te voorkomen dat de startmotor oververhit raakt, mag u de startmotor niet langer dan 10 seconden in werking stellen. Als u de motor 10 seconden achtereen hebt gestart, moet u 60 seconden wachten voordat u een nieuwe startpoging doet.
Laat het sleuteltje direct los als de motor start en laat het weer terugkeren naar DRAAIEN.
Laat de motor enkele minuten opwarmen voordat u begint met werken.
Important: Als de motor voor het eerst gestart wordt, en na revisie van de motor, moet de machine de eerste één tot twee minuten vooruit en achteruit worden gezet. Draai het stuurwiel naar links en naar rechts om de stuurreactie te controleren. Schakel de motor dan uit en wacht totdat alle bewegende delen tot stilstand zijn gekomen; zie De motor afzetten. Controleer op olielekken, loszittende onderdelen en andere zichtbare gebreken.
Zet de gashendel op SNEL.
Beweeg de bedieningshendel van de hefinrichting kort naar voren.
De maai-eenheden moeten zakken en alle messenkooien moeten draaien.
Note: De schakelhendel moet in de middelste stand (maaien) staan zodat de messenkooien draaien wanneer u de maai-eenheden laat zakken
Beweeg de bedieningshendel van de hefinrichting naar achteren.
De messenkooien moeten stoppen met draaien en de maaidekken moeten omhoogkomen in de volledige transportstand.
Trap het rempedaal in om te voorkomen dat de machine in beweging komt, en zet het tractiepedaal in de vooruit- en de achteruitstand.
Voer deze procedure gedurende 1 tot 2 minuten uit. Zet de schakelhendel op NEUTRAAL, schakel de parkeerrem in en schakel de motor uit.
Controleer op vloeistoflekken en draai de hydraulische fittings vast als u lekken vindt.
Note: Als de machine nieuw is en de lagers en messenkooien nog stroef zijn, moet u de gashendel in de stand SNEL zetten om deze controle uit te voeren. Na de inrijperiode hoeft u de gashendel niet op SNEL te zetten.
Note: Als er vloeistof blijft lekken, neem dan contact op met uw erkende Toro distributeur voor hulp en, indien nodig, voor vervangonderdelen.
Important: Sporen van vloeistof op de motor of de afdichtingen van de wielen zijn normaal. Afdichtingen hebben een beetje smering om goed te functioneren.
Zet de gashendel op LANGZAAM, trek de bedieningshendel van de hefinrichting naar achteren en zet de schakelhendel in de NEUTRAALSTAND.
Draai het contactsleuteltje op UIT om de motor af te zetten. Verwijder het sleuteltje uit het contact om te voorkomen dat de motor per ongeluk start.
Sluit de brandstofafsluitklep voordat u de machine stalt.
| Onderhoudsinterval | Onderhoudsprocedure |
|---|---|
| Bij elk gebruik of dagelijks |
|
Niet-aangesloten of beschadigde interlockschakelaars kunnen onverwachte gevolgen hebben op de werking van de machine. Dit kan lichamelijk letsel veroorzaken.
Laat de interlockschakelaars ongemoeid.
Controleer elke dag de werking van de interlockschakelaars en vervang beschadigde schakelaars voordat u de machine weer in gebruik neemt.
De interlockschakelaars dienen voor de beveiliging en zorgen dat de machine niet in werking kan treden als dit u zou kunnen verwonden of de machine beschadigen.
Het veiligheidssysteem zorgt ervoor dat de motor uitsluitend start wanneer:
Het tractiepedaal staat in de NEUTRAALSTAND.
De schakelhendel staat in de NEUTRAALSTAND.
Het veiligheidssysteem zorgt ervoor dat de motor uitsluitend in beweging komt wanneer:
de parkeerrem is uitgeschakeld;
U op de bestuurdersstoel zit.
De schakelhendel op MAAIEN ofTRANSPORT staat.
Het veiligheidssysteem voorkomt het draaien van de messenkooien, tenzij de schakelhendel op MAAIEN staat.
| Onderhoudsinterval | Onderhoudsprocedure |
|---|---|
| Bij elk gebruik of dagelijks |
|
Voor dagelijks de onderstaande systeemcontroles uit om te verzekeren dat het veiligheidssysteem goed werkt:
Ga op de stoel zitten, zet het tractiepedaal op NEUTRAAL, zet de schakelhendel op NEUTRAAL, en stel de parkeerrem in werking.
Probeer het tractiepedaal naar voren of naar achteren te bewegen.
Het pedaal mag niet bewegen; dit betekent dat het veiligheidssysteem naar behoren werkt. Verhelp het probleem als het systeem niet naar behoren werkt.
Ga op de stoel zitten, zet het tractiepedaal op NEUTRAAL, zet de schakelhendel op NEUTRAAL, en stel de parkeerrem in werking.
Zet de schakelhendel op MAAIEN of op TRANSPORT en probeer de motor te starten.
De motor mag niet aanslaan of starten; dit betekent dat het veiligheidssysteem naar behoren werkt. Verhelp het probleem als het systeem niet naar behoren werkt.
Ga op de stoel zitten, zet het tractiepedaal op NEUTRAAL, zet de schakelhendel op NEUTRAAL, en stel de parkeerrem in werking.
Start de motor, zet de schakelhendel op MAAIEN of TRANSPORT.
De motor moet afslaan; dit betekent dat het veiligheidssysteem naar behoren werkt.
Verhelp het probleem als het systeem niet naar behoren werkt.
Blijf op de stoel zitten, zet het tractiepedaal op NEUTRAAL, zet de schakelhendel op NEUTRAAL, en stel de parkeerrem in werking.
Start de motor.
Zet de parkeerrem vrij, zet de schakelhendel op MAAIEN en beweeg omhoog uit de stoel.
De motor moet afslaan; dit betekent dat het veiligheidssysteem naar behoren werkt. Verhelp het probleem als het systeem niet naar behoren werkt.
Blijf op de stoel zitten, zet het tractiepedaal op NEUTRAAL, zet de schakelhendel op NEUTRAAL, en stel de parkeerrem in werking.
Start de motor.
Beweeg de bedieningshendel van de hefinrichting naar voren om de maaidekken neer te laten. De maaidekken moeten omlaag bewegen, maar mogen niet gaan draaien.
Als ze beginnen te draaien werkt het veiligheidssysteem niet naar behoren; verhelp het probleem voordat u de machine gebruikt.
Verzeker dat de maaidekken volledig zijn geheven.
Zet de schakelhendel op TRANSPORT.
Gebruik de remmen om de machine langzamer te laten rijden als u een steile helling afrijdt om te voorkomen dat u de macht over het stuur verliest.
Verminder altijd uw snelheid als u oneffen terrein nadert en rij voorzichtig in sterk glooiend gebied.
Zorg ervoor dat u vertrouwd raakt met de breedte van het voertuig. Probeer niet tussen objecten te rijden die dicht bij elkaar staan, teneinde dure schade en uitvaltijd te voorkomen.
Important: Als uw machine uitgerust is met een lekdetectoralarm en het alarm klinkt terwijl u een gazon maait, of als u merkt dat er olie lekt, moet u onmiddellijk de maaidekken omhoog brengen, van het gazon rijden en de machine buiten het gazon tot stilstand brengen. Ga na wat de oorzaak van het lek is en verhelp het probleem.
Voordat u greens gaat maaien, moet u een open ruimte zoeken om de basisbediening van de machine onder de knie te krijgen (bv. de machine starten en stoppen, de maai-eenheden omhoog en omlaag brengen en bochten nemen).
Controleer of er vuil op het gazon ligt, verwijder de vlag van de cup, en bepaal in welke richting u het beste kunt maaien. Ga hierbij uit van de voorgaande maairichting. Maai altijd in een ander maaipatroon dan het vorige, zodat de grassprieten minder snel plat gaan liggen en daardoor moeilijker tussen de messen van de messenkooi en het ondermes kunnen komen.
Rij naar de green met de schakelhendel in de MAAISTAND en de gashendel op vol gas.
Begin aan 1 rand van de green zodat u kunt maaien in banen.
Note: Dit beperkt de verdichting tot een minimum en zorgt voor een verzorgd en aantrekkelijk maaipatroon op de greens.
Druk de bedieningshendel van de hefinrichting naar voren op het moment dat de voorste randen van de grasvangers over de buitenrand van de green komen.
Note: Hiermee laat u de maaidekken neer op de grasmat en start u de messenkooien.
Important: De middelste maai-eenheid komt iets later omhoog en omlaag dan de voorste maai-eenheden; daarom moet u zich de timing eigen maken die nodig is om het maaien van overgebleven gras tot een minimum te beperken.
Note: De vertraging bij het omhoog en omlaag komen hangt af van de temperatuur van de hydraulische vloeistof. Koude hydraulische vloeistof leidt tot een grotere vertraging. Naarmate de vloeistoftemperatuur stijgt, zal de vertragingstijd korter worden.
Zorg ervoor dat een nieuwe maaibaan de vorige maaibaan zo weinig mogelijk overlapt.
Note: Om ervoor te zorgen dat u de green in een rechte lijn maait en de machine op een gelijke afstand van de rand van de vorige maaibaan blijft, moet u uitgaan van een denkbeeldige zichtlijn, ongeveer 1,8 tot 3 m vóór de machine tot de rand van het ongemaaide deel van de green (Figuur 35). Laat de buitenrand van het stuurwiel deel uitmaken van de zichtlijn; d.w.z. houd de rand van het stuurwiel in een rechte lijn ten opzichte van een punt dat altijd op dezelfde afstand van de voorkant van de machine blijft.
Als de voorste randen van de grasvangers over de rand van de green komen, moet u de hendel van de hefinrichting naar achteren houden tot alle maai-eenheden opgetild zijn. Hiermee brengt u de messenkooien tot stilstand en brengt u de maai-eenheden omhoog.
Important: Doe deze stap op het juiste moment zodat u de boord niet maait maar wel zo veel mogelijk gazon maait. Zo moet u later minder gras rond de buitenste rand maaien.
U kunt de werktijd bekorten en de machine eenvoudiger voor de volgende maaibaan opstellen door de machine een ogenblik in de tegenovergestelde richting te draaien en daarna in de richting van het ongemaaide deel. Met zo'n druppelvormige bocht (Figuur 34) kunt u de machine snel in positie brengen voor uw volgende maaibaan.

Note: Probeer zo kort mogelijk te draaien, behalve bij warmer weer. Dan minimaliseert een bredere bocht de beschadiging van het gazon.

Note: Het stuurwiel zal niet terugkeren in zijn oorspronkelijke stand nadat u de machine hebt gedraaid.
Important: U mag de machine nooit tot stilstand brengen op een green terwijl de maai-eenheden ingeschakeld zijn, omdat hierdoor het gras kan worden beschadigd. Laat de machine ook niet stoppen op een natte green omdat de wielen van de machine dan sporen of afdrukken kunnen achterlaten.
Maak het werk af door de buitenste rand van de green te maaien. Maai in een andere richting dan de voorgaande keer.
Note: Gebruik de gashendel om de snelheid van de machine aan te passen als u de buitenste rand maait. Dit zorgt voor een maairesultaat dat soortgelijk is met de green en 'triplex ring' beperkt.
Note: Let altijd op het weer en de gazonomstandigheden en zorg ervoor dat u in een andere richting maait dan de voorgaande keer.
Wanneer u de buitenste rand gemaaid hebt, tikt u de hendel van de hefinrichting even naar achteren om de messenkooien te stoppen. Rij vervolgens van het gazon. Wanneer alle maai-eenheden van het gazon af zijn, laat u de maai-eenheden omhoog komen.
Note: Zo worden graskluiten op de green tot een minimum beperkt.
Plaats de vlag terug.
Verwijder al het maaisel uit de grasmanden voordat u de machine naar een volgende green rijdt.
Note: Zwaar en vochtig maaisel vormt een overmatige belasting voor de manden en voegt onnodig gewicht toe aan de machine, waardoor de systemen van de machine (motor, het hydraulische systeem, de remmen, enz.) zwaarder worden belast.
Schakel de parkeerrem in, schakel de motor uit, verwijder het contactsleuteltje, en wacht totdat alle bewegende onderdelen tot stilstand zijn gekomen voordat u de bestuurderspositie verlaat. Laat de machine afkoelen voordat u deze afstelt, reinigt, stalt of er onderhoudswerkzaamheden aan verricht.
Verwijder gras en vuil van de maai-eenheden en de aandrijvingen, om brand te voorkomen. Veeg gemorste olie en brandstof op.
Zorg ervoor dat de brandstofafsluitklep is gesloten als u de machine stalt of sleept.
Schakel de aandrijving van het werktuig uit als u de machine sleept of niet gebruikt.
Laat de machine afkoelen voordat u de machine binnen stalt.
Onderhoud en reinig de veiligheidsgordel(s) indien nodig.
Sla de machine en de brandstofhouder niet op plaatsen waar open vlammen, vonken of waakvlammen (bv. van een boiler of andere toestellen) aanwezig kunnen zijn.
Sleep uitsluitend met een machine die is voorzien van een trekhaak. Bevestig materiaal dat wordt gesleept, uitsluitend aan het sleeppunt.
Volg de aanwijzing van de fabrikant op met betrekking tot de gewichtslimiet voor sleepwerktuigen en slepen op hellingen. Op een helling kan het gewicht van een gesleept werktuig ertoe leiden dat de wielen hun grip verliezen en de bestuurder de controle over de machine verliest.
Laat kinderen of andere personen nooit plaatsnemen in of op gesleepte werktuigen.
Rij langzaam en zorg voor voldoende afstand om te stoppen wanneer u de machine sleept.
| Onderhoudsinterval | Onderhoudsprocedure |
|---|---|
| Bij elk gebruik of dagelijks |
|
Reinig de machine na het maaien grondig met een tuinslang zonder spuitmond zodat bij een te hoge waterdruk de afdichtingen en lagers niet worden beschadigd of verontreinigd raken. Was een hete motor of elektrische aansluitingen niet met water.
Important: Gebruik geen brak of teruggewonnen water om de machine schoon te maken.
Important: Gebruik nooit een hogedrukreiniger om de machine schoon te maken. Hogedrukreinigers kunnen het elektrische systeem beschadigen, belangrijke stickers losweken en noodzakelijk vet op wrijvingspunten wegspoelen. Gebruik niet te veel water in de buurt van het bedieningspaneel, de motor en de accu.
Important: Reinig de machine niet terwijl de motor loopt. De machine reinigen terwijl de motor loopt kan interne motorschade veroorzaken.
Doe het volgende nadat u de machine hebt gereinigd:
Controleer de machine op eventuele lekken in het hydraulische systeem, beschadiging of slijtage van de hydraulische en mechanische onderdelen.
Controleer of de maai-eenheden scherp genoeg zijn.
Smeer de remas met SAE 30 olie of een sproeismeermiddel om corrosie te voorkomen en ervoor te zorgen dat de machine tot tevredenheid blijft werken als u deze de volgende keer gebruikt.
Wees voorzichtig als u de machine inlaadt op een aanhanger of een vrachtwagen of uitlaadt.
Gebruik een oprijplaat van volledige breedte bij het laden van de machine op een aanhanger of vrachtwagen.
Zet de machine goed vast met spanbanden, kettingen, kabels of touwen. Zowel de voorste als de achterste spanband moet naar beneden en naar de buitenkant van de machine lopen (Figuur 36).

In een noodgeval kunt u de machine slepen over een afstand van 0,4 km.
Important: U mag de machine niet sneller dan met 3 tot 5 km per uur slepen om te vermijden dat u het aandrijfsysteem beschadigt. Als u de machine meer dan 0,4 km moet verplaatsen, moet u deze vervoeren op een vrachtwagen of een aanhanger.
Ga naar de omloopklep op de pomp (Figuur 37).

Open de omloopklep door deze 3 slagen linksom te draaien.
Voordat u de motor start, moet u de omloopklep vastdraaien met een torsie van 12 N·m.
Important: U mag de motor niet starten als de omloopklep open is.
Als u de machine niet goed onderhoudt, kunnen systemen van de machine voortijdig defect raken en u of omstanders mogelijk letsel toebrengen.
U moet de machine goed onderhouden en in goede staat houden volgens deze instructies.
Note: Bepaal vanuit de normale bedieningspositie de linker- en rechterzijde van de machine.
Note: Download het elektrische of hydraulische schema gratis op www.Toro.com; u kunt uw machine zoeken via de link Handleidingen op de hoofdpagina.
Important: Raadpleeg de Gebruikershandleiding van de motor voor verdere onderhoudsprocedures.
Als u het sleuteltje in het contact laat, bestaat de kans dat iemand de motor per ongeluk start waardoor u en andere omstanders ernstig letsel kunnen oplopen.
Haal het sleuteltje uit het contact en maak de bougiekabels los voordat u onderhoudswerkzaamheden uitvoert aan de machine. Druk de kabels opzij, zodat deze niet onbedoeld contact kunnen maken met de bougies.
Doe het volgende voordat u de bestuurdersstoel verlaat:
Parkeer de machine op een horizontaal oppervlak.
Schakel de maai-eenheid/maai-eenheden uit.
Haal de parkeerrem aan.
Zet de motor af en verwijder het sleuteltje.
Wacht totdat alle bewegende onderdelen tot stilstand zijn gekomen.
Laat de onderdelen van de machine afkoelen voordat u onderhoudswerkzaamheden uitvoert.
Voer indien mogelijk geen onderhoudswerkzaamheden uit als de motor draait. Blijf uit de buurt van bewegende onderdelen.
Ondersteun de machine met assteunen als u onder de machine werkt.
Haal voorzichtig de druk van onderdelen met opgeslagen energie.
Zorg ervoor dat alle onderdelen van de machine in goede staat verkeren en al het bevestigingsmateriaal stevig vastzit.
Vervang versleten of beschadigde stickers.
Om veilige en optimale prestaties van de machine te verkrijgen, moet u ter vervanging alleen originele Toro onderdelen gebruiken. Gebruik ter vervanging nooit onderdelen van andere fabrikanten, omdat dit gevaarlijk kan zijn en de productgarantie hierdoor kan vervallen.
| Onderhoudsinterval | Onderhoudsprocedure |
|---|---|
| Na het eerste bedrijfsuur |
|
| Na de eerste 8 bedrijfsuren |
|
| Na de eerste 10 bedrijfsuren |
|
| Na de eerste 50 bedrijfsuren |
|
| Bij elk gebruik of dagelijks |
|
| Om de 50 bedrijfsuren |
|
| Om de 100 bedrijfsuren |
|
| Om de 200 bedrijfsuren |
|
| Om de 400 bedrijfsuren |
|
| Om de 500 bedrijfsuren |
|
| Om de 800 bedrijfsuren |
|
| Om de 1000 bedrijfsuren |
|
| Om de 2000 bedrijfsuren |
|
| Jaarlijks |
|
| Om de 2 jaar |
|
Gelieve deze pagina te kopiëren ten behoeve van gebruik bij routinecontroles.
| Gecontroleerd item | Voor week van: | ||||||
|---|---|---|---|---|---|---|---|
| Ma. | Di. | Wo. | Do. | Vr. | Za. | Zo. | |
| Werking van interlockschakelaars controleren. | |||||||
| Werking van instrumenten controleren. | |||||||
| Werking van de remmen controleren. | |||||||
| Brandstoffilter/waterafscheider controleren/legen. | |||||||
| Brandstofpeil controleren. | |||||||
| Controleer het peil van de hydraulische vloeistof. | |||||||
| Oliepeil controleren. | |||||||
| Radiateurscherm en radiateur reinigen. | |||||||
| Het luchtfilter inspecteren. | |||||||
| Controleren of motor ongewone geluiden maakt. | |||||||
| Afstelling van contact tussen snijplaat en messenkooi controleren. | |||||||
| Hydraulische slangen en leidingen op schade controleren. | |||||||
| Controleren op lekkages. | |||||||
| Controleer de bandenspanning. | |||||||
| Maaihoogte-instelling controleren. | |||||||
| Beschadigde lak bijwerken. | |||||||
| De eenheid schoonmaken | |||||||
| Controle uitgevoerd door: | ||
| Item | Datum | Informatie |
| Onderhoudsinterval | Onderhoudsprocedure |
|---|---|
| Om de 400 bedrijfsuren |
|
Smeer de smeernippel regelmatig met lithiumvet nr. 2.
Veeg de smeernippel schoon zodat u geen vuil in het lager of de lagerbus brengt (Figuur 38).

Pomp vet in het lager of de lagerbus totdat er vet verschijnt. Veeg overtollig vet af.
U moet de motor afzetten voordat u het oliepeil controleert of het carter bijvult met olie.
Verander de snelheid van de toerenregelaar niet en laat de motor het maximale toerental niet overschrijden.
| Onderhoudsinterval | Onderhoudsprocedure |
|---|---|
| Om de 200 bedrijfsuren |
|
Controleer de luchtfilterbehuizing op schade die een luchtlek kan veroorzaken; vervang deze in geval van beschadiging. Controleer het gehele luchtinlaatsysteem op lekken, beschadiging of losse slangklemmen.
Als u het luchtfilter vervangt voordat dit nodig is, wordt de kans vergroot dat er vuil in de motor komt als het filter wordt verwijderd.
Zorg ervoor dat het deksel goed vastzit en de luchtfilterbehuizing helemaal afsluit.
Maak de sluitingen los waarmee het deksel van het luchtfilter is bevestigd aan het luchtfilterhuis (Figuur 39).

Verwijder het deksel van de luchtfilterbehuizing.
Voordat u het filter verwijdert, moet u met schone en droge perslucht onder lage druk (2,76 bar) grote hoeveelheden aangekoekt vuil verwijderen dat tussen de buitenkant van het voorfilter en de filterbus zit. Deze reiniging voorkomt dat er vuil in de inlaat terechtkomt als u het voorfilter verwijdert.
Important: Gebruik geen perslucht onder hoge druk, omdat hierdoor vuil door het filter in het inlaatkanaal kan worden geblazen.
Verwijder het voorfilter en vervang het:
Important: Maak een gebruikt filterelement niet schoon.
Controleer het nieuwe filter op schade; een beschadigd element mag niet worden gebruikt.
Trek het oude filter voorzichtig uit de behuizing en gooi het weg.
Plaats het nieuwe filter door de buitenring van het element aan te drukken om dit vast te zetten in de filterbus. Controleer het afdichtingsuiteinde van het filter en de behuizing.
Important: Druk niet op het flexibele midden van het filter.
Reinig de opening van de vuiluitlaat in het afneembare deksel. Verwijder de rubberen uitlaatklep van het deksel, maak de holte schoon en plaats de klep terug.
Monteer het deksel met de rubberen uitlaatklep naar beneden gericht – in een stand tussen ongeveer 5 tot 7 uur, gezien vanaf het uiteinde.
Maak de sluitingen vast (Figuur 39).
| Onderhoudsinterval | Onderhoudsprocedure |
|---|---|
| Bij elk gebruik of dagelijks |
|
De motor wordt verzonden met 3,7 l (inclusief filter) olie in het carter; u moet het oliepeil echter controleren voordat en nadat u de motor de eerste keer start.
Gebruik hoogwaardige motorolie die moet beantwoorden aan de volgende specificaties:
vereiste onderhoudsclassificatie van API: CH-4, CI-4 of hoger.
Aanbevolen olie: SAE 10W-30
Alternatieve olie: SAE 15W-40
Toro Premium motorolie met een viscositeit van 10W-30 is verkrijgbaar bij uw dealer. Raadpleeg de Onderdelencatalogus voor de onderdeelnummers.
Note: De beste tijd om de motorolie te controleren is wanneer de motor koud is voordat deze is gestart voor de dag. Als hij al heeft gedraaid, moet u de olie eerst terug laten lopen gedurende tenminste 10 minuten voordat u controleert. Als het olieniveau op of onder de bijvulmarkering Add op de peilstok staat, vul dan olie bij om het olieniveau bij de volmarkering FULL te brengen. Niet te vol vullen.
Important: Zorg ervoor dat het oliepeil tussen de markeringen voor het minimum- en het maximumpeil op de peilstok staat; de motor kan beschadigd worden indien deze te veel of te weinig olie bevat.
Plaats de machine op een horizontaal oppervlak.
Verwijder de peilstok en veeg deze af met een schone doek (Figuur 41).
Important: Verwijder de peilstok tijdens het bijvullen van de motor met olie. Als u motorolie bijvult, moet u ervoor zorgen dat er enige afstand is tussen de vulinrichting en de vulopening in het klepdeksel, zoals is aangegeven in Figuur 40. Deze afstand is nodig voor het ontsnappen van de lucht bij het vullen, dit voorkomt dat de olie de breather (beluchting) buis instroomt.


Steek de peilstok in de buis. Let erop dat de peilstok er volledig in schuift.
Haal de peilstok uit de buis en controleer het oliepeil
Note: Als het oliepeil te laag is, moet u de vuldop losmaken van het klepdeksel en langzaam voldoende olie bijvullen totdat het peil de VOL-markering op de peilstok bereikt. Vul de olie langzaam bij en controleer daarbij veelvuldig het peil. Niet te vol vullen.
Plaats de peilstok terug.
Start de motor en laat deze 30 seconden stationair lopen. Zet de motor daarna af. Wacht 30 seconden, herhaal dan stap 2 tot en met 5.
Plaats de vuldop en de peilstok weer stevig op hun plaats.
| Onderhoudsinterval | Onderhoudsprocedure |
|---|---|
| Na de eerste 50 bedrijfsuren |
|
| Om de 100 bedrijfsuren |
|
Verwijder de aftapplug en laat de olie in een opvangbak lopen. Als er geen olie meer naar buiten stroomt, plaatst u de aftapplug terug (Figuur 42).

Verwijder het oliefilter (Figuur 43). Smeer een dun laagje schone olie op de pakking van het filter.

Draai het filter met de hand vast totdat de pakking contact maakt met het filtertussenstuk. Draai het filter vervolgens nog eens een ½ tot ¾ slag. Niet te vast draaien.
Het carter met olie vullen, zie Motoroliepeil controleren..
U moet de oude olie op de juiste wijze afvoeren.
| Onderhoudsinterval | Onderhoudsprocedure |
|---|---|
| Bij elk gebruik of dagelijks |
|
Parkeer de machine op een horizontaal oppervlak en schakel de motor uit.
Plaats een opvangbak onder het brandstoffilter.
Open de aftapplug op het brandstoffilter ongeveer één slag en tap eventueel water af (Figuur 44).

Draai de plug weer dicht na het aftappen.
Note: Omdat het water wordt gemengd met dieselbrandstof, tapt u het brandstoffilter af in een geschikte opvangbak en voer de vloeistof op de juiste wijze af.
| Onderhoudsinterval | Onderhoudsprocedure |
|---|---|
| Om de 500 bedrijfsuren |
|
Sluit de brandstofafsluitklep (Figuur 45) onder de brandstoftank.

Reinig de omgeving van de plaats waar de filterbus wordt gemonteerd (Figuur 46).
Plaats een opvangbak onder het brandstoffilter.
Open de filteraftapplug (Figuur 46).

Schroef de filterbus los en verwijder deze volgens de plaatselijke voorschriften.
Draai het filter met de hand vast totdat de pakking contact maakt met het filtertussenstuk. Draai het filter vervolgens nog eens een ½ tot ¾ slag.
Verzeker dat de filter-aftapplug gesloten is. Open de brandstofafsluitklep.
| Onderhoudsinterval | Onderhoudsprocedure |
|---|---|
| Om de 2 jaar |
|
Inspecteer de brandstofleidingen op slijtage, beschadigingen of loszittende verbindingen.
Koppel de accu af voordat u reparaties aan de machine verricht. Maak eerst de minpool van de accu los en daarna de pluspool. Bevestig eerst de pluspool van de accu en daarna de minpool.
Laad de accu op in een open, goed geventileerde ruimte, uit de buurt van vonken en open vuur. Haal de oplader uit het stopcontact voordat u de accu aan- of loskoppelt. Draag beschermende kleding en gebruik geïsoleerd gereedschap.
Accupolen of metalen gereedschappen kunnen kortsluiting maken met metalen onderdelen van de , waardoor vonken kunnen ontstaan. Hierdoor kunnen accugassen tot ontploffing komen en lichamelijk letsel veroorzaken.
Zorg ervoor dat bij het verwijderen of installeren van de accu de accupolen niet in aanraking komen met metalen onderdelen van de machine.
Voorkom dat metalen gereedschappen kortsluiting veroorzaken tussen de accupolen en metalen onderdelen van de machine.
Als de accukabels verkeerd worden verbonden, kan dit schade aan de machine en de kabels tot gevolg hebben en vonken veroorzaken. Hierdoor kunnen accugassen tot ontploffing komen en lichamelijk letsel veroorzaken.
Maak altijd de minkabel (zwart) van de accu los voordat u de pluskabel (rood) losmaakt.
Als de accukabels verkeerd worden verbonden, kan dit schade aan de machine en de kabels tot gevolg hebben en vonken veroorzaken. Hierdoor kunnen accugassen tot ontploffing komen en lichamelijk letsel veroorzaken.
Sluit altijd de pluskabel (rood) van de accu aan voordat u de minkabel (zwart) aansluit.
Accupolen of metalen gereedschappen kunnen kortsluiting maken met metalen onderdelen van de machine, waardoor vonken kunnen ontstaan. Hierdoor kunnen accugassen tot ontploffing komen en lichamelijk letsel veroorzaken.
Zorg ervoor dat bij het verwijderen of installeren van de accu de accupolen niet in aanraking komen met metalen onderdelen van de machine.
Voorkom dat metalen gereedschappen kortsluiting veroorzaken tussen de accupolen en metalen onderdelen van de machine.
Koppel de accu los; zie De accu afkoppelen.
Verwijder de bevestigingen waarmee de accu aan de bak is vastgemaakt (Figuur 49) en til de accu eruit.

Sluit een acculader van 2 tot 4 A aan op de accupolen. Laad de accu ten minste 2 uur op bij 4 A of ten minste 4 uur bij 2 A totdat het soortelijk gewicht 1,250 of hoger is en de temperatuur minstens 16 °C bedraagt, waarbij alle cellen onbelemmerd gas afgeven.
Bij het opladen produceert de accu gassen die tot ontploffing kunnen komen.
Rook nooit in de buurt van de accu en zorg ervoor dat er geen vonken of vlammen vlakbij de accu komen.
Important: Als u de accu minder lang dan hierboven vermeld oplaadt, kan dat de levensduur van de accu verkorten.
Als de accu is opgeladen, haalt u de acculader uit het stopcontact en maakt u deze los van de accupolen.
Plaats de accu op de accubak en bevestig hem met de eerder verwijderde stangen en bevestigingen (Figuur 49).
Sluit de accu aan; zie De accu aansluiten.
Als u de machine met startkabels moet starten kunt u de tweede positieve aansluiting (op het startrelais) gebruiken in plaats van de positieve pool van de accu (Figuur 52).

| Onderhoudsinterval | Onderhoudsprocedure |
|---|---|
| Bij elk gebruik of dagelijks |
|
Afhankelijk van de gazonomstandigheden moeten alle drie de wielen een spanning van minimaal 0,83 tot maximaal 1,10 bar hebben.
| Onderhoudsinterval | Onderhoudsprocedure |
|---|---|
| Na het eerste bedrijfsuur |
|
| Na de eerste 10 bedrijfsuren |
|
| Om de 200 bedrijfsuren |
|
Als de wielmoeren niet steeds de juiste torsie hebben, kan dit leiden tot lichamelijk letsel.
Haal de wielmoeren volgens de aanbevolen onderhoudsintervallen aan met de aanbevolen torsie.
Aantrekkoppel van de wielmoeren: 95-122 N·m
Note: Om een gelijke verdeling te verkrijgen, dient u de wielmoeren aan te halen in een kruispatroon.
Als de machine langzaam vooruit kruipt met het tractiepedaal op NEUTRAAL moet u het mechanisme voor de neutraalstand bijstellen.
Zorg dat de omloopklep gesloten is.
Til de machine op en ondersteun het frame zodat 1 van de voorwielen vrijkomt van de grond.
Note: Als de machine is uitgerust met driewielaandrijving, moet u ook het achterwiel omhoogbrengen en blokkeren.
Start de motor, zet de gashendel op LANGZAAM en controleer het voorwiel dat de vloer niet raakt stilstaat.
Als het wiel draait, zet u de motor af en gaat u als volgt te werk:
Draai de moer los waarmee de excentriek is bevestigd aan de bovenkant van de hydrostaat (Figuur 53).

Zet de schakelhendel op NEUTRAAL en de gashendel op LANGZAAM. Start de motor.
Draai aan de excentriek totdat de machine niet meer naar voren of naar achteren kruipt. Als het wielen niet meer draaien, zet u de moer vast waarmee de excentriek en de afstelling worden geborgd (Figuur 53). Controleer de instelling met de gashendel op LANGZAAM en op SNEL.
Note: Als het wiel nog steeds draait terwijl de excentriek de maximale stand heeft bereikt, moet u voor verdere afstelling contact opnemen met een erkende Toro distributeur of de Onderhoudshandleiding raadplegen.
Het tractiepedaal is standaard ingesteld op de maximale transportsnelheid, maar mogelijk moet u het afstellen als het pedaal zijn volledige bereik heeft afgelegd voordat het contact maakt met de pedaalaanslag, of als u de transportsnelheid wilt verlagen.
Om de maximale transportsnelheid te verkrijgen, moet u de schakelhendel in de TRANSPORTSTAND zetten en het tractiepedaal intrappen. Als het pedaal contact maakt met de pedaalaanslag (Figuur 54) voordat u spanning op de kabel voelt, voer dan de volgende afstelprocedure uit:

Zet de schakelhendel in de TRANSPORTSTAND en draai de borgmoer los waarmee de pedaalaanslag is bevestigd aan de vloerplaat (Figuur 54).
Draai de pedaalaanslag vast totdat deze niet meer tegen het tractiepedaal aan komt.
Houd het transportpedaal licht ingetrapt en stel de pedaalaanslag zodanig af dat deze contact maakt met de pedaalstang, en draai de moeren vast.
Important: De kabel mag niet te strak staan, omdat de kabel dan sneller slijt.
Trap het tractiepedaal in draai de borgmoer los waarmee de pedaalaanslag is bevestigd aan de vloerplaat.
Zet de pedaalaanslag losser totdat u de gewenste transportsnelheid hebt verkregen.
Draai de borgmoer aan om de pedaalaanslag vast te zetten.
De maaisnelheid is in de fabriek afgesteld op 6,1 km per uur.
U kunt de voorwaartse rijsnelheid instellen van 0 tot 8 km per uur.
Draai de contramoer op de draaitapbout los (Figuur 55).
Draai de moeren los waarmee de vergrendelings- en maaibeugels op het draaipunt van het pedaal zijn bevestigd.

Draai de draaitapbout rechtsom om de maaisnelheid te doen afnemen en linksom om de maaisnelheid te doen toenemen.
Draai de contramoer op de draaitapbout en de moer op het scharnierpunt van het pedaal vast om de afstelling te vergrendelen (Figuur 55). Controleer de afstelling en stel nogmaals af indien dit nodig is.
Motorkoelvloeistof inslikken kan vergiftiging veroorzaken; buiten het bereik van kinderen en huisdieren houden.
Als u hete, onder druk staande koelvloeistof over u heen krijgt of in aanraking komt met een hete radiateur of omliggende delen, kunt u ernstige brandwonden oplopen.
Laat de motor altijd minstens 15 minuten afkoelen voordat u de radiateurdop losdraait.
Gebruik een doek als u de radiateurdop verwijdert en draai de dop langzaam open om de stoom te laten ontsnappen.
| Onderhoudsinterval | Onderhoudsprocedure |
|---|---|
| Bij elk gebruik of dagelijks |
|
Om oververhitting te voorkomen moeten de radiateur en het radiateurscherm schoon worden gehouden. Controleer en reinig het scherm en de radiateur dagelijks of indien nodig elk uur. Reinig deze onderdelen vaker in stoffige, vuile omstandigheden.
Verwijder het radiateurscherm (Figuur 56).

Blaas de radiateur schoon met perslucht en doe dit vanaf de zijde met de ventilator.
Reinig het radiateurscherm en monteer het.
| Onderhoudsinterval | Onderhoudsprocedure |
|---|---|
| Bij elk gebruik of dagelijks |
|
De inhoud van het koelsysteem is ongeveer 4,6 liter.
Vul het koelsysteem met een 50/50 oplossing van water en permanente antivries op basis van ethyleenglycol. Controleer het koelvloeistofpeil elke dag vóór het starten van de motor.
Als de motor heeft gelopen, kan de hete koelvloeistof, die onder druk staat, ontsnappen indien de radiateurdop wordt verwijderd. Dit kan brandwonden veroorzaken.
Verwijder de radiateurdop nooit als de motor loopt.
Gebruik een doek als u de radiateurdop verwijdert en draai de dop langzaam open om de stoom te laten ontsnappen.
Parkeer de machine op een horizontaal oppervlak.
Controleer het koelvloeistofpeil (Figuur 56 en Figuur 57).
Het peil moet tussen de lijnen op de reservetank staan als de motor koud is.

Als het koelvloeistofpeil te laag is, verwijdert u de dop van de reservetank en vult u het koelsysteem bij met een oplossing die half uit water, half uit permanente ethyleenglycol-antivries bestaat. Niet te vol vullen.
Plaats de dop van de reservetank terug.
| Onderhoudsinterval | Onderhoudsprocedure |
|---|---|
| Jaarlijks |
|
Rijd met de machine op maaisnelheid en rem stevig totdat de remmen heet zijn; dit zult u ruiken. Mogelijk moet u de remmen bijstellen na de inloopperiode, zie Remmen afstellen.
Als de rem de machine niet kan houden als deze geparkeerd staat, kunt u de remmen afstellen met behulp van de schutbordfitting bij de remtrommel; neem contact op met uw erkende servicedealer of raadpleeg de Onderhoudshandleiding voor meer informatie.
Note: Polijst de remmen elk jaar; zie De remmen polijsten.
| Onderhoudsinterval | Onderhoudsprocedure |
|---|---|
| Na de eerste 8 bedrijfsuren |
|
Controleer dat de riem op de goede spanning staat om de goede werking van de machine te verzekeren en onnodige slijtage te voorkomen.
Parkeer de machine op een horizontaal oppervlak, zet de motor uit, stel de parkeerrem in werking, verwijder het sleuteltje en wacht tot alle bewegende delen tot stilstand zijn gekomen.
Druk voorzichtig met een duim op de riem tussen de poelies (10 kg). De riem moet 7 tot 9 mm ingedrukt worden. Als dit niet het geval is, voltooi dan de onderstaande procedure om de riemspanning af te stellen:

Draai de bouten los waarmee de wisselstroomdynamo aan de motor en de afstelband is bevestigd.
Controleer de riem op slijtage en schade en vervang deze indien nodig.
Plaats een hefboom tussen de wisselstroomdynamo en het motorblok, trek de wisselstroomdynamo eruit om de juiste riemspanning te verkrijgen en draai de bouten vast.
Waarschuw onmiddellijk een arts als er hydraulische vloeistof is geïnjecteerd in de huid. Geïnjecteerde vloeistof moet binnen enkele uren operatief worden verwijderd door een arts.
Controleer of alle hydraulische slangen en leidingen in goede staat verkeren en alle hydraulische aansluitingen en fittings stevig vastzitten voordat u druk zet op het hydraulische systeem.
Houd lichaam en handen uit de buurt van kleine lekgaten of spuitmonden waaruit onder hoge druk hydraulische vloeistof ontsnapt.
U kunt lekken in het hydraulische systeem opsporen met behulp van karton of papier.
Hef alle druk in het hydraulische systeem op veilige wijze op, voordat u werkzaamheden gaat verrichten aan het hydraulische systeem.
Important: Ongeacht de gebruikte soort hydraulische vloeistof moet een machine waarmee fairways worden gemaaid of verticuteerwerkzaamheden mee worden verricht of die wordt gebruikt bij een omgevingstemperatuur hoger dan 29 °C zijn uitgerust met een oliekoeler (onderdeelnummer 117-9314).
Het reservoir is in de fabriek gevuld met hoogwaardige hydraulische vloeistof. Controleer het peil van de hydraulische vloeistof voordat u de motor voor het eerst start, en vervolgens dagelijks; zie Het peil van de hydraulische vloeistof controleren.
Aanbevolen hydraulische vloeistof: Toro PX Extended Life hydraulische vloeistof; verkrijgbaar in emmers van 19 liter of vaten van 208 liter.
Note: Een machine die de aanbevolen vloeistof om bij te vullen gebruikt moet minder vaak bijgevuld worden en het filter moet minder vaak worden vervangen.
Andere hydraulische vloeistoffen: Als de Toro PX Extended Life hydraulische vloeistof niet verkrijgbaar is, kunt u een andere conventionele, petroleumgebaseerde hydraulische vloeistof gebruiken die aan de volgende materiaaleigenschappen en de industrienormen voldoet. Gebruik geen synthetische vloeistof. Vraag uw smeermiddelenleverancier naar een geschikt product.
Note: Toro aanvaardt geen enkele aansprakelijkheid voor schade die wordt veroorzaakt door gebruik van verkeerde vervangende vloeistoffen. Gebruik daarom uitsluitend producten van gerenommeerde fabrikanten die garant staan voor de door hen aanbevolen vloeistoffen.
| Materiaaleigenschappen: | ||
| Viscositeit, ASTM D445 | cSt bij 40°C 44 tot 48 | |
| Viscositeitsindex ASTM D2270 | 140 of hoger | |
| Stolpunt, ASTM D97 | -37°C tot -45°C | |
| Industriespecificaties: | Eaton Vickers 694 (I-286-S, M-2950-S/35VQ25 of M-2952-S) | |
Note: Veel hydraulische vloeistoffen zijn bijna kleurloos, zodat het moeilijk is lekkages op te sporen. Er is een rode kleurstof leverbaar voor de hydraulische vloeistof, in flesjes van 20 ml. Een flesje is voldoende voor 15 tot 22 liter hydraulische vloeistof. U kunt deze kleurstof bestellen bij een erkende Toro distributeur, onderdeelnr. 44-2500.
Important: Toro Premium synthetische, biologisch afbreekbare hydraulische vloeistof is de enige biologisch afbreekbare vloeistof die door Toro is goedgekeurd. Deze vloeistof is compatibel met de elastomeren die worden gebruikt in hydraulische systemen van Toro, en is geschikt voor een groot aantal temperatuursomstandigheden. Deze vloeistof is compatibel met gangbare minerale olie, maar met het oog op maximale biologische afbreekbaarheid en goede prestaties moet het hydraulische systeem grondig met gewone vloeistof worden gespoeld. De vloeistof is leverbaar in emmers van 19 l en van 208 l door uw erkende Toro distributeur.
| Onderhoudsinterval | Onderhoudsprocedure |
|---|---|
| Bij elk gebruik of dagelijks |
|
Het reservoir van de hydraulische vloeistof wordt in de fabriek gevuld met hydraulische vloeistof van hoge kwaliteit. Voordat u de machine dagelijks gebruikt, moet u het peil van de hydraulische vloeistof controleren. Uw machine heeft een peilstok of wit venster van plastic aan de voorkant van het reservoir voor hydraulische vloeistof (achter de bestuurdersstoel aan de linkerkant van de machine) om het peil van de hydraulische vloeistof te controleren. Het peil moet tussen de strepen op het venster of de markeringen op de peilstok staan. Zo niet, voeg dan geschikte vloeistof toe.
Raadpleeg Figuur 59 voor deze procedure.

Plaats de machine op een horizontaal oppervlak.
Note: Zorg ervoor dat de machine afgekoeld is zodat de vloeistof koud is.
Controleer het vloeistofpeil afhankelijk van de tank op uw machine.
Als uw tank over een kijkglaasje beschikt, controleert u daar het oliepeil en gaat u verder met stap 5.
Als uw tank niet over een kijkglaasje beschikt, gebruikt u de peilstok bovenaan de hydraulische tank en gaat u verder met stap 3.
Verwijder de peilstok en veeg deze af met een schone doek. Schroef de peilstok vervolgens terug in de tank.
Verwijder de peilstok en controleer het vloeistofpeil. Als het zich tussen de markeringen op de peilstok bevindt, is er voldoende vloeistof. Als het peil niet tussen de markeringen ligt, moet u vloeistof bijvullen.
Verwijder de dop of peilstok (afhankelijk van uw machine) van de hydraulische vloeistoftank en giet langzaam bij met de geschikte hoogwaardige hydraulische vloeistof totdat het peil tussen de 2 lijnen op het kijkglaasje of de 2 markeringen op de peilstok komt.
Plaats de dop of de peilstok en neem gemorste brandstof op.
Important: Controleer het peil van de hydraulische vloeistof voordat de motor voor het eerst wordt gestart, en vervolgens dagelijks.
| Onderhoudsinterval | Onderhoudsprocedure |
|---|---|
| Om de 800 bedrijfsuren |
|
| Om de 1000 bedrijfsuren |
|
| Om de 2000 bedrijfsuren |
|
Inhoud hydraulische vloeistof: 25,7 liter
Als de vloeistof verontreinigd raakt, laat dan uw erkende Toro distributeur het systeem spoelen. Verontreinigde vloeistof ziet er in vergelijking met schone vloeistof melkachtig of zwart uit.
Reinig de omgeving van de plaats waar het filter wordt gemonteerd (Figuur 60). Plaats een opvangbak onder het filter en verwijder het filter.

Note: Als u de vloeistof niet gaat aftappen, maak de hydraulische slang naar het filter dan los en sluit deze af.
Vul het nieuwe filter met de juiste hydraulische vloeistof, smeer vet op de afdichtingspakking en draai het filter met de hand vast totdat de pakking in contact komt met de cilinderkop. Draai het filter vervolgens nog eens ¾ slag.
Vul het hydraulische reservoir met hydraulische vloeistof; zie Specificaties hydraulische vloeistof en Het peil van de hydraulische vloeistof controleren.
Start de motor en laat deze 3 tot 5 minuten stationair lopen om de vloeistof te laten circuleren en het systeem te ontluchten. Zet de motor af en controleer het vloeistofpeil.
U moet de vloeistof en het filter op de juiste wijze afvoeren.
| Onderhoudsinterval | Onderhoudsprocedure |
|---|---|
| Bij elk gebruik of dagelijks |
|
Controleer dagelijks de hydraulische leidingen en slangen op lekkages, kinken, loszittende steunen, slijtage, loszittende aansluitingen, slijtage door weersinvloeden en de inwerking van chemicaliën. Voer alle noodzakelijke reparaties uit voordat u de machine weer in gebruik neemt.
Versleten of beschadigde messen of ondermessen kunnen breken en een stuk ervan kan naar u of naar omstanders worden uitgeworpen en zo ernstig lichamelijk of dodelijk letsel toebrengen.
Controleer op gezette tijden de maaimessen en ondermessen op overmatige slijtage en beschadigingen.
Wees voorzichtig als u de messen controleert. Draag handschoenen en wees voorzichtig als u onderhoudswerkzaamheden uitvoert aan de messenkooien. De maaimessen en ondermessen mogen alleen worden vervangen of gewet; probeer ze nooit te rechten of eraan te lassen.
Let op bij machines met meerdere maai-eenheden: als u één maai-eenheid draait, kunnen de messenkooien in de andere maai-eenheden ook in beweging komen.
Note: Als u de maaimessen slijpt, de maaihoogte instelt of onderhoudswerkzaamheden aan een maai-eenheid verricht, moet u de motoren van de messenkooien van de maai-eenheid in de opbergruimte op de voorkant van de ophangarmen plaatsen om beschadiging te voorkomen.
Important: Breng de ophanging niet omhoog in de transportstand als de messenkooimotoren zich in de houders in het frame van de machine bevinden. Dit kan schade aan de motoren of slangen tot gevolg hebben.
Important: Als u de maai-eenheid moet kantelen, ondersteun de achterkant van de maai-eenheid dan om te verzekeren dat de moeren van de instelschroeven van de snijbalk niet op het werkvlak rusten (Figuur 61).

Bevestig het elektrische contragewicht aan het bestaande contragewicht; gebruik hierbij 2 inbusbouten zoals getoond in Figuur 62.

Koppel de snelkoppelingen voor de voeding naar de maaidekken los, zie Snelkoppelaars maaidekstroom.
Als u de voeding naar de maaidekken niet onderbreekt, bestaat de kans dat iemand de maaidekken per ongeluk start. Hierdoor kan ernstig letsel aan handen en voeten ontstaan.
Koppel altijd de snelkoppelingen voor de voeding naar de maaidekken los voordat u werkzaamheden aan de maaidekken gaat uitvoeren.
Klap de voetsteun omhoog zodat u bij het middelste maai-eenheid kunt (Figuur 63).
Uw vingers kunnen bekneld raken als de voetsteun dichtklapt.
Houd uw vingers uit de buurt van het gebied waar de voetsteun terug kan klappen terwijl deze open staat.

Plaats het maaidek onder de middelste ophangarm.
Zorg ervoor dat de vergrendelingen op de ophangarm omhoog wijzen (dus open staan) (Figuur 64), druk de ophangarm omlaag zodat de stang ervan over de stang aan de bovenkant van het maaidek valt (Figuur 65).


Sluit de vergrendelingen rond de stang van de maai-eenheid en vergrendel ze (Figuur 64).
Note: U zult een klik horen en voelen wanneer de vergrendelingen goed gesloten zijn.
Smeer schoon vet op de sleufas van de motor van de maai-eenheid (Figuur 66).
Steek de motor in de linkerkant van de maai-eenheid (gezien vanuit de bestuurdersstoel) en trek de motorbevestigingsstang op de maai-eenheid in de richting van de motor totdat u aan beide kanten een klik hoort (Figuur 66).

Monteer een grasvanger op de haken aan de ophangarm.
Herhaal deze procedure bij de andere maai-eenheden.
Sluit de snelkoppelingen van de voeding naar de maaidekken aan, zie Snelkoppelaars maaidekstroom.
Koppel de snelkoppelingen voor de voeding naar de maaidekken los, zie Snelkoppelaars maaidekstroom.
Als u de voeding naar de maaidekken niet onderbreekt, bestaat de kans dat iemand de maaidekken per ongeluk start. Hierdoor kan ernstig letsel aan handen en voeten ontstaan.
Koppel altijd de snelkoppelingen voor de voeding naar de maaidekken los voordat u werkzaamheden aan de maaidekken gaat uitvoeren.
Parkeer de machine op een schoon en horizontaal oppervlak, laat de maaidekken tot op de grond neer tot de ophanghydrauliek volledig is uitgetrokken. Zet de motor af en stel de parkeerrem in werking.
Duw de motorbevestigingsstang uit de sleuven op de motor in de richting van de maai-eenheid en verwijder de motor uit de maai-eenheid.

Zet de motor in de opbergruimte op de voorkant van de ophangarm (Figuur 68).

Note: Als u de maaimessen slijpt, de maaihoogte instelt of onderhoudswerkzaamheden aan een maai-eenheid verricht, moet u de motoren van de messenkooien van de maai-eenheid in de opbergruimte op de voorkant van de ophangarmen plaatsen om beschadiging te voorkomen.
Important: Breng de ophanging niet omhoog in de transportstand als de messenkooimotoren zich in de houders in het frame van de machine bevinden. Dit kan schade aan de motoren of slangen tot gevolg hebben. Als u de tractie-eenheid moet verplaatsen terwijl de maai-eenheden niet gemonteerd zijn, bevestig deze dan met kabelklembanden aan de ophangarmen.
Open de vergrendelingen op de stang van de ophangarm van de maai-eenheid dat u wilt verwijderen (Figuur 64).
Maak de vergrendelingen van de stang van de maai-eenheid los.
Rol de maai-eenheid onder de ophangarm vandaan.
Herhaal indien nodig stap 3 tot en met 7 voor de andere maaidekken.
Sluit de snelkoppelingen van de voeding naar de maaidekken aan, zie Snelkoppelaars maaidekstroom.
| Onderhoudsinterval | Onderhoudsprocedure |
|---|---|
| Bij elk gebruik of dagelijks |
|
Elke dag voordat u gaat maaien moet u het contact tussen het ondermes en de messenkooi controleren, ongeacht of de maaikwaliteit bij een eerdere maaibeurt aanvaardbaar was. Er moet een licht contact zijn over de volledige lengte van de messenkooi en het ondermes; zie de Gebruikershandleiding van het maaidek.
Voordat u de messenkooien controleert, moet u eerst de snelkoppelingen van de voeding naar het maaidek loskoppelen, zie Snelkoppelaars maaidekstroom. Sluit deze weer aan nadat u klaar bent met de werkzaamheden.
Contact met de messenkooien of andere bewegende onderdelen kan lichamelijk letsel veroorzaken.
Houd uw vingers, handen en kleding uit de buurt van de messenkooien of andere bewegende onderdelen.
Probeer de messenkooien nooit met uw handen of voeten te draaien of aan te raken terwijl de motor draait.
Parkeer de machine op een horizontaal vlak, laat de maai-eenheden neer, zet de motor af, verwijder het sleuteltje en stel de parkeerrem in werking.
Verwijder de plastic afdekking links van de stoel.
Doe de aanvankelijke instelling van het ondermes en messenkooi voor het wetten op alle maaidekken die moeten worden gewet. Zie de Gebruikershandleiding van het maaidek.
Start de motor en laat deze op een laag stationair toerental lopen. Als de motor vastloopt, verhoog dan het toerental.
Met het InfoCenter, in het menu ONDERHOUD, kiest u WETTEN.
Zet WETTEN op AAN.
Ga naar het Hoofdmenu en dan naar beneden tot Instellingen.
IN HET MENU INSTELLINGEN gaat u naar beneden tot WETTEN-TOERENTAL en kiest u het toerental voor het wetten met de ± knop.
Zet de schakelhendel op NEUTRAAL en zet dan de maai-/hefhendel naar voren om het wetten van de gekozen messenkooien te beginnen.
Breng de wetpasta aan met een borstel met lange steel. Gebruik nooit een borstel met een korte steel.
Als de messenkooien vast komen te zitten of onregelmatig worden tijdens het wetten, verhoogt u het toerental tot dit gestabiliseerd wordt.
Als u de maaidekken tijdens het wetten wilt afstellen, schakelt u de messenkooien uit door de maai-/hefhendel naar achteren te bewegen en de motor af te zetten. Na de afstelling herhaalt u stappen4 tot en met 10.
Herhaal de procedure bij alle maaidekken die u wilt wetten.
Na voltooiing van het wetten: ga naar het InfoCenter, WETTEN, stel dit in op UIT, of draai het contactsleuteltje op UIT om de machine terug te schakelen naar maaien in de vooruitstand.
Spoel alle wetpasta van de maai-eenheden. Stel indien nodig het contact tussen de messenkooi en het ondermes af. Zet de instelling van de messenkooisnelheid op de gewenste maaistand.
Zet de machine af, verwijder het contactsleuteltje en wacht totdat alle bewegende onderdelen tot stilstand zijn gekomen voordat u de bestuurderspositie verlaat. Laat de machine afkoelen voordat u deze afstelt, reinigt, stalt of er onderhoudswerkzaamheden aan verricht.
Bewaar de machine en het brandstofvat niet op plaatsen waar open vlammen, vonken of waakvlammen (bv. van een boiler of een ander toestel) aanwezig kunnen zijn.
Als u de machine voor een lange tijd wilt stallen, moet u eerst de volgende handelingen verrichten:
Aangekoekt vuil en achtergebleven maaisel verwijderen. Indien nodig: slijp de kooien en ondermessen, zie de Gebruikershandleiding van het maaidek. De ondermessen en de messen met een roestwerend middel behandelen. Alle smeerpunten invetten en smeren.
Blokken onder wielen plaatsen om de wielgewichten te verwijderen.
De hydraulische vloeistof aftappen en verversen en het filter vervangen. Tevens hydraulische leidingen en aansluitingen controleren. Indien nodig moet u beschadigde onderdelen vervangen, zie Hydraulische vloeistof verversen en de filter vervangen en Hydraulische slangen en leidingen controleren
Alle brandstof aftappen uit de brandstoftank. Laat de motor lopen totdat deze afslaat door gebrek aan benzine. Brandstoffilterbus vervangen Vervangen van het brandstoffilter/waterscheider.
Tap de olie uit het carter af terwijl de motor nog warm is. Bijvullen met verse olie; zie Motorolie verversen en filter vervangen.
Vuil en maaisel verwijderen van de cilinder, de koelribben van de cilinderkop en de ventilatorbehuizing.
Accu verwijderen en volledig opladen. U moet de accu apart opslaan of in het voertuig laten zitten. De accukabels mogen niet aangesloten zijn op de accu als u deze in de machine laat zitten. Sla de accu op in een koele omgeving om te voorkomen dat de accu snel ontlaadt.
Indien mogelijk moet u de accu opslaan op een warme, droge plaats.