การบำรุงรักษา
Note: ดาวน์โหลดสำเนาผังไฟฟ้าหรือระบบไฮดรอลิกได้ฟรี โดยเข้าไปที่ www.Toro.com แล้วค้นหารุ่นรถของคุณจากลิงก์คู่มือในหน้าหลัก
ความปลอดภัยในการบำรุงรักษา
-
ก่อนออกจากตำแหน่งใช้งาน ให้ปฏิบัติตามดังนี้
-
จอดอุปกรณ์บนพื้นราบ
-
ปรับคันโยกลิ้นเร่งไปยังตำแหน่งเดินเครื่องเบา
-
ตรวจสอบให้แน่ใจว่าแป้นเคลื่อนที่อยู่ในตำแหน่งว่าง
-
ดึงเบรกมือ
-
ดับเครื่องยนต์
-
รอให้ชิ้นส่วนเคลื่อนไหวหยุดนิ่ง
-
รอให้เครื่องยนต์เย็นลงก่อนปรับ ซ่อมบำรุง หรือทำความสะอาด
-
-
หากเป็นไปได้ อย่าบำรุงรักษาในขณะที่อุปกรณ์กำลังทำงาน อยู่ห่างจากชิ้นส่วนเคลื่อนไหว
-
ใช้ขาตั้งแม่แรงรองรับอุปกรณ์หรือส่วนประกอบเมื่อจำเป็น
-
ค่อยๆ ปล่อยแรงดันจากส่วนประกอบที่มีพลังงานสะสมเก็บไว้
กำหนดการบำรุงรักษาที่แนะนำ
| ระยะการซ่อมบำรุง | ขั้นตอนการบำรุงรักษา |
|---|---|
| หลังจาก 5 ชั่วโมงแรก |
|
| หลังจาก 20 ชั่วโมงแรก |
|
| ก่อนการใช้งานแต่ละครั้งหรือทุกวัน |
|
| หลังจากการใช้งานแต่ละครั้ง |
|
| ทุก 50 ชั่วโมง |
|
| ทุก 100 ชั่วโมง |
|
| ทุก 300 ชั่วโมง |
|
| ทุก 400 ชั่วโมง |
|
Important: ดูขั้นตอนการบำรุงรักษาเพิ่มเติมได้จากคู่มือเจ้าของเครื่องยนต์
บันทึกจุดที่ต้องระวัง
| ตรวจสอบโดย: | ||
| รายการ | วันที่ | ข้อมูล |
| 1 | ||
| 2 | ||
| 3 | ||
| 4 | ||
| 5 | ||
| 6 | ||
| 7 | ||
| 8 | ||
รายการตรวจสอบสำหรับการบำรุงรักษารายวัน
ถ่ายสำเนาหน้านี้ไว้เพื่อนำไปใช้งานเป็นประจำ
| รายการตรวจสอบสำหรับการบำรุงรักษา | สำหรับสัปดาห์ที่: | ||||||
|---|---|---|---|---|---|---|---|
| จ. | อ. | พ. | พฤ. | ศ. | ส. | อา. | |
| ตรวจสอบว่าข้อต่อหมุนหมุนได้อิสระ | |||||||
| ตรวจสอบระดับน้ำมันเชื้อเพลิง | |||||||
| ตรวจสอบระดับน้ำมันเครื่อง | |||||||
| ตรวจสอบระดับน้ำมันไฮดรอลิก | |||||||
| ตรวจสอบตัวกรองอากาศ | |||||||
| ตรวจสอบระบบอินเทอร์ล็อกนิรภัย | |||||||
| ทำความสะอาดครีบทำความร้อนของเครื่องยนต์ | |||||||
| ตรวจสอบเสียงเครื่องยนต์ที่ผิดปกติ | |||||||
| ตรวจสอบท่ออ่อนเพื่อดูความเสียหาย | |||||||
| ตรวจสอบน้ำยารั่วไหล | |||||||
| ทำความสะอาดอุปกรณ์ | |||||||
| หล่อลื่นจุดอัดจาระบีทั้งหมด | |||||||
| ตรวจสอบแรงดันลมยาง | |||||||
| ทำสีที่ชำรุด | |||||||
ขั้นตอนก่อนการบำรุงรักษา
อย่าเอียงอุปกรณ์ยกเว้นเมื่อจำเป็น หากคุณเอียงอุปกรณ์ น้ำมันเครื่องอาจไหลเข้าหัวกระบอกสูบเครื่องยนต์และน้ำมันไฮดรอลิกอาจรั่วออกจากฝาปิดที่อยู่ด้านบนถังได้ ซึ่งส่งผลให้อุปกรณ์เสียหายและต้องเสียค่าใช้จ่ายจำนวนมากในการซ่อมแซม หากต้องการซ่อมบำรุงใต้ท้องอุปกรณ์ ให้ยกอุปกรณ์ขึ้นโดยใช้รอกหรือเครนขนาดเล็ก
การเตรียมพร้อมก่อนการบำรุงรักษา
-
ขับหรือเคลื่อนย้ายอุปกรณ์ไปบนพื้นราบ โปรดดู การขนส่งอุปกรณ์
-
ถ้าล้อขนส่งอยู่ต่ำ ให้ยกขึ้น โปรดดู การยกอุปกรณ์ขึ้นไปบนล้อขนส่ง
-
ถ้าเครื่องยนต์ทำงานอยู่ ดับเครื่องยนต์
-
ดึงเบรกมือ
-
ถ้าเครื่องยนต์ร้อน รอให้เครื่องยนต์และระบบไฮดรอลิกเย็นลง
การยกเบาะที่นั่งคนขับ
การลดระดับเบาะที่นั่งคนขับ
เอียงเบาะที่นั่งลงจนกว่าสลักเบาะที่นั่งจะยึดแน่นเหนือหมุดสลักเบาะที่นั่ง (รูป 25)

การหล่อลื่น
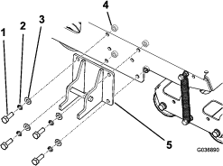
การหล่อลื่นแบริ่งลูกกลิ้งขับ
| ระยะการซ่อมบำรุง | ขั้นตอนการบำรุงรักษา |
|---|---|
| ก่อนการใช้งานแต่ละครั้งหรือทุกวัน |
|
ประเภทจาระบี: จาระบีลิเธียมเบอร์ 2
-
เตรียมอุปกรณ์สำหรับการบำรุงรักษา โปรดดู การเตรียมพร้อมก่อนการบำรุงรักษา
-
เช็ดรอบๆ ให้สะอาด เพื่อป้องกันไม่ให้มีวัตถุแปลกปลอมเข้าไปในแบริ่ง
-
อัดจาระบีเข้าในรูอัดจาระบีดังแสดงใน รูป 26


-
เช็ดจาระบีส่วนที่เกินมาออก
Important: หลังจากอัดจาระบีแล้ว ขับขี่อุปกรณ์ออกจากสนามไปที่อื่นสักครู่เพื่อกำจัดน้ำมันหล่อลื่นส่วนเกินออกและป้องกันไม่ให้สนามเสียหาย
การบำรุงรักษาเครื่องยนต์
ความปลอดภัยของเครื่องยนต์
-
ดับเครื่องยนต์ก่อนตรวจสอบระดับน้ำมันหรือเติมน้ำมันลงในห้องข้อเหวี่ยง
-
อย่าเปลี่ยนความเร็วของตัวควบคุมความเร็วหรือเร่งรอบเครื่องมากเกินไป
ข้อมูลจำเพาะของน้ำมันเครื่อง
ประเภท: ประเภท APl Service ระดับ SL หรือสูงกว่า
ความหนืด: เลือกความหนืดน้ำมันตามอุณหภูมิแวดล้อม โปรดดู รูป 27

การตรวจสอบระดับน้ำมันเครื่อง
| ระยะการซ่อมบำรุง | ขั้นตอนการบำรุงรักษา |
|---|---|
| ก่อนการใช้งานแต่ละครั้งหรือทุกวัน |
|
Note: เวลาที่เหมาะที่สุดในการตรวจสอบน้ำมันเครื่องคือเมื่อเครื่องยนต์เย็น ก่อนที่จะสตาร์ทอุปกรณ์เป็นครั้งแรกของวัน หากเครื่องยนต์ทำงานไปแล้ว ควรรอให้น้ำมันเครื่องไหลกลับไปยังอ่างน้ำมันเครื่องอย่างน้อย 10 นาทีก่อนที่จะตรวจสอบ
-
เตรียมอุปกรณ์ให้พร้อมสำหรับการบำรุงรักษา โปรดดู การเตรียมพร้อมก่อนการบำรุงรักษา
-
เช็ดทำความสะอาดรอบๆ ฝาเติมน้ำมัน (รูป 28)

-
เปิดฝาเติมน้ำมันโดยการหมุนทวนเข็มนาฬิกา
-
ตรวจสอบระดับน้ำมัน (รูป 29)
เครื่องยนต์มีน้ำมันเต็มเมื่อระดับน้ำมันอยู่ที่ขอบล่างของช่องเติมน้ำมัน
Note: ถ้าระดับน้ำมันต่ำกว่าขอบล่างของช่องเติมน้ำมัน ให้เติมน้ำมันที่กำหนดพอให้ระดับน้ำมันขึ้นมาถึงขอบล่างของช่องเติมน้ำมัน
Important: อย่าเติมน้ำมันเครื่องในห้องข้อเหวี่ยงมากเกินไป

-
ปิดฝาเติมน้ำมันและเช็ดน้ำมันที่หก
การเปลี่ยนน้ำมันเครื่อง
| ระยะการซ่อมบำรุง | ขั้นตอนการบำรุงรักษา |
|---|---|
| หลังจาก 20 ชั่วโมงแรก |
|
| ทุก 100 ชั่วโมง |
|
การเตรียมอุปกรณ์
-
สตาร์ทเครื่องยนต์และปล่อยให้ทำงานสักครู่เพื่อให้น้ำมันเครื่องอุ่น จากนั้นดับเครื่องยนต์
-
ยกอุปกรณ์ขึ้นบนล้อขนส่ง โปรดดู การยกอุปกรณ์ขึ้นไปบนล้อขนส่ง
-
เอียงอุปกรณ์เพื่อให้ส่วนท้ายของอุปกรณ์ที่มีเครื่องยนต์อยู่เข้าใกล้พื้นมากขึ้น จากนั้นหนุนส่วนท้ายอีกด้านหนึ่งของอุปกรณ์เพื่อคงตำแหน่งนี้ของอุปกรณ์ไว้
การระบายน้ำมันเครื่อง
-
ต่อท่อระบายเข้ากับวาล์วระบาย (รูป 30)
-
วางปลายอีกด้านของท่อ (รูป 30) ลงในถาดระบายขนาด 1 ลิตร (1 แกลลอนสหรัฐ)

-
หมุนวาล์วระบาย 1/4 รอบทวนเข็มนาฬิกา และปล่อยให้น้ำมันเครื่องระบายจนหมด (รูป 30)
-
หมุนวาล์วระบาย 1/4 รอบตามเข็มนาฬิกาเพื่อปิดวาล์ว (รูป 30)
-
ถอดท่อระบาย (รูป 30) ออกและเช็ดน้ำมันที่หก
-
ทิ้งน้ำมันที่ใช้แล้วให้ถูกต้อง
Note: รีไซเคิลน้ำมันตามกฎหมายท้องถิ่น
การเติมน้ำมันลงในเครื่องยนต์
ความจุห้องข้อเหวี่ยง: 0.60 ลิตร (0.63 แกลลอนสหรัฐ)
-
ลดระดับอุปกรณ์ลงมาบนลูกกลิ้ง โปรดดู ลดระดับอุปกรณ์ลงมาบนลูกกลิ้ง
-
เติมน้ำมันที่กำหนดลงในห้องข้อเหวี่ยง โปรดดู ข้อมูลจำเพาะของน้ำมันเครื่อง และ การตรวจสอบระดับน้ำมันเครื่อง
การตรวจสอบไส้กรองอากาศ
| ระยะการซ่อมบำรุง | ขั้นตอนการบำรุงรักษา |
|---|---|
| ก่อนการใช้งานแต่ละครั้งหรือทุกวัน |
|
-
ถอดน็อตมีปีกที่ยึดฝาครอบตัวกรองอากาศเข้ากับตัวกรองอากาศ และถอดฝาครอบออก (รูป 31)

-
เช็ดฝาครอบกรองอากาศให้สะอาด
-
ตรวจสอบไส้กรองอากาศโฟมเพื่อดูฝุ่นผงและสิ่งสกปรก
ทำความสะอาดไส้กรองอากาศโฟม ถ้าจำเป็น โปรดดู การทำความสะอาดไส้กรองอากาศโฟม
-
ประกอบฝาครอบกรองอากาศเข้ากับตัวกรองอากาศด้วยน็อตมีปีก (รูป 31)
การซ่อมบำรุงตัวกรองอากาศ
| ระยะการซ่อมบำรุง | ขั้นตอนการบำรุงรักษา |
|---|---|
| ทุก 50 ชั่วโมง |
|
| ทุก 300 ชั่วโมง |
|
การทำความสะอาดไส้กรองอากาศโฟม
-
ถอดน็อตมีปีกที่ยึดฝาครอบตัวกรองอากาศเข้ากับตัวกรองอากาศ และถอดฝาครอบออก (รูป 31)
-
ถอดน็อตมีปีกออกจากไส้กรองอากาศและถอดไส้กรองออกมา (รูป 31)
-
ถอดไส้กรองอากาศโฟมออกจากไส้กรองกระดาษ (รูป 31)
ถ้าไส้กรองอากาศกระดาษสกปรกหรือชำรุด ให้ทำความสะอาดหรือเปลี่ยน โปรดดู การทำความสะอาดไส้กรองอากาศกระดาษ
-
ล้างไส้กรองอากาศโฟมในน้ำอุ่นผสมสบู่เหลว
-
บีบไส้กรองอากาศโฟมเพื่อชำระล้างฝุ่น
Important: อย่าบิดไส้กรอง เพราะอาจทำให้โฟมฉีกขาดได้
-
ซับไส้กรองโฟมให้แห้งด้วยผ้าขี้ริ้วสะอาด
-
บีบผ้าขี้ริ้วกับไส้กรองโฟมเพื่อให้ไส้กรองแห้ง
Important: อย่าบิดไส้กรอง เพราะอาจทำให้โฟมฉีกขาดได้
-
ชุบไส้กรองโฟมกับน้ำมันเครื่องสะอาดจนชุ่ม
-
บีบไส้กรองให้น้ำมันส่วนเกินออกไป และเพื่อให้น้ำมันกระจายจนทั่ว
Note: ไส้กรองโฟมควรชุ่มน้ำมันหมาดๆ
การทำความสะอาดไส้กรองอากาศกระดาษ
ทำความสะอาดไส้กรองกระดาษโดยการเคาะไส้กรองหลายๆ ครั้งบนพื้นผิวแข็งเพื่อกำจัดฝุ่น
Important: ห้ามใช้แปรงปัดหรือใช้ลมเป่า การปัดจะดันฝุ่นเข้าไปในเส้นใย ส่วนการเป่าลมจะทำให้ไส้กรองกระดาษชำรุด
การประกอบไส้กรองอากาศ
-
ประกอบไส้กรองอากาศโฟมเข้ากับไส้กรองกระดาษ (รูป 31)
-
ตรวจสอบปะเก็นเพื่อดูการสึกหรอและการชำรุด (รูป 31)
เปลี่ยนปะเก็น ถ้าพบว่าสึกหรอหรือชำรุด
-
ตรวจดูว่าปะเก็นวางอยู่บนทางเข้าอากาศสำหรับคาร์บูเรเตอร์ (รูป 31)
-
ประกอบไส้กรองอากาศเข้ากับคาร์บูเรเตอร์ด้วยน็อตมีปีก (รูป 31)
-
ประกอบฝาครอบกรองอากาศเข้ากับคาร์บูเรเตอร์ด้วยน็อตมีปีกอีกตัว (รูป 31)
การซ่อมบำรุงหัวเทียน
| ระยะการซ่อมบำรุง | ขั้นตอนการบำรุงรักษา |
|---|---|
| ทุก 100 ชั่วโมง |
|
| ทุก 300 ชั่วโมง |
|
ประเภท: หัวเทียน NGK BPR6ES หรือเทียบเท่า
ระยะห่าง: 0.70 ถึง 0.80 มม. (0.028 ถึง 0.031 นิ้ว) โปรดดู รูป 33
-
เตรียมอุปกรณ์สำหรับการบำรุงรักษา โปรดดู การเตรียมพร้อมก่อนการบำรุงรักษา
-
ถอดสายไฟหัวเทียนออกจากหัวเทียน (รูป 32)

-
ทำความสะอาดรอบๆ หัวเทียน และถอดหัวเทียนออกจากหัวกระบอกสูบ
Important: เปลี่ยนหัวเทียนที่แตกร้าว สกปรก หรือเสื่อมสภาพ ห้ามพ่นทราย ขูด หรือทำความสะอาดอิเล็กโทรด เพราะเศษผงที่หลุดรอดเข้าไปในกระบอกสูบอาจทำให้เครื่องยนต์เสียหายได้
-
ตั้งค่าระยะห่างไว้ที่ 0.70 ถึง 0.80 มม. (0.028 ถึง 0.031 นิ้ว) ดังแสดงใน รูป 33)

-
ติดตั้งหัวเทียนที่มีระยะห่างถูกต้องอย่างระมัดระวังด้วยมือเพื่อไม่ให้เกิดการปีนเกลียว
-
หลังจากหัวเทียนติดตั้งแล้ว ขันด้วยประแจหัวเทียนดังนี้:
-
เมื่อติดตั้งหัวเทียนใหม่ ให้หมุน 1/2 รอบหลังจากวางหัวเทียน เพื่อให้กดเข้ากับปะเก็น
-
เมื่อติดตั้งหัวเทียนเดิม ให้หมุน 1/8 ถึง 1/4 รอบหลังจากวางหัวเทียน เพื่อให้กดเข้ากับปะเก็น
Important: หัวเทียนหลวมอาจร้อนเกินไปและทำให้เครื่องยนต์เสียหาย การขันหัวเทียนแน่นเกินไปอาจทำให้เกลียวในกระบอกสูบเสียหาย
-
-
ต่อสายไฟหัวเทียนเข้ากับหัวเทียน
การตรวจสอบและปรับระยะห่างวาล์ว
| ระยะการซ่อมบำรุง | ขั้นตอนการบำรุงรักษา |
|---|---|
| ทุก 300 ชั่วโมง |
|
Important: ติดต่อตัวแทนจำหน่าย Toro ที่ได้รับอนุญาตเพื่อขอรับบริการ
การบำรุงรักษาระบบเชื้อเพลิง
การทำความสะอาดถ้วยตะกอน
| ระยะการซ่อมบำรุง | ขั้นตอนการบำรุงรักษา |
|---|---|
| ทุก 100 ชั่วโมง |
|
-
เตรียมอุปกรณ์สำหรับการบำรุงรักษา โปรดดู การเตรียมพร้อมก่อนการบำรุงรักษา
-
หมุนวาล์วตัดการจ่ายน้ำมันไปที่ตำแหน่งปิด (รูป 34)

-
ถอดถ้วยตะกอนเชื้อเพลิงและโอริง (รูป 34)
-
ตรวจสอบการสึกหรอและความเสียหายของโอริง เปลี่ยนโอริงถ้าสึกหรอหรือชำรุด
-
ล้างถ้วยตะกอนและโอริงในสารละลายที่ไม่ติดไฟและเช็ดให้แห้ง
-
วางโอริงในวาล์วตัดการจ่ายน้ำมันและติดตั้งถ้วยตะกอน (รูป 34) ขันถ้วยตะกอนให้แน่น
การบำรุงรักษาระบบไฟฟ้า
การตรวจสอบระบบอินเทอร์ล็อกนิรภัย
| ระยะการซ่อมบำรุง | ขั้นตอนการบำรุงรักษา |
|---|---|
| ก่อนการใช้งานแต่ละครั้งหรือทุกวัน |
|
ข้อควรระวัง
หากสวิตช์อินเทอร์ล็อกนิรภัยขาดหรือชำรุด อุปกรณ์อาจทำงานผิดปกติ ทำให้เกิดการบาดเจ็บขึ้นได้
-
อย่าแก้ไขดัดแปลงสวิตช์อินเทอร์ล็อก
-
ตรวจสอบการทำงานของสวิตช์อินเทอร์ล็อกเป็นประจำทุกวัน และเปลี่ยนสวิตช์ที่เสียหายก่อนการใช้งานอุปกรณ์
Important: หากระบบอินเทอร์ล็อกนิรภัยไม่ทำงานตามที่อธิบายด้านล่าง ติดต่อตัวแทนจำหน่าย Toro ที่ได้รับอนุญาตให้ซ่อมแซมทันที
-
ถ้าอุปกรณ์อยู่บนล้อขนส่ง ให้ลดระดับอุปกรณ์ลงมาที่ลูกกลิ้ง โปรดดู ลดระดับอุปกรณ์ลงมาบนลูกกลิ้ง
-
ดึงเบรกมือ ตรวจสอบให้แน่ใจว่าแป้นเคลื่อนที่อยู่ในตำแหน่งว่าง และสตาร์ทเครื่องยนต์
-
นั่งบนเบาะที่นั่ง
-
ขณะดึงเบรกมือ ให้เหยียบแป้นเคลื่อนที่เบาๆ เครื่องยนต์ควรดับลงหลังผ่านไปประมาณ 1 วินาที
-
ขณะที่เครื่องยนต์ทำงานอยู่และปลดเบรกแล้ว ยืนขึ้นและตรวจดูว่าเครื่องยนต์ดับหลังผ่านไป 1 วินาที
Note: ระบบอินเทอร์ล็อกนิรภัยยังออกแบบมาให้ดับเครื่องยนต์ ถ้าผู้ใช้ลุกออกจากเบาะที่นั่งในขณะที่อุปกรณ์กำลังเคลื่อนที่ด้วย
การบำรุงรักษาเบรก
การตรวจสอบเบรกมือ
| ระยะการซ่อมบำรุง | ขั้นตอนการบำรุงรักษา |
|---|---|
| ก่อนการใช้งานแต่ละครั้งหรือทุกวัน |
|
-
ขับหรือขนส่งอุปกรณ์ไปจอดบนพื้นราบ
-
หากคุณขนส่งอุปกรณ์ ให้ปลดออกจากรถลากและลดระดับอุปกรณ์ลงมาบนลูกกลิ้ง โปรดดู การปลดอุปกรณ์ออกจากรถลาก และ ลดระดับอุปกรณ์ลงมาบนลูกกลิ้ง
-
ดึงเบรกมือ
-
สตาร์ทเครื่องยนต์และตั้งค่าความเร็วเครื่องยนต์เป็นเดินรอบเบา
-
นั่งลงบนที่นั่งคนขับ
-
เหยียบแป้นเคลื่อนที่ด้านใดด้านหนึ่ง
Important: อุปกรณ์ไม่ควรเคลื่อนที่ ถ้าเคลื่อนที่ ให้ปรับเบรกมือ โปรดดู การปรับเบรกมือ
Note: เครื่องยนต์จะดับลงภายใน 1 วินาทีเมื่อคุณเหยียบแป้นเคลื่อนที่ขณะที่ดึงเบรกมืออยู่
การปรับเบรกมือ
-
ตรวจสอบให้แน่ใจว่าเครื่องยนต์ดับสนิทแล้ว
-
ปลดเบรกมือ
-
ปรับเบรกมือดังนี้:
-
หากจะเพิ่มแรงเบรก หมุนน็อตล็อกเบรกตามเข็มนาฬิกา (รูป 35)
-
หากจะลดแรงเบรก หมุนน็อตล็อกเบรกทวนเข็มนาฬิกา (รูป 35)


-
-
ตรวจสอบเบรกมือ โปรดดู การตรวจสอบเบรกมือ
-
สตาร์ทเครื่องยนต์และตั้งค่าความเร็วเครื่องยนต์เป็นเดินรอบเบา
-
นั่งลงบนที่นั่งคนขับ
-
ปลดเบรกมือ
-
เหยียบแป้นเคลื่อนที่ด้านใดด้านหนึ่ง
อุปกรณ์ควรเคลื่อนที่ ถ้าอุปกรณ์ไม่เคลื่อนที่ขณะที่ปลดเบรกมือ ทำซ้ำขั้นตอน 3 ถึง 8 จนกว่าอุปกรณ์จะไม่เคลื่อนที่เมื่อดึงเบรกมือ และอุปกรณ์เคลื่อนที่เมื่อปลดเบรกมือ
-
ดึงเบรกมือและดับเครื่องยนต์
การบำรุงรักษาระบบไฮดรอลิก
ความปลอดภัยของระบบไฮดรอลิก
-
ไปพบแพทย์ทันทีหากโดนน้ำมันฉีดใส่ผิวหนัง น้ำมันที่ฉีดโดนร่างกายจะต้องให้แพทย์ผ่าตัดออกภายในสองถึงสามชั่วโมง
-
ตรวจสอบให้แน่ใจว่าท่ออ่อนน้ำมันไฮดรอลิกและท่อระบบมีสภาพดี และข้อต่อและการเชื่อมต่อระบบไฮดรอลิกทั้งหมดแน่นหนาก่อนจ่ายแรงดันเข้าไปในระบบไฮดรอลิก
-
เก็บมือและร่างกายออกห่างจากจุดรั่วรูเข็มหรือหัวฉีดที่ฉีดน้ำมันไฮดรอลิกแรงดันสูง
-
ใช้กระดาษลังหรือกระดาษหาจุดรั่วของระบบไฮดรอลิก
-
ระบายแรงดันในระบบไฮดรอลิกอย่างปลอดภัยก่อนทำงานใดๆ กับระบบไฮดรอลิก
การตรวจสอบท่ออ่อนและข้อต่อระบบไฮดรอลิก
| ระยะการซ่อมบำรุง | ขั้นตอนการบำรุงรักษา |
|---|---|
| ก่อนการใช้งานแต่ละครั้งหรือทุกวัน |
|
ตรวจสอบระบบไฮดรอลิกเพื่อดูว่าไม่มีการรั่วไหล ส่วนรองรับการยึดที่หลวม การสึกหรอ ข้อต่อหลวม การเสื่อมสภาพจากสภาพอากาศ และการเสื่อมสภาพจากสารเคมี ซ่อมแซมความเสียหายทั้งหมดก่อนกลับไปใช้งานอุปกรณ์
คำเตือน
น้ำมันไฮดรอลิกรั่วที่มีแรงดันอาจทำให้เกิดแผลบนผิวหนังและการบาดเจ็บได้
-
ไปพบแพทย์ทันทีหากโดนน้ำมันฉีดใส่ผิวหนัง
-
ตรวจสอบให้แน่ใจว่าท่ออ่อนน้ำมันไฮดรอลิกและท่อระบบมีสภาพดี และข้อต่อและการเชื่อมต่อระบบไฮดรอลิกทั้งหมดแน่นหนาก่อนจ่ายแรงดันเข้าไปในระบบไฮดรอลิก
-
เก็บมือและร่างกายออกห่างจากจุดรั่วรูเข็มหรือหัวฉีดที่ฉีดน้ำมันไฮดรอลิกแรงดันสูง
-
ใช้กระดาษลังหรือกระดาษหาจุดรั่วของระบบไฮดรอลิก
-
ระบายแรงดันในระบบไฮดรอลิกอย่างปลอดภัยก่อนทำงานใดๆ กับระบบไฮดรอลิก
การตรวจสอบระดับน้ำมันไฮดรอลิก
| ระยะการซ่อมบำรุง | ขั้นตอนการบำรุงรักษา |
|---|---|
| ก่อนการใช้งานแต่ละครั้งหรือทุกวัน |
|
Note: ก่อนทำงานกับชิ้นส่วนใดของระบบขับไฮดรอลิก ให้ดับเครื่องยนต์เพื่อคลายแรงดันจากระบบ ก่อนสตาร์ทเครื่องยนต์หลังจากบำรุงรักษาระบบไฮดรอลิก และก่อนอัดแรงดันระบบไฮดรอลิก ให้ตรวจสอบท่ออ่อนและข้อต่อทั้งหมดเพื่อดูความเสียหายและตรวจสอบว่ายึดแน่นหนาดี เปลี่ยนท่ออ่อนที่ชำรุดและขันข้อต่อที่หลวม ตามที่จำเป็น
-
เตรียมอุปกรณ์สำหรับการบำรุงรักษา โปรดดู การเตรียมพร้อมก่อนการบำรุงรักษา
-
ยกเบาะที่นั่งคนขับขึ้น โปรดดู การยกเบาะที่นั่งคนขับ
-
เปิดฝาและตรวจดูระดับน้ำมันไฮดรอลิกในถังน้ำมันไฮดรอลิก (รูป 36)
ระดับน้ำมันไฮดรอลิกควรจะปกคลุมคำว่า COLD บนแผ่นกั้นของถังน้ำมันไฮดรอลิก

-
ถ้าจำเป็น ให้เติมน้ำมันไฮดรอลิกที่กำหนดลงในถังน้ำมันไฮดรอลิกจนกว่าระดับน้ำมันจะคลุมระดับของเหลวเย็นบนแผ่นกั้น
Note: แผ่นกั้นในถังน้ำมันไฮดรอลิกจะมีเครื่องหมาย HOT และ COLD กำกับไว้ ควรเติมน้ำมันลงในถังน้ำมันไฮดรอลิกให้ถึงระดับที่เหมาะสม ขึ้นอยู่กับอุณหภูมิของน้ำมัน ระดับน้ำมันจะแตกต่างกันไปตามอุณหภูมิของน้ำมัน ระดับเย็นหมายถึงระดับน้ำมันในขณะที่อุณหภูมิ 24°C (75°F) ระดับร้อนแสดงระดับน้ำมันในขณะที่อุณหภูมิ 107°C (225°F)ตัวอย่างเช่น: ถ้าอุณหภูมิของน้ำมันเท่ากับอุณหภูมิแวดล้อม กล่าวคืออยู่ที่ประมาณ 24°C (75°F) ให้เติมถึงระดับเย็นเท่านั้น ถ้าน้ำมันมีอุณหภูมิประมาณ 65°C (150°F) ควรเติมน้ำมันครึ่งทางให้อยู่ระหว่างระดับร้อนกับระดับเย็น
-
เปลี่ยนฝาถังน้ำมันไฮดรอลิกและขันจนปิดแน่นสนิท
Important: อย่าขันฝาถังน้ำมันไฮดรอลิกแน่นเกินไป
-
เช็ดน้ำมันที่หก
-
ลดเบาะที่นั่งคนขับลง โปรดดู การลดระดับเบาะที่นั่งคนขับ
ข้อมูลจำเพาะน้ำมันไฮดรอลิก
ถังน้ำมันเติมน้ำมันไฮดรอลิกคุณภาพสูงมาแล้วจากโรงงาน ตรวจสอบระดับน้ำมันไฮดรอลิกก่อนสตาร์ทเครื่องยนต์ครั้งแรก และทุกวันหลังจากนั้น โปรดดู การตรวจสอบระดับน้ำมันไฮดรอลิก
น้ำมันเปลี่ยนทดแทนที่แนะนำ: น้ำมันไฮดรอลิกชนิดยืดอายุการใช้งาน Toro PX มีจัดจำหน่ายแบบถัง 19 ลิตร (5 แกลลอนสหรัฐ) หรือถัง 208 ลิตร (55 แกลลอนสหรัฐ)
Note: อุปกรณ์ที่ใช้น้ำมันเปลี่ยนทดแทนที่แนะนำไม่จำเป็นต้องเปลี่ยนน้ำมันและตัวกรองบ่อยๆ เหมือนกับการใช้น้ำมันเปลี่ยนทดแทนแบบอื่น
น้ำมันทางเลือก: หากไม่มีน้ำมันไฮดรอลิกชนิดยืดอายุการใช้งาน Toro PX จัดจำหน่าย คุณสามารถใช้น้ำมันไฮดรอลิกชนิดปิโตรเลียมทั่วไปที่มีข้อมูลจำเพาะตรงกับช่วงที่ระบุไว้สำหรับคุณสมบัติวัสดุต่อไปนี้ทั้งหมดและได้ตามมาตรฐานอุตสาหกรรม อย่าใช้น้ำมันสังเคราะห์ ปรึกษาตัวแทนจำหน่ายน้ำมันหล่อลื่นเพื่อค้นหาผลิตภัณฑ์ที่เหมาะสม
Note: Toro ไม่รับผิดชอบความเสียหายจากการใช้น้ำมันเปลี่ยนทดแทนที่ไม่เหมาะสม ดังนั้นควรใช้ผลิตภัณฑ์จากผู้ผลิตที่มีชื่อเสียงน่าเชื่อถือเท่านั้น
| คุณสมบัติวัสดุ: | ||
| ความหนืด, ASTM D445 | cSt ที่ 40 °C (104°F) 44 ถึง 48 | |
| ดัชนีความหนืด ASTM D2270 | 140 ขึ้นไป | |
| จุดไหลเท, ASTM D97 | -37 °C ถึง -45 °C (-34°F ถึง -49°F) | |
| ข้อมูลจำเพาะของอุตสาหกรรม: | Eaton Vickers 694 (I-286-S, M-2950-S/35VQ25 หรือ M-2952-S) | |
Note: น้ำมันไฮดรอลิกส่วนใหญ่เกือบจะไม่มีสี ทำให้การมองหาจุดรั่วได้ยาก สีย้อมน้ำมันไฮดรอลิกสีแดงมีจัดจำหน่ายเป็นขวดขนาด 20 มล. (0.67 ออนซ์ของเหลว) ซึ่งขวดหนึ่งก็เพียงพอแล้วสำหรับน้ำมันไฮดรอลิก 15 ถึง 22 ลิตร (4 ถึง 6 แกลลอนสหรัฐ) สามารถแจ้งหมายเลขสั่งซื้ออะไหล่ 44-2500 กับตัวแทนจำหน่ายที่ได้รับอนุญาตของ Toro
การเปลี่ยนน้ำมันไฮดรอลิกและตัวกรอง
| ระยะการซ่อมบำรุง | ขั้นตอนการบำรุงรักษา |
|---|---|
| หลังจาก 20 ชั่วโมงแรก |
|
| ทุก 400 ชั่วโมง |
|
Important: ใช้เฉพาะน้ำมันไฮดรอลิกที่กำหนดเท่านั้น เพราะน้ำมันอื่นๆ อาจทำให้ระบบเสียหาย
การเตรียมการก่อนเปลี่ยนน้ำมันไฮดรอลิกและตัวกรอง
-
ขับหรือเคลื่อนย้ายอุปกรณ์ไปบนพื้นราบ โปรดดู การขนส่งอุปกรณ์
-
ถ้าเครื่องยนต์ทำงานอยู่ ดับเครื่องยนต์
-
ดึงเบรกมือ
-
ถ้าอุปกรณ์อยู่บนลูกกลิ้ง ยกอุปกรณ์ขึ้นมาบนล้อขนส่ง โปรดดู การยกอุปกรณ์ขึ้นไปบนล้อขนส่ง
-
ยกเบาะที่นั่งคนขับขึ้น โปรดดู การยกเบาะที่นั่งคนขับ
-
ถ้าคุณเดินเครื่องยนต์ รอให้เครื่องยนต์และระบบไฮดรอลิกเย็นลง
การระบายน้ำมันไฮดรอลิก
การเปลี่ยนไส้กรอง
-
เช็ดทำความสะอาดรอบๆ หัวกรองและตัวกรองไฮดรอลิก
-
อัดผ้าขี้ริ้วไว้ใต้ตัวกรองไฮดรอลิก (รูป 38)

-
ค่อยๆ ถอดตัวกรองไฮดรอลิก (รูป 38)
-
เติบน้ำมันไฮดรอลิกที่กำหนดลงในไส้กรองสำหรับเปลี่ยน และหล่อลื่นปะเก็นซีลด้วยน้ำมันไฮดรอลิก
-
ติดตั้งไส้กรองเข้ากับหัวกรองด้วยมือ (รูป 38) จนกว่าปะเก็นจะแตะกับหัวกรอง จากนั้นขันไส้กรองอีก 3/4 รอบ
-
เช็ดน้ำมันไฮดรอลิกที่หก
-
ทิ้งตัวกรองเก่าตามข้อบังคับของท้องถิ่น
การเติมน้ำมันไฮดรอลิก
-
ลดระดับอุปกรณ์ลงมาบนลูกกลิ้ง โปรดดู ลดระดับอุปกรณ์ลงมาบนลูกกลิ้ง
-
เปิดฝาถังน้ำมันไฮดรอลิก (รูป 39)

-
เติมน้ำมันไฮดรอลิกลงในถัง โปรดดู ข้อมูลจำเพาะน้ำมันไฮดรอลิก และ การตรวจสอบระดับน้ำมันไฮดรอลิก
-
ปิดฝาถังน้ำมันไฮดรอลิก (รูป 39)
-
เช็ดน้ำมันไฮดรอลิกที่หก
-
สตาร์ทเครื่องยนต์และให้เดินรอบเบาประมาณ 3 ถึง 5 นาที
การเดินเครื่องยนต์จะหมุนเวียนน้ำมันไฮดรอลิกและขจัดฟองอากาศที่ติดอยู่ในระบบไฮดรอลิก
-
ตรวจสอบอุปกรณ์ว่าไม่มีน้ำมันไฮดรอลิกรั่วไหลที่ถังน้ำมันไฮดรอลิก ท่ออ่อนไฮดรอลิก และตัวกรองไฮดรอลิก
ซ่อมแซมจุดรั่วไหลในระบบไฮดรอลิกทั้งหมด
-
ดับเครื่องยนต์ ตรวจสอบระดับน้ำมันไฮดรอลิก และเติมน้ำมันถ้าจำเป็น
-
ลดเบาะที่นั่งคนขับลง โปรดดู การลดระดับเบาะที่นั่งคนขับ
การบำรุงรักษาแชสซี
การตรวจสอบแรงดันลมยาง
| ระยะการซ่อมบำรุง | ขั้นตอนการบำรุงรักษา |
|---|---|
| ก่อนการใช้งานแต่ละครั้งหรือทุกวัน |
|
-
วัดแรงดันลมยางของยางขนส่ง
แรงดันลมยางควรวัดได้ 103 กิโลปาสกาล (15 ปอนด์ต่อตารางนิ้ว)
-
ถ้าแรงดันลมยางสูงหรือต่ำกว่า 103 กิโลปาสกาล (15 ปอนด์ต่อตารางนิ้ว) ให้เติมลม หรือปล่อยลมออกจากยางจนกว่าจะวัดได้ 103 กิโลปาสกาล (15 ปอนด์ต่อตารางนิ้ว)
การตรวจสอบอุปกรณ์เพื่อหาฮาร์ดแวร์ที่หลวม
| ระยะการซ่อมบำรุง | ขั้นตอนการบำรุงรักษา |
|---|---|
| หลังจาก 5 ชั่วโมงแรก |
|
| ก่อนการใช้งานแต่ละครั้งหรือทุกวัน |
|
ตรวจสอบแชสซีเพื่อหาน็อตและสลักเกลียวที่หลวมหรือหายไป
ขันน็อตและสลักเกลียวที่หลวม และติดตั้งฮาร์ดแวร์ที่หายไปตามที่จำเป็น
การทำความสะอาด
การทำความสะอาดอุปกรณ์
| ระยะการซ่อมบำรุง | ขั้นตอนการบำรุงรักษา |
|---|---|
| หลังจากการใช้งานแต่ละครั้ง |
|
Important: อย่าใช้น้ำกร่อยหรือน้ำหมุนเวียนล้างอุปกรณ์
-
ทำความสะอาดอุปกรณ์ด้วยน้ำสะอาด
Note: อย่าใช้เครื่องล้างแรงดันในการทำความสะอาดอุปกรณ์
-
ล้างฝุ่นและเศษวัสดุออกจากลูกกลิ้งตามที่จำเป็น โดยการพ่นน้ำผ่านช่องบนตัวเรือนลูกกลิ้ง (รูป 40)

-
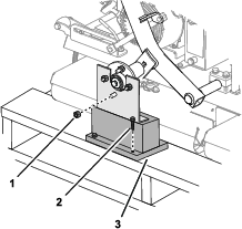
ทำความสะอาดฝุ่นและเศษวัสดุออกจากพื้นที่รอบๆ มอเตอร์ไฮดรอลิก (รูป 41)

-
ทำความสะอาดฝุ่นและเศษวัสดุออกจากเครื่องยนต์และครีบระบายความร้อนเครื่องยนต์ (รูป 42)



ได้แก่ ข้อควรระวัง
คำเตือน หรืออันตราย ซึ่งเป็นคำแนะนำเพื่อความปลอดภัยส่วนบุคคล การไม่ปฏิบัติตามคำแนะนำเหล่านี้อาจส่งผลให้บาดเจ็บหรือเสียชีวิตได้




























