ชุดอุปกรณ์ม้วนสายยางไฟฟ้าเป็นอุปกรณ์ต่อพ่วงสำหรับรถพ่นสารในสนาม และมีเจตนาให้ใช้งานโดยผู้รับจ้างมืออาชีพในการใช้งานเชิงพาณิชย์ โดยออกแบบมาสำหรับการฉีดพ่นบนสนามที่ได้รับการดูแลรักษาเป็นอย่างดีในสวนสาธารณะ สนามกอล์ฟ สนามกีฬา และพื้นที่เชิงพาณิชย์เป็นหลัก
กรุณาอ่านเอกสารนี้อย่างละเอียดเพื่อศึกษาวิธีควบคุมและบำรุงรักษาผลิตภัณฑ์อย่างเหมาะสม และเพื่อหลีกเลี่ยงการบาดเจ็บและความเสียหายต่อผลิตภัณฑ์ คุณมีหน้าที่ใช้งานผลิตภัณฑ์อย่างถูกต้องและปลอดภัย
โปรดเข้าไปที่เว็บไซต์ www.Toro.com เพื่อดูข้อมูลเพิ่มเติม รวมถึงเคล็ดลับเพื่อความปลอดภัย เอกสารการฝึกอบรม ข้อมูลอุปกรณ์เสริม ความช่วยเหลือเพื่อค้นหาตัวแทนจำหน่าย หรือลงทะเบียนผลิตภัณฑ์
หากคุณต้องการการซ่อมบำรุง อะไหล่แท้ของ Toro หรือข้อมูลเพิ่มเติม โปรดติดต่อตัวแทนบริการที่ได้รับอนุญาตหรือฝ่ายบริการลูกค้าของ Toro และเตรียมหมายเลขรุ่นและหมายเลขซีเรียลของผลิตภัณฑ์ไว้ให้พร้อม รูป 1 หาตำแหน่งของหมายเลขรุ่นและหมายเลขซีเรียลบนผลิตภัณฑ์ จดบันทึกหมายเลขในช่องว่างที่กำหนดให้
Important: นอกจากนี้ คุณสามารถใช้มือถือสแกนรหัส QR บนสติกเกอร์หมายเลขซีเรียลได้ (ถ้ามี) เพื่อเข้าถึงข้อมูลการรับประกัน อะไหล่ และข้อมูลผลิตภัณฑ์อื่นๆ

Note: ผลิตภัณฑ์นี้ได้มาตรฐานตามคำสั่งยุโรปที่เกี่ยวข้องทั้งหมด หากต้องการรายละเอียด โปรดดูเอกสารรับรองมาตรฐานชิ้นส่วนประกอบ (DOI) ที่ด้านหลังของสิ่งพิมพ์ฉบับนี้ดูด้านซ้ายและขวาของอุปกรณ์จากตำแหน่งปกติในการควบคุมอุปกรณ์
Important: การติดตั้งชุดอุปกรณ์นี้จำเป็นต้องใช้เทปพันเกลียว Teflon โดยใช้เทปดังกล่าวพันรอบเกลียวของข้อต่อก่อนจะนำไปประกอบ การพันเกลียวควรเริ่มจากฐาน จากนั้นไล่ขึ้นไปจนถึงปลายข้อต่อเพื่อให้กันน้ำได้ดี
Important: การติดตั้งชุดอุปกรณ์นี้จำเป็นต้องใช้สารหล่อลื่นที่ไม่มีส่วนผสมของปิโตรเลียม เช่น น้ำมันพืช
การใช้งานหรือการบำรุงรักษาที่ไม่เหมาะสมโดยผู้ปฏิบัติงานหรือเจ้าของอาจส่งผลให้เกิดการบาดเจ็บได้
เพื่อลดโอกาสที่จะเกิดการบาดเจ็บ ให้ปฏิบัติตามคำแนะนำด้านความปลอดภัยและสังเกตสัญลักษณ์เตือนอันตราย
ได้แก่ ข้อควรระวัง คำเตือน
หรืออันตราย ซึ่งเป็นคำแนะนำเพื่อความปลอดภัยส่วนบุคคล การไม่ปฏิบัติตามคำแนะนำเหล่านี้อาจส่งผลให้บาดเจ็บหรือเสียชีวิตได้
นอกจากนี้ โปรดอ่านคำแนะนำด้านความปลอดภัยและการใช้งานในคู่มือผู้ใช้
ห้ามเล็งเครื่องฉีดพ่นด้วยมือไปยังคนหรือสัตว์ ของเหลวที่มีแรงดันสูงอาจเจาะทะลุผิวหนังและทำให้ได้รับบาดเจ็บร้ายแรงถึงขั้นที่อาจต้องตัดแขนขาหรือเสียชีวิตได้ นอกจากนี้ ของเหลวอุณหภูมิสูงและสารเคมียังอาจทำให้เกิดแผลไหม้หรือการบาดเจ็บได้เช่นกัน หากส่วนใดของร่างกายสัมผัสกับละอองฉีดพ่น โปรดไปพบแพทย์ที่มีความรู้ความเข้าใจเกี่ยวกับอาการบาดเจ็บจากการฉีดพ่นของเหลวทันที
อย่าวางมือหรือส่วนใดของร่างกายอยู่ด้านหน้าหัวฉีดพ่น
อย่าวางอุปกรณ์ที่ใช้แรงดันสูงทิ้งไว้โดยไม่ดูแล
อย่าใช้เครื่องฉีดพ่นด้วยมือโดยเด็ดขาด หากสายท่อ ระบบล็อกไก หัวฉีด หรือชิ้นส่วนอื่นๆ เสียหายหรือไม่ครบถ้วน
อย่าใช้เครื่องฉีดพ่นด้วยมือ หากสายท่อ ข้อต่อ หรือส่วนประกอบอื่นๆ มีการรั่วไหล
อย่าฉีดพ่นใกล้กับสายไฟ
อย่าขับรถขณะใช้เครื่องฉีดพ่นแบบมือถือ
สวมชุดป้องกันสารเคมี แว่นนิรภัย อุปกรณ์ป้องกันระบบทางเดินหายใจ รองเท้ายาง และถุงมือป้องกันขณะฉีดพ่นสารเคมีด้วยเครื่องฉีดพ่นแบบมือถือ
ควรใช้งานอุปกรณ์เฉพาะเมื่อมีทัศนวิสัยที่ชัดเจนและสภาพอากาศเอื้ออำนวยเท่านั้น อย่าขับอุปกรณ์เมื่อมีความเสี่ยงที่จะเกิดฟ้าผ่า
สารเคมีเป็นอันตรายและอาจทำให้บาดเจ็บ
อ่านคำแนะนำบนฉลากสารเคมีก่อนจัดการสารเคมี และปฏิบัติตามคำแนะนำและข้อควรระวังของผู้ผลิต
อย่าให้สารเคมีสัมผัสผิวหนังของคุณ หากสัมผัสโดนสารเคมี ให้ล้างบริเวณที่สัมผัสสารเคมีให้สะอาดด้วยสบู่และน้ำสะอาด
สวมแว่นนิรภัยและอุปกรณ์ป้องกันอื่นๆ ตามที่ผู้ผลิตสารเคมีแนะนำ
ระบายของเหลวในถังฉีดพ่นออกให้หมด
ทำความสะอาดและล้างถังฉีดพ่น โปรดดูคู่มือผู้ใช้ของอุปกรณ์
จอดอุปกรณ์บนพื้นราบ ดันแฮนด์ควบคุม เข้าเบรกจอด ปิดปั๊ม ดับเครื่องยนต์ ดึงกุญแจออก และรอให้ชิ้นส่วนเคลื่อนไหวทั้งหมดหยุดนิ่ง
ถอดสายไฟแบตเตอรี่ขั้วลบ
ถอดสายไฟแบตเตอรี่ขั้วบวก
ชิ้นส่วนที่ต้องใช้สำหรับขั้นตอนนี้:
| ชุดสายไฟ | 1 |
| สวิตช์ | 1 |
| ฝาครอบและน็อตแบบกันสภาพอากาศ | 1 |
| ข้อรัดรูปตัว R ขนาดเล็ก | 1 |
| น็อตมีบ่า (3/8 นิ้ว) | 1 |
| สลักเกลียวหัวกลม | 1 |
| ชุดสายไฟฟิวส์ลิงค์ (108-9455) | 1 |
| รีเลย์(99-7435) | 1 |
| ตัวยึดแบบกดเข้า | 1 |
ถอดตัวยึดแถบรัดถังด้านหน้าที่อยู่ด้านบนของถังออก
Note: แล้วเก็บชิ้นส่วนทั้งหมดไว้
ใส่สลักเกลียวหัวกลมเข้าไปในรูล่างบนสายรัดถังด้านขวา
ติดตั้งตัวยึดแถบรัดถังที่ถอดออกมาก่อนหน้านี้ เพื่อยึดแถบรัดเข้ากับถัง
Note: ตรวจสอบให้แน่ใจว่าแถบรัดยึดถังแน่นหนา อย่าขันแน่นเกินไป
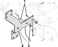
ยึดข้อรัดรูปตัว R ขนาดเล็กเข้ากับสลักเกลียวหัวกลมโดยใช้น็อตมีบ่า (3/8 นิ้ว) ดังแสดงใน รูป 2
ลากปลายชุดสายไฟของม้วนสายยางไฟฟ้าลอดผ่านข้อรัดรูปตัว R ดังแสดงใน รูป 2

ถอดสกรูหัวหกเหลี่ยม 4 ตัวที่ใช้ยึดฝาครอบแผงควบคุมเข้ากับคอนโซล แล้วยกแผงควบคุมขึ้นเล็กน้อย
Note: หากจำเป็น ให้ถอดหัวของก้านล็อกเฟืองท้ายออก

ถอดจุกอุดทรงกลมออกจากฝาครอบแผงควบคุม (รูป 4)

ประกอบสวิตช์เข้ากับฝาครอบแผงควบคุมโดยใช้น็อตสวมทับ จากนั้นใช้มือขันน็อตสวมทับให้แน่นหนา (รูป 5)

ติดตั้งฝาครอบปุ่มบนสวิตช์ (รูป 6)

ต่อขั้วต่อ 2 อันบนชุดสายไฟเข้ากับขั้วต่อแบบ 2 ขาแบนที่อยู่บนสวิตช์ (รูป 7)
ยึดฝาครอบแผงควบคุมเข้ากับแขนคอนโซลโดยใช้สลักเกลียวที่ถอดออกมาก่อนหน้านี้
Note: ใส่หัวก้านล็อกเฟืองท้ายที่เคยถอดออกมาก่อนหน้านี้กลับเข้าที่เดิม
เสียบขั้วต่อที่อยู่ใกล้เข้ากับปลั๊กของม้วนสายยางบนชุดสายไฟหลัก ซึ่งอยู่บริเวณด้านหน้าของแขนควบคุม
เสียบขั้วต่ออันถัดไปในรีเลย์ (รูป 7) จากนั้นติดตั้งรีเลย์เข้ากับรูด้านนอกบนโครงที่อยู่ใกล้กับรีเลย์ที่มีอยู่เดิม
ต่อฟิวส์ลิงค์เข้ากับสายไฟสีแดงที่ต่อกับขั้วบวก (+) ของแบตเตอรี่ (รูป 7)
ต่อสายไฟขั้วลบ (-) บนชุดสายไฟเข้ากับขั้วบวก (-) ของแบตเตอรี่
ต่อปลายชุดสายไฟฝั่งที่อยู่ไกลเข้ากับสายกราวด์ของกล่องฟิวส์ (รูป 7)

ชิ้นส่วนที่ต้องใช้สำหรับขั้นตอนนี้:
| โครงของม้วนสายยาง | 1 |
| สลักเกลียว(5/16) | 10 |
| น็อตมีบ่า (5/16 นิ้ว) | 10 |
| แผ่นหมุน | 1 |
| ม้วนสายยาง | 1 |
| สลักเกลียวหัวกลมขนาดใหญ่ | 4 |
| น็อตมีบ่า (3/8 นิ้ว) | 4 |
| ด้ามจับ | 1 |
| แผ่นกันโคลน | 1 |
| คลิปสปริง | 1 |
| น็อตล็อก | 2 |
| สลักเกลียวหัวกลมขนาดเล็ก | 2 |
| ข้อรัดรูปตัว R ขนาดใหญ่ | 2 |
| โครงยึดปืนฉีดพ่น | 1 |
| ตัวคั่น | 2 |
| สกรูเกลียวปล่อย | 2 |
| แหวนรองกันรุน | 1 |
| แหวนกันหลุด | 1 |
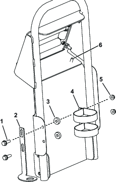
ติดตั้งโครงของม้วนสายยางเข้ากับด้านข้างของอุปกรณ์ โดยใช้สลักเกลียว (5/16 นิ้ว) 4 ตัว และน็อตมีบ่า (5/16 นิ้ว) 4 ตัว ดังแสดงใน รูป 8

ติดตั้งแผ่นหมุนที่ด้านล่างของม้วนสายยาง โดยใช้สลักเกลียวหัวกลม 4 ตัว และน็อตมีบ่า (3/8 นิ้ว) 4 ตัว (รูป 9)

วางแผ่นหมุนลงในรูบนโครงของม้วนสายยาง (รูป 9)
Note: ดันตัวล็อกการหมุนไปทางซ้ายเพื่อให้ติดตั้งได้ง่าย
ติดตั้งแหวนกันรุนและแหวนกันหลุดเข้ากับเสาของแผ่นหมุน (รูป 10)

ยึดด้ามจับเข้ากับแผ่นหมุนไว้อย่างหลวมๆ โดยใช้สลักเกลียว (5/16 นิ้ว) 4 ตัว (รูป 11)

ประกอบแผ่นกันโคลนและมือจับเข้ากับแผ่นหมุน โดยใช้สลักเกลียวในขั้นตอนที่ 5 และน็อตมีบ่า (5/16 นิ้ว) 4 ตัว (รูป 11)
ยึดด้านบนของแผ่นกันโคลนเข้ากับมือจับ โดยใช้สกรูเกลียวปล่อย 2 ตัว (รูป 12)

ประกอบที่วางปืนฉีดพ่นเข้ากับแผงกันโคลนดังแสดงใน รูป 12
ต่อชุดสายไฟเข้ากับม้วนสายยาง
Note: เก็บชิ้นส่วนทั้งหมดที่ถอดออกมาเอาไว้เพื่อใช้ติดตั้งในภายหลัง เว้นแต่คำแนะนำจะระบุไว้เป็นอย่างอื่น
ถอดเหล็กยึดที่ยึดแอกทูเอเตอร์เข้ากับฐานตั้งวาล์วสำหรับวาล์วแขนบูมหรือวาล์วผสม (รูป 13)
Note: บีบ 2 ขาของเหล็กยึดเข้าด้วยกันพร้อมกับดันลงไปด้วย
Note: เก็บแอกทูเอเตอร์และเหล็กยึดเอาไว้ก่อน

ถอดแอกทูเอเตอร์ออกจากฐานตั้งวาล์ว
ถอดเหล็กยึดที่ใช้ยึดชุดวาล์วบายพาสของแขนบูม จุก รวมทั้งชุดข้อต่อและสายยางออก ดังแสดงใน รูป 14
Important: หากมีการติดตั้ง GeoLink บนอุปกรณ์ ให้ทำแบบเดียวกันนี้กับชุดวาล์วทั้งสองฝั่ง
Note: ไม่ต้องใช้ฝาครอบตัวผู้ แต่ให้เก็บโอริงบนฝาเอาไว้

บันทึกค่าปัจจุบันของลูกบิดทั้งด้านซ้ายและด้านขวา
Important: หากมีการติดตั้ง GeoLink บนอุปกรณ์ ให้บันทึกการตั้งค่าทั้งหมดของลูกบิดเอาไว้
หมุนชุดวาล์วบายพาสของแขนบูม 180° ดังแสดงใน รูป 15

ปรับลูกบิดซ้ายและขวาให้ตรงกับค่าก่อนหน้านี้
Important: หากมีการติดตั้ง GeoLink บนอุปกรณ์ ให้ปรับลูกบิดทั้งหมดให้ตรงกับค่าก่อนหน้านี้
ติดตั้งชุดวาล์วของแขนบูมโดยใช้เหล็กยึดที่ถอดออกมาก่อนหน้านี้ ดังแสดงใน รูป 16

ชิ้นส่วนที่ต้องใช้สำหรับขั้นตอนนี้:
| วาล์วควบคุมแบบหน้าแปลน | 1 |
| ปีกหมุน | 2 |
| สกรูปีกหมุน (6-32 x 5/8 นิ้ว) | 2 |
| ตัวยึดวาล์ว | 2 |
| ข้อต่อมุมฉาก 90° | 1 |
| ข้อรัดหน้าแปลน | 1 |
| ปะเก็น | 1 |
| ฝาครอบข้อต่อ (½ นิ้ว) | 2 |
| ข้อต่อตรง | 1 |
| เหล็กยึด | 3 |
| วาล์วควบคุมแบบทางตรง | 2 |
| โครงยึดวาล์วควบคุม (หมายเลขซีเรียล 415399999 และก่อนหน้านั้น) | 1 |
| สลักเกลียวหน้าแปลน (¼ x 5/8 นิ้ว) | 2 |
| น็อตล็อก (¼ นิ้ว) | |
| โครงยึดวาล์วควบคุม (หมายเลขซีเรียล 415400000 ขึ้นไป) | 1 |
| โครงยึดวาล์วควบคุม (หมายเลขซีเรียล 415400000 ขึ้นไป พร้อม GeoLink) | 1 |
| ท่อร่วมรูปตัว T | 1 |
| สลักคอสี่เหลี่ยม (1/4 x 5/8 นิ้ว) | 2 |
| สลักเกลียว (M6 x 12 มม.) | 8 |
| สายจ่ายของม้วนสายยาง | 1 |
| ข้อรัด | 1 |
Note: เก็บชิ้นส่วนทั้งหมดที่ถอดออกมาเอาไว้เพื่อใช้ติดตั้งในภายหลัง เว้นแต่คำแนะนำจะระบุไว้เป็นอย่างอื่น
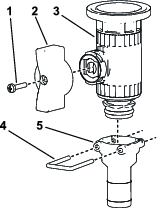
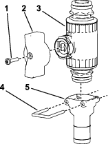
ติดตั้งโครงยึดวาล์วควบคุมเข้ากับโครงรองรับวาล์ว โดยใช้สลักเกลียวมีบ่า (¼ x 5/8 นิ้ว) 2 ตัว ดังแสดงใน รูป 17

ประกอบปีกหมุนสีแดงเข้ากับวาล์วควบคุม ดังแสดงใน รูป 18

ประกอบตัวยึดวาล์วเข้ากับวาล์วควบคุม ดังแสดงในภาพ A ของ รูป 19

ประกอบตัวยึดวาล์วเข้ากับวาล์วควบคุมโดยใช้สกรูหน้าแปลน (#6) จากนั้นใช้มือขันสกรูให้แน่น (ส่วน B ของ รูป 19)
ติดตั้งชุดวาล์วควบคุมบนโครงยึดวาล์วควบคุม โดยใช้สลักเกลียว (M6) 4 ตัว ดังแสดงใน รูป 20

ประกอบชุดวาล์วควบคุมเข้ากับวาล์วของแขนบูมโดยใช้โอริงและเหล็กยึดที่ถอดออกมาก่อนหน้านี้ (รูป 21)
ติดตั้งฝาครอบ (½ นิ้ว) โอริง ข้อต่อ และชุดสายยางเข้ากับวาล์วควบคุมโดยใช้เหล็กยึดที่ถอดออกมาก่อนหน้านี้ ดังแสดงใน รูป 21

ติดตั้งแอคทูเอเตอร์ที่ถอดออกมาใน รูป 13 เข้ากับวาล์วท่อร่วม โดยใช้เหล็กยึดที่ถอดออกมาก่อนหน้านี้
ถอดสายตรวจวัดแรงดันออกจากข้อต่อ
ประกอบปีกหมุนสีเขียวและข้อต่อแบบทางตรงเข้ากับวาล์วควบคุมแบบหน้าแปลนโดยใช้เหล็กยึด ดังแสดงใน รูป 22

ถอดฝาและข้อต่อออกจากช่องต่อเกจวัดแรงดัน (รูป 23)

ติดตั้งชุดวาล์วควบคุมตามแนวตั้ง ดังแสดงใน รูป 23
ติดตั้งข้อต่อเข้ากับช่องเปิดบนข้อต่อมุมฉาก 90° (รูป 23)
Note: ทิ้งฝาไปได้เลย
ต่อสายตรวจวัดแรงดันเข้ากับข้อต่อ
ต่อสายจ่ายของถังฉีดพ่นเข้ากับวาล์วควบคุมแนวนอนโดยใช้ข้อรัดท่อ
ยึดปลายเปิดของสายจ่ายของม้วนสายยางเข้ากับข้อต่อแบบทางตรงโดยใช้ข้อรัด
วางสายจ่ายของม้วนสายยางดังแสดงใน รูป 24 และประกอบเข้ากับม้วนสายยางโดยใช้ข้อรัด
Note: หากมีการติดตั้งชุดล้างทำความสะอาดถัง ให้ลากสายยางไปทางด้านหลังปั๊มล้าง

ติดตั้งแอคทูเอเตอร์ที่ถอดออกมาใน รูป 13 เข้ากับวาล์วท่อร่วม โดยใช้เหล็กยึดที่ถอดออกมาก่อนหน้านี้
ติดตั้งโครงยึดวาล์วควบคุมเข้ากับโครงรองรับวาล์ว โดยใช้สลักเกลียวมีบ่า (¼ x 5/8 นิ้ว) 2 ตัว และน็อตล็อก (¼ นิ้ว) ดังแสดงใน รูป 25

ประกอบปีกหมุนสีแดงเข้ากับวาล์วควบคุมแบบทางตรง

ประกอบตัวยึดวาล์วเข้ากับวาล์วควบคุมแบบทางตรง ดังแสดงในภาพ A ของ รูป 27
ประกอบตัวยึดวาล์วเข้ากับวาล์วควบคุมโดยใช้สกรูหน้าแปลน (#6) จากนั้นใช้มือขันสกรูให้แน่น (ส่วน B ของ รูป 27)

ติดตั้งชุดวาล์วควบคุมเข้ากับด้านบนของโครงยึดวาล์วควบคุม โดยใช้สกรู (M6) 4 ตัว ดังแสดงใน รูป 28

ประกอบชุดวาล์วควบคุมเข้ากับวาล์วของแขนบูมโดยใช้โอริงและเหล็กยึดที่ถอดออกมาก่อนหน้านี้ ดังแสดงใน รูป 29
ติดตั้งฝาครอบ (½ นิ้ว) โอริง ข้อต่อ และชุดสายยางเข้ากับวาล์วควบคุมโดยใช้เหล็กยึดที่ถอดออกมาก่อนหน้านี้ ดังแสดงใน รูป 29

ถอดเหล็กยึดที่ใช้ยึดฝาปิดข้อต่อและข้อต่อออกจากปลายของส่วนวาล์ว (รูป 30)
ติดตั้งท่อร่วมรูปตัว T ที่ให้มาเข้ากับปลายของส่วนวาล์วโดยใช้เหล็กยึดจากขั้นตอนที่ 9
ติดตั้งฝาครอบข้อต่อเข้ากับด้านข้างของท่อร่วมรูปตัว T ที่ติดตั้งในขั้นตอนที่ 9

ประกอบข้อต่อแบบทางตรงเข้ากับวาล์วควบคุมแบบทางตรงอีกตัวหนึ่งโดยใช้เหล็กยึด ดังแสดงใน รูป 31

ต่อสายจ่ายของม้วนสายยางเข้ากับด้านล่างของข้อต่อแบบทางตรง
ต่อชุดวาล์วควบคุมพร้อมข้อต่อแบบทางตรงเข้ากับด้านล่างของท่อร่วมรูปตัว T โดยใช้เหล็กยึดที่ให้มา (รูป 32)
ติดตั้งชุดวาล์วควบคุมเข้ากับด้านล่างของโครงยึดวาล์วควบคุม โดยใช้สลักเกลียว (M6) 4 ตัว ดังแสดงใน รูป 32

ต่อสายจ่ายของถังฉีดพ่นเข้ากับวาล์วควบคุมแนวนอนโดยใช้ข้อรัดท่อ
ยึดปลายเปิดของสายจ่ายของม้วนสายยางเข้ากับข้อต่อแบบทางตรงโดยใช้ข้อรัด
วางสายจ่ายของม้วนสายยางดังแสดงใน รูป 33 และประกอบเข้ากับม้วนสายยางโดยใช้ข้อรัด
Note: หากมีการติดตั้งชุดล้างทำความสะอาดถัง ให้ลากสายยางไปทางด้านหลังปั๊มล้าง

ติดตั้งแอคทูเอเตอร์ที่ถอดออกมาใน รูป 13 เข้ากับวาล์วท่อร่วม โดยใช้เหล็กยึดที่ถอดออกมาก่อนหน้านี้
ติดตั้งโครงยึดวาล์วควบคุมเข้ากับโครงรองรับวาล์ว โดยใช้สลักเกลียวหัวกลม (¼-20 x 5/8 นิ้ว) 2 ตัว และน็อตล็อก (¼-20 นิ้ว) 2 ตัว ดังแสดงใน

ถอดเหล็กยึดที่ใช้ยึดฝาปิดข้อต่อและข้อต่อออกจากปลายของส่วนวาล์ว (รูป 35)
ติดตั้งท่อร่วมรูปตัว T เข้ากับปลายของส่วนวาล์วโดยใช้เหล็กยึดที่ถอดออกมาในขั้นตอนที่ 3

ประกอบปีกหมุนสีเขียวเข้ากับวาล์วควบคุมแบบทางตรง รูป 36

ประกอบตัวยึดวาล์วเข้ากับวาล์วควบคุมแบบทางตรง ดังแสดงในภาพ A ของ รูป 37
ประกอบตัวยึดวาล์วเข้ากับวาล์วควบคุมโดยใช้สกรูหน้าแปลน (#6) จากนั้นใช้มือขันสกรูให้แน่น (ส่วน B ของ รูป 37)

ยึดสายจ่ายของม้วนสายยางเข้ากับข้อต่อแบบทางตรงโดยใช้ข้อรัด
ยึดชุดวาล์วควบคุมเข้ากับข้อต่อรูปตัว T โดยใช้เหล็กยึดดังแสดงใน รูป 38

ประกอบตัวยึดวาล์วเข้ากับโครงยึดวาล์วควบคุมโดยใช้สลักเกลียวมีบ่า (M6 x 12 มม.) 4 ตัว จากนั้นขันสลักเกลียวจนได้แรงบิด 10 ถึง 12 นิวตันเมตร (86 ถึง 106 นิ้วปอนด์)

ประกอบตัวยึดวาล์วเข้ากับวาล์วควบคุม ดังแสดงในภาพ A
ประกอบตัวยึดวาล์วเข้ากับวาล์วควบคุมโดยใช้สกรูหน้าแปลน (#6) จากนั้นใช้มือขันสกรูให้แน่น ดังแสดงในภาพ B

ติดตั้งชุดวาล์วควบคุมเข้ากับชุดวาล์ว ดังแสดงใน รูป 41

ติดตั้งชุดวาล์วควบคุมเข้ากับด้านบนของโครงยึดวาล์วควบคุม โดยใช้สกรู (M6) 4 ตัว ดังแสดงใน รูป 42

ติดตั้งฝาปิด (½ นิ้ว) โอริง ข้อต่อ และชุดสายยางเข้ากับวาล์วควบคุมโดยใช้เหล็กยึดที่ถอดออกมาก่อนหน้านี้
ถอดเหล็กยึดที่ยึดสายยางเข้ากับปลายของท่อร่วมออก

ติดตั้งวาล์วตัดการจ่ายของเหลวบนสายยางและอุปกรณ์ จากนั้นยึดด้วยเหล็กยึด

ต่อสายจ่ายของถังฉีดพ่นเข้ากับวาล์วควบคุมแนวนอนโดยใช้ข้อรัดท่อ
วางสายจ่ายของม้วนสายยางดังแสดงใน และประกอบเข้ากับม้วนสายยางโดยใช้ข้อรัด

Note: หากมีการติดตั้งชุดล้างทำความสะอาดถัง ให้ลากสายยางไปทางด้านหลังปั๊มล้าง
ชิ้นส่วนที่ต้องใช้สำหรับขั้นตอนนี้:
| สายยางเส้นยาวพร้อมข้อต่อ | 1 |
| ปืนฉีดพ่น | 1 |
| ข้อรัดพลาสติก | 1 |
ผูกชุดสายไฟเข้ากับท่อจ่ายโดยใช้สายรัด 2 เส้น
พันเทปพันเกลียว Teflon® รอบเกลียวข้อต่อสายยางที่อยู่บนสายยางเส้นยาว จากนั้นประกอบข้อต่อเข้ากับท่อต่อบนม้วนสายยาง (รูป 46)

ต่อปลายสายยางอีกด้านหนึ่งเข้ากับข้อต่อบนปืนฉีดพ่น (รูป 47)

ยึดปลายสายยางโดยใช้ข้อรัดพลาสติก
ต่อสายไฟแบตเตอรี่ขั้วบวกเข้ากับแบตเตอรี่
ต่อสายไฟแบตเตอรี่ขั้วลบเข้ากับแบตเตอรี่
กดปุ่มม้วนสายยาง คอยจับสายยางอย่างระมัดระวังเพื่อกำหนดทิศทางให้สายยางม้วนสม่ำเสมอกัน
ขณะม้วนสายยาง มือ เสื้อผ้าหลวม ผมยาว และเครื่องประดับอาจเข้าไปติดในสายยางและม้วนสายยาง และทำให้เกิดการบาดเจ็บขึ้นได้
เก็บมือให้ห่างจากม้วนสายยางและสายยางขณะม้วนสายยาง
อย่าสวมเสื้อผ้าหลวมหรือเครื่องประดับ และมัดเก็บผมให้เรียบร้อย
ของเหลวที่มีแรงดันอาจทำให้เกิดแผลบนผิวหนังและการบาดเจ็บได้
ดูแลให้มือและร่างกายออกห่างจากหัวฉีดที่ฉีดของเหลวแรงดันสูง
อย่าเล็งเครื่องฉีดพ่นไปยังคนหรือสัตว์
ตรวจสอบให้แน่ใจว่าสายจ่ายของเหลวและท่อระบบมีสภาพดี และข้อต่อและการเชื่อมต่อทั้งหมดแน่นหนาก่อนจ่ายแรงดันเข้าไปในระบบ
ใช้กระดาษลังหรือกระดาษหาจุดรั่วไหล
ระบายแรงดันทั้งหมดในระบบอย่างปลอดภัยก่อนจะทำงานใดๆ กับระบบ
ไปพบแพทย์ทันทีหากโดนของเหลวฉีดใส่ผิวหนัง
ของเหลวที่มีอุณหภูมิสูงและสารเคมีอาจทำให้ผิวไหม้และเกิดอันตรายอื่นๆ ได้
Important: คุณต้องระบายและล้างทำความสะอาดเครื่องฉีดพ่นสารทันทีหลังใช้งานแต่ละครั้ง หากไม่ปฏิบัติตามคำแนะนำอาจทำให้สารเคมีแห้งหรือจับตัวเป็นก้อนภายในท่อระบบ ส่งผลให้ปั๊มและส่วนประกอบอื่นๆ เกิดการอุดตัน
ทำความสะอาดระบบฉีดพ่นหลังการฉีดพ่นสารแต่ละครั้ง ทำความสะอาดระบบฉีดพ่นอย่างเหมาะสมตามขั้นตอนต่อไปนี้
ล้าง 3 ครั้ง
แต่ละครั้งควรใช้น้ำ 50 แกลลอนเป็นอย่างน้อย
ใช้สารทำความสะอาดและสารทำให้เป็นกลางตามคำแนะนำของผู้ผลิตสารเคมี
ในการล้างครั้งสุดท้าย ให้ใช้น้ำสะอาด (ไม่ผสมสารทำความสะอาดหรือสารทำให้เป็นกลาง)
จอดอุปกรณ์ ปิดการทำงานของแขนบูม และเข้าเบรกจอด
การขับอุปกรณ์ระหว่างใช้งานเครื่องฉีดพ่นด้วยมืออาจทำให้สูญเสียการควบคุม ส่งผลให้ได้รับบาดเจ็บหรือเสียชีวิตได้ อย่าใช้งานเครื่องฉีดพ่นด้วยมือขณะอุปกรณ์
ตรวจสอบว่าระบบล็อกไกบนปืนฉีดพ่นด้านหลังอุปกรณ์นั้นล็อกอยู่
บิดปีกหมุนสีเขียวบนวาล์วควบคุม 90°
เปิดปั๊มขณะอยู่ในตำแหน่งทำงาน
บิดสวิตช์แขนบูมหลักไปที่ตำแหน่ง เปิด
ปรับความเร็วของเครื่องยนต์ให้ได้ตามต้องการ จากนั้นเปิดใช้งานตัวล็อกความเร็วเครื่องยนต์ในตำแหน่งเกียร์ว่าง
Important: อย่าตั้งค่าแรงดันสูงกว่า 1034 กิโลปาสคาล (150 ปอนด์ต่อตร.นิ้ว) เมื่อใช้เครื่องฉีดพ่นด้วยมือ
ดึงสายยางออกมาจนได้ความยาวที่ต้องการ
Important: อย่าดึงสายยางโดยจับที่ปืนฉีดพ่น ให้จับตรงสายยางและดึงออกมา การดึงสายยางโดยจับที่ปืนฉีดพ่นอาจทำให้ข้อต่อบนปืนหักหรือสายยางชำรุด
ปลดระบบล็อกไก
เล็งหัวฉีดของปืนฉีดพ่นไปยังบริเวณที่ต้องการ แล้วค่อยเหนี่ยวไกปืน
หลังจากฉีดพ่นเสร็จแล้ว ให้ปล่อยไกและล็อกไว้
กดปุ่มม้วนเก็บสายยางจนกระทั่งเหลือสายยางเพียงไม่กี่ฟุต
Note: ปุ่มม้วนสายยางจะใช้ได้ก็ต่อเมื่อกุญแจผู้ดูแลที่อยู่บนคอนโซลเครื่องฉีดพ่นอยู่ในตำแหน่งปลดล็อกเท่านั้น
ขณะม้วนสายยาง มือ เสื้อผ้าหลวม ผมยาว และเครื่องประดับอาจเข้าไปติดในสายยางและม้วนสายยาง และทำให้เกิดการบาดเจ็บขึ้นได้
เก็บมือให้ห่างจากม้วนสายยางและสายยางขณะม้วนสายยาง
อย่าสวมเสื้อผ้าหลวมหรือเครื่องประดับ และมัดเก็บผมให้เรียบร้อย
บิดปีกหมุนสีเขียวบนวาล์วควบคุม 90°
เล็งหัวฉีดของปืนฉีดพ่นไปยังบริเวณที่จะฉีดพ่นได้อย่างปลอดภัย ปลดล็อกไกปืน และเหนี่ยวไกปืนจนกระทั่งของเหลวตกค้างออกมาจากสายยางจนหมด จากนั้นล็อกไกปืนเอาไว้
เก็บปืนฉีดพ่นไว้ในที่วางด้านหลังของม้วนสายไฟ
ปรับความเร็วเครื่องยนต์เป็นเดินรอบเบา
ปิดปั๊ม
Important: ล้างปืนฉีดพ่นด้วยน้ำสะอาดตามขั้นตอนการล้างประจำวัน (โปรดดูคู่มือผู้ใช้ของเครื่องฉีดพ่น) การไม่ล้างทำความสะอาดปืนฉีดพ่นอย่างเหมาะสมอาจทำให้ชุดอุปกรณ์ม้วนสายยางและปืนฉีดพ่นมีประสิทธิภาพการทำงานและความน่าเชื่อถือลงลง
ใช้สวิตช์ปรับอัตราเพื่อปรับแรงดันตามหน่วยกิโลปาสคาล (ปอนด์ต่อตร. นิ้ว) ตามต้องการ