Crumber Kit

Trenchers

Safety

 
CALIFORNIA
 
Proposition 65
 
Use of this product may cause exposure to chemicals known to the State of California to cause cancer, birth defects, or other reproductive harm.
 
Warning
The crumber slides in its frame and can severely injure or amputate your fingers.
Keep your hands away from moving parts and wear leather gloves when handling the crumber.
 
Warning
Contact with moving parts can result in personal injury.
  • Keep your fingers, hands, and clothing away from moving parts.
  • Never attempt to manipulate the attachment while the engine is running.
 

Safety and Instructional Decals

Image
Safety decals and instructions are easily visible to the operator and are located near any area of potential danger. Replace any decal that is damaged or missing.
Decal Part: 115-1497
Graphic
s_decal115-1497
  1.  Crushing hazard of hands; crushing hazard of feetkeep bystanders away; stay away from moving parts.
Decal Part: 133-8061
Graphic
s_decal133-8061

Installation

Installing the Crumber

  1. Park the machine on a level surface, engage the parking brake, and lower the boom.
  2. Shut off the engine and remove the key.
  3. If installed, remove the safety-bar extension from the safety-rail assembly.
    Safety-bar extension for 91 cm (3 ft) boom shown.
    Graphic
    G569916s
    1.  Bolt1/2 x 3 inches (2)
    2.  Nut1/2 inch (2)
    3.  Safety-bar extension
  4. If needed, install the crumber-extension bar (supplied with the boom) over the end of the safety-rail assembly and secure it using the 2 bolts and locknuts.
    Note: Some boom and chain configurations need an extension for the safety-rail assembly to ensure that the crumber does not contact the chain or digging teeth. Refer to your Authorized Service Dealer for more information.
    Crumber-extension bar for 91 cm (3 ft) boom shown.
    Graphic
    G244620s
    1.  Bolt1/2 x 3 inches (2)
    2.  Nut1/2 inch (2)
    3.  Crumber-extension bar
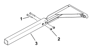
  5. Install the crumber over the safety-rail assembly or crumber-extension bar and secure it using 2 bolts and locknuts.
    Graphic
    G572859
    1.  Crumber
    2.  Bolt
    3.  Trencher safety-rail assembly
    4.  Locknut

Operation

Transporting the Crumber

Before transporting the trencher with the crumber attached, complete the following procedure:
  1. Park the machine on a level surface, engage the parking brake, and lower the boom.
  2. Shut off the engine and remove the key.
  3. Remove the lynch pin and clevis pin stored in the crumber bar.
    Graphic
    G572858
    1.  Clevis pin
    2.  Crumber slide
    3.  Lynch pin
    4.  Store the clevis and lynch pin here when not in use.
  4. Slide the crumber back as far as possible.
  5. Install the clevis pin through the crumber slide and bar, securing it with the lynch pin.

Changing the Scraper

The scraper installed on the crumber must correspond to the width of the trencher chain.
  1. Remove the 2 bolts and 2 nuts securing the scraper, then install the new scraper in its place.
    Note: The scrapers are slightly narrower than the chains with which they should be paired. For example, the 15.2 cm (6 inch) scraper is actually 14.0 cm (5-1/2 inches) wide but is intended to be used with the 15.2 cm (6 inch) trencher chain.
    Graphic
    G382820s
    1.  Locknut
    2.  Crumber slide
    3.  Scraper
    4.  Bolt