การบำรุงรักษา
กำหนดการบำรุงรักษาที่แนะนำ
| ระยะการซ่อมบำรุง | ขั้นตอนการบำรุงรักษา |
|---|---|
| หลังจาก 10 ชั่วโมงแรก |
|
| ก่อนการใช้งานแต่ละครั้งหรือทุกวัน |
|
| ทุกปี |
|
การตรวจสอบแรงดันลมยาง
| ระยะการซ่อมบำรุง | ขั้นตอนการบำรุงรักษา |
|---|---|
| ก่อนการใช้งานแต่ละครั้งหรือทุกวัน |
|
ข้อมูลจำเพาะแรงดันลมยาง: 34 กิโลปาสกาล (5 ปอนด์ต่อตร.นิ้ว)
ตรวจสอบแรงดันลมในล้อ (รูป 32) เพิ่มหรือลดแรงดันลมตามความจำเป็นเพื่อปรับแรงดันลมในยางให้ตรงตามค่าที่ระบุไว้ในข้อกำหนดแรงดันลมยาง

การตรวจสอบความหลวมของแบริ่งล้อ
| ระยะการซ่อมบำรุง | ขั้นตอนการบำรุงรักษา |
|---|---|
| ทุกปี |
|
-
ขนย้ายอุปกรณ์ที่อยู่บนรถลากพ่วงลงมา
-
ใช้แม่แรงยกรถลากพ่วงขึ้นและวางขาตั้งแม่แรงไว้ใต้รถลากพ่วง
-
ตรวจสอบว่าแต่ละล้อหลวมเกินไปหรือไม่ (กล่าวคือล้อและดุมล้อสามารถขยับได้อย่างอิสระ)
หากตรวจพบว่าล้อหลวมเกินไป โปรดติดต่อตัวแทนจำหน่าย Toro ที่ได้รับอนุญาต
การหล่อลื่นสายโซ่
| ระยะการซ่อมบำรุง | ขั้นตอนการบำรุงรักษา |
|---|---|
| ทุกปี |
|
หยอดจาระบีอเนกประสงค์ลงบนสายโซ่แต่ละเส้น
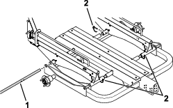
การตรวจสอบแรงบิดของตัวยึดโครงรองรับลูกกลิ้ง
| ระยะการซ่อมบำรุง | ขั้นตอนการบำรุงรักษา |
|---|---|
| ทุกปี |
|
ขันตัวยึดโครงรองรับลูกกลิ้ง (รูป 33) จนได้แรงบิด 79 นิวตันเมตร (700 นิ้วปอนด์)

การตรวจสอบแรงบิดของน็อตล็อกล้อ
| ระยะการซ่อมบำรุง | ขั้นตอนการบำรุงรักษา |
|---|---|
| หลังจาก 10 ชั่วโมงแรก |
|
ข้อมูลจำเพาะเกี่ยวกับแรงบิด: 108 นิวตันเมตร (80ฟุตปอนด์)
ตรวจสอบแรงบิดของน็อตล้อทุกครั้งที่ติดตั้งล้อและหลังจากใช้งานครบ 10 ชั่วโมงแรก
ขันน็อตล้อตามรูปแบบดังแสดงใน รูป 34 จนได้แรงบิดตามที่ระบุ
คำเตือน
หากไม่ใช้แรงบิดที่เหมาะสมอาจทำให้ล้อหมุนผิดปกติหรือหลุดออก และส่งผลให้ได้รับบาดเจ็บได้
ขันน็อตล้อจนได้แรงบิดตามที่ระบุ

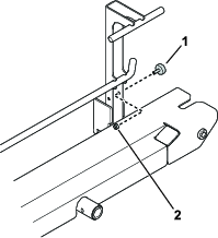
การตรวจสอบระยะหยุด
| ระยะการซ่อมบำรุง | ขั้นตอนการบำรุงรักษา |
|---|---|
| ทุกปี |
|
หลังจากที่ทางลาดล็อกอยู่ในตำแหน่งยกขึ้นแล้ว ให้วัดระยะห่างระหว่างจุดหยุดกับด้านล่างของราง
ระยะห่างควรอยู่ที่ 2.5 มม. (0.1 นิ้ว) ดังแสดงใน รูป 35 หากวัดได้แตกต่างจากนี้ ให้ปรับเกลียวเร่งและน็อตสวมทับจนกระทั่งได้ระยะห่างที่เหมาะสม



































