Vzdrževanje
Opora za rezalno enoto
Če je treba rezalno enoto nagniti, da se pokaže spodnji nož/vreteno, podstavite stojalo (ki je priloženo vlečni enoti) pod zadnji del rezalne enote, da tako zagotovite, da se matice na zadnji strani vijakov za prilagoditev spodnje prečke ne naslanjajo na delovno površino (Diagram 21).

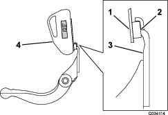
Mazanje enot za košnjo
Vsaka enota za košnjo ima 5 mazalk (Diagram 22), ki jih je treba redno mazati z litijevo mastjo št. 2.
Na sprednjem in na zadnjem valju sta dve mazalni mesti, na utoru motorja vretena pa eno.
Note: Če enote za košnjo namažete takoj po pranju, se bo iz ležajev tako odstranila voda, s čimer se podaljša življenjska doba ležajev.
-
Vsako mazalko obrišite s čisto krpo.
-
Mazivo nanašajte, dokler iz tesnil valja in varnostnega ventila ležajev ne začne teči čisto mazivo.
-
Obrišite odvečno mazivo.

Specifikacije za spodnji nož
Servisiranje spodnjega noža
Odstranitev sklopa spodnje prečke/spodnjega noža
-
Zavrtite vijake za prilagoditev spodnje prečke v nasprotni smeri urinega kazalca, da se spodnji nož umakne od vretena (Diagram 23).

-
Odvijajte matico za nastavljanje napetosti vzmeti, dokler podložka ni več tesno pritisnjena ob spodnjo prečko (Diagram 23).
-
Na vsaki strani stroja zrahljajte varovalno matico, s katero je privit vijak spodnje prečke (Diagram 24).

-
Odstranite vsak vijak nosilca spodnjega noža tako, da lahko nosilec spodnjega noža potegnete navzdol in ga odstranite z rezalne enote (Diagram 24).
Poskrbite, da bo na vsakem koncu spodnje prečke dovolj prostora za 2 podložki iz najlona in 1 podložko iz izsekanega jekla (Diagram 25).

-
Odstranite spodnji nož s spodnje prečke tako, da odstranite vse vijake, ki ga držijo na mestu. Uporabite nasadni ključ z orodjem za vijake spodnjega noža (št. dela TOR510880).
Note: Za odvijanje vijakov spodnjega noža lahko uporabite mehanski ali pnevmatski udarni ključ.
Note: Spodnji nož in vijake zavrzite.
Namestitev novega spodnjega noža
-
Izberite nov spodnji nož v skladu z Tabele za nastavitev višine košnje in izbiro spodnjega noža.
-
Odstranite rjo, vodni kamen in korozijo s površine spodnje prečke in nanjo nanesite tanek sloj olja.
Important: Ne odstranjujte ulitega materiala s spodnje prečke. Spodnja prečka je na sredini konkavna; ne brusite je.
-
Očistite navoje na spodnji prečki.
-
Na nove vijake noža kosilnice nanesite sredstvo za zatesnitev in namestite spodnji nož na spodnjo prečko.
Important: Uporabljajte samo nove vijake za spodnji nož.
Note: Število vijakov se razlikuje glede na spodnjo prečko.

-
Zategnite 2 zunanja vijaka z zateznim momentom 1 N·m.
-
Začnite od sredine spodnje prečke in privijte vijake z navorom 29,8 +/-1 N∙m.
Important: Vijakov spodnjega noža ne zategujte z mehanskim ali pnevmatskim udarnim ključem.

-
Zbrusite novi spodnji nož; glejte Tabela servisiranja spodnjega noža.
Tabela servisiranja spodnjega noža
Delovne mejne vrednosti spodnjega noža so navedene v naslednji tabeli.
Important: Če rezalno enoto uporabljate tudi po tem, ko je delovna mejna vrednost spodnjega noža presežena, lahko pride do neustreznega videza po košnji in manjše strukturne celovitosti spodnjega noža pri udarcih.
| Tabela servisiranja spodnjega noža | ||||
| Spodnji nož | Del | Višina roba spodnjega noža | Delovna mejna vrednost* | Koti brušenja |
| Zgornji/sprednji koti | ||||
| Tournament (izbirno) | 147-1257 | 4,3 mm | 3,4 mm | 5/5° |
| EdgeMax® nizka višina košnje (model 03641) | 137-6093 | 5,6 mm | 4,8 mm | 10°/5° |
| Nizka višina košnje (model 03643) | 147-1244 | 5,6 mm | 4,8 mm | 10°/5° |
| EdgeMax® podaljšana nizka višina košnje (izbirno) | 119-4280 | 5,6 mm | 4,8 mm | 10°/10° |
| Podaljšana nizka višina košnje (izbirno) | 147-1243 | 5,6 mm | 4,8 mm | 10°/10° |
| EdgeMax® | 137-6094 | 6,9 mm | 4,8 mm | 10°/5° |
| (Modela 03638 in 03639) | ||||
| Standardni (izbirno) | 147-1245 | 6,9 mm | 4,8 mm | 10°/5° |
| Zmogljiv (izbirno) | 147-1246 | 9,3 mm | 4,8 mm | 10°/5° |
Priporočeni zgornji in sprednji koti brušenja spodnjega noža (Diagram 28)

Note: Vse delovne mejne vrednosti spodnjega noža veljajo za spodnji del spodnjega noža (Diagram 29).

Preverjanje zgornjega kota brušenja
Kot, pod katerim brusite svoje spodnje nože, je zelo pomemben.
S kazalnikom kota (št. dela Toro 131-6828) in nosilcem kazalnika kota (št. dela Toro 131-6829) preverite kot, pod katerim deluje vaš brusilnik, in ga po potrebi popravite, če brusilnik ni natančen.
-
Kazalnik kota namestite na spodnjo stran spodnjega noža, kot je prikazano na sliki Diagram 30.

-
Pritisnite gumb Alt Zero na kazalniku kota.
-
Namestite nosilec kazalnika kota na rob spodnjega noža tako, da se rob magneta dotika robu spodnjega noža (Diagram 31).
Note: Digitalni zaslon naj bi bil med tem korakom viden z iste strani, kot je bil viden tudi med korakom 1.

-
Kazalnik kota namestite na nosilec, kot je prikazano na sliki Diagram 31.
Note: To je kot, pod katerim deluje vaš brusilnik in ki mora biti v razponu 2° od priporočenega zgornjega kota brušenja.
Namestitev sklopa spodnje prečke/spodnjega noža
-
Namestite sklop spodnje prečke/spodnjega noža in namestite montažna ušesa med podložko in vijak za nastavitev droga.
Important: Dvotočkovne nastavitvene regulatorje (DPA) postavite na sredino med ušesca spodnje prečke, kot prikazuje Diagram 32.Če so dvotočkovni nastavitveni regulatorji (DPA) nameščeni ob ušesca spodnje prečke, to lahko negativno vpliva na stik med spodnjim nožem in vretenom.

-
Pritrdite nosilec spodnjega noža na vsako stransko ploščo z vijaki nosilca spodnjega noža (matice na vijakih) in 3 podložkami (skupaj 6).
-
Namestite podložko iz najlona na vsako stran vodila stranske plošče. Namestite jekleno podložko na zunanjo stran vsake od podložk iz najlona (Diagram 25).
-
Zategnite vijake spodnje prečke z zateznim momentom od 37 do 45 N·m.
-
Počasi zategnite varovalne matice spodnje prečke, dokler se zunanje jeklene podložke ne vrtijo samo z roko.
Important: Matic ne zategnite premočno, saj se bodo stranske plošče odklonile.
Note: Najlonska podložka med nosilcem spodnjega noža in stransko ploščo bo imela majhno vrzel.
-
Zategnite matico za nastavljanje napetosti vzmeti, dokler se vzmet ne bo povsem stisnila, nato pa odvijte za ½ obrata (Diagram 33).

Specifikacije vretena
Varnostno brušenje vretena
Širina vretena, ki pride pri košnji v stik s travo, sega od 1,3 do 1,5 mm, predvideva pa se varnostno brušenje pod kotom 30°.
Ko je del vretena, ki pride v stik s travo, širši od 3 mm, izvedite naslednje:
-
Opravite varnostno brušenje pod kotom 30° na vseh rezilih vretena, dokler ni del vretena, ki pride v stik s travo, spet širok 1,3 mm (Diagram 34 in Diagram 35).


-
Med vrtenjem brusite vreteno za < 0,025 mm.
Note: Tako se bo širina vretena, ki pride v stik s travo, nekoliko povečala.
Note: Da bi rob vretena in spodnji nož dlje časa ostala ostra, po brušenju vretena in/ali spodnjega noža ponovno preverite stik med vretenom in nožem, še prej pa pokosite 2 čistini, saj se bodo tako odstranili morebitni zarobki, zaradi katerih bi bila lahko razdalja med vretenom in spodnjim nožem neprimerna in bi se tako pospešila obraba.
-
Z merilnim trakom izmerite zunanji premer vretena na obeh koncih (Diagram 36); razlika v zunanjem premeru med koncema mora biti manjša od 0,250 mm. Če je razlika večja, jo odpravite z brušenjem.
Note: Merilni trak za merjenje zunanjega premera lahko kupite pri pooblaščenem distributerju za izdelke Toro.

Servisiranje dvotočkovnih nastavitvenih regulatorjev HD
-
Odstranite vse dele (glejte Navodila za namestitev za komplet dvotočkovnih nastavitvenih regulatorjev HD in Diagram 37).
-
Na notranji del območja za pušo na osrednjem ogrodju rezalne enote (Diagram 37) nanesite sredstvo proti sprijemanju.
-
Poravnajte vtiče na pušah prirobnice z odprtinami v ogrodju in namestite puše (Diagram 37).
-
Namestite valovito podložko na gred regulatorja in podrsajte gred regulatorja v puše prirobnice na ogrodju rezalne enote (Diagram 37).
-
Pritrdite gred regulatorja s plosko podložko in varovalno matico (Diagram 37).
-
Varovalno matico zategnite z zateznim momentom od 20 do 27 N·m.
Note: Gred regulatorja spodnje prečke ima leve navoje.

-
Na navoje vijaka regulatorja spodnje prečke, ki se vstavijo v gred regulatorja, nanesite sredstvo proti sprijemanju.
-
Privijte vijak regulatorja spodnje prečke v gred regulatorja.
-
Narahlo namestite strjeno podložko, vzmet in matico za nastavljanje napetosti vzmeti na vijak za prilagoditev.
-
Namestite spodnjo prečko in poskrbite, da bodo očesca za namestitev med podložko in regulatorjem spodnje prečke.
-
Privijte spodnjo prečko na vsako stransko ploščo z vijaki spodnje prečke (z maticami na vijakih) in 6 podložkami.
Note: Namestite podložko iz najlona na vsako stran vodila stranske plošče.
-
Namestite jekleno podložko na zunanjo stran vsake od podložk iz najlona (Diagram 37).
-
Zategnite vijake spodnje prečke z zateznim momentom od 37 do 45 N·m.
-
Zategnite varovalne matice, dokler se zunanja jeklena podložka ne preneha vrteti in na obeh koncih ne bo več vrzeli, vendar jih ne zategnite preveč in ne deformirajte stranskih plošč.
Note: Podložke na notranji strani imajo lahko vrzel (Diagram 37).
-
Privijte matico na vsakem sklopu regulatorja spodnje prečke, dokler ne bo tlačna vzmet v celoti stisnjena, nato pa zrahljajte matico za ½ obrata (Diagram 37).
-
Postopek ponovite na drugi strani rezalne enote.
-
Nastavite spodnji nož glede na vreteno; glejte Nastavitev spodnjega noža glede na vreteno.
Servisiranje valja
Za servisiranje valja sta na voljo komplet za obnovo valja Roller Rebuild Kit (št. dela 114-5430) in komplet orodij za obnovo valja Roller Rebuild Tool Kit (št. dela 115-0803) (Diagram 38). Komplet za obnovo valja Roller Rebuild Kit vključuje vse ležaje, ležajne matice, notranja tesnila in zunanja tesnila za obnovo valja. Komplet orodij za obnovo valja Roller Rebuild Tool Kit vključuje vsa orodja in navodila za namestitev, ki so potrebna za obnovo valja s kompletom za obnovo valja. Za pomoč glejte katalog delov ali se obrnite na pooblaščenega distributerja za izdelke Toro.



, ki lahko pomeni: svarilo, opozorilo ali nevarnost – navodilo
za osebno varnost. Neupoštevanje teh navodil lahko privede
do telesnih poškodb ali smrti.
















