Održavanje
Podupiranje jedinice za rezanje
Kad god trebate okrenuti jedinicu za rezanje kako biste mogli prići nožu ležišta/cilindru, poduprite stražnji dio jedinice za rezanje upotrebom potpornja (isporučuje se s vučnom jedinicom) kako matice na stražnjem dijelu vijaka za podešavanje šipke ležišta ne bi bile odložene na radnoj površini (Slika 21).

Podmazivanje jedinica za rezanje
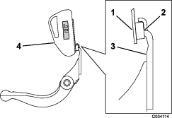
Svaka jedinica za rezanje ima 5 priključaka za podmazivanje (Slika 22) koji se moraju redovito podmazivati upotrebom litijske masti, tip 2.
Dva mjesta za podmazivanje nalaze se na prednjem valjku, stražnjem valjku, a 1 na žlijebu motora cilindra.
Note: Podmazivanjem jedinica za rezanje odmah nakon pranja olakšava se izbacivanje vode iz ležajeva i produljuje vijek trajanja ležajeva.
-
Čistom krpom obrišite svaki priključak za podmazivanje.
-
Nanesite mazivo sve dok iz brtvi valjka i sigurnosnog ventila ležaja ne krene izlaziti čisto mazivo.
-
Obrišite višak maziva.

Specifikacije noža ležišta
Servisiranje noža ležišta
Uklanjanje sklopa nosača noža ležišta / noža ležišta
-
Okrenite vijke za podešavanje nosača noža ležišta u smjeru suprotnom od kazaljki na satu kako biste nosač odmaknuli od cilindra (Slika 23).

-
Izvucite maticu za zatezanje opruge sve dok podloška više nije napeta uz nosač noža ležišta (Slika 23).
-
Na svakoj strani uređaja otpustite sigurnosnu maticu koja pričvršćuje vijak nosača noža ležišta (Slika 24).

-
Uklonite vijke nosača noža ležišta kako biste nosač noža ležišta mogli povući prema dolje i ukloniti ga iz jedinice za rezanje (Slika 24).
Izdvojite 2 najlonske i 1 podlošku od prešanog čelika na svakoj strani nosača noža ležišta (Slika 25).

-
Uklonite nož ležišta s nosača noža ležišta tako da izvadite sve vijke kojim je pričvršćen. Upotrijebite nasadni ključ s alatom za vijke noža ležišta (dio br. TOR510880).
Note: Za otpuštanje vijaka noža ležišta možete upotrijebiti mehanički ili pneumatski udarni ključ.
Note: Nož ležišta i vijke bacite.
Postavljanje novog noža ležišta
-
Odaberite novi nož ležišta prema Tablice visine košnje i odabira noža ležišta.
-
Uklonite hrđu, strugotine i koroziju s površine nosača noža ležišta i nanesite tanak sloj ulja na površinu nosača noža ležišta.
Important: Ne uklanjajte lijevani materijal s nosača noža ležišta. Nosač noža ležišta konkavan je u sredini; nemojte ga brusiti.
-
Očistite navoje na nosaču noža ležišta.
-
Nanesite sredstvo protiv zaribavanja na vijke novog noža ležišta i postavite nož ležišta na nosač noža ležišta.
Important: Upotrijebite samo vijke novog noža ležišta.
Note: Broj vijaka ovisi o nosaču noža ležišta.

-
Pritegnite 2 vanjska vijka na 1 Nm.
-
Počevši od središta noža ležišta, pritegnite vijke na 29,8 +/- 1 N.
Important: Ne pritežite vijke noža ležišta s pomoću mehaničkog ili pneumatskog udarnog ključa.

-
Izbrusite novi nož ležišta; pogledajte Tablica za servis noža ležišta.
Tablica za servis noža ležišta
Ograničenja za servis noža ležišta navedena su u tablici u nastavku.
Important: Upotreba jedinice za rezanje čija je visina ruba noža ležišta manja od ograničenja za servis može negativno utjecati na izgled travnjaka i smanjiti strukturnu otpornost noža ležišta na udarce.
| Tablica za servis noža ležišta | ||||
| Nož ležišta | Dio | Visina ruba noža ležišta | Ograničenje za servis* | Kutovi brušenja |
| Gornji/prednji kut | ||||
| Tournament (opcionalno) | 147-1257 | 4,3 mm | 3,4 mm | 5/5° |
| EdgeMax® Niska visina košnje (Model 03641) | 137-6093 | 5,6 mm | 4,8 mm | 10°/5° |
| Niska visina košnje (Model 03643) | 147-1244 | 5,6 mm | 4,8 mm | 10°/5° |
| Proširena EdgeMax® niska visina košnje (opcionalno) | 119-4280 | 5,6 mm | 4,8 mm | 10°/10° |
| Proširena niska visina košnje (opcionalno) | 147-1243 | 5,6 mm | 4,8 mm | 10°/10° |
| EdgeMax® | 137-6094 | 6,9 mm | 4,8 mm | 10°/5° |
| (Modeli 03638 i 03639) | ||||
| Standardan (opcionalno) | 147-1245 | 6,9 mm | 4,8 mm | 10°/5° |
| Teški radni uvjeti (opcionalno) | 147-1246 | 9,3 mm | 4,8 mm | 10°/5° |
Preporučeni gornji i prednji kutovi brušenja noža ležišta (Slika 28)

Note: Sva mjerenja ograničenja za servis noža ležišta odnose se na donji dio noža ležišta (Slika 29)

Provjera gornjeg kuta brušenja noža ležišta
Kut koji primjenjujete pri brušenju noževa ležišta vrlo je važan.
Upotrijebite indikator nagiba (Toro dio br. 131-6828) i nosač indikatora nagiba (Toro dio br. 131-6829) da biste provjerili kut brušenja, a zatim ispravite kut ako je brušenje neprecizno.
-
Postavite indikator nagiba na donju stranu noža ležišta kako prikazuje Slika 30.

-
Pritisnite gumb Alt Zero (Nulta točka) na indikatoru nagiba.
-
Postavite nosač indikatora nagiba na rub noža ležišta tako da je rub magneta priljubljen uz rub noža ležišta (Slika 31).
Note: Digitalni zaslon trebao bi biti vidljiv na istoj strani u tom koraku kao i u koraku 1.

-
Postavite indikator nagiba na nosač kako prikazuje Slika 31.
Note: To je kut koji dobivate brušenjem, a mora biti unutar 2° preporučenog gornjeg kuta brušenja noža ležišta.
Postavljanje sklopa nosača noža ležišta / noža ležišta
-
Postavite sklop nosača noža ležišta / noža ležišta postavljanjem krilca za montažu između podloške i vijka za podešavanje nosača noža ležišta.
Important: Postavite DPA podešivače centralno između krilca nosača noža ležišta kako prikazuje Slika 32.Ako se DPA podešivače postavi uz krilca nosača noža ležišta, to može negativno utjecati na dodirne točke noža ležišta i cilindra.

-
Pričvrstite nosač noža ležišta na svaku bočnu ploču pomoću vijaka nosača noža ležišta (matice na vijcima) i 3 podloške (ukupno 6).
-
Postavite najlonsku podlošku na svaku stranu izdignute površine na bočnoj ploči. Postavite čeličnu podlošku s vanjske strane svake najlonske podloške (Slika 25).
-
Pritegnite vijke nosača noža ležišta na 37 do 45 N·m.
-
Polako pritežite sigurnosne matice nosača noža ležišta sve dok se vanjske čelične podloške ne budu mogle okretati rukom.
Important: Nemojte prejako zategnuti sigurnosne matice jer će doći do savijanja bočnih ploča.
Note: Najlonska podloška između nosača noža ležišta i bočne ploče imat će mali razmak.
-
Pritegnite maticu za pritezanje opruge sve dok opruga nije u potpunosti skupljena, a zatim vratite za ½ okreta (Slika 33).

Specifikacije cilindra
Natražno brušenje cilindra
Novi cilindar ima širinu oboda od 1,3 do 1,5 mm i kut brušenja od 30°.
Kad širina oboda postane veća od 3 mm, učinite sljedeće:
-
Brusite sve oštrice cilindra pri kutu od 30° sve dok širina oboda ne dosegne 1,3 mm (Slika 34 i Slika 35).


-
Izvršite rotacijsko brušenje cilindra da biste postigli istrošenost cilindra <0,025 mm.
Note: Pritom dolazi do blagog povećanja oboda.
Note: Da bi rub cilindra i nož ležišta bili što dulje oštri, kad dovršite brušenje cilindra i/ili noža ležišta, ponovno provjerite dodirnu točku cilindra i noža ležišta nakon košnje 2 fairwaya jer će se pritom otkloniti eventualni grubi rubovi, što može rezultirati neispravnim razmakom između cilindra i noža ležišta te ubrzati trošenje.
-
S pomoću trake za mjerenje promjera izmjerite vanjski promjer cilindra na oba kraja (Slika 36); razlika u vanjskom promjeru krajeva trebala bi biti manja od 0,250 mm. Ako je razlika veća, brusite dok ne postignete odgovarajuću razliku.
Note: Traku za mjerenje vanjskog promjera možete kupiti kod ovlaštenog distributera tvrtke Toro.

Servisiranje podešivača u dvije točke (DPA) za teške radne uvjete
-
Uklonite sve dijelove (pogledajte Upute za postavljanje kompleta podešivača u dvije točke za teške radne uvjete i Slika 37).
-
Nanesite sredstvo protiv zaribavanja na unutarnji dio čahure na središnjem okviru jedinice za rezanje (Slika 37).
-
Poravnajte klinove na prirubnim čahurama s utorima u okviru i postavite čahure (Slika 37).
-
Postavite valovitu podlošku na osovinu podešivača i gurnite osovinu podešivača u prirubne čahure u okviru jedinice za rezanje (Slika 37).
-
Pričvrstite osovinu podešivača upotrebom ravne podloške i sigurnosne matice (Slika 37).
-
Pritegnite sigurnosnu maticu na 20 do 27 N·m.
Note: Osovina podešivača nosača noža ležišta ima lijeve navoje.

-
Nanesite sredstvo protiv zaribavanja na navoje na vijku podešivača nosača noža ležišta koji ulaze u osovinu podešivača.
-
Navijte vijak podešivača nosača noža ležišta u osovinu podešivača.
-
Labavo postavite čvrstu podlošku, oprugu i maticu za zatezanje opruge na vijak podešivača.
-
Postavite nosač noža ležišta tako da su montažni nosači između podloške i vijka za podešavanje nosača.
-
Pričvrstite nosač noža ležišta na svaku bočnu ploču upotrebom vijaka nosača noža ležišta (matice na vijcima) i 6 podloški.
Note: Postavite najlonsku podlošku na svaku stranu izdignute površine na bočnoj ploči.
-
Postavite čeličnu podlošku s vanjske strane svake najlonske podloške (Slika 37).
-
Pritegnite vijke nosača noža ležišta na 37 do 45 N·m.
-
Pritegnite sigurnosne matice sve dok se vanjska čelična podloška ne prestane okretati i ne nestane aksijalni hod, ali nemojte prekomjerno pritegnuti ili saviti bočne ploče.
Note: Između unutarnjih podloški može postojati razmak (Slika 37).
-
Pritegnite maticu na svakom spoju podešivača nosača noža ležišta sve dok kompresijska opruga nije u potpunosti skupljena, a zatim vratite za ½ okreta (Slika 37).
-
Ponovite postupak na drugoj strani jedinice za rezanje.
-
Podesite nož ležišta na cilindar; pogledajte Podešavanje noža ležišta na cilindar.
Servisiranje valjka
Za servisiranje valjka dostupni su komplet za popravak valjka (dio br. 114-5430) i komplet alata za popravak valjka (dio br. 115-0803) (Slika 38). Komplet za popravak valjka sadržava sve ležajeve, matice ležajeva te unutarnje i vanjske brtve potrebne za popravak valjka. Komplet alata za popravak valjka sadržava sve potrebne alate i upute za popravak valjka s pomoću kompleta za popravak. Pogledajte katalog dijelova ili se obratite ovlaštenom distributeru tvrtke Toro za pomoć.



, koji označava Oprez,
Upozorenje ili Opasnost – upute za osobnu sigurnost. Nepridržavanje
uputa može dovesti do tjelesnih ozljeda ili smrti.
















