Vedligeholdelse
Understøttelse af klippeenheden
Når det er nødvendigt at vippe klippeenheden, så bundkniven/knivcylinderen kommer til syne, skal det bageste af klippeenheden understøttes med støttebenet (leveres med traktionsenheden) for at sikre, at møtrikkerne på den bageste del af bundtværstangens justeringsskruer ikke hviler på arbejdsfladen (Figur 21).

Smøring af klippeenhederne
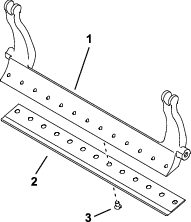
Hver klippeenhed har fem smørenipler (Figur 22), som skal smøres jævnligt med litiumfedt nr. 2.
Der er 2 smørepunkter på frontrullen, bagrullen og 1 på knivcylindermotorens not.
Note: Smøring af klippeenhederne umiddelbart efter vask hjælper med at rense vand ud af lejerne og øger deres holdbarhedstid.
-
Tør hver smørenippel af med en ren klud.
-
Brug smørefedt, indtil rent smørefedt kommer ud af rullens pakninger og lejernes aflastningsventil.
-
Tør overskydende fedt af.

Specifikationer for bundkniven
Serviceeftersyn af bundkniven
Afmontering af bundtværstangs-/bundknivsmodul
-
Drej bundtværstangens justeringsskruer mod uret for at føre bundkniven væk fra knivcylinderen (Figur 23).

-
Før fjederspændingsmøtrikken bagud, indtil spændeskiven ikke længere sidder stramt mod bundtværstangen (Figur 23).
-
Løsn den låsemøtrik, som fastgør bundtværstangens bolt, på hver side af maskinen (Figur 24).

-
Fjern hver af bundtværstangens bolte, så bundtværstangen kan trækkes nedad og fjernes fra klippeenheden (Figur 24).
Der skal være to nylonspændeskiver og en præget stålspændeskive på hver ende af bundtværstangen (Figur 25).

-
Fjern bundkniven fra bundtværstangen ved at fjerne alle skruer, der holder den på plads. Brug en topnøgle med bundknivskrueværktøjet (delnr. TOR510880).
Note: Du kan bruge en mekanisk eller trykluftsslagnøgle til at løsne bundknivsskruerne.
Note: Kassér bundkniven og skruerne.
Montering af den nye bundkniv
-
Vælg en ny bundkniv iht. Skemaer til valg af klippehøjde og bundkniv.
-
Fjern rust, afskallet materiale og korrosion fra bundtværstangens overflade, og påfør et tyndt lag olie på bundtværstangens overflade.
Important: Fjern ikke støbemateriale fra bundtværstangen. Bundtværstangen er udformet konkav i midten; må ikke slibes.
-
Rengør gevindene i bundtværstangen.
-
Påfør anti-seize-middel på de nye bundknivskruer, og monter bundkniven på bundtværstangen.
Important: Brug kun nye bundknivsskruer.
Note: Mængden af skruer varierer afhængigt af bundtværstangen.

-
Tilspænd de 2 udvendige skruer til et moment på 1 Nm.
-
Start fra midten af bundkniven, og tilspænd skruerne til et moment på 29,8 +/- 1 Nm.
Important: Spænd ikke bundknivsskruerne med en mekanisk eller trykluftsslagnøgle.

-
Slib den nye bundkniv; se Oversigt til eftersyn af bundkniv.
Oversigt til eftersyn af bundkniv
Servicegrænserne for bundkniven er anført i følgende oversigter.
Important: Betjening af klippeenheden med bundkniven placeret under ”servicegrænsen” kan resultere i et ringe udseende efterklipning og kan reducere bundknivens modstandsdygtighed over for slag.
| Oversigt til eftersyn af bundkniv | ||||
| Bundkniv | Reservedel | Højde på bundknivens kant | Servicegrænse* | Slibevinkler |
| Øverste/forreste bundkniv | ||||
| Tournament (ekstraudstyr) | 147-1257 | 4,3 mm | 3,4 mm | 5/5° |
| EdgeMax® med lav klippehøjde (model 03641) | 137-6093 | 5,6 mm | 4,8 mm | 10°/5° |
| (0,220") | (0,190") | |||
| Lav klippehøjde (model 03643) | 147-1244 | 5,6 mm | 4,8 mm | 10°/5° |
| (0,220") | (0,190") | |||
| Forlænget EdgeMax® lav klippehøjde (valgfri) | 119-4280 | 5,6 mm | 4,8 mm | 10°/10° |
| (0,220") | (0,190") | |||
| Forlænget lav klippehøjde (valgfri) | 147-1243 | 5,6 mm | 4,8 mm | 10°/10° |
| (0,220") | (0,190") | |||
| EdgeMax® | 137-6094 | 6,9 mm | 4,8 mm | 10°/5° |
| (Model 03638 og 03639) | (0,270") | (0,190") | ||
| Standard (valgfri) | 147-1245 | 6,9 mm | 4,8 mm | 10°/5° |
| (0,270") | (0,190") | |||
| Kraftig (valgfri) | 147-1246 | 9,3 mm | 4,8 mm | 10°/5° |
| (0,370") | (0,190") | |||
Den anbefalede slibevinkel for den øverste og forreste bundkniv er (Figur 28) .

Note: Alle mål af bundknivens servicegrænser henviser til undersiden af bundkniven (Figur 29)

Kontrol af slibevinkel for den øverste bundkniv
Vinklen, som du bruger til at slibe bundknivene med, er meget vigtig.
Brug vinkelindikatoren (Toro delnr. 131-6828) og vinkelindikatorbeslaget (Toro delnr. 131-6829) til at kontrollere og eventuelt rette vinklen.
-
Placer vinkelindikator på undersiden af bundkniven som vist i Figur 30.

-
Tryk på Alt Zero-knappen på vinkelindikatoren.
-
Placer vinkelindikatorbeslaget på kanten af bundkniven, så kanten af magneten er afstemt i forhold til kanten af bundkniven (Figur 31).
Note: Det digitale display skal kunne aflæses fra samme side under dette trin, som i trin 1.

-
Placer vinkelindikatoren på beslaget som vist i Figur 31.
Note: Dette er vinklen, som din slibemaskine producerer, og den bør være inden for 2° af den anbefalede slibevinkel for den øverste bundkniv.
Montering af bundtværstangs-/bundknivmodul
-
Monter bundtværstangs-/bundknivmodulet, idet monteringsørerne placeres mellem spændeskiven og bundtværstangens justeringsskrue.
Important: Centrer DPA-justeringsanordningerne i bundtværstangens ører som vist i Figur 32.Hvis DPA-justeringsanordningerne er monteret mod bundtværstangens ører, kan det have en negativ indvirkning på kontakten mellem bundkniv og knivcylinder.

-
Fastgør bundtværstangen på hver sideplade med bundtværstangens bolte (møtrikker på bolte) og 3 spændeskiver (6 i alt).
-
Placer en nylonspændeskive på hver side af sidepladens nav. Anbring en stålskive på ydersiden af hver nylonskive (Figur 25).
-
Tilspænd bundtværstangens bolte til et moment på 37 til 45 N·m.
-
Spænd langsomt bundtværstangens låsemøtrikker, indtil de ydre stålskiver lige akkurat kan drejes ved håndkraft.
Important: Overspænd ikke låsemøtrikkerne, da du risikerer, at de bøjer sidepladerne.
Note: Nylonskiven mellem bundtværstangen og sidepladen vil have et lille mellemrum.
-
Stram fjederspændingsmøtrikken, indtil fjederen er trykket sammen, og derefter ud igen med en halv omgang (Figur 33).

Specifikationer for knivcylinder
Bagslibning af knivcylinderen
Den nye knivcylinder har en gængebredde på 1,3 til 1,5 mm og en 30 graders bagslibning.
Hvis gængebredden overskrider 3 mm i bredden, skal følgende udføres:
-
Foretag en bagslibning på 30 grader på alle cylinderknive, indtil gængebredden er 1,3 mm (Figur 34 og Figur 35).


-
Vinkelslib knivcylinderne for at opnå <0,025 mm cylinderudløb.
Note: Dette vil udvide gængebredden en smule.
Note: For at forlænge knivcylinderens og bundknivens skarphed – efter slibning af knivcylinderen og/eller bundkniven – skal du kontrollere knivcylinderens kontakt med bundkniven igen efter klipning af to fairways, idet grater fjernes og kan skabe upraktisk afstand mellem knivcylinder og bundkniv med skærpet slid til følge.
-
Mål knivcylinderens udvendige diameter i begge ender ved hjælp af et diametermålebånd (Figur 36). Forskellen mellem de to enders udvendige diameter skal være mindre end 0,250 mm. Hvis forskellen er større, skal der slibes for at korrigere forskellen.
Note: Målebånd til måling af udvendig diameter fås hos en autoriseret Toro-forhandler.

Serviceeftersyn af HD-dobbeltpunktsjusteringsanordninger (DPA)
-
Fjern alle delene (se monteringsvejledningen til HD DPA-sættet og til Figur 37).
-
Påfør anti-seize-middel på indersiden af støbestykket på klippeenhedens midterste ramme (Figur 37).
-
Ret splitterne på flangebøsningerne ind i forhold til rammen og monter bøsningerne (Figur 37).
-
Monter en flad spændeskive på justeringsakslen, og skub justeringsakslen ind i flangebøsningerne i klippeenhedens ramme (Figur 37).
-
Fastgør justeringsakslen med en flad spændeskive og låsemøtrik (Figur 37).
-
Tilspænd låsemøtrikken til et moment på 20 til 27 N·m.
Note: Bundtværstangens justeringsaksel har venstregevind.

-
Påfør anti-seize-middel på gevindene på bundtværstangens justeringsskrue, som passer ind i justeringsakslen.
-
Skru bundtværstangens justeringsskrue ind i justeringsakslen.
-
Sæt den hærdede spændeskive, fjederen og fjederspændingsmøtrikken løst på justeringsskruen.
-
Monter bundtværstangen, idet monteringsørerne placeres mellem spændeskiven og bundtværstangens justeringsanordning.
-
Fastgør bundtværstangen på hver sideplade med boltene (møtrikker på bolte) og 6 skiver.
Note: Placer en nylonspændeskive på hver side af sidepladens nav.
-
Anbring en stålskive på ydersiden af hver nylonskive (Figur 37).
-
Tilspænd bundtværstangens bolte til et moment på 37 til 45 N·m.
-
Tilspænd låsemøtrikkerne, indtil den udvendige stålspændeskive holder op med at dreje, og endeslør er fjernet, uden at overspænde eller bøje sidepladerne.
Note: Indvendige spændeskiver har muligvis et mellemrum (Figur 37).
-
Stram møtrikken på hver bundtværstangs justeringsanordning, indtil trykfjederen er helt nedtrykket, løsn derefter møtrikken med ½ omgang (Figur 37).
-
Gentag proceduren i den anden ende af klippeenheden.
-
Juster bundkniven mod knivcylinderen. Se Justering af bundkniven mod knivcylinderen.
Serviceeftersyn af rullen
Sæt til genmontering af rullen (delnr. 114-5430) og værktøjssæt til genmontering af rullen (delnr. 115-0803) (Figur 38), er tilgængelige til serviceeftersyn af rullen. Sættet til genmontering af rullen indeholder alle lejer, lejemøtrikker, indvendige og udvendige pakninger til genmontering af en rulle. Værktøjssættet til genmontering af rullen indeholder alt det værktøj og alle de installationsvejledninger, der er nødvendige til genmontering af rullen med sættet. Se reservedelskataloget, eller kontakt din autoriserede Toro-forhandler, hvis du har brug for hjælp.



, der betyder Forsigtig,
Advarsel eller Fare – personlig sikkerhedsanvisning, for at
nedsætte risikoen for personskade. Hvis disse forskrifter ikke
følges, kan det medføre personskade eller død.
















