유지보수
커팅 유닛 지지
베드나이프/릴을 드러내기 위해 커팅 유닛을 기울여야 하는 경우 항상 (트랙션 유닛과 함께 제공되는) 킥스탠드로 커팅 유닛 뒤쪽을 받쳐 베드바 조정 나사 후미의 너트가 작업면에 닿지 않게 하십시오(그림 21).

커팅 유닛 윤활
각 커팅 유닛에는 No. 2 리튬계 그리스로 정기적으로 윤활 처리해야 하는 구리스 피팅(그림 22)이 5개 있습니다.
윤활 지점은 전면 롤러와 후방 롤러에 2곳이 있고 릴 모터 스플라인에 1곳이 있습니다.
Note: 커팅 유닛을 세척 후 바로 윤활하면 베어링에서 물기를 제거할 수 있어 베어링 수명을 늘리는 데 도움이 됩니다.
-
깨끗한 헝겊으로 각 구리스 피팅을 닦습니다.
-
깨끗한 그리스가 롤러 씰과 베어링 릴리프 밸브에서 나올 때까지 그리스를 칩니다.
-
과도하게 흘러나온 그리스는 닦아냅니다.

베드나이프 규격
베드나이프 정비
베드바 분리/베드바 어셈블리
-
베드바 조정 나사를 시계 반대 방향으로 돌려 베드나이프를 릴에서 후진시킵니다(그림 23).

-
와셔와 베드바 사이의 장력이 없어질 때까지 스프링 장력 너트를 뒤로 풉니다(그림 23).
-
장비 양쪽에서 베드바 볼트를 고정시키는 록너트를 풉니다(그림 24).

-
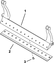
각 베드바 볼트를 분리하여 베드바를 아래쪽으로 당겨 커팅 유닛에서 탈거합니다(그림 24).
베드바 양쪽 끝에 있는 2개의 나일론 와셔와 1개의 스탬핑된 스틸 와셔를 기록해 둡니다(그림 25).

-
고정 위치에 있는 모든 나사를 제거하여 베드바에서 베드나이프를 제거합니다. 베드나이프 나사 공구(부품 번호 TOR510880)와 함께 소켓 렌치를 사용합니다.
Note: 기계식 또는 공압식 충격 렌치를 사용하여 베드나이프 나사를 풀 수 있습니다.
Note: 베드나이프와 나사를 폐기합니다.
새로운 베드나이프 설치
-
예고 및 베드나이프 선택 차트에 따라 새 베드나이프를 선택합니다.
-
베드바 표면에서 녹, 스케일, 부식 등을 제거하고 베드바 표면에 오일을 얇게 한 겹 바릅니다.
Important: 베드바에서 주물 소재를 제거하지 마십시오. 베드바는 중앙이 오목하게 설계되어 있습니다. 연마하지 마십시오.
-
베드바의 스레드를 청소합니다.
-
새 베드나이프 나사에 고착 방지제를 바르고 베드바에 베드나이프를 장착합니다.
Important: 새 베드나이프 나사만 사용하십시오.
Note: 베드바에 따라 나사 개수가 달라질 수 있습니다.

-
바깥쪽 나사 2개를 1 N∙m 토크로 조입니다.
-
베드나이프의 가운데에서부터 작업하면서, 나사를 29.8 +/- 1 N∙m 토크로 조입니다.
Important: 기계식이나 공압식 충격 렌치로 베드바 나사를 조이지 마십시오.

-
새 베드나이프를 연마합니다. 베드나이프 정비 차트을 참조하십시오.
베드나이프 정비 차트
베드나이프 정비 한계값은 다음 표에 나옵니다.
Important: 베드나이프가 이 정비 한계값 이하인 상태로 커팅 유닛을 작동하면 커팅 후 외관이 좋지 않게 되며 베드나이프의 충격에 대한 구조적 튼튼함이 저하될 수 있습니다.
| 베드나이프 정비 차트 | ||||
| 베드나이프 | 부품 | 베드나이프 립 높이 | 정비 한계값 * | 연마 각도 |
| 상단/전방 연마 각도 | ||||
| 토너먼트(옵션) | 147-1257 | 4.3 mm | 3.4 mm | 5/5° |
| EdgeMax® 저예고(모델 03641) | 137-6093 | 5.6 mm | 4.8 mm | 10°/5° |
| (4.8 mm) | ||||
| 저예고(모델 03643) | 147-1244 | 5.6 mm | 4.8 mm | 10°/5° |
| (4.8 mm) | ||||
| Extended EdgeMax® 저예고(선택 사항) | 119-4280 | 5.6 mm | 4.8 mm | 10°/10° |
| (4.8 mm) | ||||
| 연장 저예고(선택 사항) | 147-1243 | 5.6 mm | 4.8 mm | 10°/10° |
| (4.8 mm) | ||||
| EdgeMax® | 137-6094 | 6.9 mm | 4.8 mm | 10°/5° |
| (03638 및 03639 모델) | (4.8 mm) | |||
| 표준(선택 사항) | 147-1245 | 6.9 mm | 4.8 mm | 10°/5° |
| (4.8 mm) | ||||
| 헤비 듀티(선택 사항) | 147-1246 | 9.3 mm | 4.8 mm | 10°/5° |
| (4.8 mm) | ||||
상단 및 전면 베드나이프 권장 연마 각도(그림 28)

Note: 모든 베드나이프 정비 한계 측정값은 베드나이프 하단을 기준으로 함(그림 29)

상단 연마 각도 점검
베드나이프를 연마하는 데 사용하는 각도는 매우 중요합니다.
각도 표시기(Toro 부품 번호 131-6828) 및 각도 표시기 마운트(Toro 부품 번호 131-6829)를 사용하여 연마기에서 만들어지는 각도를 확인한 다음 연마기가 부정확하면 교정하십시오.
베드바/베드바 어셈블리 설치
-
베드바/베드나이프 어셈블리를 설치하고 와셔와 베드바 조정 나사 간에 마운팅 이어를 배치합니다.
Important: 그림 32와 같이 DPA 조절 장치를 베드바 이어의 중앙으로 맞춥니다.DPA 조절 장치가 베드바 이어에 붙여서 설치되면 베드나이프-릴 접촉에 부정적인 영향을 미칠 수 있습니다.

-
베드바 볼트(볼트의 너트)와 3개의 와셔(총 6개)를 사용하여 각 측면 플레이트에 베드바를 고정시킵니다.
-
나일론 와셔를 측면 플레이트 보스 양쪽에 배치합니다. 각 나일론 와셔 바깥쪽에 스틸 와셔를 놓습니다(그림 25).
-
37~45 N∙m 토크로 베드바 볼트를 조입니다.
-
외부 스탈 와셔를 손으로 돌릴 수 있을 정도까지만 베드바 록너트를 천천히 조입니다.
Important: 베드나이프를 릴에 지나치게 조이지 마십시오. 그렇게 하면 측면 플레이트가 굴절됩니다.
Note: 베드바와 슬라이드 플레이트 간의 나일론 와셔에는 작은 간격이 있습니다.
-
스프링이 완전히 압축될 때까지 스프링 장력 너트를 조인 다음 다시 반 바퀴 정도 풉니다(그림 33).

릴 규격
릴 릴리프 연마
새 릴의 랜드 폭은 1.3~1.5 mm이며 릴리프 그라인드 각도는 30°입니다.
랜드 폭이 3 mm 이상이 되면, 다음과 같이 하십시오.
-
랜드 폭이 1.3 mm가 될 때까지 모든 릴 블레이드에 30° 릴리프 그라인드를 적용합니다(그림 34 및 그림 35).


-
릴 런아웃이 0.025 mm 이하가 되도록 릴을 회전 연마합니다.
Note: 이렇게 하면 랜드 폭이 약간 증가합니다.
Note: 릴 및/또는 베드나이프를 그라인딩한 후 릴과 베드나이프의 날카로운 가장자리의 수명을 연장하려면, 2개의 페어웨이를 커팅하고 릴과 베드나이프 접촉부를 다시 확인하십시오. 돌기가 있었다면 제거될 것이며, 그로 인해 부적절한 릴과 베드나이프 간극이 생겨 마모 속도가 더 빨라질 것입니다.
-
직경 측정 테이프를 사용하여, 양쪽 끝의 릴 외경을 측정합니다(그림 36). 단부 사이의 외경 차이가 0.250 mm 이하여야 합니다. 차이가 크면 연마 작업을 수행하여 간격을 수정합니다.
Note: 외경 측정 테이프는 Toro 공식 판매 대리점에서 구할 수 있습니다.

HD 듀얼 포인트 조정 장치(DPA) 정비
-
모든 부품을 뺍니다(HD DPA 키트의 설치 지침 및 그림 37 참조).
-
커팅 유닛 가운데 프레임의 부싱 영역의 안쪽에 고착 방지제를 바릅니다(그림 37).
-
플랜지 부싱의 걸림 장치를 프레임의 슬롯에 일치시킨 다음 부싱을 설치합니다(그림 37).
-
웨이브 와셔를 조정 장치 샤프트에 설치하고 조정 장치 샤프트를 커팅 유닛 프레임의 플랜지 부싱 안쪽으로 밀어 넣습니다(그림 37).
-
조정 장치 샤프트를 플랫 와셔와 록너트로 고정합니다(그림 37).
-
록너트를 20~27 N·m 토크로 조입니다.
Note: 베드바 조정 장치 샤프트에는 좌측 나사산이 있습니다.

-
조정 장치 샤프트에 끼워지는 베드바 조정 나사의 나사산에 고착 방지제를 바릅니다.
-
베드바 조정 나사를 조정 장치 샤프트에 돌려 끼웁니다.
-
경화 와셔, 스프링 및 스프링 장력 너트를 조정 나사에 느슨하게 설치합니다.
-
와셔와 베드바 조정 장치 사이에서 마운팅 이어의 위치를 맞추면서 베드바를 설치합니다.
-
베드바 볼트(볼트의 너트)와 6개의 와셔를 사용하여 각 측면 플레이트에 베드바를 고정시킵니다.
Note: 나일론 와셔를 측면 플레이트 보스 양쪽에 배치합니다.
-
각 나일론 와셔 바깥쪽에 스틸 와셔를 놓습니다(그림 37).
-
37~45 N∙m 토크로 베드바 볼트를 조입니다.
-
바깥쪽 스틸 와셔가 더 이상 돌지 않고 유격이 사라질 때까지 록너트를 조이되, 지나치게 조이거나 측면 플레이트의 방향이 바뀌지 않게 하십시오.
Note: 안쪽 와셔에는 빈틈을 둘 수 있습니다(그림 37).
-
압축 스프링이 최대한 압축될 때까지 각 베드바 조정 장치 어셈블리의 너트를 조인 다음 너트를 반 바퀴 돌려 늦춥니다(그림 37).
-
커팅 유닛의 반대쪽에서 이 절차를 반복하십시오.
-
릴에 맞춰 베드나이프를 조정합니다. 릴-베드나이프 조정를 참조하십시오.
롤러 정비
롤러 정비에 롤러 수리 키트(부품 번호: 114–5430)와 롤러 수리 도구 키트(부품 번호: 115–0803)(그림 38)를 사용할 수 있습니다. 롤러 수리 키트에는 롤러 수리를 위한 모든 베어링, 베어링 너트, 내부 및 외부 씰이 들어 있습니다. 롤러 수리 도구 키트에는 롤러 수리 키트로 롤러를 수리하는 데 필요한 모든 도구와 설치 지침이 들어 있습니다. 도움이 필요하면 부품 카탈로그를 참조하거나 Toro 지정 판매 대리점에 문의하십시오.



에 항상 주의를 기울이십시오. 이 지침을 따르지
않을 경우 사람이 다치거나 사망하는 사고가 발생할 수 있습니다.


















