Одржавање
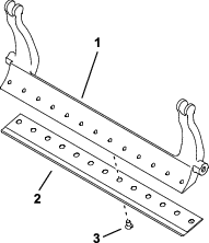
Podupiranje jedinice za sečenje
Svaki put kada treba nagnuti jedinicu za sečenje kako bi se otkrili ležajni nož/cilindar, poduprite zadnji deo jedinice za sečenje pomoću naslanjača (isporučuje se uz vučnu jedinicu) kako biste osigurali da navrtke na zadnjem kraju zavrtanja za podešavanje ležajne šipke ne budu naslonjene na radnu površinu (Слика 21).

Podmazivanje jedinica za sečenje
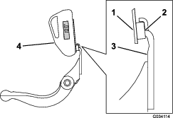
Svaka jedinica za sečenje ima 5 mazalica (Слика 22) koje treba redovno podmazivati litijumovom mašću br. 2.
Postoje 2 mesta za podmazivanje na prednjem valjku, zadnjem valjku i 1 na žlebu motora cilindra.
Note: Podmazivanje jedinica za sečenje odmah nakon pranja pomaže u izbacivanju vode iz ležaja i produžuje vek trajanja ležaja.
-
Svaku mazalicu obrišite čistom krpom.
-
Nanesite mast dok čista mast ne počne da izlazi iz zaptivki valjka i rasteretnih ventila ležaja.
-
Obrišite višak masti.

Specifikacije ležajnog noža
Servisiranje ležajnog noža
Uklanjanje sklopa ležajne šipke/ ležajnog noža
-
Okrenite zavrtnje za podešavanje ležajne šipke u smeru suprotnom od kretanja kazaljke na satu da biste udaljili ležajni nož od cilindra (Слика 23).

-
Olabavite navrtku za zatezanje opruge dok podloška više ne bude zategnuta uz ležajnu šipku (Слика 23).
-
Na svakoj strani mašine, otpustite sigurnosnu navrtku koja pričvršćuje zavrtanj ležajne šipke (Слика 24).

-
Uklonite svaki zavrtanj ležajne šipke, omogućavajući da se ležajna šipka povuče nadole i ukloni sa jedinice za sečenje (Слика 24).
Uzmite 2 najlonske i 1 čeličnu podlošku na svakom kraju ležajne šipke (Слика 25).

-
Uklonite ležajni nož sa ležajne šipke uklanjanjem svih zavrtanja koje ga drže pričvršćenim. Upotrebite nasadni ključ sa alatom za zavrtnje ležajnog noža (br. dela TOR510880).
Note: Možete da upotrebite mehanički ili pneumatski udarni ključ da otpustite zavrtnje ležajnog noža.
Note: Odložite ležajni nož i zavrtnje.
Montiranje novog ležajnog noža
-
Izaberite novi ležajni nož u skladu sa Tabela izbora visine košenja i ležajnog noža.
-
Uklonite rđu, kamenac i koroziju sa površine ležajne šipke i nanesite tanak sloj ulja na površinu ležajne šipke.
Important: Nemojte uklanjati izliveni materijal sa ležajne šipke. Ležajna šipka je projektovana da bude konkavna u sredini; nemojte je brusiti.
-
Očistite navoje u ležajnoj šipci.
-
Nanesite sredstvo protiv vezivanja na nove zavrtnje ležajnog noža i montirajte ležajni nož na ležajnu šipku.
Important: Koristite isključivo nove zavrtnje ležajnog noža.
Note: Broj potrebnih zavrtanja zavisi od ležajne šipke.

-
Zategnite 2 spoljašnja zavrtnja na 1 N·m.
-
Radeći od sredine ležajnog noža, zategnite zavrtnje momentom od 29,8 +/- 1 N∙m.
Important: Nemojte zatezati zavrtnje ležajnog noža pomoću mehaničkog ili pneumatskog udarnog ključa.

-
Naoštrite novi ležajni nož; pogledajte Tabela za servisiranje donjeg noža.
Tabela za servisiranje donjeg noža
Servisna ograničenja ležajnog noža su navedena u sledećoj tabeli.
Important: Korišćenje jedinice za sečenje sa ležajnim nožem ispod servisnog ograničenja može imati za posledicu loš izgled nakon košenja i smanjeni strukturni integritet ležajnog noža za udarce.
| Tabela za servisiranje donjeg noža | ||||
| Ležajni nož | Deo | Visina ivice ležajnog noža | Servisno ograničenje * | Uglovi oštrenja |
| Gornji/Prednji uglovi | ||||
| Tournament (opciono) | 147-1257 | 4,3 mm | 3,4 mm | 5/5° |
| EdgeMax® mala VK (model 03641) | 137-6093 | 5,6 mm | 4,8 mm | 10°/5° |
| Mala VK (model 03643) | 147-1244 | 5,6 mm | 4,8 mm | 10°/5° |
| Proširena EdgeMax® mala VK (opciono) | 119-4280 | 5,6 mm | 4,8 mm | 10°/10° |
| Proširena mala VK (opciono) | 147-1243 | 5,6 mm | 4,8 mm | 10°/10° |
| EdgeMax® | 137-6094 | 6,9 mm | 4,8 mm | 10°/5° |
| (Modeli 03638 i 03639) | ||||
| Standardni (opciono) | 147-1245 | 6,9 mm | 4,8 mm | 10°/5° |
| Za teške radove (opciono) | 147-1246 | 9,3 mm | 4,8 mm | 10°/5° |
Preporučeni gornji i prednji uglovi oštrenja ležajnog noža (Слика 28)

Note: Sva merenja servisnog ograničenja ležajnog noža se odnose na donji deo ležajnog noža (Слика 29).

Provera gornjeg ugla oštrenja
Ugao koji koristite za oštrenje ležajnih noževa je vrlo važan.
Koristite indikator ugla (Toro br. dela 131-6828) i nosač indikatora ugla (Toro br. dela 131-6829) da biste proverili ugao koji proizvodi vaš oštrač, a zatim ispravite bilo kakvu netačnost oštrača.
-
Postavite indikator ugla na donju stranu ležajnog noža kao što je prikazano na Слика 30.

-
Pritisnite dugme Alt Zero na indikatoru ugla.
-
Postavite držač indikatora ugla na ivicu ležajnog noža tako da ivica magneta bude spojena sa ivicom ležajnog noža (Слика 31).
Note: Digitalni displej bi trebalo da se vidi sa iste strane tokom ovog koraka kao što je bilo u koraku 1.

-
Postavite indikator ugla na nosač kao što je prikazano na Слика 31.
Note: Ovo je ugao koji proizvodi vaš oštrač i treba da bude unutar 2° od preporučenog gornjeg ugla oštrenja.
Montiranje sklopa ležajna šipka / ležajni nož
-
Instalirajte sklop nosača donjeg noža / donjeg noža, pozicionirajući ušice za montažu između podloške i zavrtnja za podešavanje nosača donjeg noža.
Important: Centrirajte podešavanja u dve tačke (DPA) u ušicama ležajne šipke, kao što je prikazano na Слика 32.Ako su podešavanja u dve tačke (DPA) montirana na ušice ležajne šipke, to može negativno da utiče na kontakt između ležajnog noža i cilindra.

-
Pričvrstite ležajnu šipku na svaku bočnu ploču pomoću zavrtanja ležajne šipke (navrtkama na zavrtnjima) i 3 podloške (ukupno 6).
-
Postavite najlonsku podlošku na svakoj strani glavčine bočne ploče. Postavite čeličnu podlošku spolja na svakoj najlonskoj podloški (Слика 25).
-
Zategnite zavrtnje ležajne šipke na 37 do 45 N·m.
-
Polako pritežite kontranavrtke ležajne šipke dok spoljašnje čelične podloške ne počnu da se okreću rukom.
Important: Nemojte previše zatezati sigurnosne navrtke jer će saviti bočne ploče.
Note: Najlonska podloška između ležajne šipke i bočne ploče imaće mali zazor.
-
Zategnite navrtku za zatezanje opruge dok se opruga ne priljubi, a zatim olabavite za ½ okreta (Слика 33).

Specifikacije cilindra
Rasteretno oštrenje cilindra
Novi cilindar ima širinu kontakta od 1,3 do 1,5 mm i rasteretni ugao oštrenja od 30°.
Kada širina kontakta postane veća od 3 mm, uradite sledeće:
-
Primenite oštrenje pod rasteretnim uglom od 30° na sva sečiva cilindra dok širina kontakta ne bude široka 1,3 mm (Слика 34 i Слика 35).


-
Zavrtite oštrenje cilindra kako bi se postiglo <0,025 mm slobodnog prostora cilindra.
Note: To dovodi do blagog povećanja širine kontakta.
Note: Da biste produžili vek trajanja oštrine ivice cilindra i ležajnog noža – nakon oštrenja cilindra i/ili ležajnog noža – ponovo proverite kontakt između cilindra i ležajnog noža nakon košenja 2 plovna puta, jer će sve neravnine biti uklonjene, što može napraviti neispravan zazor između cilindra i ležajnog noža i time ubrzati habanje.
-
Pomoću trake za merenje prečnika izmerite spoljašnji prečnik cilindra na oba kraja (Слика 36); razlika u spoljašnjem prečniku između krajeva treba da bude manja od 0,250 mm. Ako je razlika veća, ostružite kako biste korigovali razliku.
Note: Traku za merenje spoljašnjeg prečnika možete nabaviti kod ovlašćenog distributera kompanije Toro.

Servisiranje HD zavrtanja za podešavanje u dve tačke (DPA)
-
Uklonite sve delove (pogledajte uputstva za instalaciju HD DPA kompleta i Слика 37).
-
Nanesite smesu protiv vezivanja na unutrašnju stranu čaure na centralnom okviru jedinice za sečenje (Слика 37).
-
Poravnajte ključeve na prirubničkim čaurama sa žlebovima na okviru i postavite čaure (Слика 37).
-
Postavite talasastu podlošku na osovinu zavrtnja za podešavanje i gurnite osovinu u prirubničke čaure na okviru jedinice za sečenje (Слика 37).
-
Pričvrstite osovinu zavrtnja za podešavanje pomoću ravne podloške i sigurnosne navrtke (Слика 37).
-
Zategnite sigurnosnu navrtku na 20 do 27 N·m.
Note: Osovina zavrtnja za podešavanje ležajne šipke ima levi navoj.

-
Nanesite smesu protiv vezivanja na navoje zavrtnja za podešavanje ležajne šipke koji se uklapaju u osovinu zavrtnja za podešavanje.
-
Navrtite zavrtanj za podešavanje ležajne šipke u osovinu zavrtnja za podešavanje.
-
Labavo postavite ojačanu podlošku, oprugu i navrtku za zatezanje opruge na zavrtanj za podešavanje.
-
Montirajte ležajnu šipku, postavljajući montažne ušice između podloški i zavrtnja za podešavanje ležajne šipke.
-
Pričvrstite ležajnu šipku na svaku bočnu ploču pomoću zavrtanja ležajne šipke (navrtkama na zavrtnjima) i 6 podloški.
Note: Postavite najlonsku podlošku na svakoj strani glavčine bočne ploče.
-
Postavite čeličnu podlošku spolja na svakoj najlonskoj podloški (Слика 37).
-
Zategnite zavrtnje ležajne šipke na 37 do 45 N·m.
-
Zatežite sigurnosne navrtke dok spoljašnja čelična podloška ne prestane da se okreće i dok se krajnji zazor ne ukloni, ali nemojte previše zatezati ili savijati bočne ploče.
Note: Podloške na unutrašnjoj strani mogu imati razmak (Слика 37).
-
Zategnite navrtku na svakom sklopu zavrtnja za podešavanje ležajne šipke dok se kompresiona opruga ne sabije u potpunosti, a zatim otpustite navrtku za ½ okreta (Слика 37).
-
Ponovite ovaj postupak na drugom kraju jedinice za sečenje.
-
Podesite ležajni nož na cilindar; pogledajte Podešavanje ležajnog noža na cilindar.
Servisiranje valjka
Komplet za remont valjaka (br. dela 114-5430) i komplet alata za remont valjaka (br. dela 115-0803) (Слика 38) su dostupni za servisiranje valjaka. Komplet za remont valjaka uključuje sve ležaje, navrtke ležaja, unutrašnje zaptivke i spoljašnje zaptivke za remont valjaka. Komplet za remont valjaka uključuje sve alate i uputstva za instalaciju potrebne za remont valjaka pomoću kompleta za remont valjaka. Pogledajte svoj katalog delova ili se obratite za pomoć ovlašćenom distributeru kompanije Toro.



, koji znači Oprez,
Upozorenje ili Opasnost – uputstvo za ličnu bezbednost.
Nepoštovanje ovih uputstava može dovesti do telesne
povrede ili smrtnog ishoda.
















