Bảo trì
Hỗ trợ Dao xoắn
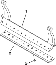
Bất cứ khi nào cần lật dao xoắn để lộ dao bụng/guồng xoắn, hãy chống đỡ phía sau của dao xoắn lên bằng chân chống (được cung cấp cùng với bộ kéo) để đảm bảo các đai ốc ở đầu sau của vít căn chỉnh thanh dưới không dựa trên bề mặt làm việc (Hình 21).

Bôi trơn các Dao Xoắn
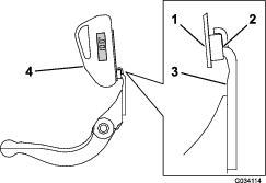
Mỗi dao xoắn có 5 núm tra mỡ (Hình 22) phải được bôi trơn thường xuyên bằng mỡ lithium số 2.
Có 2 điểm bôi trơn trên con lăn phía trước, con lăn phía sau và 1 điểm ở rãnh then mô-tơ guồng xoắn.
Note: Bôi trơn các dao xoắn ngay sau khi quá trình rửa giúp lọc sạch nước ra khỏi vòng bi và tăng thời hạn sử dụng vòng bi.
-
Lau sạch từng núm tra mỡ bằng giẻ sạch.
-
Bôi mỡ cho đến khi mỡ sạch chảy ra khỏi phớt dầu của roller và van xả vòng bi.
-
Lau sạch mọi dầu mỡ thừa.

Thông số kỹ thuật của Dao bụng
Bảo dưỡng Dao bụng
Tháo Thanh dưới/Cụm dao bụng
-
Xoay vít căn chỉnh thanh dưới ngược chiều kim đồng hồ để lùi dao bụng ra khỏi guồng xoắn (Hình 23).

-
Rút đai ốc căng lò xo ra, cho đến khi vòng đệm không còn căng so với thanh dưới (Hình 23).
-
Trên mỗi mặt bên của máy, nới lỏng êcu hãm đang siết chặt bu lông của thanh dưới (Hình 24).

-
Tháo từng bu lông của thanh dưới, cho phép thanh dưới được kéo xuống và tháo ra khỏi dao xoắn (Hình 24).
Cần 2 vòng đệm bằng nylon và 1 vòng đệm bằng thép dập khuôn trên mỗi đầu của thanh dưới (Hình 25).

-
Tháo dao bụng ra khỏi thanh dưới bằng cách tháo tất cả các vít đang giữ dao bụng ở đúng vị trí. Sử dụng chìa vặn đầu ống với Dụng cụ vặn vít dao bụng (Số bộ phận TOR510880).
Note: Bạn có thể sử dụng chìa vặn tác động cơ học hoặc khí nén để nới lỏng các vít của dao bụng.
Note: Vứt bỏ dao bụng và các vít.
Lắp dao bụng mới
-
Chọn dao bụng mới theo Biểu đồ lựa chọn độ cao mặt cắt và dao bụng.
-
Loại bỏ rỉ, cáu cặn và ăn mòn khỏi bề mặt thanh dưới và bôi một lớp dầu mỏng lên bề mặt thanh dưới.
Important: Không tháo vật liệu đúc ra khỏi thanh dưới. Thanh dưới được thiết kế lõm ở giữa; không mài.
-
Làm sạch các ren trong thanh dưới.
-
Bôi hợp chất chống kẹt trên các vít của dao bụng mới và lắp dao bụng trên thanh dưới.
Important: Chỉ sử dụng các vít của dao bụng mới.
Note: Số lượng vít thay đổi tùy thuộc vào thanh dưới.

-
Xoay mô-men xoắn của 2 vít ngoài đến 1 N∙m.
-
Làm việc từ tâm của dao bụng, tạo mô-men xoắn cho vít từ 29,8 +/- 1 N∙m (22 +/- 1 ft-lb).
Important: Không siết chặt các vít của dao bụng bằng chìa vặn tác động cơ học hoặc khí nén.

-
Mài dao bụng mới; tham khảo Biểu đồ Bảo dưỡng Dao đỡ.
Biểu đồ Bảo dưỡng Dao đỡ
Giới hạn bảo dưỡng dao bụng được liệt kê trong biểu đồ sau.
Important: Vận hành dao xoắn cùng với con dao bụng thấp hơn giới hạn bảo dưỡng có thể dẫn đến bề mặt cần cắt xấu đi sau khi cắt và làm giảm tính toàn vẹn cấu trúc của dao bụng do tác động.
| Biểu đồ Bảo dưỡng Dao đỡ | ||||
| Dao bụng | Bộ phận | Độ cao Lưỡi cắt Dao bụng | Giới hạn Bảo dưỡng * | Các góc Mài |
| Các góc Trên cùng/Phía trước | ||||
| Tournament (Tùy chọn) | 147-1257 | 4,3 mm | 3,4 mm | 5/5° |
| (0,170 inch) | (0,134 inch) | |||
| HOC Thấp EdgeMax® (Kiểu máy 03641) | 137-6093 | 5,6 mm | 4,8 mm | 10°/5° |
| (0,220 inch) | (0,190 inch) | |||
| HOC Thấp (Kiểu máy 03643) | 147-1244 | 5,6 mm | 4,8 mm | 10°/5° |
| (0,220 inch) | (0,190 inch) | |||
| HOC Thấp Mở rộng EdgeMax® (Tùy chọn) | 119-4280 | 5,6 mm | 4,8 mm | 10°/10° |
| (0,220 inch) | (0,190 inch) | |||
| HOC Thấp Mở rộng (Tùy chọn) | 147-1243 | 5,6 mm | 4,8 mm | 10°/10° |
| (0,220 inch) | (0,190 inch) | |||
| EdgeMax® | 137-6094 | 6,9 mm | 4,8 mm | 10°/5° |
| (Mẫu 03638 và 03639) | (0,270 inch) | (0,190 inch) | ||
| Tiêu chuẩn (Tùy chọn) | 147-1245 | 6,9 mm | 4,8 mm | 10°/5° |
| (0,270 inch) | (0,190 inch) | |||
| Yêu cầu cắt khó khăn (Tùy chọn) | 147-1246 | 9,3 mm | 4,8 mm | 10°/5° |
| (0,370 inch) | (0,190 inch) | |||
Các góc Mài Dao bụng Trên cùng và Phía trước theo Khuyến nghị (Hình 28)

Note: Tất cả các phép đo giới hạn bảo dưỡng dao bụng đều tham chiếu đến phần dưới cùng của dao bụng (Hình 29)

Kiểm tra Góc Mài Trên cùng
Góc mà bạn sử dụng để mài dao bụng của mình rất quan trọng.
Sử dụng bộ chỉ báo góc (Số Bộ phận Toro 131-6828) và giá gắn bộ chỉ báo góc (Số Bộ phận Toro 131-6829) để kiểm tra góc mà máy mài của bạn tạo ra, sau đó chỉnh sửa bất kỳ chi tiết không chính xác nào của máy mài.
-
Đặt bộ chỉ báo góc ở mặt dưới cùng của dao bụng như được minh họa trong Hình 30.

-
Nhấn nút Alt 0 trên bộ chỉ báo góc.
-
Đặt giá gắn bộ chỉ báo góc lên mép của dao bụng sao cho mép của nam châm tiếp xúc với mép của dao bụng (Hình 31).
Note: Màn hình kỹ thuật số phải được nhìn thấy từ cùng một phía trong bước này giống như ở bước 1.

-
Đặt bộ chỉ báo góc trên giá gắn như được minh họa trong Hình 31.
Note: Đây là góc mà máy mài của bạn tạo ra, và phải nằm trong khoảng 2° so với góc mài trên cùng được khuyến nghị.
Lắp cụm thanh dưới/dao bụng
-
Lắp cụm thanh dưới/dao bụng, định vị các tai gắn giữa vòng đệm và vít điều chỉnh thanh dưới.
Important: Căn giữa bộ điều chỉnh DPA vào tai thanh dưới như được minh họa trong Hình 32.Nếu bộ điều chỉnh DPA được lắp vào tai thanh dưới, điều này có thể ảnh hưởng tiêu cực đến tiếp xúc giữa dao bụng và guồng xoắn.

-
Siết chặt thanh dưới vào mỗi tấm bên bằng các bu lông của thanh dưới (đai ốc trên bu lông) và 3 vòng đệm (tổng cộng 6 vòng).
-
Đặt một vòng đệm bằng nylon trên mỗi bên của vấu lồi tấm bên. Đặt một vòng đệm bằng thép bên ngoài mỗi vòng đệm bằng nylon (Hình 25).
-
Xoay mô-men xoắn của bu lông thanh dưới từ 37 đến 45 N∙m.
-
Từ từ siết chặt êcu hãm thanh dưới cho đến khi vòng đệm bằng thép ngoài chỉ xoay bằng tay.
Important: Đừng siết quá chặt các êcu hãm, nếu không, chúng sẽ làm lệch tấm bên.
Note: Vòng đệm bằng nylon giữa thanh dưới và tấm trượt sẽ có khoảng trống nhỏ.
-
Siết chặt đai ốc căng lò xo cho đến khi lò xo bị nén, sau đó lùi lại 1/2 vòng (Hình 33).

Thông số kỹ thuật của Guồng xoắn
Mài hớt lưng Guồng xoắn
Guồng xoắn mới có bề rộng tiếp xúc từ 1,3 đến 1,5 mm và bộ phận mài hớt lưng 30°.
Khi bề rộng tiếp xúc của đất lớn hơn 3 mm, hãy thực hiện như sau:
-
Áp dụng mài hớt lưng 30° trên tất cả các lưỡi cắt của guồng xoắn cho đến khi bề rộng tiếp xúc của đất rộng 1,3 mm (Hình 34 và Hình 35).


-
Mài quanh trụ tròn đối với guồng xoắn để đạt được độ chạy lệch tâm của guồng xoắn < 0,025 mm.
Note: Điều này làm cho bề rộng tiếp xúc của đất tăng lên một chút.
Note: Để kéo dài thời hạn sử dụng độ sắc bén của mép guồng xoắn và dao bụng - sau khi mài guồng xoắn và/hoặc dao bụng - hãy kiểm tra lại tiếp xúc của guồng xoắn với dao bụng sau khi cắt 2 đường fairway, vì mọi đường gờ sẽ bị loại bỏ, điều này có thể tạo ra khoảng sáng không phù hợp từ guồng xoắn đến dao bụng, do đó làm tăng tốc độ mài mòn.
-
Dùng thước dây đo đường kính, đo đường kính ngoài của guồng xoắn ở hai đầu (Hình 36); chênh lệch về đường kính ngoài giữa các đầu phải nhỏ hơn 0,010 inch (0,250 mm). Nếu chênh lệch lớn hơn, hãy mài để điều chỉnh chênh lệch.
Note: Dây đo đường kính ngoài có sẵn từ nhà phân phối Toro được ủy quyền của bạn.

Bảo dưỡng Vít căn chỉnh Điểm Kép HD (DPA)
-
Tháo tất cả các bộ phận (tham khảo Hướng dẫn Lắp đặt Bộ HD DPA và Hình 37).
-
Bôi hợp chất chống kẹt vào bên trong khu vực ống lót trên khung trung tâm của dao xoắn (Hình 37).
-
Căn chỉnh các khóa trên ống lót mặt bích theo các khe trong khung và lắp ống lót (Hình 37).
-
Lắp vòng đệm lượn sóng vào trục vít căn chỉnh và trượt trục vít căn chỉnh vào ống lót mặt bích trong khung của dao xoắn (Hình 37).
-
Siết chặt trục vít điều chỉnh bằng vòng đệm phẳng và êcu hãm (Hình 37).
-
Xoay mô-men xoắn của êcu hãm từ 20 đến 27 N∙m.
Note: Trục vít căn chỉnh thanh dưới có ren bên trái.

-
Bôi hợp chất chống kẹt vào các ren của vít căn chỉnh thanh dưới khớp vào trục vít căn chỉnh.
-
Vặn theo đường ren cho vít căn chỉnh thanh dưới vào trục vít căn chỉnh.
-
Lắp đặt lỏng vòng đệm cứng, lò xo và đai ốc căng lò xo lên trên vít căn chỉnh.
-
Lắp đặt thanh dưới, định vị các tai gắn giữa vòng đệm và vít căn chỉnh thanh dưới.
-
Siết chặt thanh dưới vào mỗi tấm bên bằng các bu lông của thanh dưới (đai ốc trên bu lông) và 6 vòng đệm.
Note: Đặt một vòng đệm bằng nylon trên mỗi bên của vấu lồi tấm bên.
-
Đặt một vòng đệm bằng thép bên ngoài mỗi vòng đệm bằng nylon (Hình 37).
-
Xoay mô-men xoắn của bu lông thanh dưới từ 37 đến 45 N∙m.
-
Siết chặt các êcu hãm cho đến khi vòng đệm bằng thép bên ngoài ngừng xoay và không còn bị dịch chuyển phần đầu nhưng không siết quá chặt hoặc làm lệch các tấm bên.
Note: Vòng đệm ở mặt trong có thể có khe hở (Hình 37).
-
Siết chặt đai ốc trên mỗi cụm vít căn chỉnh thanh dưới cho đến khi lò xo nén được nén hoàn toàn, sau đó nới lỏng đai ốc 1/2 vòng (Hình 37).
-
Lặp lại quy trình này cho đầu bên kia của dao xoắn.
-
Cân chỉnh dao bụng theo guồng xoắn; tham khảo Cân chỉnh Dao bụng theo Guồng xoắn.
Bảo dưỡng Roller
Bộ Sửa chữa Roller (Số Bộ phận 114-5430) và Bộ Dụng cụ Sửa chữa Roller (Số Bộ phận 115-0803) (Hình 38) đều có sẵn để bảo dưỡng roller. Bộ Sửa chữa Roller bao gồm tất cả các vòng bi, đai ốc vòng bi, phớt dầu trong và phớt dầu ngoài để dựng lại roller. Bộ Dụng cụ Sửa chữa Roller bao gồm tất cả các dụng cụ và hướng dẫn lắp đặt cần thiết để dựng lại roller bằng bộ sửa chữa roller. Tham khảo danh mục bộ phận của bạn hoặc liên hệ với nhà phân phối Toro được ủy quyền của bạn để được hỗ trợ.



, cụ thể là Thận
trọng, Cảnh báo hoặc Nguy hiểm — hướng dẫn an toàn
cá nhân. Việc không tuân thủ hướng dẫn này
có thể dẫn đến thương tích cá nhân
hoặc tử vong.
















