Συντήρηση
Στήριξη της μονάδας κοπής
Όποτε απαιτείται να αναποδογυρίσετε τη μονάδα κοπής για να έχετε πρόσβαση στο μαχαίρι κλίνης / στον κύλινδρο, στηρίξτε το πίσω μέρος της μονάδας κοπής με το πόδι στήριξης (που παρέχεται με το χλοοκοπτικό όχημα) για να βεβαιωθείτε ότι τα παξιμάδια στο οπίσθιο άκρο των βιδών ρύθμισης της μπάρας κλίνης δεν εφάπτονται στην επιφάνεια εργασίας (Σχήμα 21).

Λίπανση των μονάδων κοπής
Κάθε μονάδα κοπής διαθέτει 5 γρασαδοράκια (Σχήμα 22) που πρέπει να λιπαίνονται τακτικά με γράσο λιθίου Νο. 2.
Υπάρχουν 2 σημεία λίπανσης στον εμπρόσθιο κύλινδρο, στον οπίσθιο κύλινδρο, και 1 στον αυλακωτό άξονα του μοτέρ κυλίνδρου.
Note: Η λίπανση των μονάδων κοπής αμέσως μετά το πλύσιμο συμβάλλει στην απομάκρυνση του νερού από τα ρουλεμάν και αυξάνει τον χρόνο ζωής των ρουλεμάν.
-
Σκουπίστε κάθε γρασαδοράκι με ένα καθαρό πανί.
-
Εφαρμόστε γράσο μέχρι να ρεύσει γράσο από τα παρεμβύσματα των κυλίνδρων και τη βαλβίδα εκτόνωσης των ρουλεμάν.
-
Σκουπίστε το επιπλέον γράσο, αν υπάρχει.

Προδιαγραφές μαχαιριού κλίνης
Σέρβις του μαχαιριού κλίνης
φαίρεση της μπάρας κλίνης/του συγκροτήματος του μαχαιριού κλίνης
-
Γυρίστε τις βίδες ρύθμισης της μπάρας κλίνης αριστερόστροφα για να απομακρύνετε το μαχαίρι κλίνης από τον κύλινδρο κοπής (Σχήμα 23).

-
Ξεσφίξτε το παξιμάδι τάνυσης ελατηρίου προς τα έξω, μέχρι η ροδέλα να μην εφάπτεται πλέον στη μπάρα κλίνης (Σχήμα 23).
-
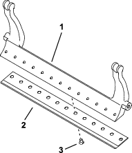
Σε κάθε πλευρά του μηχανήματος, ξεσφίξτε το παξιμάδι που στερεώνει το μπουλόνι της μπάρας κλίνης (Σχήμα 24).

-
φαιρέστε κάθε μπουλόνι της μπάρας κλίνης ώστε να μπορείτε να την τραβήξετε προς τα κάτω και να την αφαιρέσετε από τη μονάδα κοπής (Σχήμα 24).
Υπολογίστε 2 ροδέλες με νάιλον 1 ροδέλα από χάλυβα σε κάθε άκρο της μπάρας κλίνης (Σχήμα 25).

-
φαιρέστε το μαχαίρι κλίνης από την μπάρα κλίνης, αφαιρώντας όλες τις βίδες που το συγκρατούν. Χρησιμοποιήστε μια καστάνια με το εργαλείο βιδώματος μαχαιριού κλίνης (κωδ. εξαρτήματος TOR510880).
Note: Μπορείτε να χρησιμοποιήσετε μηχανικό ή πνευματικό μπουλονόκλειδο για να ξεσφίξετε τις βίδες του μαχαιριού κλίνης.
Note: πορρίψτε το μαχαίρι κλίνης και τις βίδες.
Εγκατάσταση του νέου μαχαιριού κλίνης
-
Επιλέξτε ένα νέο μαχαίρι κλίνης σύμφωνα με τους Πίνακες επιλογής ύψους κοπής και μαχαιριών κλίνης
-
πομακρύνετε τυχόν σκουριά ή ίχνη οξείδωσης ή διάβρωσης από την επιφάνεια της μπάρας κλίνης και εφαρμόστε μια λεπτή στρώση λαδιού στην επιφάνεια.
Important: Μην αφαιρείτε το υλικό χύτευσης από την μπάρα κλίνης. Η μπάρα κλίνης είναι κοίλη στο μέσο εκ κατασκευής· μην τροχίζετε.
-
Καθαρίστε τα σπειρώματα στην μπάρα κλίνης.
-
Εφαρμόστε αντιμπλοκαριστική ουσία (anti-seize) στις βίδες του νέου μαχαιριού κλίνης και τοποθετήστε το μαχαίρι κλίνης στην μπάρα κλίνης.
Important: Χρησιμοποιήστε μόνο καινούργιες βίδες για το μαχαίρι κλίνης.
Note: Ο αριθμός βιδών διαφέρει ανάλογα με την μπάρα κλίνης.

-
Σφίξτε τις 2 εξωτερικές βίδες με ροπή 1 N∙m.
-
Ξεκινώντας από το κέντρο του μαχαιριού κλίνης, σφίξτε τις βίδες με ροπή 29,8 +/- 1 N∙m.
Important: Μη σφίγγετε τις βίδες του μαχαιριού κλίνης με μηχανικό ή πνευματικό μπουλονόκλειδο.

-
Τροχίστε το νέο μαχαίρι κλίνης· ανατρέξτε στην ενότητα Πίνακας σέρβις του μαχαιριού κλίνης.
Πίνακας σέρβις του μαχαιριού κλίνης
Τα όρια σέρβις του μαχαιριού κλίνης παρατίθενται στον παρακάτω πίνακα.
Important: Η λειτουργία της μονάδας κοπής με το μαχαίρι κλίνης να βρίσκεται κάτω από το όριο σέρβις μπορεί να οδηγήσει σε μη ικανοποιητική εμφάνιση του γκαζόν και να μειώσει τη δομική ακεραιότητα του μαχαιριού κλίνης κατά την πρόσκρουση.
| Πίνακας σέρβις του μαχαιριού κλίνης | ||||
| Μαχαίρι κλίνης | Εξάρτημα | Ύψος χείλους μαχαιριού κλίνης | Όριο σέρβις * | Γωνίες λείανσης |
| Επάνω/Κάτω γωνίες | ||||
| Tournament (Προαιρετικό) | 147-1257 | 4,3 mm | 3,4 mm | 5/5° |
| (0,170") | (0,134") | |||
| EdgeMax® Χαμηλό ύψος κοπής (Μοντέλο 03641) | 137-6093 | 5,6 mm | 4,8 mm | 10°/5° |
| (0,220") | (0,190") | |||
| Χαμηλό ύψος κοπής (Μοντέλο 03643) | 147-1244 | 5,6 mm | 4,8 mm | 10°/5° |
| (0,220") | (0,190") | |||
| EdgeMax® Εκτεταμένο χαμηλό ύψος κοπής (Προαιρετικό) | 119-4280 | 5,6 mm | 4,8 mm | 10°/10° |
| (0,220") | (0,190") | |||
| Εκτεταμένο χαμηλό ύψος κοπής (Προαιρετικό) | 147-1243 | 5,6 mm | 4,8 mm | 10°/10° |
| (0,220") | (0,190") | |||
| EdgeMax® | 137-6094 | 6,9 mm | 4,8 mm | 10°/5° |
| (Μοντέλα 03638 και 03639) | (0,270") | (0,190") | ||
| Τυπικό (Προαιρετικό) | 147-1245 | 6,9 mm | 4,8 mm | 10°/5° |
| (0,270") | (0,190") | |||
| αρέος τύπου (Προαιρετικό) | 147-1246 | 9,3 mm | 4,8 mm | 10°/5° |
| (0,370") | (0,190") | |||
Συνιστώμενες επάνω και κάτω γωνίες λείανσης του μαχαιριού κλίνης (Σχήμα 28)

Note: Όλες οι μετρήσεις για τα όρια σέρβις του μαχαιριού κλίνης αφορούν το κάτω μέρος του μαχαιριού (Σχήμα 29)

Έλεγχος της επάνω γωνίας λείανσης
Η γωνία που χρησιμοποιείτε για τη λείανση των μαχαιριών κλίνης είναι πολύ σημαντική.
Χρησιμοποιήστε τον ενδείκτη γωνίας (κωδ. προϊόντος Toro 131-6828) και το στήριγμα του ενδείκτη γωνίας (κωδ. προϊόντος Toro 131-6829) για να ελέγξετε τη γωνία στην οποία λειτουργεί το εξάρτημα τροχισμού σας και, στη συνέχεια, διορθώστε τυχόν σημεία με μη ακριβή τροχισμό.
-
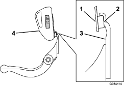
Τοποθετήστε τον ενδείκτη γωνίας στην κάτω πλευρά του μαχαιριού κλίνης, όπως φαίνεται στο Σχήμα 30.

-
Πατήστε το πλήκτρο Alt Zero του ενδείκτη γωνίας.
-
Τοποθετήστε το στήριγμα του ενδείκτη γωνίας στο άκρο του μαχαιριού κλίνης έτσι ώστε το άκρο του μαγνήτη να εφάπτεται στο άκρο του μαχαιριού κλίνης (Σχήμα 31).
Note: Σε αυτό το βήμα, η ψηφιακή ένδειξη θα πρέπει να είναι ορατή από την ίδια πλευρά όπως και στο βήμα 1.

-
Τοποθετήστε τον ενδείκτη γωνίας στο στήριγμα όπως φαίνεται στο Σχήμα 31.
Note: Πρόκειται για τη γωνία στην οποία λειτουργεί το εξάρτημα τροχισμού σας, και θα πρέπει να είναι εντός 2° από τη συνιστώμενη επάνω γωνία λείανσης.
Εγκατάσταση της μπάρας κλίνης/του συγκροτήματος του μαχαιριού κλίνης
-
Εγκαταστήστε την μπάρα κλίνης/το συγκρότημα του μαχαιριού κλίνης, τοποθετώντας τα αυτιά στερέωσης μεταξύ της ροδέλας και της βίδας ρύθμισης της μπάρας κλίνης.
Important: Κεντράρετε τους ρυθμιστές DPA μέσα στα αυτιά της μπάρας κλίνης, όπως φαίνεται στο Σχήμα 32.Εάν οι ρυθμιστές DPA τοποθετηθούν κόντρα στα αυτιά της μπάρας κλίνης, μπορεί να επηρεαστεί αρνητικά η επαφή μαχαιριού κλίνης - κυλίνδρου κοπής.

-
Στερεώστε την μπάρα κλίνης σε κάθε πλευρική πλάκα με τα μπουλόνια μπάρας κλίνης (με τα παξιμάδια πάνω στα μπουλόνια) και τις 3 ροδέλες (6 συνολικά).
-
Τοποθετήστε μία ροδέλα με νάιλον σε κάθε πλευρά της πλήμνης της πλευρικής πλάκας. Τοποθετήστε μία ροδέλα από χάλυβα στην εξωτερική πλευρά κάθε ροδέλας με νάιλον (Σχήμα 25).
-
Σφίξτε τα μπουλόνια της μπάρας κλίνης με ροπή 37 έως 45 N∙m.
-
Σφίξτε αργά τα παξιμάδια ασφάλισης της μπάρας κλίνης μέχρι να μπορούν οι εξωτερικές ροδέλες από χάλυβα να περιστρέφονται με το χέρι.
Important: Μη σφίξετε υπερβολικά τα παξιμάδια ασφάλισης, διαφορετικά μπορεί να παραμορφωθούν οι πλευρικές πλάκες.
Note: Η ροδέλα με νάιλον ανάμεσα στην μπάρα κλίνης και στην πλευρική πλάκα θα έχει ένα μικρό κενό.
-
Σφίξτε το παξιμάδι τάνυσης ελατηρίου μέχρι το ελατήριο να συμπτυχθεί και, στη συνέχεια, σφίξτε κατά μισή στροφή ακόμα (Σχήμα 33).

Προδιαγραφές κυλίνδρου κοπής
Λείανση του κυλίνδρου κοπής
Ο καινούριος κύλινδρος έχει πλάτος επιφάνειας 1,3 έως 1,5mm (0,050 έως 0,060") και γωνία λείανσης 30°.
Όταν το πλάτος επιφάνειας ξεπεράσει τα 3mm (0,120"), εκτελέστε τις ακόλουθες ενέργειες:
-
Εφαρμόστε γωνία λείανσης 30° σε όλες τις λεπίδες του κυλίνδρου μέχρι το πλάτος να φτάσει 1,3mm (0,050") (Σχήμα 34 και Σχήμα 35).


-
Τροχίστε με περιστροφή τον κύλινδρο κοπής ώστε να επιτευχθεί απόκλιση <0,025mm (0,001") του κυλίνδρου κοπής.
Note: υτό προκαλεί ελαφριά αύξηση του πλάτους επιφάνειας.
Note: Για να παρατείνετε τη διάρκεια αιχμηρότητας του χείλους του κυλίνδρου κοπής και του μαχαιριού κλίνης —μετά το τρόχισμα του κυλίνδρου κοπής ή/και του μαχαιριού κλίνης— ελέγξτε ξανά την επαφή κυλίνδρου - μαχαιριού κλίνης αφού προχωρήσετε σε κοπή 2 λωρίδων, καθώς θα αφαιρεθούν οι προεξοχές και, ως εκ τούτου, μπορεί να δημιουργηθεί ακατάλληλο διάκενο μεταξύ κυλίνδρου κοπής και μαχαιριού κλίνης και να επιταχυνθεί η φθορά.
-
Χρησιμοποιώντας ταινία μέτρησης διαμέτρου, μετρήστε την εξωτερική διάμετρο του κυλίνδρου κοπής και στα δύο άκρα (Σχήμα 36). Η διαφορά στην εξωτερική διάμετρο μεταξύ των άκρων πρέπει να είναι μικρότερη από 0,010" (0,250 mm). ν η διαφορά είναι μεγαλύτερη, τροχίστε για να διορθώσετε τη διαφορά.
Note: Η ταινία μέτρησης εξωτερικής διαμέτρου διατίθεται από τον εξουσιοδοτημένο αντιπρόσωπο της Toro.

Σέρβις των διατάξεων ρύθμισης δύο σημείων (Dual Point Adjusters, DPA) HD
-
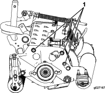
φαιρέστε όλα τα εξαρτήματα (ανατρέξτε στις οδηγίες εγκατάστασης του κιτ HD DPA και στο Σχήμα 37).
-
Εφαρμόστε αντιμπλοκαριστική ουσία (anti-seize) στο εσωτερικό του χώρου των δακτυλίων στο κεντρικό πλαίσιο της μονάδας κοπής (Σχήμα 37).
-
Ευθυγραμμίστε τα κλειδιά στους δακτυλίους της φλάντζας με τις υποδοχές στο πλαίσιο και τοποθετήστε τους δακτύλιους (Σχήμα 37).
-
Τοποθετήστε μια κυματοειδή ροδέλα στον άξονα της διάταξης ρύθμισης και γλιστρήστε τον άξονα της διάταξης ρύθμισης μέσα στους δακτύλιους της φλάντζας στο πλαίσιο της μονάδας κοπής (Σχήμα 37).
-
σφαλίστε τον άξονα της διάταξης ρύθμισης με επίπεδη ροδέλα και παξιμάδι ασφάλισης (Σχήμα 37).
-
Σφίξτε το παξιμάδι ασφάλισης με ροπή 20 έως 27 N∙m.
Note: Ο άξονας της διάταξης ρύθμισης της μπάρας κλίνης έχει αριστερά σπειρώματα.

-
Εφαρμόστε αντιμπλοκαριστική ουσία (anti-seize) στα σπειρώματα της βίδας διάταξης ρύθμισης της μπάρας κλίνης που τοποθετούνται στον άξονα της διάταξης ρύθμισης.
-
Περάστε τη βίδα της διάταξης ρύθμισης της μπάρας κλίνης στον άξονα της διάταξης ρύθμισης.
-
Τοποθετήστε χαλαρά τη σκληρυμένη ροδέλα, το ελατήριο και το παξιμάδι τάνυσης ελατηρίου στη βίδα της διάταξης ρύθμισης.
-
Τοποθετήστε την μπάρα κλίνης, τοποθετώντας τα αυτιά στερέωσης μεταξύ της ροδέλας και της διάταξης ρύθμισης της μπάρας κλίνης.
-
σφαλίστε την μπάρα κλίνης σε κάθε πλευρική πλάκα με τα μπουλόνια μπάρας κλίνης (με τα παξιμάδια πάνω στα μπουλόνια) και τις 6 ροδέλες.
Note: Τοποθετήστε μία ροδέλα με νάιλον σε κάθε πλευρά της πλήμνης της πλευρικής πλάκας.
-
Τοποθετήστε μία ροδέλα από χάλυβα στην εξωτερική πλευρά κάθε ροδέλας με νάιλον (Σχήμα 37).
-
Σφίξτε τα μπουλόνια της μπάρας κλίνης με ροπή 37 έως 45 N∙m.
-
Σφίξτε τα παξιμάδια ασφάλισης μέχρι η εξωτερική ροδέλα από χάλυβα να σταματήσει να περιστρέφεται και να έχει εξαλειφθεί το τζογάρισμα στο άκρο, αλλά μην σφίγγετε υπερβολικά και μην κάμπτετε τις πλευρικές πλάκες.
Note: Οι εσωτερικές ροδέλες μπορεί να έχουν κενό (Σχήμα 37).
-
Σφίξτε το παξιμάδι σε κάθε συγκρότημα διάταξης ρύθμισης της μπάρας κλίνης μέχρι το ελατήριο συμπίεσης να συμπτυχθεί πλήρως και, στη συνέχεια, ξεσφίξτε το παξιμάδι κατά μισή στροφή (Σχήμα 37).
-
Επαναλάβετε αυτή τη διαδικασία και στο άλλο άκρο της μονάδας κοπής.
-
Ρυθμίστε το μαχαίρι κλίνης στον κύλινδρο κοπής· ανατρέξτε στην ενότητα Ρύθμιση του μαχαιριού κλίνης στον κύλινδρο κοπής.
Σέρβις του κυλίνδρου
Το κιτ αποκατάστασης κυλίνδρου (κωδ. 114-5430) και το κιτ εργαλείων αποκατάστασης κυλίνδρου (κωδ. 115-0803) (Σχήμα 38) διατίθενται για το σέρβις του κυλίνδρου. Το κιτ αποκατάστασης κυλίνδρου περιλαμβάνει όλα τα ρουλεμάν, τα παξιμάδια των ρουλεμάν, τα εσωτερικά παρεμβύσματα και τα εξωτερικά παρεμβύσματα για την αποκατάσταση του κυλίνδρου. Το κιτ εργαλείων αποκατάστασης κυλίνδρου περιλαμβάνει όλα τα εργαλεία και τις οδηγίες εγκατάστασης που απαιτούνται για την αποκατάσταση του κυλίνδρου με το κιτ αποκατάστασης κυλίνδρου. Για βοήθεια, ανατρέξτε στον κατάλογο ανταλλακτικών ή επικοινωνήστε με τον πλησιέστερο εξουσιοδοτημένο αντιπρόσωπο της Toro.



, το οποίο
συνοδεύει οδηγίες
για την προσωπική ασφάλεια
με τις ενδείξεις
Προσοχή, Προειδοποίηση
ή Κίνδυνος. Η μη
συμμόρφωση με αυτές
τις οδηγίες μπορεί
να προκαλέσει
σωματικές βλάβες
ή θάνατο.
















