Penyelenggaraan
Menyokong Unit Pemotongan
Apabila unit pemotongan perlu dijongketkan untuk mendedahkan bilah dasar/gelendong, angkat bahagian belakang unit pemotongan menggunakan tongkat (dibekalkan bersama unit cengkaman) untuk memastikan nat di hujung belakang skru pelarasan bar dasar tidak diletakkan pada permukaan kerja (Rajah 21).

Melincirkan Unit Pemotongan
Setiap unit pemotongan mengandungi 5 pemasangan gris (Rajah 22) yang perlu dilincirkan dengan tetap menggunakan gris litium No. 2.
Terdapat 2 titik pelinciran pada penggelek hadapan, penggelek belakang dan 1 pada gelugur motor gelendong.
Note: Melincirkan unit pemotongan dengan serta-merta selepas pencucian membantu untuk menyingkirkan air keluar dari bearing dan meningkatkan hayat bearing.
-
Lapkan setiap pemasangan gris menggunakan kain bersih.
-
Sapukan gris sehingga gris bersih mengalir keluar dari pengedap penggelek dan injap lega bearing.
-
Lapkan gris yang berlebihan.

Spesifikasi Bilah Dasar
Menservis Bilah Dasar
Menanggalkan Pemasangan Bar Dasar/Bilah Dasar
-
Putarkan skru pelarasan bar dasar melawan arah jam untuk menjauhkan bilah dasar dari gelendong (Rajah 23).

-
Keluarkan nat ketegangan spring sehingga sesendal tidak lagi ditegangkan pada bar dasar (Rajah 23).
-
Pada setiap sisi mesin, longgarkan nat kunci yang mengunci bolt bar dasar (Rajah 24).

-
Tanggalkan setiap bolt bar dasar untuk membolehkan bar dasar ditarik ke bawah dan ditanggalkan dari unit pemotongan (Rajah 24).
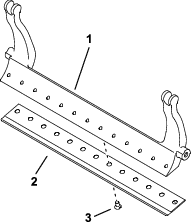
Tentukan tempat untuk 2 sesendal nilon dan 1 sesendal keluli tekanan pada setiap hujung bar dasar (Rajah 25).

-
Tanggalkan bilah dasar dari bar dasar dengan menanggalkan semua skru yang menguncinya. Gunakan perengkuh soket dengan Alat Skru Bilah Dasar (No. Bahagian TOR510880).
Note: Anda boleh menggunakan perengkuh impak mekanikal atau pneumatik untuk melonggarkan skru bilah dasar.
Note: Buang bilah dasar dan skru.
Memasangkan Bilah Dasar Baharu
-
Pilih bilah dasar baharu menurut Carta Pemilihan Ketinggian Pemotongan dan Bilah Dasar.
-
Singkirkan karat, kerak dan kakisan dari permukaan bar dasar dan sapukan satu lapisan minyak yang tipis pada permukaan bar dasar.
Important: Jangan tanggalkan bahan tuangan dari bar dasar. Bar dasar cengkung di bahagian tengah dengan sengaja, jangan kisar.
-
Bersihkan ulir di dalam bar dasar.
-
Sapukan sebatian cegah karat pada skru bilah dasar baharu dan pasangkan bilah dasar pada bar dasar.
Important: Hanya gunakan skru bilah dasar yang baharu.
Note: Kuantiti skru berbeza-beza bergantung pada bar dasar.

-
Tork 2 skru luar kepada 1N∙m (10 inci-lb).
-
Dengan mengendalikan dari bahagian tengah bilah dasar, tork skru kepada 29.8 +/- 1 N∙m (22 +/- 1 kaki-lb).
Important: Jangan ketatkan skru bilah dasar menggunakan perengkuh impak mekanikal atau pneumatik.

-
Kisar bilah dasar baharu; rujuk Carta Servis Bilah Dasar.
Carta Servis Bilah Dasar
Had servis bilah dasar disenaraikan dalam carta berikut.
Important: Pengendalian unit pemotongan menggunakan bilah dasar di bawah had servis mungkin menghasilkan penampilan selepas pemotongan yang tidak memuaskan dan mengurangkan keutuhan struktur bilah dasar untuk impak.
| Carta Servis Bilah Dasar | ||||
| Bilah Dasar | Bahagian | Ketinggian Bibir Bilah Dasar | Had Servis * | Sudut Kisar |
| Sudut Atas/Hadapan | ||||
| Tournament (Pilihan) | 147-1257 | 4.3 mm | 3.4 mm | 5/5° |
| (0.170 inci) | (0.134 inci) | |||
| Hoc Rendah EdgeMax® (Model 03641) | 137-6093 | 5.6mm | 4.8 mm | 10°/5° |
| (0.220 inci) | (0.190 inci) | |||
| Hoc Rendah (Model 03643) | 147-1244 | 5.6mm | 4.8 mm | 10°/5° |
| (0.220 inci) | (0.190 inci) | |||
| HOC Rendah EdgeMax® Dipanjangkan (Pilihan) | 119-4280 | 5.6mm | 4.8 mm | 10°/10° |
| (0.220 inci) | (0.190 inci) | |||
| HOC Rendah Dipanjangkan (Pilihan) | 147-1243 | 5.6mm | 4.8 mm | 10°/10° |
| (0.220 inci) | (0.190 inci) | |||
| EdgeMax® | 137-6094 | 6.9mm | 4.8 mm | 10°/5° |
| (Model 03638 dan 03639) | (0.270 inci) | (0.190 inci) | ||
| Standard (Pilihan) | 147-1245 | 6.9mm | 4.8 mm | 10°/5° |
| (0.270 inci) | (0.190 inci) | |||
| Tugas Berat (Pilihan) | 147-1246 | 9.3mm | 4.8 mm | 10°/5° |
| (0.370 inci) | (0.190 inci) | |||
Sudut Kisar Bilah Dasar Atas dan Hadapan Yang Disyorkan (Rajah 28)

Note: Semua rujukan ukuran had servis bilah dasar dinyatakan di bahagian bawah bilah dasar (Rajah 29)

Memeriksa Sudut Kisar Atas
Sudut yang anda gunakan untuk mengisar bilah dasar anda adalah sangat penting.
Gunakan penunjuk sudut (No. Bahagian Toro 131-6828) dan lekapan penunjuk sudut (No. Bahagian Toro 131-6829) untuk menyemak sudut yang dihasilkan oleh pengisar anda, betulkan mana-mana pengisar yang tidak tepat.
-
Letakkan penunjuk sudut pada bahagian bawah bilah dasar seperti yang ditunjukkan dalam Rajah 30.

-
Tekan butang Alt Zero pada penunjuk sudut.
-
Letakkan lekapan penunjuk sudut pada mata bilah dasar agar tepi magnet melekat dengan mata bilah dasar (Rajah 31).
Note: Paparan digital seharusnya dapat dilihat dari sisi yang sama pada langkah ini seperti paparan pada langkah 1.

-
Letakkan penunjuk sudut pada lekapan seperti yang ditunjukkan dalam Rajah 31.
Note: Ini ialah sudut yang pengisar anda hasilkan dan seharusnya dalam julat 2 darjah bagi sudut kisar atas yang disyorkan.
Memasangkan Pemasangan Bar Dasar/Bilah Dasar
-
Pasangkan pemasangan bar dasar/bilah dasar, letakkan telinga lekapan di antara sesendal dengan skru pelarasan bar dasar.
Important: Letakkan pelaras DPA di bahagian tengah di dalam telinga bar dasar seperti yang ditunjukkan dalam Rajah 32.Jika pelaras DPA dipasangkan pada telinga bar dasar, ini mungkin menjejaskan sentuhan bilah dasar dengan gelendong.

-
Kuncikan bar dasar pada setiap plat sisi menggunakan bolt bar dasar (nat pada bolt) dan 3 sesendal (jumlah 6).
-
Letakkan sesendal nilon pada setiap sisi tombol plat sisi. Letakkan sesendal keluli di bahagian luar setiap sesendal nilon (Rajah 25).
-
Tork bolt bar dasar kepada 37~45N∙m (27~320 kaki-lb).
-
Ketatkan nat kunci bar dasar dengan perlahan sehingga sesendal keluli luar hanya putarkan dengan tangan.
Important: Jangan kunci nat kunci terlampau ketat kerana ini akan memesongkan plat sisi.
Note: Sesendal nilon di antara bar dasar dengan plat sisi akan mempunyai ruang yang kecil.
-
Ketatkan nat ketegangan spring sehingga spring dilipat, kemudian undur balik sebanyak ½ putaran (Rajah 33).

Spesifikasi Gelendong
Pengisaran Lega pada Gelendong
Gelendong baharu mempunyai lebar tanah 1.3~1.5mm (0.050~0.060 inci) dan pengisaran lega 30°.
Apabila lebar tanah melebihi 3mm (0.120 inci), lakukan perkara berikut:
-
Gunakan pengisaran lega 30° pada semua bilah gelendong sehingga lebar tanah mencapai 1.3 mm (0.050 inci) (Rajah 34 dan Rajah 35).


-
Kisar gelendong dengan memutar untuk mencapai penyingkiran gelendong <0.025mm (0.001 inci).
Note: Ini menyebabkan lebar tanah bertambah sedikit.
Note: Untuk melanjutkan kekekalan ketajaman mata gelendong dan bilah dasar—selepas mengisar gelendong dan/atau bilah dasar—periksa sentuhan gelendong dengan bilah dasar sekali lagi selepas memotong 2 lintasan kerana mana-mana gerigis akan disingkirkan dan ini mungkin mewujudkan ruang lega dari gelendong ke bilah dasar yang tidak sesuai lalu mempercepat kehausan.
-
Dengan pita pengukur diameter, ukur diameter luaran gelendong pada kedua-dua hujung (Rajah 36); perbezaan diameter luaran di antara hujung seharusnya kurang daripada 0.010 inci (0.250mm). Jika perbezaan adalah besar, kisar untuk membetulkan perbezaan.
Note: Pita pengukur diameter luaran boleh didapatkan daripada pengedar Toro dibenarkan anda.

Menservis Pelaras Dua Titik (DPA) HD
-
Tanggalkan semua bahagian (rujuk Arahan Pemasangan Kit DPA HD dan Rajah 37).
-
Sapukan sebatian tidak henti di bahagian dalam pada sesendal pada rangka tengah unit pemotongan (Rajah 37).
-
Jajarkan kekunci pada sesendal bebibir kepada slot di dalam rangka dan pasangkan sesendal (Rajah 37).
-
Pasangkan sesendal alun pada aci pelaras dan masukkan aci pelaras ke dalam sesendal bebibir di dalam rangka unit pemotongan (Rajah 37).
-
Kuncikan aci pelaras menggunakan sesendal rata dan nat kunci (Rajah 37).
-
Tork nat kunci kepada 20~27N∙m (15~20 kaki-lb).
Note: Aci pelaras bar dasar mengandungi ulir tangan kiri.

-
Sapukan sebatian tidak henti pada ulir skru pelaras bar dasar yang dimuatkan ke dalam aci pelaras.
-
Masukkan skru pelaras bar dasar ke dalam aci pelaras.
-
Pasangkan sesendal terkeras, spring dan nat ketegangan spring secara longgar pada skru pelaras.
-
Pasangkan bar dasar, letakkan telinga lekapan di antara sesendal dengan pelaras bar dasar.
-
Kuncikan bar dasar pada setiap plat sisi menggunakan bolt bar dasar (nat pada bolt) dan 6 sesendal.
Note: Letakkan sesendal nilon pada setiap sisi tombol plat sisi.
-
Letakkan sesendal keluli di bahagian luar setiap sesendal nilon (Rajah 37).
-
Tork bolt bar dasar kepada 37~45N∙m (27~320 kaki-lb).
-
Ketatkan nat kunci sehingga sesendal keluli luar henti berputar dan tiada kelonggaran pada hujung tetapi pastikan tidak terlampau ketat atau memesongkan plat sisi.
Note: Mungkin ada ruang pada sesendal di bahagian dalam (Rajah 37).
-
Ketatkan nat pada setiap pemasangan pelaras bar dasar sehingga spring mampatan dimampatkan sepenuhnya, kemudian longgarkan nat sebanyak ½ putaran (Rajah 37).
-
Ulangi prosedur ini pada hujung unit pemotongan yang satu lagi.
-
Laraskan bilah dasar pada gelendong; rujuk Melaraskan Bilah Dasar pada Gelendong.
Menservis Penggelek
Kit Pembinaan Semula Penggelek (No. Bahagian 114-5430) dan Kit Alatan Pembinaan Semula Penggelek (No. Bahagian 115-0803) (Rajah 38) tersedia untuk menservis penggelek. Kit Pembinaan Semula Penggelek termasuk semua bearing, nat bearing, pengedap dalam dan pengedap luar untuk membina semula penggelek. Kit Alat Pembinaan Semula Penggelek termasuk semua alatan dan arahan pemasangan yang diperlukan untuk membina semula penggelek menggunakan kit pembinaan semula penggelek. Rujuk katalog bahagian anda atau hubungi pengedar Toro dibenarkan anda untuk mendapatkan bantuan.



, yang bermaksud Awas, Amaran atau Bahaya –
arahan keselamatan diri. Kegagalan untuk mematuhi arahan ini mungkin
menyebabkan kecederaan diri atau kematian.
















