Údržba
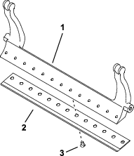
Podpera rezacej jednotky
Vždy keď musíte nakloniť rezaciu jednotku, aby ste odkryli nôž plošiny/kotúč, podoprite zadnú časť rezacej jednotky stojanom (dodáva sa s trakčnou jednotkou), aby ste zaručili, že sa matice na zadnej časti regulačných skrutiek tyče plošiny neopierajú o pracovný povrch (Obrázok 21).

Mazanie rezacích jednotiek
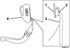
Každá rezacia jednotka má päť mazacích armatúr (Obrázok 22), ktoré je potrebné pravidelne mazať lítiovým mazivom č. 2.
Na prednom a zadnom valci sú po dva mazacie body a na drážke motora kotúča jeden.
Note: Ak rezacie jednotky ihneď po umytí namažete, pomôže to odstrániť vodu z ložísk a predĺžiť ich životnosť.
-
Každú mazaciu armatúru utrite čistou handrou.
-
Mazivo nanášajte dovtedy, kým z tesnení valca a poistného ventilu ložísk nezačne vytekať čisté mazivo.
-
Prebytočné mazivo utrite.

Špecifikácie noža plošiny
Servis noža plošiny
Demontáž tyče plošiny/Zostavenie noža plošiny
-
Otočením regulačných skrutiek tyče plošiny proti smeru hodinových ručičiek odsuňte nôž plošiny smerom od kotúča (Obrázok 23).

-
Uvoľňujte napínaciu maticu pružiny, kým sa neuvoľní napnutie podložky na tyči plošiny (Obrázok 23).
-
Na oboch stranách stroja uvoľnite poistnú maticu, ktorou je pripevnená skrutka tyče plošiny (Obrázok 24).

-
Odstráňte všetky skrutky tyče plošiny, aby ste mohli tyč plošiny stiahnuť nadol a demontovať ju z rezacej jednotky (Obrázok 24).
Počítajte s miestom na 2 nylonové podložky a 1 podložku vyrazenú z ocele na oboch koncoch tyče plošiny (Obrázok 25).

-
Odstráňte nôž plošiny z tyče plošiny tak, že odstránite všetky skrutky, ktoré ho držia na mieste. Použite nástrčný kľúč s nástrojom na skrutky noža plošiny (číslo dielu TOR510880).
Note: Na uvoľnenie skrutiek noža plošiny môžete použiť mechanický alebo pneumatický rázový kľúč.
Note: Nôž plošiny a skrutky zlikvidujte.
Montáž nového noža plošiny
-
Vyberte si nový nôž plošiny podľa Tabuľky výšky kosenia a výberu noža plošiny.
-
Odstráňte z povrchu tyče plošiny hrdzu a šupinky a naneste naň tenkú vrstvu oleja.
Important: Neodstraňujte materiál odliatku z tyče plošiny. Tyč plošiny je v strede konkávne vyhĺbená; nebrúste ju.
-
Vyčistite závity v tyči plošiny.
-
Na nové skrutky noža plošiny naneste prostriedok proti zasekávaniu a namontujte nôž plošiny na tyč plošiny.
Important: Používajte len nové skrutky noža plošiny.
Note: Množstvo skrutiek sa líši v závislosti od tyče plošiny.

-
2 vonkajšie skrutky utiahnite momentom 1 N∙m.
-
Skrutky doťahujte smerom od stredu noža plošiny momentom 29,8 +/- 1 N∙m.
Important: Skrutky noža plošiny nedoťahujte mechanickým alebo pneumatickým rázovým kľúčom.

-
Nový nôž plošiny nabrúste; pozri Tabuľka servisných limitov noža plošiny.
Tabuľka servisných limitov noža plošiny
Servisné limity noža plošiny sú uvedené v nasledujúcej tabuľke.
Important: Obsluhovanie rezacej jednotky s nožom plošiny pod prevádzkovým limitom môže mať za následok zlý vzhľad trávnika po kosení a spôsobiť, že konštrukciu noža plošiny jednoduchšie poškodia nárazy.
| Tabuľka servisných limitov noža plošiny | ||||
| Nôž plošiny | Diel | Výška ostria noža plošiny | Prevádzkový limit* | Uhol podbrúsenia |
| Uhol zhora/spredu | ||||
| Tournament (voliteľné) | 147-1257 | 4,3 mm | 3,4 mm | 5/5° |
| EdgeMax® – nízka výška kosenia (model 03641) | 137-6093 | 5,6 mm | 4,8 mm | 10°/5° |
| Nízka výška kosenia (model 03643) | 147-1244 | 5,6 mm | 4,8 mm | 10°/5° |
| EdgeMax® – nízka výška kosenia (voliteľné) | 119-4280 | 5,6 mm | 4,8 mm | 10°/10° |
| Rozšírená nízka výška kosenia (voliteľné) | 147-1243 | 5,6 mm | 4,8 mm | 10°/10° |
| EdgeMax® | 137-6094 | 6,9 mm | 4,8 mm | 10°/5° |
| (Modely 03638 a 03639) | ||||
| Štandardné (voliteľné) | 147-1245 | 6,9 mm | 4,8 mm | 10°/5° |
| Ťažká prevádzka (voliteľné) | 147-1246 | 9,3 mm | 4,8 mm | 10°/5° |
Odporúčané uhly vrchného a predného podbrúsenia noža plošiny (Obrázok 28)

Note: Všetky prevádzkové limity noža plošiny sa vzťahujú na spodnú stranu noža plošiny (Obrázok 29)

Kontrola uhla vrchného podbrúsenia
Uhol, pri ktorom ostríte nože plošiny, je veľmi dôležitý.
Na kontrolu uhla brúsky a následnú opravu akýchkoľvek nepresností pri ostrení používajte indikátor uhla (diel č. 131-6828 spoločnosti Toro) a držiak indikátora uhla (diel č. 131-6829 spoločnosti Toro).
-
Indikátor uhla umiestnite na spodnú časť noža plošiny, ako je znázornené na Obrázok 30.

-
Na indikátore uhla stlačte tlačidlo Alt+0.
-
Držiak indikátora uhla umiestnite na hranu noža plošiny tak, aby hrana magnetu lícovala s hranou noža plošiny (Obrázok 31).
Note: Digitálny displej by mal byť pri tomto kroku viditeľný z rovnakej strany ako pri kroku 1.

-
Indikátor uhla umiestnite na držiak, ako je znázornené na Obrázok 31.
Note: Tento uhol vytvára brúska a od odporúčaného uhla vrchného podbrúsenia by sa mal líšiť maximálne o 2°.
Inštalácia zostavy tyče/noža plošiny
-
Namontujte tyč/nôž plošiny tak, že umiestníte montážne ušká medzi podložky a regulačnú skrutku tyče plošiny.
Important: Vycentrujte nastavovacie prvky DPA v uškách tyče plošiny, ako je znázornené na Obrázok 32.Ak sú nastavovacie prvky DPA namontované proti uškám tyče plošiny, môže to negatívne ovplyvniť kontakt noža plošiny s kotúčom.

-
Tyč plošiny zaistite na každej bočnej doske pomocou skrutiek tyče plošiny (matice na skrutkách) a 3 podložiek (celkovo 6).
-
Na obe strany výčnelka bočnej dosky umiestnite nylonovú podložku. Na obe nylonové podložky zvonka umiestnite oceľové podložky (Obrázok 25).
-
Skrutky tyče plošiny utiahnite momentom 37 až 45 N∙m.
-
Pomaly uťahujte poistné matice tyče plošiny, kým sa vonkajšie oceľové podložky nebudú otáčať ručne.
Important: Poistné matice neuťahujte nadmerne, inak poškodia bočné dosky.
Note: Nylonová podložka medzi tyčou plošiny a bočnou doskou bude mať malú medzeru.
-
Uťahujte napínaciu maticu pružiny, kým sa pružina nestiahne, potom ju otočte späť o ½ otočky (Obrázok 33).

Špecifikácie kotúča
Podbrúsenie kotúča
Nový kotúč má šírku plochy 1,3 až 1,5 mm a uhol podbrúsenia 30°.
Ak je šírka plochy väčšia ako 3 mm, vykonajte tieto kroky:
-
Všetky čepele kotúča podbrusujte pod uhlom 30°, kým nebude šírka plochy 1,3 mm (Obrázok 34 a Obrázok 35).


-
Pri ostrení kotúč otáčajte, aby ste dosiahli obrúsenie kotúča < 0,025 mm.
Note: Týmto spôsobom sa šírka plochy o niečo zväčší.
Note: Ak chcete predĺžiť životnosť naostrenej hrany kotúča a noža plošiny po naostrení, po pokosení 2 polí znova skontrolujte kontakt medzi kotúčom a nožom plošiny, či sa odstránili všetky drsné časti. Tie totiž môžu vytvárať nesprávnu vzdialenosť medzi kotúčom a nožom plošiny, čo môže urýchliť opotrebovanie.
-
Pomocou pásky na meranie priemeru odmerajte vonkajší priemer kotúča na oboch koncoch (Obrázok 36). Rozdiel medzi vonkajším priemerom na oboch koncoch musí byť menší ako 0,250 mm. Ak je rozdiel väčší, zbrúste ho.
Note: Páska na meranie vonkajšieho priemeru je k dispozícii od autorizovaného distribútora spoločnosti Toro.

Servis nastavovacích prvkov HD s dvoma bodmi (DPA)
-
Demontujte všetky časti (pozrite si pokyny na montáž súpravy HD DPA a Obrázok 37).
-
Na vnútornú časť objímky na strednom ráme rezacej jednotky naneste prostriedok proti zachytávaniu (Obrázok 37).
-
Kľúče na objímkach príruby zarovnajte s otvormi v ráme a namontujte objímky (Obrázok 37).
-
Na hriadeľ nastavovacieho nástoja nasaďte vlnitú podložku a hriadeľ nastavovacieho prvku zasuňte do objímok príruby v ráme rezacej jednotky (Obrázok 37).
-
Hriadeľ nastavovacieho nástroja zaistite rovnou podložkou a poistnou maticou (Obrázok 37).
-
Poistnú maticu utiahnite momentom 20 až 27 N∙m.
Note: Hriadeľ nastavovacieho nástroja tyče plošiny má ľavé závity.

-
Na závity skrutky nastavovacieho prvku tyče plošiny, ktorá sa zasúva do hriadeľa nastavovacieho prvku, naneste prostriedok proti zachytávaniu.
-
Skrutku nastavovacieho prvku tyče plošiny zaskrutkujte do hriadeľa nastavovacieho prvku.
-
Na skrutku nastavovacieho nástroja voľne nasaďte tvrdenú podložku, pružinu a napínaciu maticu pružiny.
-
Namontujte tyč plošiny tak, že umiestníte montážne ušká medzi podložku a nastavovací prvok tyče plošiny.
-
Tyč plošiny zaistite na oboch bočných doskách pomocou skrutiek tyče plošiny (matice na skrutkách) a 6 podložiek.
Note: Na obe strany výčnelka bočnej dosky umiestnite nylonovú podložku.
-
Na obe nylonové podložky zvonka umiestnite oceľové podložky (Obrázok 37).
-
Skrutky tyče plošiny utiahnite momentom 37 až 45 N∙m.
-
Poistné matice uťahujte, kým sa vonkajšia oceľová podložka neprestane otáčať a neodstráni sa koncová vôľa, no neuťahujte ich nadmerne ani nevychyľujte bočné dosky.
Note: Podložky na vnútornej strane môžu mať medzeru (Obrázok 37).
-
Uťahujte maticu na každej zostave nastavovacieho prvku tyče plošiny, kým sa kompresná pružina nestlačí, a potom maticu uvoľnite o ½ otočky (Obrázok 37).
-
Tento postup zopakujte na druhej strane rezacej jednotky.
-
Nastavte nôž plošiny na kotúči. Pozrite si časť Nastavenie noža plošiny na kotúči.
Servis valca
Na servis valca sú k dispozícii súprava na opravu valca (diel č. 114-5430) a súprava nástrojov na opravu valca (diel č. 115-0803) (Obrázok 38). Súprava na opravu valca zahŕňa všetky ložiská, matice ložísk, vnútorné a vonkajšie tesnenia na opravu valca. Súprava nástrojov na opravu valca zahŕňa všetky nástroje a pokyny na montáž potrebné na opravu valca pomocou súpravy na opravu valca. Pozrite si katalóg dielov alebo sa so žiadosťou o pomoc obráťte na autorizovaného distribútora spoločnosti Toro.



, ktorý znamená
Pozor, Výstraha alebo Nebezpečenstvo – osobné
bezpečnostné pokyny. Nedodržanie týchto
pokynov môže zapríčiniť zranenie
alebo smrť.
















