| Wartungsintervall | Wartungsmaßnahmen |
|---|---|
| Bei jeder Verwendung oder täglich |
|
Dieses Nutzfahrzeug ist hauptsächlich für den Geländetransport von Personen und Materiallasten gedacht. Der zweckfremde Einsatz dieser Maschine kann für Sie und Unbeteiligte gefährlich sein.
Lesen Sie diese Informationen sorgfältig durch, um sich mit dem ordnungsgemäßen Einsatz und der Wartung des Geräts vertraut zu machen und Verletzungen und eine Beschädigung des Geräts zu vermeiden. Sie tragen die Verantwortung für einen ordnungsgemäßen und sicheren Einsatz des Geräts.
Besuchen Sie Toro.com, hinsichtlich Produktsicherheit und Schulungsunterlagen, Zubehörinformationen, Standort eines Händlers, oder Registrierung des Produkts.
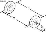
Wenden Sie sich an den Toro Vertragshändler oder Kundendienst, wenn Sie eine Serviceleistung, Toro Originalersatzteile oder weitere Informationen benötigen. Haben Sie dafür die Modell- und Seriennummern des Fahrzeugs griffbereit. In Bild 1 ist angegeben, wo an dem Produkt die Modell- und die Seriennummer angebracht sind. Tragen Sie hier die Modell- und Seriennummern des Geräts ein.
Important: Scannen Sie mit Ihrem Mobilgerät den QR-Code auf dem Seriennummernaufkleber (falls vorhanden), um auf Garantie-, Ersatzteil- oder andere Produktinformationen zuzugreifen.

Dieses Produkt erfüllt alle relevanten europäischen Richtlinien; weitere Details finden Sie in der produktspezifischen Konformitätserklärung (DOC).
Wenn diese Maschine mit einem Telematikgerät ausgestattet ist, wenden Sie sich an Ihren Toro Vertragshändler, um Anweisungen zur Aktivierung des Geräts zu erhalten.
|
Elektromagnetische Kompatibilitätszulassung |
|
Inland: Dieses Gerät entspricht den FCC-Vorschriften Teil 15. Der Betrieb unterliegt den folgenden zwei Bedingungen: (1) Dieses Gerät darf keine Störungen verursachen und (2) dieses Gerät muss eingehende Störungen akzeptieren, selbst wenn sie einen unerwünschten Betrieb verursachen. |
|
FCC ID: APV-3640LB IC: 5843C-3640LB |
|
Dieses Gerät wurde getestet und entspricht den Grenzwerten für ein digitales Gerät der Klasse B gemäß Teil 15 der FCC-Vorschriften. Diese Grenzwerte sind so ausgelegt, dass sie einen angemessenen Schutz gegen schädliche Störungen in einer Wohnanlage bieten. Dieses Gerät erzeugt und verwendet Hochfrequenzenergie und kann diese ausstrahlen. Wenn es nicht gemäß den Anweisungen installiert und verwendet wird, kann es schädliche Störungen des Funkverkehrs verursachen. Es besteht jedoch keine Garantie, dass bei einer bestimmten Installation keine Störungen auftreten werden. Wenn das Gerät den Radio- oder Fernsehempfang stört (dies kann leicht durch Ein- und Ausschalten des Geräts ermittelt werden) sollten Sie versuchen, die Störungen durch folgende Maßnahmen zu beheben:
|
|
Argentinien |
![]() |
|
Australien |
![]() |
|
Marokko |
|
|---|---|
|
AGREE PAR L’ANRT MAROC |
|
|
Numéro d’agrément: |
MR00004789ANRT20024 |
|
Date d’agrément: |
11/4/2024 |
|
Neuseeland |
|
|
|
Südkorea |
![]() |
KALIFORNIEN
Warnung zu Proposition 65
Das Stromkabel dieses Produkts enthält Blei, eine Chemikalie, die laut den Behörden des Staates Kalifornien Geburtsschäden oder andere Defekte des Reproduktionssystems verursacht. Waschen Sie sich nach dem Umgang mit diesen Materialien die Hände.
Batteriepole, -klemmen und -zubehör enthalten Blei und Bleibestandteile. Dies sind Chemikalien, die laut den Behörden des Staates Kalifornien krebserregend sind und zu Erbschäden führen können. Waschen Sie sich nach dem Umgang mit diesen Materialien die Hände.
Dieses Sicherheitswarnsymbol (Bild 2) in diesem Handbuch und an der Maschine kennzeichnet wichtige Sicherheitshinweise , die Sie beachten müssen, um Unfälle zu vermeiden.

Das Sicherheitssymbol wird oberhalb von Informationen angezeigt, die Sie vor unsicheren Handlungen oder Situationen warnen, gefolgt von dem Wort GEFAHR, WARNUNG oder VORSICHT.
GEFAHR: bezeichnet eine unmittelbar drohende Gefahr. Wenn sie nicht gemieden wird, sind Tod oder schwerste Verletzungen die Folge.
WARNUNG: bezeichnet eine möglicherweise drohende Gefahr. Wenn sie nicht gemieden wird, können Tod oder schwerste Verletzungen die Folge sein.
VORSICHT: bezeichnet eine möglicherweise drohende Gefahr. Wenn sie nicht gemieden wird, können leichte oder geringfügige Verletzungen die Folge sein.
In dieser Anleitung werden zwei weitere Begriffe zur Hervorhebung von Informationen verwendet. Wichtig weist auf spezielle mechanische Informationen hin, und Hinweis hebt allgemeine Informationen hervor, die Ihre besondere Beachtung verdienen.
Dieses Produkt kann Verletzungen verursachen. Befolgen Sie zum Vermeiden von schweren Verletzungen immer alle Sicherheitshinweise.
Lesen und verstehen Sie vor dem Anlassen der Maschine den Inhalt dieser Bedienungsanleitung. Stellen Sie sicher, dass jeder, der das Produkt nutzt, weiß, wie er es benutzen muss und die Warnhinweise versteht.
Konzentrieren Sie sich immer bei der Verwendung des Fahrzeugs. Tun Sie nichts, was Sie ablenken könnte, sonst können Verletzungen oder Sachschäden auftreten.
Halten Sie Hände und Füße von beweglichen Teilen fern.
Bedienen Sie die Maschine niemals, wenn nicht alle Schutzvorrichtungen und Abdeckungen angebracht und funktionstüchtig sind.
Halten Sie Unbeteiligte, insbesondere Kinder, aus dem Arbeitsbereich fern. Das Fahrzeug darf niemals von Kindern betrieben werden.
Halten Sie die Maschine an, stellen Sie den Motor ab, und ziehen Sie den Schlüssel ab, bevor Sie Wartungsarbeiten durchführen.
Der unsachgemäße Einsatz oder die falsche Wartung
dieser Maschine kann zu Verletzungen führen. Befolgen Sie zur
Verringerung des Verletzungsrisikos diese Sicherheitshinweise und
beachten Sie das Warnsymbol
mit der Bedeutung Achtung, Warnung oder Gefahr
– Sicherheitsrisiko. Wenn diese Hinweise nicht beachtet werden,
kann es zu schweren bis tödlichen Verletzungen kommen.
![]() |
Die Sicherheits- und Bedienungsaufkleber sind für den Bediener gut sichtbar und befinden sich in der Nähe der möglichen Gefahrenbereiche. Tauschen Sie beschädigte oder verloren gegangene Aufkleber aus. |
















Für diesen Arbeitsschritt erforderliche Teile:
| Lenkrad | 1 |
| Schraube | 5 |
| Feder | 2 |
| Lenkradabdeckung | 1 |
| Radclip | 1 |
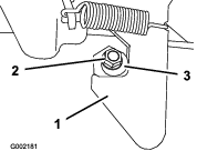
Beziehen Sie sich für diesen Schritt auf Bild 3.
Setzen Sie das Lenkrad auf die Lenkwelle.
Vergewissern Sie sich, dass das Lenkrad zentriert ist (d. h. die flache Unterseite sollte parallel zur Oberfläche sein).
Verwenden Sie die Sicherungsmutter, um das Lenkrad an der Lenkwelle zu befestigen.
Ziehen Sie die Sicherungsmutter auf ein Drehmoment von 27 N∙m an.
Verwenden Sie zwei Schrauben und zwei Federn, um die Radklammer an der Radabdeckung zu befestigen.
Befestigen Sie die Lenkradabdeckung mit drei Schrauben am Lenkrad.
Ziehen Sie die fünf Schrauben auf ein Drehmoment von 0,6 N∙m an.

Laden Sie das Fahrzeug auf, siehe Funktionsweise des Ladegeräts für Lithium-Ionen-Akkus.
Prüfen Sie den Füllstand der Bremsflüssigkeit vor dem Starten des Fahrzeugs, siehe Prüfen der Bremsflüssigkeit
Prüfen Sie den Füllstand des Getriebeöls vor dem Starten des Fahrzeugs, siehe Prüfen des Getriebeölstands.
Prüfen Sie den Reifendruck; siehe Prüfen des Reifendrucks.
Die Bremsen müssen vor dem Verwenden des Fahrzeugs eingefahren werden, um eine optimale Bremsleistung zu gewährleisten.
Zum Einfahren der Bremsen fahren Sie mit Höchstgeschwindigkeit, betätigen dann die Bremsen, um das Fahrzeug schnell ohne Blockieren der Reifen anzuhalten.
Wiederholen Sie diesen Schritt 10 Mal, warten Sie 1 Minute zwischen den Stopps, damit die Bremsen nicht zu heiß werden.

Note: Das Lenkrad ist zur besseren Übersichtlichkeit in Bild 5 ausgeblendet.

Mit dem Fahrpedal stellen Sie die Fahrgeschwindigkeit des Fahrzeugs ein. Wenn Sie auf das Fahrpedal treten, fährt das Fahrzeug los. Wenn Sie auf das Pedal weiter durchtreten, erhöht sich die Fahrgeschwindigkeit. Beim langsamen Loslassen des Pedals verlangsamt sich das Fahrzeug und der Motor wird abgestellt.
Die Vorwärtsgeschwindigkeit in der Betriebsart Leistung“ beträgt 26 km/h.
Die Vorwärtsgeschwindigkeit in der Betriebsart Eco“ beträgt 18 km/h.
Mit dem Bremspedal verlangsamen oder halten Sie das Fahrzeug an.
Der Betrieb des Fahrzeugs mit abgenutzten oder falsch eingestellten Bremsen kann zu Verletzungen führen.
Die Bremsen müssen nachgestellt oder repariert werden, wenn das Bremspedalspiel bis zu 25 mm vom Fahrzeugboden beträgt.
Der Ganghebel (Bild 5) besitzt zwei Stellungen: VORWäRTS und RüCKWäRTS.
Note: Das Fahrzeug kann in jeder der beiden Stellungen sein, kann aber nur in den VORWäRTS- und RüCKWäRTS-Stellungen bewegt werden.
Drücken Sie den Hupenschalter (Bild 5), um die Hupe zu betätigen.
Schalten Sie die Scheinwerfer mit dem Scheinwerferschalter (Bild 5) ein. Drücken Sie den Scheinwerferschalter nach oben, um die Scheinwerfer einzuschalten. Drücken Sie den Scheinwerferschalter nach unten, um die Scheinwerfer auszuschalten.
Über den USB Anschluss (Bild 5) können Sie Ihr Mobilgerät mit Strom versorgen.
Important: Wenn Sie den USB-Anschluss nicht verwenden, stecken Sie den Gummistopfen ein, um eine Beschädigung des Anschlusses zu vermeiden.
Mit dem Schlüsselschalter (Bild 5) können Sie das Fahrzeug ein- und ausschalten oder das Fahrzeug in die Betriebsart TRANSPORT versetzen.
Der Schlüsselschalter hat drei Stellungen: ON [Ein], OFF [Aus] und TRANSPORT .
Drehen Sie den Zündschlüssel nach rechts in die EIN-Stellung, um das Fahrzeug einzusetzen.
Wenn das Fahrzeug gestoppt ist, drehen Sie den Schlüssel nach links in die AUS-Stellung, um das Fahrzeug abzustellen. Ziehen Sie den Schlüssel ab, wenn Sie das Fahrzeug verlassen.
Drehen Sie den Schlüsselschalter und halten Sie ihn fünf (5) Sekunden lang gedrückt, um die Feststellbremse zu lösen und in die TRANSPORT-Stellung zu gelangen.
Das Display zeigt Informationen über Ihr Fahrzeug an, zum Beispiel Betriebszustand, unterschiedliche Diagnose- und andere Fahrzeuginformationen (Bild 6).

Es gibt einen Begrüßungsbildschirm, einen Betriebsbildschirm und einen Ladebildschirm auf dem Display (Bild 7, Bild 8 und Bild 9).
Bild 8 zeigt an, was Sie im Display sehen können, wenn Sie das Fahrzeug betreiben. Der Begrüßungsbildschirm wird einige Sekunden lang angezeigt, nachdem Sie den Schlüssel in die EIN-Stellung gedreht haben, dann wird der Betriebsbildschirm angezeigt.



Der Betriebsbildschirm mit der Richtungsanzeige (Bild 10) wird eingeblendet, wenn Sie die Richtung ändern.

Wenn Sie das Fahrzeug steuern, wird auf dem Betriebsbildschirm die aktuelle Fahrgeschwindigkeit angezeigt (Bild 11).

Ein aktiver Störungscode (Bild 12) wird auf der Anzeige eingeblendet, wenn am Fahrzeug eine Störung aufgetreten ist.

Wenn die Anzeige für einen kalten Akku (Bild 13) während des Betriebs auf dem Betriebsbildschirm blinkt, ändert sich die Leistung des Fahrzeugs, bis die Akkutemperatur über 0°C liegt.

Die Anzeige für einen kalten Akku erscheint auch auf dem Ladebildschirm (Bild 14), wenn die Akkus zu kalt sind, um geladen zu werden.

![]() | Richtung: VORWäRTSstellung |
![]() | Transport: NEUTRAL-Stellung |
![]() | Richtung: RüCKWäRTSstellung |
![]() | Feststellbremse ist aktiviert. |
![]() | Betriebsstundenzähler |
![]() | Akkuspannung |
![]() | Akku-Ladestand |
![]() |
Akku wird aktuell geladen |
![]() |
Hinweis geringer Ladezustand des Akkus |
![]() | Eco-Modus ist aktiviert. |
![]() | Aktive Störung |
![]() | Anzeige für heißen Akku: die Temperatur des Akkus ist höher als 67°C |
![]() | Anzeige für kalten Akku: die Temperatur des Akkus ist niedriger als 0°C |
![]() | Die Akkus sind zu kalt, um geladen zu werden. |
Der Geschwindigkeitsbegrenzungsschalter (Bild 15) unter dem Sitz hat zwei Stellungen: PERFORMANCE [Leistung] und ECONOMY [Eco]. Drehen Sie den Schalter nach rechts in die ECONOMY-Stellung, um die Höchstgeschwindigkeit der Maschine auf 18 km/h zu begrenzen. Drehen Sie den Schalter nach links in die LEISTUNG-Stellung, um die Höchstgeschwindigkeit der Maschine von 26 km/h wieder herzustellen.

Die Handgriffe, an denen sich Beifahrer festhalten können, befinden sich an der rechten Seite des Armaturenbretts sowie den Außenseiten der Sitze (Bild 16).

Note: Technische und konstruktive Änderungen vorbehalten.
| Grundgewicht | Trocken: 571 kg |
| Nennleistung (auf ebener Fläche) | 767 kg insgesamt, einschließlich Bediener (90,7 kg) und Passagier (90,7 kg), Last, Gewicht der Anhängerkupplung, Bruttoanhängergewicht, Zubehör und Anbaugeräte. |
| Bruttofahrzeuggewicht auf ebener Fläche | 1.338 kg insgesamt, einschließlich aller o. g. Gewichte |
| Maximale Lastkapazität (auf ebener Fläche) | 567 kg insgesamt, einschl. Anhängerkupplungsgewicht und Bruttoanhängergewicht |
| Schleppkapazität: | |
| Normale Anbauvorrichtung | Anhängerkupplungsgewicht: 45 kg |
| Brutto-Anhängergewicht: 363 kg | |
| Professionelle Anbauvorrichtung | Anhängerkupplungsgewicht: 45 kg |
| Brutto-Anhängergewicht: 544 kg | |
| Gesamtbreite | 155 cm |
| Gesamtlänge | 307 cm |
| Bodenfreiheit | 28 cm vorne ohne Last oder Bediener, 17 cm hinten ohne Last oder Bediener. |
| Radstand | 206 cm |
| Radspur (Mittellinie zu Mittellinie) | 125 cm vorne, 120 cm hinten |
| Länge der Ladepritsche | 113 cm, 137 cm Außenseite |
| Breite der Ladepritsche | 125 cm innen, 155 cm an der Außenseite der geformten Kotflügel |
| Höhe der Ladepritsche | 25 cm innen |
Ein Sortiment an Originalanbaugeräten und -zubehör von Toro wird für dieses Fahrzeug angeboten, um den Funktionsumfang des Geräts zu erhöhen und zu erweitern. Wenden Sie sich an Ihren offiziellen Toro-Vertragshändler oder navigieren Sie auf www.Toro.com für eine Liste der zugelassenen Anbaugeräte und des Zubehörs.
Verwenden Sie, um die optimale Leistung und Sicherheit zu gewährleisten, nur Originalersatzteile und -zubehörteile von Toro. Ersatzteile und Zubehör anderer Hersteller können gefährlich sein und eine Verwendung könnte die Garantie ungültig machen.
Lassen Sie niemals Kinder oder Personen, die nicht ausgebildet oder körperlich nicht in der Lage sind, die Maschine bedienen oder warten. Örtliche Vorschriften bestimmen u. U. das Mindestalter von Benutzern. Der Besitzer ist für die Schulung aller Bediener und Mechaniker verantwortlich.
Machen Sie sich mit dem sicheren Betrieb der Maschine sowie den Bedienelementen und Sicherheitssymbolen vertraut.
Stellen Sie vor dem Verlassen des Fahrersitzes die Maschine ab, ziehen den Schlüssel ab und warten, bis alle beweglichen Teile zum Stillstand gekommen sind. Lassen das Fahrzeug abkühlen, bevor Sie es einstellen, warten, reinigen, oder einlagern.
Sie müssen wissen, wie Sie das Fahrzeug schnell anhalten und den Motor abstellen können.
Stellen Sie sicher, dass nicht mehr Insassen (Sie und Ihr(e) Beifahrer) mitnehmen, als die Anzahl der an der Maschine angebrachten Haltegriffe.
Prüfen Sie, ob alle Sicherheitsvorrichtungen und Aufkleber angebracht sind. Reparieren oder ersetzen Sie alle Sicherheitsvorrichtungen und tauschen Sie alle unlesbaren oder fehlenden Aufkleber aus. Verwenden Sie das Fahrzeug nur, wenn sie vorhanden und funktionsfähig sind.
| Wartungsintervall | Wartungsmaßnahmen |
|---|---|
| Bei jeder Verwendung oder täglich |
|
Führen Sie vor dem täglichen Anlassen der Maschine die Schritte aus, die vor jeder Verwendung bzw. täglich fällig sind, die in aufgeführt sind.
| Wartungsintervall | Wartungsmaßnahmen |
|---|---|
| Bei jeder Verwendung oder täglich |
|
Reifendruckbereich: 0,55-1,03 bar
Important: Überschreiten Sie nicht den Höchstdruck, der auf der Seite der Reifen angegeben ist.
Note: Der erforderliche Reifendruck hängt von der mitgeführten Nutzlast ab.
Prüfen Sie den Druck in allen Reifen.
Note: Der Reifendruck in den Vorder- und Hinterreifen sollte zwischen 0,55 und 1,03 bar liegen.
Verwenden Sie einen niedrigeren Reifendruck für leichte Nutzlasten, eine geringere Bodenverdichtung, ein besseres Fahrverhalten und weniger Reifenabdrücke auf dem Boden.
Verwenden Sie einen höheren Reifendruck beim Befördern schwerer Nutzlasten bei hohen Fahrgeschwindigkeiten.
Pumpen Sie Luft in die Reifen oder lassen Sie sie ab, um den Druck in allen Reifen einzustellen.

| Wartungsintervall | Wartungsmaßnahmen |
|---|---|
| Nach 100 Betriebsstunden |
|
Halten Sie die Richtlinien für das Einfahren eines neuen Fahrzeugs für die richtige Leistung und lange Haltbarkeit des Fahrzeugs ein.
Vergewissern Sie sich, dass die Bremsen eingefahren sind; siehe Abschnitt Einfahren“ im Kapitel Einrichten“.
Prüfen Sie die Bremsflüssigkeit, siehe Prüfen der Bremsflüssigkeit.
Siehe für mögliche Sonderanweisungen für die ersten Betriebsstunden.
Prüfen Sie die Position der vorderen und hinteren Aufhängung und stellen diese bei Bedarf ein, siehe Einstellen der Vorderradausrichtung.
Um eine optimale Akkuleistung und -lebensdauer zu gewährleisten, sollten Sie die Akkus bei Erhalt Ihres Geräts auf 100 % aufladen.
Der Besitzer bzw. Bediener ist für Unfälle oder Verletzungen von Dritten sowie Sachschäden verantwortlich und kann diese verhindern.
Passagiere sollten nur in den angegebenen Sitzpositionen sitzen. Nehmen Sie nie Passagiere in der Ladepritsche mit. Halten Sie Unbeteiligte und Haustiere während der Verwendung der Maschine fern.
Tragen Sie geeignete Kleidung, u. a. eine Schutzbrille, lange Hosen und rutschfeste Arbeitsschuhe. Binden Sie lange Haare hinten zusammen und tragen Sie keinen Schmuck oder weite Kleidung.
Konzentrieren Sie sich immer bei der Verwendung der Maschine. Tun Sie nichts, was Sie ablenken könnte, sonst können Verletzungen oder Sachschäden auftreten.
Setzen Sie das Fahrzeug nicht ein, wenn Sie müde oder krank sind oder unter Alkohol- oder Drogeneinfluss stehen.
Überschreiten Sie nicht das maximale Bruttogewicht des Fahrzeugs.
Passen Sie besonders auf, wenn Sie das Fahrzeug mit einer schweren Last auf der Ladepritsche abbremsen oder wenden.
Beim Befördern von überdimensionierten Ladungen in der Ladepritsche ist die Stabilität des Fahrzeugs verringert. Die Tragfähigkeit der Ladefläche darf nicht überschritten werden.
Das Befördern von Material, das nicht an der Maschine befestigt werden kann, kann das Lenkverhalten, die Bremsen und die Stabilität der Maschine beeinträchtigen. Wenn Sie Material transportieren, das nicht auf der Maschine befestigt werden kann, müssen Sie beim Steuern oder Bremsen besonders vorsichtig vorgehen.
Verringern Sie die Fahrgeschwindigkeit der Maschine und die beförderte Last beim Einsatz in unebenem Gelände, bei unebenem Boden und in der Nähe von Bordsteinen, Löchern und plötzlichen Veränderungen im Gelände. Ladungen können sich verlagern. Dies kann die Maschine instabil machen.
Stellen Sie vor dem Starten der Maschine sicher, dass die Feststellbremse aktiviert ist und Sie in der Bedienerposition sind.
Wenn sich die Maschine bewegt, müssen Sie und Ihr Passagier sitzen bleiben. Halten Sie das Lenkrad mit beiden Händen fest. Die Passagiere sollten die Handgriffe verwenden. Halten Sie die Arme und Beine immer im Innern der Maschine.
Setzen Sie die Maschine nur bei guten Sichtverhältnissen ein. Achten Sie auf Löcher, Rillen, Bodenwellen, Steine oder andere verborgene Objekte. Die Maschine könnte sich in unebenem Terrain überschlagen. Hohes Gras kann Hindernisse verdecken. Seien Sie vorsichtig, wenn Sie sich unübersichtlichen Kurven, Sträuchern, Bäumen und anderen Objekten nähern, die Ihre Sicht behindern können.
Setzen Sie das Fahrzeug nicht in der Nähe von steilen Gefällen, Gräben oder Böschungen ein. Das Fahrzeug könnte plötzlich umkippen, wenn ein Rad über den Rand fährt oder die Böschung nachgibt.
Achten Sie auf und vermeiden niedrige Überhänge, wie z. B. Äste, Türbalken und Gehbühnen usw.
Schauen Sie hinter sich und nach unten, um vor dem Rückwärtsfahren sicherzustellen, dass der Weg frei ist.
Bei der Verwendung der Maschine im öffentlichen Straßenverkehr müssen Sie alle Verkehrsvorschriften einhalten; die Maschine muss auch mit dem gesetzlich vorgeschriebenen Zubehör ausgestattet sein, u. a. Scheinwerfer, Blinker, Schilder für ein langsam fahrendes Fahrzeug usw.
Stellen Sie die Maschine sofort ab, wenn die Maschine ungewöhnlich stark vibriert, warten Sie bis alle Teile zum kompletten Stillstand gekommen sind, und prüfen Sie die Maschine dann auf eventuelle Schäden. Reparieren Sie alle Schäden, bevor Sie die Maschine erneut einsetzen.
Der Bremsweg kann bei Nässe im Vergleich zu trockenen Oberflächen länger sein. Fahren Sie zum Austrocknen nasser Bremsen langsam auf einer ebenen Fläche und treten Sie gleichzeitig etwas auf das Bremspedal.
Wenn Sie mit der Maschine schnell fahren und dann plötzlich anhalten, können die Hinterräder blockieren; dies verringert Ihre Kontrolle über die Maschine.
Berühren Sie nicht den Motor, während er läuft bzw. kurz nach dem Abstellen, da diese Bereiche so heiß sein können, dass sie Verbrennungen erleiden.
Lassen Sie niemals eine laufende Maschine unbeaufsichtigt zurück.
Vor dem Verlassen der Bedienposition:
Stellen Sie das Fahrzeug auf einer ebenen Fläche ab.
Stellen Sie sicher, dass die Feststellbremse aktiviert ist.
Stellen Sie den Motor ab und ziehen den Zündschlüssel ab.
Warten Sie, bis alle beweglichen Teile zum Stillstand gekommen sind.
Verwenden Sie die Maschine nie bei möglichen Gewittern.
Verwenden Sie nur von The Toro Company zugelassenes Zubehör und Anbaugeräte.
Note: Für diese Maschine ist ein Überrollschutz mit zwei Streben als Zubehör erhältlich. Verwenden Sie einen Überrollschutz, wenn Sie in der Nähe von Abhängen, Gewässern, auf unebenem Terrain oder an Hanglagen arbeiten, da die Gefahr eines Überschlagens besteht. Wenden Sie sich an den offiziellen Toro-Vertragshändler für weitere Informationen.
Hanglagen sind eine wesentliche Ursache für den Verlust der Kontrolle und Umkippunfälle, die zu schweren oder tödlichen Verletzungen führen können.
Begutachten Sie den Arbeitsbereich und ermitteln Sie, an welchen Hanglagen das Fahrzeug sicher eingesetzt werden kann; legen Sie Ihre eigenen Schritte und Regeln für das Arbeiten an diesen Hanglagen fest. Setzen Sie immer gesunden Menschenverstand ein, wenn Sie diese Ortsbegehung durchführen.
Wenn Sie sich auf einer Hanglage unsicher fühlen, arbeiten Sie dort nicht.
Führen Sie alle Bewegungen an Hängen langsam und schrittweise durch. Ändern Sie nicht plötzlich die Geschwindigkeit oder Richtung des Fahrzeugs.
Vermeiden Sie einen Einsatz des Fahrzeugs auf nassem Terrain. Reifen können Haftung verlieren. Ein Überschlagen kann auftreten, bevor die Reifen die Bodenhaftung verlieren.
Fahren Sie Hanglagen gerade hoch und hinunter.
Wenn Sie beim Befahren einer Hanglage den Antrieb verlieren, bremsen Sie vorsichtig und fahren Sie dann langsam in einer geraden Linie rückwärts den Hang hinunter.
Das Wenden beim Auf- oder Abwärtsfahren an Hanglagen kann gefährlich sein. Wenn Sie an einer Hanglage wenden müssen, tun Sie dies langsam und vorsichtig.
Schwere Lasten wirken sich auf die Stabilität an Hanglagen aus. Befördern Sie eine geringere Last und reduzieren Sie die Fahrgeschwindigkeit, wenn Sie an einer Hanglage arbeiten oder die Last einen hohen Schwerpunkt hat. Befestigen Sie die Ladung auf der Ladepritsche des Fahrzeugs, damit sie sich nicht verlagert. Passen Sie besonders beim Befördern von Lasten auf, die leicht verrutschen (z. B. Flüssigkeiten, Steine, Sand usw.).
Vermeiden Sie das Starten, Anhalten oder Wenden an Hanglagen, besonders mit einer Last. Der Bremsweg ist beim Herunterfahren einer Hanglage länger als auf ebenen Flächen. Wenn Sie die Maschine anhalten müssen, vermeiden Sie plötzliche Geschwindigkeitsänderungen, die zum Umkippen oder Überschlagen der Maschine führen können. Bremsen Sie nicht plötzlich, wenn Sie rückwärts rollen, da dies zum Umkippen der Maschine führen kann.
Überschreiten Sie nicht das Bruttofahrzeuggewicht der Maschine, wenn Sie sie mit einer Last in der Ladepritsche einsetzen und/oder einen Anhänger schleppen; siehe Technische Daten.
Verteilen Sie die Last in der Ladepritsche gleichmäßig, um die Stabilität und die Kontrolle über die Maschine zu verbessern.
Stellen Sie vor dem Entladen sicher, dass genug Platz hinter der Maschine vorhanden ist.
Entleeren Sie eine beladene Ladepritsche nicht, wenn die Maschine seitlich zum Hang steht. Die Veränderung der Gewichtsverteilung kann zum Umkippen der Maschine führen.
Eine angehobene Ladepritsche kann herunterfallen und darunter befindliche Personen verletzen.
Stützen Sie die Ladepritsche immer mit der Stützstange ab, wenn Sie unter der angehobenen Ladepritsche arbeiten.
Entfernen Sie jede Ladung aus der Ladepritsche, bevor Sie sie anheben.
Wenn Sie mit der Maschine mit angehobener Ladepritsche fahren, kann die Maschine leichter umkippen oder sich überschlagen. Sie können die Stauboxstruktur beschädigen, wenn Sie die Maschine mit angehobener Ladepritsche verwenden.
Setzen Sie die Maschine bei abgesenkter Ladepritsche ein.
Senken Sie die Ladepritsche nach dem Entleeren ab.
Wenn eine Last hauptsächlich hinten an der Ladepritsche aufliegt und Sie die Riegel lösen, kann die Ladepritsche plötzlich kippen und sich öffnen und Sie oder Unbeteiligte verletzen.
Zentrieren Sie Lasten (falls möglich) in der Ladepritsche.
Halten Sie die Ladepritsche fest und stellen Sie sicher, dass sich keine Person über die Ladepritsche lehnt oder hinter ihr steht, wenn Sie die Riegel lösen.
Entfernen Sie die ganze Last aus der Ladepritsche, bevor Sie die Ladepritsche abheben, um die Maschine zu warten.
Die Ladepritsche ist u. U. schwer. Hände und andere Körperteile können zerquetscht werden.
Halten Sie Ihre Hände und andere Körperteile fern, wenn Sie die Ladepritsche absenken.
Stellen Sie sicher, dass die Ladepritsche abgesenkt und verriegelt ist.
Heben Sie die Fingerzüge an der Rückplatte der Heckklappe an (Bild 20).

Fluchten Sie die Riegelflansche an der Heckklappe mit den Öffnungen zwischen den Heckklappenflanschen an der Ladepritsche aus (Bild 20).
Drehen Sie die Heckklappe nach hinten und unten (Bild 20).
Wenn Sie Schüttgut von der Ladepritsche der Maschine entladen haben, wie z. B. Sand, Steine oder Holzspäne, hat sich etwas Material, das Sie entladen haben, u. U. im Scharnierbereich der Heckklappe verklemmt. Führen Sie vor dem Schließen der Heckklappe Folgendes aus.
Entfernen Sie mit der Hand so viel wie möglich Material vom Scharnierbereich.
Drehen Sie die Heckklappe auf eine ungefähre Stellung von 45° (Bild 21).

Drehen Sie die Heckklappe mehrmals mit kurzen, schüttelnden Bewegungen (Bild 21).
Note: Dies entfernt Material vom Scharnierbereich.
Senken Sie die Heckklappe ab und prüfen Sie den Scharnierbereich auf Restmaterial.
Wiederholen Sie die Schritte 1 bis 4, bis das Material vom Scharnierbereich entfernt ist.
Drehen Sie die Heckklappe nach oben und vorne, bis die Riegelflansche an der Heckklappe mit den Heckklappenaussparungen an der Ladepritsche bündig sind (Bild 20).
Note: Heben Sie die Heckklappe an oder senken sie ab, um die Riegelflansche an der Heckklappe mit den vertikalen Öffnungen zwischen den Heckklappenflanschen an der Ladepritsche auszufluchten.
Senken Sie die Heckklappe ab, bis sie im Heck der Ladepritsche sitzt (Bild 20).
Note: Die Riegelflansche an der Heckklappe werden ganz von den Heckklappenflanschen an der Ladepritsche arretiert.
Auf dem Display wird der Ladezustand des Akkus angezeigt, siehe Display.
Wenn der Ladezustand des Akkus zu niedrig wird (d. h. unter 10%), wird auf der Anzeige ein Hinweis für einen niedrigen Ladezustand des Akkus angezeigt. Wenn Sie mit diesem Ladezustand des Akkus arbeiten, fahren Sie das Fahrzeug in einen Bereich an dem Sie den Akku aufladen können und laden Sie den Akku auf, siehe Funktionsweise des Ladegeräts für Lithium-Ionen-Akkus.
Wenn der Ladezustand des Akkus nicht mehr angezeigt wird bzw. leer ist, arbeitet das Fahrzeug mit einer reduzierten Geschwindigkeit (d. h. 5 km/h).
Important: Wenn Sie das Fahrzeug auf einem Gefälle anhalten, halten Sie das Fahrzeug mit der Betriebsbremse an, damit sich das Fahrzeug nicht bewegt. Wenn Sie den Motor mit dem Fahrpedal an einer Hanglage zum Stillstand bringen, kann der Motor überhitzt oder die Akkus können entladen werden.
Nehmen Sie den Fuß vom Fahrpedal.
Treten Sie langsam auf das Bremspedal, um die Betriebsbremsen zu aktivieren, bis das Fahrzeug zum Stillstand gekommen ist. Die Feststellbremse wird aktiviert, wenn das Fahrzeug zum Stillstand kommt.
Note: Der Bremsweg hängt von der Last und der Geschwindigkeit der Maschine ab.
Verwenden Sie die folgenden Richtlinien beim Beladen der Ladepritsche und der Verwendung der Maschine:
Halten Sie die Nutzlast der Maschine ein und begrenzen Sie das Gewicht auf die Last, die Sie in der Ladepritsche befördern können, siehe Technische Daten, und die auf dem Aufkleber für das Bruttofahrzeuggewicht an der Maschine angegeben ist.
Note: Die angegebenen Lastgrenzen für die Maschine gelten nur auf ebenen Flächen.
Verringern Sie das Gewicht der Ladung, die Sie in der Ladepritsche befördern, wenn Sie die Maschine auf Hanglagen und in unebenem Terrain einsetzen.
Verringern Sie das Gewicht der beförderten Ladung, wenn Sie große Materialien (mit einem hohen Schwerpunkt) befördern, u. a. einen Stapel Ziegel, Holz für den Landschaftsbau oder Düngersäcke. Verteilen Sie die Last so flach wie möglich, um sicherzustellen, dass sie Ihre Sicht nach hinten nicht einschränkt.
Zentrieren Sie die Last und beladen Sie die Ladepritsche wie folgt:
Verteilen Sie das Gewicht gleichmäßig seitlich in der Ladepritsche.
Important: Ein Umkippen ist wahrscheinlicher, wenn die Ladepritsche einseitig beladen ist.
Verteilen Sie das Gewicht in der Ladepritsche gleichmäßig in Längsrichtung.
Important: Wenn Sie die Ladung hinter der Hinterachse positionieren und der Antrieb auf die Vorderräder verringert ist, ist ein Verlust der Maschinenkontrolle oder ein Umkippen wahrscheinlicher.
Passen Sie besonders auf, wenn Sie überdimensionierte Ladungen in der Ladepritsche befördern, insbesondere wenn Sie das Gewicht der überdimensionalen Ladung nicht in der Ladepritsche zentrieren können.
Vergurten Sie die Ladung falls möglich an der Ladepritsche, damit sie sich nicht verlagert.
Gehen Sie beim Transport von Flüssigkeiten vorsichtig vor, wenn Sie die Maschine hangauf oder hangab fahren, wenn Sie die Geschwindigkeit plötzlich ändern oder anhalten oder wenn Sie über raue Oberflächen fahren.
Die Staubox hat ein Fassungsvermögen von 0,37 m3. Die Menge (das Volumen) des Materials, das in der Ladepritsche aufgenommen werden kann, ohne die Nutzlast der Maschine zu überschreiten, hängt stark von der Dichte des Materials ab.
Beachten Sie für die Lastgrenzen verschiedener Materialien die nachstehende Tabelle:
| Material | Dichte | Maximale Stauboxkapazität(auf ebener Oberfläche) |
| Kies, trocken | 1.522 kg/m3 | Voll |
| Kies, nass | 1.922 kg/m3 | 3/4 voll |
| Sand, trocken | 1.442 kg/m3 | Voll |
| Sand, nass | 1.922 kg/m3 | 3/4 voll |
| Holz | 721 kg/m3 | Voll |
| Rinde | < 721 kg/m3 | Voll |
| Erde, kompakt | 1.602 kg/m3 | 3/4 voll (ca.) |
Vor dem Verlassen der Bedienposition:
Stellen Sie das Fahrzeug auf einer ebenen Fläche ab.
Stellen Sie sicher, dass die Feststellbremse aktiviert ist.
Stellen Sie den Motor ab und ziehen den Zündschlüssel ab.
Warten Sie, bis alle beweglichen Teile zum Stillstand gekommen sind.
Lassen das Fahrzeug abkühlen, bevor Sie es einstellen, warten, reinigen, oder einlagern.
Lagern Sie die Maschine nicht an Orten mit offener Flamme, Funken oder Zündflamme, z. B. Warmwasserbereiter oder anderen Geräten.
Halten Sie alle Teile der Maschine in gutem Betriebszustand und alle Befestigungen angezogen.
Pflegen und reinigen Sie die Sicherheitsgurte bei Bedarf.
Ersetzen Sie alle abgenutzten oder fehlenden Aufkleber.
WARNUNG: Brand- und Stromschlaggefahr - Der Akku besitzt keine vom Benutzer zu wartenden Teile.
Überprüfen Sie, welche Spannung in Ihrem Land zur Verfügung steht, bevor Sie das Ladegerät verwenden.
Laden Sie die Maschine nicht unter feuchten Umgebungsbedingungen auf; schützen Sie sie vor Regen und Schnee.
Die Verwendung eines nicht von Toro empfohlenen oder verkauften Zubehörteils birgt Brand-, Stromschlag oder Verletzungsgefahr.
Um die Gefahr einer Akkuexplosion zu verringern, befolgen Sie diese Anweisungen und die Anweisungen für alle Geräte, die Sie in der Nähe des Ladegeräts verwenden möchten.
Akkus können explosive Gase erzeugen, wenn sie erheblich überladen werden.
Lassen Sie Servicearbeiten am Akku oder den Akkuwechsel von einem offiziellen Toro Vertragshändler ausführen.
Kinder oder nicht geschulte Personen dürfen das Ladegerät weder verwenden noch warten. Örtliche Vorschriften bestimmen u. U. das Mindestalter von Benutzern. Der Besitzer ist für die Schulung aller Bediener und Mechaniker verantwortlich.
Lesen, verstehen und befolgen Sie alle Anweisungen auf dem Ladegerät und im Handbuch ein, bevor Sie das Ladegerät verwenden. Machen Sie sich mit der ordnungsgemäßen Verwendung des Ladegeräts vertraut.
Halten Sie Unbeteiligte und Kinder vom Ladevorgang fern.
Schalten Sie das Fahrzeug aus und warten Sie, bis das Fahrzeug vollständig abgeschaltet ist, bevor Sie den Akku aufladen. Andernfalls kann es zu Lichtbogenbildung kommen.
Verwenden Sie das Ladegerät nur innerhalb des Spannungsbereichs, der in dieser Bedienungsanleitung angegeben ist, verwenden Sie nur ein von Toro zugelassenes Netzkabel.
Wenden Sie sich an Ihren autorisierten Toro-Händler, um das richtige Ladegerät und Netzkabel zu erhalten.
Laden Sie einen eingefrorenen Akku nicht auf.
Verwenden Sie das Kabel nicht unsachgemäß. Ziehen Sie nicht am Netzkabel, um das Ladegerät von der Steckdose zu trennen. Bewahren Sie das Netzkabel geschützt vor Hitze, Öl und scharfen Kanten auf.
Schließen Sie das Ladegerät direkt an eine geerdete Steckdose an. Verwenden Sie das Ladegerät nicht an einer ungeerdeten Steckdose, auch nicht mit einen Erdungsstecker.
Modifizieren Sie nicht das mitgelieferte Netzkabel oder den Stecker.
Entfernen Sie Metallgegenstände wie Ringe, Armbänder, Ketten und Uhren, wenn Sie mit einer Lithium-Ionen-Akku arbeiten. Ein Lithium-Ionen-Akku erzeugt genug Strom, dass schwere Verbrennungen auftreten können.
Verwenden Sie ein Verlängerungskabel, das für die in dieser Bedienungsanleitung angegebene Ladestromstärke geeignet ist. Wenn Sie das Gerät im Freien aufladen, verwenden Sie ein Verlängerungskabel, das für den Außeneinsatz geeignet ist.
Wenn das Stromkabel beschädigt wird, während es die Steckdose eingesteckt ist, ziehen Sie das Kabel aus der Steckdose und erwerben Sie ein Ersatzkabel vom offiziellen Toro-Händler.
Ziehen Sie das Ladegerät aus der Steckdose, wenn Sie es nicht verwenden, bevor Sie es an einen anderen Ort stellen und bevor Sie es warten.
Demontieren Sie das Ladegerät nicht.
Lassen Sie Kundendienst- oder Wartungsarbeiten von einem offiziellen Toro Vertragshändler ausführen.
Ziehen Sie das Stromkabel aus der Steckdose, bevor Sie Wartungs- oder Reinigungsarbeiten ausführen, um das Risiko eines Stromschlags zu verringern.
Halten Sie die Sicherheits- und Anweisungsaufkleber in einem guten Zustand und tauschen Sie sie bei Bedarf aus.
Benutzen Sie das Ladegerät nicht, wenn das Kabel oder der Stecker beschädigt sind. Wenden Sie sich an einen Toro Vertragshändler, um ein Ersatzkabel zu erhalten.
Verwenden Sie das Ladegerät nicht, wenn es beschädigt ist. Lassen Sie es von einem autorisierten Toro Vertragshändler reparieren.
Gehen Sie beim Verladen und Abladen der Maschine auf einen/von einem Anhänger oder Pritschenwagen vorsichtig vor.
Verwenden Sie durchgehende Rampen für das Verladen der Maschine auf einen Anhänger oder Pritschenwagen.
Vergurten Sie die Maschine.
In Bild 22 und Bild 23 finden Sie die Vergurtungsstellen der Maschine.
Note: Laden Sie die Maschine so auf den Anhänger, dass die Front der Maschine nach vorne zeigt. Falls dies nicht möglich ist, befestigen Sie die Motorhaube der Maschine mit einem Riemen am Rahmen, oder entfernen Sie die Motorhaube und transportieren und befestigen Sie diese getrennt, sonst kann die Motorhaube beim Transport wegfliegen.


Im Notfall lässt sich die Maschine über kürzere Strecken abschleppen, dies sollte jedoch nicht als normale Transportmethode angesehen werden.
Das Abschleppen mit zu hohen Geschwindigkeiten kann zum Verlust der Lenkkontrolle und so zu Verletzungen führen.
Schleppen Sie die Maschine höchstens mit 8 km/h ab.
Zum Abschleppen des Fahrzeugs werden zwei Personen benötigt. Verwenden Sie einen Pritschenwagen oder Anhänger, wenn Sie das Fahrzeug über eine größere Strecke transportieren möchten.
Befestigen Sie ein Abschleppseil an der Anhängevorrichtung vorne am Fahrzeugrahmen.
Drehen Sie den Schlüsselschalter und halten Sie ihn fünf (5) Sekunden lang gedrückt, um die Feststellbremse zu lösen und in die TRANSPORT-Stellung zu gelangen.
Note: Das Symbol N“ (d. h. die NEUTRAL-Stellung) sollte auf der Anzeige erscheinen.
Die Maschine kann einen Anhänger schleppen. Für diese Maschine wird eine Anbauvorrichtung angeboten. Wenden Sie sich an den offiziellen Vertragshändler.
Überlasten Sie weder die Maschine noch den Anhänger, wenn Sie eine Ladung befördern oder einen Anhänger schleppen. Ein Überlasten der Maschine oder des Anhängers kann zu schlechter Leistung und zur Beschädigung der Bremsen, Transaxle, Lenkung, Aufhängung, Rahmenstruktur und der Reifen führen.
Beladen Sie Anhänger immer so, dass 60 % der Nutzlast vorne auf dem Anhänger liegt. Dadurch werden ca. 10 % des Bruttoanhängergewichts auf die Anbauvorrichtung der Maschine verlagert.
Beladen Sie beim Schleppen eines Anhängers immer die Ladepritsche, um eine ausreichende Bremswirkung und Bodenhaftung sicherzustellen. Überschreiten Sie nie das Bruttoanhängergewicht.
Vermeiden Sie das Abstellen einer Maschine mit Anhänger an Hängen. Wenn Sie an einem Hang parken müssen, blockieren Sie die Anhängerräder.
Das amerikanische Verkehrsamt und internationale Transportbehörden verlangen, dass Lithium-Ionen-Akkus in Spezialverpackungen und ausschließlich von zugelassenen Spediteuren transportiert werden dürfen. In den USA können Sie einen in das Fahrzeug eingesetzte Akku als akkugespeistes Gerät unter Einhaltung einiger Vorschriften transportieren. Wenden Sie sich an die entsprechende Behörde in den USA oder im entsprechenden Land, um Informationen zu den Beförderungsvorschriften Ihres Akkus oder des Fahrzeugs mit eingebauten Akkus zu erhalten.
Detaillierte Informationen zum Transport des Akkus erhalten Sie bei Ihrem Toro-Vertragshändler.
Ein Kontakt mit Wasser, während das Fahrzeug geladen wird, könnte einen Stromschlag verursachen, der Verletzungen verursachen oder zum Tod führen kann.
Fassen Sie den Stecker oder das Ladegerät nicht mit nassen Händen an oder wenn Sie im Wasser stehen.
Laden Sie das Fahrzeug nicht im Regen oder bei feuchten Bedingungen.
Dieses Ladegerät ist mit einem dreipoligen geerdeten Stecker (Typ B) ausgestattet, um die Gefahr eines Stromschlags zu verringern. Wenn der Stecker nicht in die Wandsteckdose passt, sind andere Steckerausführungen erhältlich. Treten Sie diesbezüglich mit dem offiziellen Toro-Händler in Kontakt.
Nehmen Sie keinerlei Veränderungen am Ladegerät oder dem Ladekabelstecker vor.
Important: Prüfen Sie das Stromversorgungskabel regelmäßig auf Löcher oder Risse in der Isolierung. Verwenden Sie kein beschädigtes Kabel. Lassen Sie das Kabel nicht durch stehendes Wasser oder feuchtes Gras laufen.
Siehe Bild 24 zu Anforderungen an die Stromquelle.

Stecken Sie das Stromversorgungkabel in die Ladebuchse des Fahrzeugs ein (Bild 25).
Ein beschädigtes Ladekabel kann elektrische Schläge oder einen Brand verursachen.
Prüfen Sie das Netzkabel genau, bevor Sie das Ladegerät einsetzen. Wenn das Kabel beschädigt ist, benutzen Sie das Ladegerät erst wieder, wenn Sie Ersatz erhalten haben.

Stecken Sie den Stecker des Stromversorgungskabels in eine geerdete Steckdose.
Ein Versuch, den Akku mit einem anderen Ladegerät als dem von Toro bereitgestellten zu laden, kann zu starker Hitzeentwicklung und anderen produktbezogenen Defekten führen, die Sachschäden oder Verletzungen verursachen können.
Verwenden Sie zum Aufladen der Akkus die von Toro bereitgestellten Ladegeräte.
Empfohlener Temperaturbereich für das Laden: 0 ° bis 45 °C
Important: Laden Sie den Akku nur bei Temperaturen im empfohlenen Bereich.
Note: Das Ladegerät funktioniert nicht bei Temperaturen, welche die angegebenen Mindest- oder Höchsttemperaturen überschreiten. Die Anzeige zeigt einen zu heißen oder zu kalten Akku an.
Der Ladestatus wird auf der Anzeige dargestellt.
Bei einer Störung erscheint eine Fehlermeldung auf der Anzeige. Lesen Sie zur Fehlerbehebung das Wartungshandbuch des Fahrzeugs.
Entfernen Sie das eingesteckte Stromversorgungskabel an der Ladebuchse des Fahrzeugs.
Bewahren Sie das Ladekabel an einem Ort auf, an dem Schäden vermieden werden.
Schalten Sie das Fahrzeug ein.
Überprüfen Sie den Ladezustand der Akkus, siehe Display.
Die Maschine sollte nie von ungeschulten Personen gewartet werden.
Vor dem Verlassen der Bedienposition:
Stellen Sie das Fahrzeug auf einer ebenen Fläche ab.
Stellen Sie sicher, dass die Feststellbremse aktiviert ist.
Stellen Sie den Motor ab und ziehen den Zündschlüssel ab.
Warten Sie, bis alle beweglichen Teile zum Stillstand gekommen sind.
Lassen das Fahrzeug abkühlen, bevor Sie es einstellen, warten, reinigen, oder einlagern.
Stützen Sie die Maschine mit Achsständern ab, wenn Sie Arbeiten unter der Maschine ausführen.
Arbeiten Sie nicht unter einer angehobenen Ladepritsche, wenn die richtige Sicherheitsstütze für die Ladepritsche nicht angebracht ist.
Laden Sie die Akkus nicht auf, wenn Sie die Maschine warten.
Halten Sie alle Befestigungsmittel ordnungsgemäß angezogen, um den einwandfreien Betriebszustand der Maschine zu gewährleisten.
Halten Sie den Motorraum frei von überflüssigem Schmierfett, Gras, Blättern, und Schmutzablagerungen, um die Brandgefahr zu reduzieren.
Führen Sie Wartungsarbeiten möglichst nicht bei laufendem Motor durch. Fassen Sie keine beweglichen Teile an.
Wenn die Maschine zum Durchführen von Wartungseinstellungen laufen muss, berühren Sie bewegliche Teile nicht mit den Händen, Füßen, Kleidungsstücken, oder anderen Körperteilen. Halten Sie Personen von der Maschine fern.
Überprüfen Sie die Funktion der Feststellbremse, gemäß der Empfehlung im Wartungsplan, und stellen Sie diese nach Bedarf ein und warten Sie diese.
Halten Sie alle Teile der Maschine in gutem Betriebszustand und alle Befestigungsmittel ordnungsgemäß angezogen. Ersetzen Sie abgenutzte und beschädigte Aufkleber.
Beeinträchtigen Sie niemals die beabsichtigte Funktion einer Sicherheitsvorkehrung oder den von einer Sicherheitsvorkehrung vorgesehenen Schutz.
Wenden Sie sich an den Toro-Vertragshändler, falls größere Reparaturen erforderlich sind oder Sie praktische Unterstützung benötigen.
Wenn Sie diese Maschine auf irgendeine Weise verändern, kann sich dies auf das Fahrverhalten, die Leistung, Haltbarkeit und Nützlichkeit auswirken, was Verletzungen ggf. tödliche Verletzungen zur Folge haben kann. Dies kann ggf. die Produktgarantie von The Toro® Company ungültig machen.
| Wartungsintervall | Wartungsmaßnahmen |
|---|---|
| Nach 100 Betriebsstunden |
|
| Bei jeder Verwendung oder täglich |
|
| Alle 100 Betriebsstunden |
|
| Alle 200 Betriebsstunden |
|
| Alle 300 Betriebsstunden |
|
| Alle 400 Betriebsstunden |
|
| Alle 800 Betriebsstunden |
|
| Alle 1000 Betriebsstunden |
|
Note: Laden Sie ein kostenloses Exemplar des elektrischen Schaltbilds von www.Toro.com herunter und suchen Sie Ihre Maschine vom Link für die Bedienungsanleitungen auf der Homepage.
Wenn Sie das Gerät nicht richtig warten, können Gerätesysteme frühzeitig ausfallen und ggf. Sie oder Unbeteiligte verletzen.
Warten Sie das Fahrzeug und halten es in gutem Betriebszustand, wie in diesen Anweisungen angegeben.
Lassen Sie das Fahrzeug nur von geschulten und autorisierten Personen warten, reparieren, einstellen oder prüfen.
Vermeiden Sie Brandgefahr, und haben Sie im Arbeitsbereich Brandschutzgeräte griffbereit. Verwenden Sie keine offene Flamme, um den Flüssigkeits- bzw. Ölstand zu prüfen.
Verwenden Sie zum Reinigen von Bauteilen keine offenen Gefäße mit brennbaren Reinigungsmitteln.
Wenn Sie den Schlüssel im Zündschloss stecken lassen, könnte eine andere Person den Motor versehentlich starten und Sie und Unbeteiligte schwer verletzen.
Stellen Sie das Fahrzeug ab und ziehen Sie den Schlüssel vom Schalter ab, bevor Sie Wartungsarbeiten durchführen.
Kopieren Sie diese Seite für regelmäßige Verwendung.
| Wartungsprüfpunkt | Für KW: | ||||||
|---|---|---|---|---|---|---|---|
| Montag | Dienstag | Mittwoch | Donnerstag | Freitag | Samstag | Sonntag | |
| Prüfen Sie die Funktion der Bremse und der Feststellbremse. | |||||||
| Überprüfen Sie die Funktion des Ganghebels. | |||||||
| Prüfen Sie den Stand der Bremsflüssigkeit. | |||||||
| Achten Sie auf ungewöhnliche Betriebsgeräusche. | |||||||
| Prüfen Sie den Reifendruck. | |||||||
| Prüfen Sie die Dichtheit. | |||||||
| Prüfen Sie die Funktion der Instrumente. | |||||||
| Prüfen Sie die Funktion des Fahrpedals. | |||||||
| Bessern Sie alle Lackschäden aus. | |||||||
| Waschen Sie das Fahrzeug. | |||||||
| Bessern Sie alle Lackschäden aus. | |||||||
Important: Führen Sie alle Wartungsarbeiten doppelt so häufig wie angegeben durch, wenn die Maschine in den nachstehend aufgeführten Bedingungen eingesetzt wird:
Einsatz in Wüstengebieten
Einsatz bei niedrigen Temperaturen unter 10 °C
Schleppen eines Anhängers
Häufiger Einsatz in staubigen Konditionen
Bauarbeiten
Nach längerem Betrieb in Schlamm, Sand, Wasser oder ähnlichen verschmutzten Umgebungen ist wie folgt vorzugehen:
Lassen Sie die Bremsen so schnell wie möglich überprüfen und reinigen. So wird verhindert, dass reibendes Material eine überdurchschnittliche Abnutzung verursacht.
Waschen Sie die Maschine nur mit Wasser oder mit einem milden Reinigungsmittel.
Important: Verwenden Sie zur Reinigung der Maschine kein Brack- oder wiederaufbereitetes Wasser.
Stellen Sie das Fahrzeug auf einer ebenen Fläche ab.
Stellen Sie sicher, dass die Feststellbremse aktiviert ist.
Stellen Sie den Motor ab und ziehen den Zündschlüssel ab.
Ein aufgebocktes Fahrzeug kann instabil sein. Das Fahrzeug kann vom Wagenheber abrutschen und darunter befindliche Personen verletzen.
Lassen Sie den Motor nie an, wenn das Fahrzeug aufgebockt ist.
Ziehen Sie immer den Schlüssel aus dem Schlüsselschalter, bevor Sie vom Fahrzeug absteigen.
Blockieren Sie die Räder, wenn das Fahrzeug von Hebegeräten abgestützt wird.
Stützen Sie das Fahrzeug nach dem Anheben mit Stützböcken ab.
Important: Wenn der Motor für die Durchführung regelmäßiger Wartungsarbeiten und/oder eine Motordiagnostik laufen muss, müssen die Hinterräder der Maschine 25 mm Bodenfreiheit haben und die Hinterachse muss auf Stützböcken abgestützt sein.
Die vordere Hebestelle der Maschine befindet sich vorne am Rahmen hinter der Anhängerkupplung (Bild 26).

Die hintere Hebestelle der Maschine befindet sich unter den Achsrohren (Bild 27).

Heben Sie den Hebel der Gummiriegel an jeder Seite der Motorhaube an (Bild 28).

Öffnen Sie die Haube.
Senken Sie die Motorhaube vorsichtig ab.
Fluchten Sie die Gummiriegel auf den Riegelankern an jeder Seite der Motorhaube aus, um die Motorhaube zu befestigen (Bild 28).
| Wartungsintervall | Wartungsmaßnahmen |
|---|---|
| Alle 300 Betriebsstunden |
|
Fettsorte: Mobilgrease XHP™-222
Heben Sie das Fahrzeug vorne an und stützen Sie es auf Achsständern ab.
Nehmen Sie die vier Radmuttern ab, mit denen das Rad an der Radnabe befestigt ist (Bild 29).

Entfernen Sie die Bundkopfschrauben (3/8" x 3/4"), mit denen die Halterung für die Bremse an der Spindel befestigt ist, und nehmen die Bremse von der Spindel ab (Bild 30).
Note: Stützen Sie die Bremse ab, bevor Sie mit dem nächsten Schritt fortfahren.

Nehmen Sie den Staubdeckel von der Radnabe ab (Bild 31).

Nehmen Sie den Splint und die Mutterbefestigung von der Spindel und der Spindelmutter ab (Bild 31).
Nehmen Sie die Spindelmutter von der Spindel ab und trennen die Radnabe und den Drehzylinder von der Spindel ab (Bild 31 und Bild 32).

Wischen Sie die Spindel mit einem sauberen Lappen ab.
Wiederholen Sie die Schritte 1 bis 7 an der Radnabe und dem Drehzylinder auf der anderen Seite des Fahrzeugs.
Nehmen Sie das Außenlager und den Lagerring von der Radnabe ab (Bild 33).

Nehmen Sie die Dichtung und das Innenlager von der Radnabe ab (Bild 33).
Wischen Sie die Dichtung ab und prüfen sie auf Abnutzung oder Beschädigung.
Note: Reinigen Sie die Dichtung nicht mit Reinigungsmittel. Tauschen Sie die Dichtung aus, wenn sie beschädigt oder abgenutzt ist.
Reinigen Sie die Lager und Lagerringe und prüfen die Teile auf Abnutzung oder Beschädigung.
Note: Ersetzen Sie abgenutzte und beschädigte Teile. Stellen Sie sicher, dass die Lager und Lagerringe sauber und trocken sind.
Entfernen Sie Fett, Schmutz und Rückstände aus dem Hohlraum der Radnabe (Bild 33).
Füllen Sie die Lager mit der angegebenen Fettsorte.
Füllen Sie den Hohlraum der Nabe zu 50 % bis 80 % mit der angegebenen Fettsorte (Bild 33).
Montieren Sie das Innenlager auf dem Lagerring an der Innenseite der Nabe und setzen Sie die Dichtung ein (Bild 33).
Wiederholen Sie die Schritte 1 bis 8 an den Lagern für die andere Radnabe.
Fetten Sie die Spindel leicht mit der angegebenen Fettsorte ein (Bild 34).

Montieren Sie die Radnabe und den Drehzylinder an der Spindel mit dem Drehzylinder innen (Bild 34).
Montieren Sie das Außenlager an der Spindel und setzen das Lager auf den äußeren Lagerring (Bild 34).
Legen Sie die Nasenscheibe auf die Spindel (Bild 34).
Schrauben Sie die Spindelmutter auf die Spindel und ziehen Sie die Mutter auf ein Drehmoment von 15 N∙m an, während Sie die Radnabe drehen um das Lager zu fixieren (Bild 34).
Lösen Sie die Spindelmutter, bis sich die Radnabe ungehindert dreht.
Ziehen Sie die Spindelmutter auf ein Drehmoment von 170–225 N·cm an.
Befestigen Sie den Halter über der Mutter und prüfen Sie die Ausfluchtung des Schlitzes im Halter und dem Loch in der Spindel für den Splint (Bild 35).
Note: Wenn der Schlitz im Halter und das Loch in der Spindel nicht ausgefluchtet sind, ziehen Sie die Spindelmutter an, um den Schlitz und das Loch auszufluchten; das maximale Drehmoment an der Mutter ist 2,3 Nm.

Setzen Sie den Splint ein und biegen Sie jeden Abschnitt um den Halter (Bild 35).
Setzen Sie den Staubdeckel auf die Radnabe (Bild 35).
Wiederholen Sie die Schritte 1 bis 10 an der Radnabe und dem Drehzylinder an der anderen Seite des Fahrzeugs.
Reinigen Sie die beiden Bundkopfschrauben (⅜" x ¾") und tragen Sie Gewindesperrmittel mittlerer Stärke auf die Schraubengewinde auf.
Fluchten Sie die Bremsbeläge mit jeder Seite des Drehzylinders (Bild 30) und die Löcher in der Bremsbackenhalterung mit den Löchern im Bremsenhalter des Spindelrahmens aus (Bild 34).
Befestigen Sie den Bremsbackenhalterung mit den beiden Bundkopfschrauben (⅜" x ¾") am Spindelrahmen (Bild 30).
Ziehen Sie die beiden Bundkopfschrauben auf ein Drehmoment von 47 bis 54 N∙m an.
Fluchten Sie die Löcher im Rad mit den Bolzen der Nabe aus und montieren das Rad so an der Nabe, dass das Reifenventil außen ist (Bild 29).
Note: Stellen Sie sicher, dass die Befestigungsoberfläche des Rads mit der Nabe bündig ist.
Befestigen Sie das Rad mit den Radmuttern an der Nabe (Bild 29).
Ziehen Sie die Radmuttern auf ein Drehmoment von 108 bis 122 N∙m an.
Wiederholen Sie die Schritte 1 bis 5 für die Bremse und das Rad auf der anderen Seite des Fahrzeugs.
Trennen Sie das Stromversorgungskabel des Akkuladegeräts ab, falls es angeschlossen ist.
Heben Sie die Ladepritsche an.
Bringen Sie den Akkutrennschalter in die gewünschte Position, wie in Bild 36 dargestellt.

Note: Die Maschine ist mit 4 Lithium-Ionen-Akkus ausgestattet.
Ein Lithium-Ionen-Akku muss gemäß lokalen und bundesweiten Gesetzen entsorgt bzw. der Wiederverwertung zugeführt werden. Wenn ein Akku gewartet werden muss, wenden Sie sich an Ihren Toro-Vertragshändler.
Öffnen Sie den Akku nicht. Wenn Sie Probleme mit dem Akku haben, wenden Sie sich an den offiziellen Toro-Vertragshändler.
Die Akkus stehen unter hoher Spannung, die zu Verbrennungen oder einem Stromschlag führen kann.
Versuchen Sie nie, den Akku zu öffnen.
Passen Sie besonders auf, wenn Sie einen Akku mit einem gerissenen Gehäuse handhaben.
Verwenden Sie nur das Ladegerät, das für die Akkus konzipiert ist.
Lithium-Ionen-Akkus haben eine ausreichende Ladung für die Durchführung beabsichtigter Arbeiten während der Nutzungsdauer.
Um das Meiste aus Ihrem Akku herauszuholen, befolgen Sie die folgenden Richtlinien:
Öffnen Sie den Akku nicht.
Lagern bzw. parken Sie das Fahrzeug in einer sauberen, trockenen Garage oder einem Abstellbereich ohne direkte Sonneneinstrahlung und Wärmequellen sowie fern von feuchten Witterungseinflüssen (Regen, Nebel, usw.). Lagern Sie das Fahrzeug nicht an Orten, an dem die Temperaturen den unter Anforderungen für das Einlagern der Akkus angegebenen Bereich über- bzw. unterschreitet. Temperaturen außerhalb dieses Bereichs beschädigen Ihren Akku. Hohe Temperaturen während der Lagerung, besonders bei einem hohen Ladezustand, verkürzen die Nutzungsdauer der Akkus.
Bei einer Einlagerung des Fahrzeugs von mehr als 10 Tagen sollten Sie sicherstellen, dass das Fahrzeug an einem kühlen und trockenen Ort, ohne direkte Sonneneinstrahlung und fern von feuchten Witterungseinflüssen, abgestellt ist.
Verwenden Sie die Beleuchtung nur bei Bedarf.
Important: Alle elektrischen Reparaturen sollten nur von einem offiziellen Toro-Vertragshändler ausgeführt werden.
Das Ladegerät erfordert nur geringe Wartung. Schützen Sie es vor Beschädigung und Witterungseinflüssen.
Reinigen Sie die Kabel des Akkuladegeräts und das Gehäuse nach jedem Gebrauch mit einem leicht feuchten Tuch.
Note: Das dielektrische Fett darf nicht von den Klemmen entfernt werden.
Wickeln Sie die Kabel auf, wenn Sie sie nicht verwenden.
Prüfen Sie die Kabel regelmäßig auf Schäden und ersetzen Sie sie bei Bedarf mit von Toro genehmigtem Ersatz.
Typ: Siehe Ersatzteilkatalog.
Trennen Sie die Akkuversorgung, siehe Verwenden des Batterietrennschalters.
Öffnen Sie die Haube.
Schließen Sie den elektrischen Anschluss für den Kabelbaum vom Lampenanschluss ab (Bild 39).

Entfernen Sie die Schellen, mit denen der Scheinwerfer an der Scheinwerferhalterung befestigt ist (Bild 39).
Note: Bewahren Sie alle Teile für den Einbau des neuen Scheinwerfers auf.
Schieben Sie den Scheinwerfer nach vorne durch die Öffnung in der vorderen Stoßstange und entfernen Sie ihn (Bild 39).
Setzen Sie den neuen Scheinwerfer durch die Öffnung in der Stoßstange ein (Bild 39).
Note: Achten Sie darauf, dass die Ausrichtungsstreben mit den Löchern in der Befestigungshalterung hinter der Stoßstange ausgefluchtet sind.
Befestigen Sie den Scheinwerfer mit den in Schritt 4 entfernten Schellen.
Schließen Sie den elektrischen Anschluss für den Kabelbaum am Lampenanschluss an (Bild 39).
Stellen Sie die Scheinwerfer ein, um den Strahl auf die gewünschte Stelle zu richten, siehe Einstellen der Scheinwerfer.
Mit den folgenden Schritten stellen Sie den Scheinwerferstrahl ein, wenn Sie einen Scheinwerfer herausgenommen oder ausgetauscht haben.
Stellen Sie die Maschine auf einer ebenen Fläche ab, dabei sollte der Abstand der Scheinwerfern ca. 7,6 m von einer Wand entfernt sein (Bild 40).
Messen Sie den Abstand vom Boden bis zur Mitte des Scheinwerfers und markieren Sie die Wand in gleicher Höhe.
Drehen Sie das Zündschloss in die EIN-Stellung und schalten Sie die Scheinwerfer ein.
Achten Sie darauf, wohin die Scheinwerfer auf die Wand gerichtet sind.
Der hellste Teil des Scheinwerfers sollte 20 cm unter der Markierung an der Wand liegen (Bild 40).

Drehen Sie die Einstellschrauben an der Rückseite des Scheinwerfers (Bild 39), um den Scheinwerfer zu drehen und den Scheinwerferstrahl einzustellen.
Schließen Sie die Akkuversorgung an, siehe Verwenden des Batterietrennschalters.
| Wartungsintervall | Wartungsmaßnahmen |
|---|---|
| Alle 100 Betriebsstunden |
|
Prüfen Sie die Reifen und Felgen auf Abnutzung oder Beschädigungen.
Note: Betriebsunfälle, wie z. B. das Aufprallen auf Bordsteine, kann einen Reifen oder eine Felge beschädigen sowie das Rad unwuchtig machen. Prüfen Sie den Zustand deshalb nach Unfällen.
Ziehen Sie die Radmuttern mit 108-122 N∙m an.
| Wartungsintervall | Wartungsmaßnahmen |
|---|---|
| Alle 100 Betriebsstunden |
|
Wenn sich das Lenkrad in der Mittelposition (Bild 41) befindet, drehen Sie das Lenkrad nach links oder rechts. Wenn Sie das Lenkrad um mehr als 13 mm nach links oder rechts drehen und die Reifen sich nicht drehen, überprüfen Sie die folgenden Lenkungs- und Aufhängungskomponenten, um sicherzustellen, dass sie nicht lose oder beschädigt sind:
Lenkwelle bis zur Verbindung der Lenkstange
Important: Überprüfen Sie den Zustand und die Sicherheit der Ritzel-Wellendichtung (Bild 42).
Zugstangen für die Montage von Lenkstangen


| Wartungsintervall | Wartungsmaßnahmen |
|---|---|
| Alle 100 Betriebsstunden |
|
Prüfen Sie den Reifendruck und stellen Sie sicher, dass die Vorderreifen einen Druck von 82 kPa haben.
Belasten Sie den Sitz mit dem durchschnittlichen Gewicht eines Bedieners, der das Fahrzeug fährt, oder ein Bediener sollte auf dem Sitz sitzen. Während dieser Einstellung muss das Gewicht oder der Bediener auf dem Sitz verbleiben.
Rollen Sie das Fahrzeug auf einer ebenen Oberfläche 2-3 m geradlinig zurück und dann geradlinig vorwärts zur Ausgangsposition. Dies ermöglicht der Aufhängung, in die Betriebsstellung zu gehen.
Vom Besitzer bereitgestellte Werkzeuge: Gabelschlüssel, Toro-Bestellnummer 132-5069, wenden Sie sich an den offiziellen Toro-Vertragshändler.
Important: Stellen Sie den Radsturz nur ein, wenn Sie ein Frontanbaugerät verwenden oder die Reifenabnutzung ungleichmäßig ist.
Prüfen Sie die Einstellung des Radsturzes an jedem Rad; die Einstellung sollte so weit wie möglich bei Null liegen.
Note: Die Reifen sollten gleichmäßig mit dem Profil auf dem Boden ausgerichtet sein, um eine ungleichmäßige Abnutzung zu verringern.
Wenn der Radsturz nicht richtig eingestellt ist, drehen Sie den Stellring am Stoßdämpfer mit einem Gabelschlüssel, um das Rad einzustellen (Bild 43).

Important: Stellen Sie vor dem Einstellen der Vorspur sicher, dass der Radsturz so weit wie möglich Null ist, siehe Einstellen des Radsturzes.
Stellen Sie sicher, dass die Vorderräder gerade stehen.
Messen Sie den Abstand zwischen beiden Vorderreifen auf Achshöhe (an der Vorder- und Rückseite der Vorderreifen) (Bild 44).

Wenn der Wert nicht zwischen 0-6 mm liegt, lösen Sie die Klemmmuttern am äußeren Ende der Spurstangen (Bild 45).

Drehen Sie beide Spurstangen, um die Vorderseite des Reifens nach innen oder außen zu stellen.
Ziehen Sie bei korrekter Einstellung die Klemmmuttern der Spurstange fest.
Stellen Sie sicher, dass sich das Lenkrad in beide Richtungen voll ausschlagen lässt.
| Wartungsintervall | Wartungsmaßnahmen |
|---|---|
| Alle 100 Betriebsstunden |
|
Entfernen Sie die Füllschraube am Getriebe (Bild 46).
Note: Der Ölstand sollte am unteren Rand der Füllschraube liegen.

Wenn der Ölstand niedrig ist, nehmen Sie die Füllschraube ab und füllen Sie die angegebene Ölsorte [wie unter Wechseln des Getriebeöls angegeben] ein, bis das Öl aus dem Loch ausläuft (Bild 46).
Setzen Sie die Füllschraube ein und ziehen Sie diese auf ein Drehmoment von 27 bis 41 N∙m fest.
| Wartungsintervall | Wartungsmaßnahmen |
|---|---|
| Alle 100 Betriebsstunden |
|
| Alle 800 Betriebsstunden |
|
Ölsorte: Mobil 424
Ölmenge: 0,95 l
Stellen Sie eine Auffangwanne unter die Ablassschraube der Transaxle (Bild 47).

Entfernen Sie die Füllschraube (Bild 47).
Entfernen Sie die Ablassschraube und lassen Sie das Öl vollständig ablaufen.
Setzen Sie die Ablassschraube ein und ziehen Sie diese auf ein Drehmoment von 12 bis 19 N∙m fest.
Füllen Sie das Getriebe durch die Einfüllöffnung mit der angegebenen Ölsorte, bis diese aus der Einfüllöffnung herausläuft.
Setzen Sie die Füllschraube ein und ziehen Sie diese auf ein Drehmoment von 27 bis 41 N∙m fest.
| Wartungsintervall | Wartungsmaßnahmen |
|---|---|
| Alle 100 Betriebsstunden |
|
Important: Bremsen stellen ein wichtiges Sicherheitsbestandteil des Fahrzeugs dar. Überprüfen Sie diese gemäß dem empfohlenen Wartungsintervall, um eine optimale Leistung und Sicherheit zu gewährleisten.
Prüfen Sie den Bremsbelag auf Abnutzung und Defekte. Wenn die Dicke des Bremsbelags unter 1,6 mm liegt, sollten Sie die Bremsbeläge austauschen.
Prüfen Sie die Bremsscheibe und andere Bauteile auf Anzeichen von Abnutzung oder Verzerrung. Tauschen Sie verbogene oder beschädigte Teile aus.
Prüfen Sie die Bremsleitungen, Anschlüsse und Klemmen auf Anzeichen von undichten Stellen, Verschleiß oder lockere Anschlüsse.
Note: Reparieren Sie beschädigte oder undichte Komponenten der Bremsanlage, bevor Sie die Maschine verwenden.
Prüfen Sie den Stand der Bremsflüssigkeit, siehe Prüfen der Bremsflüssigkeit.
| Wartungsintervall | Wartungsmaßnahmen |
|---|---|
| Bei jeder Verwendung oder täglich |
|
Bremsflüssigkeitssorte: DOT 3
Öffnen Sie die Motorhaube, um an den Hauptbremszylinder und den Behälter zu gelangen (Bild 48).

Lesen Sie den Flüssigkeitsstand am Stutzen an der Seite des Behälters ab (Bild 49).
Note: Der Stand sollte über der Minimum-Markierung liegen.

Führen Sie die folgenden Schritte aus, wenn der Flüssigkeitsstand niedrig ist:
Reinigen Sie den Bereich um den Behälterdeckel und nehmen den Deckel ab (Bild 48).
Füllen Sie DOT 3-Bremsflüssigkeit in den Behälter, bis der Füllstand über der Minimum-Markierung liegt (Bild 49).
Note: Füllen Sie nicht zu viel Bremsflüssigkeit in den Behälter.
Schrauben Sie den Behälterdeckel wieder auf (Bild 48).
Schließen Sie die Motorhaube.
| Wartungsintervall | Wartungsmaßnahmen |
|---|---|
| Alle 1000 Betriebsstunden |
|
Wenden Sie sich an den offiziellen Toro-Vertragshändler.
Wenn der Riegel der Ladepritsche nicht richtig ausgefluchtet ist, vibriert die Ladepritsche, wenn Sie mit der Maschine fahren. Sie können die Riegelstreben einstellen, damit die Riegel die Ladepritsche fest am Chassis halten.
Lösen Sie die Sicherungsmutter am Ende der Riegelstrebe (Bild 50).

Drehen Sie die Riegelstrebe nach rechts, bis sie bündig mit dem Hakenteil des Riegels ist (Bild 50).
Ziehen Sie die Sicherungsmutter bis auf 19,7-25,4 N∙m an.
Wiederholen Sie die Schritte 1 bis 3 für den Riegel an der anderen Seite der Maschine.
| Wartungsintervall | Wartungsmaßnahmen |
|---|---|
| Bei jeder Verwendung oder täglich |
|
Waschen Sie das Fahrzeug nach Bedarf nur mit Wasser oder mit einem milden Reinigungsmittel. Zum Reinigen des Fahrzeugs kann ein Putztuch/-lappen verwendet werden.
Important: Verwenden Sie zur Reinigung des Fahrzeugs kein Brack- oder wiederaufbereitetes Wasser.
Important: Der Einsatz eines Hochdruckreinigers zum Reinigen des Fahrzeugs ist nicht zu empfehlen. Durch hohen Wasserdruck kann die Elektroanlage beschädigt, wichtige Aufkleber können gelöst und das Fett an den Reibungsstellen kann weggespült werden. Vermeiden Sie den Einsatz von zu viel Wasser, insbesondere in der Nähe des Armaturenbretts, des Motors, des Motorsteuergeräts, des Ladegeräts, der Rückseite des Armaturenbretts und der Akkus.
Stellen Sie vor dem Verlassen des Fahrersitzes das Fahrzeug ab, ziehen den Schlüssel ab und warten, bis alle beweglichen Teile zum Stillstand gekommen sind. Lassen das Fahrzeug abkühlen, bevor Sie es einstellen, warten, reinigen, oder einlagern.
Der Betreiber/Eigentümer ist dafür verantwortlich, die Lade- und Lagerbereiche oder -einrichtungen regelmäßig zu inspizieren und die Verfahren zu überprüfen, um die Einhaltung der Anforderungen zu gewährleisten.
| Wartungsintervall | Wartungsmaßnahmen |
|---|---|
| Alle 200 Betriebsstunden |
|
| Alle 400 Betriebsstunden |
|
Parken Sie die Maschine auf einer ebenen Fläche, stellen den Maschine ab und ziehen den Schlüssel ab.
Entfernen Sie Schmutz und Rückstände vom ganzen Fahrzeug, einschließlich von der Außenseite des Motors.
Important: Sie können das Fahrzeug mit einem milden Reinigungsmittel und Wasser waschen. Waschen Sie das Fahrzeug nie mit einem Hochdruckreiniger. Durch hohen Wasserdruck kann die elektrische Anlage beschädigt und das Fett an den Reibungsstellen weggespült werden. Vermeiden Sie überflüssiges Wasser, insbesondere in der Nähe des Armaturenbretts, der Lampen, des Motors und des Akkus.
Prüfen Sie die Bremsen, siehe Prüfen der Bremsen.
Prüfen Sie den Reifendruck; siehe Prüfen des Reifendrucks.
Prüfen Sie alle Muttern und Schrauben und ziehen diese bei Bedarf an. Reparieren oder wechseln Sie alle beschädigten und defekten Teile aus.
Bessern Sie alle zerkratzten oder abgeblätterten Metallflächen aus.
Note: Lack erhalten Sie von Ihrem offiziellen Toro-Vertragshändler.
Decken Sie das Fahrzeug ab, damit es geschützt ist und nicht verstaubt.
Note: Sie müssen die Akkus zur Lagerung nicht aus dem Fahrzeug entnehmen.
Beachten Sie die Temperaturgrenzwerte für die Lagerung in der unten stehenden Tabelle:
| Lagertemperatur | Angemessene Lagerdauer |
| 45° bis 55°C | 1 Woche |
| 25° bis 45°C | 3 Wochen |
| -20° bis 25°C | 52 Wochen |
Important: Temperaturen außerhalb dieser Bereiche beschädigen den Akku.Die Temperaturen, bei welchen die Akkus gelagert sind, wirken sich auf die Lebensdauer aus. Eine langfristige Lagerung der Akkus bei extremen Temperaturen reduziert die Lebensdauer. Lagern Sie das Fahrzeug bei Temperaturen über 25°C nur für die in der Tabelle angegebene angemessene Zeit.
Bevor Sie das Fahrzeug aufbewahren, laden oder entladen Sie die Akkus auf 40% bis 60%.
Note: Eine 50%ige Ladung ist optimal, um eine maximale Akkulebensdauer zu gewährleisten. Wenn der Akku vor der Lagerung auf 100% aufgeladen werden, verkürzt sich die Lebensdauer des Akkus.Wenn Sie damit rechnen, dass das Fahrzeug für längere Zeit gelagert wird, laden Sie den Akku auf etwa 60% auf.
Überprüfen Sie alle 6 Monate der Lagerung den Ladezustand des Akkus und stellen Sie sicher, dass er zwischen 40% und 60% geladen ist. Wenn die Ladung unter 40% liegt, laden Sie den Akku zwischen 40% und 60% auf.
Trennen Sie nach dem Aufladen der Akkus das Ladegerät von der Stromversorgung.
Wenn Sie das Ladegerät am Fahrzeug lassen, schaltet es sich nach dem vollständigen Aufladen der Akkus ab und schaltet sich erst wieder ein, wenn das Ladegerät abgetrennt und wieder angeschlossen wird.