| 整備間隔 | 整備手順 |
|---|---|
| 使用するごとまたは毎日 |
|
このスプレーヤは所定の車両に適切に取り付けることによって芝生に液剤を散布するための専用の装置となり、そのような業務に従事するプロのオペレータによって運転操作されることを前提として製造されています。この製品は、集約的で高度な管理を受けている公園やゴルフ場、スポーツフィールド、商用目的で使用される芝生に対して液剤を散布することを主たる目的として製造されております。
この説明書を読んで製品の運転方法や整備方法を十分に理解し、他人に迷惑の掛からないまた適切な方法でご使用ください。この製品を適切かつ安全に使用するのはお客様の責任です。
安全上の注意事項、取扱い説明書、アクセサリについての資料、代理店の検索、製品のご登録などについては www.Toro.com へ。
整備について、またToro純正部品についてなど、分からないことはお気軽に弊社代理店またはToroカスタマーサービスにおたずねください。お問い合わせの際には、必ず製品のモデル番号とシリアル番号をお知らせください。図 1 にモデル番号とシリアル番号の表示位置を示します。いまのうちに番号をメモしておきましょう。
Important: 重要:シリアル番号デカルについている QR コード(無い場合もあります)をモバイル機器でスキャンすると、製品保証、パーツその他の製品情報にアクセスできます。

この説明書では、危険についての注意を促すための警告記号(図 2)を使用しております。これらは死亡事故を含む重大な人身事故を防止するための注意ですから、必ずお守りください。

この他に2つの言葉で注意を促しています。重要「重要」は製品の構造などについての注意点を、注はその他の注意点を表しています。
この製品は、関連するEU規制に適合しています; 詳細については、DOC シート(規格適合証明書)をご覧ください。
カリフォルニア州の森林地帯・潅木地帯・草地などでこの機械を使用する場合には、エンジンに同州公共資源法第4442章に規定される正常に機能するスパークアレスタが装着されていること、エンジンに対して森林等の火災防止措置をほどこされていることが義務づけられており、これを満たさない機械は、第4442章または4443章違犯となります。
カリフォルニア州
第65号決議による警告
米国カリフォルニア州では、この製品を使用した場合、ガンや先天性異常などを誘発する物質に触れる可能性があるとされております。
不適切な使い方をしたり手入れを怠ったりすると、人身事故につながります。事故を防止するため、以下に示す安全上の注意や安全注意標識のついている遵守事項は必ずお守りください(図 2)。注意、警告、および危険 の文字は、人身の安全に関わる注意事項を示しています。これらの注意を怠ると死亡事故などの重大な人身事故が発生することがあります。
この機械は人身事故を引き起こす能力がある。重大な人身事故を防ぐため、すべての注意事項を厳守してください。
エンジンを始動する前に必ずこのオペレーターズマニュアルをお読みになり、内容をよく理解してください。
この機械を運転する時は常に十分な注意を払ってください。運転中は運転操作に集中してください;注意散漫は事故の大きな原因となります。
身体と薬剤との接触を防止し危険から身を守ることのできる適切な防具(PPE)を着用してください。この散布装置で取り扱う農薬は、危険物質や有毒物質を含んでいる可能性があります。
機械の可動部の近くには絶対に手足を近づけないでください。
ガードなどの安全保護機器が正しく取り付けられていない時は、運転しないでください。
散布ノズルや散布されて霧状になっている薬剤に近づかないでください。作業場所に、無用の大人、子供、ペットなどを近づけないでください。
子供に運転させないでください。
車両を平らな場所に駐車し、駐車ブレーキを掛け、エンジンを停止し、キー(のある車両ではキーを)を抜き取り、可動部が完全に停止したのを確認して運転席を離れるようにしてください。調整、整備、清掃、格納などは、車両が十分に冷えてから行ってください。
間違った使い方や整備不良は負傷などの人身事故につながります。事故を防止するため、以下に示す安全上の注意や安全注意標識
のついている遵守事項は必ずお守りください 「注意」、「警告」、および「危険」
の記号は、人身の安全に関わる注意事項を示しています。これらの注意を怠ると死亡事故などの重大な人身事故が発生する恐れがあります。
この車両に取り付け可能なアタッチメントのすべてをこのマニュアルで解説することはできません。アタッチメントを使用するときには、そのアタッチメントのマニュアルに記載されている安全上の注意事項にも十分目を通してください。
![]() |
セーフティラベルや指示は危険な個所のオペレーターから見やすい部分に貼付してあります。破損したりはがれたりした場合は新しいラベルを貼り直してください。 |

















Important: シリアル番号416500000以降のモデル41240 は、手動変速機付きのWorkman HDXマシンにのみインストールできます。
Note: 前後左右は運転位置からみた方向です。
Note: スプレーコントロールシステムについて分からないことがある場合や、さらに詳しい情報を知りたい場合には、システムに付属しているオペレーターズマニュアルをご覧ください。
Important: このスプレーヤは、散布用ノズルを装備しない状態で販売されます。スプレーヤはノズルを取り付けなければ使用できません。代理店と相談の上、適切なキット類を取り付けてください。 ノズルを取り付けたら、使用する前にブームバイパスバルブの調整を行う必要があります;これはどのブームを OFF にしても単位面積あたりの散布量が変わらないようにするための調整です。スプレーヤの流量の基本設定を参照。
Important: マルチプロ WM ターフスプレーヤは、ワークマン車両に 4 柱式の ROPS またはキャブの取り付けを必要とします。
フルサイズ荷台の重量は約 95 kgである。一人で動かそうとするとけがをする恐れがある。
荷台を一人で動かそうとしないこと。
必ず 2人か3人に手伝ってもらうかクレーンを使用すること。
平らな場所に駐車し、駐車ブレーキを掛け、エンジンを始動する。
油圧昇降レバーを前に倒して荷台を降下させ、シリンダロッドのクレビスピンが荷台取り付けプレートのスロットの中でが遊んでいる状態にする。
油圧昇降レバーから手を離し、油圧昇降ロックレバーをセットし、エンジンを停止させてキーを抜き取る; 各車両の オペレーターズマニュアル を参照。
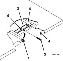
シリンダの外側端部からリンチピンを外す(図 3)。

シリンダロッドの端部を荷台取り付けプレートに固定しているクレビスピンを、車両の中心線側に押して外す(図 3)。
荷台のピボットブラケットを車両のフレーム(チャネル材)に固定しているリンチピンとクレビスピンを外す(図 4)。

荷台を外す。
シリンダを格納し、クリップで固定する。
この作業に必要なパーツ
| 後部 PTO キット(ヘビーデューティワークマンのうち、マニュアルトランスミッションのHDシリーズ) | 1 |
| マルチプロWMターフスプレーヤ仕上げキット(マニュアルミッションのワークマンのうち、マニュアルトランスミッションのHDシリーズ) | 1 |
マニュアルトランスミッションの HD および HDX シリーズワークマンでは、ヘビーデューティワークマン用の後部 PTO キットの取り付けを済ませてください; ヘビーデューティワークマン用後部 PTO キットの 取り付け説明書 を参照。
吊り上げ能力 408 kg 以上の昇降装置を使って、出荷用パレットからタンクスキッドを吊り上げる; 吊り上げポイントは前 2 ヶ所と後 2 ヶ所 (図 5)。
Note: ジャッキスタンドを入れられる高さまで吊り上げてください。

マニュアルトランスミッション付きのHDおよびHDXシリーズWorkmanモデルには、マニュアルWorkmanユーティリティ車両用Multi Pro WM芝生スプレーヤ仕上げキットの手順をすべて行います。
この作業に必要なパーツ
| 固定ブラケット | 2 |
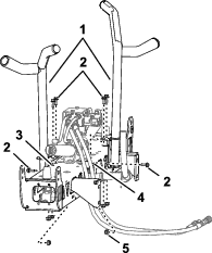
エンジンチューブ用のサポートブラケットを車体フレームに固定している後ろ側フランジヘッドボルト(2本)とフランジロックナット(2個)を外す(図 6)。
Note: ボルトナット類は後で使用する。

タンクスキッド用ホールドダウンブラケットを取り付ける隙間を作るために、昇降シリンダの位置を変える (図 6)。
ホールドダウンブラケットを支持ブラケットとフレームに組み付ける; ステップ 1 で外したフランジヘッドボルト2本とフランジロックナットを利用する(図 7)。

ボルトとナットを 91-113 N·m(3.7-4.6 kg.m = 67-83 ft-lb)にトルク締めする。
機体の反対側でも、ステップ1 - 4 を行う。
この作業に必要なパーツ
| タンク台アセンブリ | 1 |
| クレビスピン | 2 |
| テーパ付きクレビスピン | 2 |
| ヘアピン | 2 |
| リンチピン | 4 |
| ボルト(½ x 1½") | 2 |
| ナット(½") | 2 |
スプレーヤのタンクアセンブリは重量があるので危険である。取り付け時や取り外し時に適切な保持を行わないと落下するなどして人身事故となる恐れがある。
取り付け時や取りはずし時などタンクが台に固定されていない時は、ホイストなどで上から吊って保持すること。
クレーンやホイストを使って、タンク台アセンブリ(図 8)を吊り上げ、ポンプ&バルブ・アセンブリを車体の後方に向けて、ワークマンのフレーム上部に移動する。
Note: 以下の作業は、もう一人に手伝ってもらって二人で行う。

タンクをゆっくりと車両のフレームに降ろす。
昇降シリンダを、タンク台のブラケットまで伸ばして、シリンダのフィッティングを、タンク台のブラケットの穴に合わせる(図 9)。

タンク台と昇降シリンダとを接続する; 車両の左右両側でクレビスピンとヘアピンで固定する。
タンク台の後部にあるピボットラグを、車体フレームの最後尾についている荷台のピボットチューブの穴に合わせる(図 10)。

ピボットラグにテーパ付きクレビスピンと(1本)とリンチピン(2本)を差し込んで、タンクアセンブリとフレームとを連結する(図 10)。
昇降シリンダを伸ばしてタンクを上昇させ、サポートで支える。
Note: クレーンからタンクアセンブリを外す。
ROPS パネルの後ろについている保管用ブラケットから荷台サポート(安全サポート)を取り外す(図 11)。

サポートをシリンダロッドにはめ込み、サポートの端部でシリンダバレルの端とシリンダロッドの端を確実に支える(図 12)。

バッテリーケーブルの接続ルートが不適切であるとケーブルがショートを起こして火花が発生する。それによって水素ガスが爆発を起こし人身事故に至る恐れがある。
ケーブルを取り外す時は、必ずマイナス(黒)ケーブルから取り外し、次にプラス(赤)ケーブルを外す。
ケーブルを取り付ける時は、必ずプラス(赤)ケーブルから取り付け、それからマイナス(黒)ケーブルを取り付ける。
バッテリーの端子に金属製品や車体の金属部分が触れるとショートを起こして火花が発生する。それによって水素ガスが爆発を起こし人身事故に至る恐れがある。
バッテリーの取り外しや取り付けを行うときには、端子と金属部を接触させないように注意する。
バッテリーの端子と金属を接触させない。
スプレーヤ用のワイヤハーネスの中から、速度センサー回路用の3ソケットのコネクタと車両回路用の3ピンコネクタを探し出す。
車両のトランスアクスルで、車両側の速度センサー用ワイヤハーネスの3ピンコネクタを、スプレーヤのハーネスの3ソケットコネクタに接続する(図 16)。

スプレーヤのハーネスの車両回路用3ピンコネクタを、車両のワイヤハーネス車両回路用の3ピンソケットに接続する。
Multi Pro WM芝生スプレーヤ仕上げキット、マニュアル仕様Workmanユーティリティ ビークルのインストール手順を参照してください。
この作業に必要なパーツ
| コンソール取り付けブラケット | 1 |
| フランジロックナット(5/16") | 3 |
| フランジヘッドボルト(5/16") | 3 |
| プラスチック製ブッシュ | 2 |
| コントロールコンソール | 1 |
| スプリングクリップピン | 1 |
| ハンドノブ | 1 |
Note: 車両によっては、コントロール取り付けプレートを取り付ける場所に、既にハンドスロットル用のブラケットがついている場合があります。その場合には、ハンドスロットル用のブラケットをダッシュボードから外して、コントロール取り付け用プレートを取り付け、コントロール取り付け用プレートに、ハンドスロットル用のブラケットを取り付けてください。位置変更についての詳細はハンドスロットルの取り付け説明書 を参照してください。
ダッシュパネルの中央下部分をダッシュパネル支持ブラケットに固定しているボルト(3本)とナット(3個)を外す(図 17)。
Note: 古いワークマンでは、ボルト4本とフランジナットを使う場合もあります。
Note: 取り外したボルト・ナットは廃棄する。

中央コンソール用取り付けブラケットの穴を、ダッシュパネルと支持ブラケットの穴に合わせる(図 17)。
取り付けブラケットをダッシュパネルと支持ブラケットに固定する; フランジヘッドボルト(5/16 x 1")3本とフランジロックナット(5/16")3個を使用する。.
ボルトとナットをトルク締めする (図 17)。
取り付けブラケットにプラスチック製ブッシュ2個を入れる(図 17)。
この作業に必要なパーツ
| Jクリップ | 3 |
| ボルト(¼ x ¾") | 1 |
| フランジナット (¼") | 1 |
既存のネジを使って、センターコンソールにJ クリップ2個を取り付ける。

ボルト (1/4 x 1/2”) とフランジナット (1/4”) を使って、助手席の後ろにJクリップを取り付ける。

Jクリップを使って、ハーネスを、コンソールとROPS カバーに固定する。
スプレーヤ用後方ハーネスの3ピンコネクタを、コントロールコンソールに接続されている前方ワイヤハーネス3ソケットコネクタに接続する。

スプレーヤ用後方ハーネスの24ピンコネクタを、コントロールコンソールに接続されている前方ワイヤハーネス24ソケットコネクタに接続する。
24ピンコネクタ同士をしっかり嵌め合わせた状態でレバーを反転させてロックする。
この作業に必要なパーツ
| ヒューズ用デカル(127–3966) | 1 |
スプレーヤ用のコントロールコンソールで、前方ワイヤハーネスの中のヒューズブロック付きの枝線を、ダッシュパネルの下と車両のクロスチューブとの間から下へ通し、車両のヒューズブロックの前側へ導く (図 22)。

車両用のヒューズブロックの黄色い電源線の端部についている絶縁されていないソケット端子と、スプレーヤの配線用のヒューズブロックの黄色いオプション電源線の端部についている絶縁されたブレード形の端子を探し出す(図 23)。

車両ヒューズブロックの絶縁されていないソケット端子を、スプレーヤのヒューズブロックの絶縁されたブレード形の端子に接続する (図 23)。
スプレーヤのヒューズブロックのT字フィッティングを、車両のヒューズブロックのT字スロットに合わせて、スプレーヤのヒューズブロックをスロットの一番奥までしっかりと差し込む(図 24)。

スプレーヤのヒューズブロックの近くにデカルを貼り付ける。
この作業に必要なパーツ
| バッテリー端子ボルト | 2 |
| クランプナット | 2 |
| カバ ー 幅広(バッテリー端子;赤) | 1 |
バッテリーケーブルの接続ルートが不適切であるとケーブルがショートを起こして火花が発生する。それによって水素ガスが爆発を起こし人身事故に至る恐れがある。
ケーブルを取り付ける時は、必ずプラス(赤)ケーブルから取り付け、それからマイナス(黒)ケーブルを取り付ける。
バッテリーの両ケーブルのクランプについているナットとTボルトを外す(図 25)。
Note: 外したナットとTボルトは廃棄して構いません。

プラスケーブルからバッテリーカバー(幅狭)を外す(図 26)。
Note: 外した幅狭カバーは廃棄して構いません。

バッテリーのプラスケーブルに、図 26のように幅広カバーを取り付ける。
Note: バッテリーのクランプに手が届くように、カバーを十分にずらしておく。
図 27のように、ヒューズ付きリンク(スプレーヤ用ワイヤハーネス)のリング端子を、幅広のバッテリーカバーに通す。

バッテリーの両ケーブルのクランプに、端子ボルトとクランプナットを仮組みする(図 28)。

ヒューズ付きリンク(スプレーヤ用ワイヤハーネス)のリング端子を、プラスのバッテリーケーブルに組み付けてある端子ボルトの端子に、ナットで固定する(図 29)。

マイナスケーブル(黒;スプレーヤ用ワイヤハーネス)のリング端子を、マイナスのバッテリーケーブルに組み付けてある端子ボルトの端子に、クランプナットで固定する(図 29)。
プラスケーブルをバッテリーのプラス端子に接続し、クランプナットを手締めする(図 30)。

バッテリーのマイナスケーブルを、バッテリーのマイナス端子に接続し、クランプナットを手締めする。
バッテリーカバーを両脇からたわめて、タブをバッテリーベースのスロットから外し、カバーを取り外す(図 31)。

この作業に必要なパーツ
| ボルト(½ x 1½") | 2 |
| ロックナット(½") | 2 |
車両のエンジンを始動して、昇降シリンダでタンク台をわずかに上昇させる。
昇降シリンダから荷台サポートを外し、サポートをROPSパネルの裏側にある収納ブラケットに収納する(図 32 と 図 33)。


シリンダを縮めてタンクをフレームまでゆっくり降下させる。
Note: 降下させる時、降下の様子をもう一人が監視してください。そして、ホースや配線がはさまれたりしないことを確認してください。
タンク台と車体フレームとが整列しているかどうか点検する。
スキッドフレームの両側についているアクセスパネルを外す (図 34)。

スキッドフレームの窓を通して内部の配線やホースの様子を観察し、ホースや刃ハーネスが挟まれていないことを確認する。
Important: タンク台の下にホースやラインが入り込んでいるのを発見したら、タンク台をもう一度吊り上げ、ホースやラインの位置を修正し、縛り付けるなどしてください。
前部にある取り付けブラケットと、先ほどタンクスキッド用ホールドダウンブラケットを取り付けるで取り付けた固定ブラケットとを整列させる。
タンク台アセンブリをフレームの左右にある荷台ブラケットに固定する; ボルト(½ x 1½")1本、ロックナット(½")1個を使用して図 34のように取り付ける。
ボルトとロックナットを91-113 N·m (9.3-11.5 kg.m = 67-83 ft-lb) にトルク締めする。.
機体の反対側でも、ステップ7 - 9 を行う。
この作業に必要なパーツ
| センターブームアセンブリ | 1 |
| ボルト(⅜ x 1") | 10 |
| フランジロックナット(⅜") | 10 |
| 移動走行用ブームクレードル | 2 |
| ボルト(½ x 1¼") | 4 |
| フランジナット(½") | 4 |
車両のエンジンを始動し、昇降シリンダから荷台サポートを外してサポートを所定位置に収納し、タンクスキッドを下降させ、エンジンを停止してスタータスイッチからキーを抜き取る。
センターブームアセンブリの取り付けブラケットの底部にある穴を、スキッドフレームのブームサポートの下から3番目の穴に、 図 37のように整列させる。
Note: 必要であれば、ブームサポートをゆるめて穴をセンターブームにきちんと整列させてください。ボルトとナットを 67-83 N·m(3.7-4.6 kg.m = 91-113 ft-lb)にトルク締めする。

センターブームアセンブリをスキッドフレームに取り付ける;ボルト(½ x 1¼")4本とロックナット(½")4個を使用する。
ボルトとナットを 67-83 N·m(3.7-4.6 kg.m = 91-113 ft-lb)にトルク締めする。
Multi Pro WM芝生スプレーヤ仕上げキット、マニュアル仕様Workmanユーティリティ ビークルのインストール手順を参照してください。
この作業に必要なパーツ
| 左ブーム | 1 |
| 右ブーム | 1 |
| フランジヘッドボルト (⅜ x 1¼") | 8 |
| バッキングプレート | 8 |
| フランジロックナット(⅜") | 8 |
| クレビスピン | 2 |
| ヘアピン | 2 |
ブームはそれぞれが約14kgの重さです。
センターブームのヒンジブラケットから、フランジヘッドボルト(⅜ x 1¼")4本、バッキングプレート4枚、フランジロックナット(⅜")4個を外す。
センターブームの両端にあるピボットブラケットを、垂直方向に向ける (図 38)。

左または右のブームを持ち上げ、ブームの端部にある三角形の取り付けプレートにある穴を、ピボットブラケットの穴に合わせる。
Note: ノズル用タレットが後ろを向いているのを確認してください。
ヒンジプレートを三角形プレートに固定する;フランジヘッドボルト4本、バッキングプレート4枚、フランジロックナット4個を使用(図 38)これらは ステップ 1で外したもの。
ボルトとナットを37-45 N·m (3.7-4.6 kg.m = 27-33 ft-lb) にトルク締めする。
ブーム昇降シリンダのロッドの先端を、ピボットブラケットのホーン(ツノ)の穴に合わせる(図 38)。

クレビスピンとヘアピンで、ロッドの先端をピボットブラケットに取り付ける (図 38)。
センターブームの反対側でも、ステップ1-5の作業を行って反対側のブームエクステンションを取り付ける。
Note: この作業を終える前に、ノズル用タレットが全て後ろを向いているのを確認してください。
この作業に必要なパーツ
| ホースクランプ | 3 |
| R クランプ | 2 |
| ショルダボルト | 2 |
| ワッシャ | 2 |
| ナット | 2 |
薬剤散布に使うノズルは、散布レート(単位面積あたり散布量)に合わせて選択することが必要なので、付属部品には含まれていません。弊社代理店と相談の上、適切なノズルをご購入・装着してください; ノズルの選択には以下の情報が必要です:
薬剤の散布レート(単位面積あたり散布量;リットル毎ヘクタールまたはガロン毎エーカー、あるいはガロン毎1,000平方フィート)。
散布作業時に使用する作業車の走行速度(キロメートル毎時またはマイル毎時)。
ノズルをノズルソケットに装着する(ねじ式)。
ノズルソケットを、タレットのフィッティングに入れる。
入れたノズルを右に回してソケットのカムをロックする。
ノズルの噴霧口が下向きになることを確認する。
詳細はノズルに付属している取り付け要領書を参照してください。
この作業に必要なパーツ
| 真水タンク | 1 |
| 90° エルボ(⅜" NPT) | 1 |
| 90° スピゴット | 1 |
| 真水タンク用マウント | 1 |
| 固定ストラップ | 4 |
| フランジヘッドボルト(5/16 x ⅝") | 4 |
| フランジロックナット(5/16") | 10 |
| サポートチューブ (真水タンク) | 1 |
| ジャムナット(5/16") | 1 |
| ボルト(5/16 x 1") | 1 |
| ショルダボルト(½ x 1-15/16") | 2 |
| ボルト(5/16 x 2¼") | 2 |
| ワッシャ(5/16") | 2 |
真水タンクマウントに真水タンクを取り付ける;固定ストラップ2本、フランジヘッドボルト(5/16 x ⅝")4本、フランジロックナット(5/16")4個を使用し 図 43のように取り付ける。
Note: エルボとスピゴットが真水タンクのステッカーと同じ側になるように取り付けてください。

ボルトとナットを20-25 N·m(2.0-2.6 kg.m = 175-225 in-lb)にトルク締めする。
真水タンク用のサポートチューブをタンクサポート用のチャネル部材に合わせる(図 44)。

サポートチューブの穴を、チャネル材の穴に合わせる(図 44)。
チューブをチャネル材に固定する(図 44);ショルダボルト(½ x 1-15/16")2本とフランジロックナット(5/16")2個を使用する。
ボルトとナットを20-25 N·m(2.0-2.6 kg.m = 175-225 in-lb)にトルク締めする。
ボルト(5/16 x 1")にジャムナット(5/16")を図 44のように取り付ける。
ボルト(5/16 x 1")とジャムナットを、タンクサポート用チャネル材の下部にある溶接ナットに取り付けて、ボルトとジャムナットを手締めする (図 44)。
Note: マルチプロ WM ターフスプレーヤは、ワークマン車両に 4 柱式の ROPS またはキャブの取り付けを必要とします。
サポートチューブに、真水タンクとマウントを取り付ける; ボルト(5/16 x 2¼")2本、フランジロックナット(5/16")2個を使用し 図 45のように取り付ける。

ボルトとナットを20-25 N·m(2.0-2.6 kg.m = 175-225 in-lb)にトルク締めする。
この作業に必要なパーツ
| 補給口アセンブリ | 1 |
| フランジヘッドボルト(5/16 x ¾") | 1 |
タンクに開けてあるねじ穴に合わせて補給口アセンブリをセットし(図 46)、フランジヘッドボルト(5/16 x ¾")で固定する。


Note: この6ボタンのInfoCenterは、HDXマニュアル仕様Workmanでのみ使うことができます。Workman HDX-Autoマシンをお使い場合は、引き続き3つボタンのInfoCenterをご利用ください。
InfoCenter LCDディスプレイには、現在のバッテリー充電量、速度、診断情報など、お使いのマシンとバッテリーパックに関する情報が表示されます。詳細については、インフォセンターの使い方を参照してください。
マスターブームスイッチ(図 49)は、運転席右手のコンソールの側面にあります。散布の開始と停止を行うスイッチです。このスイッチで散布システムのオン・オフ制御を行います。
個別ブームスイッチはコントロールパネルにあります(図 49)。各スイッチとも、前を押すと ON、後ろを押すと OFF となります。ONの時にはそのスイッチのランプが点灯します。個別ブームスイッチはマスターブームスイッチと連動しており、マスタースイッチがONの時にのみ散布が可能です。
コントロールパネルの左側にあるスイッチです(図 49)。上を押すと単位面積あたり散布量が上昇し、下を押すと減少します。
コントロールパネルにあります。左右のブームを個別に上げ下げするスイッチです。
散布率制御バルブはタンクの後ろにあり(図 50)、ブームに供給する液量(逆に言えばタンクに戻す液量)を調節するバルブです。

フローメータは個別ブームバルブへ入っていく液量を測定します(図 50)。
各ブーム(左、中央、右)への供給を ON/OFF するバルブです (図 50)。
ブームの一部(左、中央、右)が OFF になったときに余剰となる液剤をタンクに逃がすためのバルブです(図 51)。これらのバルブを調整して、どのブームを OFF にしても水圧が変化しないようにします; 個別ブームバイパスバルブの補正(キャリブレーション)を参照。

タンクの右後側にあります(図 52)。ノブを6時の位置に回すと攪拌を行い、8時の位置に回すと攪拌を停止します。

Note: マニュアルトランスミッションのHDシリーズ:攪拌を行うためにはエンジンが作動(アイドル以上の速度で回転)し、さらにPTOとクラッチが作動している必要があります。車両停止(散布停止)中に液剤の攪拌を行う場合には、レンジセレクタをニュートラルにし、クラッチを外して駐車ブレーキを掛け、ハンドスロットルをセット(装着車の場合)します。
スプレーヤのポンプはマシンの背面にあります。
マシンのセンターコンソールで、PTOレバーを作動位置に動かすとポンプが作動し、PTOレバーを解除位置に動かすとポンプが停止します。Workman HDXユーティリティ ビークルのオペレーターマニュアルを参照してください。

Note: 仕様および設計は予告なく変更される場合があります。
| 散布システムのベース重量(車両重量を含まず) | 424 kg |
| タンク容量 | 757 リットル |
| 標準システム搭載時の車両全長 | 422 cm |
| 標準システム搭載時のタンク上部までの高さ | 147 cm |
| 標準システム搭載時の交差収納したブームの先端までの高さ | 234 cm |
| 標準システム搭載時の車両全幅(交差収納したブームの先端から先端) | 175 cm |
Toroが認定した各種のアタッチメントやアクセサリがそろっており、機械の機能をさらに広げることができます。詳細は弊社の正規サービスディーラ、または代理店へお問い合わせください;弊社のウェブサイト www.Toro.com でもすべての認定アタッチメントとアクセサリをご覧になることができます。
いつも最高の性能と安全性を維持するために、必ずToroの純正部品をご使用ください。
Note: 前後左右は運転位置からみた方向です。
Note: 散布装置を搭載した状態のワークマンをトレーラで搬送する場合には、必ずブームをしっかりと固定しておいてください。
子供やトレーニングを受けていない大人には、絶対に運転や整備をさせないでください。地域によっては機械のオペレータに年齢制限を設けていることがありますのでご注意ください。オーナーは、オペレータ全員にトレーニングを受講させる責任があります。
各部の操作方法や本機の正しい使用方法、警告表示などに十分慣れ、安全に運転できるようになりましょう。
運転席を離れる前に:
平らな場所に駐車する。
トランスミッションをニュートラルにセットする。
駐車ブレーキを掛ける。
エンジンを止め、(キーのある機種では)キーを抜き取る。
全ての動きが停止するのを待つ。
エンジンの緊急停止方法に慣れておきましょう。
オペレータコントロールやインタロックスイッチなどの安全装置が正しく機能しているか、また安全ガードなどが外れたり壊れたりしていないか点検してください。これらが正しく機能しない時には機械を使用しないでください。
万一異常を発見したら運転を中止 してください。必ず、修理や調整を行って問題を解決してから使用するようにしてください。
ポンプを作動させる前に、全部のラインコネクタが適切に接続されていること、およびホースの状態が良好であることを確認してください。
この散布装置で取り扱う農薬は人体や動植物、土壌などに危険を及ぼす可能性があるので、取り扱いには十分注意してください。
各農薬の情報を良く読んでください。上記安全確保に必要な情報が手に入らない場合には、この装置の運転を拒否してください。
散布装置の整備や修理をする時は、その前に必ず、その装置が薬剤メーカーの指示通りに中和作業が行われた上で 3 回のすすぎ洗いを実行済みであること、さらに、すべてのバルブにそれぞれ 3 回の開閉操作洗浄が実施されていることを確認してください。
十分な量の水と石鹸を身近に常備し、薬剤が皮膚に直接触れた場合には、直ちに洗い流してください。
自分自身の安全を守るために、農薬を取り扱う前に、容器に張ってあるラベルや安全データシート(SDS)など取り扱い上の注意をよく読んで理解し、薬剤メーカーの指示を守りましょう。
農薬を取り扱う時はいつでも自分の身体を守ることを忘れずに。薬剤との接触を防止し危険から身を守ることのできる適切な防具(PPE)を着用してください。例えば:
安全めがねやゴーグル、フェースシールド
防護服
呼吸器やフィルタ付きマスク
薬剤耐性手袋
ゴム長靴または頑丈な防水靴
清潔な着替え、石鹸、使い捨てタオル
薬剤の取り扱いに関する適切な教育訓練を受けてください。
目的にあった適切な薬剤を使用してください。
薬剤を安全に散布するために、薬剤メーカーの指示を必ず守ってください。推奨されている散布水圧を超えないよう注意してください。
周囲に人や動物、特に子供いるときには農薬の調整や機材の洗浄などを行わないでください。
薬剤の取り扱いは換気のよい場所で行ってください。
薬剤を取り扱い中や近くで作業中は、飲食や喫煙をしないでください。
散布ノズルを洗浄するとき口で吹いたり、口に含んだりしないでください。
農薬を取り扱う作業が終了したら、直ちに手足や露出部をよく洗ってください。
農薬は別の容器に移し替えたりせず、また安全な場所で保存してください。
使用しなかった薬液や薬剤容器は、メーカーや地域の規則に従って適切に廃棄してください。
薬剤や薬剤から発生する蒸気は危険です。絶対に、タンクの中に入ったり、頭を入れたり、タンクの上に顔をさらしたりしないでください。
国や自治体などの法律や規則を守って散布作業を行ってください。
Note: この6ボタンのInfoCenterは、HDXマニュアル仕様Workmanでのみ使うことができます。Workman HDX-Autoマシンをお使い場合は、引き続き3つボタンのInfoCenterをご利用ください。
インフォセンターLCDディスプレイは、マシンの運転状態、故障診断など)の情報を表示します。インフォセンターには初期画面とメイン情報画面があります。インフォセンターのどのボタンでも、押せば初期画面とメイン画面とをいつでも切り替えることができ、また、矢印ボタンで選択することによって、希望する項目の内容を確認することができます。

Note: 各ボタンの機能はメニューの内容によって変わります。LCD 画面には、各ボタンの上にそのボタンの現在の機能がアイコン表示されます。
![]() | メニュー | ![]() | タンクが空です (容量が10%未満) | |
![]() | 上下にスクロール | ![]() | タンク容量が少ない (10%~29%) | |
![]() | 左/右にスクロール | ![]() | タンク容量が半分です (30%~69%) | |
![]() | 前の画面へ | ![]() | タンク容量が満杯です (70%~100%) | |
![]() | 値を減らす | ![]() | タンク容量を1ガロン増やす | |
![]() | 値を増やす | ![]() | タンク容量を10ガロン増やす | |
![]() | 受け入れる | ![]() | タンク容量を25リットル増やす | |
![]() | 保存 | ![]() | ブームがオフ | |
![]() | PINパスコード | ![]() | ブームがアクティブ | |
![]() | 終了(障害)メニュー | ![]() | 全エリアをクリア | |
![]() | バッテリー電圧 | ![]() | アクティブなエリアをクリア | |
![]() | アワーメータ | ![]() | 散水済み面積 | |
![]() | ロック | ![]() | 全エリア画面 | |
![]() | スプレイヤーエリアに移動する | |||
![]() | スプレイヤーエリアに移動する |
インフォセンターのメニューシステムにアクセスするには、メニュー画面が表示されているときにバックボタンを押します。ボタンを押すとメインメニューが表示されます。各メニューにおいてどのような内容が表示されるかは、以下の表をご覧ください。
保護メニューで保護
- PINを入力することによってのみアクセスが可能
| メニュー項目 | 記述称 |
| Calibration(キャリブレーション) | キャリブレーションメニューは、フローメータと速度センサーのキャリブレーションに役立ちます。 |
| 設定 | 設定メニューを使うと、表示構成変数をカスタマイズおよび変更することができます。 |
| マシンの設定 | マシン設定メニューでは、マシン変数を構成できます。 |
| 整備 | サービスメニューには、マシンの使用時間や障害など、マシンに関する情報が含まれています。 |
| 診断機能 | 診断メニューには、各マシンのスイッチ、センサー、および制御出力の状態が表示されます。これを使うと、どのマシン制御がオンでどの制御がオフであるかがすぐに分かるため、特定の問題のトラブルシューティングに使用できます。 |
| マシンについて | バージョン情報メニューで、モデル番号、シリアル番号、ソフトウェアのバージョンなどを確認することができます。 |
| メニュー項目 | 記述称 |
| Test Speed | キャリブレーション用のテスト速度を設定する。 |
| Flow Cal | フローメータのキャリブレーションを行う。 |
| Speed Cal | 速度センサーのキャリブレーションを行う。 |
| デフォルトのフローキャリブレーションを使う | 流量のキャリブレーションをデフォルトに戻す(実測値ではなく)。 |
| デフォルトの速度キャリブレーションを使う | 速度のキャリブレーションをデフォルトに戻す(実測値ではなく)。 |
| メニュー項目 | 記述称 |
| PINの編集 | 会社によってPINコードを許可された人 (監督者/メカニック) に、保護されたメニューへのアクセスを許可します。 |
保護設定 ![]() | 保護設定の内容を変更することができます。. |
デフォルトにリセットする![]() | デフォルト値をリセットする。 |
| Backlight | LCD画面の明るさを調整します。 |
| 言語 | ディスプレイで使用される言語を制御する。 |
| 表示単位 | 画面で使う単位(ヤードポンド法、ターフ、またはメートル法)を選択できます。 |
| メニュー項目 | 記述称 |
| タンクアラート | タンク残量の警告条件を設定する。 |
左ブーム![]() | 左ブームの長さ設定を変更する。 |
センターブーム![]() | 中央ブームの長さ設定を変更する。 |
右ブーム![]() | 右ブームの長さ設定を変更する。 |
デフォルトにリセットする![]() | デフォルト値をリセットする。 |
| メニュー項目 | 記述称 |
| 不具合 | 不具合メニューは、最近発生した不具合を記憶しています。「故障」メニューおよびそこに含まれる情報の詳細については、サービスマニュアルを参照するか、Toro認定代理店に問い合わせること。 |
| 時間 | マシン、エンジン、リール、およびPTOが使用されていた時間およびマシンが移動走行していた時間と定期整備までの時間が記録されており、これらを確認することができます。 |
流量![]() | 現在の流量を表示。 |
Flow Cal Value![]() | 想定フローと較正フローの差を計算するために使用される現在の乗数を表示する。 |
Speed Cal Value![]() | 想定速度と較正速度の差を計算するために使用される現在の乗数を表示する。 |
| メニュー項目 | 記述称 |
| Pumps | 瞬間すすぎと時間すすぎのオプションにアクセスします。 |
| Booms | ブーム関係の入力出力設定へアクセスする。 |
| Engine Run | エンジン作動関係の入力および出力設定へアクセスする。 |
| メニュー項目 | 記述称 |
| モデル | マシンのモデル番号を表示する。 |
| SN | はマシンのシリアル番号です。 |
| ソフトウェア改訂 | プライマリーコントローラのソフトウェ改訂番号を表示します。 |
XDM–2700![]() | インフォセンターのソフトウェアの改訂番号を表示します。 |
CAN統計![]() | CANバスをリストする |
ディスプレイの設定内で調整できる動作構成設定があります。これらの設定をロックするには、保護されたメニューを使います。
Note: 納品時に、初期パスワードコードは販売代理店によってプログラムされます。
Note: 出荷時に設定されている デフォルト PIN は 0000 または 1234 です。
PIN を変更後、PIN を忘れてしまった場合には、弊社ディストリビュータにご相談ください。
メイン メニューから、設定まで下にスクロールし、選択ボタンを押す。

設定で、「PIN を入力」までスクロールし、選択ボタンを押す。
PINコードを入力するには、正しい最初の桁が表示されるまでナビゲーション ボタンを上下に押し、次に右のナビゲーション ボタンを押して次の桁に進みます。最後の桁が入力されるまでこの手順を繰り返します。
選択ボタンを押す。
Note: ディスプレイがPINコードを受け入れ、保護されたメニューのロックが解除されると、画面の右上隅に「PIN」という文字が表示されます。
保護されたメニューをロックするには、キースイッチをオフの位置に回し、次にオンの位置に回転する。

設定で、設定の保護まで下にスクロールする。
PINコードを入力せずに設定を確認・変更するには、セレクトボタンでプロテクト設定を オフに変更します。
PINコードを使って設定を表示および変更するには、選択ボタンを使ってプロテクト設定を オン)に変更し、PINコードを設定し、イグニッションスイッチのキーをオフの位置に回し、次にオンの位置に回します。
マシン設定を選択する。
タンクアラートを選択する。

スプレイヤーの動作中に警告が表示された場合は、方向ボタンを使ってタンク内の最小量を入力する。
マシン設定を選択する。
更新したいブームを選択する。
方向ボタンを使って、ブームのサイズを2.5 cm単位で変更する。
| 設定 | デフォルト値 |
| Test Speed | 0.0 |
| Spray Tank Alert | 1ガロン/リットル |
| L Boom | 80” |
| C Boom | 60” |
| R Boom | 80” |
マシン設定を選択し、デフォルトにリセットを選択する。
Note: ボリュームを変更するとタンクアラートがリセットされます。
ENTERボタンを押して右に移動する。ディスプレイには現在のタンクボリュームが表示されます。
ボタンを押してタンクボリュームを増減します。
上/下の方向ボタンを押すと、±10 (米国単位の場合) または ±25 (メートル単位の場合) にジャンプします。
左/右の方向ボタンを押すと、ボリュームが1つずつ変化します。

これらの画面は次のものを表示します:
散布済み面積: US(エーカー)、SI(ヘクタール)、TU(1000 ft2)
散布総量(米国ガロンまたはリットル)
エリアとボリュームの情報はリセットされるまで蓄積されます。施設の散水タスクごとに各サブエリアを設定しておくと便利です。サブエリアは20個まで設定できます。
Note: 散水を開始する前に、作業予定のサブエリアに移動していることを確認してください。画面に表示されるサブエリアは、カバレッジされるアクティブなサブエリアです。
BACKボタンを押して総エリア画面に移動する。
RIGHTボタンを押すと総エリアデータがリセットされます。
Note: 総エリア画面で総エリアおよび総ボリューム情報をリセットすると、サブエリアごとのデータが全てリセットされます。

BACKボタンを押してサブエリア画面に移動する。
UPボタンを押すとサブエリアデータがリセットされます。

運転操作が不完全な場合などに、インフォセンターの画面にアドバイスが表示されます。たとえば、走行ペダルを踏み込んだ状態でエンジンを始動させようとした場合には、走行ペダルを ニュートラル 位置にしてくださいという表示が出ます。
表示を消すには、ディスプレイ上の任意のボタンを押します。
| アドバイス番号 | 記述称 |
|---|---|
| 200 | 始動不能:ポンプスイッチがONです |
| 201 | 始動不能:ニュートラルになっていません |
| 202 | 始動不能:オペレータ未着席 |
| 203 | 始動不能:スロットルペダルが踏まれたままです |
| 204 | 始動不能:スタータの作動時間切れです |
| 205 | 駐車ブレーキが掛かったままです |
| 206 | ポンプ始動不能:ブームがONです |
| 207 | ポンプ始動不能:エンジンが高速です |
| 208 | スロットル/速度ロック不能:ポンプがOFFです |
| 209 | スロットルロック不能:駐車ブレーキが掛かっていません |
| 210 | 速度ロック不能:着席していない、または駐車ブレーキが掛かっています |
| 211 | スロットル/速度ロック不能:クラッチまたは常用ブレーキが掛かっています |
| 212 | タンク残量警告 |
| 213 | すすぎポンプON |
| 220 | フローセンサーのキャリブレーション |
| 221 | フローセンサーのキャリブレーション:タンクに水を入れ水量を入力してください |
| 222 | フローセンサーのキャリブレーション:ポンプをONにしてください |
| 223 | フローセンサーのキャリブレーション:全部のブームをONにしてください |
| 224 | フローセンサーのキャリブレーション:キャリブレーションを開始しました |
| 225 | フローセンサーのキャリブレーション:キャリブレーションが終了しました |
| 226 | フローセンサーのキャリブレーション:キャリブレーションモードを終了中 |
| 231 | 速度センサーのキャリブレーション |
| 232 | 速度センサーのキャリブレーション:真水タンクに水を満たしてNEXTを押してください |
| 233 | 速度センサーのキャリブレーション:液剤タンクに水を半分入れてNEXTを押してください |
| 234 | 速度センサーのキャリブレーション:走行予定距離を入力してNEXTを押してください |
| 235 | 速度センサーのキャリブレーション:ブームをOFFにしたままで、入力した距離を走行してください |
| 236 | 速度センサーのキャリブレーション:速度センサーのキャリブレーション実行中 |
| 237 | 速度センサーのキャリブレーション:速度センサーのキャリブレーションが終了しました |
| 108 | 速度センサーのキャリブレーション:ブームをOFFにしてください |
| 241 | キャリブレーション結果が規定外なのでデフォルト値を採用します |
毎日、作業前に以下の項目を点検してください。
タイヤ空気圧を点検する。
Note: この車両のタイヤ空気圧は通常の自動車とは異なります;踏圧を減らし芝生の損傷を防止するために低い空気圧に設定されています。
燃料、オイルなどの量を点検し、不足していれば適正品を適正量まで補給する。
ブレーキペダルの作動状態を点検する。
ヘッドライトが正常に作動することを確認する。
ハンドルを左右一杯に切って応答を確認する。
エンジンを掛けない状態で、オイル漏れや各部のゆるみその他の異常がないか点検する。
上記のうち一つでも異常があれば、作業に出発する前に整備士や上司にその旨を伝えてください。現場によっては、上記以外の項目の点検を指示されることもありますので、必ず上司に確認しておきましょう。
Note: ノズル選択ガイドをご覧ください。ガイドは代理店にて入手できます。
ノズルタレットには3種類のノズルを取り付けておくことができます。
平らな場所に駐車し、エンジンを停止させ、駐車ブレーキを掛けてキーを抜き取る。
マスターブームスイッチを OFF とし、散布ポンプのスイッチを OFF にする。
タレットを回転させて希望のノズルにセットする。
流量のキャリブレーションを行う;スプレーヤの流量の基本設定を参照。
標準の装置 50 メッシュ取水部フィルタ(青)
散布する薬剤の種類や粘度に合わせて、取水部フィルタ一覧表から適切なフィルタを選択してください。
| 散布ノズルの色(水量) | スクリーンのメッシュサイズ* | フィルタの色 |
|---|---|---|
| 黄 (0.2gpm) | 50 | 青 |
| 赤 (0.4gpm) | 50 | 青 |
| 茶 (0.5gpm) | 50(または 30) | 青(または緑) |
| 灰 (0.6gpm) | 30 | 緑 |
| 白 (0.8gpm) | 30 | 緑 |
| 青 (1.0gpm) | 30 | 緑 |
| 緑 (1.5gpm) | 30 | 緑 |
| この表のメッシュサイズは、散布する薬剤の種類または水溶液にした時の水と比較した粘度を基準としています。 | ||
Important: 粘度の高い(ドロドロした)薬剤や、ウェッタブル(水和剤)を散布する場合には、オプションの(目の粗い)スクリーンが必要になる場合があります;図 61を参照。

大水量で散布を行う場合には、より目の粗い、オプションの取水部フィルタの使用をご検討ください;図 62を参照。

選択可能なスクリーンサイズ:
標準の装置 50 メッシュ取水部フィルタ(青)
散布する薬剤の種類や粘度に合わせて、圧力フィルタ一覧表から適切なフィルタを選択してください。
| 散布ノズルの色(水量) | スクリーンのメッシュサイズ* | フィルタの色 |
|---|---|---|
| 粘度の低い薬剤や水溶液、少水量散布 | 100 | 緑 |
| 黄 (0.2gpm) | 80 | 黄 |
| 赤 (0.4gpm) | 50 | 青 |
| 茶 (0.5gpm) | 50 | 青 |
| 灰 (0.6gpm) | 50 | 青 |
| 白 (0.8gpm) | 50 | 青 |
| 青 (1.0gpm) | 50 | 青 |
| 緑 (1.5 gpm) | 50 | 青 |
| 粘度の高い薬剤や水溶液、大水量散布 | 30 | 赤 |
| 粘度の高い薬剤や水溶液、大水量散布 | 16 | 茶 |
| この表のメッシュサイズは、散布する薬剤の種類または水溶液にした時の水と比較した粘度を基準としています。 | ||
Important: 粘度の高い(ドロドロした)薬剤や、ウェッタブル(水和剤)を散布する場合には、オプションの(目の粗い)圧力フィルタが必要になる場合があります;図 63を参照。

大水量で散布を行う場合には、より目の粗い、オプションの圧力フィルタの使用をご検討ください;図 64を参照。

Note: ノズル部フィルタはノズルを保護しノズルの寿命を延ばします。使用は任意です。
散布する薬剤の種類や粘度に合わせて、ノズルフィルタ一覧表から適切なフィルタを選択してください。
| 散布ノズルの色(水量) | フィルタのメッシュサイズ* | フィルタの色 |
|---|---|---|
| 黄 (0.2pm) | 100 | 緑 |
| 赤 (0.4gpm) | 50 | 青 |
| 茶 (0.5gpm) | 50 | 青 |
| 灰 (0.6gpm) | 50 | 青 |
| 白 (0.8gpm) | 50 | 青 |
| 青 (1.0gpm) | 50 | 青 |
| 緑 (1.5 gpm) | 50 | 青 |
| この表のメッシュサイズは、散布する薬剤の種類または水溶液にした時の水と比較した粘度を基準としています。 | ||
Important: 粘度の高い(ドロドロした)薬剤や、ウェッタブル(水和剤)を散布する場合には、オプションの(目の粗い)ノズルフィルタが必要になる場合があります;図 65を参照。

大水量で散布を行う場合には、より目の粗い、オプションのノズルフィルタの使用をご検討ください;図 66を参照。

Important: 真水タンクには必ずきれいな真水を入れてください。
Note: 真水タンクは、誤って薬液を目や皮膚に付けてしまったときに直ちに洗い流し行うことができるようにするためのものです。薬剤の取り扱いを始める前に、必ず真水を用意してください。
真水タンクは助手席後ろの ROPSにあります(図 67)。誤って薬液を目や皮膚に付けてしまったときに直ちに洗い流し行うことができます。
タンクに水を入れるには、タンク上面にあるキャップをはずします。真水を入れたらキャップを取り付けてください。
コックのレバーをひねれば真水が出ます。

薬剤の混合をタンクのわきで簡単に行える薬剤プレミックスキット(オプション)があります。
Important: 液剤タンクに薬剤を作る時は、出来る限りきれいな真水を使ってください。
Important: 使用する薬剤がヴィトン(VitonTM)と共用可能な製品であることを確認してください。(共用できない場合には薬剤ラベルにその旨の記述があります)。VitonTMと共用できない薬剤は、本機のOリングを劣化させ、薬液洩れを起こします。
Important: タンクに初めて水を入れた時は、その状態ではタンク固定ベルトが遊んでいないことを確認してください。必要に応じて締め付けを行ってください。
各ブームを開いて散布システム内部に残っているコンディショナを排出する。
平らな場所に駐車し、レンジセレクタをニュートラル位置にし、駐車ブレーキを掛け、エンジンを停止させてキーを抜き取る。
タンクのドレンバルブが閉まっていることを確認する。
薬剤ラベルをよく読み、散布液の作成に必要な水量を把握する。
タンクのふたを開ける。
Note: ふたはタンク上部の中央にあります。開けるには、ふたの前半分を左に回して上に開きます。この状態でストレーナを取り外すことができます。閉める時には、ふたを閉じてから前半分を右に回します。
逆流防止補給口にホースをつなぎ、必要水量の約 ¾ の水をタンクに入れる。
Important: タンクには必ずきれいな真水を先に入れてください。空のタンクに薬剤の原液を直接入れないでください。

エンジンを始動し、PTO を接続し、ハンドスロットルを装備している車両ではハンドスロットルをセットする。
攪拌スイッチを ON にする。
薬剤ラベルに記載されている通りの適正量の薬剤原液をタンクに入れる。
Important: 水和剤を使う場合は、バケツなどで一度泥状に溶いてからタンクに投入してください。
所定量の水をタンクに補給する。
Note: 効果的に撹拌を行うために、散布率の設定を低く設定してください。
Note: 初めて使用する前や、ノズルを交換したときなどには、スプレーヤの流量、速度、ブームバイパスの調整を行う必要があります。
メインタンクに水を一杯に入れる。
Note: 各補正を全て行うのに十分な量の水がタンクに入っていることを確認してください。
左右の散布ブームを降下させる。
保護設定を OFF にする;インフォセンターの使い方を参照。
用意するもの: ±0.1秒まで測定可能なストップウォッチと、最少目盛が50 ml あるメスシリンダー。
Note: スロットルロックの付いていないマシン で流量の確認を行う場合は2人で作業を行う必要があります。
トランスミッションをニュートラルにセットする。
駐車ブレーキを掛け、エンジンを始動させる。
スプレーヤポンプを作動させ、攪拌をON にする。
最大エンジン速度までアクセルペダルを踏み込む。
以下の手順でエンジン速度の確認調整を行う:
スロットルロック(オプション)を 装備していない 車両の場合、1人が運転席でアクセルを踏んでエンジンを最大速度にする。
Note: もう1人が、散布ノズルから水を採取する。
スロットルロック(オプション)を 装備している 車両の場合、アクセルを踏んでエンジンを最大速度にしてスロットルロックをセットする; 実際の操作方法については該当車両のハンドスロットルキットの説明書を参照。
ブームスイッチ 3 つ全部とマスタースイッチを ON にする。
メスシリンダーで散布液を受ける準備をする。
まず 2.75 bar (2.8 kg/cm² = 40 psi) からスタートして水量を測定し、散布量調整スイッチを使って所定の水量が得られるように調整する。
Note: 一回(15秒間)につき3つのサンプルを採取し、それらの値の平均値を吐出水量とする。
| ノズルの色 | 15秒間の吐出量(ミリリットル) | 15秒間の吐出量(オンス) | ||
|---|---|---|---|---|
| 黄 | 189 | 6.4 | ||
| 赤 | 378 | 12.8 | ||
| 茶 | 473 | 16.0 | ||
| 灰 | 567 | 19.2 | ||
| 白 | 757 | 25.6 | ||
| 青 | 946 | 32.0 | ||
| 緑 | 1,419 | 48.0 | ||
所定の水量が出ることがテストで確認できたら、管理者スイッチ(散布率ロックスイッチ)を元通りの設定に戻す。
マスターブームスイッチを OFF にする。
インフォセンターを操作して補正(Calibration)画面にし、そこで流量補正(FLOW CAL)を選択する。
Note: ホーム画面を選択すると、いつでも補正はキャンセルされます。
インフォセンターの中央ボタンを2回押すとメニューが表示される。
右ボタンを押して補正(calibration)メニューに入る。
流量補正(FLOW CAL)を選択して、FLOW CALがハイライトされたら右ボタンを押して決定。
次の画面で、補正に使用する水量(ブームから散布する予定の水量)を入力する;以下の表を参照。
右側の選択ボタンを押す。
プラス(+)ボタンとマイナス(-)ボタンを使って、下の表から得られた流量を入力する。
| ノズルの色 | リットル | 米国ガロン |
| 黄 | 42 | 11 |
| 赤 | 83 | 22 |
| 茶 | 106 | 28 |
| 灰 | 125 | 33 |
| 白 | 167 | 44 |
| 青 | 208 | 55 |
| 緑 | 314 | 83 |
マスターブームスイッチを 5 分間 ON にする。
Note: 散布中、インフォセンターに散布量が表示される。
散布を5分間行ったら中央ボタンでチェックマークを選択する。
Note: 散布中に表示された水量が入力した予定水量と等しくなっている必要はありません。
マスターブームスイッチを OFF にし、中央ボタンでインフォセンター上のチェックマークを選択する。
Note: 以上で補正は終了です。
油圧タンクが満水であることを確認する。
広い平らな場所に、45~152 m の走行コースを設定する。
Note: より正確な結果を得るには、152m のコースにしてください。
エンジンを始動し、車両をスタートラインにつける。
Note: 最も正確な測定を行うためには、タイヤの中心がスタートラインの真上にくるようにしてください。
インフォセンターを操作して補正(Calibration)画面にし、そこで速度補正(Speed Calibration)を選択する。
Note: ホーム画面を選択すると、その時点で補正はキャンセルされます。
インフォセンターの Next という矢印(→)を選択する。
プラス(+)ボタンとマイナス(-)ボタンを使って、作成したコースの長さをインフォセンターに入力する。
車両のギアを一速にセットし、フルスロットルの状態で、コースを真っ直ぐにゴールまで走行する。
ゴールラインで車両を止め、インフォセンター上のチェックマークを選択する。
Note: 最も正確な測定を行うためには、ゴール手前で走行速度をゆるめ、タイヤ(前輪)の中心がゴールラインの真上にくるように停止してください。
Note: 以上で補正は終了です。
スプレーヤを初めて使用する前や、ノズルを交換したときは必ず、スプレーヤの流量、速度、ブームバイパスの調整を行う必要があります。
Important: この作業は平坦な広い場所で行ってください。
Note: スロットルロックの付いていないマシン でブームバイパスの設定確認を行う場合は 2 人で作業を行う必要があります。
油圧タンクが満水であることを確認する。
トランスミッションをニュートラルにセットする。
駐車ブレーキを掛け、エンジンを始動させる。
ブームスイッチを 3 つともONにセットするが、マスターブームスイッチはOFF位置にする。
ポンプスイッチを ON にして攪拌を開始させる。
以下の手順でエンジン速度の確認調整を行う:
スロットルロック(オプション)を 装備していない 車両の場合、1人が運転席でアクセルを踏んでエンジンを最大速度にする。
Note: もう 1 人が、ブームバイパスバルブの調整を行う。
スロットルロック(オプション)を 装備している 車両の場合、アクセルを踏んでエンジンを最大速度にしてスロットルロックをセットする; 実際の操作方法については該当車両のハンドスロットルキットの説明書を参照。
インフォセンターを操作して補正(Calibration)画面にし、そこでテスト速度(Test Speed)を選択する。
Note: ホーム画面を選択すると、その時点で補正はキャンセルされます。
プラス(+)ボタンとマイナス(-)ボタンを使って、テスト速度として 5.6 km/h を入力し、ホームのアイコンを選択する。
レートスイッチを使って、下の表に従って散布率(投下水量)を調整する。
| ノズルの色 | SI(メートル系) | 英語 | ターフ慣用単位 |
| 黄 | 159L/ha | 17 gpa | 0.39 gpk |
| 赤 | 319L/ha | 34 gpa | 0.78 gpk |
| 茶 | 394L/ha | 42 gpa | 0.96 gpk |
| 灰 | 478L/ha | 51 gpa | 1.17 gpk |
| 白 | 637L/ha | 68 gpa | 1.56 gpk |
| 青 | 796L/ha | 85 gpa | 1.95 gpk |
| 緑 | 1,190L/ha | 127 gpa | 2.91 gpk |
左ブームを OFF にし、ブームバイパスバルブ(図 70)を使って、先ほどと同じ水圧(一般的には 2.75 bar = 2.8 kg/cm² = 40 psi)に調整する。
Note: バイパスバルブについている水量目盛りは、単なる目安のためのものです。

左ブームをON にし、右ブームをOFF にする。
右ブームバイパスバルブ (図 70) を使って、先ほどと同じ水圧(一般的には 2.75 bar = 2.8 kg/cm² = 40 psi)に調整する。
右ブームをON にし、中央ブームをOFF にする。
中央ブームバイパスバルブ (図 70) を使って、先ほどと同じ水圧(一般的には 2.75 bar = 2.8 kg/cm² = 40 psi)に調整する。
全部のブームを OFF にする。
ポンプを停止させる。
Note: 以上で補正は終了です。
| 整備間隔 | 整備手順 |
|---|---|
| 1年ごと |
|
Important: この作業は平坦な広い場所で行ってください。
Note: スロットルロックの付いていないマシン で攪拌バイパスバルブの確認を行う場合は2人で作業を行う必要があります。
油圧タンクが満水であることを確認する。
攪拌コントロールバルブが開いていることを確認する。何らかの調整が行われて全開になっていない場合には、ここで全開にする。
トランスミッションをニュートラルにセットする。
駐車ブレーキを掛け、エンジンを始動させる。
スプレーヤのポンプを作動させる。
以下の手順でエンジン速度の確認調整を行う:
スロットルロック(オプション)を 装備していない 車両の場合、1人が運転席でアクセルを踏んでエンジンを最大速度にする。
Note: もう1人が、散布ノズルから水を採取する。
スロットルロック(オプション)を 装備している 車両の場合、アクセルを踏んでエンジンを最大速度にしてスロットルロックをセットする; 実際の操作方法については該当車両のハンドスロットルキットの説明書を参照。
個別ブームスイッチ(3つすべて)を OFF にセットする。
マスターブームスイッチを ON にセットする。
システム水圧を最大にセット。
攪拌スイッチを OFF にして水圧計の読みを見る。
水圧計の読みが 6.9 bar で変化していなければ、攪拌バルブの基本設定は適切である。
水圧計の読みが変化していなければ、以下の設定手順を行う。
攪拌バルブの背面についている攪拌バイパスバルブ(図 72)を使って、水圧計の読みが 6.9 bar になるように調整する。

ポンプスイッチをOFF位置に戻し、スロットルレバーをアイドル位置に戻し、始動スイッチを OFF にする。
Note: マスターブームバイパスバルブは、マスターブームスイッチがOFFのときに液剤タンクの攪拌ノズルに送る液量を増減するためのバルブです。
油圧タンクが満水であることを確認する。
駐車ブレーキを掛ける。
トランスミッションをニュートラルにセットする。
スプレーヤのポンプを作動させる。
撹拌スイッチを ON 位置にする。
マスターブームスイッチを OFF にセットする。
以下の手順でエンジン速度の確認調整を行う:
スロットルロック(オプション)を 装備していない 車両の場合、1人が運転席でアクセルを踏んでエンジンを最大速度にする。
Note: もう1人が、散布ノズルから水を採取する。
スロットルロック(オプション)を 装備している 車両の場合、アクセルを踏んでエンジンを最大速度にしてスロットルロックをセットする; 実際の操作方法については該当車両のハンドスロットルキットの説明書を参照。
マスターブームバイパスハンドルを使ってタンク内の攪拌動作を調整する(図 72)。
スロットル速度をアイドリングにする。
攪拌スイッチとポンプスイッチを OFF にセットする。
エンジンを停止する。
散布用ポンプは車両の後部にあります (図 73)。

オーナーやオペレータは自分自身や他の安全に責任があり、オペレータやユーザーの注意によって物損事故や人身事故を防止することができます。
作業にふさわしい服装をし、安全めがね、長ズボン、頑丈で滑りにくい安全な靴、および聴覚保護具を着用してください。長い髪は束ねてください。ゆるい装飾品やだぶついた服は身に着けないでください。
「薬剤の安全管理」で解説しているような適切な防護服を着用してください。
この機械を運転する時は常に十分な注意を払ってください。運転中は運転操作に集中してください;注意散漫は事故の大きな原因となります。
疲れている時、病気の時、アルコールや薬物を摂取した時は運転しないでください。
運転士以外の乗員は 1 人のみとしてください;運転士以外の乗員は必ず助手席に着席してください。
運転は、穴や障害物を確認できる十分な照明のもとで行ってください。
エンジンを始動する前に、運転席に座り、トランスミッションがニュートラル位置にあることを確認してください。
走行中は必ず着席してください。可能な限り両手でハンドルを握り、両手両足を車外に出さないでください。
見通しの悪い曲がり角や、茂み、立ち木などの障害物の近くでは安全に十分注意してください。
バックする際には必ず後方を確認し、人がいないことを確かめてください。バックはゆっくりと。
周囲にペットや人、特に子供がいる所では絶対に散布作業をしないでください。
段差や溝、大きく盛り上がった場所の近くなどで運転しないでください。万一車輪が段差や溝に落ちたり、地面が崩れたりすると、機体が瞬時に転倒し、非常に危険です。
ラフ、凹凸のある場所、縁石の近く、穴の近くなど路面が一定でない場所では必ず減速してください。車体が揺れると重心が移動し、運転が不安定になります。
異物をはね飛ばしたときや機体に異常な振動を感じたときにはまず停止し、エンジンを止め、キーを抜き取り、駐車ブレーキを掛け、機体の各部をよく点検してください。異常を発見したら、作業を再開する前にすべて修理してください。
旋回するときや道路や歩道を横切るときなどは、減速し周囲に十分な注意を払ってください。常に道を譲る心掛けを。
ぬれた場所、悪天候時、満載状態などでの運転には十二分の注意を払う。こうした条件下では停止距離が長くなることを忘れずに。
エンジン回転中や停止直後は、エンジン本体やマフラーに触れないでください。これらの部分は高温になっており、触れると火傷を負う危険があります。
運転席を離れる前に:
平らな場所に駐車する。
トランスミッションをニュートラルにセットする。
散布用ポンプを停止させる。
駐車ブレーキを掛ける。
エンジンを止め、(キーのある機種では)キーを抜き取る。
全ての動きが停止するのを待つ。
排気ガスが充満するような締め切った場所では絶対にエンジンを運転しないでください。
落雷の危険がある時には運転しない。
弊社(トロ)が認めた以外のアクセサリやアタッチメントを使用しないでください。
マルチプロ WM の運転は、薬剤を作る、現場に散布する、タンク内部を洗浄する、という3つの作業から成り立っており、この3つの作業を必ず連続して行っていただくことがスプレーヤの故障防止上非常に重要です。つまり、前夜に薬液を作って翌日に散布するというようなことをしてはいけません。このようなことをすると、薬液が分離分解するなどして効果が上がらない、散布装置を損傷するなどの恐れがでてきます。
Important: タンクについている水量マークはおおよその目安にすぎず、正確な水量調整に使用することはできません。
農薬は人体に危険を及ぼす恐れがある。
農薬を使う前に、農薬容器に張ってあるラベルをよく読み、メーカーの指示を全て守って使用する。
農薬を皮膚に付けないように注意すること。万一付着した場合には真水と洗剤で十分に洗い落とす。
作業にあたっては保護ゴーグルなど、メーカーが指定する安全対策を必ず実行する。
マルチプロ WM は耐久性が高く長い間お使い頂ける散布車として製造されています。装置の性能と耐久性を確保するために、それぞれの個所に応じて色々な種類の素材を使用しております。残念ながら、散布装置の使用目的すべてに完璧に合った材料というものは存在しません。
散布する薬剤によっては、その化学的特性のために装置を劣化させやすいものがあり、また、薬品同士が様々な物質と化学作用を起こします。薬剤のタイプ(水和剤やチャコールなど)によっては、装置を磨耗させやすいものがあります。もし、侵食や磨耗を引き起こしにくい種類や形態の薬剤を使うことが可能な場合は、そのような薬剤をお使いくださるようにお願いいたします。
また、散布作業後は、必ず車両と装置全体を十分に洗浄してください。作業後の洗浄を確実に行うことにより、寿命を延ばし、トラブルのない作業を続けることができます。
Important: タンク内部の薬剤を常に確実に分散させておくために、タンク内部に薬液がある間は常時攪拌を行ってください。攪拌を行うためにはエンジンが作動(アイドル以上の速度で回転)し、PTO が接続されている必要があります。車両停止(散布停止)中に攪拌を行う場合には、シフトレバーをニュートラルにし、駐車ブレーキを掛け、PTOを接続し、ハンドスロットル装着車ではハンドスロットルをセットします。
Note: 以下の手順は、PTO が ON 状態(マニュアルタイプのHDシリーズ)で、個別ブームバルブのキャリブレーション(基本調整)が終了していることを前提として記述しています。
各ブームを開く。
マスターブームスイッチを OFF にセットする。
散布したいブームのスイッチを ON 位置にする。
現場へ移動する。
インフォセンターで散布率画面を呼び出し、以下の手順で希望する散布率を入力する:
ポンプのスイッチが ON 位置にセットされていることを確認する。
マニュアルトランスミッションのHDシリーズでは、希望するギアレンジにセットする。
予定の散布速度で走行を開始する。
モニタが正確な散布率を表示していることを確認する。必要に応じて、散布率スイッチを操作して希望する散布率に合わせる。
散布を行う現場へ戻る。
マスターブームスイッチを ON にして散布を開始する。
Note: タンク内の液量が減ってくると、液剤によっては泡の発生が問題になることがあります。そのような場合には攪拌バルブを OFF にしてください。消泡剤を利用してもよいでしょう。
散布が終了したら、マスターブームスイッチを OFF とし、全部の個別ブームを止め、PTO レバーを OFF にする(マニュアルトランスミッションのHDシリーズ)。
Important: スプレーヤを停止させた状態で作業中に、エンジンやラジエター、マフラーなどからの熱が原因でターフを傷めてしまう可能性があります。停止モードとは、走行しないで撹拌だけを行う、ハンドガンで手撒きする、歩行型ブームで手撒きするなどを言います。
以下の注意を守ってください:
酷暑の時期や極めて乾燥している時期にはターフが大きなストレスを受けているので、ターフ上に停止して散布するのは避ける。
停止モードで作業する時には、ターフの上に停止しないようにする。可能な限り、カートパスなどに停車する。
ターフ上に停車する時は、停車時間をできるだけ短くする。芝生へのダメージの程度は停車時間と温度によって決まる。
エンジンの回転速度をできるだけ下げ、必要最小限の水圧と水量で作業する。これにより、発熱をできるだけ小さくし、また冷却ファンからの熱風をゆるやかにすることができる。
停止モードで作業するときには、エンジンの熱ができるだけ上に逃げるように運転席を倒し車体上部に通風領域を確保する。
スプレーヤのコントロールパネルにあるブーム昇降スイッチを使うと、運転席に座ったままで左右のブームの昇降操作(散布位置と移動走行位置の切り替え)ができます。ブームの昇降を行うときには、できるだけ停車してください。
ブームの昇降を油圧で制御できるように、油圧昇降レバーをロック位置にセットする。
油圧昇降レバーを前方に押す。

油圧昇降ロックを左に動かしてロックをかける。
以下の操作を行って、左右のブームを散布位置に下降させてください。
平らな場所に駐車する。
左右のブームを下げるにはブーム昇降スイッチを使う。
Note: 左右の散布ブームが完全に散布位置に降りるまで待つ。
散布作業を行い、その後、以下の操作を行って、左右のブームを移動走行位置に上昇させてください。
平らな場所に駐車する。
ブームセクションの昇降スイッチを使って、外側のスプレーセクションの1つを上げる。
ブームセクションの昇降スイッチを使って、その他の外側のスプレーセクションを上げる。
セクションを「X」形状のブームセクション搬送クレードルに完全に移動して輸送位置にし、昇降シリンダーが完全に格納されるまで上げる。
Important: ブームが所定位置にきたらブーム昇降スイッチから手を離してください。アクチュエータがストッパに当たっているのにスイッチを押し続けると、油圧シリンダなどが破損したりする可能性があります。
Important: 移動走行中、低く垂れた木の枝などの障害物にブームが当たらないように注意してください。ブームが当たるとブームが損傷する恐れがあります。
Important: 移動走行を行う場合は必ずブームをX字型に組んでクレードルにセットしてください。これ以外の位置ではブームが破損する恐れがあります。

Important: 昇降シリンダの破損を防止するために、移動走行を開始する前に、各アクチュエータが完全に引き込まれた状態になっているのを確認してください。
二重散布にならないように注意して運転する。
ノズルの詰まりに注意する。詰まっていたり、損傷したノズルはすべて交換する。
停車する場合は、まずマスターブームスイッチで散布を停止し、その後に走行を停止する。停止したらニュートラルエンジンロックを使って撹拌を続ける。
散布開始は車両が走行中に行う方が良い結果が得られる。
散布率表示を時々確認する;この表示が大きく変わる場合、ノズルの散布能力と走行速度が合わなくなっている可能性やシステムが正常に働いていない可能性がある。
作業中に詰まりを起こしたノズルは、以下の方法で詰まりを取り除くことができます:
平らな場所に停車し、エンジンを停止させ、駐車ブレーキを掛ける。
マスターブームスイッチを OFF とし、次いでポンプスイッチを OFF にする。
詰まっているノズルを外し、水を吹き付けたり歯ブラシなどを使って清掃する。
ノズルを取り付ける。
平らな場所に駐車し、駐車ブレーキを掛け、エンジンを停止し、キーを抜き取り、可動部が完全に停止したのを確認する。
その日の散布作業が終了したら、まず車両の外側を真水で十分に洗浄して液剤を落としてください。
閉めきった場所に本機を保管する場合は、エンジンが十分冷えていることを確認してください。
必要に応じてシートベルトの清掃と整備を行ってください。
ガス湯沸かし器のパイロット火やストーブなど裸火や火花を発するものがある近くでは、絶対に機械や燃料容器を保管・格納しないでください。
機体各部が良好な状態にあり、ボルトナット類が十分にしまっているか常に点検してください。
摩耗、破損したり読めなくなったステッカーは交換してください。
Important: 塩分を含んだ水や処理水は機体の洗浄に使用しないでください。
| 整備間隔 | 整備手順 |
|---|---|
| 1年ごと |
|
Important: 作業が終了したら毎回すぐにスプレーヤを洗浄してください。これを怠ると、内部に残留している薬剤が固まってラインの詰まりやポンプの異常の原因となります。
認証されているすすぎキットを使用しましょう。詳細については弊社代理店におたずねください。
散布システムは 一回使用するごとに 洗浄してください。十分な洗浄を行うために、以下をお守りください:
すすぎ洗いを3回別々に行う。
薬剤メーカーが指示をしている場合には、その指示に従ってクリーナや中和剤を使用する。
最後の すすぎ洗いは、純粋な真水(クリーナや中和剤を使用しない)を使って行う。
タンクに少なくとも 190 リットルの水を入れてふたを閉める。
Note: 必要に応じて洗浄剤や中和剤を使用してください。ただし、最後のすすぎには真水で行ってください。
各ブームを開いて散布状態にセットする。
エンジンを始動し、ポンプスイッチを ON 位置にする。
次に、スロットルをやや高めの位置にセット。
攪拌スイッチを ON にし、散布率スイッチで水圧を上げる。
マスターブームスイッチと個別ブームスイッチを ON にして散布を開始する。
タンク内部の水が全部ノズルから放出されるまでその場で散布を行う。
その間に、ノズルの散布パターンを点検する。
マスターブームスイッチを OFF位置とし、ポンプを停止、エンジンを停止させる。
上記1から9までの作業を少なくともあと 2 回繰り返して、システム内部を完全に洗浄する。
Important: スプレーヤの内部を完全に洗浄するために、この洗浄は必ず3回行ってください。
吸い込みフィッティングと水圧フィルタを洗浄する;取水部フィルタの清掃と圧力フィルタの清掃を参照。
Important: 水和剤を使用しているときは、タンクに液剤を準備するごとにストレーナを洗浄してください。
ホースと水とでスプレーヤの外側を洗浄する。
ノズルを外して手で洗浄する。磨耗したり破損したりしているノズルは交換する。
| 整備間隔 | 整備手順 |
|---|---|
| 使用するごとまたは毎日 |
|
平らな場所に駐車し、駐車ブレーキを掛け、ポンプとエンジンを停止し、始動キーを抜き取る。
タンク上部で、フィルタハウジングからの太いホースについているフィッティングを固定しているリテーナを外す (図 78)。

フィルタハウジングからホースとフィッティングを取り外す(図 78)。
フィルタハウジング(タンク内部)からストレーナを取り出す(図 79)。

フィルタを水で洗浄する。
Important: フィルタが破損している場合や清掃できない場合は交換してください。
フィルタハウジングにフィルタをきちんと取り付ける。
ホースとホースフィッティングをフィルタハウジングに元通りに取り付け、ステップ 2で取り外したリテーナを使って固定する。
| 整備間隔 | 整備手順 |
|---|---|
| 使用するごとまたは毎日 |
|
平らな場所に駐車し、駐車ブレーキを掛け、ポンプとエンジンを停止し、始動キーを抜き取る。
圧力フィルタの下に受け容器をおく(図 80)。

圧力フィルタのボウルについているドレンキャップを左に回して外す(図 80)。
Note: ボウルから液が完全に抜けるのを待つ。
ボウルを左に回してフィルタヘッドを外す(図 80)。
圧力フィルタエレメントを外す(図 80)。
フィルタを水で洗浄する。
Important: フィルタが破損している場合や清掃できない場合は交換してください。
ドレンプラグのガスケット(ボウルの内側)とボウルのガスケット(フィルタヘッドの内側)に傷や破損がないか点検する(図 80)。
Important: プラグ用もボウル用も、磨耗したり破損したりしているガスケットは交換してください。
圧力フィルタエレメントをフィルタヘッドに取り付ける(図 80)。
Note: フィルタエレメントがヘッドに密着していることを確認してください。
フィルタヘッドにボウルを取り付けて手締めする(図 80)。
ボウルの底部のフィッティングにドレンキャップを取り付けてキャップを手締めする(図 80)。
| 整備間隔 | 整備手順 |
|---|---|
| 使用後毎回 |
|
コンディショナについての仕様:防錆材を配合したプロピレングリコール系の「無毒RV不凍液」
Important: 必ず防錆材入りのプロピレングリコールを使用してください。 新しいプロピレングリコールを使ってください。エチレングリコール系の不凍液は使用しないでください。プロピレングリコールにアルコール(メタノール、エタノール、イソプロパノール)や塩水を添加しないでください。
平らな場所に駐車し、駐車ブレーキを掛け、エンジンを停止させ、キーを抜き取る。
以下のようにして、コンディショナをタンクに入れる:
そのまま使える(プレミックス)タイプのプロピレングリコール RV 不凍液は、液剤タンクに 38 リットル投入する。
濃縮タイプのプロピレングリコール RV 不凍液の場合は、以下の作業を行う:
所定濃度に薄めたプロピレングリコール RV 不凍液を液剤タンクに 38 リットル投入する。メーカーの指示に従って、凍結防止温度が少なくとも -45°C (-50°F) となるように濃度を調整する。
Important: 必ず真水を使用してください。
エンジンを始動し、散布ポンプスイッチを ON 位置にする。
アクセルペダルを踏み込んでエンジン速度を上げる。
撹拌スイッチを ON 位置にする。
そのまま約3分間かけてコンディショナ液をシステム内部に循環させる。
用意するもの:透明な回収容器
薬剤取扱い専用エリアに停車して駐車ブレーキを掛ける。
左右の外側ブームを降下させる。
左右と中央のブームスイッチ 3 つ全部とマスタースイッチを ON にする。
散布システム内部からコンディショナが完全に散布されてしまうのを待つ。
Note: ほとんどのプロピレングリコール RV 不凍液はピンク色に着色されています。数か所のノズルから、コンディショナを回収容器に採取して状態を観察する。
散布が終了したら、マスターブームスイッチ、個別ブームスイッチ、攪拌スイッチ、散布ポンプスイッチを OFF とし、エンジンを停止させてキーを抜き取る。
緊急時の牽引方法などについては、それぞれのワークマン車両の オペレーターズマニュアルを参照してください。
Important: 左右のブームをそれぞれのクレードルに縛り付けて固定する。
Note: www.Toro.com から、この機械に関する配線図と油圧回路図をダウンロードすることができます。弊社ホームページからマニュアルへのリンクをご活用ください。
Note: 前後左右は運転位置からみた方向です。
運転席を離れる前に:
平らな場所に駐車する。
トランスミッションをニュートラルにセットする。
駐車ブレーキを掛ける。
エンジンを止め、(キーのある機種では)キーを抜き取る。
全ての動きが停止するのを待つ。
保守作業は、各部が十分冷えてから行う。
許可を受けた有資格者以外には、この車両の保守、修理、調整、点検などの作業をさせないでください。
保守整備作業は、必ず機体を十分に洗浄し、すすいでから行ってください;薬剤の安全管理の章を参照。
この散布装置で取り扱う農薬は人体や動植物、土壌などに危険を及ぼす可能性があるので取り扱いには十分注意してください。
自分自身の安全を守るために、農薬を取り扱う前に、容器に張ってあるラベルや安全データシート(SDS)など取り扱い上の注意をよく読んで理解し、薬剤メーカーの指示を守りましょう。
農薬の近くにいる時は常に自分の皮膚に薬剤を付着させないように注意しましょう。薬剤との接触を防止し危険から身を守ることのできる適切な防具(PPE)を着用してください。具体的には:
安全めがねやゴーグル、フェースシールド
防護服
呼吸器やフィルタ付きマスク
薬剤耐性手袋
ゴム長靴または頑丈な防水靴
清潔な着替え、石鹸、使い捨てタオル
安全確保に必要な情報が手に入らない場合には、この装置の運転を拒否してください。
周囲に人や動物、特に子供いるときには農薬の調整や機材の洗浄などを行わないでください。
薬剤の取り扱いは換気のよい場所で行ってください。
いつでも、特に液剤タンクに薬液を作るときには、真水を手元に用意してください。
薬剤を取り扱い中や近くで作業中は、飲食や喫煙をしないでください。
散布ノズルを洗浄するとき口で吹いたり、口に含んだりしないでください。
農薬を取り扱う作業が終了したら、直ちに手足や露出部をよく洗ってください。
薬剤や薬剤から発生する蒸気は危険です。絶対に、タンクの中に入ったり、頭を入れたり、タンクの上に顔をさらしたりしないでください。
ねじ類は十分に締めつけ、常に機械全体の安全を心掛けてください。
火災防止のため、エンジンの周囲に、余分なグリス、薬剤、草や木の葉、ほこりなどを溜めないようにご注意ください。
エンジンを回転させながら調整を行わなければならない時は、手足や頭や衣服をローラや可動部に近づけないように十分ご注意ください。また、無用の人間を近づけないようにしてください。
車両の走行速度を調整しないでください。トロの正規代理店で走行速度検査を受け、安全性と精度を確認しておきましょう。
大がかりな修理が必要になった時や技術的な援助が必要な時は、Toro 正規代理店にご相談ください。
車両の改造を行うと、機械の挙動や性能、耐久性などが変化し、そのために事故が起きる可能性があります。このような使い方をすると製品保証が適用されなくなります。
機体の下で作業する場合には、必ずジャッキスタンドで機体を確実に支えてください。
機器類を取り外すとき、スプリングなどの力が掛かっている場合があります。取り外しには十分注意してください。
| 整備間隔 | 整備手順 |
|---|---|
| 使用するごとまたは毎日 |
|
| 使用後毎回 |
|
| 50運転時間ごと |
|
| 100運転時間ごと |
|
| 200運転時間ごと |
|
| 400運転時間ごと |
|
| 1年ごと |
|
Important: 上記以外の保守については車両のオペレーターズマニュアルとエンジンのマニュアルを参照してください。
このページをコピーして使ってください。
| 点検項目 | 第 週 | ||||||
|---|---|---|---|---|---|---|---|
| 月 | 火 | 水 | 木 | 金 | 土 | 日 | |
| ブレーキと駐車ブレーキの作動状態。 | |||||||
| ギアシフト/ニュートラルの操作。 | |||||||
| 燃料残量を確認する。 | |||||||
| タンクに水を入れる前にエンジンオイルの量を点検する。 | |||||||
| タンクに水を入れる前にトランスアクスルオイルの量を点検する。 | |||||||
| タンクに水を入れる前にエアクリーナのフィルタを点検する。 | |||||||
| タンクに水を入れる前にエンジンの冷却フィンを点検する。 | |||||||
| エンジンからの異常音。 | |||||||
| 運転操作時の異常音。 | |||||||
| タイヤ空気圧。 | |||||||
| オイル漏れがないか点検する。 | |||||||
| 計器類の動作。 | |||||||
| アクセルの作動状態を点検する。 | |||||||
| 取水部ストレーナ。 | |||||||
| トーインの点検。 | |||||||
| 各グリス注入部のグリスアップを行う。1 | |||||||
| 塗装傷のタッチアップ。 | |||||||
1 車体を水洗いしたあとは整備間隔に関係なく直ちにグリスアップする。
| 点検担当者名: | ||
| 内容 | 日付 | 記事 |
| 1 | ||
| 2 | ||
| 3 | ||
| 4 | ||
| 5 | ||
| 6 | ||
| 7 | ||
| 8 | ||
| 9 | ||
| 10 | ||
始動スイッチにキーをつけたままにしておくと、誰でもいつでもエンジンを始動させることができ、危険である。
整備・調整作業の前には必ず始動スイッチからキーを抜きとり、さらにバッテリーからマイナスケーブルを外しておくこと。バッテリーケーブルが絶対に端子に触れることのないよう、確実に隔離すること。
スプレーヤのタンクアセンブリは重量があるので危険である。取り付け時や取り外し時に適切な保持を行わないと落下するなどして人身事故となる恐れがある。
取り付け時や取りはずし時などタンクが台に固定されていない時は、ホイストなどで上から吊って保持すること。
タンクアセンブリを吊り上げてエンジンなどの車両主要部へのアクセスを確保することができます。重量をより均等に配分するため、ブームエクステンションを前に折りたたんでください。
液剤タンクを空にする。
平らな場所に駐車する。
ブーム昇降スイッチを使ってブームエクステンションを約45°の角度に上げる。
駐車ブレーキを掛け、エンジンを停止させ、キーを抜き取る。
バッテリーの接続を外す。
タンク台の前部から、安全ボルトを取り外す(図 82)。

センターコンソールハーネスをメインハーネスから切り離し、メインハーネスの配線を外してたるみをとる。
ブームエクステンションを前方向に折り畳み、後ろに開いてしまわないよう、タンクに沿って固定する。
昇降シリンダが完全に伸びきるまでタンクアセンブリを上昇させる。
ROPS パネルの後ろについている保管用ブラケットから荷台サポート(安全サポート)を取り外す(図 83)。

サポートをシリンダロッドにはめ込み、サポートの端部でシリンダバレルの端と昇降シリンダのロッドの端を確実に支える(図 84)。

タンクアセンブリを下げてもよい状態になったら、安全サポートを取り外して元の位置(ROPS パネル後ろ保管用ブラケット)に収納する。
Important: 安全サポートをシリンダに取り付けたままでタンクアセンブリを下げようとしないこと。
シリンダを縮めて慎重にタンクを降下させる。
タンクアセンブリを固定する前方のボルトを取り付ける。
ブームエクステンションを後方に開く。
ブーム昇降スイッチを使ってブームエクステンションを移動走行位置に上げる。
メインハーネスのたるみをとるように配線し、それをセンターコンソールハーネスに接続する。
| 整備間隔 | 整備手順 |
|---|---|
| 50運転時間ごと |
|
グリスの種類: Mobil XHP 461
散布用ポンプのグリス注入部を探し出す。
Note: ポンプは車両の後部にあります。

リモートグリスフィッティング(2個)をきれいに拭く。
各リモートグリスフィッティングにグリスを注入する。
はみ出したグリスはふき取る。
| 整備間隔 | 整備手順 |
|---|---|
| 100運転時間ごと |
|
Important: ブームの蝶番を水洗いした場合には、蝶番アセンブリから水と異物を完全に除去し、新しいグリスを塗ってください。
グリスの種類:No. 2 汎用リチウム系グリス
異物を入れてしまわないよう、グリスフィッティングをきれいに拭く。
グリスガンでグリスを注入する図 86。

はみ出したグリスはふき取る。
各ブームピボットについて上記の作業を行う。
マシンの整備や修理を行う前に、バッテリーの接続を外してください。バッテリーの接続を外すときにはマイナスケーブルを先に外し、次にプラスケーブルを外してください。接続するときにはプラスを先に接続し、次にマイナスを接続してください。
バッテリーの充電は、火花や火気のない換気の良い場所で行ってください。バッテリーと充電器の接続や切り離しを行うときは、充電器をコンセントから抜いておいてください。
また、安全な服装を心がけ、工具は確実に絶縁されたものを使ってください。
スプレーヤシステムのヒューズブロックは、車両のヒューズブロックの一番端にあります。切れているヒューズを、同じタイプ、同じ電流値のヒューズに交換してください。

| 整備間隔 | 整備手順 |
|---|---|
| 200運転時間ごと |
|
| 400運転時間ごと |
|
散布系統の各ホースを点検し、割れ、漏れその他の破損が発生していないか調べてください。同時に、接続部やフィッティングも点検してください。破損しているホースやフィッティングは交換してください。
| 整備間隔 | 整備手順 |
|---|---|
| 400運転時間ごと |
|
Note: 散布作業に合った取水部フィルタのメッシュサイズを調べる;取水部フィルタの選択を参照。
平らな場所に駐車し、駐車ブレーキを掛け、ポンプとエンジンを停止し、始動キーを抜き取る。
タンク上部で、フィルタハウジングからの太いホースについているフィッティングを固定しているリテーナを外す (図 88)。

フィルタハウジングからホースとフィッティングを取り外す(図 88)。
フィルタハウジング(タンク内部)から古いフィルタを取り出す(図 89)。
Note: 外した古いフィルタは廃棄する。

新しいフィルタをハウジングに取り付ける。
Note: フィルタは奥まで完全に差し込んでください。
ホースとホースフィッティングをフィルタハウジングに元通りに取り付け、ステップ 2で取り外したリテーナを使って固定する。
| 整備間隔 | 整備手順 |
|---|---|
| 400運転時間ごと |
|
Note: 散布作業に合った圧力フィルタのメッシュサイズを調べる;圧力フィルタの選択を参照。
平らな場所に駐車し、駐車ブレーキを掛け、ポンプとエンジンを停止し、始動キーを抜き取る。
圧力フィルタの下に受け容器をおく(図 90)。

圧力フィルタのボウルについているドレンキャップを左に回して外す(図 90)。
Note: ボウルから液が完全に抜けるのを待つ。
ボウルを左に回してフィルタヘッドを外す(図 90)。
古い圧力フィルタエレメントを外す(図 90)。
Note: 外した古いフィルタは廃棄する。
ドレンプラグのガスケット(ボウルの内側)とボウルのガスケット(フィルタヘッドの内側)に傷や破損がないか点検する(図 90)。
Note: プラグ用もボウル用も、磨耗したり破損したりしているガスケットは交換してください。
新しい圧力フィルタエレメントをフィルタヘッドに取り付ける(図 90)。
Note: フィルタエレメントがヘッドに密着していることを確認してください。
フィルタヘッドにボウルを取り付けて手締めする(図 90)。
ボウルの底部のフィッティングにドレンキャップを取り付けてキャップを手締めする(図 90)。
Note: 散布作業に合ったノズルフィルタのメッシュサイズを調べる;ノズル部フィルタの選択(任意)を参照。
| 整備間隔 | 整備手順 |
|---|---|
| 400運転時間ごと |
|
Note: 以下の構成機器は消耗機材であり通常の使用によって劣化磨耗しますので、製造上の瑕疵が明らかな場合を除き、このマシンの製品保証の対象にはなりません。
弊社代理店に依頼して、以下の項目についてポンプの内部点検を行ってください:
ポンプのダイヤフラム
ポンプのチェックバルブアセンブリ
必要に応じて部品の交換を行ってください。
| 整備間隔 | 整備手順 |
|---|---|
| 400運転時間ごと |
|
平らな場所に駐車し、駐車ブレーキを掛け、ポンプとエンジンを停止し、始動キーを抜き取る。
ブームを散布位置に展開し、スタンドに載せるか上から吊るかして、ブームを支える。
ピボットピンを固定しているボルトとナットを外してピンを取り外す(図 92)。

センターフレームのエンドチャネルからブーム & ピボットブラケットアセンブリを取り外すとナイロン製ブッシュが見える。
ナイロンブッシュを取り外し、ピボットブラケットの前面および後面側から見て点検する (図 92)。
Note: 摩耗・破損しているブッシュは交換する。
各ナイロンブッシュに少量のオイルを塗ってピボットブラケットに取り付ける(図 92)。
ピボットブラケットの穴を、エンドチャネルの穴に合わせる(図 92)。
ピボットピンを取り付け、ステップ3で取り外したフランジボルトとフランジロックナットで固定する。
反対側のブームについても、ステップ2-8の作業を行う。
左右のブームを水平に維持するためには、中央ブームについているアクチュエータを、以下の手順で調整します:
ブームを散布位置にセットする。
ピボットピンからコッターピンを抜き取る(図 93)。

ブームを持ち上げて、ピンを外し(図 93)、ブームをゆっくりと床面に降ろす。
ピンが破損していないか点検し、必要に応じて交換する。
アクチュエータロッドの平たい面にスパナをあてがって回転しないように押さえ、ジャムナットをゆるめて、アイレットロッドを調整できるようにする(図 94)。

アイレットロッドを回転させてアクチュエータを希望の長さに調整する(図 94)。
Note: ブームにロッドを組み付けるためには、アイレットロッドを半回転または全回転させる必要があります。
希望通りの位置に設定できたら、ジャムナットを締めてアクチュエータとアイレットロッドを固定する。
ブームを持ち上げて、ピボットをアクチュエータロッドに整列させる。
ブームを支えながら、ブームのピボットとアクチュエータロッドにピンを通す(図 93)。
ピンを入れた状態で、ブームから手を離し、先ほど外したコッターを使ってピンを固定する。
必要に応じ、各アクチュエータロッドベアリングについて上記の作業を行う。
Important: 塩分を含んだ水や処理水は機体の洗浄に使用しないでください。
| 整備間隔 | 整備手順 |
|---|---|
| 200運転時間ごと |
|
内部を十分に手順は以下の通りです:すすぎ、完全に排水する。
スプレーヤからフローメータを外し、真水で洗浄する。
上流側のリテーナリングを外す(図 95)。

タービンとタービンハブをていねいに洗浄し、金属粉や展着剤を十分に除去する。
タービンのブレードの磨耗状態を観察する。
Note: タービンを手で持って回転させてみる。ほとんど抵抗なく自由に回転すれば問題ない。軽く回転しない場合には交換する。
フローメータを組み付ける。
低圧(0.34Bar)のエアで吹いてタービンが抵抗なく回転することを確認する。
Note: 軽く回転しない場合には、タービンハブの一番下にある 6 角ボルトを 1/16 回転ずつゆるめて自由に回転できるようにする。
運転席を離れる前に:
平らな場所に駐車する。
散布用ポンプを停止させる。
駐車ブレーキを掛ける。
エンジンを止め、(キーのある機種では)キーを抜き取る。
全ての動きが停止するのを待つ。
調整、整備、清掃、格納などは、車両が十分に冷えてから行ってください。
ガス湯沸かし器のパイロット火やストーブなど裸火や火花を発するものがある近くでは、機械や燃料容器を保管・格納しないでください。
以下の作業を実施する:
Important: 塩分を含んだ水や処理水は機体の洗浄に使用しないでください。
平らな場所に駐車し、駐車ブレーキを掛け、散布ポンプとエンジンを停止し、キーを抜き取り、可動部が完全に停止したのを確認する。
Note: マニュアルトランスミッションの HD シリーズや HDX シリーズでは、PTOを解除する。
エンジンのシリンダヘッドや冷却フィン、ブロアハウジングをふくめた車両全体を洗浄する。
Important: 機体は中性洗剤と水で洗うことができます。ただし高圧洗浄器は使用しないでください。高圧の水で洗浄すると電気系統やグリス部へ水が浸入する恐れがあります。また、コントロールパネルやヘッドライド、エンジン、バッテリー部に大量の水をかけないようにしてください。
薬剤排出処理場に駐車し、駐車ブレーキを掛け、スプレーポンプを停止し、エンジンを停止し、キーを抜き取り、可動部が完全に停止したのを確認して運転席を離れる。
真水タンクのコックを開いた状態にする。
液剤タンクからできるだけ完全に液を抜く。
非アルコール系の防錆不凍液を用意する;コンディショナの準備を参照。
図 96のように、押し嵌めフィッティングから水圧検知チューブを外す。

エンジンを掛け、左右のブームを降下させる。
散布用ポンプを数分間運転して不凍液を配管内部および搭載されているアクセサリの内部に循環させる。
個別ブームスイッチ(左、右、中央)を全て ON にする。
マスターブームスイッチを ON にして以下を確認する:
圧力計から外したチューブから不凍液が流れ出してくるのを確認する。
各ブームから不凍液が散布されるのが確認できるまで散布を行う。
マスターブームスイッチを OFF にする。
ポンプスイッチを OFF 位置に戻す。
ブーム昇降スイッチでブームを上昇させる。
各ブームが完全に上昇して移動走行用クレードルに収まり、シリンダが完全に縮んでブームがX字型にたたまれたことを確認する。
Note: アクチュエータのロッドの破損を防止するため、ブームシリンダが完全に縮んでいるのを確認してください。
エンジンを停止する。
液剤タンクからできるだけ完全に液を抜く。
グリスアップを行う;潤滑を参照。
機体各部のゆるみを点検し、必要な締め付けや交換、修理を行う。
Note: 摩耗した部品や破損した部品はすべて修理または交換する。
全部の散布ホースを点検する。
Note: 摩耗した部品や破損したホースはすべて修理または交換する。
ホースのフィッティングを確実に締め付ける。
表面のキズや塗装のはがれているところには再塗装を行う(塗料は代理店にて入手可能)。
必要な場合は、車両の長期格納準備を行う;車両のオペレーターズマニュアルを参照。
汚れていない乾燥した場所で保管する。
機体にはカバーを掛けておく。
水圧検知チューブを押し嵌めフィッティングに取り付ける。奥までしっかり差し込むこと(図 97。

真水タンクのコックを閉じる
燃料タンクに燃料を入れる。
車両の整備を行う;車両のオペレーターズマニュアル を参照。
吊り上げ装置に必要な能力: 408 kg
スプレーヤのタンクアセンブリは重量があるので危険である。取り付け時や取り外し時に適切な保持を行わないと落下するなどして人身事故となる恐れがある。
取り付け時や取りはずし時などタンクが台に固定されていない時は、ホイストなどで上から吊って保持すること。
バッテリーの端子からケーブルを外す; バッテリーの接続を外すを参照。
車両についているスプレーヤ用のヒューズブロックを車両量のヒューズブロックから外し、これら2つのヒューズブロックを繋いでいる配線を外す; スプレーヤ用のヒューズブロックを取り付けるを参照。
Jクリップからワイヤハーネスを取り外す; スプレーヤ用の後方電装ハーネスをコントロールコンソールまで敷設するを参照。
コンソールの下にあるハンドノブをゆるめ、ヘアピンを外す;コントロールコンソールを機体に取り付けるを参照。
スプレーヤ用のヒューズブロックを車両のヒューズブロックに接続しているワイヤの端子を外す; スプレーヤ用のヒューズブロックを取り付けるを参照。
スプレーヤ用のヒューズブロックを車両のヒューズブロックから外す; スプレーヤ用のヒューズブロックを取り付けるを参照。
車両のダッシュボードで、コンソール取り付けブラケットからコンソールを外し、コンソールのピボットピンを、タンクの前ベルトについている保管ブラケットにセットする(図 98);コントロールコンソールを機体に取り付けるを参照。

ブラケットにコンソールを組み付け、ピボットピンをブラケットに入れてヘアピンで固定する (図 98)。
吊り上げ装置に必要な能力: 408 kg
前用のジャッキスタンドを、タンク前部のジャッキスタンド受けに合わせる(図 99)。

ジャッキスタンドをスタンド受けに差し込み、スタンドの水平チューブの中央の穴をジャッキ受け上部の穴に整列させる(図 99)。
穴にクレビスピン(½ x 3")を通し、ヘアピン(5/32 x 2⅝")で固定する。
ジャッキ受けにロックノブを取り付けて手締めする(図 99)。
後ろ用のジャッキスタンドを、タンク後部部のジャッキスタンド受けに合わせる(図 100)。

ジャッキスタンド上部の穴を、タンクスキッドのフレームの穴に合わせる(図 100)。
ジャッキスタンドをスタンド受けとフレームに固定する;クレビスピン(½ x 4½")2本、ヘアピン(5/32 x 2⅝")2本を使用して図 100のように取り付ける。
タンクスキッドの反対側の前後のジャッキスタンドについても 1-7 の作業を行う。
ジャッキとジャッキスタンドエクステンション使います。

ブームを 45°程度の角度にし、 次に、前方に折りたたむ(図 102)。

タンクスキッドアセンブリの固定ブラケットをフレーム左右の荷台ブラケットに固定しているボルト(½ x 1½")2本とロックナット(½") 2 個を取り外す;タンク台を降ろすを参照。
昇降シリンダでタンクを上昇させ、昇降シリンダをロックして、以下の作業を行う:
Note: タンクアセンブリを上昇させるを参照。
マニュアルトランスミッションの HDとHDX シリーズワークマンでは、PTOシャフトとトランスアクスルのPTOシャフトのカップリングを解除する; マニュアルワークマン用マルチプロWMターフスプレーヤ仕上げキットの 取り付け説明書を参照。
スピードセンサーの配線を外す。速度センサーハーネスを接続する(マニュアルミッションのHDシリーズ)を参照してください。
昇降シリンダのロックを外し、タンクを下降させる; タンクアセンブリを下降させるを参照。
前側ジャッキスタンドの水平チューブと、後側ジャッキスタンドの垂直柱部分にクレーンを接続する (図 102)。
タンクアセンブリを 7.5-10 cm 程度上昇させ、タンクアセンブリと左右の昇降シリンダを連結しているリンチピンとクレビスピンを取り外す。
クレーンでタンクスキッドを吊り上げる;スキッドをぶつけないように十分高く吊ること(図 102)。
車両をゆっくりと前進させてタンクスキッドから離れる。
タンクスキッドをゆっくりと床まで降下させる。
| Problem | Possible Cause | Corrective Action |
|---|---|---|
| ブームから散布しない。 |
|
|
| 散布がとまらない。 |
|
|
| ブームバルブから液洩れする。 |
|
|
| ブームスイッチをOFFにするとノズルから薬液が垂れ続ける。 |
|
|
| ブームを ON にすると水圧が下がる。 |
|
|
