| Périodicité d'entretien | Procédure d'entretien |
|---|---|
| À chaque utilisation ou une fois par jour |
|
Lorsqu’il est correctement installé, cet outil transforme un véhicule en pulvérisateur à gazon spécialisé, destiné aux utilisateurs professionnels et temporaires employés à des applications professionnelles. Il est principalement conçu pour pulvériser les pelouses entretenues régulièrement dans les parcs, les terrains de golf, les terrains de sport et les espaces verts commerciaux.
Lisez attentivement cette notice pour apprendre comment utiliser et entretenir correctement votre produit, et éviter ainsi de l'endommager ou de vous blesser. Vous êtes responsable de l'utilisation sûre et correcte du produit.
Rendez-vous sur www.Toro.com pour plus d’informations, y compris des conseils de sécurité, des documents de formation, des renseignements concernant un accessoire, pour obtenir l'adresse d'un concessionnaire ou pour enregistrer votre produit.
Pour obtenir des prestations de service, des pièces d'origine Toro ou des renseignements complémentaires, munissez-vous des numéros de modèle et de série du produit et contactez un concessionnaire-réparateur agréé ou le service client Toro. La Figure 1 indique l'emplacement des numéros de modèle et de série sur le produit. Inscrivez les numéros dans l'espace réservé à cet effet.
Important: Avec votre appareil mobile, vous pouvez scanner le QR code sur l'autocollant du numéro de série (le cas échéant) pour accéder aux renseignements sur la garantie, les pièces et autres informations concernant le produit.

Les mises en garde de ce manuel soulignent des dangers potentiels et sont signalées par le symbole de sécurité (Figure 2), qui indique un danger pouvant entraîner des blessures graves ou mortelles si les précautions recommandées ne sont pas respectées.

Ce manuel utilise deux termes pour faire passer des renseignements essentiels. Important pour attirer l'attention sur des informations d'ordre mécanique spécifiques et Remarque pour souligner des informations d'ordre général méritant une attention particulière.
Ce produit est conforme à toutes les directives européennes pertinentes. Pour plus de renseignements, reportez-vous à la Déclaration de conformité spécifique du produit fournie séparément.
Vous commettez une infraction à la section 4442 ou 4443 du Code des ressources publiques de Californie si vous utilisez cette machine dans une zone boisée, broussailleuse ou recouverte d'herbe à moins d'équiper le moteur d'un pare-étincelles, tel que défini à la section 4442, maintenu en bon état de marche, ou à moins de construire, équiper et entretenir le moteur de manière à prévenir les incendies.
CALIFORNIE
Proposition 65 - Avertissement
L'utilisation de ce produit peut entraîner une exposition à des substances chimiques considérées pas l'état de Californie comme capables de provoquer des cancers, des anomalies congénitales ou d'autres troubles de la reproduction.
Cette machine peut occasionner des accidents si elle n'est pas utilisée ou entretenue correctement. Pour réduire les risques d'accidents et de blessures, respectez les consignes de sécurité qui suivent. Tenez toujours compte des mises en garde signalées par le symbole de sécurité (Figure 2) et la mention Prudence, Attention ou Danger. Le non respect des instructions peut entraîner des blessures graves voire mortelles.
Ce produit peut causer des blessures. Respectez toujours toutes les consignes de sécurité pour éviter des blessures graves.
Vous devez lire et comprendre le contenu de ce Manuel de l'utilisateur avant de démarrer le moteur.
Accordez toute votre attention à l'utilisation de la machine. Ne faites rien d’autre qui puisse vous distraire, au risque de causer des dommages corporels ou matériels.
Utilisez un équipement de protection individuelle (EPI) adapté pour éviter tout contact avec les produits chimiques. Les substances chimiques utilisées dans le système de pulvérisation peuvent être nocives et toxiques.
N'approchez pas les mains ou les pieds des composants mobiles de la machine.
N'utilisez pas la machine s'il manque des capots ou d'autres dispositifs de protection, ou s'ils sont endommagés.
Ne vous approchez pas des buses pendant la pulvérisation et tenez-vous à l'écart du brouillard de pulvérisation. N'admettez personne, notamment les enfants, dans le périmètre de travail.
N'autorisez jamais les enfants à utiliser la machine.
Avant de quitter la position d'utilisation, garez la machine sur une surface plane et horizontale, serrez le frein de stationnement, coupez le moteur, enlevez la clé (selon l'équipement) et attendez l'arrêt de tout mouvement. Laissez refroidir la machine avant de la régler, d'en faire l'entretien, de la nettoyer ou de la remiser.
L'usage ou l'entretien incorrect de cette machine
peut occasionner des accidents. Pour réduire les risques d'accidents
et de blessures, respectez les consignes de sécurité
qui suivent. Tenez toujours compte des mises en garde signalées
par le symbole de sécurité (
) et la mention Prudence,
Attention ou Danger. Le non respect de ces instructions peut entraîner
des blessures graves ou mortelles.
Les accessoires disponibles pour cette machine ne sont pas tous abordés dans ce manuel. Reportez-vous au manuel de l'utilisateur de chaque accessoire pour plus de précisions sur les consignes de sécurité.
![]() |
Des autocollants de sécurité et des instructions bien visibles par l'utilisateur sont placés près de tous les endroits potentiellement dangereux. Remplacez tout autocollant endommagé ou manquant. |

















Important: Le modèle 41240 à partir du numéro de série 416500000 ne peut être installé que sur les Workman HDX équipés d'une transmission manuelle.
Note: Les côtés gauche et droit de la machine sont déterminés d'après la position d'utilisation normale.
Note: Si vous avez besoin de conseils ou de renseignements supplémentaires concernant le système de pulvérisation, consultez le Manuel de l'utilisateur fourni avec le système.
Important: Ce pulvérisateur est vendu sans buses.Pour utiliser le pulvérisateur, vous devez vous procurer et monter les buses. Contactez votre distributeur Toro agréé pour tout renseignement sur les kits de sections et les accessoires disponibles. Après avoir monté les buses, et avant d'utiliser le pulvérisateur pour la première fois, réglez les vannes de dérivation des sections pour que la pression et le débit de pulvérisation restent identiques pour toutes les sections lorsque vous en mettez une ou plusieurs hors service. Voir Étalonnage de la pulvérisation.
Important: Le pulvérisateur Multi-Pro WM nécessite de monter une structure ROPS à 4 montants ou une cabine sur le Workman.
Le plateau complet pèse environ 95 kg . Vous pouvez vous blesser si vous retirez le plateau sans vous faire aider.
N'essayez pas de mettre en place ou de retirer le plateau sans aide.
Faites-vous aider par 2 ou 3 personnes ou utilisez un pont roulant.
Garez la machine sur une surface plane et horizontale, serrez le frein de stationnement et démarrez le moteur.
Avancez le levier de commande hydraulique et abaissez le plateau jusqu'à ce que les axes de chape des extrémités des tiges des vérins de levage bougent librement dans les fentes des plaques de montage du plateau.
Relâchez le levier de levage hydraulique, engagez le levier de blocage de levage hydraulique et coupez le moteur ; voir le Manuel de l'utilisateur de la machine.
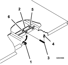
Retirez les goupilles à anneau aux extrémités extérieures des axes des tiges de vérins (Figure 3).

Retirez les axes de chape qui fixent les extrémités des tiges de vérins aux plaques de montage du plateau en les poussant vers l'axe de la machine (Figure 3).
Enlevez les goupilles à anneau et les axes de chape qui fixent les supports de pivot du plateau aux profilés du cadre de la machine (Figure 4).

Soulevez le plateau et déposez-le du véhicule.
Rangez les vérins de levage dans les clips prévus à cet effet.
Pièces nécessaires pour cette opération:
| Kit de PDF arrière pour véhicule utilitaire lourd Workman (modèles série HD à transmission manuelle) | 1 |
| Kit de finition pour pulvérisateur de pelouse Multi Pro WM, Véhicule utilitaire manuel Workman (modèles série HD à transmission manuelle) | 1 |
Pour les modèles Workman séries HD et HDX à transmission manuelle, faites une installation complète du kit de PDF arrière pour véhicule utilitaires lourds Workman ; voir les Instructions d'installation du kit de PDF arrière pour véhicules utilitaires lourds Workman.
À l'aide d'un matériel de levage de 408 kg de capacité, soulevez le patin de cuve de sa caisse d'expédition aux 2 points de levage à l'avant et l'arrière (Figure 5).
Note: Veillez à soulever suffisamment le patin de la cuve pour permettre la mise en place des pieds de support.

Pour les modèles Workman séries HD et HDX à transmission manuelle, effectuez les opérations d'installation du kit de finition pour pulvérisateur Multi Pro WM destiné aux véhicules utilitaires Workman manuels.
Pièces nécessaires pour cette opération:
| Pattes de maintien | 2 |
Retirez les 2 boulons à embase arrière et les 2 écrous à embase qui fixent le support du tube du moteur au cadre de la machine (Figure 6).
Note: Conservez les fixations pour la repose.

Tournez le vérin de levage pour obtenir l'espace nécessaire au montage de la patte de maintien du patin de la cuve (Figure 6).
Fixez les pattes de maintien au support et au cadre au moyen des 2 boulons à embase et écrous à embase que vous avez retirés à l'opération 1 (Figure 7).

Serrez les boulons et écrous à un couple de 91 à 113 N·m.
Répétez les opérations 1 à 4 de l'autre côté de la machine.
Pièces nécessaires pour cette opération:
| Ensemble cuve et patin | 1 |
| Axes de chape | 2 |
| Axe de chape conique | 2 |
| Goupilles fendues | 2 |
| Goupilles à anneau | 4 |
| Boulon (½" x 1½") | 2 |
| Écrous (½") | 2 |
La cuve du pulvérisateur présente un risque dû à l'énergie emmagasinée. Si elle n'est pas correctement retenue pendant sa mise en place ou son retrait, elle peut bouger ou tomber et vous blesser, ainsi que des personnes à proximité.
Utilisez des sangles pour soutenir la cuve du pulvérisateur pendant sa mise en place, son retrait ou toute opération d'entretien exigeant le retrait des fixations.
A l'aide d'un appareil de levage, soulevez le patin de la cuve (Figure 8) et placez-le au-dessus du cadre du véhicule, en orientant les ensembles pompe et vanne vers l'arrière.
Note: Demandez l'aide d'une autre personne pour les opérations suivantes.

Abaissez lentement le patin de la cuve sur le cadre de la machine.
Déployez les vérins de levage vers les supports sur le patin de la cuve et alignez les raccords des vérins sur les trous des supports du patin (Figure 9).

Fixez le patin de la cuve aux vérins de levage au moyen des axes de chape et des goupille fendues de chaque côté de la machine.
Alignez les trous des pattes de pivot à l'arrière du patin de cuve et les trous du tube de pivot du plateau au bout du cadre du véhicule (Figure 10).

Placez un axe de chape conique et 2 goupilles à anneau sur la patte de pivot pour fixer la cuve au châssis (Figure 10).
Déployez les vérins de levage pour lever la cuve et en supporter le poids.
Note: Détachez la cuve du matériel de levage.
Sortez la béquille de sécurité des supports de rangement au dos du panneau du système ROPS (Figure 11).

Poussez la béquille de sécurité sur la tige du vérin et appuyez bien les pattes d'extrémités contre l'extrémité du corps du vérin et l'extrémité de la tige du vérin (Figure 12).

Enlevez l'attache-câble qui retient le robinet de vidange et le flexible de la cuve de pulvérisation sur le profilé du patin (Figure 13).

Déplacez le robinet de vidange et le flexible vers l'extérieur du profilé du patin (Figure 14A).

Retirez les 2 boulons à embase (5/16"x ⅝") du boîtier du robinet de vidange (Figure 14).
Fixez le robinet de vidange sur son support (Figure 14) à l'aide des 2 boulons à embase (5/16" x ⅝") que vous avez retirés à l'opération 3.
Serrez les 2 boulons à embase à la main (Figure 14B).
S'ils sont mal acheminés, les câbles de la batterie peuvent subir des dommages ou endommager le pulvérisateur et produire des étincelles. Les étincelles peuvent provoquer l'explosion des gaz de la batterie et vous blesser.
Débranchez toujours le câble négatif (noir) de la batterie avant le câble positif (rouge).
Connectez toujours le câble positif (rouge) de la batterie avant le câble négatif (noir).
Les bornes de la batterie ou les outils en métal peuvent causer des courts-circuits au contact des pièces métalliques du pulvérisateur et produire des étincelles. Les étincelles peuvent provoquer l'explosion des gaz de la batterie et vous blesser.
Lors de la mise en place ou du retrait de la batterie, évitez que les bornes touchent les parties métalliques du pulvérisateur.
Évitez de créer des courts-circuits entre les bornes de la batterie et les parties métalliques du pulvérisateur avec des outils en métal.
Sur le faisceau de câblage du pulvérisateur, localisez le connecteur à 3 douilles du circuit du capteur de vitesse et le connecteur à 3 broches du circuit du véhicule.
Au niveau de la boîte-pont, branchez le connecteur à 3 broches du faisceau du capteur de vitesse sur la machine au connecteur à 3 douilles du faisceau du capteur de vitesse sur le pulvérisateur (Figure 16).

Branchez le connecteur à 3 broches du circuit du véhicule sur le faisceau du pulvérisateur au connecteur à 3 broches du faisceau du circuit du véhicule sur le faisceau de la machine.
Voir les Instructions d'installation du kit de finition pour pulvérisateur Multi Pro WM, véhicule utilitaire Workman manuel.
Pièces nécessaires pour cette opération:
| Support de console | 1 |
| Contre-écrou à embase (5/16") | 3 |
| Boulon à embase (5/16") | 3 |
| Douille en plastique | 2 |
| Console de commande | 1 |
| Goupille de circlip | 1 |
| Molette | 1 |
Note: Sur certains Workman, la plaque de support du boîtier de commande est fixée à la planche de bord, au même endroit que le support du kit commande d'accélérateur en option. Si le kit commande d'accélérateur est monté, vous devez déposer son support de la planche de bord, aligner la plaque de support du boîtier de commande sur la planche de bord et fixer le support de la commande d'accélérateur au sommet de la plaque de support. Reportez-vous aux Instructions d'installation du kit commande d'accélérateur pour plus de détails sur la procédure de dépose et de pose de la commande d'accélérateur.
Retirez les 3 boulons et les 3 écrous qui fixent la partie inférieure centrale de la planche de bord au support de la planche de bord (Figure 17).
Note: Certains modèles anciens de Workman utilisent 4 boulons et écrous à embase.
Note: Mettez les boulons et écrous au rebut.

Alignez les trous du support de montage de la console de commande et les trous dans la planche de bord et le support (Figure 17).
Fixez le support de montage, le panneau de planche de bord et le support au moyen des 3 boulons à embase (5/16" x 1") et des 3 contre-écrous à embase (5/16").
Serrez les écrous et les boulons à (Figure 17).
Insérez les 2 douilles en plastique dans le support de montage (Figure 17).
Retirez la goupille fendue qui fixe l'axe de pivotement de la console de commande au support de rangement sur la cuve du pulvérisateur.
Fixez la console de commande au support du boîtier de commande au moyen de la goupille de circlip (Figure 18).
Note: Veillez à tourner le circlip par dessus l'axe de pivotement pour bloquer la goupille de circlip en place.

Montez et serrez la molette de serrage pour empêcher la console de tourner durant cette opération (Figure 18).
Pièces nécessaires pour cette opération:
| Clip en J | 3 |
| Boulon (¼" x ¾") | 1 |
| Écrou à embase (¼") | 1 |
À l’aide des vis existantes, fixez 2 clips en J dans la console centrale.

À l'aide d'un boulon (¼" x ½") et d'un écrou à embase (¼"), fixez un clip en J derrière le siège du passager.

À l'aide des clips en J, fixez le faisceau de câblage du boîtier de commande à la console et au couvercle de la structure ROPS.
Branchez le connecteur à 3 broches du faisceau arrière du pulvérisateur sur le connecteur à 3 douilles du faisceau avant qui est relié à la console de commande.

Enfoncez le connecteur à 24 broches du faisceau arrière du pulvérisateur dans le connecteur à 24 douilles du faisceau avant qui est relié à la console de commande.
Rabattez le levier sur le connecteur à 24 broches pour verrouiller les deux connecteurs ensemble.
Pièces nécessaires pour cette opération:
| Autocollant de fusible (127–3966) | 1 |
Sur la console de commande du pulvérisateur, acheminez la branche du faisceau avant dotée des porte-fusibles entre le bas du tableau de bord et le tube transversal du châssis de la machine, puis faites-la descendre vers l'avant du porte-fusibles de la machine (Figure 22).

Localisez la borne femelle non isolée au bout du câble jaune libre du porte-fusibles de la machine et la borne mâle isolée au bout du câble jaune optionnel du porte-fusibles du câblage du pulvérisateur (Figure 23).

Branchez la borne femelle non isolée du porte-fusibles de la machine à la borne mâle isolée du porte-fusibles du câblage du pulvérisateur (Figure 23).
Alignez les éléments en T du porte-fusibles du pulvérisateur et les fentes en T du porte-fusibles de la machine, et glissez le porte-fusibles du pulvérisateur dans les fentes jusqu'à ce qu'il soit parfaitement fixé (Figure 24).

Apposez l'autocollant des fusibles sur une surface proche du porte-fusibles du pulvérisateur.
Pièces nécessaires pour cette opération:
| Boulon de borne de batterie | 2 |
| Écrou de serrage | 2 |
| Grand capuchon (borne de la batterie – rouge) | 1 |
S'ils sont mal acheminés, les câbles de la batterie peuvent subir des dommages ou endommager le pulvérisateur et produire des étincelles. Les étincelles peuvent provoquer l'explosion des gaz de la batterie et vous blesser.
Connectez toujours le câble positif (rouge) de la batterie avant le câble négatif (noir).
Retirez les écrous et les boulons en T sur les colliers des câbles positif et négatif de la batterie (Figure 25).
Note: Vous n'avez plus besoin des écrous et des boulons en T.

Enlevez le petit capuchon du câble positif de la batterie (Figure 26).
Note: Vous n'avez plus besoin du petit capuchon.

Placez le grand capuchon sur le câble positif de la batterie, comme montré à la Figure 26.
Note: Poussez le capuchon suffisamment loin sur les câbles pour permettre l'accès aux colliers des bornes.
Insérez la cosse en anneau du fil fusible (faisceau du pulvérisateur) tout droit dans le grand capuchon, comme montré à la Figure 27.

Fixez légèrement un boulon de borne et un écrou de serrage sur les colliers des câbles positif et négatif de la batterie (Figure 28).

Avec un écrou de serrage, fixez la borne en anneau du fil fusible (faisceau du pulvérisateur) à la tige du boulon de borne que vous avez monté sur le câble positif de la batterie (Figure 29).

Avec un écrou de serrage, fixez la borne en anneau du câble négatif (noir – faisceau du pulvérisateur) à la tige du boulon de borne que vous avez monté sur le câble négatif de la batterie (Figure 29).
Placez le câble positif de la batterie sur la borne positive de la batterie et vissez l'écrou de serrage à la main (Figure 30).

Placez le câble négatif sur la borne négative de la batterie et vissez l'écrou de serrage à la main.
Appuyez de chaque côté du couvercle de la batterie pour aligner les languettes sur les fentes de la base de la batterie, puis relâchez les côtés du couvercle (Figure 31).

Pièces nécessaires pour cette opération:
| Boulon (½" x 1½") | 2 |
| Contre-écrou (½") | 2 |
Démarrez la machine et soulevez légèrement le patin avec les vérins de levage.
Retirez la béquille de plateau du vérin de levage et rangez-la dans les supports de rangement à l'arrière du panneau du ROPS (Figure 32 et Figure 33).


Abaissez la cuve lentement sur le cadre à l'aide des vérins de levage.
Note: Demandez à une autre personne d'observer le patin de la cuve pendant sa descente. Vérifiez qu'aucun flexible ou câble n'est coincé ou plié.
Vérifiez l'alignement du patin de la cuve par rapport au cadre de la machine.
Déposez les panneaux d'accès de chaque côté du cadre du patin (Figure 34).

Vérifiez pas l'ouverture du cadre du patin que les flexibles ou les câbles ne sont pas pincés ni pliés.
Important: Si des flexibles ou des câbles sont coincés ou pliés, élever l'ensemble, ajustez sa position et attachez les éléments en arrière.
Alignez les supports de fixation avant sur les pattes de maintien montés à l'opération Montage des pattes de maintien du patin de cuve.
Fixez la patte de maintien du patin de cuve au support du plateau sur le cadre, de chaque côté de la machine, à l'aide d'un boulon (½" x 1½") et d'un contre-écrou (½"), comme montré à la Figure 34.
Serrez le boulon et le contre-écrou à un couple de 91 à 113 N·m..
Répétez les opérations 7 à 9 de l'autre côté du patin de cuve et de la machine.
Pièces nécessaires pour cette opération:
| Ensemble rampe centrale | 1 |
| Boulon (⅜" x 1") | 10 |
| Contre-écrou à embase (⅜") | 10 |
| Berceau de transport des rampes | 2 |
| Boulon (½" x 1¼") | 4 |
| Écrou à embase (½") | 4 |
Attachez le matériel de levage à la section de rampe avant et sortez celle-ci de la caisse d'expédition.
Alignez les berceaux de transport de rampe sur la section de rampe centrale (Figure 35).

Montez les berceaux sur la section de rampe (Figure 35 et Figure 36) à l'aide de 6 boulons (⅜" x 1") et de 6 contre-écrous à embase (⅜").

Serrez les boulons et écrous à un couple de 37 à 45 N·m.
Démarrez la machine, retirez la béquille de plateau du vérin de levage et rangez-la, abaissez le patin de la cuve, arrêtez la machine et enlevez la clé du commutateur d'allumage.
Placez le trou inférieur des supports de section de la rampe centrale en face du troisième trou en partant du bas des supports de rampe sur le cadre du patin du pulvérisateur, comme montré à la Figure 37.
Note: Au besoin, desserrez les supports de rampe et réglez-les sur la section de rampe centrale pour obtenir un meilleur alignement des trous. Serrez les boulons et écrous à un couple de 67 à 83 N·m.

Montez la rampe centrale sur le bâti du patin du pulvérisateur au moyen de 4 boulons (½" x 1¼") et 4 contre-écrous (½").
Serrez les boulons et écrous à un couple de 67 à 83 N·m.
Voir les Instructions d'installation du kit de finition pour pulvérisateur Multi Pro WM, véhicule utilitaire Workman manuel.
Pièces nécessaires pour cette opération:
| Section de rampe gauche | 1 |
| Section de rampe droite | 1 |
| Boulons à embase (⅜" x 1¼") | 8 |
| Plaques d'appui | 8 |
| Contre-écrous à embase (⅜") | 8 |
| Axe de chape | 2 |
| Goupille fendue | 2 |
Chaque section de rampe pèse approximativement 14 kg.
Retirez les 4 boulons à embase (⅜" x 1¼"), les 4 plaques d'appui et les 4 contre-écrous à embase (⅜") du support d'articulation de la section de rampe centrale.
Faites pivoter chaque support d'articulation au bout de la section de rampe centrale de façon à aligner les supports sur le plan vertical (Figure 38).

Élevez la section de rampe extérieure, puis alignez les trous dans la plaque de montage triangulaire située au bout de la section et les trous dans le support d'articulation.
Note: Orientez les tourelles des buses de pulvérisation vers l'arrière.
Fixez le support d'articulation à la plaque triangulaire au moyen des 4 boulons à embase, 4 plaques d'appui et 4 contre-écrous à embase (Figure 38) que vous avez retirés à l'opération (1).
Serrez les boulons et écrous à un couple de 37 à 45 N·m.
Placez la tige du vérin de levage de la rampe en face des trous dans la fourche du support d'articulation (Figure 38).

Fixez la tige à la fourche du support d'articulation au moyen d'un axe de chape et d'une goupille fendue (Figure 38).
Répétez les opérations 1 à 5 de l'autre côté de la rampe centrale avec la section opposée.
Note: Avant de terminer cette procédure, vérifiez que toutes les tourelles des buses de pulvérisation sont bien orientées vers l'arrière.
Pièces nécessaires pour cette opération:
| Colliers | 3 |
| Collier en R | 2 |
| Boulon à épaulement | 2 |
| Rondelle | 2 |
| Écrou | 2 |
Acheminez les flexibles des sections de rampe comme montré à la Figure 40 et la Figure 41.


Fixez les flexibles à l'avant de la section de rampe centrale (Figure 40 et Figure 41) à l'aide de 1 collier en R, 1 boulon à épaulement (5/16" x 1"), 1 contre-écrou (5/16") et 1 rondelle (5/16").
Branchez le flexible de section de rampe au raccord en T cannelé de la section et fixez-le avec un collier (Figure 40 et Figure 41).
Note: Enduisez de savon liquide les cannelures du raccord en T pour faciliter le branchement du flexible.
Répétez les opérations 1 à 3 pour le flexible de la section de rampe de l'autre côté du pulvérisateur.
Acheminez le flexible de la section de rampe centrale comme montré à la Figure 42.

Branchez le flexible de section de rampe au raccord en T cannelé de la section centrale et fixez-le avec un collier (Figure 42).
Note: Enduisez de savon liquide les cannelures du raccord en T pour faciliter le branchement du flexible.
Les buses utilisées pour appliquer des produits chimiques varient suivant le débit d'application recherché. Pour cette raison, elles ne sont pas fournies avec le kit. Pour obtenir les buses correctes pour vos besoins, contactez un distributeur Toro agréé et fournissez-lui les renseignements suivants :
Le débit de pulvérisation recherché en litres par hectare, en gallons américains par acre ou en gallons américains par 1 000 pieds carrés.
La vitesse cible du véhicule en kilomètres à l'heure ou en miles à l'heure.
Vissez ou insérez la buse dans son embase puis ajoutez un joint.
Glissez l'embase sur le raccord de buse d'une tourelle.
Tournez la buse dans le sens horaire pour verrouiller les cames de l'embase en place.
Vérifiez la partie en éventail de la buse.
Pour plus de détails, consultez les Instructions d'installation fournies avec les buses.
Pièces nécessaires pour cette opération:
| Réservoir d'eau douce | 1 |
| Raccord coudé 90° (¾" NPT) | 1 |
| Robinet 90° | 1 |
| Support du réservoir d'eau douce | 1 |
| Barrette de montage | 4 |
| Boulon à embase (5/16" x ⅝") | 4 |
| Contre-écrou à embase (5/16") | 10 |
| Tube de support (réservoir d'eau douce) | 1 |
| Écrou de blocage (5/16") | 1 |
| Boulon (5/16" x 1") | 1 |
| Boulon à épaulement (½" x 1-15/16") | 2 |
| Boulons (5/16" x 2¼") | 2 |
| Rondelle (5/16") | 2 |
Fixez le réservoir d'eau douce à son support à l'aide des 2 barrettes de montage, des 4 boulons à embase (5/16" x ⅝") et les 4 contre-écrous (5/16"), comme montré à la Figure 43.
Note: Veillez à bien aligner le raccord coudé et le robinet du même côté du réservoir que l'autocollant du réservoir d'eau douce.

Serrez les boulons et écrous à un couple de 20 à 25 N·m.
Alignez le tube de support du réservoir d'eau douce et le profilé de support du réservoir (Figure 44).

Alignez les trous du tube de support et les trous du profilé (Figure 44).
Fixez le tube au profilé (Figure 44) avec les 2 boulons à épaulement (½" x 1-15/16") et 2 contre-écrous (5/16").
Serrez les boulons et écrous à un couple de 20 à 25 N·m.
Vissez l'écrou de blocage (5/16") sur le boulon (5/16 x 1"), comme montré à la Figure 44.
Vissez le boulon (5/16" x 1") et l'écrou de blocage dans l'écrou soudé au bas du profilé de support du réservoir, et serrez le boulon et l'écrou de blocage à la main (Figure 44).
Note: Le pulvérisateur Multi-Pro WM nécessite de monter une structure ROPS à 4 montants ou une cabine sur le Workman.
Fixez le réservoir d'eau douce et son support sur le tube de support à l'aide des 2 boulons (5/16" x 2¼") et des 2 contre-écrous à embase (5/16"), comme montré à la Figure 45.

Serrez les boulons et écrous à un couple de 20 à 25 N·m.
Pièces nécessaires pour cette opération:
| Embout de remplissage | 1 |
| Boulon à embase (5/16" x ¾") | 1 |
Placez l'embout de remplissage au-dessus du trou fileté de la cuve (Figure 46) et fixez-le avec un boulon à embase (5/16" x ¾").

Pièces nécessaires pour cette opération:
| Pied de support avant | 2 |
| Pied de support arrière | 2 |
| Goupille fendue | 4 |
| Axe de chape (4½") | 2 |
| Axe de chape (3") | 2 |
| Bouton | 2 |
Insérez les pieds de support avant à l'envers, près des points d'attache avant (Figure 47).

Fixez les pieds de support avant au moyen de 2 axes de chape (3") et 2 goupilles fendues insérés dans le trou central des pieds.
Insérez les pieds de support arrière par le bas du cadre, près des points d'attache arrière (Figure 48).

Fixez les pieds de support arrière au moyen de 4 axes de chape (4½") et de 4 goupilles fendues insérés dans le dernier trou des pieds.

Note: Cet InfoCenter à 6 boutons est uniquement disponible pour le Workman HDX manuel. Si vous possédez un Workman HDX automatique, veuillez continuer d'utiliser l'InfoCenter à 3 boutons.
L'écran LCD de l'InfoCenter affiche des données concernant votre machine et la batterie, telles que la charge actuelle de la batterie, la vitesse, des données de diagnostic, etc. Pour plus de renseignements, voir Utilisation de l'InfoCenter.
La commande générale des sections (Figure 49) est située sur le côté de la console et à la droite du siège de l'utilisateur. Elle permet de démarrer et d'arrêter la pulvérisation. Appuyez sur la commande pour activer ou désactiver le système de pulvérisation.
Les interrupteurs des sections gauche, centrale et droite se trouvent sur le panneau de commande (Figure 49). Basculez chaque interrupteur en avant pour activer la section correspondante et en arrière pour la désactiver. Un voyant s'allume sur la commande quand elle est en position activée. Ces interrupteurs n'ont d'effet sur le système de pulvérisation que si la commande générale des sections est activée.
La commande de débit de pulvérisation est située sur le côté gauche du panneau de commande (Figure 49). Appuyez de manière prolongée sur le haut de la commande pour augmenter le débit de pulvérisation, ou sur le bas pour réduire le débit de pulvérisation.
Les interrupteurs de levage de de rampe section sont situés sur le panneau de commande et permettent de lever les sections de rampe extérieures.
Le régulateur de débit est situé derrière la cuve (Figure 50) et permet de réguler le volume de liquide qui est dirigé vers les vannes de section ou le retour de débit vers la cuve.

Le débitmètre mesure le débit de liquide envoyé aux vannes de section de rampe (Figure 50).
Utilisez la vannes de section pour activer ou désactiver la pression de pulvérisation appliquée aux buses des sections de rampe gauche, centrale et droite (Figure 50).
Les vannes de dérivation (Figure 51) redirigent le liquide d'une rampe vers la cuve lorsque vous désactivez la section de rampe. Vous pouvez ajuster ces vannes de sorte que la pression de rampe reste constante quelle que soit la combinaison de rampes en service ; voir Étalonnage des vannes de dérivation des sections.

Ce régulateur est situé sur le côté arrière gauche de la cuve (Figure 52). Tournez le bouton de la vanne à la position 6 heures pour lancer l'agitation de la cuve et à la position 8 heures pour l'arrêter.

Note: Modèles série HD à transmission manuelle – pour que l'agitation soit possible, la PDF et l'embrayage doivent être engagés et le moteur doit tourner à un régime supérieur au régime de ralenti. Si vous arrêtez le pulvérisateur mais que avez besoin de l'agitation pour faire circuler le contenu de la cuve, amenez le levier sélecteur au POINT MORT, désengagez l'embrayage, serrez le frein de stationnement et réglez la commande d'accélérateur (selon l'équipement).
La pompe du pulvérisateur est située l'arrière de la machine.
Sur la console centrale de la machine, placez le levier de PDF en position ENGAGéE pour mettre la pompe en marche ; placez le levier de PDF en position DéSENGAGéE pour arrêter la pompe. Voir le Manuel de l'utilisateur véhicule utilitaire Workman HDX.

Note: Les spécifications et la conception peuvent faire l'objet de modifications sans préavis.
| Poids de base du système de pulvérisation (poids du véhicule non compris) | 424 kg |
| Capacité de la cuve | 757 l |
| Longueur hors tout du véhicule avec système de pulvérisation standard | 422 cm |
| Hauteur hors tout du véhicule avec système de pulvérisation standard jusqu'en haut de la cuve | 147 cm |
| Hauteur hors tout du véhicule avec système de pulvérisation standard et rampes repliées en croix | 234 cm |
| Largeur hors tout du véhicule avec système de pulvérisation standard et rampes repliées en croix | 175 cm |
Une sélection d'outils et d'accessoires agréés par Toro est disponible pour augmenter et améliorer les capacités de la machine. Pour obtenir la liste de tous les outils et accessoires agréés, contactez votre concessionnaire-réparateur ou votre distributeur Toro agréé, ou rendez-vous sur www.Toro.com.
Pour garantir un rendement optimal et conserver la certification de sécurité de la machine, utilisez uniquement des pièces de rechange et accessoires d'origine Toro.
Note: Les côtés gauche et droit de la machine sont déterminés d'après la position d'utilisation normale.
Note: S'il s'avère nécessaire de transporter le véhicule sur une remorque en laissant le pulvérisateur attelé, veillez à fixer et attacher les rampes solidement.
Ne confiez jamais l'utilisation ou l'entretien de la machine à des enfants ou à des personnes non qualifiées. La réglementation locale peut imposer un âge minimum pour les utilisateurs. Le propriétaire de la machine doit assurer la formation de tous les utilisateurs et mécaniciens.
Familiarisez-vous avec le maniement correct du matériel, les commandes et les symboles de sécurité.
Avant de quitter la position d'utilisation :
Garez la machine sur une surface plane et horizontale.
Mettez la transmission au POINT MORT.
Serrez le frein de stationnement.
Coupez le moteur de la machine et enlevez la clé (selon l'équipement).
Attendez l'arrêt complet de tout mouvement.
Apprenez à arrêter la machine et le moteur rapidement.
Vérifiez toujours que les commandes de présence de l'utilisateur, les contacteurs de sécurité et les capots de protection sont en place et fonctionnent correctement. N'utilisez pas la machine s'ils ne fonctionnent pas correctement.
N'utilisez pas la machine si elle ne fonctionne pas correctement ou si elle est endommagée de quelque manière que ce soit. Remédiez au problème avant d'utiliser la machine ou l'accessoire.
Vérifiez le serrage de tous les raccords, ainsi que l'état de tous les flexibles avant de mettre le système sous pression.
Les substances chimiques utilisées dans le système de pulvérisation peuvent être nocives et toxiques pour vous-même, toute autre personne et les animaux ; elles peuvent aussi endommager les plantes, les sols et autres.
Lisez l'information sur chaque produit chimique. Refusez d'utiliser ou d'intervenir sur le pulvérisateur si ces renseignements ne sont pas disponibles.
Avant toute intervention sur un système de pulvérisation, assurez-vous qu'il a été neutralisé et rincé à trois reprises conformément aux recommandations du ou des fabricants des produits chimiques et que toutes les vannes ont effectué 3 cycles.
Assurez-vous de disposez d'une source d'eau propre et de savon à proximité afin de pouvoir vous laver immédiatement en cas de contact direct avec un produit chimique.
Lisez attentivement les étiquettes signalétiques et les fiches de données de sécurité (FDS) de tous les produits chimiques utilisés et protégez-vous en suivant les recommandations des fabricants des produits chimiques.
Protégez-vous toujours le corps lorsque vous utilisez des produits chimiques. Utilisez un équipement de protection individuelle (EPI) adapté pour éviter tout contact direct avec les produits chimiques, notamment les équipements suivants :
lunettes de sécurité, lunettes enveloppantes et/ou écran facial
combinaison de protection chimique
appareil respiratoire ou masque filtrant
gants résistants aux produits chimiques
bottes en caoutchouc ou autres chaussures solides
vêtements de rechange propres, savon et serviettes jetables pour le nettoyage
Suivez la formation appropriée avant d'utiliser ou de manipuler des produits chimiques.
Utilisez le produit chimique correct pour la tâche à accomplir.
Suivez les instructions du fabricant concernant l'application sûre du produit chimique. Ne dépassez pas la pression d'application recommandée du système.
Ne remplissez-pas, n'étalonnez pas ou ne nettoyez pas la machine lorsque des personnes, en particulier des enfants, ou des animaux se trouvent à proximité.
Manipulez les produits chimiques dans un local bien ventilé.
Vous ne devez jamais manger, boire ou fumer lorsque vous travaillez près de produits chimiques.
Ne nettoyez pas les buses de pulvérisation en soufflant dedans ou en les mettant dans la bouche.
Lavez-vous toujours les mains et toute autre partie du corps exposée après avoir travaillé avec des produits chimiques.
Conservez les produits chimiques dans leur emballage d'origine et rangez-les en lieu sûr.
Débarrassez-vous correctement des produits chimiques et des récipients qui les contiennent, selon les instructions du fabricant et la réglementation locale.
Les produits chimiques et les vapeurs à l'intérieur des cuves sont dangereux. Ne pénétrez jamais à l'intérieur et ne passez jamais votre tête au-dessus ou par l'ouverture de la cuve.
Respectez la réglementation locale et nationale concernant la pulvérisation ou l'épandage de produits chimiques.
Note: Cet InfoCenter à 6 boutons est uniquement disponible pour le Workman HDX manuel. Si vous possédez un Workman HDX automatique, veuillez continuer d'utiliser l'InfoCenter à 3 boutons.
L'écran LCD de l'InfoCenter affiche des informations relatives à votre machine, comme son état de fonctionnement, ainsi que divers diagnostics et autres données la concernant. L'InfoCenter comprend un écran de démarrage et un écran d'information principal. Vous pouvez alterner entre l'écran de démarrage et l'écran d'information principal à tout moment en appuyant sur l'une des touches de l'InfoCenter puis en sélectionnant la flèche de direction appropriée.

Note: Chaque bouton peut changer de fonction selon la fonction qui est active à ce moment donné. L'écran LCD affiche une icône au-dessus de chaque bouton qui indique sa fonction actuelle.
![]() | Menu | ![]() | La cuve est vide (moins de 10 % volume) | |
![]() | Défilement vers le haut/bas | ![]() | Le volume de la cuve est bas (10 % à 29 %) | |
![]() | Défilement vers la gauche/droite | ![]() | La cuve est à moitié pleine (30 % à 69 %) | |
![]() | Écran précédent | ![]() | La cuve est pleine (70 % à 100 %) | |
![]() | Réduire valeur | ![]() | Augmenter le volume de la cuve de 1 gallon | |
![]() | Augmenter valeur | ![]() | Augmenter le volume de la cuve de 10 gallons | |
![]() | Accepter | ![]() | Augmenter le volume de la cuve de 25 litres | |
![]() | Enregistrer | ![]() | La rampe est désactivée | |
![]() | Code PIN | ![]() | La rampe est active | |
![]() | Quitter menu (anomalies) | ![]() | Effacer toutes les zones | |
![]() | Tension batterie | ![]() | Effacer la zone active | |
![]() | Compteur horaire | ![]() | Surface pulvérisée | |
![]() | Bloqué | ![]() | Écran toutes zones | |
![]() | Naviguer jusqu’à une zone à pulvériser | |||
![]() | Naviguer jusqu’à une zone à pulvériser |
Pour accéder au système de menus InfoCenter, appuyez sur le bouton de retour arrière depuis l'écran principal. Cela vous amène au menu principal. Voir dans les tableaux suivants la description des options disponibles dans les différents menus :
Protégés
sous Menus protégés – uniquement accessibles en
saisissant un code PIN
| Option de menu | Description |
| Étalonnage | Le menu Étalonnage permet d'étalonner le débitmètre et le capteur de vitesse. |
| Réglages | Le menu Réglages permet de personnaliser et de modifier les variables de configuration affichées. |
| Réglages machine | Le menu Réglages machine permet de configure les variables de la machine. |
| Entretien | Le menu Entretien contient des informations concernant la machine, comme le nombre d'heures de fonctionnement et les anomalie de la machine. |
| Diagnostics | Le menu Diagnostics indique l'état de chaque contacteur, capteur et sortie de commande de la machine. Il peut servir à détecter certains problèmes, car il indique rapidement quelles commandes de la machine sont activées ou désactivées. |
| À propos | Le menu À propos indique le numéro de modèle, le numéro de série et la version logicielle de votre machine. |
| Option de menu | Description |
| Test Speed | Réglez la vitesse d'essai pour l'étalonnage. |
| Flow Cal | Permet d'étalonner le débitmètre. |
| Speed Cal | Permet d'étalonner le capteur de vitesse. |
| Use default flow calibration | Permet de réinitialiser l'étalonnage du débit à la la moyenne calculée par défaut, qui n'est pas le volume réel. |
| Use default speed calibration | Permet de réinitialiser l'étalonnage de la vitesse à la la moyenne calculée par défaut, qui n'est pas la vitesse réelle. |
| Option de menu | Description |
| Modifier PIN | Permet à une personne (surintendant/mécanicien) autorisée par votre entreprise et détenant le code PIN d'accéder aux menus protégés. |
Protection des réglages ![]() | Permet de modifier les paramètres dans les réglages protégés. |
Retour réglages d'usine![]() | Réinitialise les valeurs par défaut. |
| Rétroéclairage | Permet de régler la luminosité de l'affichage LCD. |
| Langue | Permet de choisir la langue utilisée dans l'affichage. |
| Unités | Permet de choisir les unités utilisées dans l'affichage (métriques ou impériales) |
| Option de menu | Description |
| Alerte cuve | Permet de régler l'alerte de bas niveau de la cuve. |
Rampe gauche ![]() | Permet de régler la largeur de la section gauche. |
Rampe centrale ![]() | Permet de régler la largeur de la section centrale. |
Rampe droite ![]() | Permet de régler la largeur de la section droite. |
Retour réglages d'usine![]() | Réinitialise les valeurs par défaut. |
| Option de menu | Description |
| Faults | Contient la liste des anomalies récentes de la machine. Voir le Manuel d'entretien ou adressez-vous à votre distributeur Toro agréé pour plus de renseignements sur le menu Anomalies et sur les données qu'il contient. |
| Hours | Indique le nombre total d'heures de fonctionnement de la machine, du moteur et de la PDF, ainsi que le nombre d'heures de transport et restant avant le prochain entretien. |
Flow Rate ![]() | Affiche le débit actuel. |
Flow Cal Value![]() | Affiche le multiplicateur actuellement utilisé pour calculer la différence entre le débit supposé et le débit étalonné. |
Speed Cal Value![]() | Affiche le multiplicateur actuellement utilisé pour calculer la différence entre la vitesse supposée et la vitesse étalonnée. |
| Option de menu | Description |
| Pumps | Permet d'accéder aux options de rinçage momentané et de rinçage temporisé. |
| Booms | Permet d’accéder aux entrées et sorties des rampes. |
| Engine Run | Permet d'accéder aux options d'entrée et de sortie de fonctionnement du moteur. |
| Option de menu | Description |
| Modèle | Indique le numéro de modèle de la machine. |
| Nº de série | Indique le numéro de série de la machine. |
| Rév. logiciel | Indique la version du logiciel du programmateur principal. |
XDM–2700 ![]() | Indique la version du logiciel de l'InfoCenter. |
CAN Stats ![]() | Indique le bus CAN. |
Plusieurs paramètres de configuration du fonctionnement peuvent être sélectionnés dans le menu Réglages de l'affichage. Vous pouvez bloquer ces réglages à partir du Menu protégé.
Note: À la livraison de la machine, le code d'accès initial est programmé par votre distributeur.
Note: Le code PIN par défaut d'usine de la machine est 0000 ou 1234.
Si vous avez changé le code PIN et que vous l'avez oublié, contactez votre distributeur Toro agréé.
Dans le menu principal, naviguez jusqu'au menu Réglages, puis appuyez sur le bouton de sélection.

Dans le menu Réglages, naviguez jusqu'à Saisir PIN et appuyez sur le bouton de sélection.
Pour saisir le code PIN, appuyez sur les boutons de navigation vers le haut/bas jusqu'à ce que le premier chiffre correct s'affiche, puis appuyez sur le bouton de navigation droit pour passer au chiffre suivant. Répétez cette procédure jusqu'à ce que le dernier chiffre soit saisi.
Appuyez sur le bouton de sélection.
Note: Si l'affichage accepte le code PIN et que le menu protégé est déverrouillé, « PIN » s'affiche dans le coin supérieur droit de l'écran.
Pour verrouiller le menu protégé, tournez le commutateur d'allumage à la position Arrêt puis à la position Contact.

Sous Réglages, naviguez jusqu'à l'option Protection des réglages.
Pour afficher et modifier les réglages sans saisir de code PIN, utilisez le bouton de sélection pour changer l'option Protection des réglages à Désactivée.
Pour afficher et modifier les réglages en saisissant un code PIN, utilisez le bouton de sélection pour changer l'option Protection des réglages à Activée, saisissez le code PIN et tournez le commutateur d'allumage à la position Arrêt, puis ramenez-la à la position Contact.
Sélectionnez Réglages machine.
Sélectionnez Alerte cuve.

Utilisez les boutons directionnels pour saisir la quantité minimum dans la cuve à laquelle l'alerte s'affichera pendant le fonctionnement du pulvérisateur.
Sélectionnez Réglages machine.
Sélectionnez la rampe que vous souhaitez mettre à jour.
Utilisez les boutons directionnels pour changer la taille de la rampe par paliers de 2,5 cm.
| Réglage | Valeur par défaut |
| Vitesse d'essai | 0,0 |
| Alerte de cuve de pulvérisation | 1 gal/l |
| Rampe G | 203 cm (80") |
| Rampe C | 152 cm (60") |
| Rampe F | 203 cm (80") |
Sélectionnez Réglages machine et sélectionnez Retour réglages d'usine.
Note: L’alerte de la cuve est réinitialisée lorsque vous changez le volume.
Appuyez sur le bouton ENTER pour naviguer vers la droite. Le volume actuel de la cuve s'affiche.
Appuyez sur le bouton pour augmenter ou réduire le volume de la cuve.
Appuyez sur les boutons vers le haut/bas pour passer à ±10 (unités américaines) ou ±25 (unités métriques).
Appuyez sur les boutons vers la gauche/droite pour modifier le volume de 1 palier à la fois.

Ces écrans affichent :
Superficie pulvérisée (acres, hectares ou 1000 pi2)
Volume pulvérisé (gallons américains ou litres)
Les données de zone et de volume s’accumulent jusqu’à ce que vous les réinitialisiez. Utilisez une sous-zone distincte pour chaque tâche de pulvérisation sur le site. Vous pouvez utiliser jusqu’à 20 sous-zones.
Note: Veillez à naviguer jusqu’à la sous-zone sur laquelle vous travaillez avant de commencer à pulvériser. La sous-zone indiquée sur l’écran est la sous-zone active pour l’accumulation de couverture.
Appuyez sur le bouton de Retour arrière pour naviguer jusqu’à l’écran Zone totale.
Appuyez sur le bouton vers la droite pour réinitialiser les données de la Zone totale.
Note: Lorsque vous réinitialisez les données de zone totale et de volume total dans l’écran Zone totale, toutes les données de chaque sous-zone sont aussi réinitialisées.

Appuyez sur le bouton Retour arrière pour naviguer jusqu’à un écran de sous-zone.
Appuyez sur le bouton vers le haut pour réinitialiser les données de sous-zone.

Les avis s'affichent automatiquement sur l'écran de l'InfoCenter quand une fonction de la machine exige une action supplémentaire. Par exemple, si vous essayez de démarrer le moteur tout en enfonçant la pédale de déplacement, un avis s'affiche pour indiquer que la pédale doit être à la position NEUTRE.
Appuyez sur un bouton de l’affichage pour supprimer l’avis.
| Code | Description |
|---|---|
| 200 | Démarrage empêché – commande de pompe active |
| 201 | Démarrage empêché – POINT MORT pas sélectionné |
| 202 | Démarrage empêché – siège inoccupé |
| 203 | Démarrage empêché – pédale d'accélérateur pas en position repos |
| 204 | Démarrage empêché – Expiration de la temporisation d'engagement du démarreur |
| 205 | Frein de stationnement serré |
| 206 | Démarrage de pompe empêché – rampe active |
| 207 | Démarrage de pompe empêché – haut régime moteur |
| 208 | Blocage d'accélérateur/régime empêché – pompe non active |
| 209 | Blocage d'accélérateur empêché – frein de stationnement desserré |
| 210 | Blocage de régime empêché – siège inoccupé ou frein de stationnement serré |
| 211 | Blocage d'accélérateur/régime empêché – embrayage ou frein de service engagé |
| 212 | Alerte de bas niveau de cuve |
| 213 | Pompe de rinçage ACTIVE |
| 220 | Étalonnage du débitmètre |
| 221 | Étalonnage du débitmètre – remplissez le réservoir d'eau et entrez le volume versé |
| 222 | Étalonnage du débitmètre – activez la pompe |
| 223 | Étalonnage du débitmètre – activez toutes les rampes |
| 224 | Étalonnage du débitmètre – étalonnage commencé |
| 225 | Étalonnage du débitmètre – étalonnage terminé |
| 226 | Étalonnage du débitmètre – sortie du mode étalonnage |
| 231 | Étalonnage du capteur de vitesse |
| 232 | Étalonnage du capteur de vitesse – remplissez le réservoir d'eau douce et appuyez sur suivant |
| 233 | Étalonnage du capteur de vitesse – remplissez le pulvérisateur à moitié d'eau et appuyez sur suivant |
| 234 | Étalonnage du capteur de vitesse – entrez la distance d'étalonnage et appuyez sur suivant |
| 235 | Étalonnage du capteur de vitesse – repérez et parcourez la distance entrée avec les sections de pulvérisation désactivées |
| 236 | Étalonnage du capteur de vitesse – étalonnage en cours |
| 237 | Étalonnage du capteur de vitesse – étalonnage terminé |
| 238 | Étalonnage du capteur de vitesse – désactivez les rampes |
| 241 | Étalonnage hors plage, valeur par défaut utilisée |
Effectuez les contrôles suivants au début de chaque journée de travail :
Contrôlez la pression des pneus.
Note: Les pneus de cette machine sont différents de ceux d'une voiture ; ils n'ont pas besoin d'être autant gonflés pour minimiser le compactage et préserver l'aspect de la pelouse.
Vérifiez tous les niveaux et faites l'appoint au besoin avec les liquides spécifiés.
Vérifiez le fonctionnement de la pédale de frein.
Vérifiez le fonctionnement des éclairages.
Tournez le volant à gauche et à droite pour vérifier la réponse de la direction.
Après avoir coupé le moteur, vérifiez qu'il n'y a pas de fuites d'huile, de pièces desserrées ou autres anomalies évidentes.
Si vous constatez des défaillances après les contrôles ci-dessus, signalez-les à votre mécanicien ou à votre responsable avant de vous mettre au volant. Votre responsable vous demandera peut-être de procéder à d'autres vérifications journalières. Demandez-lui ce dont vous devez vous charger précisément.
Note: Consultez le guide de sélection des buses disponible auprès de votre distributeur Toro agréé.
Les corps des tourelles peuvent recevoir jusqu'à 3 buses différentes.
Arrêtez le pulvérisateur sur une surface plane et horizontale, coupez le moteur, serrez le frein de stationnement et enlevez la clé.
Réglez la commande générale des sections en position DéSACTIVéE et la commande de la pompe de pulvérisation en position ARRêT.
Tournez la tourelle de buses dans un sens ou dans l'autre jusqu'à la buse correcte.
Effectuez l'étalonnage du débit ; voir Étalonnage de la pulvérisation.
Équipement standard : filtre d'aspiration maillage 50 (bleu)
Utilisez le tableau des filtres d'aspiration pour identifier le maillage correct pour les buses utilisées, en fonction des produits chimiques ou des solutions de viscosité équivalente à l'eau.
| Code couleur des buses de pulvérisation (débit) | Maillage de la crépine* | Code couleur des filtres |
|---|---|---|
| Jaune (0,75 l/min) | 50 | Bleu |
| Rouge (1,5 l/min) | 50 | Bleu |
| Brun (1,90 l/min) | 50 (ou 30) | Bleu (ou vert) |
| Gris (2,25 l/min) | 30 | Vert |
| Blanc (3 l/min) | 30 | Vert |
| Bleu (3,5 l/min) | 30 | Vert |
| Vert (5,5 l/min) | 30 | Vert |
| *Le maillage des filtres d'aspiration indiqué dans ce tableau est basé sur des produits chimiques ou des solutions de viscosité équivalente à l'eau. | ||
Important: Si vous pulvérisez des produits chimiques de viscosité plus élevée (plus épais) ou des solutions avec poudres mouillables, vous devrez peut-être utiliser un maillage plus grossier pour le filtre d'aspiration en option ; voir Figure 61.

Quand vous utilisez un débit de pulvérisation plus élevé, songez à utilisez un filtre d'aspiration plus grossier (en option) ; voir Figure 62.

Les maillages suivants sont proposés :
Équipement standard : filtre d'aspiration maillage 50 (bleu)
Consultez le tableau des filtres de pression pour identifier le maillage correct pour les buses utilisées, en fonction des produits chimiques ou des solutions de viscosité équivalente à l'eau.
| Code couleur des buses de pulvérisation (débit) | Maillage de la crépine* | Code couleur des filtres |
|---|---|---|
| Selon besoin pour les produits chimiques ou les solutions à faible viscosité ou pour de faibles débits d'application | 100 | Vert |
| Jaune (0,75 l/min) | 80 | Jaune |
| Rouge (1,5 l/min) | 50 | Bleu |
| Brun (1,90 l/min) | 50 | Bleu |
| Gris (2,25 l/min) | 50 | Bleu |
| Blanc (3 l/min) | 50 | Bleu |
| Bleu (3,5 l/min) | 50 | Bleu |
| Vert (5,5 l/min) | 50 | Bleu |
| Selon besoin pour les produits chimiques ou les solutions à viscosité élevée ou pour des débits d'application élevés | 30 | Rouge |
| Selon besoin pour les produits chimiques ou les solutions à viscosité élevée ou pour des débits d'application élevés | 16 | Marron |
| *Le maillage des filtres de pression indiqué dans ce tableau est basé sur des produits chimiques ou des solutions de viscosité équivalente à l'eau. | ||
Important: Si vous pulvérisez des produits chimiques de viscosité plus élevée (plus épais) ou des solutions avec poudres mouillables, vous devrez peut-être utiliser un maillage plus grossier pour le filtre de pression optionnel ; voir Figure 63.

Quand vous utilisez un débit de pulvérisation plus élevé, songez à utilisez un filtre de pression plus grossier (en option) ; voir Figure 64.

Note: Utilisez le filtre de pastille optionnel pour protéger la pastille et prolonger sa vie utile.
Utilisez le tableau des filtres de buse pour identifier le maillage correct pour les buses utilisées, en fonction des produits chimiques ou des solutions de viscosité équivalente à l'eau.
| Code couleur des buses de pulvérisation (débit) | Maillage du filtre* | Code couleur des filtres |
|---|---|---|
| Jaune (0,75 l/min) | 100 | Vert |
| Rouge (1,5 l/min) | 50 | Bleu |
| Brun (1,90 l/min) | 50 | Bleu |
| Gris (2,25 l/min) | 50 | Bleu |
| Blanc (3 l/min) | 50 | Bleu |
| Bleu (3,5 l/min) | 50 | Bleu |
| Vert (5,5 l/min) | 50 | Bleu |
| *Le maillage des filtres de buse indiqué dans ce tableau est basé sur des produits chimiques ou des solutions de viscosité équivalente à l'eau. | ||
Important: Lorsque vous pulvérisez des produits chimiques de viscosité plus élevée (plus épais) ou des solutions avec poudres mouillables, vous devrez peut-être utiliser un maillage plus grossier pour le filtre des pastilles de buses optionnel ; voir Figure 65.

Quand vous utilisez un débit de pulvérisation plus élevé, songez à utilisez un filtre de buse plus grossier (en option) ; voir Figure 66.

Important: N'utilisez pas d'eau recyclée (eau grise) dans le réservoir d'eau douce.
Note: Ce réservoir constitue une source d'eau douce que vous pouvez utiliser pour laver la peau, les yeux ou d'autres parties du corps en cas d'exposition accidentelle aux produits chimiques.Remplissez toujours le réservoir d'eau douce propre avant de manipuler ou de mélanger des produits chimiques.
Le réservoir d'eau douce est situé sur le système ROPS, derrière le siège du passager (Figure 67). Il vous permet de vous laver la peau, les yeux ou d'autres parties du corps en cas d'exposition accidentelle aux produits chimiques.
Pour remplir le réservoir, dévissez le bouchon sur le dessus et remplissez-le d'eau douce. Remettez le bouchon en place.
Pour ouvrir le robinet du réservoir d'eau douce, tournez le levier sur le robinet.

Montez le kit de prémélange de produit chimique pour optimiser le mélange et la propreté extérieure de la cuve.
Important: Dans la mesure du possible, n'utilisez pas d'eau recyclée (eau grise) dans la cuve du pulvérisateur.
Important: Vérifiez que les produits chimiques que vous utilisez sont compatibles avec VitonTM (voir l'étiquette du fabricant qui devrait indiquer la compatibilité). L'utilisation d'un produit chimique non compatible avec le VitonTM a pour effet de dégrader les joints toriques du pulvérisateur et de causer des fuites.
Important: Après avoir rempli la cuve pour la première fois, vérifiez le serrage des sangles de la cuve. Serrez-les au besoin.
Actionnez les sections pour purger le conditionneur présent dans le système de pulvérisation.
Garez la machine sur une surface plane et horizontale, amenez le sélecteur de gamme à la position point mort, serrez le frein de stationnement, coupez le moteur et enlevez la clé de contact.
Vérifiez que le robinet de vidange de la cuve est fermé.
Déterminez la quantité d'eau nécessaire pour mélanger la quantité de produit chimique requise selon les indications du fabricant.
Ouvrez le couvercle de la cuve du pulvérisateur.
Note: Le couvercle se trouve en haut et au centre de la cuve. Pour ouvrir le couvercle, tournez la moitié avant dans le sens antihoraire et soulevez-le. Vous pouvez retirer la crépine qui se trouve à l'intérieur pour la nettoyer. Pour fermer la cuve, rabattez le couvercle et tournez la moitié avant dans le sens horaire.
Versez les 3/4 de l'eau nécessaire dans la cuve à l'aide de l'embout de remplissage anti-siphonnage.
Important: Utilisez toujours de l'eau douce et propre dans la cuve de produit. Ne versez pas de concentré dans la cuve vide.

Mettez le moteur en marche, engagez la PDF et réglez la commande d'accélérateur le cas échéant.
Tournez la commande d'agitation en position ACTIVéE.
Ajoutez la proportion correcte de concentré chimique dans la cuve selon les instructions du fabricant du produit.
Important: Si vous utilisez de la poudre mouillable, mélangez-la avec une petite quantité d'eau pour former une bouillie avant de la verser dans la cuve.
Ajoutez le reste d'eau dans la cuve.
Note: Pour améliorer l'agitation, diminuez le réglage du débit de pulvérisation.
| Périodicité d'entretien | Procédure d'entretien |
|---|---|
| À chaque utilisation ou une fois par jour |
|
Important: Vous risque de déformer et d'endommager la cuve et ses sangles si vous serrez les fixations excessivement.
Remplissez la cuve principale d'eau.
Vérifiez qu'il n'y a aucun jeu entre les sangles et la cuve (Figure 69).

Si les sangles de la cuve ne sont pas assez serrées, resserrez les contre-écrous à embase et les boulons en haut des sangles jusqu'à ce que ces dernières soient parfaitement en appui sur la surface de la cuve (Figure 69).
Note: Ne serrez pas excessivement les fixations des sangles de la cuve.
Note: Avant d'utiliser le pulvérisateur pour la première fois, si vous changez de buses ou selon les besoins, étalonnez le débit de pulvérisation, la vitesse du pulvérisateur et la dérivation des sections.
Remplissez la cuve du pulvérisateur d'eau propre.
Note: Vérifiez que la cuve contient suffisamment d'eau pour réaliser chacune des procédures d'étalonnage.
Abaissez les sections de rampe droite et gauche.
Désactivez les paramètres protégés ; voir Utilisation de l'InfoCenter.
Matériel fourni par l'utilisateur : un chronomètre capable de mesurer à ± 1/10 seconde près, et un récipient gradué par 50 ml.
Note: L'étalonnage du débit de pulvérisation pour les machines sans blocage de l'accélérateur nécessite la présence de 2 personnes.
Sélectionnez le POINT MORT de la transmission.
Serrez le frein de stationnement et mettez le moteur en marche.
Mettez la pompe de pulvérisation en marche et activez l'agitation.
Appuyez sur la pédale d'accélérateur jusqu'à obtention du régime moteur maximum.
Réglez le régime moteur comme suit :
Pour les machines sans l'option blocage de l'accélérateur, demandez à une personne d'enfoncer la pédale d'accélérateur jusqu'à ce que le moteur atteigne le régime maximum.
Note: Demandez à l'autre personne de récupérer les échantillons des buses du pulvérisateur.
Pour les machines avec l'option blocage de l'accélérateur, enfoncez la pédale d'accélérateur jusqu'à ce que le moteur tourne au régime maximum, puis bloquer l'accélérateur ; voir les instructions d'utilisation du kit commande d'accélérateur du Workman.
Réglez les 3 interrupteurs de section et la commande générale des sections à la position ACTIVéE.
Préparez-vous à effectuer un essai de récupération à l'aide d'un récipient gradué.
Commencez à 2,75 bar et ajustez la pression de pulvérisation à l'aide de la commande de débit de pulvérisation de manière que l'essai de récupération produise les quantités indiquées ci-après.
Note: Récupérez 3 échantillons à 15 secondes chacun et faites la moyenne des quantités d'eau recueillies.
| Couleur de buse | Millilitres récupérés en 15 secondes | Onces récupérées en 15 secondes | ||
|---|---|---|---|---|
| Jaune | 189 | 6,4 | ||
| Rouge | 378 | 12,8 | ||
| Marron | 473 | 16 | ||
| Gris | 567 | 19,2 | ||
| Blanc | 757 | 25,6 | ||
| Bleu | 946 | 32 | ||
| Vert | 1 419 | 48 | ||
Lorsque vous avez obtenu les quantités indiquées dans le tableau ci-dessus, tournez le commutateur de blocage de débit à la position de BLOCAGE.
Placez la commande générale des sections à la position ARRêT.
Sur l'écran de l'InfoCenter, ouvrez le menu d'étalonnage et sélectionnez l'option FLOW CAL (étalonnage du débit), comme suit :
Note: Vous pouvez sélectionner l'icône de l'écran d'accueil à tout moment pour annuler l'étalonnage.
Appuyez deux fois sur le bouton de sélection central de l'InfoCenter pour accéder aux menus.
Ouvrez le menu d'étalonnage en appuyant sur le bouton de sélection droit de l'InfoCenter.
Mettez l'option FLOW CAL (étalonnage de débit) en surbrillance pour la sélectionner et appuyez sur le bouton de sélection droit de l'InfoCenter.
Sur l'écran suivant, entrez la quantité d'eau connue qui sera pulvérisée pour la procédure d'étalonnage ; voir le tableau ci-dessous.
Appuyez sur le bouton de sélection droit sur l'InfoCenter.
À l'aide des symboles plus (+) et moins (-), entrez le débit selon le tableau ci-dessous.
| Couleur de buse | Litres | Gallons américains |
| Jaune | 42 | 11 |
| Rouge | 83 | 22 |
| Marron | 106 | 28 |
| Gris | 125 | 33 |
| Blanc | 167 | 44 |
| Bleu | 208 | 55 |
| Vert | 314 | 83 |
Tournez la commande générale des sections en position activée pendant 5 minutes.
Note: Pendant la pulvérisation, l'InfoCenter affiche la quantité de liquide qu'il calcule.
Après 5 minutes de pulvérisation, cliquez sur la coche en appuyant sur le bouton central de l'lnfoCenter.
Note: Il est possible que les litres affichés pendant la pulvérisation ne correspondent pas à la quantité d'eau connue que vous avez entrée sur l'InfoCenter ; cela n'a pas d'importance.
Placez la commande générale des sections en position d'arrêt et cliquez sur la coche en appuyant sur le bouton central de l'lnfoCenter.
Note: L'étalonnage est maintenant terminé.
Vérifiez que la cuve du pulvérisateur est bien remplie d'eau.
Sur une surface plane et dégagée, repérez une distance entre 45 et 152 m.
Note: Repérez une distance de 152 m pour obtenir des résultats plus précis.
Démarrez le moteur et conduisez la machine au début de la distance repérée.
Note: Alignez le centre des pneus avant sur le ligne de départ pour obtenir une mesure plus précise.
Sur l'écran de l'InfoCenter, ouvrez le menu d'étalonnage et sélectionnez l'option Speed Calibration (étalonnage de vitesse).
Note: Vous pouvez sélectionner l'icône de l'écran d'accueil à tout moment pour annuler l'étalonnage.
Sélectionnez sur la flèche Suivant (→) sur l'InfoCenter.
À l'aide des symboles plus (+) et moins (-), entrez la distance repérée dans l'InfoCenter.
Sélectionnez la 1ère et parcourez la distance repérée en ligne droite, à pleins gaz.
Arrêtez la machine à la distance repérée et sélectionnez la coche sur l'écran de l'InfoCenter.
Note: Ralentissez et arrêtez la machine en alignant le centre des pneus avant sur la ligne de fin, pour obtenir une mesure plus précise.
Note: L'étalonnage est maintenant terminé.
Avant d'utiliser le pulvérisateur pour la première fois, à chaque changement de buses ou selon les besoins, étalonnez le débit de pulvérisation et la vitesse du pulvérisateur, et réglez la dérivation des sections.
Important: Choisissez une surface plane et horizontale pour effectuer cette procédure.
Note: L'étalonnage de la dérivation des sections pour les machines sans blocage de l'accélérateur et nécessite la présence de 2 personnes.
Vérifiez que la cuve du pulvérisateur est bien remplie d'eau.
Sélectionnez le POINT MORT de la transmission.
Serrez le frein de stationnement et mettez le moteur en marche.
Réglez les 3 interrupteurs de section en position ACTIVéE, mais laissez la commande générale en position ARRêT.
Placez la commande de la pompe à la position de MARCHE et lancez l'agitation.
Réglez le régime moteur comme suit :
Pour les machines sans l'option blocage de l'accélérateur, demandez à une personne d'enfoncer la pédale d'accélérateur jusqu'à ce que le moteur tourne au régime maximum.
Note: Demandez à l'autre personne de régler les vannes de dérivation des sections.
Pour les machines avec l'option blocage de l'accélérateur, enfoncez la pédale d'accélérateur jusqu'à ce que le moteur tourne au régime maximum, puis bloquer l'accélérateur ; voir les instructions d'utilisation du kit commande d'accélérateur du Workman.
Sur l'écran de l'InfoCenter, naviguez jusqu'au menu Étalonnage et sélectionnez l'option Test Speed (vitesse d'essai).
Note: Vous pouvez sélectionner l'icône de l'écran d'accueil à tout moment pour annuler l'étalonnage.
À l'aide des symboles plus (+) et moins (-), entrez une vitesse d'essai de 5,6 km, puis sélectionnez l'icône de l'écran d'accueil.
À l'aide de la commande de débit de pulvérisation, réglez le débit de pulvérisation selon le tableau ci-après.
| Couleur de buse | SI (métrique) | Anglais | Turf |
| Jaune | 159 l/ha | 17 gal/a | 0,39 gpk |
| Rouge | 319 l/ha | 34 gal/a | 0,78 gpk |
| Marron | 394 l/ha | 42 gal/a | 0,96 gpk |
| Gris | 478 l/ha | 51 gal/a | 1,17 gpk |
| Blanc | 637 l/ha | 68 gal/a | 1,56 gpk |
| Bleu | 796 l/ha | 85 gal/a | 1,95 gpk |
| Vert | 1 190 l/ha | 127 gal/a | 2,91 gpk |
Désactivez la section gauche et réglez le bouton de dérivation de la section gauche (Figure 70) jusqu'à ce que la pression indiquée corresponde à celle réglée précédemment (généralement 2,75 bar).
Note: Les chiffres sur la vanne de dérivation servent uniquement de référence.

Activez la section gauche et désactivez la section droite.
Réglez la vanne de dérivation de la section droite (Figure 70) jusqu'à ce que la pression indiquée corresponde à celle réglée précédemment (généralement 2,75 bar).
Activez la section droite et désactivez la section centrale.
Réglez la vanne de dérivation de la section centrale (Figure 70) jusqu'à ce que la pression indiquée corresponde à celle réglée précédemment (généralement 2,75 bar).
Désactivez toutes les sections.
Arrêtez la pompe de pulvérisation.
Note: L'étalonnage est maintenant terminé.
La vanne de dérivation d'agitation est en position complètement ouverte, comme montré à la Figure 71A.
La vanne de dérivation d'agitation est en position complètement fermée (0) comme montré à la Figure 71B.
La vanne de dérivation d'agitation est en position intermédiaire (réglée en fonction du manomètre pour le système de pulvérisation) comme montré à la Figure 71C.

| Périodicité d'entretien | Procédure d'entretien |
|---|---|
| Une fois par an |
|
Important: Choisissez une surface plane et horizontale pour effectuer cette procédure.
Note: L'étalonnage de la vanne de dérivation d'agitation pour les machines sans blocage de l'accélérateur nécessite la présence de 2 personnes.
Vérifiez que la cuve du pulvérisateur est bien remplie d'eau.
Vérifiez si la vanne de commande d'agitation est ouverte. Si elle a été réglée, ouvrez-la complètement.
Sélectionnez le POINT MORT de la transmission.
Serrez le frein de stationnement et mettez le moteur en marche.
Mettez la pompe de pulvérisation en marche.
Réglez le régime moteur comme suit :
Pour les machines sans l'option blocage de l'accélérateur, demandez à une personne d'enfoncer la pédale d'accélérateur jusqu'à ce que le moteur atteigne le régime maximum.
Note: Demandez à l'autre personne de récupérer les échantillons des buses du pulvérisateur.
Pour les machines avec l'option blocage de l'accélérateur, enfoncez la pédale d'accélérateur jusqu'à ce que le moteur tourne au régime maximum, puis bloquer l'accélérateur ; voir les instructions d'utilisation du kit commande d'accélérateur du Workman.
Réglez les 3 vannes de section individuelles en position DéSACTIVéE.
Placez la commande générale des sections en position ACTIVéE.
Réglez la pression du système au MAXIMUM.
Poussez la commande d'agitation à la position ARRêT et observez le manomètre.
Si la pression indiquée reste à 6,9 bar, la vanne de dérivation est calibrée correctement.
Si la pression indiquée est différente, passez à l'opération suivante.
Réglez la vanne de dérivation (Figure 72) à l'arrière de la vanne d'agitation jusqu'à ce que la pression indiquée soit 6,9 bar.

Poussez la commande de la pompe à la position ARRêT, amenez la commande d'accélérateur en position de RALENTI, et tournez la clé à la position ARRêT.
Note: Cette vanne permet de réduire ou d'augmenter le volume de liquide envoyé aux buses d'agitation dans la cuve lorsque la commande générale des sections est en position DéSACTIVéE.
Vérifiez que la cuve du pulvérisateur est bien remplie d'eau.
Serrez le frein de stationnement.
Sélectionnez le POINT MORT de la transmission.
Mettez la pompe de pulvérisation en marche.
Réglez la commande d'agitation à la position de MARCHE.
Placez la commande générale des sections en position ARRêT.
Réglez le régime moteur comme suit :
Pour les machines sans l'option blocage de l'accélérateur, demandez à une personne d'enfoncer la pédale d'accélérateur jusqu'à ce que le moteur atteigne le régime maximum.
Note: Demandez à l'autre personne de récupérer les échantillons des buses du pulvérisateur.
Pour les machines avec l'option blocage de l'accélérateur, enfoncez la pédale d'accélérateur jusqu'à ce que le moteur tourne au régime maximum, puis bloquer l'accélérateur ; voir les instructions d'utilisation du kit commande d'accélérateur du Workman.
Déplacez plus ou moins la poignée de dérivation générale des sections de manière à réguler l'agitation à l'intérieur de la cuve (Figure 72).
Réduisez le régime moteur au ralenti.
Réglez la commande d'agitation et la commande de pompe en position ARRêT.
Coupez le moteur.
La pompe de pulvérisation est située l'arrière de la machine (Figure 73).

Le propriétaire/l'utilisateur est responsable des accidents pouvant entraîner des dommages corporels ou matériels et peut les prévenir.
Portez une tenue adaptée, y compris une protection oculaire, un pantalon, des chaussures solides à semelle antidérapante et des protecteurs d'oreilles. Si vos cheveux sont longs, attachez-les et ne portez pas de vêtements amples ni de bijoux pendants.
Portez un équipement de protection individuelle adapté comme stipulé dans la section consacrée à la sécurité chimique.
Accordez toute votre attention à l'utilisation de la machine. Ne faites rien d’autre qui puisse vous distraire, au risque de causer des dommages corporels ou matériels.
N'utilisez pas la machine si vous êtes fatigué(e), malade ou sous l'emprise de l'alcool, de médicaments ou de drogues.
Ne transportez jamais plus d'un passager à la fois sur la machine ; le passager ne doit s'asseoir qu'à l'emplacement spécifié.
N'utilisez la machine que si la visibilité est bonne. Évitez les trous ou autres dangers cachés.
Avant de mettre le moteur en marche, asseyez-vous sur le siège et vérifiez que la transmission est au POINT MORT.
Restez assis(e) pendant le déplacement de la machine. Gardez les deux mains sur le volant autant que possible et gardez toujours les bras et les jambes à l'intérieur du poste opérateur.
Soyez prudent à l'approche de tournants sans visibilité, de buissons, d'arbres ou d'autres objets susceptibles de vous masquer la vue.
Avant de faire marche arrière, vérifiez que la voie est libre derrière vous Reculez lentement.
Ne pulvérisez jamais à proximité de personnes, en particulier des enfants ou des animaux familiers.
Ne travaillez pas à proximité de dénivellations, fossés ou berges. La machine pourrait se retourner brusquement si une roue passe par-dessus une dénivellation quelconque et se retrouve dans le vide, ou si un bord s'effondre.
Ralentissez sur terrain accidenté, irrégulier et près de trottoirs, trous et autres accidents de terrain. La charge peut se déplacer et rendre la machine instable.
Si la machine heurte un obstacle ou vibre de manière inhabituelle, coupez le moteur, enlevez la clé, serrez le frein de stationnement et vérifiez si la machine est endommagée. Effectuez toutes les réparations nécessaires avant de réutiliser la machine.
Ralentissez et faites preuve de prudence quand vous changez de direction, ainsi que pour traverser des routes et des trottoirs avec la machine. Cédez toujours le passage.
Soyez particulièrement prudent lorsque vous utilisez la machine sur des surfaces humides, dans des conditions météorologiques défavorables, à grande vitesse ou à pleine charge. Le temps et la distance d'arrêt augmentent dans ces conditions.
Ne touchez pas le moteur ou le silencieux si le moteur est en marche ou vient de s'arrêter, car vous risquez de vous brûler.
Avant de quitter la position d'utilisation, effectuez la procédure suivante :
Garez la machine sur une surface plane et horizontale.
Mettez la transmission au POINT MORT.
Arrêtez la pompe de pulvérisation.
Serrez le frein de stationnement.
Coupez le moteur de la machine et enlevez la clé (selon l'équipement).
Attendez l'arrêt complet de tout mouvement.
Ne faites jamais tourner le moteur dans un local ne permettant pas d'évacuer les gaz d'échappement.
N'utilisez pas la machine s'il y a risque d'orage.
Utilisez uniquement les outils et accessoires agréés par Toro.
Pour utiliser le pulvérisateur Multi Pro WM, vous devez d'abord remplir la cuve, puis pulvériser la solution sur la zone de travail et finir par le nettoyage de la cuve. Il est important d'effectuer chacune de ces opérations dans l'ordre et successivement pour éviter d'endommager le pulvérisateur. Par exemple, vous ne devez pas mélanger ni ajouter de produits chimiques dans la cuve du pulvérisateur le soir pour les pulvériser le lendemain matin. Cela entraînerait une séparation des produits chimiques et risquerait d'endommager les composants du pulvérisateur.
Important: Les repères sur la cuve doivent seulement être utilisés à titre indicatif ; ils ne sont pas assez précis pour effectuer l'étalonnage.
Les produits chimiques sont dangereux et peuvent causer des blessures.
Lisez le mode d'emploi des produits chimiques avant de les manipuler, et suivez les recommandations et les consignes de sécurité du fabricant.
Ne mettez pas les produits chimiques en contact avec la peau. En cas de contact, lavez soigneusement la zone affectée à l'eau propre et au savon.
Portez des lunettes enveloppantes et tout autre équipement de protection recommandé par le fabricant du produit chimique.
Le pulvérisateur Multi Pro WM a été spécifiquement conçu pour offrir une grande durabilité et une longue vie utile. À cet effet, différents matériaux ont été spécifiquement choisis pour les différentes parties de la machine. Malheureusement, aucun matériau ne convient parfaitement à toutes les applications prévisibles.
Certains produits chimiques sont plus agressifs que les autres et chacun réagit différemment avec divers matériaux. Certaines consistances (poudres mouillables, charbon de bois, par ex.) sont plus abrasives et entraînent des taux d'usure plus élevés. Si un produit chimique est proposé sous forme d'une préparation qui prolonge la vie utile du pulvérisateur, choisissez cette préparation.
Comme toujours, ne manquez pas de nettoyer la machine et le système de pulvérisation après chaque application. Votre pulvérisateur bénéficiera ainsi d'une longue vie et d'un fonctionnement exempt de problèmes.
Important: Pour que la solution reste bien mélangée, utilisez la fonction d'agitation chaque fois que la cuve contient de la solution. Pour que l'agitation soit possible, vous devez engager la PDF faire tourner le moteur tourne à un régime supérieur au régime de ralenti. Si vous arrêtez le véhicule mais que vous voulez activer l’agitation, placez le levier sélecteur au POINT MORT, serrez le frein de stationnement, engagez la PDF, engagez l’embrayage et réglez la commande d’accélérateur (selon l'équipement).
Note: Cette procédure suppose que la PDF est engagée (modèles série HD à transmission manuelle) et que l'étalonnage des vannes de sections est terminé.
Abaissez les rampes en position.
Placez la commande générale des sections en position ARRêT.
Placez les interrupteurs des sections individuelles en position ACTIVéE, selon les besoins.
Conduisez la machine jusqu'à la zone à pulvériser.
Naviguez jusqu'à l'écran Application Rate (débit de pulvérisation) sur l'InfoCenter et réglez le débit à votre convenance en procédant comme suit :
Vérifiez que la commande de la pompe est en position de MARCHE.
Sur les modèles série HD à transmission manuelle, sélectionnez la gamme de vitesse voulue.
Commencez à conduire la machine à la vitesse visée.
Vérifiez si l'affichage indique le débit de pulvérisation correct. Le cas échéant, actionnez la commande de débit jusqu'à ce que l'affichage indique le débit voulu.
Retournez à l'endroit que vous pulvérisez.
Réglez la commande générale des sections en position MARCHE et commencez la pulvérisation.
Note: Lorsque la cuve est pratiquement vide, l'agitation peut créer de la mousse à l'intérieur. Pour éviter cela, coupez la vanne d'agitation. Vous pouvez aussi utiliser un agent antimousse dans la cuve.
Une fois la pulvérisation terminée, placez la commande générale des sections en position ARRêT pour désactiver tous les interrupteurs de section puis désengagez la PDF (modèles série HD à transmission manuelle).
Important: Dans certains cas, la chaleur produite par le moteur, le radiateur et le silencieux peut endommager l'herbe quand vous pulvérisez sur place. Les modes de fonctionnement « machine arrêtée » comprennent l'agitation de la cuve, la pulvérisation manuelle au pistolet et l'utilisation d'une rampe ambulante.
Prenez les précautions suivantes :
Évitez de pulvériser sur place par temps extrêmement chaud et/ou sec, car l'herbe peut être plus fragile dans ces conditions.
Évitez de garer la machine sur la pelouse quand vous pulvérisez sur place. Garez-vous sur une piste pour voiturette dans la mesure du possible.
Minimisez la durée de fonctionnement sur place de la machine où qu'elle se trouve sur la pelouse. La pelouse sera plus ou moins endommagée selon la durée de fonctionnement et la température.
Réglez le régime moteur aussi bas que possible pour obtenir la pression et le débit voulus. Cela minimise la chaleur produite et la vitesse de l'air provenant du ventilateur de refroidissement.
Quand vous travaillez sur place, laissez la chaleur s'échapper vers le haut du compartiment moteur, en soulevant les sièges, au lieu de l'expulser sous le véhicule.
Les interrupteurs de levage des sections de rampe situés sur le panneau de commande du pulvérisateur vous permettent de placer les sections extérieures en position transport ou de pulvérisation sans quitter le siège. Dans la mesure du possible, arrêtez la machine avant de changer les sections de position.
Engagez le levier de commande hydraulique et bloquez-le pour fournir la puissance hydraulique nécessaire pour commander le levage des rampes.
Poussez le levier de commande hydraulique vers l’avant.

Déplacez le dispositif de blocage de la commande hydraulique vers la gauche pour l’enclencher.
Effectuez la procédure suivante pour placer les sections extérieures en position de PULVéRISATION :
Garez la machine sur une surface plane et horizontale.
Utilisez les interrupteurs de levage des sections de rampe pour abaisser les sections extérieures.
Note: Attendez que les sections extérieures soient complètement déployées en position de pulvérisation.
Terminez la pulvérisation en cours, puis effectuez la procédure suivante pour rétracter les sections extérieures en position de transport :
Garez la machine sur une surface plane et horizontale.
Utilisez les interrupteurs de levage des sections pour lever l'une des sections extérieures.
Utilisez les interrupteurs de levage des sections pour lever les autres sections extérieures.
Levez les sections jusqu'à ce qu'elles soient complètement rentrées dans les berceaux de transport et repliées en croix, et que les vérins de levage soient complètement rétractés.
Important: Relâchez le(s) interrupteur(s) de levage une fois que les sections extérieures ont atteint la position voulue. Les vérins de levage et/ou d'autres composants hydrauliques peuvent être endommagés s'ils percutent les butées mécaniques.
Important: Assurez-vous que les sections des rampes en position de transport ne heurtent pas accidentellement un obstacle bas en passant dessous, car elles risquent alors d'être endommagées.
Important: Les sections peuvent être endommagées si elles sont transportées autrement que repliées en croix dans le berceau de transport.

Important: Pour ne pas endommager les vérins de levage, rétractez-les toujours complètement avant de transporter la machine.
N'empiétez pas sur les zones pulvérisées précédemment.
Vérifiez que les buses ne sont pas bouchées. Remplacez toutes les buses usées ou endommagées.
Utilisez la commande générale des sections pour arrêter la pulvérisation avant d'arrêter la machine. Lorsque la machine est arrêtée, servez-vous de la commande de blocage du régime moteur au point mort pour maintenir le régime moteur afin de ne pas interrompre l'agitation.
Vous obtiendrez de bien meilleurs résultats si le pulvérisateur se déplace quand vous mettez les sections en service.
Restez attentif aux modifications du débit de pulvérisation qui peuvent indiquer que votre vitesse a changé au-delà de la portée des buses, ou signaler une anomalie du système de pulvérisation.
Si une buse se bouche en cours de pulvérisation, nettoyez-la comme suit :
Arrêtez le pulvérisateur sur une surface plane et horizontale, coupez le moteur et serrez le frein de stationnement.
Réglez la commande générale des sections en position DéSACTIVéE et la commande de la pompe en position ARRêT.
Retirez la buse bouchée et nettoyez-la avec un flacon pulvérisateur d'eau et une brosse à dents.
Reposez la buse.
Avant de quitter la machine, garez-la sur une surface plane et horizontale, serrez le frein de stationnement, coupez le moteur, enlevez la clé et attendez l'arrêt de tout mouvement.
À la fin de votre journée de travail, lavez les résidus de produit chimique qui se sont déposés sur les surfaces extérieures de la machine ; voir la section consacrée à la sécurité chimique.
Laissez refroidir le moteur avant de ranger la machine dans un local fermé.
Faites l'entretien de la ou des ceintures de sécurité, et nettoyez-les au besoin.
Ne remisez jamais la machine ni les bidons de carburant à proximité d'une flamme nue, d'une source d'étincelles ou d'une veilleuse, telle celle d'un chauffe-eau ou autre appareil.
Maintenez toutes les pièces de la machine en bon état de marche et toutes les fixations bien serrées.
Remplacez tous les autocollants usés, endommagés ou manquants.
Important: Ne nettoyez pas la machine avec de l'eau saumâtre ou recyclée.
Garez la machine sur une surface plane et horizontale, serrez le frein de stationnement, coupez le moteur et enlevez la clé.
Trouvez l'emplacement du robinet de vidange de la cuve du côté droit de la machine (Figure 76).

Ouvrez le robinet pour vidanger tout le produit inutilisé qui reste dans la cuve (Figure 77).
Important: Débarrassez-vous des produits chimiques usagés conformément à la réglementation locale en matière d'environnement et aux consignes du fabricant.

Fermez le robinet de vidange (Figure 77).
| Périodicité d'entretien | Procédure d'entretien |
|---|---|
| Une fois par an |
|
Important: Vous devez toujours vider et nettoyer le pulvérisateur immédiatement après chaque utilisation. Si cela n'est pas fait, les produits chimiques risquent de sécher ou de se coaguler à l'intérieur des canalisations, ce qui bouchera la pompe et d'autres composants.
Utilisez le kit de rinçage approuvé pour cette machine. Pour plus de renseignements, contactez votre distributeur Toro agréé.
Nettoyez le système de pulvérisation après chaque séance de pulvérisation. Pour nettoyer correctement le système de pulvérisation, procédez comme suit :
Effectuez 3 rinçage séparés.
Utilisez les agents nettoyants et neutralisants recommandés par les fabricants des produits chimiques.
Utilisez de l'eau propre et pure (pas d'agents nettoyants ni neutralisants) pour le dernier rinçage.
Versez au moins 190 l d'eau douce propre dans la cuve et fermez le couvercle.
Note: Vous pouvez ajouter un agent nettoyant/neutralisant à l'eau au besoin. Pour le dernier rinçage, utilisez uniquement de l'eau pure et propre.
Abaissez les rampes en position de pulvérisation.
Mettez le moteur en marche et réglez la commande de pompe à la position de MARCHE.
Placez la commande d'accélérateur en position ralenti accéléré.
Vérifiez que la commande d'agitation est en position ACTIVéE et utilisez la commande de débit de pulvérisation pour choisir une pression élevée.
Réglez la commande générale des sections et les interrupteurs des sections individuelles à la position ACTIVéE pour commencer la pulvérisation.
Attendez que toute l'eau de la cuve soit sortie par les buses de pulvérisation.
Vérifiez que toutes les buses pulvérisent correctement.
Placez la commande générale des sections en position ARRêT, arrêtez la pompe de pulvérisation et coupez le moteur.
Répétez les opérations 1 à 9 au moins 2 autres fois pour que le système de pulvérisation soit parfaitement nettoyé.
Important: Vous devez toujours répéter cette procédure au moins 3 fois pour nettoyer parfaitement le système de pulvérisation et éviter de l'endommager.
Nettoyez le filtre d'aspiration et le filtre de pression ; voir Nettoyage du filtre d'aspiration et Nettoyage du filtre de pression.
Important: Si vous utilisez des produits chimiques en poudre mouillable, nettoyez la crépine après chaque remplissage de la cuve.
À l'aide d'un tuyau d'arrosage ordinaire, lavez l'extérieur du pulvérisateur à l'eau propre.
Déposez les buses et nettoyez-les à la main. Remplacez les buses usées ou endommagées.
| Périodicité d'entretien | Procédure d'entretien |
|---|---|
| À chaque utilisation ou une fois par jour |
|
Garez la machine sur une surface plane et horizontale, serrez le frein de stationnement, arrêtez la pompe, coupez le moteur et enlevez la clé de contact.
Au sommet de la cuve du pulvérisateur, retirez l'étrier qui fixe le raccord de flexible sur le grand flexible et le logement du filtre (Figure 78).

Retirez le flexible et le raccord du logement du filtre (Figure 78).
Sortez la crépine d'aspiration du logement du filtre dans le réservoir (Figure 79).

Nettoyez le filtre d'aspiration à l'eau propre.
Important: Remplacez le filtre à air s'il est endommagé ou s'il est impossible de le nettoyer.
Insérez le filtre d'aspiration dans le logement du filtre jusqu'à ce que le filtre soit complètement engagé.
Alignez le flexible et le raccord sur le logement du filtre au sommet du de la cuve, et fixez le raccord et le logement au moyen de l'étrier retiré à l'opération 2.
| Périodicité d'entretien | Procédure d'entretien |
|---|---|
| À chaque utilisation ou une fois par jour |
|
Garez la machine sur une surface plane et horizontale, serrez le frein de stationnement, arrêtez la pompe de pulvérisation, coupez le moteur et enlevez la clé de contact.
Placez un bac de vidange sous le filtre de pression (Figure 80).

Tournez le bouchon de vidange dans le sens antihoraire et retirez-le de la cuvette du filtre de pression (Figure 80).
Note: Vidangez complètement la cuvette.
Tournez la cuvette dans le sens antihoraire et déposez la tête du filtre (Figure 80).
Retirez l'élément du filtre de pression (Figure 80).
Nettoyez l'élément du filtre de pression à l'eau propre.
Important: Remplacez le filtre à air s'il est endommagé ou s'il est impossible de le nettoyer.
Contrôlez l'état et l'usure du joint du bouchon de vidange (à l'intérieur de la cuvette) et du joint de la cuvette (à l'intérieur de la tête du filtre) (Figure 80).
Important: Remplacez les joints usés ou endommagés du bouchon, de la cuvette ou les deux.
Placez l'élément dans la tête du filtre de pression (Figure 80).
Note: Vérifiez que l'élément filtrant est bien engagé dans la tête du filtre.
Vissez la cuvette sur la tête du filtre et serrez-la à la main (Figure 80).
Vissez le bouchon de vidange sur le raccord au fond de la cuvette et serrez-le à la main (Figure 80).
Garez la machine sur une surface plane et horizontale, serrez le frein de stationnement, arrêtez la pompe de pulvérisation, coupez le moteur et enlevez la clé de contact.
Déposez la buse de la tourelle de pulvérisation (Figure 81).

Déposez le filtre de buse (Figure 81).
Nettoyez le filtre de buse à l'eau propre.
Important: Remplacez le filtre à air s'il est endommagé ou s'il est impossible de le nettoyer.
Montez le filtre de buse (Figure 81).
Note: Vérifiez que le filtre est complètement engagé.
Montez la buse sur la tourelle de pulvérisation (Figure 81).
| Périodicité d'entretien | Procédure d'entretien |
|---|---|
| Après chaque utilisation |
|
Spécifications du conditionneur : « antigel RV non toxique » au propylène glycol avec inhibiteur de corrosion
Important: Utilisez uniquement du propylène glycol avec inhibiteur de corrosion. N'utilisez pas de propylène glycol recyclé. N'utilisez pas d'antigel à l'éthylène glycol.N'utilisez pas de propylène glycol additionné d'alcools solubles (méthanol, éthanol ou isopropanol) ou de saumures.
Amenez la machine sur une surface plane et horizontale, serrez le frein de stationnement, coupez le moteur et enlevez la clé de contact.
Ajoutez le conditionneur dans la cuve comme suit :
Si vous utilisez de l'antigel RV au propylène glycol prêt à l'emploi (prémélangé), versez 38 litres de cet antigel dans la cuve
Pour de l'antigel RV au propylène glycol concentré, procédez comme suit :
Versez 38 litres de mélange d'antigel RV au propylène glycol et d'eau dans la cuve du pulvérisateur. Préparez le mélange antigel comme expliqué par le fabricant pour une concentration adaptée pour -45°C minimum.
Important: Utilisez uniquement de l'eau propre pour nettoyer le pulvérisateur.
Mettez le moteur en marche et réglez la commande de la pompe de pulvérisation à la position MARCHE.
Appuyez sur la pédale d'accélérateur pour augmenter le régime moteur.
Réglez la commande d'agitation à la position de MARCHE.
Faites circuler le mélange de conditionneur et d'eau pendant au moins 3 minutes.
Outil recommandé : récipient de récupération transparent.
Amenez la machine jusqu'à une zone de vidange et serrez le frein de stationnement.
Abaissez les sections de rampes extérieures.
Réglez les interrupteurs des sections gauche, centrale et droite, ainsi que la commande générale des sections à la position MARCHE.
Actionnez le système de pulvérisation jusqu'à ce que le conditionneur sorte par les buses.
Note: La plupart des antigels RV au propylène glycol sont de couleur rose. Utilisez le récipient de récupération pour recueillir le liquide pulvérisé par plusieurs des buses.
Coupez la commande générale des sections, les 3 interrupteurs de section, la commande d'agitation, la commande de la pompe de pulvérisation, le moteur et enlevez la clé.
Pour tout renseignement sur le transport ou le remorquage de la machine, consultez le Manuel de l'utilisateur du Workman.
Important: Attachez les sections extérieures aux berceaux de transport.
Note: Vous pouvez télécharger un exemplaire gratuit du schéma hydraulique ou électrique en vous rendant sur www.Toro.com et en cherchant votre machine sous le lien Manuels sur la page d'accueil.
Note: Les côtés gauche et droit de la machine sont déterminés d'après la position d'utilisation normale.
Avant de quitter la position d'utilisation :
Garez la machine sur une surface plane et horizontale.
Mettez la transmission au POINT MORT.
Serrez le frein de stationnement.
Coupez le moteur de la machine et enlevez la clé (selon l'équipement).
Attendez l'arrêt complet de tout mouvement.
Laissez refroidir les composants de la machine avant d'effectuer tout entretien.
Ne confiez l'entretien, les réparations, les réglages et les contrôles de la machine qu'à du personnel qualifié et autorisé.
Avant d'effectuer un entretien, nettoyez et rincez soigneusement le pulvérisateur ; voir la Sécurité chimique.
Les produits chimiques utilisés dans le système de pulvérisation peuvent être nocifs et toxiques pour vous-même, toute personne présente, les animaux, les plantes, les sols et autres.
Lisez attentivement les étiquettes signalétiques et les fiches de données de sécurité (FDS) de tous les produits chimiques utilisés et protégez-vous en suivant les recommandations des fabricants des produits chimiques.
Protégez toujours votre peau quand vous travaillez près de produits chimiques. Utilisez un équipement de protection individuelle (EPI) adapté pour éviter tout contact direct avec les produits chimiques, notamment :
lunettes de sécurité, lunettes enveloppantes et/ou écran facial
combinaison de protection chimique
appareil respiratoire ou masque filtrant
gants résistants aux produits chimiques
bottes en caoutchouc ou autres chaussures solides
vêtements de rechange propres, savon et serviettes jetables pour le nettoyage
Refusez d'utiliser ou d'intervenir sur le pulvérisateur si les informations sur la sécurité des produits chimiques ne sont pas disponibles.
Ne remplissez-pas, n'étalonnez pas ou ne nettoyez pas la machine lorsque des personnes, en particulier des enfants, ou des animaux se trouvent à proximité.
Manipulez les produits chimiques dans un local bien ventilé.
Prévoyez une source d'eau propre, particulièrement quand vous remplissez la cuve du pulvérisateur.
Vous ne devez jamais manger, boire ou fumer lorsque vous travaillez près de produits chimiques.
Ne nettoyez pas les buses de pulvérisation en soufflant dedans ou en les mettant dans la bouche.
Lavez-vous toujours les mains et toute autre partie du corps exposée après avoir travaillé avec des produits chimiques.
Les produits chimiques et les vapeurs à l'intérieur des cuves sont dangereux. Ne pénétrez jamais à l'intérieur et ne passez jamais votre tête au-dessus ou par l'ouverture de la cuve.
Vérifiez l'état de la machine dans son ensemble et maintenez toutes les fixations serrées au couple prescrit.
Pour réduire les risques d'incendie, débarrassez le moteur de tout excès de graisse, produits chimiques, débris d'herbe, feuilles et saletés.
Si le moteur doit tourner pour effectuer un réglage, n’approchez pas les mains, les pieds et autres parties du corps ni les vêtements, du moteur et des pièces mobiles. Tenez tout le monde à l'écart.
Ne modifiez pas la vitesse de déplacement de la machine. Pour garantir la sécurité et la précision du fonctionnement, demandez à un distributeur Toro agréé de contrôler la vitesse de déplacement.
Si la machine nécessite une réparation importante ou si vous avez besoin d'une assistance technique, contactez un concessionnaire Toro agréé.
Toute modification de la machine susceptible d'en altérer le fonctionnement, les performances, la durabilité ou l'utilisation risque d'entraîner des blessures parfois mortelles. La garantie risque alors d'être annulée.
Soutenez la machine avec des chandelles chaque fois que vous devez travailler dessous.
Libérez la pression emmagasinée dans les composants avec précaution.
| Périodicité d'entretien | Procédure d'entretien |
|---|---|
| À chaque utilisation ou une fois par jour |
|
| Après chaque utilisation |
|
| Toutes les 50 heures |
|
| Toutes les 100 heures |
|
| Toutes les 200 heures |
|
| Toutes les 400 heures |
|
| Une fois par an |
|
Important: Reportez-vous au Manuel de l’utilisateur de la machine et au manuel du propriétaire du moteur pour toutes procédures d'entretien supplémentaires.
Copiez cette page pour pouvoir vous en servir régulièrement.
| Entretiens à effectuer | Pour la semaine du : | ||||||
|---|---|---|---|---|---|---|---|
| Lun. | Mar. | Mer. | Jeu. | Ven. | Sam. | Dim. | |
| Contrôlez le fonctionnement du frein et du frein de stationnement. | |||||||
| Contrôlez le fonctionnement du changement de vitesse/du point mort. | |||||||
| Contrôlez le niveau de carburant. | |||||||
| Vérifiez le niveau d'huile moteur avant de remplir la cuve. | |||||||
| Vérifiez le niveau d'huile de la boîte-pont avant de remplir la cuve. | |||||||
| Vérifiez le filtre à air avant de remplir la cuve. | |||||||
| Vérifiez les ailettes de refroidissement du moteur avant de remplir la cuve. | |||||||
| Vérifiez tous bruits anormaux en provenance du moteur. | |||||||
| Vérifiez les bruits de fonctionnement anormaux. | |||||||
| Contrôlez la pression des pneus. | |||||||
| Recherchez des fuites éventuelles. | |||||||
| Vérifiez le fonctionnement des instruments. | |||||||
| Vérifiez le fonctionnement de l'accélérateur. | |||||||
| Nettoyez la crépine d'aspiration. | |||||||
| Contrôlez le pincement des roues. | |||||||
| Lubrifiez tous les graisseurs.1 | |||||||
| Retouchez les peintures endommagées. | |||||||
1Immédiatement après chaque lavage, quelle que soit la fréquence d'entretien indiquée.
| Contrôle effectué par : | ||
| Point contrôlé | Date | Information |
| 1 | ||
| 2 | ||
| 3 | ||
| 4 | ||
| 5 | ||
| 6 | ||
| 7 | ||
| 8 | ||
| 9 | ||
| 10 | ||
Si vous laissez la clé dans le commutateur d'allumage, quelqu'un pourrait mettre le moteur en marche accidentellement et vous blesser gravement, ainsi que toute personne à proximité.
Avant tout entretien, enlevez la clé du commutateur d'allumage et débranchez le câble négatif de la batterie. Écartez le câble de la batterie pour éviter tout contact accidentel avec la borne de la batterie.
La cuve du pulvérisateur présente un risque dû à l'énergie emmagasinée. Si elle n'est pas correctement retenue pendant sa mise en place ou son retrait, elle peut bouger ou tomber et vous blesser, ainsi que des personnes à proximité.
Utilisez des sangles pour soutenir la cuve du pulvérisateur pendant sa mise en place, son retrait ou toute opération d'entretien exigeant le retrait des fixations.
Vous pouvez lever la cuve pour accéder au moteur et autres composants internes. Faites pivoter l'extension de la rampe en avant pour répartir le poids plus uniformément.
Vidangez la cuve du pulvérisateur.
Garez le véhicule sur une surface plane et horizontale.
Utilisez les commandes des rampes pour lever les extensions des rampes à environ 45°.
Serrez le frein de stationnement, coupez le moteur et enlevez la clé de contact.
Débranchez la batterie.
Retirez les boulons de sécurité à l'avant du patin (Figure 82).

Débranchez le faisceau de la console centrale du faisceau principal et déplacez légèrement le faisceau principal pour le détendre.
Repliez les extensions des rampes en avant, le long de la cuve, pour répartir le poids plus uniformément et l'empêcher de basculer en arrière.
Élevez la cuve jusqu'à ce que les vérins soient complètement déployés.
Sortez la béquille de sécurité des supports de rangement au dos du panneau du système ROPS (Figure 83).

Poussez la béquille de sécurité sur la tige du vérin et appuyez bien les pattes d'extrémités contre l'extrémité du corps du vérin et l'extrémité de la tige du vérin (Figure 84).

Lorsque vous êtes prêt à abaisser la cuve, retirez la béquille de sécurité du vérin et rangez-la dans les supports au dos de la structure ROPS.
Important: N'essayez pas d'abaisser la cuve si la béquille de sécurité se trouve encore sur le vérin.
Rétractez les vérins de levage pour abaisser doucement la cuve sur le bâti.
Mettez en place les 2 boulons de retenue et les fixations de la cuve.
Dépliez les extensions de rampes en arrière.
Utilisez les interrupteurs de commande des rampes pour élever les extensions des rampes à la position de TRANSPORT.
Retendez le faisceau principal en le réacheminant correctement et branchez-le au faisceau de la console centrale.
| Périodicité d'entretien | Procédure d'entretien |
|---|---|
| Toutes les 50 heures |
|
Type de graisse : Mobil XHP 461
Localisez les graisseurs sur la pompe de pulvérisation.
Note: La pompe est située l'arrière de la machine.

Essuyez les 2 graisseurs à distance pour les nettoyer.
Injectez de la graisse dans chaque graisseur à distance.
Essuyez tout excès de graisse.
| Périodicité d'entretien | Procédure d'entretien |
|---|---|
| Toutes les 100 heures |
|
Important: Si vous lavez les charnières des rampes à l'eau, vous devez ensuite éliminer entièrement l'eau et les impuretés présentes sur les charnières et appliquer de la graisse fraîche.
Type de graisse : graisse au lithium nº 2
Essuyez les graisseurs pour éviter que des impuretés ne pénètrent dans le roulement ou la bague.
Injectez la graisse dans le roulement ou la bague au niveau de chaque graisseur (Figure 86).

Essuyez tout excès de graisse.
Répétez cette procédure pour chaque pivot de rampe.
Débranchez la batterie avant de réparer la machine. Débranchez toujours la borne négative avant la borne positive. Rebranchez toujours la borne positive avant la borne négative.
Chargez la batterie dans un endroit dégagé et bien aéré, à l'écart des flammes ou sources d'étincelles. Débranchez le chargeur du secteur avant de brancher ou de débrancher la batterie.
Portez des vêtements de protection et utilisez des outils isolés.
Le porte-fusibles du système de pulvérisation est situé à l’extrémité du porte-fusibles du véhicule. Remplacez tout fusible ouvert par un fusible de même type et de même intensité.

| Périodicité d'entretien | Procédure d'entretien |
|---|---|
| Toutes les 200 heures |
|
| Toutes les 400 heures |
|
Vérifiez que les flexibles du système de pulvérisation ne présentent pas de fissures, fuites ou autres dégâts. En même temps, vérifiez l'état des différents raccords. Remplacez les flexibles et les raccords endommagés.
| Périodicité d'entretien | Procédure d'entretien |
|---|---|
| Toutes les 400 heures |
|
Note: Déterminez le maillage du filtre d'aspiration convenant le mieux pour la tâche à accomplir ; voir Sélection d'un filtre d'aspiration.
Garez la machine sur une surface plane et horizontale, serrez le frein de stationnement, arrêtez la pompe, coupez le moteur et enlevez la clé de contact.
Au sommet de la cuve du pulvérisateur, retirez l'étrier qui fixe le raccord de flexible sur le grand flexible et le logement du filtre (Figure 88).

Retirez le flexible et le raccord du logement du filtre (Figure 88).
Sortez le filtre d'aspiration existant de son logement dans le réservoir (Figure 89).
Note: Mettez le filtre existant au rebut.

Montez le filtre d'aspiration neuf dans le logement du filtre.
Note: Vérifiez que le filtre est complètement engagé.
Alignez le flexible et le raccord sur le logement du filtre au sommet de la cuve, et fixez le raccord et le logement avec l'étrier retiré à l'opération 2.
| Périodicité d'entretien | Procédure d'entretien |
|---|---|
| Toutes les 400 heures |
|
Note: Déterminez le maillage du filtre de pression convenant le mieux pour la tâche à accomplir ; voir Sélection d'un filtre de pression.
Garez la machine sur une surface plane et horizontale, serrez le frein de stationnement, arrêtez la pompe de pulvérisation, coupez le moteur et enlevez la clé de contact.
Placez un bac de vidange sous le filtre de pression (Figure 90).

Tournez le bouchon de vidange dans le sens antihoraire et retirez-le de la cuvette du filtre de pression (Figure 90).
Note: Vidangez complètement la cuvette.
Tournez la cuvette dans le sens antihoraire et déposez la tête du filtre (Figure 90).
Retirez l'ancien élément du filtre de pression (Figure 90).
Note: Mettez le filtre existant au rebut.
Contrôlez l'état et l'usure du joint du bouchon de vidange (à l'intérieur de la cuvette) et du joint de la cuvette (à l'intérieur de la tête du filtre) (Figure 90).
Note: Remplacez les joints usés ou endommagés du bouchon, de la cuvette ou les deux .
Placez le nouvel élément filtrant dans la tête du filtre de pression (Figure 90).
Note: Vérifiez que l'élément filtrant est bien engagé dans la tête du filtre.
Vissez la cuvette sur la tête du filtre et serrez-la à la main (Figure 90).
Vissez le bouchon de vidange sur le raccord au fond de la cuvette et serrez-le à la main (Figure 90).
Note: Déterminez le maillage du filtre de buse qui convient pour la tâche à accomplir ; voir Sélection d'un filtre de buse (option).
Garez la machine sur une surface plane et horizontale, serrez le frein de stationnement, arrêtez la pompe de pulvérisation, coupez le moteur et enlevez la clé de contact.
Déposez la buse de la tourelle de pulvérisation (Figure 91).

Retirez le filtre de buse usagé (Figure 91).
Note: Mettez le filtre existant au rebut.
Montez le filtre de buse neuf (Figure 91).
Note: Vérifiez que le filtre est complètement engagé.
Montez la buse sur la tourelle de pulvérisation (Figure 91).
| Périodicité d'entretien | Procédure d'entretien |
|---|---|
| Toutes les 400 heures |
|
Note: Les pièces suivantes de la machine sont considérées comme non durables, sauf si elle sont défectueuses, et ne sont pas couvertes par la garantie associée à cette machine.
Demandez à un concessionnaire Toro agréé de vérifier l'état des composants de la pompe suivants :
Membrane
Clapets antiretour de pompe
Remplacez les composants le cas échéant.
| Périodicité d'entretien | Procédure d'entretien |
|---|---|
| Toutes les 400 heures |
|
Garez la machine sur une surface plane et horizontale, serrez le frein de stationnement, arrêtez la pompe, coupez le moteur et enlevez la clé de contact.
Déployez les sections de rampes extérieures en position de pulvérisation et soutenez les sections avec des chandelles ou avec des sangles et un dispositif de levage.
Retirez le boulon et l'écrou qui fixent l'axe de pivot, et déposez celui-ci (Figure 92).

Déposez l'ensemble rampe et support de pivot du profilé d'extrémité du bâti central pour accéder aux bagues en nylon.
Déposez et examinez les bagues en nylon à l'avant et à l'arrière du support de pivot (Figure 92).
Note: Remplacez les bagues usées ou endommagées.
Lubrifiez les bagues en nylon avec un peu d'huile et posez-les dans le support de pivot (Figure 92).
Alignez les trous du support de pivot et les trous du profilé d'extrémité (Figure 92).
Insérez l'axe de pivot et fixez-le avec le boulon à embase et le contre-écrou à embase retirés à l'opération 3.
Répétez les opérations 2 à 8 pour l'autre section de rampe extérieure.
Vous pouvez utiliser la procédure suivante pour régler les vérins de la rampe centrale afin de maintenir les rampes gauche et droite de niveau.
Déployez les rampes en position de pulvérisation.
Retirez la goupille fendue de l'axe de pivotement (Figure 93).

Élevez la rampe et retirez l'axe (Figure 93), puis abaissez lentement la rampe au sol.
Vérifiez l'état de l'axe et remplacez-le au besoin.
Placez une clé sur les méplats de la tige de vérin pour l'immobiliser, puis desserrez l'écrou de blocage pour pouvoir ajuster la tige à œillet (Figure 94).

Tournez la tige à œillet dans la tige du vérin pour raccourcir ou allonger le vérin déployé à la position voulue (Figure 94).
Note: Vous devez tourner la tige à œillet un demi ou un tour complet à la fois pour pouvoir l'assembler avec la rampe.
Lorsque la position correcte est obtenue, serrez l'écrou de blocage pour fixer le vérin et la tige à œillet.
Élevez la rampe pour aligner le pivot sur la tige de vérin.
Tout en maintenant la rampe, insérez l'axe dans le pivot de rampe et la tige de vérin (Figure 93).
Une fois l'axe en position, relâchez la rampe et fixez l'axe au moyen de la goupille fendue retirée précédemment.
Répétez la procédure pour chaque roulement de tige de vérin au besoin.
Important: Ne nettoyez pas la machine avec de l'eau saumâtre ou recyclée.
| Périodicité d'entretien | Procédure d'entretien |
|---|---|
| Toutes les 200 heures |
|
Rincez et vidangez soigneusement tout le système de pulvérisation.
Déposez le débitmètre du pulvérisateur et rincez-le à l'eau propre.
Retirez le circlip en amont (Figure 95).

Nettoyez la turbine et le moyeu de turbine pour éliminer toute trace de limaille de fer et de poudres mouillables.
Vérifiez l'usure des pales de la turbine.
Note: Tenez la turbine dans la main et faites-la tourner. Elle doit tourner librement, avec peu de frottement. Remplacez-la si ce n'est pas le cas.
Montez le débitmètre.
Utilisez un jet d'air basse pression (5 bar) pour que la turbine tourne librement.
Note: Si elle ne tourne pas librement, desserrez le goujon hexagonal au bas du moyeu de turbine de 1/16ème de tour jusqu'à ce que la turbine tourne librement.
Avant de quitter la position d'utilisation :
Garez la machine sur une surface plane et horizontale.
Arrêtez la pompe de pulvérisation.
Serrez le frein de stationnement.
Coupez le moteur de la machine et enlevez la clé (selon l'équipement).
Attendez l'arrêt complet de tout mouvement.
Laissez refroidir la machine avant de la régler, d'en faire l'entretien, de la nettoyer ou de la remiser.
Ne rangez pas la machine ni les bidons de carburant à proximité d'une flamme nue, d'une source d'étincelles ou d'une veilleuse, telle celle d'un chauffe-eau ou autre appareil.
Effectuez les procédures suivantes :
Important: Ne nettoyez pas la machine avec de l'eau saumâtre ou recyclée.
Avant de quitter la machine, garez-la sur une surface plane et horizontale, serrez le frein de stationnement, coupez la pompe de pulvérisation et le moteur, enlevez la clé et attendez l'arrêt de tout mouvement.
Note: Pour les modèles Workman séries HD et HDX à transmission manuelle, désengagez la PDF.
Éliminez les saletés et la crasse sur toute la machine, y compris à l'extérieur des ailettes de la culasse et du carter du ventilateur.
Important: Vous pouvez laver la machine avec de l'eau et un détergent doux. Ne lavez pas la machine au jet d'eau haute pression. Le lavage à haute pression peut endommager le système électrique ou enlever la graisse nécessaire aux points de frottement. N'utilisez pas trop d'eau, surtout près du panneau de commande, des feux, du moteur et de la batterie.
Avant de quitter la position d'utilisation, amenez la machine jusqu'à la zone de vidange, serrez le frein de stationnement, coupez la pompe de pulvérisation et le moteur, enlevez la clé et attendez l'arrêt de tout mouvement.
Vidangez le réservoir d'eau douce et laissez le robinet ouvert.
Vidangez la cuve du pulvérisateur aussi complètement que possible.
Préparez une solution antigel RV sans alcool et antirouille ; voir Préparation du conditionneur.
Retirez l’un des tubes de détection de pression du raccord à emboîtement, comme montré à la Figure 96.

Démarrez le moteur et abaissez les sections de rampes extérieures.
Faites fonctionner la pompe de pulvérisation pendant quelques minutes pour faire circuler l'antigel RV dans tout le système de pulvérisation et dans les accessoires de pulvérisation qui sont montés.
Tournez les interrupteurs des sections gauche, centrale et droite en position ACTIVéE.
Tournez la commande générale des sections en position MARCHE et procédez comme suit :
Vérifiez que l'antigel RV s'écoule par l'extrémité débranchée du tube du manomètre.
Pulvérisez par la buse jusqu'à ce que l'antigel RV soit visible.
Placez la commande générale des sections à la position DéSACTIVéE.
Tournez la commande de pompe en position ARRêT.
Utilisez les interrupteurs de levage des sections pour lever les sections extérieures.
Levez les sections jusqu'à ce qu'elles soient complètement rentrées dans le berceau de transport et repliées en croix, et que les vérins de levage soient complètement rétractés.
Note: Les vérins de levage doivent être complètement rétractés pour éviter d'endommager la tige.
Coupez le moteur.
Vidangez la cuve du pulvérisateur aussi complètement que possible.
Graissez le pulvérisateur ; voir Lubrification.
Contrôlez et resserrez tous les boulons, écrous et vis.
Note: Réparez ou remplacez toute pièce usée ou endommagée.
Contrôlez l'état de tous les flexibles de pulvérisation.
Note: Remplacez tout flexible usé ou endommagé.
Serrez tous les colliers de flexibles.
Peignez toutes les surfaces métalliques éraflées ou mises à nu avec de la peinture en vente chez les concessionnaire Toro.
Au besoin, préparez le véhicule en vue de son remisage à long terme ; voir le Manuel de l'utilisateur de votre véhicule.
Rangez la machine dans un endroit propre et sec, comme un garage ou une remise.
Couvrez la machine pour la protéger et la garder propre.
Insérez le tube de détection de pression dans le raccord à emboîtement jusqu'à ce qu'il soit complètement enclenché (Figure 97).

Fermez le robinet du réservoir d'eau douce.
Ajoutez du carburant dans le réservoir de carburant.
Effectuez l’entretien du véhicule ; voir le Manuel de l'utilisateur de votre véhicule.
Capacité de levage minimum : 408 kg
La cuve du pulvérisateur présente un risque dû à l'énergie emmagasinée. Si elle n'est pas correctement retenue pendant sa mise en place ou son retrait, elle peut se déplacer ou tomber et vous blesser, ainsi que toute personne à proximité.
Utilisez des sangles pour soutenir la cuve du pulvérisateur pendant sa mise en place, son retrait ou toute opération d'entretien exigeant le retrait des fixations.
Débranchez les câbles de la batterie ; voir Débranchement de la batterie.
Séparez le porte-fusibles du pulvérisateur du porte-fusibles de la machine, et débranchez les câbles qui relient les 2 porte-fusibles ; voir Pose du porte-fusibles du pulvérisateur.
Détachez le faisceau des clips en J ; voir Acheminement du faisceau électrique arrière du pulvérisateur vers la console de commande.
Desserrez la molette située sous la console et retirez la goupille fendue ; voir Montage de la console de commande sur la machine.
Débranchez les bornes au bout des fils qui relient le porte-fusibles du pulvérisateur au porte-fusibles de la machine ; voir Pose du porte-fusibles du pulvérisateur.
Séparez le porte-fusibles du pulvérisateur du porte-fusibles de la machine ; voir Pose du porte-fusibles du pulvérisateur.
Déposez la console de son support sur la planche de bord de la machine et alignez l'axe de pivotement de la console et le support de rangement au niveau de la sangle avant de la cuve (Figure 98) ; voir Montage de la console de commande sur la machine.

Fixez la console au support et fixez l'axe de pivot au support avec la goupille fendue (Figure 98).
Capacité de levage minimum : 408 kg
Alignez le pied de support avant sur son logement à l'avant de la cuve (Figure 99).

Insérez le pied de support dans le logement jusqu'à ce que le trou central du tube horizontal du pied soit en face du trou au sommet du logement (Figure 99).
Insérez l'axe de chape (½" x 3") dans les trous du pied de support et du logement, et fixez l'axe avec une goupille fendue (5/32" x 2⅝").
Vissez à la main une molette de blocage dans le logement (Figure 99).
Alignez le pied de support arrière sur le logement arrière (Figure 100).

Alignez le trou au sommet du pied de support et le trou dans le cadre du patin de cuve (Figure 100).
Fixez le pied de support à son logement et au cadre au moyen de 2 axes de chape (½" x 4½") et 2 goupilles fendues (5/32" x 2⅝"), comme montré à la Figure 100.
Répétez les opérations 1 à 7 pour les pieds de support avant et arrière de l'autre côté du patin de cuve.
Utilisez le cric et l'extension de pied de support avant pour rallonger les pieds de support.

Abaissez les rampes à 45° environ et faites les pivoter en avant (Figure 102).

Retirez les 2 boulons (½" x 1½") et les 2 contre-écrous (½") qui fixent la patte de maintien du patin au support du plateau sur le cadre, de chaque côté de la machine ; voir Abaissement du patin de la cuve.
Élevez le patin de la cuve à l'aide des vérins de levage, montez le dispositif de verrouillage des vérins et procédez comme suit :
Note: Voir Levage de la cuve.
Pour les modèles Workman séries HD et HDX à transmission manuelle, détachez l'arbre de PDF de la PDF de la boîte-pont ; voir les Instructions d'installation du kit de finition pour pulvérisateur Multi Pro WM, véhicule utilitaire manuel Workman.
Débranchez le câble du capteur de vitesse ; voir Connexion du faisceau du capteur de vitesse (modèles série HD à transmission manuelle).
Déverrouillez les vérins et abaissez le patin de la cuve avec les vérins ; voir Abaissement de la cuve.
Fixez le matériel de levage aux tubes horizontaux des pieds de support avant et le montant vertical aux pieds de support arrière (Figure 102).
Élevez la cuve de 7,5 à 10 cm et retirez les goupilles à anneau et les axes de chape qui fixent les vérins de levage à la cuve.
Levez le patin de la cuve à une hauteur suffisante pour éviter le patin de la machine (Figure 102).
Conduisez le véhicule en marche avant avec précaution pour l'éloigner du patin.
Abaissez lentement le patin au sol.
| Problem | Possible Cause | Corrective Action |
|---|---|---|
| Une section ne pulvérise pas. |
|
|
| Une section reste en marche. |
|
|
| Une vanne de section fuit. |
|
|
| Une ou des buses de pulvérisation gouttent quand les interrupteurs de section sont en position arrêt. |
|
|
| Une baisse de pression se produit quand vous activez une rampe. |
|
|
