| Interval servisa održavanja | Postupak održavanja |
|---|---|
| Prije svake uporabe ili svakodnevno |
|
Ako je ispravno postavljen, ovaj dodatak pretvara vozilo u namjenski uređaj za prskanje travnjaka, a namijenjen je profesionalnim korisnicima za komercijalnu upotrebu. Prvenstveno je namijenjen za prskanje na dobro održavanim travnjacima u parkovima i na golf-terenima, sportskim terenima i komercijalnim terenima.
Pažljivo pročitajte ove informacije kako biste naučili ispravno upravljati uređajem i održavati ga te kako biste izbjegli tjelesne ozljede i oštećenja uređaja. Odgovorni ste za ispravno i sigurno upravljanje uređajem.
Na internetskoj stranici www.Toro.com možete dobiti više informacija, uključujući sigurnosne savjete, materijale za obuku rukovatelja, informacije o dodatnoj opremi, pomoć pri nalaženju distributera ili možete registrirati uređaj.
Ako vam je potreban servis, originalni dijelovi proizvođača Toro ili dodatne informacije, obratite se ovlaštenom serviseru ili službi za korisnike tvrtke Toro i pripremite broj modela i serijski broj svog uređaja. Slika 1 prikazuje lokaciju broja modela i serijskog broja na uređaju. Upišite brojeve na za to predviđeno mjesto.
Important: Važno: S pomoću mobilnog uređaja možete skenirati QR kôd na naljepnici sa serijskim brojem (ako postoji) kako biste pristupili podacima o jamstvu i dijelovima te ostalim informacijama o proizvodu.

U ovom su priručniku navedene moguće opasnosti i sigurnosne poruke označene simbolom sigurnosnog upozorenja (Slika 2), koji upućuje na opasnost od teških ozljeda ili smrti u slučaju nepridržavanja preporučenih mjera opreza.

U priručniku se informacije ističu dvjema riječima. Riječ Važno upućuje na posebne mehaničke informacije, a riječ Napomena na opće informacije na koje treba obratiti posebnu pažnju.
Ovaj je proizvod u skladu sa svim relevantnim direktivama EU-a. Za više detalja pogledajte zasebnu izjavu o sukladnosti (DOC) za ovaj proizvod.
Prema točki 4442. ili točki 4443. Zakona o očuvanju javnih resursa savezne države Kalifornije zabranjeno je upotrebljavati uređaj na šumskim, grmovitim ili travnatim površinama ako njegov motor nije opremljen hvatačem iskri na način opisan u točki 4442., ako nije održavan u ispravnom stanju ili ako motor nije izrađen, opremljen i održavan na način da sprječava požare.
KALIFORNIJA
Upozorenje prema kalifornijskom zakonu Proposition 65
Uporabom ovog proizvoda možete biti izloženi kemikalijama za koje je Savezna država Kalifornija utvrdila da uzrokuju rak, urođene mane ili druge posljedice štetne za reproduktivno zdravlje.
Ako rukovatelj ili vlasnik neispravno upotrebljavaju ili održavaju uređaj, može doći do ozljeda. Kako biste smanjili mogućnost ozljeda, pridržavajte se ovih sigurnosnih uputa i uvijek obraćajte pažnju na simbol sigurnosnog upozorenja (Slika 2), koji označava Oprez, Upozorenje ili Opasnost – upute za osobnu sigurnost. Nepridržavanje uputa može dovesti do tjelesnih ozljeda ili smrti.
Proizvod može uzrokovati tjelesne ozljede. Uvijek se pridržavajte svih sigurnosnih uputa kako biste izbjegli teške tjelesne ozljede.
S razumijevanjem pročitajte ove Upute za upotrebu prije pokretanja motora.
Pozorno upravljajte uređajem. Ne bavite se aktivnostima koje vas ometaju; u suprotnom može doći do ozljeda ili oštećenja imovine.
Nosite odgovarajuću osobnu zaštitnu opremu kako biste se zaštitili od kontakta s kemikalijama. Kemijske tvari koje se nalaze u sustavu prskalice mogu biti opasne i toksične.
Ne približavajte ruke ili noge pomičnim dijelovima uređaja.
Ne upravljajte uređajem ako na njemu nisu postavljeni svi štitovi i drugi funkcionalni zaštitni uređaji.
Ne približavajte se otvorima za pražnjenje mlaznica prskalice i raspršenim česticama. Osigurajte da prolaznici i djeca budu izvan područja rada uređaja.
Nikad ne dopuštajte djeci da upravljaju uređajem.
Prije nego što napustite položaj rukovatelja, parkirajte uređaj na ravnoj površini, aktivirajte ručnu kočnicu, ugasite motor, izvadite ključ (ako postoji) i pričekajte da se svi pomični dijelovi zaustave. Pustite da se uređaj ohladi prije podešavanja, održavanja, čišćenja ili skladištenja.
Neispravna upotreba ili nepropisno održavanje uređaja
mogu dovesti do ozljeda. Kako biste smanjili mogućnost ozljeda,
pridržavajte se ovih sigurnosnih uputa i uvijek obraćajte
pažnju na simbol sigurnosnog upozorenja
, koji označava Oprez,
Upozorenje ili Opasnost – upute za osobnu sigurnost. Nepridržavanje
uputa može dovesti do tjelesnih ozljeda ili smrti.
U ovim uputama nisu navedeni svi dodaci ovog uređaja. Pročitajte upute za upotrebu svakog pojedinačnog dodatka za dodatne informacije o sigurnosti.
![]() |
Sigurnosne naljepnice i upute lako su vidljive korisniku i nalaze se blizu svih područja potencijalne opasnosti. Zamijenite sve naljepnice koje su oštećene ili otpale. |

















Important: Model 41240 sa serijskim brojem 416500000 nadalje može se postaviti samo na uređaje Workman HDX s ručnim prijenosom.
Note: Odredite lijevu i desnu stranu uređaja s uobičajenog vozačevog položaja.
Note: Ako imate pitanja ili su vam potrebne dodatne informacije o sustavu za kontrolu prskanja, pročitajte Upute za upotrebu koje ste dobili s uređajem.
Important: Ova se prskalica prodaje bez mlaznica za prskanje.Da biste upotrebljavali prskalicu, morate nabaviti i postaviti mlaznice. Kontaktirajte ovlaštenog distributera tvrtke Toro za informacije o dostupnom kompletu i opremi. Nakon što postavite mlaznice i prije prvog korištenja prskalice podesite optočne ventile krakova tako da tlak i intenzitet prskanja budu jednaki za sve krakove kad isključite 1 ili više krakova. Pogledajte Kalibracija protoka prskalice.
Important: Za prskalicu za travnjak Multi Pro WM potrebno je postaviti ROPS sa 4 stupa ili kabinu za modele vozila Workman.
Cijelo postolje teži približno 95 kg. Ako sami pokušate ukloniti postolje, moglo bi doći do ozljeda.
Nemojte sami postavljati ili uklanjati postolje.
Neka vam pomognu 2 ili 3 osobe ili se poslužite mosnom dizalicom.
Parkirajte uređaj na ravnoj površini, aktivirajte ručnu kočnicu i pokrenite motor.
Pomaknite polugu za hidraulično podizanje prema naprijed i spuštajte postolje dok svornjaci s poprečnim provrtom za cilindre za podizanje kraja šipke cilindra ne postanu labavi u otvorima za montažu montažnih ploča postolja.
Otpustite polugu za hidraulično podizanje, postavite polugu za zaključavanje hidrauličnog podizanja, ugasite motor i izvadite ključ; pogledajte Upute za upotrebu uređaja.
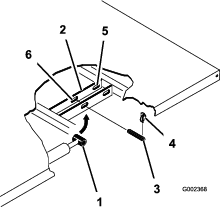
Skinite preklopne osigurače s vanjskih krajeva svornjaka s poprečnim provrtom šipke cilindra (Slika 3).

Skinite svornjake s poprečnim provrtom koji pričvršćuju krajeve šipke cilindra na montažne ploče postolja tako da gurnete svornjake prema sredini uređaja (Slika 3).
Skinite preklopne osigurače i svornjake s poprečnim provrtom koji pričvršćuju okretne nosače postolja za žljebove okvira uređaja (Slika 4).

Podignite postolje s vozila.
Spremite cilindre za podizanje u držače za pohranu.
Dijelovi potrebni za ovaj postupak:
| Komplet stražnjeg PTO uređaja, vozilo Workman za teške radne uvjete (modeli serije HD s ručnim prijenosom) | 1 |
| Komplet prskalice za finiširanje travnjaka Multi Pro WM (modeli serije HD s ručnim prijenosom) | 1 |
Za modele vozila Workman serije HD i HDX s ručnim prijenosom postavite cijeli komplet stražnjeg PTO uređaja za vozila Workman za teške radne uvjete; pogledajte Upute za postavljanje kompleta stražnjeg PTO uređaja za vozila Workman za teške radne uvjete.
S pomoću opreme za podizanje kapaciteta 408 kg podignite platformu spremnika iz sanduka za transport koristeći 2 prednje i 2 stražnje točke podizanja (Slika 5).
Note: Platforma spremnika mora biti dovoljno podignuta kako biste mogli postaviti podmetače za pridržavanje.

Za modele vozila Workman serije HD i HDX s ručnim prijenosom pratite korake u uputama za komplet prskalice za finiširanje travnjaka Multi Pro WM za radna vozila Workman s ručnim prijenosom.
Dijelovi potrebni za ovaj postupak:
| Nosači držača | 2 |
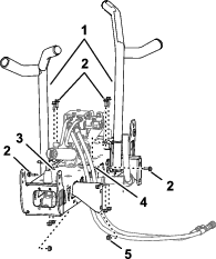
Uklonite 2 stražnja prirubna vijka i 2 prirubne matice kojima se potporni nosač cijevi motora pričvršćuje za okvir uređaja (Slika 6).
Note: Sačuvajte pričvrsne elemente za kasniju upotrebu.

Okrenite cilindar za podizanje kako biste napravili mjesta za postavljanje nosača držača za platformu spremnika (Slika 6).
Spojite nosače držača s potpornim držačem i okvirom s pomoću 2 prirubna vijka i prirubne matice koje se skinuli u koraku 1 (Slika 7).

Pritegnite vijke i matice na 91 do 113 N∙m.
Ponovite korake od 1 do 4 na suprotnoj strani uređaja.
Dijelovi potrebni za ovaj postupak:
| Sklop spremnika i platforme | 1 |
| Svornjaci s poprečnim provrtom | 2 |
| Stožasti svornjak s poprečnim provrtom | 2 |
| Rascjepke | 2 |
| Preklopni osigurači | 4 |
| Vijak (½ × 1½ inča) | 2 |
| Matice (½ inča) | 2 |
Sklop spremnika prskalice stvara opasnost od pohranjene energije. Neispravno držanje prilikom postavljanja ili uklanjanja sklopa moglo bi dovesti do njegova pomicanja ili padanja te bi mogao ozlijediti vas ili prolaznike.
Upotrebljavajte trake i mosnu dizalicu za pridržavanje sklopa spremnika prskalice za vrijeme postavljanja, uklanjanja ili održavanja prilikom kojeg morate skinuti pričvrsne elemente.
Podignite sklop platforme spremnika s pomoću dizalice (Slika 8) i postavite ga iznad okvira vozila tako da su sklopovi pumpe i ventila okrenuti prema natrag.
Note: Neka vam netko pomogne u provedbi sljedećih koraka.

Polako spustite platformu spremnika na okvir uređaja.
Izvucite cilindre za podizanje do nosača na platformi spremnika i poravnajte spojnice cilindara s otvorima na nosačima platforme spremnika (Slika 9).

Pričvrstite platformu spremnika za cilindre za podizanje s pomoću rascjepki i svornjaka s poprečnim provrtom s obje strane uređaja.
Poravnajte otvore u okretnim nosačima na stražnjoj strani sklopa platforme spremnika s otvorima na okretnoj cijevi postolja na kraju okvira vozila (Slika 10).

Postavite stožasti svornjak s poprečnim provrtom i 2 preklopna osigurača na okretni nosač kako biste pričvrstili sklop spremnika za okvir (Slika 10).
Izvucite cilindre za podizanje kako biste podigli spremnik i poduprli njegovu težinu.
Note: Odspojite sklop spremnika od opreme za podizanje.
Uklonite podupirač postolja s nosača na stražnjoj strani ploče ROPS-a (Slika 11).

Gurnite podupirač postolja na šipku cilindra, tako da jezičci krajeva nosača budu oslonjeni na kraj cijevi cilindra i kraj šipke cilindra (Slika 12).

Skinite vezicu za kabele kojom su ventil za pražnjenje i crijevo za spremnik prskalice pričvršćeni za žlijeb platforme (Slika 13).

Skinite ventil za pražnjenje i crijevo na vanjsku stranu žlijeba platforme (Slika 14A).

Skinite 2 prirubna vijka (5/16 × ⅝ inča) s kućišta ventila za pražnjenje (Slika 14).
Pričvrstite ventil za pražnjenje na nosač ventila (Slika 14B) s pomoću 2 prirubna vijka (5/16 × ⅝ inča) koje ste uklonili u koraku 3.
Pritegnite rukom 2 prirubna vijka (Slika 14B).
Neispravno usmjeravanje kabela može uzrokovati oštećenja prskalice i kabela uslijed iskrenja. Iskre mogu uzrokovati eksploziju plinova akumulatora i tako dovesti do tjelesnih ozljeda.
Uvijek odspojite negativni (crni) kabel akumulatora prije odspajanja pozitivnog (crvenog) kabela.
Uvijek spojite pozitivni (crveni) kabel akumulatora prije spajanja negativnog (crnog) kabela.
Priključci akumulatora ili metalni alati mogu uzrokovati kratki spoj s metalnim komponentama prskalice i tako izazvati iskrenje. Iskre mogu uzrokovati eksploziju plinova akumulatora i tako dovesti do tjelesnih ozljeda.
Pri uklanjanju ili postavljanju akumulatora ne dopustite da priključci akumulatora dođu u dodir s bilo kojim metalnim dijelom prskalice.
Ne dopustite da dođe do kratkog spoja s metalnim alatima između priključaka akumulatora i metalnih dijelova prskalice.
Pritisnite strane poklopca akumulatora kako biste otpustili jezičce iz utora na kućištu akumulatora i skinite poklopac akumulatora s postolja akumulatora (Slika 15).

Pomaknite poklopac unatrag i skinite negativni priključak akumulatora s akumulatora (Slika 15).
Skinite pozitivni priključak akumulatora s akumulatora (Slika 15).
Na kabelskom svežnju prskalice pronađite 3-pinski ženski konektor za strujni krug senzora brzine i 3-pinski muški konektor za strujni krug vozila.
Na sklopu mjenjača i diferencijala uređaja (engl. transaxle) spojite 3-pinski muški konektor kabelskog svežnja uređaja za senzor brzine s 3-pinskim ženskim konektorom kabelskog svežnja prskalice za senzor brzine (Slika 16).

Spojite 3-pinski muški konektor kabelskog svežnja prskalice za strujni krug vozila s 3-pinskim ženskim konektorom kabelskog svežnja uređaja za strujni krug uređaja.
Pogledajte Upute za postavljanje kompleta prskalice za finiširanje travnjaka Multi Pro WM, radno vozilo Workman s ručnim prijenosom.
Dijelovi potrebni za ovaj postupak:
| Montažni nosač konzole | 1 |
| Prirubna matica (5/16 inča) | 3 |
| Prirubni vijak (5/16 inča) | 3 |
| Plastična čahura | 2 |
| Upravljačka konzola | 1 |
| Preklopni osigurač | 1 |
| Okretni gumb | 1 |
Note: Na nekim vozilima Workman montažna ploča upravljačke konzole pričvršćena je na kontrolnu ploču na istom mjestu na kojem je postavljen nosač za opcionalni komplet ručice za gas. Ako je postavljen komplet ručice za gas, morate skinuti nosač sklopa ručice za gas s kontrolne ploče, poravnati montažnu ploču upravljačke konzole s kontrolnom pločom i postaviti ručicu za gas na vrh montažne ploče upravljačke konzole. Pročitajte Upute za postavljanje kompleta ručice za gas za informacije o uklanjanju i postavljanju sklopa ručice za gas.
Skinite 3 vijka i 3 matice kojima je donji središnji dio kontrolne ploče pričvršćen za potporni nosač kontrolne ploče (Slika 17).
Note: Za pojedine starije uređaje Workman možda će biti potrebna 4 vijka i prirubne matice.
Note: Odložite vijke i matice.

Poravnajte otvore na montažnom nosaču za upravljačku konzolu s otvorima na kontrolnoj ploči i potpornom nosaču (Slika 17).
Sastavite montažni nosač kontrolne ploče i potporni nosač s pomoću 3 prirubna vijka (5/16 × 1 inča) i 3 prirubne matice (5/16 inča).
Pritegnite vijke i matice na (Slika 17).
Umetnite 2 plastične čahure u montažni nosač (Slika 17).
Skinite rascjepku kojom je zakretni klin upravljačke konzole pričvršćen za nosač na spremniku prskalice.
Postavite upravljačku konzolu na montažni nosač upravljačke konzole i pričvrstite upravljačku konzolu s pomoću preklopnog osigurača (Slika 18).
Note: Preklopni osigurač mora biti zaokrenut iznad zakretnog klina kako bi preklopni osigurač bio dobro pričvršćen.

Postavite okretni gumb i pričvrstite ga kako biste spriječili okretanje konzole za vrijeme rada (Slika 18).
Dijelovi potrebni za ovaj postupak:
| Obujmice (tip J) | 3 |
| Vijak (¼ × ¾ inča) | 1 |
| Prirubna matica (¼ inča) | 1 |
Postavite 2 obujmice (tip J) u centralnu konzolu s pomoću postojećih vijaka.

Postavite obujmicu (tip J) iza vozačevog sjedala s pomoću vijka (¼ × ½ inča) i prirubne matice (¼ inča).

Pričvrstite kabelski svežanj upravljačke konzole za poklopac konzole i ROPS-a s pomoću obujmica (tip J).
Spojite 3-pinski muški konektor stražnjeg kabelskog svežnja prskalice s 3-pinskim ženskim konektorom prednjeg kabelskog svežnja spojenog na upravljačku konzolu.

Utisnite 24-pinski muški konektor stražnjeg kabelskog svežnja prskalice u 24-pinski ženski konektor prednjeg kabelskog svežnja spojenog na upravljačku konzolu.
Preklopite polugu na 24-pinskom konektoru kako biste čvrsto povezali ta dva konektora.
Dijelovi potrebni za ovaj postupak:
| Naljepnica s osiguračima (127-3966) | 1 |
Na upravljačkoj konzoli prskalice usmjerite dio prednjeg kabelskog svežnja na kojem se nalaze kutije osigurača između dna kontrolne ploče i poprečne cijevi šasije uređaja i dolje prema prednjoj strani kutije osigurača uređaja (Slika 22).

Pronađite neizolirani priključak utičnice na kraju otvorene žute žice napajanja kutije osigurača uređaja i izolirani plosnati priključak na kraju žute, opcionalne žice napajanja kutije osigurača ožičenja prskalice (Slika 23).

Spojite neizolirani priključak utičnice kutije osigurača uređaja s izoliranim plosnatim priključkom kutije osigurača prskalice (Slika 23).
Poravnajte T-spojnice na kutiji osigurača prskalice s utorima u obliku slova T na kutiji osigurača uređaja i pomaknite kutiju osigurača prskalice u utore dok kutija osigurača ne sjedne čvrsto na svoje mjesto (Slika 24).

Stavite naljepnicu s osiguračima blizu kutije osigurača prskalice.
Dijelovi potrebni za ovaj postupak:
| Vijak priključka akumulatora | 2 |
| Stezna matica | 2 |
| Poklopac – široki (priključak akumulatora – crveni) | 1 |
Neispravno usmjeravanje kabela akumulatora može dovesti do oštećenja prskalice i kabela te uzrokovati iskrenje. Iskre mogu uzrokovati eksploziju plinova akumulatora i tako dovesti do tjelesnih ozljeda.
Uvijek spojite pozitivni (crveni) kabel akumulatora prije spajanja negativnog (crnog) kabela.
Uklonite matice i T-vijke na stezaljkama pozitivnog i negativnog kabela akumulatora (Slika 25).
Note: Više vam neće trebati matice i T-vijci.

Skinite poklopac (uski) s pozitivnog kabela akumulatora (Slika 26).
Note: Više vam neće trebati uski poklopac akumulatora.

Postavite široki poklopac akumulatora na pozitivni kabel akumulatora kako je prikazano na Slika 26.
Note: Pomaknite poklopac preko kabela onoliko koliko je potrebno da bi se moglo doći do stezaljke.
Poravnajte prstenasti priključak rastalnog uloška (kabelski svežanj prskalice) kroz široki poklopac akumulatora kako je prikazano na Slika 27.

Labavo pričvrstite vijak priključka i steznu maticu za stezaljke pozitivnog i negativnog kabela akumulatora (Slika 28).

Pričvrstite prstenasti priključak rastalnog uloška (kabelski svežanj prskalice) za tijelo vijka priključka koji ste stavili na pozitivni kabel akumulatora s pomoću stezne matice (Slika 29).

Pričvrstite prstenasti priključak negativne žice (crna – kabelski svežanj prskalice) za tijelo vijka priključka koji ste stavili na negativni kabel akumulatora s pomoću stezne matice (Slika 29).
Stavite pozitivni kabel akumulatora na pozitivnu klemu akumulatora i rukom zategnite steznu maticu (Slika 30).

Stavite negativni kabel akumulatora na negativnu klemu akumulatora i rukom zategnite steznu maticu.
Pritisnite strane poklopca akumulatora, poravnajte jezičce poklopca s utorima na kućištu akumulatora i skinite poklopac akumulatora (Slika 31).

Dijelovi potrebni za ovaj postupak:
| Vijak (½ × 1½ inča) | 2 |
| Sigurnosna matica (½ inča) | 2 |
Pokrenite uređaj i malo podignite platformu spremnika s pomoću cilindara za podizanje.
Skinite podupirač postolja s cilindra za podizanje i spremite ga u nosače na stražnjoj strani ploče ROPS-a (Slika 32 i Slika 33).


S pomoću cilindara za podizanje polako spustite spremnik na okvir.
Note: Neka jedna osoba promatra platformu spremnika dok je spuštate. Provjerite ima li crijeva i žica koji bi se mogli prikliještiti ili savinuti.
Provjerite poravnanje platforme spremnika s okvirom uređaja.
Skinite ploče za pristup na objema stranama okvira platforme (Slika 34).

Provjerite ima li na crijevima ili žicama koje možete vidjeti kroz otvor na okviru platforme vidljivih znakova priklještenja ili savijanja.
Important: Ako su crijeva ili žice sklopa platforme spremnika prikliješteni ili savijeni, podignite sklop, prilagodite njegov položaj i ponovno povežite dijelove.
Poravnajte prednje montažne nosače s nosačima držača postavljenima u odjeljku Postavljanje nosača držača za platformu spremnika.
Pričvrstite nosač držača sklopa platforme spremnika za nosač postolja na okviru na svakoj strani uređaja s pomoću vijka (½ × 1½ inča) i sigurnosne matice (½ inča) kako je prikazano na Slika 34.
Pritegnite vijak i sigurnosnu maticu na 91 do 113 Nm.
Ponovite korake od 7 do 9 na drugoj strani platforme spremnika i uređaja.
Dijelovi potrebni za ovaj postupak:
| Sklop središnjeg kraka | 1 |
| Vijak (⅜ × 1 inča) | 10 |
| Prirubna matica (⅜ inča) | 10 |
| Transportni nosač kraka | 2 |
| Vijak (½ × 1¼ inča) | 4 |
| Prirubna matica (½ inča) | 4 |
Pričvrstite opremu za podizanje za središnji krak i izvadite ga iz transportnog kontejnera.
Poravnajte transportne nosače kraka sa središnjim krakom (Slika 35).

Stavite nosače na krak (Slika 35 i Slika 36) s pomoću 6 vijaka (⅜ × 1 inča) i 6 prirubnih matica (⅜ inča).

Pritegnite vijke i matice na 37 do 45 N∙m.
Pokrenite uređaj, skinite podupirač postolja s cilindra za podizanje i spremite podupirač, spustite platformu spremnika, ugasite uređaj i izvadite ključ iz prekidača za pokretanje.
Poravnajte donji otvor na montažnim nosačima sklopa središnjeg kraka s trećim otvorom od dna na nosačima kraka na okviru platforme prskalice, kako je prikazano na Slika 37.
Note: Ako je potrebno, otpustite nosače kraka i prilagodite ih središnjem kraku kako bi ih bolje poravnali s otvorom. Pritegnite vijke i matice na 67 do 83 N∙m.

Pričvrstite sklop središnjeg kraka na okvir platforme prskalice s pomoću 4 vijka (½ × 1¼ inča) i 4 sigurnosne matice (½ inča).
Pritegnite vijke i matice na 67 do 83 N∙m.
Pogledajte Upute za postavljanje kompleta prskalice za finiširanje travnjaka Multi Pro WM, radno vozilo Workman s ručnim prijenosom.
Dijelovi potrebni za ovaj postupak:
| Lijevi krak | 1 |
| Desni krak | 1 |
| Prirubni vijci (⅜ × 1¼ inča) | 8 |
| Potporne pločice | 8 |
| Prirubne matice (⅜ inča) | 8 |
| Svornjak s poprečnim provrtom | 2 |
| Rascjepka | 2 |
Svaki krak teži približno 14 kg.
Skinite 4 prirubna vijka (⅜ × 1¼ inča), 4 potporne pločice i 4 prirubne matice (⅜ inča) s nosača šarke središnjeg kraka.
Zaokrenite svaki okretni nosač na kraju središnjeg kraka kako bi se nosači poravnali vertikalno (Slika 38).

Podignite vanjski krak i poravnajte otvore na trokutastoj montažnoj ploči na kraju vanjskog kraka s otvorima na okretnom nosaču.
Note: Obrtne glave mlaznica prskalice moraju biti okrenute prema natrag.
Pričvrstite pločicu šarke za trokutastu ploču s pomoću 4 prirubna vijka, 4 potporne pločice i 4 prirubne matice (Slika 38) koje ste uklonili u koraku 1.
Pritegnite vijke i matice na 37 do 45 Nm.
Poravnajte kraj šipke cilindra za podizanje kraka s otvorima na rogu okretnog nosača (Slika 38).

Pričvrstite kraj šipke za okretni nosač s pomoću rascjepke i svornjaka s poprečnim provrtom (Slika 38).
Ponovite korake od 1 do 5 na drugoj strani sklopa središnjeg kraka sa suprotnim krakom.
Note: Prije nego što završite ovaj postupak, provjerite jesu li sve obrtne glave mlaznica za prskanje okrenute prema natrag.
Dijelovi potrebni za ovaj postupak:
| Obujmice za crijevo | 3 |
| Obujmica (tip R) | 2 |
| Vijak s osloncem | 2 |
| Podložna pločica | 2 |
| Matica | 2 |
Provucite crijeva krakova kako je prikazano na Slika 40 i Slika 41.


Pričvrstite crijeva krakova za prednju stranu središnjeg kraka (Slika 40 i Slika 41) s pomoću 1 obujmice tipa R, 1 vijka s osloncem (5/16 × 1 inča), 1 sigurnosne matice (5/16 inča) i 1 podložne pločice (5/16 inča).
Postavite crijevo kraka preko T-spojnice sa zarezima na kraku i pričvrstite crijevo s pomoću obujmice za crijevo (Slika 40 i Slika 41).
Note: Nanesite premaz tekućeg sapuna na zareze T-spojnice za jednostavnije postavljanje crijeva.
Ponovite korake od 1 do 3 na crijeva kraka na drugoj strani prskalice.
Mlaznice koje upotrebljavate za primjenu kemikalija variraju ovisno o stopi prskanja koja vam je potrebna; stoga se mlaznice ne isporučuju zajedno s kompletom. Za nabavu odgovarajućih mlaznica obratite se ovlaštenom distributeru tvrtke Toro i pripremite sljedeće informacije:
Ciljana stopa prskanja u litrama po hektru.
Ciljana brzina vozila u kilometrima na sat.
Navijte ili umetnite mlaznicu u držač mlaznice i zatim stavite brtvu.
Stavite držač mlaznice preko spojnice mlaznice na obrtnoj glavi.
Okrenite mlaznicu u smjeru kazaljki na satu kako biste zaključali brjegove na držaču.
Provjerite ventilator mlaznice.
Za više informacija pročitajte Upute za postavljanje koje se isporučuju s mlaznicama.
Dijelovi potrebni za ovaj postupak:
| Spremnik za čistu vodu | 1 |
| Koljeno od 90° (NPT priključak s navojima od ¾ inča) | 1 |
| Slavina od 90° | 1 |
| Nosač spremnika za čistu vodu | 1 |
| Montažna letva | 4 |
| Prirubni vijak (5/16 × ⅝ inča) | 4 |
| Prirubna matica (5/16 inča) | 10 |
| Potporna cijev (spremnik za čistu vodu) | 1 |
| Protumatica (5/16 inča) | 1 |
| Vijak (5/16 × 1 inča) | 1 |
| Vijak s osloncem (½ × 1 15/16 inča) | 2 |
| Vijak (5/16 × 2¼ inča) | 2 |
| Podložna pločica (5/16 inča) | 2 |
Postavite spremnik za čistu vodu na nosač spremnika za čistu vodu s pomoću 2 montažne letve, 4 prirubna vijka (5/16 × ⅝ inča) i 4 prirubne matice (5/16 inča) kako je prikazano na Slika 43.
Note: Koljeno i slavina moraju biti smješteni na istoj strani spremnika kao naljepnica spremnika za čistu vodu.

Pritegnite vijke i matice na 20 do 25 Nm.
Poravnajte potpornu cijev za spremnik za čistu vodu sa žlijebom nosača spremnika (Slika 44).

Poravnajte otvore na potpornoj cijevi s otvorima u žlijebu (Slika 44).
Pričvrstite cijev za žlijeb (Slika 44) s pomoću 2 vijka s osloncem (½ × 1 15/16 inča) i 2 prirubne matice (5/16 inča).
Pritegnite vijke i matice na 20 do 25 Nm.
Navijte protumaticu (5/16 inča) na vijak (5/16 × 1 inča) kako je prikazano na Slika 44.
Navijte vijak (5/16 × 1 inča) i protumaticu na zavarenu maticu na dnu potpornog žlijeba spremnika i rukom pritegnite vijak i maticu (Slika 44).
Note: Za prskalicu za travnjak Multi Pro WM potreban je ROPS sa 4 stupa ili kabina koja se postavlja na vozilo Workman.
Postavite spremnik za čistu vodu i nosač na potpornu cijev s pomoću 2 vijka (5/16 × 2¼ inča) i 2 prirubne matice (5/16 inča) kako je prikazano na Slika 45.

Pritegnite vijke i matice na 20 do 25 Nm.
Dijelovi potrebni za ovaj postupak:
| Sklop otvora za punjenje | 1 |
| Prirubni vijak (5/16 × ¾ inča) | 1 |
Stavite sklop otvora za punjenje na otvor spremnika s navojima (Slika 46) i pričvrstite ga s pomoću prirubnog vijka (5/16 × ¾ inča).

Dijelovi potrebni za ovaj postupak:
| Prednji podmetač za pridržavanje | 2 |
| Stražnji podmetač za pridržavanje | 2 |
| Rascjepka | 4 |
| Svornjak s poprečnim provrtom (4½ inča) | 2 |
| Svornjak s poprečnim provrtom (3 inča) | 2 |
| Ručica | 2 |
Postavite prednje podmetače za pridržavanje naopako na okvir u blizini prednjih točaka vezanja (Slika 47).

Pričvrstite prednje podmetače za pridržavanje s pomoću 2 svornjaka s poprečnim provrtom (3 inča) i 2 rascjepke kroz srednji otvor na podmetačima.
Postavite stražnje podmetače za pridržavanje od dna prema gore na okvir u blizini stražnjih točaka vezanja (Slika 48).

Pričvrstite stražnje podmetače za pridržavanje s pomoću 4 svornjaka s poprečnim provrtom (4½ inča) i 4 rascjepke kroz zadnji otvor na podmetačima.

Note: Ovaj sustav InfoCenter sa 6 tipki dostupan je samo za vozila Workman serije HDX s ručnim prijenosom. Ako imate vozilo Workman HDX-Auto, nastavite koristiti InfoCenter s 3 tipke.
Na LCD zaslonu sustava InfoCenter prikazane su informacije o uređaju i akumulatoru kao što su trenutačni postotak napunjenosti akumulatora, brzina, razne dijagnostike i druge informacije. Za više informacija pogledajte Upotreba sustava InfoCenter.
Glavni prekidač krakova (Slika 49) nalazi se na bočnoj strani konzole i desno od sjedala rukovatelja. S pomoću njega možete pokrenuti ili zaustaviti prskanje. Pritisnite prekidač kako biste uključili ili isključili sustav prskalice.
Prekidači lijevog, središnjeg i desnog kraka nalaze se na upravljačkoj ploči (Slika 49). Pritisnite svaki prekidač prema naprijed kako biste uključili odgovarajući krak i prema natrag kako biste ga isključili. Kad je prekidač uključen, svijetlit će lampica na prekidaču. Tim se prekidačima može upravljati sustavom prskanja samo ako je uključen glavni prekidač krakova.
Prekidač za stopu prskanja nalazi se na lijevoj strani upravljačke ploče (Slika 49). Pritisnite i držite pritisnutim prekidač prema gore kako biste povećali stopu prskanja sustava, ili ga pritisnite i držite pritisnutim prema dolje kako biste smanjili stopu prskanja.
Prekidači za podizanje krakova nalaze se na upravljačkoj ploči i upotrebljavaju se za podizanje vanjskih krakova.
Regulacijski ventil smješten je iza spremnika (Slika 50). Regulacijski ventil upravlja količinom tekućine koja se preusmjerava u ventile krakova ili brzinom povrata u spremnik.

Mjerač protoka mjeri brzinu protoka tekućine do ventila krakova (Slika 50).
S pomoću ventila krakova uključite ili isključite tlak prskalice u mlaznicama prskalice u lijevom, središnjem i desnom kraku (Slika 50).
Optočni ventili krakova (Slika 51) preusmjeravaju protok tekućine iz kraka u spremnik kad isključite određeni krak. Možete podesiti te ventile kako biste osigurali da je tlak u krakovima stalan, bez obzira na to koju ste kombinaciju krakova odabrali za rad; pogledajte Kalibracija optočnih ventila krakova.

Ovaj se ventil nalazi na stražnjoj desnoj strani spremnika (Slika 52). Okrenite ručicu na ventilu na položaj od 6 sati kako biste uključili mućkanje u spremniku i na položaj od 8 sati kako biste isključili mućkanje u spremniku.

Note: Modeli serije HD s ručnim prijenosom – kako bi mućkanje radilo, PTO uređaj i spojka moraju biti aktivirani, a motor mora raditi, ali ne u praznom hodu. Ako zaustavite prskalicu i potrebno vam je mućkanje sadržaja spremnika, stavite polugu za promjenu brzine u NEUTRALNI položaj, otpustite spojku, aktivirajte parkirnu kočnicu i postavite ručicu za gas (ako postoji).
Pumpa prskalice nalazi se na stražnjoj strani uređaja.
Na centralnoj konzoli uređaja pomaknite ručicu PTO uređaja u položaj UKLJUčENO za pokretanje pumpe; pomaknite ručicu PTO uređaja u položaj ISKLJUčENO za zaustavljanje pumpe. Pročitajte Upute za upotrebu za radno vozilo Workman HDX.

Note: Specifikacije i dizajn podložni su promjenama bez obavijesti.
| Težina postolja prskalice (težina vozila nije uključena) | 424 kg |
| Kapacitet spremnika | 757 l |
| Ukupna duljina vozila sa standardnim sustavom prskanja | 422 cm |
| Ukupna visina vozila sa standardnim sustavom prskanja do vrha spremnika | 147 cm |
| Ukupna visina vozila sa standardnim sustavom prskanja i krakovima spremljenima u položaj u obliku slova X | 234 cm |
| Ukupna širina vozila sa standardnim sustavom prskanja i krakovima spremljenima u položaj u obliku slova X | 175 cm |
Dostupan je niz priključaka i dodatne opreme za poboljšavanje i proširivanje mogućnosti vozila koje je odobrila tvrtka Toro. Obratite se ovlaštenom serviseru ili distributeru ili posjetite stranicu www.Toro.com za popis svih odobrenih priključaka i dodatne opreme.
Kako biste osigurali optimalnu učinkovitost i daljnju primjenjivost certifikata o sigurnosti uređaja, upotrebljavajte samo originalne zamjenske dijelove i dodatnu opremu tvrtke Toro.
Note: Odredite lijevu i desnu stranu uređaja s uobičajenog vozačevog položaja.
Note: Ako je potreban transport vozila na prikolici s postavljenom prskalicom, svakako se pobrinite da su krakovi zavezani i pričvršćeni.
Nikad nemojte dopustiti djeci ili nestručnim osobama da upravljaju uređajem ili da ga servisiraju. Dobna granica za rukovatelje može biti ograničena lokalnim propisima. Vlasnik je odgovoran za obuku svih rukovatelja i mehaničara.
Upoznajte se sa sigurnim radom s opremom, komandama i sigurnosnim znakovima.
Prije nego što napustite položaj rukovatelja, učinite sljedeće:
Parkirajte uređaj na ravnoj površini.
Prebacite mjenjač u NEUTRALNI položaj.
Aktivirajte ručnu kočnicu.
Ugasite motor i izvadite ključ (ako postoji).
Pričekajte da se svi pomični dijelovi zaustave.
Morate znati brzo zaustaviti uređaj i ugasiti motor.
Provjerite jesu li komande, sigurnosni prekidači i štitovi postavljeni i rade li ispravno. Ako ne rade ispravno, ne upravljajte uređajem.
Ako uređaj ne radi ispravno ili je oštećen, nemojte ga upotrebljavati. Popravite kvar prije upravljanja uređajem ili dodacima.
Svi priključci na crijevima za tekućinu moraju biti dobro pričvršćeni i sva crijeva moraju biti u dobrom stanju prije izlaganja sustava pritisku.
Kemijske tvari koje se upotrebljavaju u sustavu prskalice mogu biti opasne i toksične za vas, prolaznike i životinje te mogu oštetiti biljke, tlo i drugu imovinu.
Pročitajte informacije o svakoj kemikaliji. Nemojte upravljati prskalicom ili raditi na njoj ako vam te informacije nisu dostupne.
Prije rada na prskalici pobrinite se da je neutralizirana i tri puta isprana u skladu s preporukama proizvođača kemikalija i da su svi ventili okrenuti 3 puta.
Provjerite nalazi li se u blizini dovoljna količina čiste vode i sapuna i odmah isperite sve kemikalije s kojima dođete u dodir.
Pažljivo pročitajte naljepnice upozorenja o kemikalijama i sigurnosno-tehničke listove za korištene kemikalije i pridržavajte ih se te se zaštitite u skladu s preporukama proizvođača kemikalija.
Uvijek zaštitite svoje tijelo tijekom rada s kemikalijama. Nosite odgovarajuću osobnu zaštitnu opremu kako biste se zaštitili od kontakta s kemikalijama, uključujući sljedeće:
zaštitne naočale, zaštitnu masku za oči i/ili štitnik za lice
kemijsko zaštitno odijelo
respirator ili masku s filtrom
rukavice otporne na kemikalije
gumene čizme ili drugu odgovarajuću obuću
čistu odjeću, sapun i jednokratne ručnike za čišćenje
Prije upotrebe kemikalija ili rukovanja njima potrebno je proći odgovarajuću obuku.
Upotrijebite ispravnu kemikaliju za rad.
Pridržavajte se uputa proizvođača kemikalija za sigurnu primjenu kemikalije. Nemojte premašivati preporučeni tlak prskanja.
Nemojte puniti, kalibrirati ili čistiti uređaj ako se u njegovoj blizini nalaze drugi ljudi, posebno djeca, ili životinje.
Rukujte kemikalijama u dobro prozračenom prostoru.
Nemojte jesti, piti ili pušiti za vrijeme rada u blizini kemikalija.
Nemojte čistiti mlaznice za prskanje tako da upuhujete zrak kroz njih ili da ih stavljate u usta.
Uvijek sapunom operite ruke i druga izložena područja što prije nakon rada s kemikalijama.
Držite kemikalije u originalnoj ambalaži i pohranjene na sigurnom mjestu.
Na ispravan način odložite nekorištene kemikalije i spremnike za kemikalije u skladu s uputama proizvođača kemikalija i vašim lokalnim propisima.
Kemikalije i pare su opasne; nikad nemojte ulaziti u spremnik ili staviti glavu iznad otvora spremnika ili u njega.
Pridržavajte se svih lokalnih, državnih i saveznih propisa o širenju ili raspršivanju kemikalija.
Note: Ovaj sustav InfoCenter sa 6 tipki dostupan je samo za vozila Workman serije HDX s ručnim prijenosom. Ako imate vozilo Workman HDX-Auto, nastavite koristiti InfoCenter s 3 tipke.
Na LCD zaslonu sustava InfoCenter prikazuju se informacije o uređaju, kao što su operativno stanje, razne dijagnostike i druge informacije o uređaju. Sustav InfoCenter ima pozdravni zaslon i glavni zaslon s informacijama. Možete se prebacivati između pozdravnog zaslona i glavnog zaslona s informacijama bilo kada pritiskanjem bilo kojeg gumba sustava InfoCenter te odabirom odgovarajuće strelice.

Note: Namjena svakog gumba može se promijeniti ovisno o tome koja je funkcija u tom trenutku uključena. Na LCD zaslonu prikazuje se ikona iznad svakog gumba koja označava njegovu funkciju u tom trenutku.
![]() | Izbornik | ![]() | Spremnik je prazan (manje od 10 %) | |
![]() | Pomicanje prema gore/dolje | ![]() | Razina tekućine u spremniku je niska (od 10 % do 29 %) | |
![]() | Pomicanje ulijevo/udesno | ![]() | Spremnik je napola pun (od 30 % do 69 %) | |
![]() | Prethodni zaslon | ![]() | Spremnik je pun (od 70 % do 100 %) | |
![]() | Smanjenje vrijednosti | ![]() | Dodajte 1 galon (3,8 l) tekućine u spremnik | |
![]() | Povećanje vrijednosti | ![]() | Dodajte 10 galona (38 l) tekućine u spremnik | |
![]() | Prihvati | ![]() | Dodajte 25 l tekućine u spremnik | |
![]() | Spremi | ![]() | Krak je isključen | |
![]() | PIN/zaporka | ![]() | Krak je uključen | |
![]() | Izlazni izbornik (greške) | ![]() | Očistite sva područja | |
![]() | Napon akumulatora | ![]() | Očistite aktivno područje | |
![]() | Brojač sati rada | ![]() | Poprskano područje | |
![]() | Zaključano | ![]() | Sva područja | |
![]() | Idi na područje za prskanje | |||
![]() | Idi na područje za prskanje |
Da biste pristupili izbornicima sustava InfoCenter, pritisnite gumb za povratak dok ste na glavnom zaslonu. Time se prebacujete na glavni izbornik. U sljedećim tablicama potražite kratak opis opcija dostupnih u izbornicima.
Zaštićeno
pod Protected Menus (Zaštićeni izbornici) –
pristup moguć samo uz unos PIN-a
| Stavka izbornika | Opis |
| Calibration (Kalibracija) | Izbornik Kalibracija služi za kalibraciju mjerača protoka i senzora brzine. |
| Settings (Postavke) | Izbornik Postavke omogućuje vam prilagođavanje i izmjenu konfiguracijskih varijabli na zaslonu. |
| Machine Settings (Postavke uređaja) | Izbornik Postavke uređaja omogućuje vam konfiguraciju varijabli uređaja. |
| Service (Upotreba) | U izborniku Upotreba nalaze se informacije o uređaju, kao što su sati upotrebe i kvarovi uređaja. |
| Diagnostics (Dijagnostika) | U izborniku Dijagnostika prikazuje se stanje svih prekidača, senzora i komandi uređaja. Tu opciju možete upotrijebiti za rješavanje određenih problema jer ćete brzo dobiti informacije o tome koje su komande uređaja uključene, a koje su isključene. |
| About (Informacije o uređaju) | U izborniku Informacije o uređaju navode se broj modela, serijski broj i verzija softvera uređaja. |
| Stavka izbornika | Opis |
| Test Speed (Ispitna brzina) | Postavljanje ispitne brzine za kalibraciju. |
| Flow Cal (Kalibracija protoka) | Kalibracija mjerača protoka. |
| Speed Cal (Kalibracija brzine) | Kalibracija senzora brzine. |
| Use default flow calibration (Tvorničke postavke kalibracije protoka) | Resetiranje kalibracije protoka na zadani izračunati prosjek, a ne stvarni obujam. |
| Use default speed calibration (Tvorničke postavke kalibracije brzine) | Resetiranje kalibracije brzine na zadani izračunati prosjek, a ne stvarnu brzinu. |
| Stavka izbornika | Opis |
| Edit PIN (Uredi PIN) | Omogućuje osobi (nadzorniku/mehaničaru) koju je ovlastila vaša tvrtka da pristupi zaštićenim izbornicima s pomoću PIN-a. |
Protect Settings (Zaštita postavki) ![]() | Daje mogućnost promjene postavki u zaštićenim postavkama. |
Reset Defaults (Resetiranje tvorničkih postavki) ![]() | Resetiranje zadanih vrijednosti. |
| Backlight (Pozadinsko svjetlo) | Upravlja svjetlinom LCD zaslona. |
| Language (Jezik) | Upravlja jezikom koji se upotrebljava na zaslonu. |
| Units (Mjerne jedinice) | Upravlja jedinicama koje se upotrebljavaju na zaslonu (engleske, metričke ili za travnjak). |
| Stavka izbornika | Opis |
| Tank Alert (Upozorenje spremnika) | Postavljanje upozorenja o niskoj razini u spremniku. |
Left Boom (Lijevi krak) ![]() | Podešavanje širine lijevog kraka. |
Center Boom (Središnji krak) ![]() | Podešavanje širine srednjeg kraka. |
Right Boom (Desni krak) ![]() | Podešavanje širine desnog kraka. |
Reset Defaults (Resetiranje tvorničkih postavki) ![]() | Resetiranje zadanih vrijednosti. |
| Stavka izbornika | Opis |
| Faults (Kvarovi) | U izborniku Kvarovi nalazi se popis nedavnih kvarova uređaja. Pročitajte Priručnik za održavanje ili kontaktirajte ovlaštenog distributera tvrtke Toro za više informacija o izborniku Kvarovi i ondje sadržanim informacijama. |
| Hours (Sati) | Sadrži popis ukupnog broja sati tijekom kojih su uređaj, motor i PTO uređaj uključeni, kao i broja sati tijekom kojih je uređaj bio prenošen i u stanju koje zahtjeva servis. |
Flow Rate (Brzina protoka) ![]() | Prikaz trenutačne brzine protoka. |
Flow Cal Value (Vrijednost kalibracije protoka)![]() | Prikaz trenutačnog množitelja koji se upotrebljava za izračun razlike između pretpostavljenog i kalibriranog protoka. |
Speed Cal Value (Vrijednost kalibracije brzine)![]() | Prikaz trenutačnog množitelja koji se upotrebljava za izračun razlike između pretpostavljene i kalibrirane brzine. |
| Stavka izbornika | Opis |
| Pumps (Pumpe) | Pristup opcijama trenutačnog i vremenski određenog ispiranja. |
| Booms (Krakovi) | Pristup ulazima i izlazima krakova. |
| Engine Run (Rad motora) | Pristup ulazima i izlazima za rad motora. |
| Stavka izbornika | Opis |
| Model (Model) | Navodi se broj modela uređaja. |
| SN (Serijski broj) | Navodi se serijski broj uređaja. |
| S/W Revision (Revizija softvera) | Navodi se revizija softvera za glavni regulator. |
XDM–2700 ![]() | Navodi se revizija softvera za sustav InfoCenter. |
CAN Status (Status CAN sabirnice) ![]() | Navodi se status CAN sabirnice. |
Neke postavke konfiguracija za rad mogu se podesiti u izborniku Postavke na zaslonu. Te postavke možete zaključati u Zaštićenom izborniku.
Note: Početnu lozinku postavlja vaš distributer u trenutku isporuke.
Note: Tvornički zadani PIN za uređaj glasi 0000 ili 1234.
Ako ste promijenili PIN i zaboravili ga, za pomoć se obratite ovlaštenom distributeru tvrtke Toro.
Na glavnom izborniku pomaknite se dolje na izbornik Postavke i pritisnite gumb za odabir.

U izborniku Postavke pomaknite se na stavku Unesi PIN i pritisnite gumb za odabir.
Da biste unijeli PIN, pritišćite gumbe za pomicanje gore i dolje dok se ne pojavi točna prva znamenka, a zatim pritisnite desni gumb da biste se prebacili na sljedeću znamenku. Ponavljajte taj korak dok ne unesete sve znamenke.
Pritisnite gumb za odabir.
Note: Ako zaslon prihvati PIN i otključa se zaštićeni izbornik, u gornjem desnom kutu zaslona pojavljuje se riječ PIN”.
Za zaključavanje zaštićenog izbornika okrenite ključ za paljenje u položaj OFF (Isključeno) i zatim u položaj ON (Uključeno).

U izborniku Postavke pomaknite se dolje do stavke Protect Settings (Zaštita postavki).
Da biste pregledali i promijenili postavke bez unošenja PIN kôda, promijenite Zaštitu postavki na OFF (Isključeno) pomoću gumba za odabir.
Da biste pregledali i promijenili postavke pomoću PIN kôda, s pomoću gumba za odabir promijenite Zaštitu postavki na On (Uključeno), postavite PIN kôd i okrenite ključ za paljenje u položaj OFF (Isključeno) i zatim u položaj ON (Uključeno).
Odaberite Machine Settings (Postavke uređaja).
Odaberite Tank Alert (Upozorenje spremnika).

S pomoću gumba za pomicanje unesite najmanju količinu u spremniku za slučaj da se upozorenje pojavi za vrijeme rada prskalice.
Odaberite Machine Settings (Postavke uređaja).
Odaberite krak koji želite ažurirati.
Pomoću gumba za pomicanje promijenite veličinu kraka u koracima od 2,5 cm.
| Setting (Postavka) | Zadana vrijednost |
| Test Speed (Ispitna brzina) | 0,0 |
| Spray Tank Alert (Upozorenje spremnika za prskanje) | 1 litra |
| L Boom (Lijevi krak) | 203 cm |
| C Boom (Središnji krak) | 152 cm |
| R Boom (Desni krak) | 203 cm |
Odaberite Machine Settings (Postavke uređaja) i odaberite Reset Defaults (Resetiranje tvorničkih postavki).
Note: Ako promijenite razinu, resetirat će upozorenje spremnika.
Pritisnite gumb ENTER (Unos) kako biste se pomaknuli udesno. Na zaslonu će se prikazati trenutačna razina u spremniku.
Pritisnite gumb za povećanje ili smanjenje razine u spremniku.
Pritisnite tipke za pomicanje gore/dolje da biste odabrali ±10 (za američke jedinice) ili ±25 (za metričke jedinice).
Pritisnite tipke za pomicanje lijevo/desno kako biste promijenili razinu za 1 korak.

Na tim zaslonima prikazuje se:
Poprskano područje (rali, hektari ili 1000četvornih stopa)
Obujam prskanja (američki galoni ili litre)
Informacije o području i obujmu prskanja prikupljaju se dok ih ne resetirate. Za svako prskanje odaberite pojedinačno potpodručje na vašem radnom području. Možete odabrati do 20 potpodručja.
Note: Prije nego što započnete s prskanjem, prijeđite na potpodručje na kojem radite. Potpodručje prikazano na zaslonu je aktivno potpodručje za koje se prikupljaju informacije o prskanju.
Pritisnite gumb BACK (Natrag) kako biste se pomaknuli na zaslon o ukupnom području.
Pritisnite DESNI gumb kako biste resetirali podatke o ukupnom području.
Note: Resetiranjem informacija o ukupnom području i ukupnom obujmu na zaslonu o ukupnom području resetiraju se svi podaci za svako potpodručje.

Pritisnite gumb BACK (Natrag) kako biste se pomaknuli na zaslon o potpodručju.
Pritisnite gumb UP (gore) kako biste resetirali podatke o potpodručju.

Obavijesti za rukovatelja automatski se prikazuju na zaslonu sustava InfoCenter ako funkcija uređaja zahtijeva dodatne korake. Primjerice, ako pokušate pokrenuti motor pritiskom papučice gasa, na zaslonu se pojavljuje obavijest da papučica gasa mora biti u NEUTRALNOM položaju.
Pritisnite bilo koji gumb na zaslonu da biste izbrisali obavijest.
| Šifra obavijesti | Opis |
|---|---|
| 200 | Pokretanje spriječeno – aktivan prekidač pumpe |
| 201 | Pokretanje spriječeno – nije u NEUTRALNOM položaju |
| 202 | Pokretanje spriječeno – izvan sjedala |
| 203 | Pokretanje spriječeno – papučica gasa nije na mjestu |
| 204 | Pokretanje spriječeno – zaustavljena aktivacija pokretača |
| 205 | Ručna kočnica aktivirana |
| 206 | Pokretanje pumpe spriječeno – krak aktivan |
| 207 | Pokretanje pumpe spriječeno – velika brzina motora |
| 208 | Zaključavanje gasa/brzine spriječeno – pumpa nije aktivna |
| 209 | Zaključavanje gasa spriječeno – ručna kočnica nije aktivirana |
| 210 | Zaključavanje brzine spriječeno – rukovatelj nije na sjedalu ili je aktivirana ručna kočnica |
| 211 | Zaključavanje gasa/brzine spriječeno – aktivirana spojka ili radna kočnica |
| 212 | Upozorenje o niskoj razini u spremniku |
| 213 | Pumpa za ispiranje uključena (ON) |
| 220 | Kalibracija senzora protoka |
| 221 | Kalibracija senzora protoka – napunite spremnik vodom i unesite dodanu količinu |
| 222 | Kalibracija senzora protoka – uključite pumpu |
| 223 | Kalibracija senzora protoka – uključite sve krakove |
| 224 | Kalibracija senzora protoka – kalibracija započela |
| 225 | Kalibracija senzora protoka – kalibracija dovršena |
| 226 | Kalibracija senzora protoka – izlazak iz načina rada kalibracije |
| 231 | Kalibracija senzora brzine |
| 232 | Kalibracija senzora brzine – napunite spremnik za čistu vodu, pritisnite next (dalje) |
| 233 | Kalibracija senzora brzine – napunite prskalicu do pola vodom, pritisnite next (dalje) |
| 234 | Kalibracija senzora brzine – unesite udaljenost za kalibraciju, pritisnite next (dalje) |
| 235 | Kalibracije senzora brzine – označite i odvozite unesenu udaljenost dok su krakovi prskalice isključeni |
| 236 | Kalibracija senzora brzine – kalibracija senzora brzine u tijeku |
| 237 | Kalibracija senzora brzine – kalibracija senzora brzine dovršena |
| 238 | Kalibracija senzora brzine – isključite krakove |
| 241 | Kalibracija nedostupna, upotreba tvorničkih postavki |
Provjerite sljedeće stavke svaki put kad toga dana započnete s upotrebom prskalice:
Provjerite tlak zraka u gumama.
Note: Gume ovog uređaja drukčije su od automobilskih guma; potreban im je manji tlak zraka i smanjuju zbijanje i oštećenja travnjaka.
Provjerite razine svih tekućina i dodajte potrebnu količinu odgovarajućih tekućina ako im razina bude niska.
Provjerite rad papučice kočnice.
Provjerite rade li svjetla.
Okrenite upravljač lijevo i desno kako biste provjerili radi li.
Dok je motor ugašen provjerite curi li ulje, ima li labavih dijelova i postoje li druge vidljive nepravilnosti.
Ako bilo koji od prethodno navedenih dijelova nije ispravan, obavijestite o tome mehaničara ili se obratite vašem nadzorniku prije pokretanja prskalice tog dana. Vaš nadzornik će možda htjeti da svakodnevno provjeravate druge stavke pa provjerite koje ste preglede dužni izvršiti.
Note: Pročitajte upute za mlaznice koje su dostupne kod vašeg ovlaštenog distributera tvrtke Toro.
Na tijela obrtnih glava mogu se postaviti do 3 različite mlaznice.
Zaustavite prskalicu na ravnoj površini, ugasite motor, aktivirajte ručnu kočnicu i izvadite ključ.
Postavite glavni prekidač krakova u položaj OFF (Isključeno) i postavite prekidač pumpe prskalice u položaj OFF (Isključeno).
Okrenite obrtnu glavu mlaznice u bilo kojem smjeru kako biste ispravili mlaznicu.
Izvršite postupak kalibracije protoka; pogledajte Kalibracija protoka prskalice.
Standardna oprema: usisni filtar finoće sita 50 (plavi)
Poslužite se tablicom usisnog filtra kako biste utvrdili finoću sita za mlaznice za prskanje koje upotrebljavate na temelju kemijskih proizvoda ili otopina čija je viskoznost jednaka viskoznosti vode.
| Oznake boja za mlaznice za prskanje (brzina protoka) | Finoća sita* | Oznake boja za filtar |
|---|---|---|
| Žuta (0,76 l/min) | 50 | Plava |
| Crvena (1,5 l/min) | 50 | Plava |
| Smeđa (1,9 l/min) | 50 (ili 30) | Plava (ili zelena) |
| Siva (2,3 l/min) | 30 | Zelena |
| Bijela (3 l/min) | 30 | Zelena |
| Plava (3,8 l/min) | 30 | Zelena |
| Zelena (5,7 l/min) | 30 | Zelena |
| *Finoća sita usisnih filtara navedenih u ovoj tablici temelji se na kemikalijama ili otopinama za prskanje čija je viskoznost jednaka viskoznosti vode. | ||
Important: U slučaju prskanja kemijskim proizvodima ili otopinama s močivim prahom veće viskoznosti (gušćima), možda će vam trebati grublje sito za opcionalni usisni filtar; pogledajte Slika 61.

Ako prskate s većim intenzitetom, razmislite o upotrebi grubljeg sita opcionalnog usisnog filtra; pogledajte Slika 62.

Dostupne veličine sita uključuju:
Standardna oprema: usisni filtar finoće sita 50 (plavi)
Poslužite se tablicom tlačnog filtra kako biste utvrdili finoću sita za mlaznice za prskanje koje upotrebljavate na temelju kemijskih proizvoda ili otopina čija je viskoznost jednaka viskoznosti vode.
| Oznake boja za mlaznice za prskanje (brzina protoka) | Finoća sita* | Oznake boja za filtar |
|---|---|---|
| U skladu sa zahtjevima za kemikalije ili otopine niske viskoznosti ili kod niskog intenziteta prskanja | 100 | Zelena |
| Žuta (0,76 l/min) | 80 | Žuta |
| Crvena (1,5 l/min) | 50 | Plava |
| Smeđa (1,9 l/min) | 50 | Plava |
| Siva (2,3 l/min) | 50 | Plava |
| Bijela (3 l/min) | 50 | Plava |
| Plava (3,8 l/min) | 50 | Plava |
| Zelena (5,7 l/min) | 50 | Plava |
| U skladu sa zahtjevima za kemikalije ili otopine visoke viskoznosti ili kod visokog intenziteta prskanja | 30 | Crvena |
| U skladu sa zahtjevima za kemikalije ili otopine visoke viskoznosti ili kod visokog intenziteta prskanja | 16 | Smeđa |
| *Finoća sita tlačnih filtara navedenih u ovoj tablici temelji se na kemikalijama ili otopinama za prskanje čija je viskoznost jednaka viskoznosti vode. | ||
Important: U slučaju prskanja kemijskim proizvodima ili otopinama s močivim prahom veće viskoznosti (gušćima), možda će vam trebati grublje sito za opcionalni tlačni filtar; pogledajte Slika 63.

Ako prskate s većim intenzitetom, razmislite o upotrebi grubljeg sita opcionalnog tlačnog filtra; pogledajte Slika 64.

Note: Upotrebljavajte opcionalni filtar za vrh mlaznice kako biste zaštitili vrh mlaznice za prskanje i produžili njezin vijek trajanja.
Poslužite se tablicom filtra za vrh mlaznice kako biste utvrdili finoću sita za mlaznice za prskanje koje upotrebljavate na temelju kemijskih proizvoda ili otopina čija je viskoznost jednaka viskoznosti vode.
| Oznake boja za mlaznice za prskanje (brzina protoka) | Finoća sita filtara* | Oznake boja za filtar |
|---|---|---|
| Žuta (0,76 l/min) | 100 | Zelena |
| Crvena (1,5 l/min) | 50 | Plava |
| Smeđa (1,9 l/min) | 50 | Plava |
| Siva (2,3 l/min) | 50 | Plava |
| Bijela (3 l/min) | 50 | Plava |
| Plava (3,8 l/min) | 50 | Plava |
| Zelena (5,7 l/min) | 50 | Plava |
| *Finoća sita filtara mlaznica navedenih u ovoj tablici temelji se na kemikalijama ili otopinama za prskanje čija je viskoznost jednaka viskoznosti vode. | ||
Important: U slučaju prskanja kemijskim proizvodima ili otopinama s močivim prahom veće viskoznosti (gušćima), možda će vam trebati grublje sito za opcionalni filtar za vrh mlaznice; pogledajte Slika 65.

Ako prskate s većim intenzitetom, razmislite o upotrebi grubljeg sita filtra za vrh mlaznice; pogledajte Slika 66.

Important: Nemojte upotrebljavati tehnološku vodu (sivu vodu) u spremniku za čistu vodu.
Note: Spremnik za čistu vodu služi kao izvor čiste vode kojom možete isprati kemikalije s vaše kože, očiju ili drugih površina dođe li do slučajnog izlaganja.Uvijek napunite spremnik čistom vodom prije rukovanja kemikalijama ili njihovog miješanja.
Spremnik za čistu vodu nalazi se na ROPS-u iza vozačevog sjedala (Slika 67). Služi kao izvor čiste vode kojom možete isprati kemikalije s vaše kože, očiju ili drugih površina dođe li do slučajnog izlaganja.
Za punjenje spremnika odvrtite čep na vrhu spremnika i napunite spremnik čistom vodom. Zamijenite čep.
Za otvaranje slavine spremnika za čistu vodu, okrenite ručicu na slavini.

Postavite komplet za pripremljenu kemijsku mješavinu za optimalno miješanje i vanjsku čistoću spremnika.
Important: Kad god je moguće, nemojte upotrebljavati tehnološku vodu (sivu vodu) u spremniku za prskanje.
Important: Kemikalije koje upotrebljavate moraju biti kompatibilne za upotrebu s materijalom VitonTM (pročitajte oznaku proizvođača, na njoj bi trebalo biti naznačeno ako nisu kompatibilne). Upotreba kemikalije koja nije kompatibilna s materijalom VitonTM oštećuje O-prstenove u prskalici, što dovodi do curenja.
Important: Nakon prvog punjenja spremnika provjerite jesu li držači spremnika dobro pričvršćeni. Pritegnite ih koliko treba.
Pročistite sustav prskalice sredstvom za kondicioniranje sustava prskalice tako da pokrenete krakove.
Parkirajte uređaj na ravnoj površini, pomaknite mjenjač raspona u neutralni položaj, aktivirajte ručnu kočnicu, ugasite motor i izvadite ključ.
Ventil za pražnjenje spremnika mora biti zatvoren.
Utvrdite količinu vode potrebnu za miješanje potrebne količine kemikalije u skladu s uputama proizvođača kemikalije.
Otvorite poklopac spremnika za prskanje.
Note: Poklopac spremnika nalazi se na sredini gornje strane spremnika. Da biste ga otvorili, okrenite prednju polovicu poklopca u smjeru suprotnom od kazaljki na satu i širom ga otvorite. Možete izvaditi sito iz njega kako biste ga očistili. Da biste zatvorili spremnik, vratite poklopac na mjesto i okrenite prednju polovicu u smjeru kazaljki na satu.
Dodajte ¾ potrebne količine vode u spremnik za prskanje kroz protusifonski otvor za punjenje.
Important: Uvijek stavljajte čistu vodu u spremnik za prskanje. Nikad nemojte staviti koncentrat u prazan spremnik.

Pokrenite motor, aktivirajte PTO uređaj i postavite ručicu za gas ako postoji.
Okrenite prekidač za mućkanje u položaj ON (Uključeno).
Dodajte odgovarajuću količinu koncentrata kemikalije u spremnik, prema uputama proizvođača kemikalije.
Important: Ako upotrebljavate močivi prah, pomiješajte prah s malom količinom vode kako biste dobili emulziju prije nego što ga dodate u spremnik
Dodajte ostatak vode u spremnik.
Note: Za bolje mućkanje smanjite postavku stope prskanja.
| Interval servisa održavanja | Postupak održavanja |
|---|---|
| Prije svake uporabe ili svakodnevno |
|
Important: Prejako stezanje pričvrsnih elemenata držača spremnika može dovesti do deformacije i oštećenja spremnika i držača.
Napunite glavni spremnik vodom.
Provjerite ima li slobodnog hoda između držača spremnika i spremnika (Slika 69).

Ako su držači spremnika labavo pričvršćeni za spremnik, pritegnite prirubne matice i vijke na vrhu držača dok držači ne budu priljubljeni uz površinu spremnika (Slika 69).
Note: Nemojte previše zategnuti dijelove držača spremnika.
Note: Prije prve upotrebe prskalice, ako promijenite mlaznice ili prema potrebi, kalibrirajte protok prskalice, brzinu i optočne ventile krakova.
Napunite spremnik za prskanje čistom vodom.
Note: Pobrinite se da je u spremniku dovoljno vode za dovršetak svakog postupka kalibracije.
Spustite lijevi i desni krak.
Isključite zaštićene postavke; pogledajte Upotreba sustava InfoCenter.
Oprema koju dobavlja rukovatelj: štoperica koja može mjeriti do ± 1/10 sekunde i mjerna posuda s oznakama po 50 ml.
Note: Za kalibraciju protoka prskalice za uređaje bez zaključavanja gasa potrebne su 2 osobe.
Prebacite mjenjač u NEUTRALNI položaj.
Aktivirajte ručnu kočnicu i pokrenite motor.
Uključite pumpu prskalice i uključite opciju mućkanja.
Pritisnite papučicu gasa prema dolje i držite je dok motor ne postigne najveću brzinu.
Postavite brzinu motora kako slijedi:
Za uređaje koji nemaju opcionalnu mogućnost zaključavanja gasa – neka jedna osoba pritisnite papučicu gasa prema dolje dok motor ne postigne najveću brzinu.
Note: Druga osoba neka prikupi uzorke s mlaznica prskalice.
Za uređaje koji imaju opcionalnu mogućnost zaključavanja gasa, pritisnite papučicu gasa prema dolje dok motor ne postigne najveću brzinu i zaključajte gas; pogledajte upute za komplet ručice za gas za vaše vozilo Workman.
Postavite sva 3 prekidača krakova i glavni prekidač krakova u položaj ON (Uključeno).
Pripremite se za provjeru količine prskanja s pomoću mjerne posude.
Počnite pri 2,75 bara i s pomoću prekidača za stopu prskanja podesite tlak prskanja kako biste dobili rezultate koji odgovaraju iznosima u tablici u nastavku.
Note: Prikupite 3 uzorka, svaki u trajanju od 15 sekundi, i izračunajte prosjek količina prikupljene vode.
| Boja mlaznice | Mililitri prikupljeni u 15 sekundi | Unce prikupljene u 15 sekundi | ||
|---|---|---|---|---|
| Žuta | 189 | 6,4 | ||
| Crvena | 378 | 12,8 | ||
| Smeđa | 473 | 16,0 | ||
| Siva | 567 | 19,2 | ||
| Bijela | 757 | 25,6 | ||
| Plava | 946 | 32,0 | ||
| Zelena | 1.419 | 48,0 | ||
Kad postignete količine navedene u prethodnoj tablici, postavite prekidač za zaključavanje stope prskanja u položaj zaključavanja LOCK.
Okrenite glavni prekidač krakova u položaj OFF (Isključeno).
Pomičite se do izbornika Calibration (Kalibracija) na sustavu InfoCenter i odaberite FLOW CAL (Kalibracija protoka) kako slijedi:
Note: Odabirom ikone početnog zaslona možete poništiti kalibracije u bilo kojem trenutku.
Dvaput pritisnite srednji gumb za odabir na sustavu InfoCenter za pristup izbornicima.
Uđite u izbornik Calibration (Kalibracija) pritiskom desnog gumba za odabir na sustavu InfoCenter.
Odaberite opciju FLOW CAL (Kalibracija protoka) označivanjem opcije FLOW CAL (Kalibracija protoka) i pritisnite desni gumb za odabir na sustavu InfoCenter.
Na sljedećem zaslonu unesite poznatu količinu vode koja će biti raspršena kroz krakove za postupak kalibracije; pogledajte tablicu u nastavku.
Pritisnite desni gumb za odabir na sustavu InfoCenter.
S pomoću simbola plus (+) i minus (-) unesite obujam protoka u skladu s tablicom u nastavku.
| Boja mlaznice | Litre | Američki galoni |
| Žuta | 42 | 11 |
| Crvena | 83 | 22 |
| Smeđa | 106 | 28 |
| Siva | 125 | 33 |
| Bijela | 167 | 44 |
| Plava | 208 | 55 |
| Zelena | 314 | 83 |
Uključite glavni prekidač krakova na 5 minuta.
Note: Dok uređaj provodi prskanje, na sustavu InfoCenter prikazuje se količina tekućine koju bilježi sustav.
Nakon prskanja od 5 minuta odaberite kvačicu pritiskom na srednji gumb na sustavu InfoCenter.
Note: Prihvatljivo je ako galoni prikazani tijekom postupka kalibracije ne odgovaraju poznatoj količini vode unesenoj u sustav InfoCenter.
Isključite glavni prekidač krakova i odaberite kvačicu pritiskom na srednji gumb na sustavu InfoCenter.
Note: Kalibracija je sada dovršena.
Spremnik prskalice mora biti napunjen vodom.
Na otvorenoj, ravnoj površini, označite udaljenost između 45 i 152 m.
Note: Označite 152 m za preciznije rezultate.
Pokrenite motor i vozite do početka označene udaljenosti.
Note: Poravnajte središte prednjih guma sa startnom linijom za najpreciznije mjerenje.
Pomičite se do izbornika Calibration (Kalibracija) na sustavu InfoCenter i odaberite Speed Calibration (Kalibracija brzine).
Note: Odabirom ikone početnog zaslona možete poništiti kalibraciju u bilo kojem trenutku.
Odaberite strelicu Next (→) (Dalje) na sustavu InfoCenter.
S pomoću simbola plus (+) i minus (-) unesite označenu udaljenost u sustav InfoCenter.
Prebacite uređaj u prvu brzinu i prijeđite označenu udaljenost vozeći ravno prema naprijed uz puni gas.
Zaustavite uređaj na kraju označene udaljenosti i odaberite kvačicu na sustavu InfoCenter.
Note: Usporite i polako se zaustavite kako biste poravnali središte prednjih guma s ciljnom linijom za najpreciznije mjerenje.
Note: Kalibracija je sada dovršena.
Prije prve upotrebe prskalice, kad god promijenite mlaznice, ili prema potrebi, kalibrirajte protok prskalice i brzinu te postavite optočne ventile krakova.
Important: Provedite postupak na otvorenoj, ravnoj površini.
Note: Za kalibraciju optočnih ventila krakova za uređaje bez zaključavanja gasa potrebne su 2 osobe.
Spremnik prskalice mora biti napunjen vodom.
Prebacite mjenjač u NEUTRALNI položaj.
Aktivirajte ručnu kočnicu i upalite motor.
Postavite 3 prekidača krakova u položaj ON (Uključeno), no ostavite glavni prekidač krakova u položaju OFF (Isključeno).
Stavite prekidač pumpe u položaj ON (Uključeno) i uključite mućkanje.
Postavite brzinu motora kako slijedi:
Za uređaje koji nemaju opcionalnu mogućnost zaključavanja gasa – neka jedna osoba pritisnite papučicu gasa prema dolje dok motor ne postigne najveću brzinu.
Note: Neka druga osoba podesi optočne ventile krakova.
Za uređaje koji imaju opcionalnu mogućnost zaključavanja gasa, pritisnite papučicu gasa prema dolje dok motor ne postigne najveću brzinu i zaključajte gas; pogledajte upute za komplet ručice za gas za vaše vozilo Workman.
Pomičite se do izbornika Calibration (Kalibracija) na sustavu InfoCenter i odaberite Test Speed (Ispitna brzina).
Note: Odabirom ikone početnog zaslona možete poništiti kalibraciju u bilo kojem trenutku.
S pomoću simbola plus (+) i minus (-) unesite ispitnu brzinu od 5,6 km/h i zatim odaberite ikonu početnog zaslona.
S pomoću prekidača za stopu prskanja podesite stopu u skladu s tablicom u nastavku.
| Boja mlaznice | SI (metrički) | Engleski | Travnjak |
| Žuta | 159 l/ha | 17 gpa | 0,39 gpk |
| Crvena | 319 l/ha | 34 gpa | 0,78 gpk |
| Smeđa | 394 l/ha | 42 gpa | 0,96 gpk |
| Siva | 478 l/ha | 51 gpa | 1,17 gpk |
| Bijela | 637 l/ha | 68 gpa | 1,56 gpk |
| Plava | 796 l/ha | 85 gpa | 1,95 gpk |
| Zelena | 1.190 l/ha | 127 gpa | 2,91 gpk |
Isključite prekidač lijevog kraka i podesite optočni ventil lijevog kraka (Slika 70) dok očitanje tlaka ne bude na prethodno podešenoj razini (najčešće 2,75 bara).
Note: Numerirani indikatori na optočnom ventilu služe samo u informativne svrhe.

Uključite prekidač lijevog kraka i isključite prekidač desnog kraka.
Podesite optočni ventil desnog kraka (Slika 70) dok očitanje tlaka ne bude na prethodno podešenoj razini (najčešće 2,75 bara).
Uključite prekidač desnog kraka i isključite prekidač središnjeg kraka.
Podesite optočni ventil središnjeg kraka (Slika 70) dok očitanje tlaka ne bude na prethodno podešenoj razini (najčešće 2,75 bara).
Isključite sve prekidače krakova.
Isključite pumpu prskalice.
Note: Kalibracija je sada dovršena.
Optočni ventil mućkanja u potpuno je otvorenom položaju kako je prikazano na Slika 71A.
Optočni ventil mućkanja u zatvorenom je položaju (0) kako je prikazano na Slika 71B.
Optočni ventil mućkanja na srednjem je položaju (podešenom u odnosu na mjerač tlaka za sustav prskalice) kako je prikazano na Slika 71C.

| Interval servisa održavanja | Postupak održavanja |
|---|---|
| Godišnje |
|
Important: Provedite postupak na otvorenoj, ravnoj površini.
Note: Za kalibraciju optočnog ventila mućkanja za uređaje bez zaključavanja gasa potrebne su 2 osobe.
Spremnik prskalice mora biti napunjen vodom.
Provjerite je li ventil za kontrolu mućkanja otvoren. Ako je bio podešavan, otvorite ga do kraja.
Prebacite mjenjač u NEUTRALNI položaj.
Aktivirajte ručnu kočnicu i upalite motor.
Uključite pumpu prskalice.
Postavite brzinu motora kako slijedi:
Za uređaje koji nemaju opcionalnu mogućnost zaključavanja gasa – neka jedna osoba pritisnite papučicu gasa prema dolje dok motor ne postigne najveću brzinu.
Note: Druga osoba neka prikupi uzorke s mlaznica prskalice.
Za uređaje koji imaju opcionalnu mogućnost zaključavanja gasa, pritisnite papučicu gasa prema dolje dok motor ne postigne najveću brzinu i zaključajte gas; pogledajte upute za komplet ručice za gas za vaše vozilo Workman.
Postavite 3 prekidača za pojedinačne krakove u položaj OFF (Isključeno).
Postavite glavni prekidač krakova u položaj ON (Uključeno).
Postavite tlak sustava na MAXIMUM (Maksimum).
Stavite prekidač za mućkanje u položaj OFF (Isključeno) i očitajte mjerač tlaka.
Ako očitanje ostane na 6,9 bara, optočni ventil mućkanja ispravno je kalibriran.
Ako mjerač tlaka prikaže drugu vrijednost, prijeđite na sljedeći korak.
Podesite optočni ventil mućkanja (Slika 72) na stražnjoj strani ventila za mućkanje dok očitanje tlaka na mjeraču ne bude 6,9 bara.

Stavite prekidač pumpe u položaj OFF (Isključeno), prebacite ručicu za gas u NEUTRALNI položaj praznog hoda i stavite prekidač za pokretanje u položaj OFF (Isključeno).
Note: Podešavanjem glavnog optočnog ventila krakova smanjuje se ili povećava količina protoka koji se šalje u mlaznice za mućkanje u spremniku kad je glavni prekidač krakova u položaju OFF (Isključeno).
Spremnik prskalice mora biti napunjen vodom.
Aktivirajte ručnu kočnicu.
Prebacite mjenjač u NEUTRALNI položaj.
Uključite pumpu prskalice.
Postavite prekidač za mućkanje u položaj ON (Uključeno).
Postavite glavni prekidač krakova u položaj OFF (Isključeno).
Postavite brzinu motora kako slijedi:
Za uređaje koji nemaju opcionalnu mogućnost zaključavanja gasa – neka jedna osoba pritisnite papučicu gasa prema dolje dok motor ne postigne najveću brzinu.
Note: Druga osoba neka prikupi uzorke s mlaznica prskalice.
Za uređaje koji imaju opcionalnu mogućnost zaključavanja gasa, pritisnite papučicu gasa prema dolje dok motor ne postigne najveću brzinu i zaključajte gas; pogledajte upute za komplet ručice za gas za vaše vozilo Workman.
Podesite ručicu glavnog optočnog ventila krakova kako biste kontrolirali količinu mućkanja u spremniku (Slika 72).
Smanjite brzinu gasa na prazan hod.
Postavite prekidač za mućkanje i prekidač pumpe u položaj OFF (Isključeno).
Ugasite motor.
Pumpa prskalice nalazi se na stražnjoj strani uređaja (Slika 73).

Vlasnik/rukovatelj može spriječiti nesreće koje mogu uzrokovati tjelesne ozljede ili oštećenja imovine i odgovoran je za njih.
Nosite prikladnu odjeću, uključujući zaštitu za oči, duge hlače, čvrstu obuću otpornu na proklizavanje i zaštitu za sluh. Zavežite kosu ako je duga i nemojte nositi labavu odjeću ili viseći nakit.
Nosite odgovarajuću osobnu zaštitnu opremu kako je propisano u odjeljku Kemijska sigurnost.
Pozorno upravljajte uređajem. Ne bavite se aktivnostima koje vas ometaju; u suprotnom može doći do ozljeda ili oštećenja imovine.
Ne upravljajte uređajem ako ste bolesni, umorni ili pod utjecajem alkohola ili droga.
Nemojte voziti više od 1 putnika na uređaju; putnik smije sjediti isključivo na za to predviđenom sjedalu.
Upravljajte uređajem samo u uvjetima dobre vidljivosti. Izbjegavajte rupe ili skrivene opasnosti.
Prije pokretanja motora morate biti u radnom položaju, a mjenjač u NEUTRALNOM položaju.
Ostanite sjediti kad god se uređaj kreće. Držite obje ruke na upravljaču kad god je to moguće i uvijek držite ruke i noge unutar dijela predviđenog za rukovatelja.
Budite oprezni pri približavanju oštrim zavojima, grmlju, stablima ili drugim predmetima koji bi vam mogli zakloniti vidno polje.
Prije vožnje unatrag pogledajte iza sebe i provjerite ima li ikoga iza vas. Polako vozite unatrag.
Nikad ne prskajte dok se u vašoj blizini nalaze drugi ljudi, posebno djeca, ili životinje.
Nemojte upravljati uređajem u blizini padina, jaraka ili nasipa. Uređaj se može naglo preokrenuti ako kotač prijeđe preko ruba ili ako rub propadne.
Smanjite brzinu za vrijeme rada na zahtjevnom terenu, neravnoj površini i u blizini rubnika, rupa i drugih naglih promjena u terenu. Teret se može pomaknuti i destabilizirati vozilo.
Nakon sudara s objektom ili ako uređaj proizvodi neobične vibracije, zaustavite uređaj, ugasite motor, izvadite ključ, aktivirajte ručnu kočnicu i provjerite ima li oštećenja. Izvršite sve potrebne popravke prije nastavljanja s radom.
Usporite i budite oprezni pri skretanju i prelaženju cesta i pločnika. Uvijek poštujte pravo prednosti drugih sudionika u prometu.
Budite oprezni pri upravljanju uređajem na mokrim površinama, u lošim vremenskim uvjetima, pri visokim brzinama ili s punim spremnikom. Vrijeme zaustavljanja i zaustavni put povećavaju se u navedenim uvjetima.
Nemojte dodirivati motor ili prigušivač dok motor radi ili odmah nakon gašenja. Te bi površine mogle biti dovoljno zagrijane da prouzroče opekline.
Prije nego što napustite položaj rukovatelja, učinite sljedeće:
Parkirajte uređaj na ravnoj površini.
Prebacite mjenjač u NEUTRALNI položaj.
Ugasite pumpu za prskanje.
Aktivirajte ručnu kočnicu.
Ugasite motor i izvadite ključ (ako postoji).
Pričekajte da se svi pomični dijelovi zaustave.
Nikad ne držite motor u pogonu u zatvorenom prostoru koji zadržava ispušne plinove.
Ako postoji opasnost od munja, nemojte upravljati uređajem.
Upotrebljavajte samo onu dodatnu opremu i priključke koje je odobrila tvrtka Toro.
Da biste upravljali uređajem Multi Pro WM, prvo napunite spremnik za prskanje, zatim nanesite otopinu na radno područje i na kraju očistite spremnik. Važno je da dovršite sva 3 navedena koraka jedan za drugim kako ne bi došlo do oštećenja prskalice. Na primjer, nemojte miješati i dodavati kemikalije u spremnik za prskanje tijekom noći i zatim prskati ujutro. Na taj bi se način kemikalije mogle odvojiti i oštetiti komponente prskalice.
Important: Oznake na spremniku služe samo u informativne svrhe i ne mogu se smatrati točnima za kalibraciju.
Kemikalije su opasne i mogu uzrokovati tjelesne ozljede.
Pročitajte upute na naljepnicama za kemikalije prije rukovanja kemikalijama te se pridržavajte svih preporuka i mjera opreza proizvođača.
Pazite da kemikalije ne dođu u dodir s kožom. Dođe li do kontakta, temeljito operite zahvaćeno područje sapunom i čistom vodom.
Nosite zaštitne naočale i drugu zaštitnu opremu koju je preporučio proizvođač kemikalije.
Uređaj Multi Pro WM posebno je dizajniran da bude postojan kako bi vaša prskalica imala dug vijek trajanja. Kako bi se taj cilj ostvario, odabrani su posebni materijali za različite dijelove vaše prskalice. Nažalost, ne postoji jedan materijal koji je savršen za sve predvidive primjene.
Neke su kemikalije agresivnije od drugih i svaka kemikalija reagira drukčije u kontaktu s raznim materijalima. Neke su konzistencije (npr. močivi prah, ugljen) abrazivnije i dovode do povećanog trošenja. Ako je dostupna kemikalija u formulaciji koja bi omogućila produljeni vijek trajanja prskalice, upotrijebite tu formulaciju.
Kao uvijek, temeljito očistite uređaj i sustav za prskanje nakon svake primjene. Na taj se način omogućuje dugi vijek trajanja prskalice bez problema.
Important: Da bi vaša otopina ostala dobro promiješana, upotrijebite funkciju mućkanja kad god se u spremniku nalazi otopina. Da bi mućkanje bilo uspješno, morate aktivirati PTO uređaj i motor mora raditi, ali ne biti u praznom hodu. Ako zaustavite vozilo i želite da funkcija mućkanja bude uključena, stavite ručicu mjenjača u NEUTRALNI položaj, aktivirajte ručnu kočnicu, zatim aktivirajte PTO uređaj i spojku te postavite ručicu za gas, ako postoji.
Note: Za potrebe ovog postupka pretpostavlja se da je PTO uređaj aktiviran (modeli serije HD s ručnim prijenosom) i da je kalibracija ventila kraka dovršena.
Spustite krakove u položaj.
Postavite glavni prekidač krakova u položaj OFF (Isključeno).
Prema potrebi postavite prekidače za pojedinačne krakove u položaj ON (Uključeno).
Odvezite se do lokacije planiranog prskanja.
Pomičite se po zaslonu do opcije Application Rate (Stopa prskanja) u sustavu InfoCenter i postavite željenu stopu na sljedeći način:
Provjerite je li prekidač pumpe u položaju ON (Uključeno).
Za modele serije HD s ručnim prijenosom, odaberite željeni raspon brzine.
Započnite voziti ciljanom brzinom vožnje.
Provjerite je li na zaslonu prikazana ispravna stopa prskanja. Ako je potrebno, podešavajte prekidač za stopu prskanja dok se na zaslonu na prikaže željena stopa prskanja.
Vratite se do lokacije prskanja.
Stavite glavni prekidač krakova u položaj ON (Uključeno) i počnite s prskanjem.
Note: Ako je spremnik skoro prazan, mućkanje bi moglo prouzročiti stvaranje pjene u spremniku. Da biste to spriječili, isključite ventil za mućkanje. U suprotnom možete dodati sredstvo protiv stvaranja pjene u spremnik.
Kad završite s prskanjem, stavite glavni prekidač krakova u položaj OFF (Isključeno) kako biste isključili sve krakove za prskanje i deaktivirajte polugu PTO uređaja (modeli serije HD s ručnim prijenosom).
Important: U određenim uvjetima vrućina koju proizvode motor, hladnjak i prigušivač može oštetiti travu za vrijeme rada prskalice u stacionarnom načinu rada. Stacionarni načini rada uključuju mućkanje u spremniku, ručno prskanje s pomoću pištolja za prskanje ili korištenje kraka koji pomiče osoba dok hoda.
Pridržavajte se sljedećih mjera opreza:
Izbjegavajte stacionarno prskanje u uvjetima iznimno visokih temperatura i/ili suhog zraka jer bi travnjak u tom razdoblju mogao biti pojačano osjetljiv.
Izbjegavajte parkiranje na travnjaku za vrijeme stacionarnog prskanja. Parkirajte na stazi kad god je moguće.
Smanjite na minimum vrijeme tijekom kojeg ostavljate uređaj da radi na određenom dijelu travnjaka. Količina oštećenja trave ovisi o vremenu i temperaturi.
Postavite brzinu motora na najnižu moguću da biste postigli željeni tlak i protok. Na taj se način količina proizvedene topline i brzina zraka iz ventilatora za hlađenje smanjuju na minimum.
Dopustite da toplina izađe iz odjeljka motora prema gore tako da podignete sklopove sjedala za vrijeme stacionarnog rada umjesto da se toplina prisilno izbacuje ispod vozila.
Prekidači za podizanje krakova na upravljačkoj ploči prskalice omogućuju vam da pomičete vanjske krakove između položaja za transport i položaja za prskanje bez da napuštate sjedalo rukovatelja. Kad god je moguće, zaustavite uređaj prije nego što promijenite položaj krakova.
Aktivirajte polugu za hidraulično podizanje i zaključajte je kako biste osigurali hidrauličnu snagu za kontrolu podizanja kraka.
Gurnite polugu za hidraulično podizanje prema naprijed.

Pomaknite prekidač za zaključavanje hidrauličnog podizanja nalijevo za aktiviranje prekidača za zaključavanje.
Za pomicanje vanjskih krakova za prskanje u položaj PRSKANJA poduzmite sljedeće korake:
Parkirajte uređaj na ravnoj površini.
Spustite vanjske krakove s pomoću prekidača za podizanje krakova.
Note: Pričekajte dok vanjski krakovi ne dođu u potpuno izvučeni položaj za prskanje.
Dovršite prskanje, a zatim poduzmite sljedeće korake za uvlačenje vanjskih krakova i smještanje u transportni položaj:
Parkirajte uređaj na ravnoj površini.
S pomoću prekidača za podizanje krakova podignite jedan od vanjskih krakova.
S pomoću prekidača za podizanje krakova podignite ostale vanjske krakove.
Podižite krakove dok se u potpunosti ne smjeste u transportne nosače u transportnom položaju u obliku slova X i dok cilindri za podizanje ne budu u potpunosti uvučeni.
Important: Otpustite prekidače za podizanje krakova nakon što vanjski krakovi budu u željenom položaju. Ako aktuatori rade dok su mehanički graničnici aktivni, može doći do oštećenja cilindara za podizanje i/ili drugih hidrauličnih komponenti.
Important: Krakovi za prskanje ne smiju dodirivati niske nadzemne predmete dok su u transportnom položaju jer se tako mogu oštetiti.
Important: Krakovi za prskanje mogu se oštetiti za vrijeme transporta ako nisu u transportnom položaju u obliku slova X na transportnom nosaču krakova.

Important: Da biste spriječili oštećenje cilindra za podizanje, aktuatori moraju biti u potpunosti uvučeni prije transporta uređaja.
Nemojte ponovno prskati površine koje ste već poprskali.
Vodite računa o začepljenju mlaznica. Zamijenite sve istrošene ili oštećene mlaznice.
Zaustavite prskanje s pomoću glavnog prekidača krakova prije nego što zaustavite prskalicu. Nakon zaustavljanja s pomoću opcije za zaključavanje neutralne brzine motora održite brzinu motora kako bi se mućkanje nastavilo.
Postići ćete bolje rezultate ako se prskalica kreće kad uključite krakove za prskanje.
Pratite ima li promjena stope prskanja koje bi mogle ukazivati na promjenu brzine koja prelazi raspon mlaznica ili na to da postoji problem sa sustavom prskanja.
Ako se mlaznica začepi za vrijeme prskanja, očistite je na sljedeći način:
Zaustavite prskalicu na ravnoj površini, ugasite motor i aktivirajte ručnu kočnicu.
Postavite glavni prekidač krakova u položaj ISKLJUčENO i postavite prekidač pumpe za prskanje u položaj ISKLJUčENO.
Uklonite začepljenu mlaznicu i očistite je s pomoću bočice vode s raspršivačem i četkice za zube.
Postavite mlaznicu.
Prije nego što napustite uređaj, parkirajte uređaj na ravnoj površini; aktivirajte ručnu kočnicu; ugasite motor; izvadite ključ i pričekajte da se svi pomični dijelovi zaustave.
Nakon što završite s upotrebom uređaja tog dana, isperite sve ostatke kemikalija s vanjske strane uređaja; pogledajte odjeljak Kemijska sigurnost.
Pustite da se motor ohladi prije skladištenja uređaja u bilo kojem zatvorenom prostoru.
Po potrebi održavajte i čistite sigurnosne pojaseve.
Nikad nemojte skladištiti uređaj ili spremnik za gorivo u blizini otvorenog plamena, iskri ili žižaka poput onih na bojlerima ili drugim uređajima.
Održavajte sve dijelove uređaja u dobrom radnom stanju i svu opremu zategnutu.
Zamijenite sve istrošene i oštećene naljepnice ili naljepnice koje nedostaju.
Important: Za čišćenje uređaja nemojte upotrebljavati slanu ili tehnološku vodu.
Parkirajte uređaj na ravnoj površini, aktivirajte ručnu kočnicu, ugasite motor i izvadite ključ.
Pronađite ventil za pražnjenje spremnika na desnoj strani uređaja (Slika 76).

Otvorite ventil kako biste ispustili neiskorišteni materijal iz spremnika (Slika 77).
Important: Odložite sve otpadne kemikalije u skladu s lokalnim propisima i uputama proizvođača materijala.

Zatvorite ventil za pražnjenje (Slika 77).
| Interval servisa održavanja | Postupak održavanja |
|---|---|
| Godišnje |
|
Important: Uvijek morate isprazniti i očistiti prskalicu neposredno nakon svake upotrebe. U suprotnom bi moglo doći do sušenja ili zgušnjavanja kemikalija u cijevima, a time i do začepljenja pumpe i ostalih komponenti.
Upotrebljavajte odobreni komplet za ispiranje za ovaj uređaj. Za više informacija obratite se ovlaštenom distributeru tvrtke Toro.
Očistite sustav prskalice nakon svake upotrebe. Za temeljito čišćenje sustava prskalice učinite sljedeće:
Isperite ga 3 puta.
Upotrebljavajte sredstva za čišćenje i neutralizaciju u skladu s preporukom proizvođača kemikalije.
Upotrebljavajte čistu vodu (bez sredstava za čišćenje ili neutralizaciju) pri posljednjem ispiranju.
Napunite spremnik s najmanje 190 l čiste vode i zatvorite poklopac.
Note: Prema potrebi možete u vodu staviti sredstvo za čišćenje/neutralizaciju. Za posljednje ispiranje upotrebljavajte isključivo čistu, bistru vodu.
Spustite krakove u položaj za prskanje.
Pokrenite motor i stavite prekidač pumpe u položaj ON (Uključeno).
Pomaknite ručicu za gas u položaj praznog hoda s visokim brojem okretaja.
Prekidač za mućkanje mora biti u položaju ON (Uključeno) i s pomoću prekidača za stopu prskanja povećajte tlak.
Postavite glavni prekidač krakova i prekidače pojedinačnih krakova u položaj ON (Uključeno) i počnite s prskanjem.
Pustite da sve voda u spremniku izađe kroz mlaznice.
Provjerite mlaznice i odvija li se prskanje na ispravan način.
Stavite glavni prekidač krakova u položaj OFF (Isključeno), ugasite pumpu prskalice i ugasite motor.
Ponovite korake od 1 do 9 još najmanje 2 puta kako biste osigurali da je sustav prskalice posve čist.
Important: Uvijek morate provesti navedeni postupak najmanje 3 puta kako bi sustav prskalice bio posve čist i kako bi se spriječila oštećenja sustava.
Očistite usisni filtar i tlačni filtar; pogledajte Čišćenje usisnog filtra i Čišćenje tlačnog filtra.
Important: Ako ste upotrebljavali kemikalije u obliku močivog praha, očistite sito nakon svakog čišćenja spremnika.
Isperite vanjski dio prskalice s pomoću crijeva za vodu.
Skinite mlaznice i ručno ih očistite. Zamijenite oštećene ili istrošene mlaznice.
| Interval servisa održavanja | Postupak održavanja |
|---|---|
| Prije svake uporabe ili svakodnevno |
|
Parkirajte uređaj na ravnoj površini, aktivirajte ručnu kočnicu, isključite pumpu, ugasite motor i izvadite ključ.
Na vrhu spremnika za prskanje uklonite iz kućišta filtra držač koji pričvršćuje spojnicu crijeva spojenu na veliko crijevo (Slika 78).

Skinite crijevo i spojnicu crijeva s kućišta filtra (Slika 78).
Povucite usisno sito iz kućišta filtra u spremniku (Slika 79).

Očistite usisni filtar čistom vodom.
Important: Zamijenite filtar ako je oštećen ili ako ga se ne može očistiti.
Stavite usisni filtar u kućište filtra i namještajte dok filtar ne sjedne na svoje mjesto.
Poravnajte crijevo i spojnicu crijeva s kućištem filtra na vrhu spremnika i pričvrstite spojnicu i kućište s pomoću držača koji ste uklonili u koraku 2.
| Interval servisa održavanja | Postupak održavanja |
|---|---|
| Prije svake uporabe ili svakodnevno |
|
Parkirajte uređaj na ravnoj površini, aktivirajte ručnu kočnicu, isključite pumpu prskalice, ugasite motor i izvadite ključ.
Stavite posudu za pražnjenje ispod tlačnog filtra (Slika 80).

Okrenite čep za pražnjenje u smjeru suprotnom od kazaljki na satu i skinite ga s posude tlačnog filtra (Slika 80).
Note: Pustite da se posuda isprazni do kraja.
Okrenite posudu u smjeru suprotnom od kazaljki na satu i skinite glavu filtra (Slika 80).
Skinite uložak tlačnog filtra (Slika 80).
Očistite uložak tlačnog filtar čistom vodom.
Important: Zamijenite filtar ako je oštećen ili ako ga se ne može očistiti.
Provjerite brtvu čepa otvora za pražnjenje (unutar posude) i brtvu posude (unutar glave filtra) i ima li znakova oštećenja i trošenja (Slika 80).
Important: Zamijenite sve oštećene ili istrošene brtve čepa otvora, posude, ili oboje.
Postavite uložak tlačnog filtra u glavu filtra (Slika 80).
Note: Uložak filtra mora biti čvrsto postavljen u glavi filtra.
Postavite posudu na glavu filtra i pričvrstite rukom (Slika 80).
Stavite čep za pražnjenje na spojnicu na dnu posude i pričvrstite čep rukom (Slika 80).
Parkirajte uređaj na ravnoj površini, aktivirajte ručnu kočnicu, isključite pumpu prskalice, ugasite motor i izvadite ključ.
Skinite mlaznicu s obrtne glave prskalice (Slika 81).

Skinite filtar mlaznice (Slika 81).
Očistite filtar mlaznice čistom vodom.
Important: Zamijenite filtar ako je oštećen ili ako ga se ne može očistiti.
Postavite filtar mlaznice (Slika 81).
Note: Filtar mora čvrsto sjesti na mjesto.
Postavite mlaznicu na obrtnu glavu prskalice (Slika 81).
| Interval servisa održavanja | Postupak održavanja |
|---|---|
| Nakon svake uporabe |
|
Specifikacija sredstva za kondicioniranje: netoksični antifriz” na bazi propilen-glikola s inhibitorom korozije
Important: Upotrebljavajte samo propilen-glikol s inhibitorom korozije. Nemojte upotrebljavati reciklirani propilen-glikol. Nemojte upotrebljavati antifriz na bazi etilen-glikola.Nemojte upotrebljavati propilen-glikol s dodanim topivim alkoholima (metanol, etanol ili izopropanol) ili slanom vodom.
Pomaknite uređaj na ravnu površinu, aktivirajte ručnu kočnicu, ugasite motor i izvadite ključ.
Dodajte sredstvo za kondicioniranje u spremnik na sljedeći način:
Za već pomiješan antifriz na bazi propilen-glikola (spreman za upotrebu) – dodajte 38 l antifriza na bazi propilen-glikola u spremnik.
Za koncentrirani antifriz na bazi propilen-glikola poduzmite sljedeće korake:
Dodajte 38 l mješavine antifriza na bazi propilen-glikola i vode u spremnik za prskanje. Pripremite mješavinu antifriza prema uputama proizvođača koje se odnose na koncentraciju označenu s najmanje-45 °C.
Important: Upotrebljavajte samo čistu vodu za čišćenje prskalice.
Pokrenite motor i stavite prekidač pumpe u položaj UKLJUčENO.
Pritisnite papučicu gasa za povećanje brzine motora.
Postavite prekidač za mućkanje u položaj UKLJUčENO.
Pustite da otopina sredstva za kondicioniranje i vode cirkulira 3 minute ili više.
Preporučeni alat: prozirna posuda za prikupljanje.
Pomaknite uređaj do prostora za pražnjenje i aktivirajte ručnu kočnicu.
Spustite vanjske krakove.
Postavite prekidač lijevog, središnjeg i desnog kraka i glavni prekidač krakova u položaj UKLJUčENO.
Pustite da sustav prska dok mlaznice ne ispuste sredstvo za kondicioniranje.
Note: Većina netoksičnih antifriza na bazi propilen-glikola je ružičaste boje. U posudu prikupite uzorke protoka nekoliko mlaznica prskalice.
Isključite glavni prekidač krakova, 3 prekidača krakova, prekidač za mućkanje, prekidač pumpe prskalice i motor i izvadite ključ.
Za informacije o transportu ili tegljenju uređaja pročitajte Upute za upotrebu za vaše vozilo Workman.
Important: Svežite vanjske krakove za prskanje za transportne nosače krakova.
Note: Na internetskoj stranici tvrtke Toro www.Toro.com možete preuzeti besplatan primjerak električne ili hidrauličke sheme i potražiti svoj uređaj na poveznici Upute na početnoj stranici.
Note: Odredite lijevu i desnu stranu uređaja s uobičajenog vozačevog položaja.
Prije nego što napustite položaj rukovatelja, učinite sljedeće:
Parkirajte uređaj na ravnoj površini.
Prebacite mjenjač u NEUTRALNI položaj.
Aktivirajte ručnu kočnicu.
Ugasite motor i izvadite ključ (ako postoji).
Pričekajte da se svi pomični dijelovi zaustave.
Pustite da se komponente uređaja ohlade prije održavanja.
Održavanje, popravke, podešavanje i pregledavanje vozila smije vršiti samo kvalificirano i ovlašteno osoblje.
Temeljito očistite i isperite prskalicu prije bilo kakvog održavanja; pogledajte odjeljak Kemijska sigurnost.
Kemikalije koje se upotrebljavaju u sustavu prskalice mogu biti opasne i toksične za vas, prolaznike, životinje, biljke, tlo ili drugu imovinu.
Pažljivo pročitajte naljepnice upozorenja o kemikalijama i sigurnosno-tehničke listove za korištene kemikalije i pridržavajte ih se te se zaštitite u skladu s preporukama proizvođača kemikalija.
Uvijek zaštitite kožu kad se nalazite u blizini kemikalija. Nosite odgovarajuću osobnu zaštitnu opremu kako biste se zaštitili od kontakta s kemikalijama, uključujući sljedeće:
zaštitne naočale, zaštitnu masku za oči i/ili štitnik za lice
kemijsko zaštitno odijelo
respirator ili masku s filtrom
rukavice otporne na kemikalije
gumene čizme ili drugu odgovarajuću obuću
čistu odjeću, sapun i jednokratne ručnike za čišćenje
Nemojte upravljati prskalicom ili raditi na njoj ako vam informacije o kemijskoj sigurnosti nisu dostupne.
Nemojte puniti, kalibrirati ili čistiti uređaj ako se u njegovoj blizini nalaze drugi ljudi, posebno djeca, ili životinje.
Rukujte kemikalijama u dobro prozračenom prostoru.
Imajte pri ruci čistu vodu, posebno prilikom punjenja spremnika za prskanje.
Nemojte jesti, piti ili pušiti za vrijeme rada u blizini kemikalija.
Nemojte čistiti mlaznice za prskanje tako da upuhujete zrak kroz njih ili da ih stavljate u usta.
Uvijek sapunom operite ruke i druga izložena područja što prije nakon rada s kemikalijama.
Kemikalije i pare su opasne; nikad nemojte ulaziti u spremnik ili staviti glavu iznad otvora spremnika ili u njega.
Da bi čitavo vozilo bilo u ispravnom stanju, sva oprema mora biti primjereno zategnuta.
Kako biste smanjili mogućnost požara, prostor motora čuvajte od suvišnih nakupina maziva, kemikalija, trave, lišća i prljavštine.
Ako morate pokrenuti motor radi održavanja, držite ruke, noge, odjeću i sve ostale dijelove tijela podalje od motora i pomičnih dijelova. Neka se nitko ne približava uređaju.
Nemojte prilagođavati brzinu vožnje uređaja. Ovlašteni distributer tvrtke Toro trebao bi provjeriti brzinu vožnje kako bi se osigurala sigurnost i točnost.
Ako na uređaju treba izvršiti opširne popravke ili vam je potrebna tehnička pomoć, obratite se ovlaštenom distributeru tvrtke Toro.
Bilo kakva modifikacija ovog uređaja može utjecati na rad uređaja, njegove performanse, postojanost ili upotrebu te prouzročiti tjelesne ozljede ili smrt. Takva bi upotreba mogla dovesti do poništavanja jamstva proizvoda.
Upotrijebite podmetače za pridržavanje uređaja dok radite ispod uređaja.
Pažljivo otpuštajte tlak iz komponenti s pohranjenom energijom.
| Interval servisa održavanja | Postupak održavanja |
|---|---|
| Prije svake uporabe ili svakodnevno |
|
| Nakon svake uporabe |
|
| Svakih 50 sati |
|
| Svakih 100 sati |
|
| Svakih 200 sati |
|
| Svakih 400 sati |
|
| Godišnje |
|
Important: Pročitajte Upute za upotrebu za informacije o vašem uređaju i upute za upotrebu motora za detalje o dodatnim postupcima održavanja.
Kopirajte ovu stranicu za osobnu upotrebu.
| Stavka za održavanje | Za tjedan: | ||||||
|---|---|---|---|---|---|---|---|
| Pon. | Uto. | Sri. | Čet. | Pet. | Sub. | Ned. | |
| Provjerite rad kočnica i ručne kočnice. | |||||||
| Provjerite funkcioniranje mjenjača brzina/neutralnog položaja. | |||||||
| Provjerite razinu goriva. | |||||||
| Provjerite razinu motornog ulja prije nego što napunite spremnik. | |||||||
| Provjerite razinu ulja sklopa mjenjača i diferencijala prije nego što napunite spremnik. | |||||||
| Provjerite filtar zraka prije nego što napunite spremnik. | |||||||
| Provjerite rashladna rebra motora prije nego što napunite spremnik. | |||||||
| Provjerite neobične zvukove motora. | |||||||
| Provjerite neobične zvukove tijekom rada. | |||||||
| Provjerite tlak u gumama. | |||||||
| Provjerite istjecanje tekućina. | |||||||
| Provjerite rad instrumenata. | |||||||
| Provjerite rad papučice gasa. | |||||||
| Očistite usisno sito. | |||||||
| Provjerite konvergenciju. | |||||||
| Podmažite sve mazalice.1 | |||||||
| Popravite oštećenu boju. | |||||||
1Odmah nakon svakog pranja, neovisno o navedenom intervalu
| Pregled obavio/la: | ||
| Stavka | Datum | Informacije |
| 1 | ||
| 2 | ||
| 3 | ||
| 4 | ||
| 5 | ||
| 6 | ||
| 7 | ||
| 8 | ||
| 9 | ||
| 10 | ||
Ako ostavite ključ u prekidaču za pokretanje, netko bi slučajno mogao pokrenuti motor i nanijeti vama i prolaznicima teške ozljede.
Izvadite ključ iz prekidača za pokretanje i odspojite negativni kabel akumulatora s akumulatora prije bilo kakvog održavanja. Odložite kabel akumulatora na stranu kako ne bi slučajno došao u dodir s klemom akumulatora.
Sklop spremnika prskalice stvara opasnost od pohranjene energije. Neispravno držanje prilikom postavljanja ili uklanjanja sklopa moglo bi dovesti do njegova pomicanja ili padanja te bi mogao ozlijediti vas ili prolaznike.
Upotrebljavajte trake i mosnu dizalicu za pridržavanje sklopa spremnika prskalice za vrijeme postavljanja, uklanjanja ili održavanja prilikom kojeg morate skinuti pričvrsne elemente.
Možete podići sklop spremnika za pristup motoru i drugim unutarnjim komponentama. Okrenite produžetak kraka prema naprijed kako biste ravnomjerno rasporedili težinu.
Ispraznite spremnik za prskanje.
Parkirajte vozilo na ravnoj površini.
Podignite produžetak kraka na približno 45° s pomoću prekidača za kontrolu krakova.
Aktivirajte ručnu kočnicu, ugasite motor i izvadite ključ.
Za odspajanje akumulatora.
Uklonite sigurnosne vijke s prednje strane platforme (Slika 82).

Odspojite kabelski svežanj centralne konzole od glavnog kabelskog svežnja i preusmjerite glavni kabelski svežanj tako da je u labavom položaju.
Sklopite produžetke krakova prema naprijed uzduž sklopa spremnika kako biste ravnomjerno rasporedili težinu i spriječili prevrtanje unatrag.
Podignite sklop spremnika toliko da cilindri za podizanje budu potpuno izvučeni.
Uklonite podupirač postolja s nosača na stražnjoj strani ploče ROPS-a (Slika 83).

Gurnite podupirač postolja na šipku cilindra, tako da jezičci krajeva podupirača budu oslonjeni na kraj cijevi cilindra i kraj šipke cilindra za podizanje (Slika 84).

Kad ste spremni spustiti sklop spremnika, skinite podupirač postolja s cilindra i stavite ga na nosače na stražnjoj strani ploče ROPS-a.
Important: Nemojte spuštati sklop spremnika dok se sigurnosni podupirač postolja nalazi na cilindru.
Uvucite cilindre za podizanje kako biste pažljivo spustili spremnik na okvir.
Postavite 2 sidrena vijka i pričvrsna vijka kako biste pričvrstili sklop spremnika.
Sklopite produžetke krakova prema natrag u izvučeni položaj.
Podignite produžetke krakova u TRANSPORTNI položaj s pomoću prekidača za kontrolu krakova.
Usmjerite glavni kabelski svežanj tako da je opet napet i spojite ga s kabelskim svežnjem centralne konzole.
| Interval servisa održavanja | Postupak održavanja |
|---|---|
| Svakih 50 sati |
|
Vrsta maziva: Mobil XHP 461
Pronađite mazalice na pumpi prskalice.
Note: Pumpa se nalazi na stražnjoj strani uređaja.

Obrišite 2 mazalice.
Uštrcajte mazivo u svaku mazalicu.
Obrišite višak maziva.
| Interval servisa održavanja | Postupak održavanja |
|---|---|
| Svakih 100 sati |
|
Important: Ako operete šarku kraka vodom, uklonite svu vodu i ostatke iz sklopa šarke i nanesite novi sloj maziva.
Vrsta maziva: Litijska mast, tip 2
Obrišite mazalice kako u ležajeve ili čahure ne bi ušlo strano tijelo.
Uštrcajte mazivo u ležaj ili čahuru na svakoj mazalici Slika 86.

Obrišite višak maziva.
Ponovite ovaj postupak za svaki zglob kraka.
Odspojite akumulator prije popravljanja vozila. Prvo odspojite negativni priključak, a zatim pozitivni. Prvo spojite pozitivni priključak, a zatim negativni.
Punite akumulator na otvorenom, dobro prozračenom mjestu, daleko od iskri i plamena. Isključite punjač prije spajanja ili odspajanja akumulatora.
Nosite zaštitnu odjeću i upotrebljavajte izolirane alate.
Kutija osigurača sustava prskalice nalazi se na stražnjoj strani kutije osigurača vozila. Zamijenite pregoreni osigurač osiguračem istog tipa i amperaže.

| Interval servisa održavanja | Postupak održavanja |
|---|---|
| Svakih 200 sati |
|
| Svakih 400 sati |
|
Provjerite svako crijevo sustava za prskanje i potražite znakove pucanja, curenja ili drugih oštećenja. Također provjerite pričvrsne elemente i potražite znakove sličnih oštećenja. Zamijenite sva oštećena crijeva i spojnice.
| Interval servisa održavanja | Postupak održavanja |
|---|---|
| Svakih 400 sati |
|
Note: Odredite odgovarajuću finoću sita usisnog filtra koja vam je potrebna; pogledajte Odabir usisnog filtra.
Parkirajte uređaj na ravnoj površini, aktivirajte ručnu kočnicu, isključite pumpu, ugasite motor i izvadite ključ.
Na vrhu spremnika za prskanje uklonite iz kućišta filtra držač koji pričvršćuje spojnicu crijeva spojenu na veliko crijevo (Slika 88).

Skinite crijevo i spojnicu crijeva s kućišta filtra (Slika 88).
Uklonite stari usisni filtar iz kućišta filtra u spremniku (Slika 89).
Note: Bacite stari filtar.

Postavite novi usisni filtar u kućište filtra.
Note: Filtar mora čvrsto sjesti na mjesto.
Poravnajte crijevo i spojnicu crijeva s kućištem filtra na vrhu spremnika i pričvrstite spojnicu i kućište s pomoću držača koji ste uklonili u koraku 2.
| Interval servisa održavanja | Postupak održavanja |
|---|---|
| Svakih 400 sati |
|
Note: Odredite odgovarajuću finoću sita tlačnog filtra koja vam je potrebna; pogledajte Odabir tlačnog filtra.
Parkirajte uređaj na ravnoj površini, aktivirajte ručnu kočnicu, isključite pumpu prskalice, ugasite motor i izvadite ključ.
Stavite posudu za pražnjenje ispod tlačnog filtra (Slika 90).

Okrenite čep za pražnjenje u smjeru suprotnom od kazaljki na satu i skinite ga s posude tlačnog filtra (Slika 90).
Note: Pustite da se posuda isprazni do kraja.
Okrenite posudu u smjeru suprotnom od kazaljki na satu i skinite glavu filtra (Slika 90).
Uklonite stari uložak tlačnog filtra (Slika 90).
Note: Odložite stari filtar.
Provjerite brtvu čepa za pražnjenje (unutar posude) i brtvu posude (unutar glave filtra) i ima li znakova oštećenja i trošenja (Slika 90).
Note: Zamijenite sve oštećene ili istrošene brtve čepa otvora, posude, ili oboje.
Postavite novi uložak tlačnog filtra u glavu filtra (Slika 90).
Note: Uložak filtra mora biti čvrsto postavljen u glavi filtra.
Postavite posudu na glavu filtra i pričvrstite rukom (Slika 90).
Stavite čep za pražnjenje na spojnicu na dnu posude i pričvrstite čep rukom (Slika 90).
Note: Odredite odgovarajuću finoću sita filtra mlaznice koja vam je potrebna; pogledajte Odabir filtra za vrh mlaznice (opcionalno).
Parkirajte uređaj na ravnoj površini, aktivirajte ručnu kočnicu, isključite pumpu prskalice, ugasite motor i izvadite ključ.
Skinite mlaznicu s obrtne glave prskalice (Slika 91).

Skinite stari filtar mlaznice (Slika 91).
Note: Bacite stari filtar.
Postavite novi filtar mlaznice (Slika 91).
Note: Filtar mora čvrsto sjesti na mjesto.
Postavite mlaznicu na obrtnu glavu prskalice (Slika 91).
| Interval servisa održavanja | Postupak održavanja |
|---|---|
| Svakih 400 sati |
|
Note: Sljedeće komponente uređaja smatraju se podložnima trošenju pri upotrebi, osim ako se utvrdi da su neispravne i nisu obuhvaćene jamstvom za ovaj uređaj.
Neka ovlašteni distributer tvrtke Toro provjeri ima li oštećenja na sljedećim unutarnjim dijelovima pumpe:
Membrana pumpe
Sklopovi nepovratnih ventila pumpe
Zamijenite komponente prema potrebi.
| Interval servisa održavanja | Postupak održavanja |
|---|---|
| Svakih 400 sati |
|
Parkirajte uređaj na ravnoj površini, aktivirajte ručnu kočnicu, isključite pumpu, ugasite motor i izvadite ključ.
Izvucite vanjske krakove u položaj za prskanje i poduprite krakove postoljima ili trakama i opremom za podizanje.
Skinite vijak i maticu koji pričvršćuju zakretni klin i skinite klin (Slika 92).

Skinite sklop kraka i okretnog nosača s krajnjeg žlijeba središnjeg okvira kako biste pristupili najlonskim čahurama.
Uklonite i provjerite najlonske čahure s prednje i stražnje strane okretnog nosača (Slika 92).
Note: Zamijenite sve istrošene ili oštećene čahure.
Podmažite najlonske čahure malom količinom ulja i postavite čahure u okretni nosač (Slika 92).
Poravnajte otvore na okretnom nosaču s otvorima u krajnjem žlijebu (Slika 92).
Postavite zakretni klin i pričvrstite ga s pomoću prirubnog vijka i prirubne matice koje ste uklonili u koraku 3.
Ponovite korake od 2 do 8 za drugi vanjski krak.
Sljedeći se postupak može upotrijebiti za podešavanje aktuatora na središnjem kraku kako bi lijevi i desni krak ostali u ravnini.
Izvucite krakove u položaj za prskanje.
Izvadite rascjepku iz zakretnog klina (Slika 93).

Podignite krak i uklonite klin (Slika 93) te polako spustite krak na tlo.
Provjerite ima li na klinu znakova oštećenja i po potrebi ga zamijenite.
Upotrijebite ključ na ravnim stranama šipke aktuatora kako biste je imobilizirali, a zatim otpustite protumaticu da biste mogli podesiti šipku s otvorom (Slika 94).

Okrenite šipku s otvorom u šipki aktuatora kako biste skratili ili produljili izvučeni aktuator na željeni položaj (Slika 94).
Note: Morate okretati šipku s otvorom za pola kruga ili puni krug kako biste mogli staviti šipku na krak.
Nakon što postignete željeni položaj, zategnite protumaticu kako biste pričvrstili aktuator i šipku s otvorom.
Podignite krak kako biste poravnali zakretni klin sa šipkom aktuatora.
Dok držite krak, umetnite klin kroz kućište zakretnog klina kraka i šipku aktuatora (Slika 93).
Nakon što postavite klin, otpustite krak i pričvrstite klin s pomoću rascjepke koju ste prethodno uklonili.
Ponovite postupak za svaki ležaj šipke aktuatora ako je potrebno.
Important: Za čišćenje uređaja nemojte upotrebljavati slanu ili tehnološku vodu.
| Interval servisa održavanja | Postupak održavanja |
|---|---|
| Svakih 200 sati |
|
Temeljito isperite i ispraznite cjelokupni sustav prskanja.
Skinite mjerač protoka s prskalice i isperite ga čistom vodom.
Uklonite prstenasti osigurač na uzvodnoj strani (Slika 95).

Očistite turbinu i glavčinu turbine kako biste uklonili sve metalne strugotine i močivi prah.
Provjerite jesu li oštrice turbine potrošene.
Note: Držite turbinu u ruci i zavrtite je. Trebala bi se nesmetano okretati uz vrlo malo otpora. Ako to nije slučaj, zamijenite je.
Sastavite mjerač protoka.
Upotrebljavajte niski tlak zraka (0,5 bara ili 50 kPa) kako bi se turbina nesmetano okretala.
Note: Ako se turbina ne okreće nesmetano, otpustite šesterokutni vijak na dnu glavčine turbine za 1/16 okreta dok se ne počne nesmetano okretati.
Prije nego što napustite položaj rukovatelja, učinite sljedeće:
Parkirajte uređaj na ravnoj površini.
Ugasite pumpu za prskanje.
Aktivirajte ručnu kočnicu.
Ugasite motor i izvadite ključ (ako postoji).
Pričekajte da se svi pomični dijelovi zaustave.
Pustite da se uređaj ohladi prije podešavanja, održavanja, čišćenja ili skladištenja.
Nemojte skladištiti uređaj ili spremnik za gorivo u blizini otvorenog plamena, iskri ili žižaka poput onih na bojlerima ili drugim uređajima.
Izvršite sljedeće postupke:
Important: Za čišćenje vozila nemojte upotrebljavati bočatu ili tehnološku vodu.
Prije nego što napustite uređaj, parkirajte uređaj na ravnoj površini; aktivirajte ručnu kočnicu; ugasite pumpu prskalice i motor; izvadite ključ i pričekajte da se svi pomični dijelovi zaustave.
Note: Za modele vozila Workman serije HD i HDX s ručnim prijenosom deaktivirajte PTO uređaj.
Očistite prljavštinu s cijelog uređaja, uključujući vanjsku stranu rashladnih rebara glave cilindra motora i kućišta ventilatora.
Important: Možete prati uređaj s pomoću blagog deterdženta i vode. Za pranje uređaja nemojte upotrebljavati visokotlačni mlaz vode. Pranje visokotlačnim peračem moglo bi oštetiti električni sustav ili isprati potrebna maziva na točkama trenja. Nemojte upotrebljavati prekomjerne količine vode, osobito u blizini upravljačke ploče, svjetala, motora i akumulatora.
Prije nego što napustite položaj rukovatelja pomaknite uređaj na površinu za pražnjenje, aktivirajte ručnu kočnicu, ugasite pumpu prskalice, ugasite motor; izvadite ključ i pričekajte da se svi pomični dijelovi zaustave.
Ispraznite spremnik za čistu vodu i ostavite slavinu spremnika otvorenu.
Ispraznite spremnik prskalice najviše što možete.
Pripremite otopinu netoksičnog antifriza s inhibitorom korozije koja nije na bazi alkohola; pogledajte Priprema sredstva za kondicioniranje.
Uklonite 1 crijevo mjerača tlaka sa spoja za lako povezivanje kako je prikazano na Slika 96.

Pokrenite motor i spustite vanjske krakove.
Neka pumpa prskalice radi nekoliko minuta kako bi antifriz cirkulirao kroz cijeli sustav za prskanje i postavljenu dodatnu opremu za prskanje.
Okrenite prekidače lijevog, središnjeg i desnog kraka u položaj UKLJUčENO.
Okrenite glavni prekidač krakova u položaj UKLJUčENO i provjerite sljedeće:
Iz odspojenog kraja crijeva mjerača tlaka mora teći antifriz.
Nastavite prskanje iz mlaznice sve dok antifriz ne postane vidljiv.
Okrenite glavni prekidač krakova u položaj ISKLJUčENO.
Okrenite prekidač pumpe u položaj ISKLJUčENO.
Podignite vanjske krakove s pomoću prekidača za podizanje krakova.
Podižite vanjske krakove dok se u potpunosti ne smjeste u transportni nosač u transportnom položaju u obliku slova X i dok cilindri za podizanje ne budu u potpunosti uvučeni.
Note: Cilindri za podizanje moraju biti skroz uvučeni kako se ne bi oštetila šipka aktuatora.
Ugasite motor.
Ispraznite spremnik prskalice najviše što možete.
Podmažite prskalicu; pogledajte Podmazivanje.
Provjerite i zategnite sve vijke, matične vijke i matice.
Note: Popravite ili zamijenite sve istrošene ili oštećene dijelove.
Provjerite stanje svih crijeva za prskanje.
Note: Zamijenite sva istrošena ili oštećena crijeva.
Pritegnite sve pričvrsne elemente crijeva.
Ogrebane ili gole metalne površine obojite bojom od ovlaštenog distributera tvrtke Toro.
Ako je potrebno, pripremite vozilo za dugoročno skladištenje; pročitajte Upute za upotrebu za vaše vozilo.
Čuvajte uređaj u čistoj, suhoj garaži ili skladišnom prostoru.
Pokrijte uređaj kako biste ga zaštitili i održali čistim.
Umetnite crijevo mjerača tlaka u spoj za lako povezivanje dok ne sjedne na mjesto (Slika 97).

Zatvorite slavinu spremnika za čistu vodu.
Dodajte gorivo u spremnik za gorivo.
Servisirajte vozilo; pogledajte Upute za upotrebu vašeg vozila.
Kapacitet opreme za podizanje: 408 kg
Sklop spremnika prskalice stvara opasnost od pohranjene energije. Neispravno držanje prilikom postavljanja ili uklanjanja sklopa moglo bi dovesti do njegovog pomicanja ili padanja te ozlijediti vas ili prolaznike.
Upotrebljavajte trake i mosnu dizalicu za pridržavanje sklopa spremnika prskalice za vrijeme postavljanja, uklanjanja ili održavanja prilikom kojeg morate skinuti pričvrsne elemente.
Odspojite kabele akumulatora s akumulatora; pogledajte Odspajanje akumulatora.
Odvojite kutiju osigurača prskalice od kutije osigurača uređaja i odspojite žice između 2 kutije osigurača; pogledajte Postavljanje kutije osigurača prskalice.
Uklonite kabelski svežanj s obujmica tipa J; pogledajte Provlačenje stražnjeg električnog kabelskog svežnja prskalice do upravljačke konzole.
Otpustite okretni gumb koji se nalazi ispod konzole i uklonite rascjepku; pogledajte Postavljanje upravljačke konzole na uređaj.
Odspojite priključke žica koje povezuju kutiju osigurača prskalice s kutijom osigurača uređaja; pogledajte Postavljanje kutije osigurača prskalice.
Odvojite kutiju osigurača prskalice od kutije osigurača uređaja; pogledajte Postavljanje kutije osigurača prskalice.
Skinite konzolu s montažnog nosača konzole na kontrolnoj ploči uređaja i poravnajte zakretni klin na upravljačkoj konzoli s nosačem na prednjem držaču spremnika (Slika 98); pogledajte Postavljanje upravljačke konzole na uređaj.

Stavite konzolu na nosač i pričvrstite zakretni klin za nosač s pomoću rascjepke (Slika 98).
Kapacitet opreme za podizanje: 408 kg
Poravnajte prednji podmetač s držačem na prednjoj strani spremnika (Slika 99).

Umetnite podmetač za pridržavanje u držač dok srednji otvor na horizontalnoj cijevi podmetača za pridržavanje ne bude u ravnini s otvorom na gornjoj strani držača (Slika 99).
Umetnite svornjak s poprečnim provrtom (½ × 3 inča) u otvore na podmetaču za pridržavanje i držaču i pričvrstite svornjak s poprečnim provrtom s pomoću rascjepke (5/32 × 2⅝ inča).
Navijte kotačić za zaključavanje položaja na držač i pritegnite ga rukom (Slika 99).
Poravnajte stražnji podmetač za pridržavanje sa stražnjim držačem podmetača (Slika 100).

Poravnajte otvor na gornjoj strani podmetača za pridržavanje s otvorom na okviru platforme spremnika (Slika 100)
Pričvrstite podmetač za pridržavanje za držač i okvir s pomoću 2 svornjaka s poprečnim provrtom (½ × 4½ inča) i 2 rascjepke (5/32 × 2⅝ inča) kako je prikazano na Slika 100.
Ponovite korake od 1 do 7 za prednje i stražnje podmetače za pridržavanje na drugoj strani platforme spremnika.
Upotrijebite podmetač i produžetak prednjeg podmetača za pridržavanje kako biste produljili podmetače za pridržavanje.

Spustite krakove na približno 45° i zatim ih okrenite prema naprijed (Slika 102).

Uklonite 2 vijka (½ × 1½ inča) i 2 sigurnosne matice (½ inča) koji pričvršćuju nosač držača sklopa platforme spremnika za nosač postolja na okviru sa svake strane uređaja; pogledajte Spuštanje platforme spremnika.
Podignite platformu spremnika s pomoću cilindara za podizanje, postavite bravu cilindra i učinite sljedeće:
Note: Pogledajte Podizanje sklopa spremnika.
Za modele vozila Workman serije HD i HDX s ručnim prijenosom odspojite osovinu PTO uređaja sa sklopa mjenjača i diferencijala PTO uređaja; pogledajte upute za postavljanje kompleta prskalice za finiširanje travnjaka Multi Pro WM, radno vozilo Workman s ručnim prijenosom.
Odspojite žice senzora brzine; pogledajte Povezivanje kabelskog svežnja senzora brzine (modeli serije HD s ručnim prijenosom).
Uklonite bravu cilindra i spustite platformu spremnika s pomoću cilindara za podizanje; pogledajte Spuštanje sklopa spremnika.
Spojite opremu za podizanje s horizontalnim cijevima prednjih podmetača za pridržavanje i vertikalnim stupom stražnjih podmetača za pridržavanje (Slika 102).
Podignite sklop spremnika 7,5 do 10 cm i uklonite preklopne osigurače i svornjake s poprečnim provrtom koji pričvršćuju cilindre za podizanje za sklop spremnika.
Podignite platformu spremnika s uređaja dovoljno visoko da platforma ne dodiruje uređaj (Slika 102).
Pažljivo pomaknite vozilo prema naprijed i udaljite se od platforme spremnika.
Polako spustite platformu spremnika na tlo.
| Problem | Possible Cause | Corrective Action |
|---|---|---|
| Nema prskanja iz kraka. |
|
|
| Krak se ne isključuje. |
|
|
| Iz ventila kraka curi voda. |
|
|
| Iz mlaznica prskalica curi voda kad je prekidač kraka isključen. |
|
|
| Tlak pada kad uključite krak. |
|
|
