| Bakım Servisi Aralıkları | Bakım Prosedürü |
|---|---|
| Her kullanımdan önce veya günlük |
|
Doğru kurulduğu takdirde bir makineyi özel bir çim püskürtme makinesine dönüştüren bu ataşman, özel olarak görevlendirilmiş profesyoneller tarafından ticari uygulamalarda kullanılmak üzere tasarlanmıştır. Öncelikle parklar, golf sahaları, spor sahaları ve ticari alanlardaki iyi bakımlı çimlere püskürtme yapmak için tasarlanmıştır.
Ürünü kullanmayı ve bakımlarını yapmayı öğrenmek ve olası yaralanmalar ile maddi hasarları önlemek için bu bilgileri dikkatle okuyun. Ürünü doğru ve emniyetli bir şekilde kullanmak sizin sorumluluğunuzdur.
Emniyet ipuçları gibi detaylı bilgilere, eğitim materyallerine ve aksesuar bilgilerine erişmek, bayi bulmak veya ürününüzü kaydettirmek için www.Toro.com adresine gidin.
Servise, orijinal Toro parçalarına veya ek bilgiye ihtiyaç duyduğunuz takdirde bir Yetkili Servis Merkeziyle ya da Toro Müşteri Hizmetleriyle iletişim kurun ve ürünün model ve seri numaralarını hazır bulundurun. Şekil 1, model ve seri numaralarının ürün üzerindeki yerini belirtir. Bu numaraları, ilgili alana yazın.
Important: Önemli: Garanti, yedek parça ve diğer ürün bilgilerine erişmek için, seri numarası etiketindeki (varsa) QR kodunu mobil aygıtınızla taratabilirsiniz.

Bu kılavuz, karşılaşılabilecek tehlikeleri tanımlar ve belirtilen talimatlara uymadığınız takdirde ağır yaralanma veya ölüme yol açabilecek bir tehlikeye işaret eden emniyet uyarısı sembolüyle (Şekil 2) gösterilmiş çeşitli emniyet mesajları verir.

Bu kılavuzda, bilgileri vurgulamak için 2 farklı sözcük kullanılır. Önemli sözcüğü bazı özel mekanik bilgilere dikkat çeker, Not sözcüğü ise dikkate alınması gereken genel bilgileri vurgular.
Bu ürün, ilgili tüm Avrupa direktiflerine uygundur. Detaylı bilgi için, ayrı olarak verilen Ürün Uygunluk Beyanı (DOC) sayfasını inceleyin.
California Kamu Kaynakları Yasası Bölüm 4442 veya 4443 uyarınca, motorun, Bölüm 4442'de belirtildiği gibi iyi çalışır durumdaki bir kıvılcım tutucuyla donatılmadığı veya yangının önlenmesine uygun bir şekilde üretilip tasarlanmadığı takdirde orman, çalı veya çimle kaplı bir yerde kullanılması veya çalıştırılması yasaktır.
CALIFORNIA
Öneri 65 Uyarısı
Bu ürünün kullanılması, Kaliforniya Eyaleti'nce kansere, doğum kusurlarına ve üreme sorunlarına yol açtığı bilinen kimyasallara maruz kalınmasına neden olabilir.
Operatörün veya ekipman sahibinin ekipmanı hatalı kullanması veya hatalı bakım yapması yaralanmayla sonuçlanabilir. Yaralanma risklerini azaltmak için bu emniyet talimatlarına her zaman uyun ve Dikkat, Uyarı veya Tehlike anlamına gelen emniyet uyarısı sembolüne (Şekil 2) çok dikkat edin. Bu talimata uyulmaması yaralanma veya ölüme yol açabilir.
Bu ürün, yaralanmaya yol açabilir. Ağır yaralanmaları önlemek için, tüm emniyet talimatlarına her zaman uyun.
Motoru çalıştırmadan önce bu Kullanma Kılavuzunu iyice okuyup anlayın.
Makineyi kullanırken tüm dikkatinizi işinize verin. Dikkatinizi dağıtabilecek başka şeylerle ilgilenmeyin, aksi takdirde yaralanma veya maddi hasar meydana gelebilir.
Kimyasal maddelerle kişisel temasa karşı gerekli kişisel koruyucu donanımı (KKD) kullanın. Püskürtme makinesinde kullanılan kimyasal maddeler tehlikeli ve zehirli olabilir.
Ellerinizi veya ayaklarınızı, makinenin hareketli parçalarının yakınına koymayın.
Tüm koruyucular ve emniyet aygıtları makinede ve çalışır durumda değilken makineyi çalıştırmayın.
Püskürtme nozullarının püskürtme yaptığı ve püskürtülen maddelerin uçuştuğu alanda hiç kimsenin olmamasını sağlayın. Çocukları ve çevredekileri çalışma alanından uzak tutun.
Çocukların makineyi kullanmasına asla izin vermeyin.
Makineyi düz bir zemine park edin, park frenini etkinleştirin, motoru kapatın, anahtarı (varsa) çıkarın ve operatör koltuğundan ayrılmadan önce tüm hareketin durmasını bekleyin. Makineyi ayarlamadan, bakım yapmadan, temizlemeden veya depoya kaldırmadan önce soğumasını bekleyin.
Bu makinenin uygunsuz bir şekilde kullanılması
veya uygun bakım işlemlerinin yapılmaması
yaralanmaya yol açabilir. Yaralanma risklerini azaltmak amacıyla
bu emniyet talimatlarına her zaman uyun ve Dikkat, Uyarı
veya Tehlike anlamına gelen emniyet uyarısı sembolüne
çok dikkat edin.
Bu talimatlara uyulmaması yaralanma veya ölümle sonuçlanabilir.
Bu makineye uyan her ek parça bu kılavuzda ele alınmamıştır. Ek güvenlik talimatları için her bir ek parçayla birlikte verilen kullanma kılavuzuna bakın.
![]() |
Tehlike potansiyeli barındıran tüm noktalara, operatör tarafından kolayca görülebilecek emniyet etiketleri ve talimatları yerleştirilmiştir. Hasar gören veya kaybolan etiketleri yenisiyle değiştirin. |

















Important: Seri numarası 416500000 ve üzeri olan 41240 modeli sadece manuel şanzımanlı Workman HDX makinelere takılabilir.
Note: Makinenin sağ ve sol taraflarını, normal çalışma konumuna göre belirleyin.
Note: Püskürtme kontrol sistemi hakkında sorularınız olursa veya ek bilgi almak isterseniz, sistemle birlikte verilen Kullanma Kılavuzuna bakın.
Important: Bu püskürtme makinesi, püskürtme nozulları olmadan satılır.Makineyi kullanabilmek için nozul satın almanız ve takmanız gerekir. Mevcut bölüm setleri ve aksesuarları hakkında bilgi almak için yetkili Toro distribütörünüze danışın. Nozulları taktıktan sonra ve püskürtme makinesini ilk kez kullanmadan önce, bölüm baypas valflerini, bir veya birkaç bölümü kapattığınız zaman basınç ve uygulama miktarı tüm bölümlerde aynı kalacak biçimde kalibre edin. Bkz. Püskürtme Makinesi Akışının Kalibre Edilmesi.
Important: Multi-Pro WM çim püskürtme makinesi, Workman aracına monte edilmiş 4 direkli bir ROPS (Devrilmeye Karşı Koruyucu Sistem) veya kabin kullanılmasını gerektirir.
Yatak bütün olarak yaklaşık 95 kg ağırlığındadır. Yatağı yardım almadan çıkarmaya çalışırsanız yaralanabilirsiniz.
Yatağı kendiniz takmaya veya çıkarmaya çalışmayın.
2 veya 3 kişiden yardım alın ya da bir gezer vinç kullanın.
Makineyi düz bir zemine park edin, park frenini etkinleştirin ve motoru çalıştırın.
Hidrolik kaldırma kolunu ileri hareket ettirin ve yatağı, silindir çubuğu uç kaldırma silindirlerinin çatal pimleri yatak montaj plakalarındaki montaj yuvalarına gevşek bir şekilde oturana kadar yatağı indirin.
Hidrolik kaldırma kolunu bırakın, hidrolik kaldırma kilidi kolunu ayarlayın, motoru kapatın ve anahtarı çıkarın; Makinenizin Kullanma Kılavuzuna bakın.
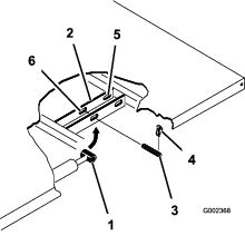
Silindir çubuğu çatal pimlerinin dış uçlarındaki sıkıştırma pimlerini çıkarın (Şekil 3).

Silindir çubuğu uçlarını yatak montaj plakalarına sabitleyen çatal pimleri, makinenin orta çizgisine doğru iterek yerinden çıkarın (Şekil 3).
Yatağın kılavuz braketlerini makinenin şasi kanallarına sabitleyen sıkıştırma pimleri ile çatal pimleri sökün (Şekil 4).

Yatağı makineden yukarı kaldırın.
Kaldırma silindirlerini saklama klipslerine yerleştirin.
Bu prosedür için gerekli parçalar:
| Arka PTO Seti, Ağır Hizmet Tipi Workman Araç (Manuel Şanzımanlı HD Serisi Modeller) | 1 |
| Multi Pro WM Çim Püskürtme Makinesi Boya Seti, Manuel Workman Genel Hizmet Aracı (Manuel Şanzımanlı HD Serisi Modeller) | 1 |
Manuel şanzımanlı HD ve HDX Serisi Workman modelleri için, Ağır Hizmet Tipi Workman Araçlara yönelik Arka PTO Setini tamamen takın; Ağır Hizmet Tipi Workman Araçlara yönelik Arka PTO Setinin Kurulum Talimatlarına bakın.
408 kg kaldırma kapasiteli bir kaldırma ekipmanı kullanarak, depo kızağını 2 ön ve 2 arka kaldırma noktasından nakliye kasasından kaldırın (Şekil 5).
Note: Depo kızağının kriko ayaklarını takacak kadar yükseğe kaldırıldığından emin olun.

Manuel şanzımanlı HD ve HDX Serisi Workman modellerinde, Manuel Şanzımanlı Workman Genel Hizmet Araçlarına yönelik Multi Pro WM Çim Püskürtme Makinesi Boya Seti için uygulanan adımları tamamlayın.
Bu prosedür için gerekli parçalar:
| Tutma braketleri | 2 |
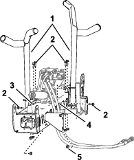
Motor borusunun destek braketini makinenin şasisine sabitleyen 2 arka flanşlı cıvatayı ve 2 flanşlı kilit somununu sökün (Şekil 6).
Note: Bu sabitleme elemanlarını daha sonra tekrar kullanmak üzere saklayın.

Depo kızağı tutma braketini takmak için gererken boşluğu sağlamak üzere kaldırma silindirini döndürün (Şekil 6).
Tutma braketlerini, 1. adımda söktüğünüz 2 flanşlı cıvata ile flanşlı kilit somunlarını kullanarak destek braketine ve şasiye monte edin (Şekil 7).

Cıvataları ve somunları 91 ila 113 N∙m torkla sıkın.
1 - 4 arası adımları makinenin diğer tarafında tekrarlayın.
Bu prosedür için gerekli parçalar:
| Depo ve kızak grubu | 1 |
| Çatal pimler | 2 |
| Konik çatal pim | 2 |
| Kopilyalar | 2 |
| Sıkıştırma pimleri | 4 |
| Cıvata (1/2 x 1-1/2 inç) | 2 |
| Somunlar (1/2 inç) | 2 |
Püskürtme deposu grubu, depolanmış enerjiden ötürü tehlike arz eder. Grubu takarken veya çıkarırken gerektiği gibi sıkı tutulmazsa grup hareket edebilir, yere düşebilir ve sizi veya çevredekileri yaralayabilir.
Sabitleme elemanlarını çıkardıysanız, kurulum, sökme veya bakım işleri sırasında püskürtme deposu grubunu kayışlarla ve üstten kaldırma ekipmanıyla destekleyin.
Bir lift kullanarak, depo kızak grubunu (Şekil 8) kaldırın ve pompa ile valf grupları arkaya bakacak şekilde araç şasisinin üzerine yerleştirin.
Note: Sonraki adımlarda başka bir kişiden yardım isteyin.

Depo kızağını makinenin şasisine yavaşça indirin.
Kaldırma silindirlerini depo kızağı üzerindeki braketlere doğru uzatın ve silindir bağlantı parçalarını depo kızağı braketlerindeki deliklerle hizalayın (Şekil 9).

Makinenin her iki tarafındaki çatal pimler ile kopilyaları kullanarak depo kızağını kaldırma silindirlerine sabitleyin.
Depo kızak grubunun arkasındaki kılavuz mapalardaki delikleri, araç şasisinin ucundaki yatak kılavuz borusunun delikleriyle hizalayın (Şekil 10).

Depo grubunu şasiye sabitlemek için kılavuz mapasına bir adet konik çatal pim ile 2 adet sıkıştırma pimi takın (Şekil 10).
Depoyu kaldırmak ve ağırlığını desteklemek için kaldırma silindirlerini uzatın.
Note: Depo grubunu kaldırma ekipmanından ayırın.
ROPS panelinin arka kısmındaki depolama braketlerinden yatak desteğini çıkarın (Şekil 11).

Yatak desteğini silindir çubuğunun üzerine itin ve destek ucu tırnaklarının, silindir haznesi ucu ile silindir çubuğu ucuna temas etmesini sağlayın (Şekil 12).

Püskürtme deposunun boşaltma valfini ve hortumunu kızak kanalına sabitleyen kablo bağını çıkarın (Şekil 13).

Boşaltma valfini ve hortumu kızak kanalının (Şekil 14A) dışına doğru hareket ettirin.

2 flanşlı cıvatayı (5/16 x 5/8 inç) boşaltma valfinin gövdesinden çıkarın (Şekil 14).
Boşaltma valfini, 3. adımda söktüğünüz 2 flanşlı cıvatayı (5/16 x 5/8 inç) kullanarak boşaltma valfi braketine (Şekil 14B) monte edin.
2 flanş başlı cıvatayı elle sıkın (Şekil 14B).
Akü kablolarının yanlış bağlanması, püskürtme makinesinin ve kabloların kıvılcım çıkarmasına sebep olabilir. Kıvılcımlar akü gazlarının patlamasına, bu da yaralanmaya yol açabilir.
Her zaman, artı (kırmızı) akü kablosunun bağlantısını ayırmadan önce eksi (siyah) akü kablosunun bağlantısını ayırın.
Her zaman, eksi (siyah) akü kablosunu bağlamadan önce artı (kırmızı) akü kablosunu bağlayın.
Akü bağlantı uçları veya metal aletler püskürtme makinesinin metal bileşenleriyle temas edip kısa devre oluşmasına, bu da kıvılcımlar çıkmasına yol açabilir. Kıvılcımlar akü gazlarının patlamasına, bu da yaralanmaya yol açabilir.
Aküyü takarken veya yerinden çıkarırken akü bağlantı uçlarının makinenin hiçbir metal parçasına temas etmesine izin vermeyin.
Metal aletlerin, akü bağlantı uçları ile makinenin metal parçaları arasında kısa devreye yol açmasına izin vermeyin.
Püskürtme makinesinin kablo demetinde, hız sensörü devresinin 3 soketli konnektörü ile araç devresinin 3 uçlu konnektörünü bulun.
Makinenin transaksında, makinenin hız sensörü kablo demetinin 3 uçlu konnektörünü püskürtme makinesinin hız sensörü kablo demetinin 3 soketli konnektörüne bağlayın (Şekil 16).

Püskürtme makinesi kablo demetinin araç devresi için olan 3 uçlu konnektörünü makine kablo demetinin araç devresi için olan 3 uçlu soketine bağlayın.
Multi Pro WM Çim Püskürtme Makinesi Boya Seti, Manuel Workman Genel Hizmet Aracı için verilen Kurulum Talimatlarına bakın.
Bu prosedür için gerekli parçalar:
| Konsol montaj braketi | 1 |
| Flanşlı kilit somunu (5/16 inç) | 3 |
| Flanşlı cıvata (5/16 inç) | 3 |
| Plastik burçlar | 2 |
| Kontrol konsolu | 1 |
| Yaylı klips pimi | 1 |
| El düğmesi | 1 |
Note: Bazı Workman araçlarda, kontrol montaj plakası, isteğe bağlı el gazı seti braketinin monte edildiği yerden gösterge paneline takılır. El gazı seti takılıysa, el gazı grubunun braketini gösterge panelinden çıkarmanız, kontrol montaj plakasını gösterge paneliyle hizalamanız ve el gazı braketini kontrol montaj plakasının üstüne takmanız gerekir. El gazı grubunun sökülmesi ve takılmasıyla ilgili talimatlar için El Gazı Setinin Kurulum Talimatlarına bakın.
Gösterge panelinin alt orta kısmını gösterge paneli destek braketine sabitleyen 3 cıvata ile 3 somunu sökün (Şekil 17).
Note: Bazı eski model Workman makinelerde 4 cıvata ve flanşlı somun kullanılmış olabilir.
Note: Cıvata ve somunları atın.

Kontrol konsolu montaj braketindeki delikleri gösterge paneli ve destek braketindeki deliklerle hizalayın (Şekil 17).
Montaj braketi gösterge paneli ile destek braketini 3 flanşlı cıvata (5/16 x 1 inç) ve 3 flanşlı kilit somunu (5/16 inç) kullanarak monte edin.
Somunları ve cıvataları (Şekil 17) torkla sıkın.
2 plastik burcu montaj braketine yerleştirin (Şekil 17).
Kontrol konsolunun kılavuz pimini püskürtme deposundaki saklama braketine sabitleyen kopilyayı sökün.
Kontrol konsolunu kontrol montaj braketine takın ve kontrol konsolunu yaylı klips pimiyle sabitleyin (Şekil 18).
Note: Yaylı klips pimini tam olarak sabitlemek için yaylı klipsin kılavuz pim üzerinde döndürüldüğünden emin olun.

Çalışma sırasında konsolun dönmesini önlemek için el düğmesini takın ve sıkın (Şekil 18).
Bu prosedür için gerekli parçalar:
| J klipsler | 3 |
| Cıvatalar (1/4 x 3/4 inç) | 1 |
| Flanşlı somun (¼ inç) | 1 |
Mevcut vidaları kullanarak orta konsola 2 J klips takın.

Bir cıvata (¼ x ½ inç) ve bir flanşlı somun (¼ inç) kullanarak yolcu koltuğunun arkasına bir J klips takın.

Kontrol konsolu kablo demetini, J klipsleri kullanarak konsola ve ROPS kapağına sabitleyin.
Püskürtme makinesinin arka kablo demetinin 3 uçlu konnektörü ile kontrol konsoluna bağlı ön kablo demetinin 3 soketli konnektörünü birbirine bağlayın.

Püskürtme makinesinin arka kablo demetinin 24 uçlu konnektörü ile kontrol konsoluna bağlı ön kablo demetinin 24 soketli konnektörünü birbirine bastırarak birleştirin.
İki konnektörü birbirine kilitlemek için 24 uçlu konnektör üzerindeki kolu ters çevirin.
Bu prosedür için gerekli parçalar:
| Sigorta etiketi (127-3966) | 1 |
Püskürtme makinesinin kontrol konsolunda, ön kablo demetinin sigorta blokları bulunan dalını gösterge panelinin en altı ile makine şasisinin çapraz borusu arasına ve oradan da makinenin sigorta blokunun ön tarafına doğru aşağı yönlendirin (Şekil 22).

Makinenin sigorta blokunun sarı renkli açık güç kablosunun ucundaki yalıtımsız alıcı terminali ve püskürtme makinesi kablo tesisatı sigorta blokunun isteğe bağlı sarı güç kablosunun ucundaki yalıtımlı kablo ucunu bulun (Şekil 23).

Makinenin sigorta blokunun yalıtımsız alıcı terminalini püskürtme makinesi sigorta blokunun yalıtımlı kablo ucuna bağlayın (Şekil 23).
Püskürtme makinesi sigorta blokundaki T bağlantı parçalarını makine sigorta blokunun T yuvalarıyla hizalayın ve sigorta bloku yerine tam oturana kadar püskürtme makinesi sigorta blokunu yuvaların içine doğru kaydırın (Şekil 24).

Sigorta etiketini, püskürtme makinesi sigorta blokunun yakınındaki bir yüzeye takın.
Bu prosedür için gerekli parçalar:
| Akü terminal cıvatası | 2 |
| Sıkıştırma somunu | 2 |
| Kapak—geniş (akü terminali—kırmızı) | 1 |
Akü kablolarının yanlış bağlanması, püskürtme makinesinin ve kabloların kıvılcım çıkarmasına sebep olabilir. Kıvılcımlar akü gazlarının patlamasına, bu da yaralanmaya yol açabilir.
Her zaman, eksi (siyah) akü kablosunu bağlamadan önce artı (kırmızı) akü kablosunu bağlayın.
Artı ve eksi akü kablolarının kelepçelerindeki somunları ve T cıvataları sökün (Şekil 25).
Note: Bu somunlara ve T cıvatalara artık ihtiyacınız yoktur.

Kapağı (dar), artı akü kablosundan çıkarın (Şekil 26).
Note: Bu dar akü kapağına artık ihtiyacınız yoktur.

Geniş akü kapağını, Şekil 26 ile gösterildiği gibi artı akü kablosunun üzerine takın.
Note: Kutup başı kelepçesine erişim sağlamak için kapağı kabloların üzerinden yeterince uzağa kaydırın.
Eriyebilir bağlantının halka terminalini (püskürtme makinesi kablo demeti), Şekil 27 ile gösterildiği gibi geniş akü kapağıyla hizalayın.

Artı ve eksi akü kablosu kelepçelerine gevşek bir şekilde bir terminal cıvatası ve bir kelepçe somunu takın (Şekil 28).

Eriyebilir bağlantının (püskürtme makinesi kablo demeti) halka terminalini, artı akü kablosuna monte ettiğiniz terminal cıvatasının sapına bir sıkıştırma somunuyla sabitleyin (Şekil 29).

Eksi kablonun (siyah—püskürtme makinesi kablo demeti) halka terminalini, eksi akü kablosuna monte ettiğiniz terminal cıvatasının sapına bir sıkıştırma somunuyla sabitleyin (Şekil 29).
Artı akü kablosunu artı akü kutup başına monte edin ve sıkıştırma somununu elle sıkın (Şekil 30).

Eksi akü kablosunu eksi akü kutup başına monte edin ve sıkıştırma somununu elle sıkın.
Akü kapağının kenarlarını sıkın, kapağın tırnaklarını akü tabanındaki yuvalarla hizalayın ve akü kapağını serbest bırakın (Şekil 31).

Bu prosedür için gerekli parçalar:
| Cıvata (½ x 1½ inç) | 2 |
| Kilit somunu (½ inç) | 2 |
Makineyi çalıştırın ve kaldırma silindirlerini kullanarak depo kızağını hafifçe kaldırın.
Yatak desteğini kaldırma silindirinden çıkarın ve desteği ROPS panelinin arkasındaki saklama braketlerine (Şekil 32 ve Şekil 33) yerleştirin.


Kaldırma silindirlerini kullanarak depoyu yavaşça şasiye indirin.
Note: Başka bir kişinden, depo kızağını alçaltılırken gözlemlemesini isteyin. Sıkışmış veya bükülmüş hortumlar ya da kablolar olmadığını kontrol edin.
Depo kızağının makine şasisi ile olan hizalamasını kontrol edin.
Kızak şasisinin her iki tarafındaki erişim panellerini çıkarın (Şekil 34).

Kızak şasisindeki açıklıktan görebildiğiniz hortumları veya kabloları sıkışma veya bükülme açısından kontrol edin.
Important: Depo kızağı grubundaki bir hortum veya kablo sıkışmış ya da bükülmüş ise grubu yukarı kaldırın, konumunu ayarlayın ve parçaları tekrar bağlayın.
Ön montaj braketlerini, Depo Kızağı için Tutma Braketlerinin Takılması adımında taktığınız tutma braketleri ile hizalayın.
Depo kızağı grubu tutma braketini, Şekil 34 ile gösterildiği gibi bir cıvata (1/2 x 1-1/2 inç) ve bir kilit somunu (1/2 inç) kullanarak makinenin her iki tarafındaki yatak braketine sabitleyin.
Cıvata ve somunu 91 ila 113 N∙m torkla sıkın.
7 - 9 arası adımları depo kızağının ve makinenin diğer tarafında da tekrarlayın.
Bu prosedür için gerekli parçalar:
| Orta boom grubu | 1 |
| Cıvata (⅜ x 1 inç) | 10 |
| Flanşlı kilit somunu (⅜ inç) | 10 |
| Boom taşıma kızağı | 2 |
| Cıvata (1/2 x 1-1/4 inç) | 4 |
| Flanşlı somun (½ inç) | 4 |
Kaldırma ekipmanını orta boom bölümüne takın ve nakliye konteynerinden çıkarın.
Boom taşıma kızaklarını orta boom bölümüyle hizalayın (Şekil 35).

Kızakları, 6 cıvata (3/8 x 1 inç) ve 6 flanşlı kilit somunu (3/8 inç) kullanarak boom bölümüne (Şekil 35 ve Şekil 36) monte edin.

Cıvataları ve somunları 37 ila 45 N∙m torkla sıkın.
Makineyi çalıştırın, yatak desteğini kaldırma silindirinden çıkarın, desteği yerleştirin, depo kızağını indirin, makinenin motorunu kapatın ve anahtarı kontak yuvasından çıkarın.
Orta boom düzeneğinin ilgili bölüm montaj braketlerindeki alt deliği, Şekil 37 ile gösterildiği gibi püskürtme kızağı şasisindeki boom desteklerinde bulunan alttan üçüncü delikle hizalayın.
Note: Gerekiyorsa, daha iyi bir delik hizalaması için boom desteklerini gevşetin ve orta boom bölümüne göre ayarlayın. Cıvataları ve somunları 67 ila 83 N∙m torkla sıkın.

Orta boom grubunu 4 cıvata (1/2 x 1-1/4 inç) ve 4 kilit somunu (1/2 inç) kullanarak püskürtme kızağı şasisine monte edin.
Cıvataları ve somunları 67 ila 83 N∙m torkla sıkın.
Multi Pro WM Çim Püskürtme Makinesi Boya Seti, Manuel Workman Genel Hizmet Aracı için verilen kurulum talimatlarına bakın.
Bu prosedür için gerekli parçalar:
| Sol boom bölümü | 1 |
| Sağ boom bölümü | 1 |
| Flanşlı cıvatalar (3/8 x 1-1/4 inç) | 8 |
| Destek plakaları | 8 |
| Flanşlı kilit somunları (3/8 inç) | 8 |
| Çatal pim | 2 |
| Kopilya | 2 |
Her boom bölümü yaklaşık 14 kg ağırlığındadır.
Orta boom bölümünün menteşe braketindeki 4 flanşlı cıvatayı (3/8 x 1-1/4 inç), 4 destek plakasını ve 4 flanşlı kilit somununu (3/8 inç) sökün.
Orta boom bölümünün ucundaki her bir kılavuz braketi, braketler dikey hizalanacak şekilde döndürün (Şekil 38).

Dış boom bölümünü kaldırın ve dış boom bölümünün ucundaki üçgen montaj plakasında bulunan delikleri kılavuz braketindeki deliklerle hizalayın.
Note: Püskürtme nozullarının döner başlıklarının arkaya doğru baktığından emin olun.
Menteşe plakasını, 1. adımda söktüğünüz 4 flanşlı cıvata, 4 destek plakası ve 4 flanşlı kilit somununu (Şekil 38) kullanarak üçgen plakaya monte edin.
Cıvataları ve somunları 37 ila 45 N∙m torkla sıkın.
Boom kaldırma silindirinin çubuk ucunu, kılavuz braketinin borusundaki deliklerle hizalayın (Şekil 38).

Çatal pimi ve kopilyayı kullanarak çubuk ucunu kılavuz braketine sabitleyin (Şekil 38).
1 - 5 arası adımları, orta boom grubunun karşı tarafındaki boom bölümünde de tekrarlayın.
Note: Bu prosedürü tamamlamadan önce, püskürtme nozullarının tüm döner başlıklarının arkaya baktığından emin olun.
Bu prosedür için gerekli parçalar:
| Hortum kelepçeleri | 3 |
| R-Kelepçe | 2 |
| Omuz cıvatası | 2 |
| Rondela | 2 |
| Somun | 2 |
Boom bölümü hortumlarını Şekil 40 ve Şekil 41 ile gösterildiği gibi yönlendirin.


1 R kelepçe, 1 omuz cıvatası (5/16 x 1 inç), 1 kilit somunu (5/16 inç) ve 1 rondela (5/16 inç) kullanarak boom hortumlarını orta boom bölümünün ön tarafına (Şekil 40 ve Şekil 41) sabitleyin.
Boom bölümü hortumunu boom bölümündeki tırtıklı T bağlantı parçasının üzerine takın ve hortumu bir hortum kelepçesiyle sabitleyin (Şekil 40 ve Şekil 41).
Note: Hortumun montajını kolaylaştırmak için T bağlantı parçasının tırtıklı kısmına bir kat sıvı sabun sürün.
1 - 3 arası adımları, püskürtme makinesinin diğer tarafındaki boom bölümüne giden hortumlar için de tekrarlayın.
Orta boom bölümü hortumunu Şekil 42 ile gösterildiği gibi yönlendirin.

Boom bölümü hortumunu orta boom bölümündeki tırtıklı T bağlantı parçasının üzerine takın ve hortumu bir hortum kelepçesiyle sabitleyin (Şekil 42).
Note: Hortumun montajını kolaylaştırmak için T bağlantı parçasının tırtıklı kısmına bir kat sıvı sabun sürün.
Kimyasalları uygulamak için kullanacağınız nozullar ihtiyacınız olan uygulama hızına göre değiştiğinden nozullar set ile birlikte verilmez. İhtiyaçlarınıza uygun nozulları elde etmek için yetkili Toro distribütörünüzle iletişime geçin ve şu bilgileri verin:
Hektar başına litre, dönüm başına ABD galonu veya 1.000 fit kare başına ABD galonu cinsinden hedef uygulama miktarı.
Aracın saatteki hedef hızı (kilometre veya mil cinsinden).
Nozulu nozul yuvasına geçirin ve bir conta takın.
Nozul yuvasını nozul bağlantı parçası üzerinden kaydırarak döner püskürtme başlıklarından birinin üzerine oturtun.
Yuvadaki kamları yerine kilitlemek için nozulu saat yönünde çevirin.
Nozulun fan kısmını kontrol edin.
Daha fazla bilgi için nozullarla birlikte verilen Kurulum Talimatlarına bakın.
Bu prosedür için gerekli parçalar:
| Tatlı su deposu | 1 |
| 90° dirsek (3/4 inç NPT) | 1 |
| 90° musluk tapası | 1 |
| Tatlı su deposu montaj yatağı | 1 |
| Montaj kayışı | 4 |
| Flanşlı cıvata (5/16 x 5/8 inç) | 4 |
| Flanşlı kilit somunu (5/16 inç) | 10 |
| Destek borusu (tatlı su deposu) | 1 |
| Sıkıştırma somunu (5/16 inç) | 1 |
| Cıvata (5/16 x 1 inç) | 1 |
| Omuz cıvatası (1/2x1-15/16 inç) | 2 |
| Cıvata (5/16 x 2-1/4 inç) | 2 |
| Rondela (5/16 inç) | 2 |
Tatlı su deposunu, Şekil 43 ile gösterildiği gibi 2 montaj kayışı, 4 flanşlı cıvata (5/16 x 5/8 inç) ve 4 flanşlı kilit somunu (5/16 inç) kullanarak tatlı su deposu yatağına monte edin.
Note: Dirseğin ve musluk tapasının, deponun tatlı su deposu etiketi ile aynı tarafına hizalandığından emin olun.

Cıvataları ve somunları 20 ila 25 N∙m torkla sıkın.
Tatlı su deposu destek borusunu depo desteği kanalıyla hizalayın (Şekil 44).

Destek borusundaki delikleri kanaldaki deliklerle hizalayın (Şekil 44).
Boruyu, 2 omuz cıvatası (1/2 x 1-15/16 inç) ve 2 flanşlı somunu (5/16 inç) kullanarak kanala (Şekil 44) sabitleyin.
Cıvataları ve somunları 20 ila 25 N∙m torkla sıkın.
Sıkıştırma somununu (5/16 inç) Şekil 44 ile gösterildiği gibi cıvataya (5/16 x 1 inç) geçirin.
Cıvatayı (5/16 x 1 inç) ve sıkıştırma somununu depo desteği kanalının altındaki kaynak somununa geçirin ve cıvata ile sıkıştırma somununu elle sıkın (Şekil 44).
Note: Multi-Pro WM çim püskürtme makinesi, Workman aracına monte edilmiş 4 direkli bir ROPS veya kabin kullanılmasını gerektirir.
Tatlı su deposunu toplayın ve Şekil 45 ile gösterildiği gibi 2 cıvata (5/16 x 2-1/4 inç) ve 2 flanşlı kilit somunu (5/16 inç) kullanarak destek borusuna monte edin.

Cıvataları ve somunları 20 ila 25 N∙m torkla sıkın.
Bu prosedür için gerekli parçalar:
| Doldurma yuvası grubu | 1 |
| Flanşlı cıvata (5/16 x 3/4 inç) | 1 |
Doldurma yuvası grubunu depodaki dişli deliğin üzerine yerleştirin ve (Şekil 46) flanşlı bir cıvatayla (5/16 x 3/4 inç) sabitleyin.

Bu prosedür için gerekli parçalar:
| Ön kriko ayağı | 2 |
| Arka kriko ayağı | 2 |
| Kamalı Pim | 4 |
| Çatal pim (4-1/2 inç) | 2 |
| Çatal pim (3 inç) | 2 |
| Düğme | 2 |
Ön kriko ayaklarını baş aşağı yönlendirerek ön bağlantı noktalarının yakınından şasinin içine sokun (Şekil 47).

Ön kriko ayaklarını, ayaklardaki orta delikten 2 çatal pimi (3 inç) ve 2 kamalı pim ile sabitleyin.
Arka kriko ayaklarını alt kısımdan yukarı doğru yönlendirerek arka bağlantı noktalarının yakınından şasinin içine sokun (Şekil 48).

Arka kriko ayaklarını, ayaklardaki son delikten 4 çatal pimi (4-1/2 inç) ve 4 kamalı pim ile sabitleyin.

Note: Bu 6 düğmeli Bilgi Merkezi yalnızca HDX manuel Workman ile kullanılabilir. Eğer bir Workman HDX-Auto makineniz varsa, lütfen 3 düğmeli Bilgi Merkezini kullanmaya devam edin.
Bilgi Merkezi LCD ekranı, makineniz ve akü paketine ilişkin güncel akü şarj durumu, makine hızı, arıza tespit bilgileri vb. pek çok bilgiyi gösterir. Detaylı bilgi için bkz. Bilgi Merkezinin Kullanılması.
Ana seçim anahtarı (Şekil 49) konsolun yanında, operatör koltuğunun sağında bulunur. Püskürtme işlemini başlatmanıza veya durdurmanıza imkan tanır. Püskürtme sistemini etkinleştirmek veya devre dışı bırakmak için anahtara basın.
Sol, orta ve sağ bölüm anahtarları kumanda panelinde bulunur (Şekil 49). İlgili bölümü çalıştırmak için ilgili anahtarı ileriye, kapatmak içinse geriye doğru bastırın. Anahtar çalışınca üzerinde bir ışık yanar. Bu anahtarlar püskürtme sistemini yalnızca ana bölüm anahtarı açıkken etkilerler.
Uygulama miktarı anahtarı, kontrol panelinin sol tarafında bulunur (Şekil 49). Püskürtme sistemi uygulama miktarını artırmak için anahtarı yukarı doğru, azaltmak içinse aşağı doğru basılı tutun.
Boom bölümü kaldırma anahtarları kumanda panelinde bulunur ve dış boom bölümlerini yukarı kaldırmak için kullanılır.
Deponun arkasında bulunan regülatör valf (Şekil 50): Bu ayar valfi, bölüm valflerine yönlendirilen sıvı miktarını veya depoya geri dönüş miktarını kontrol eder.

Akış ölçer, akışkanın boom bölüm valflerine akış hızını ölçer (Şekil 50).
Püskürtme basıncını sol, orta ve sağ boom bölümlerindeki püskürtme nozullarına uygulanacak biçimde açmak veya kapatmak için boom bölüm valflerini kullanın (Şekil 50).
Boom bölüm baypas valfleri (Şekil 51), boom bölümünü kapattığınızda sıvı akışını bir boomdan depoya yönlendirir. Hangi boom kombinasyonunu kullanıyor olursanız olun, boom basıncının sabit kalmasını sağlamak için bu valfleri ayarlayabilirsiniz; bkz. Bölüm Baypas Valflerinin Kalibre Edilmesi.

Bu valf, deponun sol arka kısmındadır (Şekil 52). Deponun karıştırılması işlevini çalıştırmak için valf üzerindeki düğmeyi saat 6 konumuna, işlevi kapatmak içinse saat 8 konumuna çevirin.

Note: Manuel şanzımanlı HD serisi modeller—Karıştırma işlevinin çalışması için PTO ile debriyajın devreye girmesi ve motorun rölantiden yüksek bir devirde çalışıyor olması gerekir. Püskürtme makinesini durdurursanız ve depoda dolaşan malzemeyi karıştırmanız gerekiyorsa, vites kolunu BOşkonumuna getirin, debriyajı serbest bırakın, park frenini etkinleştirin ve el gazını (varsa) ayarlayın.
Püskürtme pompası makinenin arkasında bulunur.
Makinenin orta konsolundaki PTO kolunu ETKINLEşTIR konumuna getirerek pompayı çalıştırın; pompayı durdurmak için PTO kolunu DEVREDEN çıKAR konumuna getirin. Workman HDX Genel Hizmet Aracı Kullanma Kılavuzuna bakın.

Note: Tasarım ve teknik özellikler önceden haber verilmeden değiştirilebilir.
| Püskürtme sistemi taban ağırlığı (araç ağırlığı hariç) | 424 kg |
| Depo kapasitesi | 757 litre |
| Standart püskürtme sistemiyle birlikte toplam araç uzunluğu | 422 cm |
| Deponun üstüne standart püskürtme sistemi takılmış olarak toplam araç yüksekliği | 147 cm |
| Standart püskürtme sistemi takılmış ve boomlar X şeklinde saklanmış olarak toplam araç yüksekliği | 234 cm |
| Standart püskürtme sistemi takılmış ve boomlar X şeklinde saklanmış olarak toplam araç genişliği | 175 cm |
Makine işlevlerini artırmak amacıyla makineyle birlikte kullanılabilecek çok sayıda Toro onaylı ek parça ve aksesuar vardır. Onaylanmış tüm ek parça ve aksesuarların bir listesi için Yetkili Toro Bayinize veya distribütörünüze ulaşın ya da www.Toro.com adresine gidin.
Makinenin en yüksek performansı sergilemesi ve emniyet sertifikası geçerliliğinin korunması için sadece orijinal Toro yedek parça ve aksesuarlarını kullanın.
Note: Makinenin sağ ve sol taraflarını, normal çalışma konumuna göre belirleyin.
Note: Aracı püskürtme makinesi takılı olarak bir römork üzerinde taşımanız gerekiyorsa boomların sıkıca bağlanıp sabitlendiğinden emin olun.
Çocukların ve eğitimsiz kişilerin makineyi kullanmalarına veya bakım yapmalarına asla izin vermeyin. Yerel yönetmelikler operatör yaşını sınırlandırabilir. Makine sahibi, tüm operatör ve bakım teknisyenlerinin eğitilmesini sağlamakla sorumludur.
Ekipmanın ve operatör kontrollerinin emniyetli bir şekilde kullanılmasını ve emniyet etiketlerinin anlamlarını öğrenin.
Operatör konumundan ayrılmadan önce şunları yapın:
Makineyi düz bir zemine park edin.
Vitesi BOş konumuna getirin.
Park frenini etkinleştirin.
Motoru kapatın ve anahtarı çıkarın (varsa).
Tüm hareketin durmasını bekleyin.
Makineyi ve motorunu hızla durdurmayı öğrenin.
Operatör mevcudiyet kontrollerinin, emniyet anahtarlarının ve koruyucuların takılı ve sorunsuz çalışır duruma olduğunu kontrol edin. Bunlarda sorunlar varsa makineyi çalıştırmayın.
Makine düzgün çalışmıyorsa veya herhangi bir şekilde hasarlıysa makineyi kullanmayın. Makine veya ek parçayı çalıştırmadan önce sorunu giderin.
Sisteme basınç uygulamadan önce tüm sıvı bağlantı parçalarının sıkı ve tüm hortumların iyi durumda olduğundan emin olun.
Püskürtme sisteminde kullanılan kimyasal maddeler siz, çevredekiler, hayvanlar, bitkiler, toprak ve diğer maddeler için tehlikeli veya zehirli olabilir.
Her bir kimyasal hakkında bilgileri okuyun. Bu bilgiler mevcut değilse püskürtme makinesini çalıştırmayı veya makine üzerinde çalışmayı kabul etmeyin.
Bir püskürtme sisteminde çalışmadan önce, sistemin, kimyasal madde üreticilerinin tavsiyeleri doğrultusunda üç kez duru suyla yıkanıp nötrleştirildiğinden ve tüm valflerin 3 kez çevrime tabi tutulduğundan emin olun.
Yakınlarda yeterli miktarda temiz su ve sabun bulunduğundan emin olun ve vücudunuza temas eden kimyasalları derhal yıkayarak giderin.
Kullanılan tüm kimyasallarla ilgili kimyasal uyarı etiketlerini ve güvenlik bilgi sayfalarını (SDS) dikkatle okuyun, buralarda bildirilen talimatlara uyun ve kendinizi kimyasal madde üreticisinin tavsiyelerine göre koruyun.
Kimyasalları kullanırken vücudunuzu her zaman koruyun. Kimyasallarla kişisel temasa karşı gerekli kişisel koruyucu donanımı (KKD) kullanın; örneğin:
emniyet gözlükleri, gözlükler ve/veya yüz siperi
kimyasal elbisesi
solunum aparatı veya filtreli maske
kimyasala dayanıklı eldivenler
kauçuk botlar veya başka koruyucu ayakkabılar
temiz yedek giysiler, sabun ve kimyasalları temizlemek için tek kullanımlık havlular
Kimyasalları kullanmadan veya elleçlemeden önce gerekli eğitimi alın.
İş için doğru kimyasalı kullanın.
Kimyasalı emniyetli bir şekilde uygulamak için kimyasal madde üreticisinin talimatlarına uyun. Tavsiye edilen sistem uygulama basıncını aşmayın.
Çevrede insanlar (özellikle çocuklar) veya hayvanlar varken makineyi doldurmayın, kalibre etmeyin veya temizlemeyin.
Kimyasalları, iyi havalandırılmış bir yerde elleçleyin.
Kimyasalların yakınında çalışırken hiçbir şey yemeyin, içmeyin ve sigara içmeyin.
Püskürtme nozullarını, nozullardan hava üfleyerek veya nozulları ağzınıza sokarak temizlemeyin.
Kimyasallarla çalışmanız bittikten sonra ellerinizi ve kimyasala maruz kalan diğer yerlerinizi hemen yıkayın.
Kimyasalları orijinal ambalajlarının içinde güvenli bir yerde muhafaza edin.
Kullanılmış kimyasalları ve kimyasal kaplarını, kimyasal madde üreticisinin belirttiği gibi ve yerel yönetmeliklere uygun bir şekilde bertaraf edin.
Kimyasallar ve dumanlar tehlikelidir; depoya asla girmeyin veya başınızı depo ağzına veya içine sokmayın.
Kimyasalları püskürtme veya dağıtma konusundaki tüm yerel ve ulusal yönetmeliklere uyun.
Note: Bu 6 düğmeli Bilgi Merkezi yalnızca HDX manuel Workman ile kullanılabilir. Eğer bir Workman HDX-Auto makineniz varsa, lütfen 3 düğmeli Bilgi Merkezi’ni kullanmaya devam edin.
Bilgi Merkezi LCD ekranı makinenizle ilgili olarak çalışma durumu, çeşitli arıza teşhis bilgileri ve benzeri gibi farklı türden bilgiler sunar. Bilgi Merkezinin bir açılış ekranı ile bir ana bilgi ekranı vardır. Bilgi Merkezi düğmelerinden herhangi birine basıp ilgili yön okunu seçerek açılış ekranı ile ana bilgi ekranı arasında dilediğiniz zaman geçiş yapabilirsiniz.

Note: Her bir düğmenin amacı, o an hangi işleve ihtiyaç duyulduğuna göre değişebilir. LCD ekran, her düğmenin üzerinde o düğmenin mevcut işlevini belirten bir simge gösterir.
![]() | Menü | ![]() | Depo boş (%10'dan az hacim) | |
![]() | Yukarı/aşağı kaydırma | ![]() | Depo hacmi düşük (%10 ila %29) | |
![]() | Sola/sağa kaydırma | ![]() | Depo hacmi yarı dolu (%30 ila %69) | |
![]() | Önceki ekran | ![]() | Depo hacmi dolu (%70 ila %100) | |
![]() | Değeri düşür | ![]() | Depo hacmini 1 galon artır | |
![]() | Değeri artır | ![]() | Depo hacmini 10 galon artır | |
![]() | Kabul et | ![]() | Depo hacmini 25 Litre artır | |
![]() | Kaydet | ![]() | Boom kapalı | |
![]() | PIN Kodu | ![]() | Boom aktif | |
![]() | Çıkış (Arıza) menüsü | ![]() | Tüm alanları temizle | |
![]() | Akü voltajı | ![]() | Aktif alanı temizle | |
![]() | Saat Ölçer | ![]() | Püskürtme yapılan alanlar | |
![]() | Kilitli | ![]() | Tüm alanlar ekranı | |
![]() | Bir püskürtme makinesi alanına git | |||
![]() | Bir püskürtme makinesi alanına git |
Bilgi Merkezi ekran menü sistemine erişmek için ana ekrandayken geri düğmesine basın. Ana menüye yönlendirilirsiniz. Menülerdeki seçeneklere genel bir bakış için aşağıdaki tabloları inceleyin.
Protected
under Protected Menus (Korumalı Menüler Altında
Korunuyor) — sadece PIN kodu girilerek erişilebilir
| Menü Öğesi | Açıklama |
| Kalibrasyon | Kalibrasyon menüsü, akış ölçerin ve hız sensörünün kalibre edilmesine yardımcı olur. |
| Ayarlar | Ayarlar menüsü, ekran yapılandırma değişkenlerini kişiselleştirmenize ve değiştirmenize olanak tanır. |
| Makine Ayarları | Makine Ayarları menüsü, makine değişkenlerini yapılandırmanıza olanak tanır. |
| Servis | Servis menüsü, makineyle ilgili kullanım saatleri ve makine arızaları gibi bilgiler içerir. |
| Arıza Teşhis | Arıza Teşhis menüsü, her bir makine anahtarının, sensörünün ve kontrol çıkışının durumunu gösterir. Hangi makine kontrollerinin açık hangilerinin kapalı olduğunu hızlıca gösteren bu menüyü kullanarak bazı sorunları giderebilirsiniz. |
| Hakkında | Hakkında menüsü, makinenizin model numarasını, seri numarasını ve yazılım sürümünü gösterir. |
| Menü Öğesi | Açıklama |
| Test Hızı | Kalibrasyon için test hızını ayarlar. |
| Akış Kalibrasyonu | Akış ölçeri kalibre eder. |
| Hız Kalibrasyonu | Hız sensörünü kalibre eder. |
| Varsayılan akış kalibrasyonunu kullan | Akış kalibrasyonu, gerçek hacme değil varsayılan hesaplanmış ortalamaya sıfırlanır. |
| Varsayılan hız kalibrasyonunu kullan | Hız kalibrasyonu, gerçek hıza değil varsayılan hesaplanmış ortalamaya sıfırlanır. |
| Menü Öğesi | Açıklama |
| PIN Düzenle | Şirketinizin bir PIN koduyla yetkilendirdiği bir kişinin (denetmen/bakım teknisyeni) korumalı menülere erişebilmesine imkan tanır. |
Ayarları Koru![]() | Korunan ayarlardaki ayarların değiştirilebilmesine imkan tanır. |
Varsayılanlara Sıfırla ![]() | Varsayılan değerlere sıfırlar. |
| Backlight (Arka Plan Aydınlatması) | LCD ekranın parlaklığını kontrol eder.. |
| Dil | Ekranda kullanılan dili kontrol eder. |
| Birimler | Ekranda kullanılan birimleri kontrol eder (İngiliz, Turf veya Metrik). |
| Menü Öğesi | Açıklama |
| Depo Uyarısı | Düşük depo hacmi alarmını ayarlar. |
Sol Boom ![]() | Sol bölümün genişliğini ayarlar. |
Orta Boom ![]() | Orta bölümün genişliğini ayarlar. |
Sağ Boom ![]() | Sağ bölümün genişliğini ayarlar. |
Varsayılanlara Sıfırla ![]() | Varsayılan değerlere sıfırlar. |
| Menü Öğesi | Açıklama |
| Arızalar | Arızalar menüsü, son makine arızalarının bir listesini sunar. Arızalar menüsü ve içerdiği bilgiler hakkında daha fazla bilgi edinmek için Servis Kılavuzuna veya yetkili Toro Distribütörünüze başvurun. |
| Saat | Makinenin, motorun ve PTO’nun açık olduğu toplam saat sayısının yanı sıra makinenin nakliyede geçirdiği toplam saat sayısını ve servis zamanını gösterir. |
Akış Hızı ![]() | Güncel akış miktarını gösterir. |
Akış Kalibrasyonu Değeri![]() | Öngörülen akış ile kalibre edilen akış arasındaki farkı hesaplamak için kullanılan güncel çarpanı gösterir. |
Hız Kalibrasyonu Değeri![]() | Öngörülen hız ile kalibre edilen hız arasındaki farkı hesaplamak için kullanılan güncel çarpanı gösterir. |
| Menü Öğesi | Açıklama |
| Pompalar | Geçici durulama ve zamanlanmış durulama seçeneklerine erişim sağlar. |
| Boom'lar | Boom girişlerine ve çıkışlarına erişim sağlar. |
| Motor Çalıştırma | Motor çalıştırma giriş ve çıkışlarına erişim sağlar. |
| Menü Öğesi | Açıklama |
| Model | Makinenin model numarasını gösterir. |
| SN | Makinenin seri numarasını gösterir. |
| Yazılım Versiyonu | Birincil kontrol ünitesinin yazılım versiyonunu gösterir. |
XDM–2700 ![]() | Bilgi Merkezi’nin versiyonunu gösterir. |
CAN İstatistikleri ![]() | CAN Veri Yolunu listeler. |
Ekranın Ayarlar bölümünde ayarlanabilen işletim yapılandırma ayarları vardır. Bu ayarları kilitlemek için Korumalı Menü'yü kullanın.
Note: Teslimat sırasında, ilk parola distribütörünüz tarafından programlanır.
Note: Makinenizin varsayılan parolası 0000 veya 1234'tür.
Parolanızı değiştirdiyseniz ve unuttuysanız, destek almak için yetkili Toro distribütörünüze danışın.
Ana Menüde ekranı aşağıya kaydırarak Ayarlar bölümüne gelin ve Seç düğmesine basın.

Ayarlarda PIN Gir seçeneğine gidin ve Seç düğmesine basın.
Parolanızı girmek için doğru birinci hane görüntülenene kadar yukarı/aşağı gezinme düğmelerine basın, ardından sağ gezinme düğmesine basarak bir sonraki haneye geçin. Son hane girilene kadar bu adımı tekrarlayın.
Seç düğmesine basın.
Note: Ekran parolayı kabul eder ve korumalı menünün kilidi açılırsa, ekranın sağ üst köşesinde “PIN” sözcüğü gösterilir.
Korumalı menüyü kilitlemek için anahtar düğmesini KAPALI konumuna ve ardından AÇIK konumuna çevirin.

Ayarlarda, Ayarları Koru öğesine gidin.
PIN kodu girmeden ayarları görüntülemek ve değiştirmek için Seç düğmesini kullanarak Ayarları Koru seçeneğini Kapalı olarak değiştirin.
Ayarların sadece PIN kodu girilerek görüntülenebilmesi ve değiştirilebilmesi için Seç düğmesini kullanarak Ayarları Koru ayarını Açık olarak değiştirin, PIN kodunu ayarlayın ve kontaktaki anahtarı önce KAPALI ve ardından tekrar AÇIK konumuna getirin.
Makine Ayarları öğesini seçin.
Depo Uyarısı öğesini seçin.

Püskürtme makinesi çalışırken uyarının görüntüleneceği minimum depo miktarını girmek için yön düğmelerini kullanın.
Makine Ayarları'nı seçin.
Güncellemek istediğiniz boom’u seçin.
Boom boyutunu 2,5 cm’lik artışlarla değiştirmek için yön düğmelerini kullanın.
| Ayar | Varsayılan Değer |
| Test Hızı | 0,0 |
| Püskürtme Deposu Alarmı | 1 gal/l |
| Sol Boom | 80 in |
| Orta Boom | 60 in |
| Sağ Boom | 80 in |
Makine Ayarları öğesini seçin ve Varsayılanlara Sıfırla seçeneğini seçin.
Note: Hacim değiştirildiğinde depo uyarısı sıfırlanır.
Sağa gitmek için ENTER düğmesine basın. Ekranda mevcut depo hacmi gösterilir.
Depo hacmini artırmak veya azaltmak için düğmeye basın.
Hacmi ±10 (ABD birimleri için) veya ±25 (metrik birimler için) birimlik aralıklarla ayarlamak için yukarı/aşağı yön tuşlarına basın.
Hacmi 1 birimlik aralıklarla ayarlamak için sol/sağ yön düğmelerine basın.

Bu ekranlarda görüntülenenler:
Püskürtme yapılan alan (akre, hektar veya 1000 ft2)
Püskürtülen hacim (ABD galon veya litre)
Alan ve hacim bilgileri siz sıfırlayana kadar toplanarak artar. Çalıştığınız alandaki her bir püskürtme makinesi görevi için farklı bir alt alan kullanın. En fazla 20 alt alan kullanabilirsiniz.
Note: Püskürtmeye başlamadan önce üzerinde çalıştığınız alt alana gittiğinizden emin olun. Ekranda gösterilen alt alan, toplanarak artan kapsama alanı bağlamında aktif alt alandır.
Toplam Alan ekranına gitmek için GERİ düğmesine basın.
Toplam Alan verilerini sıfırlamak için SAĞ düğmeye basın.
Note: Toplam alan ekranında toplam alan ve toplam hacim bilgileri sıfırlandığında, her alt alan için tüm veriler sıfırlanır.

Bir Alt Alan ekranına gitmek için GERİ düğmesine basın.
Alt alan verilerini sıfırlamak için YUKARI düğmesine basın.

Bir makine işleviyle ilgili müdahalede bulunulması gereken durumlarda, Bilgi Merkezi ekranında operatöre yönelik bazı tavsiyeler gösterilir. Örneğin, çekiş pedalına basarken motoru çalıştırmayı denediğiniz takdirde, çekiş pedalının BOş konumunda olması gerektiğini bildiren bir mesaj gösterilir.
Tavsiyeyi silmek için ekrandaki herhangi bir düğmeye basın.
| Tavsiye kodu | Açıklama |
|---|---|
| 200 | Çalıştırma Önlendi—Pompa anahtarı etkin |
| 201 | Çalıştırma Önlendi—Vites BOşTA değil |
| 202 | Çalıştırma Önlendi—Operatör koltukta değil |
| 203 | Çalıştırma Önlendi—Gaz pedalı başlangıç konumunda değil |
| 204 | Çalıştırma Önlendi—Marş motoru etkinleştirme zaman aşımı |
| 205 | Park freni etkin |
| 206 | Pompanın Çalıştırılması Önlendi—Boom etkin |
| 207 | Pompanın Çalıştırılması Önlendi—Motor devri yüksek |
| 208 | Gaz/Hız Kilidi Önlendi—Pompa etkin değil |
| 209 | Gaz Kilidi Önlendi—Park freni etkinleştirilmemiş |
| 210 | Hız Kilidi Önlendi—Operatör koltukta değil veya park freni etkinleştirilmiş |
| 211 | Gaz/Hız Kilidi Önlendi—Debriyaj veya servis freni etkinleştirilmiş |
| 212 | Depo seviyesi düşük uyarısı |
| 213 | Durulama pompası AçıK |
| 220 | Akış sensörü kalibrasyonu |
| 221 | Akış sensörü kalibrasyonu—Depoya su doldurun ve doldurulan hacmi girin |
| 222 | Akış sensörü kalibrasyonu—Pompayı çalıştırın |
| 223 | Akış sensörü kalibrasyonu—Tüm boomları çalıştırın |
| 224 | Akış sensörü kalibrasyonu—Kalibrasyon başlatıldı |
| 225 | Akış sensörü kalibrasyonu—Kalibrasyon tamamlandı |
| 226 | Akış sensörü kalibrasyonu—Kalibrasyon modundan çıkılıyor |
| 231 | Hız sensörü kalibrasyonu |
| 232 | Hız sensörü kalibrasyonu—Depoya tatlı su doldurun ve İleri düğmesine basın |
| 233 | Hız sensörü kalibrasyonu—Püskürtme makinesine yarıya kadar su doldurun ve İleri düğmesine basın |
| 234 | Hız sensörü kalibrasyonu—Kalibrasyon mesafesini girin ve İleri düğmesine basın |
| 235 | Hız sensörü kalibrasyonu—Püskürtme makinesi bölümleri kapalıyken girilen mesafeyi işaretleyin ve makineyi bu işaretlerde sürün |
| 236 | Hız sensörü kalibrasyonu—Hız sensörü kalibrasyonu devam ediyor |
| 237 | Hız sensörü kalibrasyonu—Hız sensörü kalibrasyonu tamamlandı |
| 238 | Hız sensörü kalibrasyonu—Boomları kapatın |
| 241 | Kalibrasyon sınırları aştı, varsayılan ayar kullanılıyor |
Püskürtme makinesini o gün kullanmaya başlamadan önce şunları kontrol edin:
Lastiklerdeki hava basıncını kontrol edin.
Note: Bu makinenin lastikleri araba lastiklerinden farklıdır; çimlerin ezilmesini ve hasar görmesini en aza indirmek amacıyla daha az hava basıncı gerektirirler.
Tüm sıvı seviyelerini kontrol edin ve düşük olduğunu tespit ettiklerinize uygun miktarda sıvı ekleyin.
Fren pedalının çalışmasını kontrol edin.
Işıkların çalışıp çalışmadığını kontrol edin.
Direksiyon tepkisini ölçmek için hidrolik direksiyonu sola ve sağa çevirin.
Motor kapalıyken yağ sızıntılarını, gevşek parçaları ve gözle görülür diğer arızaları kontrol edin.
Yukarıda belirtilen konulardan herhangi biriyle ilgili bir sorun varsa, püskürtme makinesini o gün kullanmaya başlamadan önce mekanikere veya amirinize danışın. Amiriniz başka hususları da her gün kontrol etmenizi istiyor olabileceğinden, hangi kontrolleri yapmakla sorumlu olduğunuzu kendisine sorun.
Note: Yetkili Toro distribütörünüzden edinebileceğiniz nozul seçme kılavuzuna bakın.
Döner püskürtme başlıklarına 3 farklı nozul takılabilir.
Püskürtme makinesini düz bir zemine park edin, motoru kapatın, park frenini etkinleştirin ve anahtarı çıkarın.
Ana bölüm anahtarını KAPALı konumuna ve püskürtme pompası anahtarını da KAPALı konumuna ayarlayın.
Nozulların döner püskürtme başlığını her iki yönde doğru nozula doğru döndürün.
Bir akış kalibrasyonu gerçekleştirin; bkz Püskürtme Makinesi Akışının Kalibre Edilmesi.
Standart Donanım: 50 örgülü emme filtresi (mavi)
Kullandığınız püskürtme nozulları için suya eşit viskoziteli kimyasallara veya solüsyonlara göre doğru filtre örgüsünü belirlemek için emme filtresi tablosunu kullanın.
| Püskürtme Nozulu Renk Kodu (akış miktarı) | Elek Örgü Ebadı* | Filtre Renk Kodu |
|---|---|---|
| Sarı (0,2 gpm) | 50 | Mavi |
| Kırmızı (0,4 gpm) | 50 | Mavi |
| Kahverengi (0,5 gpm) | 50 (veya 30) | Mavi (veya yeşil) |
| Gri (0,6 gpm) | 30 | Yeşil |
| Beyaz (0,8 gpm) | 30 | Yeşil |
| Mavi (1,0 gpm) | 30 | Yeşil |
| Yeşil (1,5 gpm) | 30 | Yeşil |
| *Bu tabloda verilen emme filtresi örgü ebatları, suya eşit viskoziteye sahip püskürtme kimyasallarına veya solüsyonlarına dayanmaktadır. | ||
Important: Daha yüksek viskoziteli (daha koyu) ve ıslatılabilir tozlu kimyasallar veya solüsyonlarla püskürtme yaptığınız zamanlarda isteğe bağlı emme filtresi için daha büyük bir filtre örgüsü seçmeniz gerekebilir; bkz. Şekil 61.

Daha yüksek bir uygulama hızıyla püskürtme yapacağınız zaman daha büyük bir isteğe bağlı emme filtresi örgüsü kullanmayı düşünün; bkz. Şekil 62.

Mevcut elek ebatlarından bazıları şunlardır:
Standart Donanım: 50 örgülü emme filtresi (mavi)
Kullandığınız püskürtme nozulları için suya eşit viskoziteli kimyasallara veya solüsyonlara göre doğru elek örgüsünü belirlemek için basınç filtresi tablosunu kullanın.
| Püskürtme Nozulu Renk Kodu (akış miktarı) | Elek Örgü Ebadı* | Filtre Renk Kodu |
|---|---|---|
| Düşük viskoziteli kimyasallar veya solüsyonlar ya da düşük uygulama miktarları için gerektiği gibi | 100 | Yeşil |
| Sarı (0,2 gpm) | 80 | Sarı |
| Kırmızı (0,4 gpm) | 50 | Mavi |
| Kahverengi (0,5 gpm) | 50 | Mavi |
| Gri (0,6 gpm) | 50 | Mavi |
| Beyaz (0,8 gpm) | 50 | Mavi |
| Mavi (1,0 gpm) | 50 | Mavi |
| Yeşil (1,5 gpm) | 50 | Mavi |
| Yüksek viskoziteli kimyasallar veya solüsyonlar ya da yüksek uygulama miktarları için gerektiği gibi | 30 | Kırmızı |
| Yüksek viskoziteli kimyasallar veya solüsyonlar ya da yüksek uygulama miktarları için gerektiği gibi | 16 | Kahverengi |
| *Bu tabloda verilen basınç filtresi örgü ebatları, suya eşit viskoziteye sahip püskürtme kimyasallarına veya solüsyonlarına dayanmaktadır. | ||
Important: Daha yüksek viskoziteli (daha koyu) ve ıslatılabilir tozlu kimyasallar veya solüsyonlarla püskürtme yaptığınız zamanlarda isteğe bağlı basınç filtresi için daha büyük bir elek örgüsü seçmeniz gerekebilir; bkz. Şekil 63.

Daha yüksek bir uygulama hızıyla püskürtme yapacağınız zaman daha büyük bir isteğe bağlı basınç filtresi örgüsü kullanmayı düşünün; bkz. Şekil 64.

Note: Püskürtme nozulu ucunu korumak ve hizmet ömrünü uzatmak için isteğe bağlı nozul ucu filtresini kullanabilirsiniz.
Kullandığınız püskürtme nozulları için suya eşit viskoziteli kimyasallara veya solüsyonlara göre doğru elek örgüsünü belirlemek için nozul ucu filtresi tablosunu kullanın.
| Püskürtme Nozulu Renk Kodu (akış miktarı) | Filtre Örgü Ebadı* | Filtre Renk Kodu |
|---|---|---|
| Sarı (0,2 gpm) | 100 | Yeşil |
| Kırmızı (0,4 gpm) | 50 | Mavi |
| Kahverengi (0,5 gpm) | 50 | Mavi |
| Gri (0,6 gpm) | 50 | Mavi |
| Beyaz (0,8 gpm) | 50 | Mavi |
| Mavi (1,0 gpm) | 50 | Mavi |
| Yeşil (1,5 gpm) | 50 | Mavi |
| *Bu tabloda verilen nozul filtresi örgü ebatları, suya eşit viskoziteye sahip püskürtme kimyasallarına veya solüsyonlarına dayanmaktadır. | ||
Important: Daha yüksek viskoziteli (daha koyu) ve ıslatılabilir tozlu kimyasallar veya solüsyonlarla püskürtme yaptığınız zamanlarda isteğe bağlı nozul ucu filtresi için daha büyük bir elek örgüsü seçmeniz gerekebilir; bkz. Şekil 65.

Daha yüksek bir uygulama hızıyla püskürtme yapacağınız zaman daha büyük bir nozul ucu filtresi örgüsü kullanmayı düşünün; bkz. Şekil 66.

Important: Tatlı su deposunda geri kazanılmış su (gri su) kullanmayın.
Note: Tatlı su deposu, yanlışlıkla vücudunuza, gözlerinize veya diğer yüzeylere bulaşmış kimyasalları yıkayıp gidermek amacıyla tatlı su kaynağı olarak kullanılır.Kimyasalları elleçlemeden veya karıştırmadan önce tatlı su deposuna mutlaka temiz su doldurun.
Tatlı su deposu ROPS sisteminin üzerinde, yolcu koltuğunun arkasında bulunur (Şekil 67). Yanlışlıkla vücudunuza, gözlerinize veya diğer yüzeylere bulaşmış kimyasalları yıkayıp gidermek amacıyla tatlı su kaynağı olarak kullanılır.
Depoyu doldurmak için deponun en üst kısmındaki kapağı sökün ve depoya tatlı su doldurun. Kapağı tekrar takın.
Tatlı su deposunun musluk tapasını açmak için tapadaki kolu döndürün.

Optimum karıştırma ve dış depo temizliği için Kimyasal Ön Karıştırma Setini takın.
Important: Mümkün olan durumlarda, püskürtme deposunda geri kazanılmış su (gri su) kullanmayın.
Important: Kullanacağınız kimyasalların VitonTM ile kullanıma uygun olduğunu teyit edin (üreticinin etiketine bakın; uygun değilse bu durum etikette belirtilmiş olacaktır). VitonTM ile kullanıma uygun olmayan bir kimyasal kullanılması püskürtme makinesindeki O-halkaları zayıflatır, bu da sızıntılara yol açar.
Important: Depoyu ilk kez doldurduktan sonra, depo kayışlarında gevşeklik olmadığından emin olun. Bunları gerektiği gibi sıkın.
Bölümleri çalıştırarak püskürtme sistemindeki koşullandırıcıyı boşaltın.
Makineyi düz bir zemine park edin, vitesi boşa alın, park frenini etkinleştirin, motoru kapatın ve anahtarı çıkarın.
Depo boşaltma valfinin kapalı olduğunu teyit edin.
Kimyasal madde üreticisinin talimatlarına bakarak, ihtiyaç duyduğunuz miktarda kimyasalı karıştırmak için gereken su miktarını hesaplayın.
Püskürtme deposunun üstündeki depo kapağını açın.
Note: Depo kapağı en üstte, deponun ortasında bulunur. Kapağı açmak için ön yarım kısmını saatin aksi yönünde döndürün. İçerideki süzgeci temizlemek için çıkarabilirsiniz. Depoyu sızdırmaz şekilde kapatmak için kapağını kapatın ve ön yarım kısmını saat yönünde döndürün.
Emişsiz dolum kabını kullanarak püskürtme deposuna gerekli sudan 3/4 oranında ekleyin.
Important: Püskürtme deposunda her zaman temiz tatlı su kullanın. Boş bir depoya asla konsantre madde dökmeyin.

Motoru çalıştırın, PTO'yu çalıştırın ve varsa el gazını ayarlayın.
Karıştırma anahtarını AÇIK konuma getirin.
Depoya, kimyasal madde üreticisinin talimatlarına göre uygun miktarda konsantre kimyasal madde ekleyin.
Important: Islatılabilir bir toz kullanıyorsanız, bu tozu depoya eklemeden önce az miktarda suyla karıştırarak bulamaç haline getirin.
Kalan suyu depoya ekleyin.
Note: Daha iyi bir karıştırma için, uygulama miktarı ayarını düşürün.
| Bakım Servisi Aralıkları | Bakım Prosedürü |
|---|---|
| Her kullanımdan önce veya günlük |
|
Important: Depo kayışı sabitleme elemanlarının aşırı sıkılması deponun ve kayışların deforme olmasına ve hasar görmesine yol açabilir.
Ana depoyu suyla doldurun.
Depo kayışları ile depo arasında herhangi bir hareket olup olmadığını kontrol edin (Şekil 69).

Depo kayışları depoya gevşek sabitleniyorsa, kayışların en üst kısmındaki flanşlı kilit somunlarını ve cıvataları kayışlar depo yüzeyiyle aynı hizaya gelene kadar sıkın (Şekil 69).
Note: Depo kayış donanımını aşırı sıkmayın.
Note: Püskürtme makinesini ilk kez kullanmadan önce, nozulları değiştirdiğiniz zamanlarda veya ihtiyaç duyduğunuzda, püskürtme makinesi akış, hız ve bölüm baypas valfini kalibre edin.
Püskürtme deposunu temiz suyla doldurun.
Note: Depoda, her bir kalibrasyon prosedürünü tamamlamaya yetecek kadar su olduğunu teyit edin.
Sol ve sağ boom bölümlerini indirin.
Korumalı ayarları Kapalı olarak ayarlayın; bkz Bilgi Merkezinin Kullanılması.
Operatör tarafından tedarik edilecek ekipman: ± 1/10 saniyeyle ölçüm yapabilen bir kronometre ve 50 ml artışlarla kademelendirilebilen bir kap.
Note: Gaz kilidi olmayan makinelerde, püskürtme makinesi akışının kalibre edilmesi için 2 kişi gerekir.
Vitesi BOş konumuna getirin.
Park frenini etkinleştirin ve motoru çalıştırın.
Püskürtme pompasını çalıştırıp karıştırma işlemini başlatın.
Motor maksimum devre ulaşana kadar gaz pedalına basın.
Motor devrini şöyle ayarlayın:
İsteğe bağlı gaz kilidi olmayan makineler için—1 kişinin, motor maksimum devire ulaşana kadar gaz pedalına basmasını sağlayın.
Note: Diğer kişinin püskürtme nozullarından numune toplamasını sağlayın.
İsteğe bağlı gaz kilidi olan makinelerde, motor maksimum devire ulaşana kadar gaz pedalına basın ve gaz kilidini ayarlayın; Workman el gazı setinin kullanım talimatlarına bakın.
3 bölüm anahtarını ve ana bölüm anahtarını AçıK konumlarına getirin.
Kademeli kabı kullanarak yakalama testi gerçekleştirin.
2,75 bar (40 psi) basınçla başlayın ve uygulama miktarı anahtarını kullanarak püskürtme basıncını yakalama testi aşağıdaki tabloda verilen değerleri üretecek biçimde ayarlayın.
Note: Her 15 saniyede bir olmak üzere 3 kez numune toplayın ve toplanan su miktarlarının ortalamasını alın.
| Nozul Rengi | 15 saniyede toplanan mililitre miktarı | 15 saniyede toplanan ons miktarı | ||
|---|---|---|---|---|
| Sarı | 189 | 6,4 | ||
| Kırmızı | 378 | 12,8 | ||
| Kahverengi | 473 | 16,0 | ||
| Gri | 567 | 19,2 | ||
| Beyaz | 757 | 25,6 | ||
| Mavi | 946 | 32,0 | ||
| Yeşil | 1.419 | 48,0 | ||
Yakalama testi yukarıdaki tabloda verilen değerleri üretince süpervizör (miktar kilitleme) anahtarını KILITLE konumuna getirin.
Ana bölüm anahtarını KAPALı konumuna getirin.
Bilgi Merkezinde Kalibrasyon menüsüne gidin ve aşağıdaki gibi AKış KALIBRASYONU öğesini seçin.
Note: Herhangi bir anda Başlangıç Ekranı simgesini seçerek kalibrasyonu iptal edebilirsiniz.
Menülere erişmek için Bilgi Merkezindeki orta seçim düğmesine iki kez basın.
Bilgi Merkezindeki sağ seçim düğmesine basarak kalibrasyon menüsüne girin.
AKış KALIBRASYONU öğesini vurgulayarak AKış KALIBRASYONU seçeneğini seçin ve Bilgi Merkezindeki sağ seçim düğmesine basın.
Sonraki ekranda, kalibrasyon prosedürü için bölümlerden püskürtülecek bilinen su miktarını girin; aşağıdaki grafiğe bakın.
Bilgi Merkezindeki sağ seçim düğmesine basın.
Artı (+) ve eksi (-) sembollerini kullanarak, aşağıdaki tabloya göre akış hacmini girin.
| Nozul Rengi | Litre | ABD galon |
| Sarı | 42 | 11 |
| Kırmızı | 83 | 22 |
| Kahverengi | 106 | 28 |
| Gri | 125 | 33 |
| Beyaz | 167 | 44 |
| Mavi | 208 | 55 |
| Yeşil | 314 | 83 |
Ana bölüm anahtarını 5 dakika boyunca açık tutun.
Note: Makine püskürtme yaparken, sayılan sıvı miktarı Bilgi Merkezinde görüntülenir.
5 dakika püskürtme yaptıktan sonra, Bilgi Merkezindeki orta seçim düğmesine basarak onay işaretini seçin.
Note: Kalibrasyon sırasında görüntülenen galon değerinin Bilgi Merkezinde girilen su miktarıyla eşleşmemesi sorun değildir.
Ana bölüm anahtarını KAPALI konumuna getirin ve Bilgi Merkezindeki orta seçim düğmesine basarak onay işaretini seçin.
Note: Kalibrasyon tamamlanmıştır.
Püskürtme deposunun su dolu olduğundan emin olun.
Açık ve düz bir alanda, 45 ila 152 metre arası bir mesafeyi işaretleyin.
Note: Daha doğru sonuçlar almak için 152 metrelik bir mesafe işaretleyin.
Motoru çalıştırın ve makineyi işaretlenen mesafenin başlangıcına sürün.
Note: En doğru ölçüm için, ön lastiklerin ortasını başlangıç çizgisiyle aynı hizaya getirin.
Bilgi Merkezinde Kalibrasyon menüsüne gidin ve Hız Kalibrasyonu öğesini seçin.
Note: Herhangi bir anda Başlangıç Ekranı simgesini seçerek kalibrasyonu iptal edebilirsiniz.
Bilgi Merkezinde, İleri okunu (→) seçin.
Artı (+) ve eksi (-) sembollerini kullanarak, işaretlenen mesafeyi Bilgi Merkezine girin.
Makineyi birinci vitese alın ve tam gazla düz bir çizgiyi takip ederek işaretlenen mesafeye sürün.
Makineyi işaretlenen mesafede durdurun ve Bilgi Merkezindeki onay işaretini seçin.
Note: En doğru ölçüm için, makineyi yavaşlatın ve ön lastiklerin ortası bitiş çizgisiyle hizalanınca durdurun.
Note: Kalibrasyon tamamlanmıştır.
Püskürtme makinesini ilk kez kullanmadan önce, nozulları değiştirdiğiniz zamanlarda veya ihtiyaç duyulduğunda, püskürtme makinesi akış ve hızını kalibre edin ve bölüm baypas valfini ayarlayın.
Important: Bu işlemi gerçekleştirmek için düz ve açık bir alan seçin.
Note: Gaz kilidi olmayan makinelerde, bölüm baypas valfinin kalibre edilmesi için 2 kişi gerekir.
Püskürtme deposunun su dolu olduğundan emin olun.
Vitesi BOş konumuna getirin.
Park frenini etkinleştirin ve motoru çalıştırın.
3 bölüm anahtarını da AçıK konumuna getirin fakat ana bölüm anahtarını KAPALı konumunda bırakın.
Pompa anahtarını AçıK konumuna getirip karıştırma işlemini başlatın.
Motor devrini şöyle ayarlayın:
İsteğe bağlı gaz kilidi olmayan makineler için—1 kişinin, motor maksimum devire ulaşana kadar gaz pedalına basmasını sağlayın.
Note: Diğer bir kişinin ise bölüm baypas valflerini ayarlamasını sağlayın.
İsteğe bağlı gaz kilidi olan makinelerde, motor maksimum devire ulaşana kadar gaz pedalına basın ve gaz kilidini ayarlayın; Workman el gazı setinin kullanım talimatlarına bakın.
Bilgi Merkezinde Kalibrasyon menüsüne gidin ve Test Hızı öğesini seçin.
Note: Herhangi bir anda Başlangıç Ekranı simgesini seçerek kalibrasyonu iptal edebilirsiniz.
Artı (+) ve eksi (-) sembollerini kullanarak 5,6 km/s'lik bir test hızı girin, ardından da Başlangıç simgesini seçin.
Uygulama miktarı anahtarını kullanarak, uygulama miktarını aşağıdaki tabloya göre ayarlayın.
| Nozul Rengi | SI (Metrik) | İngiliz birimi | Çim |
| Sarı | 159 litre/hektar | 17 gpa | 0,39 gpk |
| Kırmızı | 319 litre/hektar | 34 gpa | 0,78 gpk |
| Kahverengi | 394 litre/hektar | 42 gpa | 0,96 gpk |
| Gri | 478 litre/hektar | 51 gpa | 1,17 gpk |
| Beyaz | 637 litre/hektar | 68 gpa | 1,56 gpk |
| Mavi | 796 litre/hektar | 85 gpa | 1,95 gpk |
| Yeşil | 1.190 litre/hektar | 127 gpa | 2,91 gpk |
Sol bölüm anahtarını KAPALI konumuna getirin ve sol bölüm baypas valfini (Şekil 70) basınç değeri daha önce ayarlanmış seviyeye (genelde 2,75 bar veya 40 psi) gelene kadar ayarlayın.
Note: Baypas valfindeki numaralı göstergeler yalnızca referans amaçlıdır.

Sol bölüm anahtarını AÇIK, sağ bölüm anahtarını ise KAPALI konumuna getirin.
Sağ bölüm baypas valfini (Şekil 70) basınç değeri daha önce ayarlanmış seviyeye (genelde 2,75 bar veya 40 psi) gelene kadar ayarlayın.
Sağ bölüm anahtarını AÇIK, orta bölüm anahtarını ise KAPALI konumuna getirin.
Orta bölüm baypas valfini (Şekil 70) basınç değeri daha önce ayarlanmış seviyeye (genelde 2,75 bar veya 40 psi) gelene kadar ayarlayın.
Tüm bölüm anahtarlarını KAPALI konumuna getirin.
Püskürtme pompasını kapatın.
Note: Kalibrasyon tamamlanmıştır.
| Bakım Servisi Aralıkları | Bakım Prosedürü |
|---|---|
| Yıllık |
|
Important: Bu işlemi gerçekleştirmek için düz ve açık bir alan seçin.
Note: Gaz kilidi olmayan makinelerde, karıştırma baypas valfinin kalibre edilmesi için 2 kişi gerekir.
Püskürtme deposunun su dolu olduğundan emin olun.
Karıştırma kontrol valfinin açık olduğunu teyit edin. Ayarlanmışsa, sonuna kadar açın.
Vitesi BOş konumuna getirin.
Park frenini etkinleştirin ve motoru çalıştırın.
Püskürtme pompasını çalıştırın.
Motor devrini şöyle ayarlayın:
İsteğe bağlı gaz kilidi olmayan makineler için—1 kişinin, motor maksimum devire ulaşana kadar gaz pedalına basmasını sağlayın.
Note: Diğer kişinin püskürtme nozullarından numune toplamasını sağlayın.
İsteğe bağlı gaz kilidi olan makinelerde, motor maksimum devire ulaşana kadar gaz pedalına basın ve gaz kilidini ayarlayın; Workman el gazı setinin kullanım talimatlarına bakın.
3 farklı bölüm valfi anahtarını da KAPALı konuma getirin.
Ana bölüm anahtarını AçıK konumuna getirin.
Sistem basıncını MAKSIMUM değere ayarlayın.
Karıştırma anahtarını KAPALı konumuna getirin ve basınç göstergesindeki değeri okuyun.
Okunan değer 6,9 bar (100 psi) olarak kalıyorsa, karıştırma baypas valfi düzgün kalibre edilmiştir.
Basınç göstergesi farklı bir değer gösteriyorsa sonraki adıma geçin.
Karıştırma valfinin arka kısmındaki karıştırma baypas valfini (Şekil 72), göstergedeki basınç değeri 6,9 bar (100 psi) olana kadar ayarlayın.

Pompa anahtarını KAPALı konumuna, gaz kolunu RöLANTI konumuna ve kontak anahtarını KAPALı konumuna getirin.
Note: Ana bölüm baypas valfinin ayarlanması, ana bölüm anahtarı KAPALı konuma ayarlandığında depodaki karıştırma nozullarına gönderilen akış miktarını azaltır veya artırır.
Püskürtme deposunun su dolu olduğundan emin olun.
Park frenini etkinleştirin.
Vitesi BOş konumuna getirin.
Püskürtme pompasını çalıştırın.
Karıştırma anahtarını AçıK konumuna getirin.
Ana bölüm anahtarını KAPALı konumuna getirin.
Motor devrini şöyle ayarlayın:
İsteğe bağlı gaz kilidi olmayan makineler için—1 kişinin, motor maksimum devire ulaşana kadar gaz pedalına basmasını sağlayın.
Note: Diğer kişinin püskürtme nozullarından numune toplamasını sağlayın.
İsteğe bağlı gaz kilidi olan makinelerde, motor maksimum devire ulaşana kadar gaz pedalına basın ve gaz kilidini ayarlayın; Workman el gazı setinin kullanım talimatlarına bakın.
Depoda gerçekleştirilen karıştırma miktarını kontrol etmek için ana bölüm baypas kolunu ayarlayın (Şekil 72).
Motoru rölanti devrine düşürün.
Karıştırma anahtarını ve pompa anahtarını KAPALı konumuna ayarlayın.
Motoru kapatın.
Püskürtme pompası makinenin arkasında bulunur (Şekil 73).

Makine sahibi/operatörü, yaralanma veya maddi hasara yol açabilecek kazaları önleyebilir ve önlemekle sorumludur.
Göz koruyucu, uzun pantolon, kaymaz ayakkabı ve kulak koruyucu gibi uygun kişisel koruyucu donanımlar giyin. Saçınız uzunsa toplayıp bağlayın, bol kıyafet giymeyin, bol takı takmayın.
Kimyasal Güvenliği bölümünde belirtilen kişisel koruyucu donanımı giyin/takın.
Makineyi kullanırken tüm dikkatinizi işinize verin. Dikkatinizi dağıtabilecek başka şeylerle ilgilenmeyin, aksi takdirde yaralanma veya maddi hasar meydana gelebilir.
Yorgun, hasta veya alkol/ilaç etkisi altındayken makineyi çalıştırmayın.
Makinede en fazla 1 kişi taşıyın; bu kişi yalnızca kendisi için belirlenen oturma konumunda oturmalıdır.
Makineyi sadece görüş imkanının iyi olduğu ortamlarda kullanın. Deliklerden veya gizli tehlikelerden kaçının.
Motoru çalıştırmadan önce çalışma konumunda olduğunuzdan ve vitesin BOş konumda olduğundan emin olun.
Makine hareket halindeyken mutlaka oturun. Her iki elinizi de sürekli direksiyonda tutmaya çalışın ve kollarınız ile bacaklarınızı her zaman operatör bölmesinin içinde tutun.
Keskin virajlara, çalılara, ağaçlara veya görüş imkanını kısıtlayabilecek diğer nesnelere yaklaşırken çok dikkatli olun.
Geriye doğru hareket etmeden önce arkanıza bakarak kimsenin olmadığını kontrol edin. Geriye doğru yavaş ilerleyin.
Yakınlarda insanlar (özellikle de çocuklar) veya hayvanlar varken püskürtme işlemi yapmayın.
Makineyi yamaçların, hendeklerin veya toprak setlerinin yakınında kullanmayın. Bir tekerlek eşiğin üzerinden geçer veya eşik çökerse makine aniden devrilebilir.
Bozuk ve engebeli bir zemindeyken ve kaldırımların, deliklerin ve ani arazi durumu değişimlerinin yakınındayken hızınızı düşürün. Yükler yer değiştirerek makinenin dengesini kaybetmesine yol açabilir.
Bir nesneye çarptıktan sonra veya makinede anormal bir titreşim olursa makineyi durdurun, motoru kapatın, park frenini etkinleştirin ve makinenin hasar görüp görmediğini inceleyin. Çalışmaya devam etmeden önce gerekli tüm onarımları yapın.
Makineyle viraj dönerken veya yollardan ve kaldırımlardan geçerken yavaşlayın ve dikkatli olun. Daima geçiş hakkını diğer araçlara verin.
Makineyi ıslak zeminde, olumsuz hava koşullarında, yüksek hızlarda veya tam yükle sürerken çok daha dikkatli olun. Bu tür koşullar durma süresini ve mesafesini artırır.
Motor çalışıyorken veya kapatıldıktan hemen sonra motora veya egzoz susturucuya dokunmayın. Bu bölgeler, yanığa yol açabilecek kadar sıcak olabilir.
Operatör konumundan ayrılmadan önce şunları yapın:
Makineyi düz bir zemine park edin.
Vitesi BOş konumuna getirin.
Püskürtme pompasını kapatın.
Park frenini etkinleştirin.
Motoru kapatın ve anahtarı çıkarın (varsa).
Tüm hareketin durmasını bekleyin.
Motoru, egzoz gazlarının dışarı çıkamadığı yerlerde çalıştırmayın.
Yıldırım riski bulunan durumlarda makineyi çalıştırmayın.
Yalnızca Toro tarafından onaylanmış aksesuar ve ek parçaları kullanın.
Multi Pro WM püskürtme makinesini kullanmak için öncelikle püskürtme deposunu doldurun, ardından solüsyonu çalışma alanına uygulayın ve son olarak da depoyu temizleyin. Püskürtme makinesinin hasar görmemesi için bu 3 adımı sırayla tamamlamanız gerekir. Örneğin, gece püskürtme deposuna kimyasal ekleyip karıştırdıktan sonra sabah püskürtme işlemi yapmayın. Bu, kimyasalların ayrılmasına ve püskürtme makinesi bileşenlerine zarar vermesine neden olabilir.
Important: Depo işaretleri yalnızca referans amaçlıdır ve kalibrasyon için kesin değerler olarak kabul edilemez.
Kimyasallar tehlikelidir ve yaralanmaya yol açabilirler.
Kimyasalları elleçlemeden önce kimyasal etiketlerindeki bilgileri okuyun ve üreticinin tüm tavsiye ve talimatlarını uygulayın.
Kimyasalları cildinizden uzak tutun. Kimyasallara temas ederseniz, etkilenen bölgeyi sabun ve temiz suyla iyice yıkayın.
Emniyet gözlüğü ve kimyasal madde üreticisinin tavsiye ettiği diğer kişisel koruyucu donanımları takın.
Multi Pro WM, uzun bir püskürtme ömrü sunabilecek dayanıklılığa sahip olacak şekilde tasarlanmıştır. Bu hedefe ulaşılması amacıyla, makinenin farklı noktalarında çeşitli nedenlerden ötürü farklı malzemeler seçilmiştir. Ne yazık ki, öngörülebilir uygulamaların hepsi için de mükemmel olan tek bir malzeme yoktur.
Bazı kimyasallar diğerlerinden daha agresiftir ve her bir kimyasal çeşitli malzemelerle farklı bir şekilde etkileşim kurar. Bazı kararlı maddeler (örn. ıslatılabilir tozlar veya kömür) daha aşındırıcıdır ve normalden yüksek miktarda aşınmaya yol açarlar. Bir formül püskürtme makinesinin hizmet ömrünü uzatacak bir kimyasal içeriyorsa o alternatif formülü kullanın.
Her zaman olduğu gibi, tüm uygulamalardan sonra makinenizi ve püskürtme sistemini iyice temizleyin. Bu, püskürtme makinenizin uzun süre boyunca sorunsuz hizmet vermesini sağlayacaktır.
Important: Elinizdeki solüsyonun iyi karıştırılmış halde kalmasını sağlamak için, depoda bir solüsyon olduğu zamanlarda karıştırma özelliğini kullanın. Karıştırma işlevinin çalışması için PTO'YU etkinleştirmeniz ve motorun rölantiden yüksek bir devirde çalışıyor olması gerekir. Aracı durdurur ve karıştırma yapmaya ihtiyaç duyarsanız vites kolunu BOş konumuna getirin, park frenini etkinleştirin, PTO'yu etkinleştirin, debriyajı çalıştırın ve varsa el gazını devreye alın.
Note: Bu prosedürde, PTO'nun etkinleştirildiği (manuel şanzımanlı HD Serisi modeller) ve bölüm valfi kalibrasyonunun tamamlandığı varsayılır.
Boomları yerlerine indirin.
Ana bölüm anahtarını KAPALı konumuna getirin.
Bölüm anahtarlarını ihtiyaca göre AçıK konumuna getirin.
Makineyi, püskürtme yapacağınız alana sürün.
Bilgi Merkezindeki Uygulama Miktarı ekranına gidin ve şu adımları uygulayarak istediğiniz miktarı ayarlayın:
Pompa anahtarının AçıK konumunda olduğundan emin olun.
Manuel şanzımanlı HD Serisi modellerde, istediğiniz vites aralığını seçin.
Makinenizi hedef yürüyüş hızında sürmeye başlayın.
Monitörün doğru uygulama oranını gösterdiğini teyit edin. Gerekiyorsa, monitör istenen uygulama miktarını gösterene kadar uygulama miktarı anahtarını ayarlayın.
Makineyi tekrar püskürtme yaptığınız yere sürün.
Püskürtme işlemine başlamadan önce ana bölüm anahtarını AçıK konumuna getirin.
Note: Depo boşalmaya yakınken karıştırma yapılması depoda köpükleşmeye yol açabilir. Bunu önlemek için karıştırma valfini kapatın. Dilerseniz, depoda köpüklenme önleyici madde kullanabilirsiniz.
Püskürtme bittiğinde, tüm püskürtme bölümlerini kapatmak için ana bölüm anahtarını KAPALı konumuna getirin ve PTO kolunu ayırın (manuel şanzımanlı HD Serisi modeller).
Important: Bazı koşullarda, püskürtme makinesi sabit halde çalışırken motordan, radyatörden ve susturucudan gelen ısı çime zarar verebilir. Sabit çalışma modlarına örnek olarak depo karıştırma, püskürtme tabancasıyla manuel püskürtme veya yürüyen bir boom kullanma verilebilir.
Şu önlemleri alın:
Koşullar aşırı sıcak ve/veya kuru olduğunda sabit halde püskürtme yapmaktan kaçının, zira bu tür dönemlerde çim daha stresli olabilir.
Sabit halde püskürtme yaparken makineyi çime park etmekten kaçının. Mümkün olan her durumda makinenizi bir araba yoluna park edin.
Makinenin belli bir çim alanı üzerinde çalıştığı süreyi en aza indirin. Çimlerin göreceği hasarın derecesi hem süreye hem de sıcaklığa bağlıdır.
İstenen basıncı ve akışı elde etmek için motor devrini mümkün olduğunca düşük ayarlayın. Bu, üretilen ısıyı ve soğutma fanından gelen havanın hızını en aza indirecektir.
Sabit çalışma sırasında, ısıyı zorla aracın altından bırakmaya çalışmak yerine koltuk gruplarını yükselterek motor bölmesinden yukarı doğru bırakılmasını sağlayın.
Püskürtme makinesinin kumanda panelindeki boom bölümü kaldırma anahtarları, dış püskürtme bölümlerini operatör koltuğundan kalkmadan taşıma konumu ile püskürtme konumu arasında değiştirebilmenize imkan tanırlar. Mümkün olan her durumda, püskürtme bölümü konumlarını değiştirmeden önce makineyi durdurun.
Hidrolik kaldırma kolunu etkinleştirin ve boom kaldırmanın kontrolü için hidrolik güç sağlamak üzere kilitleyin.
Hidrolik kaldırma kolunu ileri itin.

Kilidi etkinleştirmek için hidrolik kaldırma kilidini sola hareket ettirin.
Dış püskürtme bölümlerini PüSKüRTME konumuna getirmek için şu adımları uygulayın:
Makineyi düz bir zemine park edin.
Dış bölümleri indirmek için boom bölümü kaldırma anahtarlarını kullanın.
Note: Dış püskürtme bölümlerinin tam uzatılmış püskürtme konumuna gelmelerini bekleyin.
Püskürtme işini tamamlayın ve dış püskürtme bölümlerini taşıma konumuna toplamak için şu adımları izleyin:
Makineyi düz bir zemine park edin.
Dış püskürtme bölümlerinden birini yükseltmek için boom bölümü kaldırma anahtarlarını kullanın.
Diğer dış püskürtme bölümlerini yükseltmek için boom bölümü kaldırma anahtarlarını kullanın.
Bölümleri boom bölümü taşıma kızaklarının içine tamamen ulaşıp "X" taşıma konumunu oluşturana ve kaldırma silindirleri tamamen toplanana kadar yükseltin.
Important: Dış püskürtme bölümleri istenen konuma ulaşınca boom bölümü kaldırma anahtar(lar)ını bırakın. Aktüatörlerin mekanik stoperlere karşı çalıştırılmaları kaldırma silindirlerine ve/veya diğer hidrolik bileşenlere hasar verebilir.
Important: Püskürtme bölümlerinin taşıma konumundayken baş hizası üzerinde alçaktaki nesnelere temas etmediğinden emin olun; aksi takdirde püskürtme bölümleri zarar görebilir.
Important: Püskürtme bölümleri, boom taşıma kızağı kullanılarak "X" konumundan farklı bir konumda taşınırsa hasar görebilirler.

Important: Kaldırma silindirinin hasar görmesini önlemek için, makineyi taşımaya başlamadan önce aktüatörlerin tamamen toplanmış olduğunu teyit edin.
Daha önce püskürtme yaptığınız alanlara yeniden püskürtme yapmayın.
Tıkanmış nozullar olup olmadığını kontrol edin. Aşınmış veya hasar görmüş tüm nozulları yenileriyle değiştirin.
Püskürtme makinesini durdurmadan önce püskürtme akışını durdurmak için ana bölüm anahtarını kullanın. Makine durunca, motor devrini karıştırma işlemine devam edilmesini sağlayacak kadar yüksek tutmak için boş vites kilidini kullanın.
Püskürtme bölümlerini açtığınız zaman püskürtme makinesi hareket ediyorsa daha iyi sonuçlar elde edersiniz.
Uygulama miktarında, hızınızın nozul aralığı aşılacak kadar değiştiğine veya püskürtme sisteminde bir sorun olduğuna işaret edebilecek değişiklikler olup olmadığını kontrol edin.
Bir nozul püskürtme yapılırken tıkanırsa nozulu şu şekilde temizleyin:
Püskürtme makinesini düz bir zemine park edin, motoru kapatın ve park frenini etkinleştirin.
Ana bölüm anahtarını KAPALı konumuna ve püskürtme pompası anahtarını da KAPALı konumuna ayarlayın.
Tıkanmış nozulu çıkarın ve su püskürtüp diş fırçasıyla ovalayarak temizleyin.
Nozulu takın.
Makineyi düz bir zemine park edin, park frenini etkinleştirin, motoru kapatın, anahtarı çıkarın ve makinenin başından ayrılmadan önce tüm hareketin durmasını bekleyin.
Makineyle o günkü işiniz bittikten sonra makinenin dış kısımlarındaki tüm kimyasal kalıntılarını yıkayarak temizleyin; bkz. Kimyasal Güvenlik.
Makineyi herhangi bir kapalı mekanda depolamadan önce makinenin soğumasını bekleyin.
Gerekiyorsa emniyet kemer(ler)ine bakım yapın ve temizleyin.
Makineyi veya yakıt kabını bir su ısıtıcısı veya diğer cihazlarda bulunan tipte açık alev, kıvılcım veya tutuşturma alevlerinin bulunduğu yerlerde asla depolamayın.
Makinenin tüm parçalarını sorunsuz çalışır ve tüm donanımları sıkılmış durumda tutun.
Aşınmış, hasar görmüş veya eksik tüm etiketleri yenileriyle değiştirin.
Important: Makineyi temizlemek için tuzlu veya geri kazanılmış su kullanmayın.
Makineyi düz bir zemine park edin, park frenini etkinleştirin, motoru kapatın ve anahtarı çıkarın.
Makinenin sağ tarafındaki depo boşaltma valfini (Şekil 76) bulun.

Kullanılmamış tüm malzemeyi depodan boşaltmak için valfi açın (Şekil 77).
Important: Tüm atık kimyasalları yerel yönetmeliklere ve malzeme üreticisinin talimatlarına göre bertaraf edin.

Boşaltma valfini kapatın (Şekil 77).
| Bakım Servisi Aralıkları | Bakım Prosedürü |
|---|---|
| Yıllık |
|
Important: Her kullanımdan hemen sonra püskürtme makinesini boşaltıp temizleyin. Aksi takdirde hatlarda kalan kimyasallar koyulaşabilir veya kuruyabilir, bu da pompanın ve diğer bileşenlerin tıkanmasına yol açabilir.
Bu makine için onaylanmış durulama setini kullanın. Daha fazla bilgi için yetkili Toro distribütörüne danışın.
Her püskürtme işinden sonra püskürtme sistemini temizleyin. Püskürtme sistemini iyice temizlemek için şunları yapın:
3 ayrı durulama gerçekleştirin.
Kimyasal madde üreticilerinin önerdiği temizleyicileri ve nötrleştiricileri kullanın.
Son durulama için arıtılmış temiz su (temizleyici veya nötrleştirici içermeyen) kullanın.
Depoya en az 190 litre temiz su doldurun ve kapağını kapatın.
Note: Gerekiyorsa suya bir temizlik/nötrleştirme maddesi de ekleyebilirsiniz. Nihai durulamada sadece temiz tatlı su kullanın.
Boomları püskürtme konumuna indirin.
Motoru çalıştırın ve pompa anahtarını AçıK konumuna getirin.
Gaz kelebeğini daha yüksek bir rölanti devrine getirin.
Karıştırma anahtarının AçıK konumunda olduğunu teyit edin ve basıncı yüksek bir ayara çıkarmak için uygulama miktarı anahtarını kullanın.
Püskürtme işlemine başlamak için ana bölüm anahtarını ve ilgili bölüm anahtarlarını AçıK konumuna getirin.
Depodaki tüm suyun nozullardan püskürtülmesine izin verin.
Nozulların hepsinin doğru püskürtme yaptıklarını kontrol edin.
Ana bölüm anahtarını KAPALı konuma getirin, püskürtme pompasını kapatın ve motoru kapatın.
Püskürtme sisteminin tamamen temizlendiğinden emin olmak için 1 - 9 arası adımları en az 2 kere daha tekrarlayın.
Important: Püskürtme sisteminin tamamen temiz olduğundan emin olmak ve sistemin zarar görmesini önlemek için bu işlemi her zaman en az 3 kez yapmanız gerekir.
Emme ve basınç filtrelerini temizleyin; bkz. Emme Filtresinin Temizlenmesi ve Basınç Filtresinin Temizlenmesi.
Important: Islatılabilir toz kimyasallar kullandıysanız, her depodan sonraki süzgeci temizleyin.
Püskürtme makinesinin dış kısmını bir bahçe hortumu kullanarak temiz suyla durulayın.
Nozulları çıkarıp elinizle temizleyin. Aşınmış veya hasarlı nozulları yenileriyle değiştirin.
| Bakım Servisi Aralıkları | Bakım Prosedürü |
|---|---|
| Her kullanımdan önce veya günlük |
|
Makineyi düz bir zemine park edin, park frenini etkinleştirin, pompayı kapatın, motoru kapatın ve anahtarı çıkarın.
Püskürtme makinesi deposunun en üst kısmında bulunan ve hortum bağlantı parçasını filtre muhafazasından gelen büyük hortuma sabitleyen tespit elemanını sökün (Şekil 78).

Hortumu ve hortum bağlantı parçasını filtre muhafazasından çıkarın (Şekil 78).
Emme süzgecini çekerek depodaki filtre muhafazasından çıkarın (Şekil 79).

Emme filtresini temiz suyla temizleyin.
Important: Hasarlıysa veya temizlenemiyorsa filtreyi yenisiyle değiştirin.
Emme filtresini, filtre tam olarak yerine oturana kadar filtre muhafazasının içine sokun.
Hortumu ve hortum bağlantı parçasını deponun en üst kısmındaki filtre muhafazasıyla hizalayın ve 2. adımda söktüğünüz tespit elemanını kullanarak bağlantı parçasını ve muhafazayı sabitleyin.
| Bakım Servisi Aralıkları | Bakım Prosedürü |
|---|---|
| Her kullanımdan önce veya günlük |
|
Makineyi düz bir zemine park edin, park frenini etkinleştirin, püskürtme pompasını kapatın, motoru kapatın ve anahtarı çıkarın.
Basınç filtresinin altına bir boşaltma kabı yerleştirin (Şekil 80).

Boşaltma kapağını saatin aksi yönünde döndürün ve basınç filtresi çanağından çıkarın (Şekil 80).
Note: Çanağın tamamen boşalmasını bekleyin.
Çanağı saatin aksi yönünde döndürüp filtre kafasını çıkarın (Şekil 80).
Basınç filtresi elemanını yerinden çıkarın (Şekil 80).
Basınç filtresi elemanını temiz suyla temizleyin.
Important: Hasarlıysa veya temizlenemiyorsa filtreyi yenisiyle değiştirin.
Boşaltma tapasının contasını (çanağın içindedir) ve çanağın contasını (filtre kafasının içindedir) aşınma ve hasara karşı kontrol edin (Şekil 80).
Important: Tapanın, çanağın veya her ikisinin hasarlı veya aşınmış contalarını değiştirin.
Basınç filtresi elemanını filtre kafasının içine takın (Şekil 80).
Note: Filtre elemanının filtre kafasına sıkıca oturduğundan emin olun.
Çanağı filtre kafasının üstüne takıp elinizle sıkın (Şekil 80).
Tahliye kapağını çanağın dibindeki bağlantı parçasının üzerine monte edin ve kapağı elinizle sıkın (Şekil 80).
Makineyi düz bir zemine park edin, park frenini etkinleştirin, püskürtme pompasını kapatın, motoru kapatın ve anahtarı çıkarın.
Nozulu döner püskürtme başlığından çıkarın (Şekil 81).

Nozul filtresini çıkarın (Şekil 81).
Nozul filtresini temiz suyla temizleyin.
Important: Hasarlıysa veya temizlenemiyorsa filtreyi yenisiyle değiştirin.
Nozul filtresini takın (Şekil 81).
Note: Filtrenin yerine sıkıca oturduğunu kontrol edin.
Nozulu döner püskürtme başlığının üzerine takın (Şekil 81).
| Bakım Servisi Aralıkları | Bakım Prosedürü |
|---|---|
| Her kullanımdan sonra |
|
Koşullandırıcı teknik özellikleri: korozyon önleyicili propilen glikol bazlı "zehirli olmayan RV antifriz".
Important: Sadece korozyon önleyicili propilen glikol kullanın. Geri dönüştürülmüş propilen glikol kullanmayın. Etilen glikol bazlı antifriz kullanmayın.Çözünebilir alkollü (metanol, etanol veya izopropanol) veya tuzlu su eklenmiş propilen glikol kullanmayın.
Makineyi düz bir zemine getirin, park frenini etkinleştirin, motoru kapatın ve anahtarı çıkarın.
Depoya şu şekilde koşullandırıcı ekleyin:
Kullanıma hazır (önceden karıştırılmış) propilen glikol RV antifriz için—depoya 10 galon propilen glikol RV antifriz ekleyin.
Konsantre propilen glikol RV antifriz içinse şu adımları gerçekleştirin:
Püskürtme makinesi deposuna 10 galon propilen glikol RV antifriz ve su karışımı ekleyin. Antifriz karışımını, minimum -45°C (-50°F) sıcaklığa uygun bir konsantrasyon için üreticinin bildirdiği gibi hazırlayın.
Important: Püskürtme makinesini temizlerken yalnızca temiz su kullanın.
Motoru çalıştırın ve püskürtme pompası anahtarını AçıK konumuna getirin.
Motor devrini artırmak için gaz pedalına basın.
Karıştırma anahtarını AçıK konumuna getirin.
Koşullandırıcı ve su solüsyonunun 3 dakika veya daha uzun süre dolaşmasını bekleyin.
Tavsiye edilen araç: şeffaf bir toplama kabı.
Makineyi boşaltma kabının olduğu alana getirin ve park frenini etkinleştirin.
Dış boom kısımlarını indirin.
Sol, orta ve sağ bölüm anahtarları ile ana bölüm anahtarını AçıK konumlarına getirin.
Püskürtme sisteminin, nozullar koşullandırıcıyı boşaltana kadar püskürtme yapmasına izin verin.
Note: Propilen glikol RV antifrizlerin çoğu pembedir. Çeşitli nozullardan püskürtme makinesi boşaltma örnekleri almak için yakalama kabını kullanın.
Ana bölüm anahtarını, 3 bölüm anahtarını, karıştırma anahtarını, püskürtme pompası anahtarını ve motoru kapatıp anahtarı çıkarın.
Makinenin taşınması veya çekilmesi hakkında bilgi almak için Workman aracınızın Kullanma Kılavuzuna bakın.
Important: Dış püskürtme bölümlerini boom bölümü taşıma kızaklarına bağlayın.
Note: www.Toro.com adresine gidip ana sayfadaki Kılavuzlar bağlantısına tıklayarak elektrik veya hidrolik şemasının ücretsiz bir kopyasını indirebilirsiniz.
Note: Makinenin sağ ve sol taraflarını, normal çalışma konumuna göre belirleyin.
Operatör konumundan ayrılmadan önce şunları yapın:
Makineyi düz bir zemine park edin.
Vitesi BOş konumuna getirin.
Park frenini etkinleştirin.
Motoru kapatın ve anahtarı çıkarın (varsa).
Tüm hareketin durmasını bekleyin.
Bakım yapmadan önce makine bileşenlerinin soğumasını bekleyin.
Sadece yetkili personel makinede bakım, onarım, ayar veya kontrol yapmalıdır.
herhangi bir bakım işi yapmadan önce püskürtme makinesini iyice temizleyip durulayın; bkz. Kimyasal Güvenliği.
Püskürtme sisteminde kullanılan kimyasal maddeler siz, çevredekiler, hayvanlar, bitkiler, toprak ve diğer maddeler için tehlikeli ve zehirli olabilir.
Kullanılan tüm kimyasallarla ilgili kimyasal uyarı etiketlerini ve güvenlik bilgi sayfalarını (SDS) dikkatle okuyun, buralarda bildirilen talimatlara uyun ve kendinizi kimyasal madde üreticisinin tavsiyelerine göre koruyun.
Kimyasalların yakınındayken cildinizi her zaman koruyun. Kimyasallarla kişisel temasa karşı gerekli kişisel koruyucu donanımı (KKD) kullanın; örneğin:
emniyet gözlükleri, gözlükler ve/veya yüz siperi
kimyasal elbisesi
solunum aparatı veya filtreli maske
kimyasala dayanıklı eldivenler
kauçuk botlar veya başka koruyucu ayakkabılar
temiz yedek giysiler, sabun ve kimyasalları temizlemek için tek kullanımlık havlular
Kimyasal güvenlik bilgileri mevcut değilse püskürtme makinesini çalıştırmayı veya makine üzerinde çalışmayı kabul etmeyin.
Çevrede insanlar (özellikle çocuklar) veya hayvanlar varken makineyi doldurmayın, kalibre etmeyin veya temizlemeyin.
Kimyasalları, iyi havalandırılmış bir yerde elleçleyin.
Özellikle püskürtme deposunu doldururken temiz su bulundurun.
Kimyasalların yakınında çalışırken hiçbir şey yemeyin, içmeyin ve sigara içmeyin.
Püskürtme nozullarını, nozullardan hava üfleyerek veya nozulları ağzınıza sokarak temizlemeyin.
Kimyasallarla çalışmanız bittikten sonra ellerinizi ve kimyasala maruz kalan diğer yerlerinizi hemen yıkayın.
Kimyasallar ve dumanlar tehlikelidir; depoya asla girmeyin veya başınızı depo ağzına veya içine sokmayın.
Tüm makinenin iyi durumda olmasını sağlamak için tüm donanımları iyi sıkılmış durumda tutun.
Yangın tehlikesini azaltmak için, motorun çevresindeki gres, kimyasal, çim ve yaprak kalıntıları ile kir birikmelerini giderin.
Bir bakım ayarı yapmak için motoru çalıştırmanız gerekirse, ellerinizi, ayaklarınızı, giysilerinizi ve vücudunuzun tüm kısımlarını motordan ve hareketli parçalardan uzak tutun. Herkesi bölgeden uzakta tutun.
Makinenin yürüyüş hızını ayarlamayın. Emniyet ve doğruluk için, yürüyüş hızını yetkili bir Toro distribütörüne kontrol ettirin.
Makinede büyük bir onarım yapılması gerekiyorsa veya teknik yardıma ihtiyacınız varsa yetkili bir Toro distribütörüne danışın.
Bu makinede herhangi bir şekilde değişiklik yapılması makinenin çalışmasını, performansını veya dayanıklılığını etkileyebilir ya da yaralanma veya ölüme yol açabilir. Bu tür bir işlem ürün garantisinin geçersiz kalmasına da yol açar.
Makinenin altında çalışacağınız zaman makineyi mutlaka krikolarla destekleyin.
Enerji depolanmış bileşenlerdeki basıncı dikkatle boşaltın.
| Bakım Servisi Aralıkları | Bakım Prosedürü |
|---|---|
| Her kullanımdan önce veya günlük |
|
| Her kullanımdan sonra |
|
| Her 50 saatte |
|
| Her 100 saatte |
|
| Her 200 saatte |
|
| Her 400 saatte |
|
| Yıllık |
|
Important: Ek bakım prosedürleri için makinenizin Kullanım Kılavuzuna ve motorun kullanım kılavuzuna bakın.
Rutin kullanım için bu sayfayı çoğaltın.
| Bakım Kontrol Öğesi | Bakım haftası: | ||||||
|---|---|---|---|---|---|---|---|
| Pzt. | Sal. | Çar. | Per. | Cum. | Cmt. | Paz. | |
| Frenin ve park freninin çalışmasını kontrol edin. | |||||||
| Vites kolu/boş vites çalışmasını kontrol edin. | |||||||
| Yakıt seviyesini kontrol edin. | |||||||
| Depoyu doldurmadan önce motor yağı seviyesini kontrol edin. | |||||||
| Depoyu doldurmadan önce transaks yağı seviyesini kontrol edin. | |||||||
| Depoyu doldurmadan önce hava filtresini kontrol edin. | |||||||
| Depoyu doldurmadan önce motor soğutma kanatlarını kontrol edin. | |||||||
| Olağan dışı motor sesleri olup olmadığını kontrol edin. | |||||||
| Olağan dışı çalışma sesleri olup olmadığını kontrol edin. | |||||||
| Lastik hava basıncını kontrol edin. | |||||||
| Sıvı sızıntıları olup olmadığını kontrol edin. | |||||||
| Göstergenin çalışmasını kontrol edin. | |||||||
| Gaz pedalının çalışmasını kontrol edin. | |||||||
| Emme süzgecini temizleyin. | |||||||
| İçe dönüklük açısını kontrol edin. | |||||||
| Tüm gresörlükleri yağlayın.1 | |||||||
| Boya hasarlarını düzeltin. | |||||||
1Her yıkamadan hemen sonra, belirtilen aralığa bakılmaksızın
| Kontrolü yapan: | ||
| Öğe | Tarih | Bilgi |
| 1 | ||
| 2 | ||
| 3 | ||
| 4 | ||
| 5 | ||
| 6 | ||
| 7 | ||
| 8 | ||
| 9 | ||
| 10 | ||
Marş anahtarını kontak yuvasında bırakırsanız yetkisiz bir kişi motoru çalıştırabilir ve sizi ya da çevredekileri ağır yaralayabilir.
Herhangi bir bakım yapmadan önce anahtarı kontak yuvasından çıkarın ve eksi akü kablosunu aküden ayırın. Akü kablosunu, kazayla akü kutup uçlarına temas etmeyeceği bir yere koyun.
Püskürtme deposu grubu, depolanmış enerjiden ötürü tehlike arz eder. Grubu takarken veya çıkarırken gerektiği gibi sıkı tutulmazsa grup hareket edebilir, yere düşebilir ve sizi veya çevredekileri yaralayabilir.
Sabitleme elemanlarını çıkardıysanız, kurulum, sökme veya bakım işleri sırasında püskürtme deposu grubunu kayışlarla ve üstten kaldırma ekipmanıyla destekleyin.
Motora ve diğer dahili bileşenlere erişmek için depo grubunu yukarı kaldırabilirsiniz. Ağırlığı daha eşit dağıtmak için boom uzantısını öne doğru döndürün.
Püskürtme deposunu boşaltın.
Aracı düz bir zemine park edin.
Boom uzantısını yaklaşık 45°'ye yükseltmek için boom kontrol anahtarlarını kullanın.
Park frenini etkinleştirin, motoru kapatın ve anahtarı çıkarın.
Akü bağlantısını ayırın.
Kızağın ön tarafındaki emniyet cıvatalarını sökün (Şekil 82).

Orta konsol kablo demetini ana kablo demetinden ayırın ve gevşeklik sağlamak için ana kablo demetini kablo yolundan çıkarın.
Ağırlığı daha eşit dağıtmak ve makinenin geriye doğru devrilmesini önlemek için boom uzantılarını depo grubunun yanında öne doğru katlayın.
Depo grubunu, kaldırma silindirleri tamamen açılana kadar yükseltin.
ROPS panelinin arka kısmındaki depolama braketlerinden yatak desteğini çıkarın (Şekil 83).

Yatak desteğini silindir çubuğunun üzerine itin ve destek ucu tırnaklarının, silindir haznesi ucu ile kaldırma silindiri çubuk ucuna temas etmesini sağlayın (Şekil 84).

Depo grubunu aşağı indirmeye hazır olduğunuzda, yatak desteğini silindirden çıkarın ve ROPS panelinin arka kısmındaki braketlerin içine yerleştirin.
Important: Yatak emniyet desteği silindirin üzerindeyken depo grubunu indirmeye çalışmayın.
Kaldırma silindirlerini toplayıp depoyu dikkatle şasiye indirin.
Depo grubunu sabitlemek için 2 tutma cıvatasını ve sabitleme elemanlarını takın.
Boom uzantılarını arkaya, açılmış konuma doğru katlayın.
Boom uzantılarını yaklaşık TAşıMA konumuna yükseltmek için boom kontrol anahtarlarını kullanın.
Ana kablo demetini gevşekliği alacak şekilde kablo yoluna yerleştirin ve orta konsol kablo demetine bağlayın.
| Bakım Servisi Aralıkları | Bakım Prosedürü |
|---|---|
| Her 50 saatte |
|
Gres Tipi: Mobil XHP 461
Püskürtme pompasındaki gresörlükleri bulun.
Note: Pompa makinenin arka ucundadır.

Uzaktaki 2 gresörlüğü silerek temizleyin.
Her iki gresörlüğün içine de gres pompalayın.
Fazla gelen gresi silerek giderin.
| Bakım Servisi Aralıkları | Bakım Prosedürü |
|---|---|
| Her 100 saatte |
|
Important: Boom menteşesini suyla yıkarsanız menteşe grubundaki tüm su ve artıkları giderip temiz gres sürün.
Gres Tipi:2 numara lityum gres
Yatak veya burçlara yabancı madde girmesini önlemek için gresörlüğü silerek temizleyin.
Yatak veya burçların içine, her bir gresörlükten gres pompalayın (Şekil 86).

Fazla gelen gresi silerek giderin.
Bu işlemi her bir boom kılavuzu için tekrarlayın.
Makineyi onarmadan önce akü bağlantısını ayırın. İlk önce eksi, ardından da artı ucunu ayırın. İlk önce artı, ardından da eksi ucunu bağlayın.
Aküyü, kıvılcım ve alevlerden uzak, iyi havalandırılan, açık bir ortamda şarj edin. Aküyü bağlamadan veya bağlantısını ayırmadan önce şarj cihazının fişini çekin.
Koruyucu kıyafet giyin ve yalıtımlı aletler kullanın.
Püskürtme sistemi sigorta bloku, aracın sigorta blokunun ucuna monte edilmiştir. Açık bir sigortayı aynı tipte ve aynı amper değerine sahip bir sigortayla değiştirin.

| Bakım Servisi Aralıkları | Bakım Prosedürü |
|---|---|
| Her 200 saatte |
|
| Her 400 saatte |
|
Püskürtme sistemindeki her hortumu çatlak, sızıntı ve diğer hasarlar bakımından kontrol edin. Ayrıca, bağlantıları ve bağlantı parçalarını da benzer hasarlar bakımından kontrol edin. Hasar görmüş hortum ve bağlantı parçalarını değiştirin.
| Bakım Servisi Aralıkları | Bakım Prosedürü |
|---|---|
| Her 400 saatte |
|
Note: İş için ihtiyaç duyduğunuz uygun emme filtresi örgü ebadını belirleyin; bkz. Emme Filtresi Seçme.
Makineyi düz bir zemine park edin, park frenini etkinleştirin, pompayı kapatın, motoru kapatın ve anahtarı çıkarın.
Püskürtme makinesi deposunun en üst kısmında bulunan ve hortum bağlantı parçasını filtre muhafazasından gelen büyük hortuma sabitleyen tespit elemanını sökün (Şekil 88).

Hortumu ve hortum bağlantı parçasını filtre muhafazasından çıkarın (Şekil 88).
Eski emme filtresini depodaki filtre muhafazasından çıkarın (Şekil 89).
Note: Eski filtreyi atın.

Yeni emme filtresini filtre muhafazasının içine takın.
Note: Filtrenin yerine sıkıca oturduğunu kontrol edin.
Hortumu ve hortum bağlantı parçasını deponun en üst kısmındaki filtre muhafazasıyla hizalayın ve 2. adımda söktüğünüz tespit elemanını kullanarak bağlantı parçasını ve muhafazayı sabitleyin.
| Bakım Servisi Aralıkları | Bakım Prosedürü |
|---|---|
| Her 400 saatte |
|
Note: İş için ihtiyaç duyduğunuz uygun basınç filtresi örgü ebadını belirleyin; bkz. Basınç Filtresi Seçme.
Makineyi düz bir zemine park edin, park frenini etkinleştirin, püskürtme pompasını kapatın, motoru kapatın ve anahtarı çıkarın.
Basınç filtresinin altına bir boşaltma kabı yerleştirin (Şekil 90).

Boşaltma kapağını saatin aksi yönünde döndürün ve basınç filtresi çanağından çıkarın (Şekil 90).
Note: Çanağın tamamen boşalmasını bekleyin.
Çanağı saatin aksi yönünde döndürüp filtre kafasını çıkarın (Şekil 90).
Eski basınç filtresi elemanını yerinden çıkarın (Şekil 90).
Note: Eski filtreyi atın.
Boşaltma tapasının contasını (çanağın içindedir) ve çanağın contasını (filtre kafasının içindedir) aşınma ve hasara karşı kontrol edin (Şekil 90).
Note: Tapanın, çanağın veya her ikisinin hasarlı veya aşınmış contalarını değiştirin.
Yeni basınç filtresi elemanını filtre kafasının içine takın (Şekil 90).
Note: Filtre elemanının filtre kafasına sıkıca oturduğundan emin olun.
Çanağı filtre kafasının üstüne takıp elinizle sıkın (Şekil 90).
Tahliye kapağını çanağın dibindeki bağlantı parçasının üzerine monte edin ve kapağı elinizle sıkın (Şekil 90).
Note: İş için ihtiyaç duyduğunuz uygun nozul filtresi örgü ebadını belirleyin; bkz. Nozul Ucu Filtresi (İsteğe bağlı) Seçme.
Makineyi düz bir zemine park edin, park frenini etkinleştirin, püskürtme pompasını kapatın, motoru kapatın ve anahtarı çıkarın.
Nozulu döner püskürtme başlığından çıkarın (Şekil 91).

Eski nozul filtresini çıkarın (Şekil 91).
Note: Eski filtreyi atın.
Yeni nozul filtresini takın (Şekil 91).
Note: Filtrenin yerine sıkıca oturduğunu kontrol edin.
Nozulu döner püskürtme başlığının üzerine takın (Şekil 91).
| Bakım Servisi Aralıkları | Bakım Prosedürü |
|---|---|
| Her 400 saatte |
|
Note: Aşağıdaki makine bileşenleri, kendiliğinden kusurlu olmadıkları sürece kullanıldıkça tükenen bileşenler olarak kabul edilirler ve bu makine için verilen garantinin kapsamına girmezler.
Yetkili bir Toro distribütöründen, aşağıdaki pompa iç bileşenlerini hasara karşı kontrol etmesini isteyin:
Pompa diyaframı
Pompa kontrol valfi grupları
Gerekiyorsa, bileşenleri yenileriyle değiştirin.
| Bakım Servisi Aralıkları | Bakım Prosedürü |
|---|---|
| Her 400 saatte |
|
Makineyi düz bir zemine park edin, park frenini etkinleştirin, pompayı kapatın, motoru kapatın ve anahtarı çıkarın.
Dış boom bölümlerini püskürtme konumuna kadar açın ve ayaklıkları veya kayışlar ile kaldırma donanımını kullanarak boomları destekleyin.
Kılavuz pimi sabitleyen cıvata ve somunu, ardından da pimi sökün (Şekil 92).

Plastik burçlara erişmek için, boom ve kılavuz braket grubunu orta şasinin uç kanalından sökün.
Kılavuz braketin ön ve arka kısımlarındaki plastik burçları söküp inceleyin (Şekil 92).
Note: Aşınmış veya hasarlı burçları yenileriyle değiştirin.
Plastik burçları az miktarda yağ ile yağlayın ve burçları kılavuz braketine takın (Şekil 92).
Kılavuz braketindeki delikleri uç kanaldaki deliklerle hizalayın (Şekil 92).
Kılavuz pimi takın ve 3. adımda söktüğünüz flanşlı cıvata ve flanşlı kilit somunuyla sabitleyin.
Diğer dış boom bölümü için de 2 - 8 arası adımları tekrarlayın.
Sol ve sağ boomları aynı seviyede tutmak amacıyla orta boomdaki aktüatörleri ayarlamak için aşağıdaki prosedür kullanılabilir.
Boomları püskürtme konumuna açın.
Kamalı pimi kılavuz pimden sökün (Şekil 93).

Boomu yukarı kaldırın, pimi sökün (Şekil 93) ve boomu yavaşça yere indirin.
Pimi hasara karşı kontrol edin, gerekiyorsa yenisiyle değiştirin.
Aktüatör çubuğunun düz taraflarına bir anahtar yerleştirerek çubuğu sabitleyin, ardından da delikli çubuğun ayarlanabilmesi için sıkma somununu gevşetin (Şekil 94).

Açılmış aktüatörü istediğiniz konuma kısaltmak veya uzatmak için aktüatör çubuğundaki delikli çubuğu döndürün (Şekil 94).
Note: Çubuğu booma monte edebilmek için delikli çubuğu yarım veya tam tur döndürmeniz gerekir.
İstenen konum elde edilince, aktüatörü ve delikli çubuğu sabitlemek için sıkma somununu sıkın.
Kılavuzu aktüatör çubuğuyla hizalamak için boomu yükseltin.
Boomu tutarken pimi hem kılavuzdan hem de aktüatör çubuğundan geçirin (Şekil 93).
Pim yerindeyken boomu serbest bırakın ve pimi daha önce söktüğünüz kamayla sabitleyin.
Gerekiyorsa bu işlemi her bir aktüatör çubuğu yatağı için tekrarlayın.
Important: Makineyi temizlemek için tuzlu veya geri kazanılmış su kullanmayın.
| Bakım Servisi Aralıkları | Bakım Prosedürü |
|---|---|
| Her 200 saatte |
|
Tüm püskürtme sistemini duru suyla iyice yıkayıp boşaltın.
Akış ölçeri püskürtme makinesinden çıkarın ve temiz suyla yıkayın.
Yukarı akış tarafındaki tespit halkasını sökün (Şekil 95).

Metal talaşlarını ve varsa ıslatılabilir toz kalıntılarını gidermek için türbini ve türbin göbeğini temizleyin.
Türbin kanatlarını aşınmaya karşı kontrol edin.
Note: Türbini elinizde tutup çevirin. Az bir sürtünmeyle serbestçe dönebilmelidir. Aksi takdirde yenisiyle değiştirin.
Akış ölçeri monte edin.
Türbinin serbestçe döndüğünü kontrol etmek için düşük basınçlı (50 kPA veya 5 psi) bir hava jeti kullanın.
Note: Türbin serbestçe dönmüyorsa türbin göbeğinin dibindeki altıgen saplamayı türbin serbestçe dönebilene kadar 1/16 tur gevşetin.
Operatör konumundan ayrılmadan önce şunları yapın:
Makineyi düz bir zemine park edin.
Püskürtme pompasını kapatın.
Park frenini etkinleştirin.
Motoru kapatın ve anahtarı çıkarın (varsa).
Tüm hareketin durmasını bekleyin.
Makineyi ayarlamadan, bakım yapmadan, temizlemeden veya depoya kaldırmadan önce soğumasını bekleyin.
Makineyi veya yakıt kabını asla bir su ısıtıcısı veya diğer cihazlarda bulunan tipte açık alev, kıvılcım veya tutuşturma alevlerinin bulunduğu yerlerde depolamayın.
Şu prosedürleri uygulayın:
Important: Makineyi temizlemek için tuzlu veya geri kazanılmış su kullanmayın.
Makineyi düz bir zemine park edin, park frenini etkinleştirin, püskürtme pompasını ve makinenin motorunu kapatın, anahtarı çıkarın ve makinenin başından ayrılmadan önce tüm hareketin durmasını bekleyin.
Note: Manuel şanzımanlı HD ve HDX Serisi Workman modellerde, PTO'yu devre dışı bırakın.
Silindir kapağı kanatlarının ve fan muhafazasının dış kısmındakiler dahil tüm makinedeki kir ve yabancı maddeleri giderin.
Important: Makineyi, yumuşak bir deterjan ve suyla yıkayabilirsiniz. Makineyi yıkamak için yüksek basınçlı su kullanmayın. Makinenin basınçla yıkanması elektrik sistemine hasar verebilir veya sürtünme noktalarındaki gerekli gresi koparabilir. Kontrol panelinin, özellikle de ışıkların, motorun ve akünün yakınında aşırı su kullanmayın.
Makineyi boşaltma dolgusu noktasına götürün, park frenini etkinleştirin, püskürtme pompasını ve makinenin motorunu kapatın, anahtarı çıkarın ve operatör koltuğundan ayrılmadan önce tüm hareketin durmasını bekleyin.
Tatlı su deposunu boşaltın ve depo musluğunun tapasını açık bırakın.
Püskürtme deposunu olabildiğince boşaltmaya çalışın.
Pas önleyici, alkol bazlı olmayan bir RV antifriz solüsyonu hazırlayın; bkz. Koşullandırıcının Hazırlanması.
Basınç algılama borularından 1 tanesini, Şekil 96 ile gösterildiği gibi basmalı bağlantı parçasından çıkarın.

Motoru çalıştırın ve dış boom bölümlerini yere indirin.
Püskürtme pompasını birkaç dakika çalıştırarak RV antifrizi tüm püskürtme sisteminde ve varsa takılı püskürtme aksesuarlarında dolaştırın.
Sol, orta ve sağ bölüm anahtarlarını AçıK konumuna getirin.
Ana bölüm anahtarını AçıK konumuna getirin ve şu kontrolleri yapın:
RV antifrizin, basınç göstergesi borusunun bağlantısı ayrılmış ucundan aktığını teyit edin.
Nozulu, RV antifriz görünene kadar püskürtün.
Ana bölüm anahtarını KAPALı konumuna getirin.
Pompa anahtarını KAPALı konumuna getirin.
Dış boom bölümlerini yükseltmek için boom bölümü kaldırma anahtarlarını kullanın.
Boom bölümlerini, boom taşıma kızağının içine tamamen ulaşıp "X" taşıma konumunu oluşturana ve kaldırma silindirleri tamamen toplanana kadar yükseltin.
Note: Aktüatör çubuğunun hasar görmemesi için, kaldırma silindirlerinin tamamen toplandığından emin olun.
Motoru kapatın.
Püskürtme deposunu olabildiğince boşaltmaya çalışın.
Püskürtme makinesini gresleyin; bkz. Yağlama.
Tüm cıvata, somun ve vidaları kontrol edip sıkın.
Note: Aşınmış ya da hasarlı parçaları onarın veya yenisiyle değiştirin.
Tüm püskürtme hortumlarının durumunu kontrol edin.
Note: Aşınmış ya da hasarlı hortumları onarın veya değiştirin.
Tüm hortum bağlantı parçalarını sıkın.
Çizilmiş veya çıplak metal yüzeyleri, yetkili Toro distribütöründen satın alabileceğiniz boyayla boyayın.
Gerekirse aracı uzun süreli depolamaya hazırlayın; aracınızın Kullanım Kılavuzuna bakın.
Makineyi temiz ve kuru bir garajda veya depoda saklayın.
Makineyi korumak ve temiz tutmak için üzerini örtün.
Basınç algılama borusunu, içine tam oturuncaya kadar basmalı bağlantı parçasına sokun (Şekil 97).

Tatlı su deposunun musluk tapasını kapatın.
Yakıt deposuna yakıt ekleyin.
Araçta gerekli bakımları yapın; aracınızın Kullanma Kılavuzuna bakın.
Kaldırma ekipmanı kapasitesi: 408 kg
Püskürtme deposu grubu, depolanmış enerjiden ötürü tehlike arz eder. Grubu takarken veya çıkarırken gerektiği gibi sıkı tutulmazsa grup hareket edebilir, yere düşebilir ve sizi ya da çevredekileri yaralayabilir.
Sabitleme elemanlarını çıkardıysanız, kurulum, sökme veya bakım işleri sırasında püskürtme deposu grubunu kayışlarla ve üstten kaldırma ekipmanıyla destekleyin.
Akü kablolarını aküden ayırın; bkz. Akü Bağlantısının Ayrılması.
Püskürtme makinesinin sigorta blokunu makinenin sigorta blokundan ayırın ve 2 sigorta bloku arasındaki kabloları ayırın; bkz. Püskürtme Makinesi Sigorta Blokunun Takılması.
Kablo demetini J klipsten çıkarın; bkz. Püskürtme Makinesinin Arka Elektrik Kablo Demetini Kontrol Konsoluna Yönlendirme.
Konsolun altında bulunan el düğmesini gevşetin ve kopilyayı sökün; bkz. Kontrol Konsolunun Makineye Takılması.
Püskürtme makinesinin sigorta blokunu makinenin sigorta blokuna bağlayan kabloların terminallerini ayırın; bkz. Püskürtme Makinesi Sigorta Blokunun Takılması.
Püskürtme makinesinin sigorta blokunu makinenin sigorta blokundan ayırın; bkz. Püskürtme Makinesi Sigorta Blokunun Takılması.
Konsolu makinenin gösterge panelindeki konsol montaj braketinden çıkarın ve kontrol konsolundaki kılavuz pimi ön depo kayışındaki saklama braketiyle hizalayın (Şekil 98); bkz. Kontrol Konsolunun Makineye Takılması.

Konsolu brakete monte edin ve kılavuz pimi kopilyayla brakete sabitleyin (Şekil 98).
Kaldırma ekipmanı kapasitesi: 408 kg
Ön kriko ayağını deponun önündeki kriko ayağı yuvasıyla hizalayın (Şekil 99).

Kriko ayağını, yatay kriko ayağı borusundaki orta delik ile yuvanın en üstündeki delik hizalanana kadar yuvaya yerleştirin (Şekil 99).
Çatal pimi (1/2 x 3 inç) kriko ayağındaki ve ayak yuvasındaki deliklere geçirin ve bir kopilyayla (5/32 x 2-5/8 inç) sabitleyin.
Yuvaya bir kilit düğmesi geçirin ve düğmeyi elle sıkın (Şekil 99).
Arka kriko ayağını arka kriko ayağı yuvasıyla hizalayın (Şekil 100).

Kriko ayağının en üst kısmındaki deliği, depo kızağı şasisindeki delikle hizalayın (Şekil 100).
Kriko ayağını, Şekil 100 ile gösterildiği gibi 2 çatal pim (1/2 x 4-1/2 inç) ve 2 kopilya (5/32 x 2-5/8 inç) ile ayak yuvasına ve şasiye sabitleyin
1 ile 7 arası adımları, depo kızağının diğer tarafındaki ön ve arka kriko ayakları için de tekrarlayın.
Kriko ayaklarını açmak için kriko ve ön kriko ayağı uzatmasını kullanın.

Boomları yaklaşık 45° açıya indirin ve öne doğru döndürün (Şekil 102).

Depo kızağı grubunun tutma braketini makinenin her iki tarafında bulunan şasi üzerindeki yatak braketine sabitleyen 2 cıvatayı (1/2 x 1-1/2 inç) ve 2 kilit somununu (1/2 inç) sökün; bkz. Depo Kızağının İndirilmesi.
Depo kızağını kaldırma silindirleriyle yukarı kaldırın, silindir kilidini takın ve şunları yapın:
Note: Bkz. Depo Grubunun Yukarı Kaldırılması.
Manuel şanzımanlı HD ve HDX Serisi Workman modellerinde, PTO milini transaks PTO'sundan ayırın; Multi Pro WM Çim Püskürtme Makinesi Boya Seti, Manuel Workman Genel Hizmet Aracı için verilen kurulum talimatlarına bakın.
Hız sensörü kablo bağlantısını ayırın; bkz. Hız Sensörü Kablo Demetinin Bağlanması (Manuel Şanzımanlı HD Serisi Modeller).
Silindir kilidini çıkarın ve depo kızağını kaldırma silindirleriyle indirin; bkz. Depo Grubunun Aşağı İndirilmesi.
Kaldırma ekipmanını ön kriko ayaklarının yatay borularına ve arka kriko ayaklarının dikey direğine takın (Şekil 102).
Depo grubunu 7,5 ila 10 cm yukarı kaldırın ve kaldırma silindirlerini depo grubuna sabitleyen sıkıştırma pimleri ile çatal pimleri sökün.
Depo kızağını, makineden ayrılmasına yetecek kadar yukarı kaldırın (Şekil 102).
Aracı dikkatli bir şekilde ileri, depo kızağından uzağa doğru hareket ettirin.
Depo kızağını yavaşça yere indirin.
| Problem | Possible Cause | Corrective Action |
|---|---|---|
| Bir bölüm, püskürtme yapmıyor. |
|
|
| Bir bölüm, çalışmıyor. |
|
|
| Bir bölüm valfinda sızıntı vardır. |
|
|
| Bölüm anahtar(lar)ı kapatılınca püskürtme nozulu (nozulları) damlatıyor. |
|
|
| Bir boom etkinleştirilince basınç düşüyor. |
|
|
