| Intervali servisnega vzdrževanja | Postopek vzdrževanja |
|---|---|
| Pred vsako uporabo ali dnevno |
|
Vozilo, na katerega je ta priključek pravilno nameščen, se spremeni v namenski stroj za škropljenje travne ruše, predviden pa je za komercialne načine uporabe, pri katerih ga upravljajo najeti strokovnjaki. Stroj je primarno zasnovan za škropljenje dobro vzdrževanih trat v parkih, na igriščih za golf, na športnih igriščih in na komercialnih površinah.
Podrobno preberite te informacije, da se seznanite s pravilnim upravljanjem in vzdrževanjem stroja ter preprečite telesne poškodbe in poškodbe izdelka. Vi ste odgovorni za pravilno in varno upravljanje izdelka.
Če potrebujete več informacij, vključno z nasveti glede varnosti, gradivom za usposabljanje za uporabo, podatki o dodatni opremi in pomočjo pri iskanju prodajalca oziroma želite registrirati izdelek, obiščite spletno mesto www.Toro.com.
Če potrebujete servisne storitve, originalne dele Toro ali dodatne informacije, se obrnite na pooblaščenega prodajalca oziroma službo za pomoč strankam družbe Toro, pri čemer predhodno pripravite številko modela in serijsko številko izdelka. Diagram 1 označuje mesto številke modela in serijske številke na izdelku. Številke vpišite v ustrezna polja.
Important: Pomembno: do podatkov o garanciji, delih in drugih informacij o izdelku lahko dostopate tako, da z mobilno napravo odčitate QR-kodo na nalepki s serijsko številko (če je nameščena).

V tem priročniku so opredeljene morebitne nevarnosti, pri čemer varnostna opozorila označuje poseben opozorilni znak za nevarnost (Diagram 2), ki lahko povzroči hude telesne poškodbe ali smrt, če ne upoštevate priporočenih previdnostnih ukrepov.

Za poudarjanje informacij sta v tem priročniku uporabljeni 2 besedi. Pomembno opozarja na posebne tehnične informacije, medtem ko Opomba označuje informacije, ki jih morate posebej pozorno prebrati.
Ta izdelek je skladen z vsemi ustreznimi evropskimi direktivami. Podrobnosti so na voljo v ločeni izjavi o skladnosti (DOC) za ta izdelek.
V skladu s členoma 4442 ali 4443 zakona o javnih virih zvezne države Kalifornija uporaba ali upravljanje motorja na katerih koli površinah, ki so prekrite z gozdom, grmičevjem (podrastjo) ali travo, ni dovoljeno, če motor nima vgrajenega lovilca isker, kot je opredeljeno v členu 4442, če ni v ustreznem delujočem stanju oziroma če ni zasnovan, opremljen ali vzdrževan v skladu s priporočili za preprečevanje požarov.
KALIFORNIJA
Problem 65 Opozorilo
Z uporabo tega izdelka boste morda izpostavljeni kemikalijam, za katere je Zvezna država Kalifornija ugotovila, da povzročajo raka, prirojene napake ali škodo reproduktivnim organom.
Če lastnik ali upravljavec nepravilno uporablja ali vzdržuje izdelek, lahko to privede do telesnih poškodb. Zaradi preprečevanja nevarnosti poškodb upoštevajte ta varnostna navodila in vedno upoštevajte varnostni simbol (Diagram 2), ki lahko pomeni: svarilo, opozorilo ali nevarnost – navodilo za osebno varnost. Neupoštevanje teh navodil lahko privede do telesnih poškodb ali smrti.
Pri tem stroju lahko pride do telesnih poškodb. Da se izognete hudim telesnim poškodbam, vedno upoštevajte vsa varnostna navodila.
Vsebino tega priročnika za upravljanje morate prebrati in razumeti, preden prvič zaženete motor.
Med upravljanjem stroja bodite popolnoma zbrani. Ne delajte ničesar, kar bi lahko odvrnilo vašo pozornost, saj to lahko privede do telesnih poškodb ali materialne škode.
Za zaščito pred stikom s kemikalijami uporabljajte ustrezno osebno zaščitno opremo (OZO). Kemične snovi, ki so uporabljene v sistemu škropilnika, so lahko nevarne in strupene.
Ne postavljajte rok ali nog blizu premičnih delov stroja.
Stroja ne uporabljajte, če niso nameščeni vsi ščitniki in druga varnostna oprema; vsa varnostna oprema na stroju mora delovati.
Ne približujte se izmetnim območjem šob škropilnika in neželenega škropljenja. Drugim navzočim osebam in otrokom preprečite vstop v območje delovanja stroja.
Otrokom nikoli ne dovolite upravljati stroja.
Preden zapustite upravljavčev položaj, parkirajte stroj na ravni površini, aktivirajte parkirno zavoro, ugasnite motor, odstranite ključ (če je nameščen) in počakajte, da se vsi premikajoči se deli ustavijo. Pustite, da se stroj ohladi, preden ga nastavite, popravite, očistite ali shranite.
Nepravilna uporaba ali vzdrževanje stroja lahko privedeta
do poškodb. Upoštevajte ta varnostna navodila in vedno
upoštevajte varnostni simbol
, ki lahko pomeni svarilo, opozorilo ali nevarnost
– navodila za osebno varnost, da preprečite nevarnosti
poškodb. Neupoštevanje teh navodil lahko privede do
telesnih poškodb ali smrti.
V tem priročniku niso zajeti vsi priključki, ki so prirejeni za ta stroj. Dodatna varnostna navodila poiščite v priloženem priročniku za upravljanje.
![]() |
Varnostne nalepke in nalepke z navodili so nameščene v bližini vseh nevarnih predelov in dobro vidne upravljavcu. Poškodovane in manjkajoče varnostne nalepke nadomestite z novimi. |

















Important: Model 41240 s serijsko številko 416500000 in naprej je mogoče namestiti samo na stroje Workman HDX z ročnim menjalnikom.
Note: Ugotovite, katera stran je leva in katera desna, gledano s položaja za upravljanje stroja.
Note: Če imate vprašanja o sistemu za nadzor škropljenja ali potrebujete dodatne informacije o njem, si oglejte priročnik za upravljanje, priložen sistemu.
Important: Ta škropilnik se prodaja brez šob za škropljenje.Če želite škropilnik uporabljati, si morate priskrbeti in namestiti šobe. Za informacije o razpoložljivem kompletu za določeno sekcijo in dodatni opremi se obrnite na pooblaščenega distributerja za izdelke Toro. Po namestitvi šob in pred prvo uporabo škropilnika prilagodite obtočne ventile sekcije, tako da bosta stopnji tlaka in uporabe pri izklopu ene ali več sekcij ostali enaki pri vseh sekcijah. Glejte Umerjanje pretoka škropilnika.
Important: Na vozilu Workman, pri katerem je uporabljen škropilnik travne ruše Multi Pro WM, mora biti nameščen varnostni lok (ROPS) s 4 stebri ali kabina.
Celotni keson tehta približno 95 kg. Če bi keson odstranjevali brez pomoči, bi se lahko poškodovali.
Kesona ne skušajte nameščati ali odstranjevati sami.
Pomagata naj vam še dve ali tri osebe ali pa uporabite mostni žerjav.
Stroj parkirajte na ravni podlagi, aktivirajte parkirno zavoro in zaženite motor.
Premaknite hidravlično dvižno ročico naprej in spuščajte keson, dokler ne bodo sproščeni varovalni sorniki za glave drogov valjev za dvig v režah plošč za pritrditev kesona.
Sprostite hidravlično dvižno ročico, namestite hidravlično zaklepno ročico, zaustavite motor in odstranite ključ; glejte priročnik za upravljanje stroja.
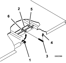
Odstranite zatiče z zunanjih glav varovalnih sornikov droga valja (Diagram 3).

Odstranite varovalne sornike, s katerimi so glave droga valja pritrjene na plošče za pritrditev kesona, tako da sornike potisnete proti središčnici stroja (Diagram 3).
Odstranite zatiče in varovalne sornike, s katerimi so vrtljivi nosilci kesona pritrjeni na kanale šasije stroja (Diagram 4).

Dvignite keson z vozila.
Valje za dvig shranite v shranjevalne objemke.
Deli potrebni za ta postopek:
| Komplet zadnje kardanske gredi, zmogljivo vozilo Workman (modeli serije HD z ročnim menjalnikom) | 1 |
| Komplet za končno obdelavo pri škropilniku za travno rušo Multi Pro WM, večnamensko vozilo Workman z ročnim menjalnikom (modeli serije HD z ročnim menjalnikom) | 1 |
Pri modelih Workman serij HD in HDX z ročnim menjalnikom namestite celotni komplet zadnje kardanske gredi za zmogljiva vozila Workman; glejte navodila za namestitev za komplet zadnje kardanske gredi za zmogljiva vozila Workman.
Z dvižno opremo dvižne zmogljivosti 408 kg dvignite sani cisterne z zaboja za pošiljanje na 2 sprednjih in 2 zadnjih dvižnih točkah (Diagram 5).
Note: Poskrbite, da boste sani cisterne dvignili dovolj visoko, da boste lahko namestiti podporna stojala.

Pri modelih Workman serij HD in HDX z ročnim menjalnikom glejte postopek za komplet za končno obdelavo za škropilnik za travno rušo Multi Pro WM za večnamensko vozilo Workman z ročnim menjalnikom.
Deli potrebni za ta postopek:
| Vpenjalni nosilci | 2 |
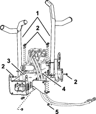
Odstranite 2 vijaka z glavo s prirobkom in 2 varovalni matici s prirobkom, s katerimi je podporni nosilec za cev motorja pritrjen na ogrodje stroja (Diagram 6).
Note: Pritrditvene elemente shranite za uporabo v prihodnje.

Zavrtite valj za dvig, da pridobite prostor za namestitev vpenjalnega nosilca za sani cisterne (Diagram 6).
Vpenjalne nosilce ter podporni nosilec in ogrodje spojite z 2 vijakoma z glavo s prirobkom in varovalnima maticama s prirobkom, ki ste jih odstranili v koraku 1 (Diagram 7).

Privijte vijake z zateznim momentom od 91 do 113 N∙m.
Ponovite korake od 1 do 4 na nasprotni strani stroja.
Deli potrebni za ta postopek:
| Sklop cisterne in sani | 1 |
| Varovalna sornika | 2 |
| Koničasti varovalni sornik | 2 |
| Razcepke | 2 |
| Zatiči z obročkom | 4 |
| Vijak (½ x 1½") | 2 |
| Matica (½") | 2 |
Sklop cisterne škropilnika predstavlja nevarnost zaradi shranjene energije. Če pri nameščanju ali odstranjevanju sklop ni pravilno zadržan, se lahko premakne ali pade in poškoduje vas ali druge navzoče osebe.
Za podporo sklopa cisterne škropilnika med namestitvijo, odstranjevanjem ali kakršnim koli vzdrževanjem, ko odstranjujete zadrževalne pritrdilne elemente, uporabljajte jermene in mostno dvigalo.
Z dvigalom dvignite sklop sani cisterne (Diagram 8) in ga namestite nad ogrodje vozila, tako da bodo črpalka in sklopi ventilov obrnjeni k zadnjemu delu.
Note: Naslednje korake naj vam pomaga izvesti še ena oseba.

Počasi spustite sani cisterne na ogrodje stroja.
Razširite valje za dvig do nosilcev na saneh cisterne in poravnajte pritrdilne elemente valjev z odprtinami v nosilcih sani cisterne (Diagram 9).

Na obeh straneh stroja z varovalnimi sorniki in razcepkami pritrdite sani cisterne na valje za dvig.
Poravnajte odprtine v vrtljivih ušesih na zadnji strani sklopa sani cisterne z odprtinami v vrtljivi cevi kesona na koncu ogrodja stroja (Diagram 10).

Namestite koničasti varovalni sornik in 2 zatiča na vrtljivo uho, da pritrdite sklop cisterne na ogrodje (Diagram 10).
Razširite valje za dvig, da boste dvignili cisterno in podprli njeno težo.
Note: Odklopite sklop cisterne z dvižne opreme.
Odstranite podpornik kesona s shranjevalnih nosilcev na zadnji strani plošče ROPS (Diagram 11).

Podpornik kesona potisnite na drog valja, pri čemer poskrbite, da bodo jezički podporne glave položeni na konec bobna valja in na glavo droga valja (Diagram 12).

Odstranite kabelsko vezico, s katero sta drenažni ventil in gibka cev za cisterno škropilnika pritrjena na kanal sani (Diagram 13).

Premaknite drenažni ventil in gibko cev proti zunanji strani kanala sani (Diagram 14A).

Odstranite 2 vijaka z glavo s prirobkom (5/16 x ⅝") z ohišja drenažnega ventila (Diagram 14).
Spojite drenažni ventil in njegov nosilec (Diagram 14B) ter 2 vijaka z glavo s prirobkom (5/16 x ⅝"), ki ste ju odstranili v koraku 3.
Ročno privijte 2 vijaka z glavo s prirobkom (Diagram 14B).
Napačna povezava akumulatorskih kablov lahko poškoduje škropilnik in kable ter privede do iskrenja. Iskre lahko povzročijo eksplozijo plinov iz akumulatorja, zaradi česar lahko pride do hudih telesnih poškodb.
Vedno izklopite najprej negativni (črni) akumulatorski kabel, preden izklopite pozitivni (rdeči) kabel.
Vedno priklopite najprej pozitivni (rdeči) akumulatorski kabel, preden priklopite negativni (črni) kabel.
Akumulatorske priključne sponke ali kovinska orodja lahko povzročijo kratek stik s kovinskimi sestavnimi deli škropilnika, kar lahko privede do iskrenja. Iskre lahko povzročijo eksplozijo plinov iz akumulatorja, zaradi česar lahko pride do hudih telesnih poškodb.
Pri odstranjevanju ali nameščanju akumulatorjev ne dovolite, da bi se priključne sponke akumulatorja dotaknile kovinskih delov škropilnika.
Preprečite, da bi se priključne sponke akumulatorja dotaknile kovinskih delov škropilnika in tako povzročile kratek stik.
Stisnite stranice pokrova akumulatorja, da sprostite jezičke iz rež v podnožju akumulatorja, in pokrov akumulatorja odstranite s podnožja (Diagram 15).

Potisnite pokrov nazaj in odstranite negativno akumulatorsko priključno sponko z akumulatorja (Diagram 15).
Odstranite pozitivno akumulatorsko priključno sponko z akumulatorja (Diagram 15).
Na žičnem kabelskem snopu za škropilnik poiščite priključek s 3 vtičnicami za tokokrog senzorja hitrosti in tripolni priključek za tokokrog vozila.
Na sklopu transmisijske gredi z diferencialom priklopite tripolni priključek pri žičnem kabelskem snopu stroja za senzor hitrosti na priključek s 3 vtičnicami pri kabelskem snopu škropilnika za senzor hitrosti (Diagram 16).

Tripolni priključek za tokokrog vozila pri kabelskem snopu škropilnika priključite na tripolno vtičnico za tokokrog vozila pri žičnem kabelskem snopu stroja.
Glejte navodila za namestitev kompleta za končno obdelavo za škropilnik za travno rušo Multi Pro WM za večnamensko vozilo Workman z ročnim menjalnikom.
Deli potrebni za ta postopek:
| Montažni nosilec konzole | 1 |
| Varovalna matica s prirobkom (5/16") | 3 |
| Vijak z glavo s prirobkom (5/16") | 3 |
| Plastična puša | 2 |
| Nadzorna konzola | 1 |
| Sornik z vzmetno sponko | 1 |
| Ročni gumb | 1 |
Note: Na nekaterih vozilih Workman je montažna plošča nadzorne konzole pritrjena na armaturno ploščo na istem mestu, na katerem je pritrjen nosilec za izbirni komplet ročne dušilne lopute. Če je nameščen komplet ročne dušilne lopute, morate z armaturne plošče odstraniti nosilec sklopa ročne dušilne lopute, poravnati montažno ploščo nadzorne konzole z armaturno ploščo in namestiti ročno dušilno loputo na vrh montažne plošče nadzorne konzole. Smernice za odstranjevanje in nameščanje ročne dušilne lopute poiščite v navodilih za namestitev ročne dušilne lopute.
Odstranite 3 vijake in 3 matice, s katerimi je spodnji osrednji del armaturne plošče pritrjen na podporni nosilec armaturne plošče (Diagram 17).
Note: Pri nekaterih starejših strojih Workman gre lahko za 4 vijake in matice s prirobkom.
Note: Vijake in matice zavrzite.

Odprtine v montažnem nosilcu za nadzorno konzolo poravnajte z odprtinami v armaturni plošči in podpornem nosilcu (Diagram 17).
Spojite montažni nosilec, armaturno ploščo in podporni nosilec s 3 vijaki z glavo s prirobkom (5/16 x 1") in 3 varovalnimi maticami s prirobkom (5/16").
Privijte matice in vijake z zateznim momentom (Diagram 17).
Vstavite 2 plastični puši v montažni nosilec (Diagram 17).
Odstranite razcepko, s katero je vrtljivi zatič nadzorne konzole pritrjen na shranjevalni nosilec na cisterni škropilnika.
Namestite nadzorno konzolo na montažni nosilec nadzorne konzole in nadzorno konzolo pritrdite s sornikom z vzmetno sponko (Diagram 18).
Note: Da bo sornik z vzmetno sponko zagotovo pritrjen, se prepričajte, da se je vzmetna sponka zavrtela okrog vrtljivega zatiča.

Namestite ročni gumb in ga privijte, da preprečite vrtenje konzole med delovanjem (Diagram 18).
Deli potrebni za ta postopek:
| J-sponke | 3 |
| Vijak (¼ x ¾") | 1 |
| Matica s prirobkom (¼") | 1 |
Z obstoječimi vijaki na sredino konzole namestite 2 J-sponki.

Za sovoznikovim sedežem namestite J-sponko z vijakom (¼ x ½") in matico s prirobkom (¼").

Z J-sponkami pritrdite kabelski snop nadzorne konzole na konzolo in pokrov sistema ROPS.
Poravnajte 3-polni moški priključek zadnjega kabelskega snopa za škropilnik s 3-polnim ženskim priključkom sprednjega kabelskega snopa, priključenega na nadzorno konzolo.

Sklenite 24-polni moški priključek zadnjega kabelskega snopa za škropilnik s 24-polnim ženskim priključkom sprednjega kabelskega snopa, priključenega na nadzorno konzolo.
Preklopite vzvod na 24-polnem priključku, da zapahnete spoj priključka.
Deli potrebni za ta postopek:
| Nalepka varovalke (127–3966) | 1 |
Na nadzorni konzoli za škropilnik speljite eno vejo sprednjega žičnega kabelskega sklopa z ohišji z varovalkami med dnom armaturne plošče in prečno cevjo šasije stroja ter navzdol proti sprednji strani ohišja z varovalkami za stroj (Diagram 22).

Poiščite neizolirano priključno sponko vtičnice na koncu odprte, rumene napajalne žice ohišja z varovalkami za stroj in izolirano priključno sponko rezila na koncu rumene, izbirne napajalne žice ohišja z varovalkami pri ožičenju škropilnika (Diagram 23).

Priklopite neizolirano priključno sponko vtičnice ohišja z varovalkami za stroj na izolirano priključno sponko rezila ohišja z varovalkami za škropilnik (Diagram 23).
Poravnajte pritrdilne T-elemente na ohišju z varovalkami za škropilnik s T-režami ohišja z varovalkami za stroj in potiskajte ohišje z varovalkami za škropilnik v reže, dokler ohišje z varovalkami popolnoma ne naleže (Diagram 24).

Nalepite nalepko varovalke na površino v bližini ohišja z varovalkami za škropilnik.
Deli potrebni za ta postopek:
| Čevelj priključka akumulatorja | 2 |
| Objemka | 2 |
| Pokrov – široki (priključna sponka akumulatorja – rdeča) | 1 |
Napačna povezava akumulatorskih kablov lahko poškoduje škropilnik in kable ter privede do iskrenja. Iskre lahko povzročijo eksplozijo plinov iz akumulatorja, zaradi česar lahko pride do hudih telesnih poškodb.
Vedno priklopite najprej pozitivni (rdeči) akumulatorski kabel, preden priklopite negativni (črni) kabel.
Odstranite matice in T-vijake na objemkah pozitivnega in negativnega akumulatorskega kabla (Diagram 25).
Note: Matic in T-vijakov ne boste več potrebovali.

Odstranite pokrov (ozki) s pozitivnega akumulatorskega kabla (Diagram 26).
Note: Ozkega pokrova akumulatorja ne boste več potrebovali.

Namestite široki pokrov akumulatorja nad pozitivni akumulatorski kabel, kot prikazuje Diagram 26.
Note: Pokrov nad kabli potisnite dovolj daleč, da bo omogočen dostop do objemke droga.
Poravnajte krožno priključno sponko taljive varovalke (žični kabelski snop škropilnika) skozi široki pokrov akumulatorja, kot prikazuje Diagram 27.

Ohlapno spojite čevelj priključka akumulatorja in objemko z objemkama pozitivnega in negativnega akumulatorskega kabla (Diagram 28).

Pritrdite krožno priključno sponko taljive varovalke (kabelski snop škropilnika) na pol čevlja priključka, ki ste ga s pozitivnim akumulatorskim kablom spojili z objemko (Diagram 29).

Pritrdite krožno priključno sponko negativne žice (črne – kabelski snop škropilnika) na pol čevlja priključka, ki ste ga z negativnim akumulatorskim kablom spojili z objemko (Diagram 29).
Spojite pozitivni akumulatorski kabel s pozitivnim polom akumulatorja in ročno privijte objemko (Diagram 30).

Spojite negativni akumulatorski kabel z negativnim polom akumulatorja in ročno privijte objemko.
Stisnite stranice pokrova akumulatorja, poravnajte jezičke pokrova z režami v podnožju akumulatorja in sprostite pokrov akumulatorja (Diagram 31).

Deli potrebni za ta postopek:
| Vijak (½ x 1½") | 2 |
| Varovalna matica (½") | 2 |
Zaženite stroj in z valji za dvig nekoliko dvignite sani cisterne.
Z valja za dvig odstranite podpornik kesona in shranite podpornik v shranjevalnih nosilcih na zadnji strani plošče ROPS (Diagram 32 in Diagram 33).


Z valji za dvig počasi spustite cisterno na ogrodje.
Note: Druga oseba naj sani cisterne opazuje med spuščanjem. Pazi na gibke cevi in ožičenje, ki se lahko priščipnejo ali zvijejo.
Preverite poravnavo sani cisterne z ogrodjem stroja.
Odstranite plošče za dostop na obeh straneh ogrodja sani (Diagram 34).

Pri gibkih ceveh in ožičenju, ki jih lahko vidite skozi odprtino v ogrodju sani, preverite, ali so prisotni znaki priščipnjenja ali zvijanja.
Important: Če je katera koli gibka cev ali ožičenje na saneh cisterne priščipnjena ali zvita, dvignite sklop, prilagodite njegov položaj in elemente pritrdite nazaj.
Poravnajte sprednje montažne nosilce z vpenjalnimi nosilci, katerih namestitev je opisana v razdelku Namestitev vpenjalnih nosilcev za sani cisterne.
Vpenjalni nosilec sklopa sani cisterne na vsaki strani stroja pritrdite na rdeči nosilec ogrodja z vijakom (½ x 1½") in varovalno matico (½"), kot prikazuje Diagram 34.
Privijte vijak in varovalno matico z zateznim momentom od 91 do 113 N∙m.
Ponovite korake od 7 do 9 še na drugi strani sani cisterne in stroja.
Deli potrebni za ta postopek:
| Sklop osrednje škropilne garniture | 1 |
| Vijak (⅜ x 1") | 10 |
| Varovalna matica s prirobkom (⅜") | 10 |
| Transportno ogrodje škropilne garniture | 2 |
| Vijak (½ x 1¼") | 4 |
| Matica s prirobkom (½") | 4 |
Na osrednjo sekcijo škropilne garniture pritrdite dvižno opremo in jo odstranite z zabojnika za pošiljanje.
Poravnajte transportna ogrodja s osrednjo sekcijo škropilne garniture (Diagram 35).

Transportna ogrodja spojite s sekcijo škropilne garniture (Diagram 35 in Diagram 36) s 6 vijaki (⅜ x 1") in 6 varovalnimi maticami s prirobkom (⅜").

Privijte vijake in matice z zateznim momentom od 37 do 45 N∙m.
Zaženite stroj, odstranite podpornik kesona z valja za dvig in pospravite podpornik, spustite sani cisterne, izklopite stroj in odstranite ključ iz stikala za vžig.
Poravnajte spodnjo odprtino v montažnih nosilcih sekcije sklopa osrednje škropilne garniture z odprtino, ki je tretja po vrsti, gledano od dna, v podpornikih škropilne garniture na ogrodju sani cisterne, kot prikazuje Diagram 37.
Note: Po potrebi sprostite podpornike škropilne garniture in jih prilagodite osrednji sekciji škropilne garniture, da bodo odprtine bolje poravnane. Privijte vijake in matice z zateznim momentom od 67 do 83 N∙m.

Sklop osrednje škropilne garniture z ogrodjem sani škropilnika spojite s 4 vijaki (½ x 1¼") in 4 varovalnimi maticami (½").
Privijte vijake in matice z zateznim momentom od 67 do 83 N∙m.
Glejte navodila za namestitev kompleta za končno obdelavo za škropilnik za travno rušo Multi Pro WM za večnamensko vozilo Workman z ročnim menjalnikom.
Deli potrebni za ta postopek:
| Leva sekcija škropilne garniture | 1 |
| Desna sekcija škropilne garniture | 1 |
| Vijaki z glavo s prirobkom (⅜ x 1¼") | 8 |
| Podporne ploščice | 8 |
| Varovalne matice s prirobkom (⅜") | 8 |
| Varovalni sornik | 2 |
| Razcepka | 2 |
Vsaka sekcija škropilne garniture tehta približno 14 kg.
Odstranite 4 vijake z glavo s prirobkom (⅜ x 1¼"), 4 podporne ploščice in 4 varovalne matice s prirobkom (⅜") z obešalnega držala osrednje sekcije škropilne garniture.
Zavrtite vsak vrtljivi nosilec na koncu osrednje sekcije škropilne garniture, tako da se bodo nosilci navpično poravnali (Diagram 38).

Dvignite zunanjo sekcijo škropilne garniture in poravnajte odprtine v trikotni montažni plošči na koncu zunanje sekcije škropilne garniture z odprtinami v vrtljivem nosilcu.
Note: Prepričajte se, da so glave šob škropilnika obrnjene proti zadnji strani.
Tečajno ploščo spojite s trikotno ploščo s 4 vijaki z glavo s prirobkom, 4 podpornimi ploščicami in 4 varovalnimi maticami s prirobkom (Diagram 38), ki ste jih odstranili v koraku 1.
Privijte vijake z maticami in matice z zateznim momentom od 37 do 45 N∙m.
Poravnajte glavo droga valja za dvig pri škropilni garnituri z odprtinami v roglju vrtljivega nosilca (Diagram 38).

Glavo droga pritrdite na vrtljivi nosilec z varovalnim sornikom in razcepko (Diagram 38).
Ponovite korake od 1 do 5 na drugi strani sklopa osrednje škropilne garniture z nasprotno sekcijo škropilne garniture.
Note: Pred koncem tega postopka se prepričajte, da so vse glave škropilnih šob obrnjene proti zadnji strani.
Deli potrebni za ta postopek:
| Cevne objemke | 3 |
| Toga objemka | 2 |
| Ramenski vijak | 2 |
| Podložka | 2 |
| Matica | 2 |
Speljite gibke cevi sekcije škropilne garniture, kot prikazujeta Diagram 40 in Diagram 41.


Pritrdite gibke cevi škropilne garniture na sprednjo stran osrednje sekcije škropilne garniture (Diagram 40 in Diagram 41) z 1 togo objemko, 1 ramenskim vijakom (5/16 x 1"), 1 varovalno matico (5/16") in 1 podložko (5/16").
Namestite gibko cev sekcije nad nazobčani pritrdilni T-element na sekciji škropilne garniture in gibko cev pritrdite s cevno objemko (Diagram 40 in Diagram 41).
Note: Na zazobek gibke cevi pritrdilnega T-člena nanesite sloj tekočega mila, da bo gibko cev lažje namestiti.
Ponovite korake od 1 do 3 na gibki cevi na sekciji škropilne garniture na drugi strani škropilnika.
Speljite gibko cev osrednje sekcije škropilne garniture, kot prikazuje Diagram 42.

Namestite gibko cev sekcije nad nazobčani pritrdilni T-element na osrednji sekciji škropilne garniture in gibko cev pritrdite s cevno objemko (Diagram 42).
Note: Na zazobek gibke cevi pritrdilnega T-člena nanesite sloj tekočega mila, da bo gibko cev lažje namestiti.
Šobe, ki jih boste uporabiti za nanos kemikalij, so odvisne od stopnje nanosa, ki jo potrebujete; šobe niso dobavljene skupaj s kompletom. Če želite pridobiti ustrezne šobe za vaše potrebe, se obrnite na pooblaščenega distributerja za izdelke Toro in zanj pripravite naslednje informacije:
ciljno stopnjo nanosa v ameriških galonah na aker ali ameriških galonah na 1000 kvadratnih čevljev;
ciljno hitrost vozila v kilometrih na uro ali miljah na uro.
Privijte ali vstavite šobo v nastavek za šobo, nato pa dodajte tesnilo.
Potisnite nastavek za šobo nad pritrdilni element za šobo na glavi.
Šobo obrnite v smeri urnega kazalca, da se bodo zapore na nastavku zaskočile.
Preverite brizgalni del šobe.
Za več informacij glejte navodila za namestitev, priložena šobam.
Deli potrebni za ta postopek:
| Rezervoar za sladko vodo | 1 |
| Koleno 90° (¾" NPT) | 1 |
| Pipa 90° | 1 |
| Montažni element rezervoarja za sladko vodo | 1 |
| Montažni trak | 4 |
| Vijak z glavo s prirobkom (5/16 x ⅝") | 4 |
| Varovalna matica s prirobkom (5/16") | 10 |
| Podporna cev (rezervoar za sladko vodo) | 1 |
| Zaporna matica (5/16") | 1 |
| Vijak (5/16 x 1") | 1 |
| Ramenski vijak (½ x 1 15/16") | 2 |
| Vijak (5/16 x 2¼") | 2 |
| Podložka (5/16") | 2 |
Rezervoar za sladko vodo spojite z montažnim elementom rezervoarja za sladko vodo z 2 montažnima trakovoma, 4 vijaki z glavo s prirobkom (5/16 x ⅝") in 4 varovalnimi maticami s prirobkom (5/16"), kot prikazuje Diagram 43.
Note: Prepričajte se, da sta koleno in pipa poravnana s tisto stranjo rezervoarja, na kateri je nalepka na rezervoarju za sladko vodo.

Privijte vijake in matice z zateznim momentom od 20 do 25 N∙m.
Poravnajte podporno cev za rezervoar za sladko vodo s podpornim kanalom za rezervoar (Diagram 44).

Odprtini v podporni cevi poravnajte z odprtinama v kanalu (Diagram 44).
Pritrdite cev na kanal (Diagram 44) z 2 ramenskima vijakoma (½ x 1 15/16") in 2 varovalnima maticama s prirobkom (5/16").
Privijte vijake in matice z zateznim momentom od 20 do 25 N∙m.
Privijte protimatico (5/16") na vijak (5/16 x 1"), kot prikazuje Diagram 44.
Privijte vijak (5/16 x 1") in protimatico na varjeno matico na dnu podpornega kanala rezervoarja ter vijak in zaporno matico še ročno zategnite (Diagram 44).
Note: Na vozilu Workman, pri katerem je uporabljen škropilnik travne ruše Multi Pro WM, mora biti nameščen varnostni lok (ROPS) s 4 drogovi ali kabina.
Rezervoar za sladko vodo in montažni element spojite s podporno cevjo z 2 vijakoma (5/16 x 2¼") in 2 varovalnima maticama s prirobkom (5/16"), kot prikazuje Diagram 45.

Privijte vijake in matice z zateznim momentom od 20 do 25 N∙m.
Deli potrebni za ta postopek:
| Sklop polnilne posode | 1 |
| Vijak z glavo s prirobkom (5/16 x ¾") | 1 |
Postavite sklop polnilne posode nad navojno odprtino v rezervoarju (Diagram 46) in ga pritrdite z vijakom z glavo s prirobkom (5/16 x ¾").

Deli potrebni za ta postopek:
| Sprednje podporno stojalo | 2 |
| Zadnje podporno stojalo | 2 |
| Razcepka | 4 |
| Varovalni sornik (4½") | 2 |
| Varovalni sornik (3") | 2 |
| Gumb | 2 |
Na glavo obrnjena sprednja podporna stojala postavite v okvir blizu sprednjih privezovalnih nastavkov (Diagram 47).

Sprednja podporna stojala skozi srednjo odprtino na stojalih pritrdite z 2 varovalnima sornikoma (3") in 2 razcepkama.
Sprednja podporna stojala postavite v smeri od dna navzgor v okvir blizu zadnjih privezovalnih nastavkov (Diagram 48).

Zadnja podporna stojala skozi zadnjo odprtino na stojalih pritrdite s 4 varovalnimi sorniki (4½") in 4 razcepkami.

Note: Ta prikazovalnik InfoCenter s 6 gumbi je na voljo samo za stroj Workman HDX z ročnim menjalnikom. Če imate stroj Workman HDX s samodejnim menjalnikom, še naprej uporabljajte prikazovalnik InfoCenter s 3 gumbi.
Na LCD-zaslonu prikazovalnika InfoCenter so prikazane informacije o vašem stroju in akumulatorju, kot so trenutna napolnjenost akumulatorja, hitrost, diagnostične informacije in drugo. Za več informacij glejte Uporaba zaslona InfoCenter.
Stikalo glavne sekcije (Diagram 49) je na stranskem delu konzole in desno od upravljavskega sedeža. Omogoča zagon ali zaustavitev škropljenja. Pritisnite stikalo, da omogočite ali onemogočite sistem škropljenja.
Stikala leve, osrednje in desne sekcije so na nadzorni plošči (Diagram 49). Za vklop ustrezne funkcije posamezno stikalo preklopite v smeri naprej, za izklop pa ga preklopite v smeri nazaj. Ko je stikalo vklopljeno, zasveti lučka na njem. Ta stikala vplivajo na sistem škropljenja le, če je vklopljeno stikalo glavne sekcije.
Stikalo za stopnjo nanosa je na levi strani nadzorne plošče (Diagram 49). Če želite povečati stopnjo nanosa pri sistemu škropljenja, pritisnite in držite stikalo v smeri navzgor, če jo želite zmanjšati, pa pritisnite in držite stikalo v smeri navzdol.
Stikala za dvig sekcije škropilne garniture so na nadzorni plošči in se uporabljajo za dvig zunanjih sekcij škropilne garniture.
Regulacijski ventil je za cisterno (Diagram 50), nadzira pa količino tekočine, ki je speljana do sekcijskih ventilov ali stopnjo vrnitve v cisterno.

Merilnik pretoka meri hitrost pretoka tekočine v sekcijske ventile škropilne garniture (Diagram 50).
S sekcijskimi ventili škropilne garniture vklopite ali izklopite tlak škropilnika do šob škropilnika v levi, osrednji in desni sekciji škropilne garniture (Diagram 50).
Ko izklopite sekcijo škropilne garniture, sekcijski obtočni ventili škropilne garniture (Diagram 51) preusmerjajo tekočino iz škropilne garniture v cisterno. Te ventile lahko prilagodite, tako da zagotovite konstanten tlak, ne glede na to, katero kombinacijo škropilnih garnitur upravljate; glejte Umerjanje sekcijskih obtočnih ventilov.

Ta ventil je na zadnji levi strani cisterne (Diagram 52). Če želite mešanje v cisterni vklopiti, obrnite gumb na ventilu v položaj urnega kazalca ob 6. uri, če ga želite izklopiti, pa obrnite gumb na ventilu v položaj urnega kazalca ob 8. uri.

Note: Modeli serije HD z ročnim menjalnikom – da mešanje deluje, morata biti aktivirani priključna gred in sklopka, motor pa mora delovati v načinu nad prostim tekom. Če škropilnik zaustavite in če bi morala vsebina cisterne krožiti zaradi mešanja, prestavno ročico za razpon pa prestavite v NEUTRAL (nevtralni) položaj, spustite sklopko, aktivirajte parkirno zavoro in nastavite ročno dušilno loputo (če je del opreme).
Črpalka škropilnika je na zadnjem delu stroja.
Na osrednji konzoli stroja premaknite ročico priključne gredi v položaj za AKTIVACIJO, če želite zagnati črpalko; če želite črpalko zaustaviti, ročico priključne gredi premaknite v položaj za DEAKTIVACIJO. Glejte priročnik za upravljanje večnamenskega vozila Workman HDX.

Note: Tehnični podatki in zasnova se lahko spremenijo brez predhodnega obvestila.
| Teža podnožja sistema škropilnika (brez teže vozila) | 424 kg |
| Prostornina cisterne | 757 l |
| Celotna dolžina vozila s standardnim sistemom škropilnika | 422 cm |
| Celotna višina vozila s standardnim sistemom škropilnika do vrha cisterne | 147 cm |
| Celotna višina vozila s standardnim sistemom škropilnika in škropilnimi garniturami, pospravljenimi v vzorcu X | 234 cm |
| Celotna širina s standardnim sistemom škropilnika in škropilnimi garniturami, pospravljenimi v vzorcu X | 175 cm |
Toro ponuja širok nabor odobrenih delovnih priključkov in dodatne opreme, s katerimi lahko povečate in razširite zmogljivosti stroja. Za seznam odobrenih priključkov in dodatne opreme se obrnite na pooblaščenega serviserja ali pooblaščenega distributerja strojev Toro oziroma obiščite www.Toro.com.
Če želite zagotoviti optimalno delovanje in ohraniti veljavnost varnostnega certifikata stroja, uporabljajte izključno originalne nadomestne dele in dodatno opremo Toro.
Note: Ugotovite, katera stran je leva in katera desna, gledano s položaja za upravljanje stroja.
Note: Če morate vozilo z nameščenim škropilnikom transportirati na prikolici, se prepričajte, da so škropilne garniture privezane in zavarovane.
Otrokom ali neusposobljenim osebam ne smete nikoli dovoliti, da upravljajo ali servisirajo stroj. Lokalni predpisi lahko omejujejo starost upravljavca. Za usposabljanje vseh upravljavcev in mehanikov je odgovoren lastnik.
Seznanite se s postopki za varno upravljanje opreme, krmilniki za upravljavca in varnostnimi oznakami.
Preden zapustite delovni položaj, storite naslednje:
Parkirajte stroj na ravni površini.
Menjalno ročico prestavite v NEVTRALNI položaj.
Aktivirajte parkirno zavoro.
Ugasnite motor in odstranite ključ (če je del opreme).
Počakajte, da se vsi deli ustavijo.
Vedeti morate, kako lahko hitro zaustavite stroj in ugasnete motor.
Preverite, ali so nadzorni mehanizmi za zaznavanje prisotnosti upravljavca, varnostna stikala in ščitniki nameščeni in delujejo pravilno. Ne upravljajte stroja, če ti deli ne delujejo pravilno.
Če stroj ne deluje pravilno ali je kakor koli poškodovan, ga ne uporabljajte. Pred upravljanjem stroja ali priključka težavo odpravite.
Preden pri sistemu uporabite tlak, se prepričajte, da vsi priključki vodov za tekočino tesnijo in da so vse gibke cevi v dobrem stanju.
Kemične snovi, ki so uporabljene v sistemu škropilnika, so lahko nevarne in strupene za vas, navzoče osebe in živali, ter lahko škodijo rastlinam, prsti in drugemu.
Preberite informacije na vsaki kemikaliji. Če te informacije niso na voljo, zavrnite upravljanje škropilnika ali dela na njem.
Pred deli na sistemu škropilnika se prepričajte, da je bil nevtraliziran in trikrat splaknjen v skladu s priporočilom proizvajalcev kemikalij ter da so bili vsi ventili trikrat preklopljeni.
Prepričajte se, da je v bližini zadostna zaloga čiste vode in mila ter takoj izperite kakršne koli kemikalije, s katerimi pridete v stik.
Natančno preberite in upoštevajte kemične opozorilne oznake in varnostne liste za vse uporabljene kemikalije ter se zaščitite po priporočilih proizvajalcev kemikalij.
Pri uporabi kemikalij vedno zaščitite svoje telo. Za zaščito pred stikom s kemikalijami uporabljajte ustrezno osebno zaščitno opremo (OZO), kot so:
varnostna stekla, zaščitna očala in/ali obrazni vizir,
obleka za zaščito pred kemikalijami,
respirator ali filtrirna maska,
na kemikalije odporne rokavice,
gumijasti škornji ali druga trdna obutev,
čista nadomestna oblačila, milo in papirnate brisače za čiščenje.
Pred uporabo kemikalij ali rokovanjem z njimi se udeležite ustreznega usposabljanja.
Uporabite kemikalijo, ki ustreza namenu dela.
Upoštevajte navodila proizvajalca kemikalije glede varnosti pri nanosu kemikalije. Ne presezite tlaka, ki je priporočen za uporabo v sistemu.
Če so v bližini druge osebe, zlasti otroci, ali hišni ljubljenčki, v stroj ne dolivajte tekočine, ga ne umerjajte in ne čistite.
S kemikalijami rokujte v dobro prezračevanem prostoru.
Pri delu v bližini kemikalij ne jejte, ne pijte in ne kadite.
Ne čistite škropilnih šob s pihanjem skoznje ali z nameščanjem teh šob v usta.
Čim prej po delu s kemikalijami umijte roke in druge izpostavljene predele.
Kemikalije hranite v originalni embalaži in na varnem mestu.
Neuporabljene kemikalije in vsebnike zanje pravilno zavrzite po navodilih proizvajalca kemikalij in v skladu z lokalnimi zakoni.
Kemikalije in hlapi so nevarni; nikoli ne vstopajte v cisterno in ne postavljajte glave nad odprtino cisterne ali vanjo.
Upoštevajte vse lokalne, državne in zvezne predpise za razširjanje ali škropljenje kemikalij.
Note: Ta prikazovalnik InfoCenter s 6 gumbi je na voljo samo za stroj Workman HDX z ročnim menjalnikom. Če imate stroj Workman HDX s samodejnim menjalnikom, še naprej uporabljajte prikazovalnik InfoCenter s 3 gumbi.
Na LCD-zaslonu prikazovalnika InfoCenter so prikazane informacije o vašem stroju, na primer stanje delovanja, različne diagnostične in druge informacije o stroju. Zaslon sistema InfoCenter sestavljata pozdravni zaslon in zaslon z glavnimi informacijami. Med pozdravnim zaslonom in zaslonom z glavnimi informacijami lahko kadar koli preklopite, tako da pritisnete poljuben gumb zaslona InfoCenter, nato pa izberete ustrezno smerno puščico.

Note: Aktivacija posameznega gumba se lahko spremeni glede na to, katera funkcija je trenutno dejavna. Na LCD-zaslonu je nad vsakim gumbom prikazana ikona, ki označuje njegovo trenutno funkcijo.
![]() | Meni | ![]() | Cisterna je prazna (manj kot 10 % prostornine) | |
![]() | Pomikanje navzgor/navzdol | ![]() | Cisterna je skoraj prazna (10 % do 29 %) | |
![]() | Pomikanje v levo/desno | ![]() | Cisterna je na pol polna (30 % do 69 %) | |
![]() | Prejšnji zaslon | ![]() | Cisterna je polna (70 % do 100 %) | |
![]() | Zmanjšanje vrednosti | ![]() | Povečanje prostornine v cisterni za 3,8 litra | |
![]() | Povečanje vrednosti | ![]() | Povečanje prostornine v cisterni za 38 litrov | |
![]() | Potrditev | ![]() | Povečanje prostornine v cisterni za 95 litrov | |
![]() | Shranjevanje | ![]() | Škropilna garnitura je izklopljena | |
![]() | Geslo PIN | ![]() | Škropilna garnitura je aktivna | |
![]() | Izhod iz menija (napak) | ![]() | Počisti vsa območja | |
![]() | Napetost akumulatorja | ![]() | Počisti dejavno območje | |
![]() | Števec delovnih ur | ![]() | Poškropljene površine | |
![]() | Zaklenjeno | ![]() | Zaslon vse območij | |
![]() | Pomik do območja škropilnika | |||
![]() | Pomik do območja škropilnika |
Če želite odpreti sistem menijev prikazovalnika InfoCenter, na glavnem zaslonu pritisnite gumb za pomik nazaj. S tem odprete glavni meni. V preglednicah v nadaljevanju je povzetek možnosti, ki so na voljo v menijih.
Zaščiteno
z možnostjo Protected Menus (Zaščiteni meniji)
– dostopno samo z vnosom številke PIN
| Menijski element | Opis |
| Calibration (Umerjanje) | Z menijem Calibration (Umerjanje) si lahko pomagate pri umerjanju merilnika pretoka in senzorja hitrosti. |
| Settings (Nastavitve) | V meniju Settings (Nastavitve) lahko prilagodite in spremenite spremenljivke konfiguracije prikazovalnika. |
| Machine Settings (Nastavitve stroja) | V meniju Machine Settings (Nastavitve stroja) lahko konfigurirate spremenljivke stroja. |
| Service (Delovanje) | V meniju Service (Delovanje) so informacije o stroju, na primer število ur uporabe in napake stroja. |
| Diagnostics (Diagnostika) | V meniju Diagnostics (Diagnostika) je prikazano stanje stikal stroja, senzorjev in izhoda krmilnika. Informacije v tem meniju lahko uporabite za odpravljanje določenih težav, saj hitro vidite, kateri krmilniki stroja so vklopljeni in kateri izklopljeni. |
| About (Vizitka) | V meniju »Vizitka« so navedene številka modela, serijska številka in različica programske opreme stroja. |
| Menijski element | Opis |
| Test Speed (Testna hitrost) | Nastavite testno hitrost za umerjanje. |
| Flow Cal (Umerjanje pretoka) | Umeri merilnik pretoka. |
| Speed Cal (Umerjanje hitrosti) | Umeri senzor hitrosti. |
| Use default flow calibration (Uporabi privzeto umerjanje pretoka) | S tem boste umerjanje pretoka ponastavili na privzeto izračunano povprečje in ne na dejansko prostornino. |
| Use default speed calibration (Uporabi privzeto umerjanje hitrosti) | S tem boste umerjanje hitrosti ponastavili na privzeto izračunano povprečje in ne na dejansko hitrost. |
| Menijski element | Opis |
| Edit PIN (Uredi PIN) | Omogoča osebi (nadzorniku/mehaniku), ki jo je pooblastilo vaše podjetje, da s pomočjo kode PIN dostopa do zaščitenih menijev. |
Protect Settings (Zaščitene nastavitve) ![]() | Omogoča možnost spreminjanja nastavitev v zaščitenih nastavitvah.. |
Reset Defaults (Ponastavitev na privzete vrednosti) ![]() | Ponastavi na privzete vrednosti. |
| Backlight (Osvetlitev ozadja) | Nastavi svetlost LCD-zaslona. |
| Language (Jezik) | Nastavi jezik zaslonskega prikaza. |
| Units (Enote) | Nastavi enote za prikaz na prikazovalniku (angleške, površinske ali metrične). |
| Menijski element | Opis |
| Tank Alert (Opozorilo za cisterno) | Nastavi opozorilo za majhno prostornino škropiva v cisterni. |
Leva škropilna garnitura ![]() | Prilagodi širino leve sekcije. |
Center Boom (Osrednja škropilna garnitura) ![]() | Prilagodi širino osrednje sekcije. |
Right Boom (Desna škropilna garnitura) ![]() | Prilagodi širino desne sekcije. |
Reset Defaults (Ponastavitev na privzete vrednosti) ![]() | Ponastavi na privzete vrednosti. |
| Menijski element | Opis |
| Faults (Napake) | V meniju Faults (Napake) je seznam nedavnih napak stroja. Za dodatne informacije o meniju Faults (Napake) in tam predstavljenih informacijah glejte servisni priročnik ali pa se obrnite na pooblaščenega distributerja strojev Toro. |
| Hours (Ure) | Prikaz skupnega števila ur delovanja stroja, motorja in priključne gredi, pa tudi števila ur, ko se je stroj prevažal, in kdaj je predviden naslednji servis. |
Flow Rate (Stopnja pretoka) ![]() | Prikazuje trenutno stopnjo pretoka. |
Flow Cal Value (Vrednost umerjanja pretoka)![]() | Prikazuje trenutni množitelj, ki se uporablja za izračun razlike med predpostavljenim pretokom in umerjenim pretokom. |
Speed Cal Value (Vrednost umerjanja hitrosti)![]() | Prikazuje trenutni množitelj, ki se uporablja za izračun razlike med predpostavljeno in umerjeno hitrostjo. |
| Menijski element | Opis |
| Pumps (Črpalke) | Omogoča dostop do trenutnega izpiranja in časovnih možnosti izpiranja. |
| Škropilne garniture | Omogoča dostop do vhodov in izhodov škropilne garniture. |
| Engine Run (Motor v teku) | Omogoča dostop do vhodov in izhodov motorja v teku. |
| Menijski element | Opis |
| Model (Model) | Prikaže številko modela stroja.. |
| SN (Serijska številka) | Prikaz serijske številke stroja. |
| S/W Revision (Različica programske opreme) | Prikaz različice programske opreme glavnega krmilnika. |
XDM–2700 ![]() | Prikaz različice programske opreme prikazovalnika InfoCenter. |
Statistika vodila CAN ![]() | Prikaz podatkov vodila CAN. |
V meniju Settings (Nastavitve) na zaslonu so nastavitve konfiguracije delovanja, ki jih je mogoče prilagoditi. Če želite zakleniti te nastavitve, uporabite Protected Menu (Zaščiteni meni).
Note: Prvotno varnostno geslo nastavi distributer ob dobavi.
Note: Tovarniško nastavljena privzeta koda PIN za vaš stroj je 0000 ali 1234.
Če ste kodo PIN spremenili in jo pozabili, se za pomoč obrnite na pooblaščenega distributerja izdelkov Toro.
V meniju Main Menu (Glavni meni) se pomaknite navzdol do menija Settings (Nastavitve) in pritisnite gumb za izbiranje.

V možnosti Settings (Nastavitve) se pomaknite do možnosti Enter PIN (Vnos kode PIN) in pritisnite gumb za izbiranje.
Če želite vnesti kodo PIN, pritiskajte gumba za pomikanje navzgor/navzdol, dokler se ne prikaže ustrezna prva števka. Nato pritisnite gumb za pomikanje v desno, da se pomaknete na naslednjo števko. Ta postopek ponavljajte, dokler ne vnesete vseh števk.
Pritisnite gumb za izbiranje.
Note: Če prikazovalnik sprejme kodo PIN, se zaščiteni meni odklene, v desnem zgornjem kotu zaslona pa se prikaže beseda »PIN«.
Če želite zakleniti zaščiteni meni, obrnite stikalo na ključ v položaj za izklop, nato pa še v položaj za vklop.

V meniju Settings (Nastavitve) se pomaknite navzdol do možnosti Protect Settings (Zaščitene nastavitve).
Za ogled in spremembo nastavitev brez vnosa kode PIN uporabite gumb za izbiranje in možnost Protect Settings (Zaščitene nastavitve) nastavite na Off (Izklop).
Za ogled in spremembo nastavitev z vnosom kode PIN uporabite gumb za izbiranje in možnost Protect Settings (Zaščitene nastavitve) nastavite na On (Vklop), nastavite kodo PIN in obrnite ključ v stikalu za vžig v položaj izklop, nato pa v položaj vklop.
Izberite Machine Settings (Nastavitve stroja).
Izberite Tank Alert (Opozorilo za cisterno).

S smernimi gumbi vnesite najmanjšo količino v cisterni, pri kateri se bo med delovanjem škropilnika prikazalo opozorilo.
Izberite Machine Settings (Nastavitve stroja).
Izberite škropilno garnituro, ki jo želite posodobiti.
S smernimi gumbi nastavite velikost škropilne garniture v korakih po 2,5 cm.
| Nastavitev | Privzeta vrednost |
| Test Speed (Testna hitrost) | 0,0 |
| Spray Tank Alert (Opozorilo za cisterno za škropljenje) | 1 ltr |
| L Boom (Leva škropilna garnitura) | 2 m |
| C Boom (Osrednja škropilna garnitura) | 1,5 m |
| R Boom (Desna škropilna garnitura) | 2 m |
Izberite Machine Settings (Nastavitve stroja), nato pa Reset Defaults (Ponastavitev na privzete vrednosti).
Note: Če spremenite prostornino, bo opozorilo za cisterno ponastavljeno.
Pritisnite gumb za vnos, da se pomaknete v desno. Na zaslonu se prikaže trenutna prostornina v cisterni.
Pritisnite gumb, da povečate ali zmanjšate prostornino v cisterni.
S pritiskom smernih gumbov navzgor/navzdol spremenite prostornino v korakih po ±10 (za ameriške enote) ali ±25 (za metrične enote).
S pritiskom smernih gumbov levo/desno spremenite prostornino v korakih po 1.

Na teh zaslonih so podatki:
Poškropljena površina (akri, hektarji ali 1000 čevljev2)
Prostornina škropiva (ameriške galone ali litri)
Podatki o celotni površini in celotni prostornini se seštevajo, dokler jih ne ponastavite. Za vsako škropljenje na vašem delovišču uporabite ločeno podobmočje. Uporabite lahko do 20 podobmočij.
Note: Pred začetkom škropljenja se pomaknite do podobmočja, ki ga želite obdelati. Podobmočje, prikazano na zaslonu, je aktivno podobmočje, ki bo prišteto pokritosti.
Z gumbom za pomik nazaj se pomaknite na zaslon Total Area (Skupna površina).
Z gumbom za pomik v desno ponastavite podatke Total Area (Skupna površina).
Note: S ponastavitvijo podatkov o skupni površini in skupni prostornini na zaslonu za skupno površino boste ponastavili vse podatke za vsako podobmočje.

Z gumbom za pomik nazaj se pomaknite na zaslon Sub Area (Podobmočje).
Z gumbom za pomik navzgor ponastavite podatke podobmočja.

Ko je pri delovanju stroja potrebno dodatno dejanje, se na zaslonu sistema InfoCenter samodejno pojavijo nasveti za upravljavca. Če na primer skušate zagnati motor med pritiskanjem stopalke za vožnjo, se pojavi nasvet, da mora biti stopalka za vožnjo v NEUTRAL (nevtralnem) položaju.
Za brisanje nasveta pritisnite kateri koli gumb na zaslonu.
| Koda nasveta | Opis |
|---|---|
| 200 | Preprečen zagon – stikalo črpalke je dejavno |
| 201 | Preprečen zagon – ni v NEUTRAL (nevtralnem) položaju |
| 202 | Preprečen zagon – zunaj sedeža |
| 203 | Preprečen zagon – stopalka za plin ni v začetnem položaju |
| 204 | Preprečen zagon – časovna omejitev za aktivacijo zaganjalnika se je iztekla |
| 205 | Parkirna zavora je aktivirana |
| 206 | Preprečen zagon črpalke – škropilna garnitura je dejavna |
| 207 | Preprečen zagon črpalke – hitrost motorja je visoka |
| 208 | Preprečen zaklep dušilne lopute/hitrosti – črpalka ni dejavna. |
| 209 | Preprečen zaklep dušilne lopute – parkirna zavora ni aktivirana |
| 210 | Preprečen zaklep hitrosti – upravljavec ne sedi na sedežu ali pa je aktivirana parkirna zavor. |
| 211 | Preprečen zaklep dušilne lopute/hitrosti – aktivirana je sklopka ali servisna zavora |
| 212 | Opozorilo o nizki količini v cisterni |
| 213 | Črpalka za izpiranje je v položaju ON (Vklop) |
| 220 | Umerjanje senzorja pretoka |
| 221 | Umerjanje senzorja pretoka – dolijte vodo v cisterno in vnesite dolito količino |
| 222 | Umerjanje senzorja pretoka – vklopite črpalko |
| 223 | Umerjanje senzorja pretoka – vklopite vse škropilne garniture |
| 224 | Umerjanje senzorja pretoka – začelo se je umerjanje |
| 225 | Umerjanje senzorja pretoka – umerjanje je končano |
| 226 | Umerjanje senzorja pretoka – izhod iz načina umerjanja |
| 231 | Umerjanje senzorja hitrosti |
| 232 | Umerjanje senzorja hitrosti – v cisterno dolijte svežo vodo in pritisnite gumb za pomik naprej |
| 233 | Umerjanje senzorja hitrosti – škropilnik do polovice napolnite z vodo in pritisnite gumb za pomik naprej |
| 234 | Umerjanje senzorja hitrosti – vnesite razdaljo umerjanja in pritisnite gumb za pomik naprej |
| 235 | Umerjanje senzorja hitrosti – označite in prepeljite vneseno razdaljo z izklopljenimi sekcijami škropilne garniture |
| 236 | Umerjanje senzorja hitrosti – poteka umerjanje senzorja hitrosti |
| 237 | Umerjanje senzorja hitrosti – umerjanje senzorja hitrosti je končano |
| 238 | Umerjanje senzorja hitrosti – izklopite škropilne garniture |
| 241 | Umerjanje je zunaj omejitev, uporabljena je privzeta vrednost. |
Ob vsakem začetku uporabe škropilnika na posamezni dan preverite naslednje:
Preverite zračni tlak v pnevmatikah.
Note: Pnevmatike pri tem stroju so drugačne kot pri avtomobilih; za zmanjšanje stiskanja in poškodb travne ruše je potreben manjši zračni tlak.
Preverite vse ravni tekočin in dodajte ustrezne količine določenih tekočin, če je pri kateri koli tekočini ugotovljeno, da je manjka.
Preverite delovanje zavorne stopalke.
Preverite, ali luči delujejo.
Zavrtite volan v levo in desno, da preverite odziv krmiljenja.
Ko je motor ugasnjen, preverite puščanje olja, zrahljane dele in morebitne druge očitne okvare.
Če kar koli od omenjenega ne deluje pravilno, obvestite mehanika ali se posvetujte z nadzornikom, preden odpeljete škropilnik na vsakodnevno delo. Nadzornik bo morda želel vsak dan preveriti še druge zadeve, zato vprašajte, za izvedbo katerih pregledov ste odgovorni.
Note: Glejte priročnik za izbiro šobe, ki je na voljo pri pooblaščenem distributerju za izdelke Toro.
Ohišja glav sprejmejo do 3 različne šobe.
Zaustavite stroj na ravni površini, izklopite motor, aktivirajte parkirno zavoro in odstranite ključ iz stikala za vžig.
Stikalo glavne sekcije prestavite v položaj OFF (Izklop), v položaj OFF (Izklop) pa prestavite tudi stikalo črpalke za škropljenje.
Zavrtite glavo šob v kateri koli smeri na pravilno šobo.
Umerite pretok; glejte Umerjanje pretoka škropilnika.
Standardna oprema: sesalni filter z mrežo velikosti 50 (moder)
V preglednici sesalnega filtra na podlagi kemičnih izdelkov ali raztopin z viskoznostjo, ki je enaka viskoznosti vode, ugotovite ustrezno velikost mreže filtrskega sita za škropilne šobe, ki jih uporabljate.
| Barvna oznaka škropilne šobe (hitrost pretoka) | Velikost mreže filtrskega sita* | Barvna oznaka filtra |
|---|---|---|
| Rumena (0,2 gpm) | 50 | Modra |
| Rdeča (0,4 gpm) | 50 | Modra |
| Rjava (0,5 gpm) | 50 (ali 30) | Modra (ali zelena) |
| Siva (0,6 gpm) | 30 | Zelena |
| Bela (0,8 gpm) | 30 | Zelena |
| Modra (1,0 gpm) | 30 | Zelena |
| Zelena (1,5 gpm) | 30 | Zelena |
| *Velikost mreže sesalnih filtrov v tej preglednici temeljijo na kemikalijah ali raztopinah za škropljenje, katerih viskoznost je enaka viskoznosti vode. | ||
Important: Ko škropite s kemičnimi izdelki ali raztopinami z močljivimi praški z višjo viskoznostjo (gostejšimi), boste za optimalnost sesalnega filtra morali morda uporabiti bolj grobo mrežo filtrskega sita; glejte Diagram 61.

Ko škropite pri višji stopnji nanosa, razmislite o uporabi bolj grobega izbirnega sesalnega filtra; glejte Diagram 62.

Razpoložljive velikosti filtrskih sit so naslednje:
Standardna oprema: sesalni filter z mrežo velikosti 50 (moder)
V preglednici tlačnega filtra na podlagi kemičnih izdelkov ali raztopin z viskoznostjo, ki je enaka viskoznosti vode, ugotovite ustrezno velikost mreže filtrskega sita za škropilne šobe, ki jih uporabljate.
| Barvna oznaka škropilne šobe (hitrost pretoka) | Velikost mreže filtrskega sita* | Barvna oznaka filtra |
|---|---|---|
| Kot je ustrezno pri kemikalijah ali raztopinah z nizko viskoznostjo ali nizkih stopnjah nanosa | 100 | Zelena |
| Rumena (0,2 gpm) | 80 | Rumena |
| Rdeča (0,4 gpm) | 50 | Modra |
| Rjava (0,5 gpm) | 50 | Modra |
| Siva (0,6 gpm) | 50 | Modra |
| Bela (0,8 gpm) | 50 | Modra |
| Modra (1,0 gpm) | 50 | Modra |
| Zelena (1,5 gpm) | 50 | Modra |
| Kot je ustrezno pri kemikalijah ali raztopinah z visoko viskoznostjo ali visokih stopnjah nanosa | 30 | Rdeča |
| Kot je ustrezno pri kemikalijah ali raztopinah z visoko viskoznostjo ali visokih stopnjah nanosa | 16 | Rjava |
| *Velikost mreže tlačnih filtrov v tej preglednici temelji na kemikalijah ali raztopinah za škropljenje, katerih viskoznost je enaka viskoznosti vode. | ||
Important: Ko škropite s kemičnimi izdelki ali raztopinami z močljivimi praški z višjo viskoznostjo (gostejšimi), boste za optimalnost tlačnega filtra morali morda uporabiti bolj grobo mrežo filtrskega sita; glejte Diagram 63.

Ko škropite pri višji stopnji nanosa, razmislite o uporabi bolj grobega izbirnega tlačnega filtra; glejte Diagram 64.

Note: Uporabite izbirni filter za konico šobe, da zaščitite konico škropilne šobe in podaljšate njeno življenjsko dobo.
V preglednici filtra za konico šobe na podlagi kemičnih izdelkov ali raztopin z viskoznostjo, ki je enaka viskoznosti vode, ugotovite ustrezno velikost mreže filtrskega sita za škropilne šobe, ki jih uporabljate.
| Barvna oznaka škropilne šobe (hitrost pretoka) | Velikost mreže filtrskega sita* | Barvna oznaka filtra |
|---|---|---|
| Rumena (0,2 gpm) | 100 | Zelena |
| Rdeča (0,4 gpm) | 50 | Modra |
| Rjava (0,5 gpm) | 50 | Modra |
| Siva (0,6 gpm) | 50 | Modra |
| Bela (0,8 gpm) | 50 | Modra |
| Modra (1,0 gpm) | 50 | Modra |
| Zelena (1,5 gpm) | 50 | Modra |
| *Velikost mreže filtrov za konico šobe v tej preglednici temelji na kemikalijah ali raztopinah za škropljenje, katerih viskoznost je enaka viskoznosti vode. | ||
Important: Ko škropite s kemičnimi izdelki ali raztopinami z močljivimi praški z višjo viskoznostjo (gostejšimi), boste za optimalnost filtra za konico šobe morali morda uporabiti bolj grobo mrežo filtrskega sita; glejte Diagram 65.

Ko škropite pri višji stopnji nanosa, razmislite o uporabi bolj grobega filtra za konico šobe; glejte Diagram 66.

Important: V rezervoarju za sladko vodo ne uporabljajte predelane (sive) vode.
Note: Rezervoar za sladko vodo je namenjen oskrbi z virom sladke vode, da lahko izperete kemikalije s kože, iz oči ali z drugih površin, če z njimi nenamerno pridete v stik.Pred rokovanjem s kemikalijami ali mešanjem kemikalij vedno napolnite rezervoar za sladko vodo s čisto vodo.
Rezervoar za sladko vodo je na sistemu ROPS, za sovoznikovim sedežem (Diagram 67). Namenjen je oskrbi z virom sladke vode, da lahko izperete kemikalije s kože, iz oči ali z drugih površin, če z njimi nenamerno pridete v stik.
Da napolnite rezervoar, odvijte pokrov na vrhu rezervoarja in vanj dolijte svežo vodo. Ponovno namestite pokrov.
Če želite odpreti pipo rezervoarja za sladko vodo, obrnite ročico na njej.

Za optimalno mešanje in čistočo zunanjosti cisterne namestite komplet za pripravo kemijske mešanice.
Important: Če je le mogoče, v cisterni za škropljenje ne uporabljajte predelane (sive) vode.
Important: Poskrbite, da bodo kemikalije, ki jih uporabljate, združljive z elastomerom VitonTM (glejte oznako proizvajalca; na njej mora biti označeno, če niso združljive). Pri uporabi kemikalije, ki ni združljiva z elastomerom VitonTM, se tesnilni obroči v škropilniku razgradijo, zato pride do puščanja.
Important: Po prvem polnjenju cisterne preverite, ali so trakovi cisterne kakor koli razrahljani. Po potrebi jih napnite.
Očistite sistem škropilnika za dodatek za obstojnost goriva, tako da zaženete sekcije.
Parkirajte stroj na ravni površini, premaknite izbirnik obsega v nevtralni položaj, aktivirajte parkirno zavoro, izklopite motor in odstranite ključ.
Poskrbite, da bo drenažni ventil cisterne zaprt.
Določite količino vode, ki je potrebna za mešanje količine kemikalij, ki jo potrebujete glede na navodilo proizvajalca kemikalije.
Odprite pokrov na cisterni za škropljenje.
Note: Pokrov cisterne je na sredini vrha cisterne. Da ga odprete, zavrtite sprednjo polovico pokrova v nasprotni smeri urnega kazalca in ga zanihajte, da se bo odprl. Za čiščenje lahko odstranite mrežasti filter v notranjosti. Da cisterno zatesnite, zaprite pokrov. in zavrtite sprednjo polovico v smeri urnega kazalca.
V cisterno s protisifonsko polnilno posodo dodajte 3/4 potrebne količine vode.
Important: V cisterni za škropljenje vedno uporabite svežo, čisto vodo. Koncentrata ne zlivajte v prazno cisterno.

Zaženite motor, aktivirajte priključno gred in nastavite ročno dušilno loputo, če je del opreme.
Stikalo za mešanje obrnite v položaj VKLOP.
V cisterno dodajte ustrezno količino kemičnega koncentrata, kot določa proizvajalec kemikalije.
Important: Če uporabljate močljivi prašek, ga pred dodajanjem v cisterno zmešajte z majhno količino vode, da bo nastala brozga.
V cisterno dodajte preostalo vodo.
Note: Za boljše mešanje zmanjšajte nastavitev stopnje nanosa.
| Intervali servisnega vzdrževanja | Postopek vzdrževanja |
|---|---|
| Pred vsako uporabo ali dnevno |
|
Important: Če so preveč napeti, se cisterna in trakovi lahko deformirajo in poškodujejo.
Napolnite glavno cisterno z vodo.
Preverite, ali je med trakovi in cisterno videti kakšno gibanje (Diagram 69).

Če trakovi na cisterni niso več napeti, ampak ohlapni, privijajte varovalne matice s prirobkom in vijake na vrhu trakov, dokler se trakovi ne bodo prilegali površini cisterne (Diagram 69).
Note: Strojnih elementov trakov cisterne ne zategujte premočno.
Note: Pretok, hitrost in obtok sekcij umerite pred prvo uporabo škropilnika, če zamenjate šobe ali po potrebi.
Napolnite cisterno škropilnika s čisto vodo.
Note: Poskrbite, da bo v cisterni dovolj vode za dokončanje posameznega postopka umerjanja.
Spustite levo in desno sekcijo škropilne garniture.
Zaščitene nastavitve nastavite na izklopljeno; glejte Uporaba zaslona InfoCenter.
Oprema, ki jo mora priskrbeti upravljavec: štoparica, ki lahko meri z natančnostjo ±1/10 sekunde, in vsebnik z merilnimi oznakami v korakih po 50 ml.
Note: Pri umerjanju pretoka škropilnika za stroje brez zaklepa dušilne lopute morata biti prisotni dve osebi.
Menjalno ročico prestavite v NEVTRALNI položaj.
Aktivirajte parkirno zavoro in zaženite motor.
Vklopite črpalko škropilnika in nato še mešanje.
Pritiskajte na stopalko za pospeševanje, dokler motor ne doseže največjega števila vrtljajev.
Hitrost motorja nastavite na naslednji način.
Pri strojih brez izbirnega zaklepa dušilne lopute naj ena oseba pritiska na stopalko za pospeševanje, dokler motor ne doseže največje hitrosti.
Note: Druga oseba naj zbere vzorce iz šob škropilnika.
Pri strojih z izbirnim zaklepom dušilne lopute pritiskajte na stopalko za pospeševanje, dokler motor ne doseže največje hitrosti, in nastavite zaklep dušilne lopute; glejte navodila za upravljanje za komplet ročne dušilne lopute Workman.
Prestavite vsa 3 stikala sekcije in stikalo glavne sekcije v položaj ON (Vklop).
Z vsebnikom z merilnimi oznakami se pripravite na izvajanje testa prestrezanja.
Začnite pri 2,75 bara in s stikalom za stopnjo nanosa prilagodite tlak škropljenja, tako da bodo rezultati testa prestrezanja količine odražali količine, navedene v naslednji preglednici.
Note: Vsakih 15 sekund zberite 3 vzorce in določite povprečno količino zbrane vode.
| Barva šobe | Mililitri, zbrani v 15 sekundah | Unče, zbrane v 15 sekundah | ||
|---|---|---|---|---|
| Rumena | 189 | 6,4 | ||
| Rdeča | 378 | 12,8 | ||
| Rjava | 473 | 16,0 | ||
| Siva | 567 | 19,2 | ||
| Bela | 757 | 25,6 | ||
| Modra | 946 | 32,0 | ||
| Zelena | 1419 | 48,0 | ||
Ko so s testom prestrezanja dobljeni rezultati iz zgornje preglednice, nastavite stikalo za zaklep stopnje, ki jo je določil nadzornik, v položaj LOCK (Zakleni).
Stikalo glavne sekcije obrnite v položaj OFF (Izklop).
Na zaslonu sistema InfoCenter se pomaknite v meni Calibration (Umerjanje) in izberite FLOW CAL (UMERJANJE PRETOKA) na naslednji način:
Note: Če kadar koli izberete ikono začetnega zaslona, bodo umerjanja preklicana.
Za dostop do menijev pritisnite osrednji gumb za izbor na zaslonu sistema InfoCenter.
Vstopite v meni za umerjanje, tako da pritisnite desni gumb za izbor na zaslonu sistema InfoCenter.
Izberite FLOW CAL (Umerjanje pretoka), tako da označite FLOW CAL (Umerjanje pretoka) in pritisnete desni gumb za izbor na zaslonu sistema InfoCenter.
Na naslednjem zaslonu vnesite znano količino vode, ki bo pri postopku umerjanja škropila iz sekcij; glejte spodnji diagram.
Pritisnite desni gumb za izbor na zaslonu InfoCenter.
S simboloma za znaka plus (+) in minus (–) vnesite količino pretoka v skladu s spodnjo preglednico.
| Barva šobe | Litri | Ameriške galone |
| Rumena | 42 | 11 |
| Rdeča | 83 | 22 |
| Rjava | 106 | 28 |
| Siva | 125 | 33 |
| Bela | 167 | 44 |
| Modra | 208 | 55 |
| Zelena | 314 | 83 |
Za 5 minut vklopite stikalo glavne sekcije.
Note: Ko stroj škropi, je na zaslonu sistema InfoCenter prikazana količina tekočine, ki jo stroj meri.
Po 5-minutnem škropljenju izberite kljukico, tako da pritisnete osrednji gumb na zaslonu sistema InfoCenter.
Note: Sprejemljivo je, če se galone, ki so prikazane med postopkom umerjanja, ne ujemajo z znano količino vode, vneseno v sistem InfoCenter.
Izklopite stikalo glavne sekcije in izberite kljukico, tako da pritisnete osrednji gumb na zaslonu sistema InfoCenter.
Note: Umerjanje je zdaj dokončano.
Poskrbite, da bo cisterna škropilnika napolnjena z vodo.
Na odprtem, ravnem območju označite razdaljo med 45 in 152 m.
Note: Za natančnejše rezultate označite 152 m.
Zaženite motor in se odpeljite na začetek označene razdalje.
Note: Za najbolj natančne rezultate poravnajte sredino sprednjih pnevmatik s startno črto.
Na zaslonu sistema InfoCenter se pomaknite v meni Calibration (Umerjanje) in izberite Speed Calibration (Umerjanje hitrosti).
Note: Če kadar koli izberete ikono začetnega zaslona, bo umerjanje preklicano.
Na zaslonu sistema InfoCenter izberite puščico za naslednje dejanje (→).
S simboloma za znaka plus (+) in minus (–) vnesite označeno razdaljo v sistem InfoCenter.
Stroj prestavite v prvo prestavo in v ravni črti s polnim plinom prevozite označeno razdaljo.
Zaustavite stroj na označeni razdalji in na zaslonu sistema InfoCenter izberite kljukico.
Note: Za najbolj natančne rezultate upočasnite, stroj pa naj se sam zaustavi, da poravnate sredino sprednjih pnevmatik s startno črto.
Note: Umerjanje je zdaj dokončano.
Pretok, hitrost in obtok sekcij umerite pred prvo uporabo škropilnika, kadar koli zamenjate šobe ali po potrebi.
Important: Za izvedbo tega postopka izberite odprto, ravno območje.
Note: Pri umerjanju sekcijskega obtoka za stroje brez zaklepa dušilne lopute morata biti prisotni dve osebi.
Poskrbite, da bo cisterna škropilnika napolnjena z vodo.
Menjalno ročico prestavite v NEVTRALNI položaj.
Aktivirajte parkirno zavoro in vklopite motor.
Tri stikala sekcije prestavite na položaj VKLOP, stikalo glavne sekcije pa prestavite v položaj IZKLOP.
Prestavite stikalo črpalke v položaj VKLOP in vklopite mešanje.
Hitrost motorja nastavite na naslednji način.
Pri strojih brez izbirnega zaklepa dušilne lopute naj ena oseba pritiska na stopalko za pospeševanje, dokler motor ne doseže največje hitrosti.
Note: Druga oseba naj prilagaja sekcijske obtočne ventile.
Pri strojih z izbirnim zaklepom dušilne lopute pritiskajte na stopalko za pospeševanje, dokler motor ne doseže največje hitrosti, in nastavite zaklep dušilne lopute; glejte navodila za upravljanje za komplet ročne dušilne lopute Workman.
Na zaslonu sistema InfoCenter se pomaknite v meni Calibration (Umerjanje) in izberite Test Speed (Testna hitrost).
Note: Če kadar koli izberete ikono začetnega zaslona, bo umerjanje preklicano.
S simboloma za znaka plus (+) in minus (–) vnesite testno hitrost 5,6 km/h in nato izberite ikono začetnega zaslona.
S stikalom za stopnjo nanosa prilagodite stopnjo nanosa glede na naslednjo preglednico.
| Barva šobe | SI (metrične enote) | Angleške enote | Enote za travno rušo |
| Rumena | 159 l/ha | 17 gpa | 0,39 gpk |
| Rdeča | 319 l/ha | 34 gpa | 0,78 gpk |
| Rjava | 394 l/ha | 42 gpa | 0,96 gpk |
| Siva | 478 l/ha | 51 gpa | 1,17 gpk |
| Bela | 637 l/ha | 68 gpa | 1,56 gpk |
| Modra | 796 l/ha | 85 gpa | 1,95 gpk |
| Zelena | 1190 l/ha | 127 gpa | 2,91 gpk |
Izklopite stikalo leve sekcije in prilagajajte obtočni ventil leve sekcije (Diagram 70), dokler odčitek tlaka ne bo na prej prilagojeni ravni (običajno 2,75 bara).
Note: Oštevilčeni indikatorji na obtočnem ventilu so namenjeni le ponazoritvi.

Vklopite stikalo leve sekcije in izklopite stikalo desne sekcije.
Prilagajajte obtočni ventil desne sekcije (Diagram 70), dokler odčitek tlaka ne bo na prej prilagojeni ravni (običajno 2,75 bara).
Vklopite stikalo desne sekcije in izklopite stikalo osrednje sekcije.
Prilagajajte obtočni ventil osrednje sekcije (Diagram 70), dokler odčitek tlaka ne bo na prej prilagojeni ravni (običajno 2,75 bara).
Izklopite vsa stikala sekcij.
Izklopite črpalko za škropljenje.
Note: Umerjanje je zdaj dokončano.
| Intervali servisnega vzdrževanja | Postopek vzdrževanja |
|---|---|
| Letno |
|
Important: Za izvedbo tega postopka izberite odprto, ravno območje.
Note: Pri umerjanju obtočnega mešalnega ventila za stroje brez zaklepa dušilne lopute morata biti prisotni dve osebi.
Poskrbite, da bo cisterna škropilnika napolnjena z vodo.
Prepričajte se, da je ventil za nadzor mešanja odprt. Če je bil prilagojen, ga zdaj odprite do konca.
Menjalno ročico prestavite v NEVTRALNI položaj.
Aktivirajte parkirno zavoro in vklopite motor.
Vklopite črpalko škropilnika.
Hitrost motorja nastavite na naslednji način.
Pri strojih brez izbirnega zaklepa dušilne lopute naj ena oseba pritiska na stopalko za pospeševanje, dokler motor ne doseže največje hitrosti.
Note: Druga oseba naj zbere vzorce iz šob škropilnika.
Pri strojih z izbirnim zaklepom dušilne lopute pritiskajte na stopalko za pospeševanje, dokler motor ne doseže največje hitrosti, in nastavite zaklep dušilne lopute; glejte navodila za upravljanje za komplet ročne dušilne lopute Workman.
Prestavite 3 posamezna stikala sekcijskih ventilov v položaj OFF (Izklop).
Stikalo glavne sekcije prestavite v položaj ON (Vklop).
Nastavite tlak sistema na NAJVIšJE.
Prestavite stikalo za mešanje v položaj OFF (Izklop) in odčitajte vrednost na manometru.
Če odčitek ostaja pri 6,9 bara, je obtočni mešalni ventil pravilno umerjen.
Če je odčitek manometra drugačen, nadaljujte na naslednji korak.
Prilagajajte obtočni mešalni ventil (Diagram 72) na zadnji strani mešalnega ventila, dokler odčitek manometra ne bo znašal 6,9 bara.

Prestavite stikalo črpalke v položaj OFF (Izklop), pomaknite ročico dušilne lopute v IDLE (Prosti tek) in stikalo za vžig obrnite v položaj OFF (Izklop).
Note: S prilagajanjem obtočnega ventila glavne sekcije je zmanjšana ali povečana količina pretoka, ki je poslan na mešalne šobe v cisterni, ko je glavno stikalo škropilne garniture prestavljeno v položaj OFF (Izklop).
Poskrbite, da bo cisterna škropilnika napolnjena z vodo.
Aktivirajte parkirno zavoro.
Menjalno ročico prestavite v NEVTRALNI položaj.
Vklopite črpalko škropilnika.
Prestavite stikalo za mešanje v položaj ON (Vklop).
Stikalo glavne sekcije prestavite v položaj OFF (Izklop).
Hitrost motorja nastavite na naslednji način.
Pri strojih brez izbirnega zaklepa dušilne lopute naj ena oseba pritiska na stopalko za pospeševanje, dokler motor ne doseže največje hitrosti.
Note: Druga oseba naj zbere vzorce iz šob škropilnika.
Pri strojih z izbirnim zaklepom dušilne lopute pritiskajte na stopalko za pospeševanje, dokler motor ne doseže največje hitrosti, in nastavite zaklep dušilne lopute; glejte navodila za upravljanje za komplet ročne dušilne lopute Workman.
Prilagodite ročaj obtočnega ventila glavne sekcije, tako da bo nadzorovana količina mešanja, do katerega prihaja v cisterni (Diagram 72).
Zmanjšajte hitrost dušilne lopute na prosti tek.
Prestavite stikalo za mešanje in stikalo črpalke v položaj OFF (Izklop).
Ugasnite motor.
Črpalka za škropljenje je na zadnjem delu stroja (Diagram 73).

Lastnik/upravljavec je odgovoren za preprečevanje nesreč, ki lahko povzročijo telesne poškodbe ali premoženjsko škodo.
Nosite primerna oblačila, vključno z zaščitnimi očali, dolgimi hlačami, delovnimi čevlji z nedrsečim podplatom in zaščito za sluh. Spnite dolge lase in ne nosite ohlapnih oblek ali ohlapnega nakita.
Nosite ustrezno osebno zaščitno opremo, kot je določeno v razdelku Kemična varnost.
Med upravljanjem stroja bodite popolnoma zbrani. Ne delajte ničesar, kar bi lahko odvrnilo vašo pozornost, saj to lahko privede do telesnih poškodb ali materialne škode.
Stroja ne upravljajte, če ste bolni, utrujeni ali pod vplivom alkohola oziroma drog.
Na stroju ne sme biti več kot en potnik in ta lahko sedi samo na temu namenjenemu mestu za sedenje.
S strojem upravljajte le, ko je vidljivost dobra. Izogibajte se lukenj in skritih nevarnosti.
Preden zaženete motor, se namestite na položaju za upravljanje in menjalno ročico prestavite v NEVTRALNI položaj.
Vedno ko se stroj premika, morate sedeti. Če je le mogoče, imejte obe roki na volanu, roke in noge pa vedno v predelku za upravljavca.
Bodite previdni pri približevanju nepreglednim ovinkom, grmom, drevesom ali drugim predmetom, ki lahko omejijo vaš pogled.
Pred vzvratno vožnjo poglejte nazaj in se prepričajte, da za vami ni nikogar. Pri vzvratni vožnji vozite počasi.
Ne škropite, kadar so v bližini druge osebe, še posebej otroci, ali domači ljubljenčki.
Ne upravljajte stroja v bližini prepadov, jarkov ali strmih nabrežij. Stroj bi se lahko nenadoma prevrnil, če s kolesom zapeljete čez rob ali če se rob udre.
Ko stroj upravljate na zahtevnem terenu ali na neravnih tleh ali v bližini robnikov, lukenj in drugih nenadnih sprememb terena, zmanjšajte hitrost. Tovor se lahko premika, zato stroj lahko postane nestabilen.
Po udarcu stroja ob tuj predmet ali če zaznate nenavadne vibracije stroja, stroj zaustavite, ugasnite motor, odstranite ključ, aktivirajte parkirno zavoro in preglejte, ali je stroj poškodovan. Pred nadaljevanjem upravljanja opravite vsa potrebna popravila.
Pri zavijanju in prečkanju cest in pločnikov s strojem upočasnite in bodite previdni. Dajte prednost drugim udeležencem v prometu.
Bodite še posebej pazljivi pri upravljanju stroja na mokrih površinah, v zahtevnih vremenskih pogojih, pri večjih hitrostih ali pri polni obremenitvi. V takšnih razmerah se čas in razdalja pri zaustavljanju povečata.
Ne dotikajte se motorja ali glušnika, ko motor še deluje ali kmalu potem, ko je ugasnil. Te površine so lahko dovolj vroče, da se pojavijo opekline.
Preden zapustite delovni položaj, storite naslednje:
Parkirajte stroj na ravni površini.
Menjalno ročico prestavite v NEVTRALNI položaj.
Izklopite črpalko za škropljenje.
Aktivirajte parkirno zavoro.
Ugasnite motor in odstranite ključ (če je del opreme).
Počakajte, da se vsi deli ustavijo.
Motor ne sme delovati na območjih, kjer ni možen odvod izpušnih plinov.
Ne upravljajte stroja, če obstaja nevarnost za udar strele.
Uporabljajte samo dodatno opremo in priključke, ki jih je odobrilo podjetje Toro.
Za upravljanje škropilnika Multi Pro WM najprej napolnite cisterno za škropljenje, nato pa raztopino nanesite na delovno območje in na koncu očistite cisterno. Pomembno je, da vse te 3 korake dokončane enega za drugim, da preprečite poškodbe škropilnika. V cisterni za škropljenje na primer ne mešajte in vanjo ne dodajajte kemikalij ponoči, da bi nato škropili zjutraj. Pri tem bi se kemikalije ločile in bi lahko poškodovale sestavne dele škropilnika.
Important: Oznake na cisterni so namenjene le ponazoritvi in jih pri umerjanju ni mogoče šteti za točne.
Kemikalije so nevarne in lahko povzročijo telesne poškodbe.
Pred rokovanjem s kemikalijami preberite navodila na njihovih oznakah ter upoštevajte vsa priporočila in previdnostne ukrepe proizvajalca.
Preprečite stik kemikalij z kožo. Če pride do stika, prizadeto območje temeljito sperite z milom in čisto vodo.
Nosite zaščitna očala in vso drugo zaščitno opremo, ki jo priporoča proizvajalec kemikalij.
Škropilnik Multi Pro WM je zasnovan posebej za to, da je visoko vzdržljiv, kar pomeni, da je njegova življenjska doba dolga. V ta namen so bili na različnih mestih na škropilniku s specifičnimi razlogi izbrani različni materiali. Žal ni enega samega materiala, ki bi bil popoln za vse predvidene načine uporabe.
Nekatere kemikalije so agresivnejše od drugih, vsaka kemikalija pa z različnimi materiali reagira drugače. Nekatere snovi (npr. močljivi praški, oglje) so bolj abrazivne kot druge in prispevajo k hitrejši obrabi. Če je kemikalija na voljo v formulaciji, zaradi katere bi bila življenjska doba škropilnika daljša, uporabite to alternativno formulacijo.
Kot vedno po vseh načinih uporabe ne pozabite temeljito očistiti stroja in sistema škropilnika. S tem je zagotovljena dolga življenjska doba, škropilnika, med katero ne prihaja do težav.
Important: Da bo raztopina vedno dobro zmešana, uporabite funkcijo mešanja vedno, ko je raztopina v cisterni. Da bo mešanje delovalo, morate aktivirati priključno gred. motor pa mora delovati pri vrtljajih, višjih od prostega teka. Če zaustavite vozilo in želite, da je mešanje vklopljeno, prestavite prestavno ročico v NEUTRAL (nevtralni) položaj, aktivirajte parkirno zavoro, priključno gred in sklopko ter nastavite ročno dušilno loputo, če je del opreme.
Note: Pri tem postopku je predpostavljeno, da je priključna gred aktivirana (pri modelih serije HD z ročnim menjalnikom), umerjanje sekcijskega ventila pa je končano.
Spustite škropilne garniture v ustrezen položaj.
Stikalo glavne sekcije prestavite v položaj OFF (Izklop).
Stikala posameznih sekcij po potrebi prestavite v položaj ON (Vklop).
Odpeljite se na mesto, kjer nameravate škropiti.
Pomaknite se na zaslon Application Rate (Stopnja nanosa) v sistemu InfoCenter in z naslednjimi koraki nastavite želeni nanos:
Prepričajte se, da je stikalo za črpalko v položaju ON (Vklop).
Pri modelih serije HD z ročnim menjalnikom izberite želeni razpon prestav.
Začnite voziti s ciljno hitrostjo.
Preverite, ali je na zaslonu prikazana pravilna stopnja nanosa. Po potrebi prilagajajte stikalo za stopnjo nanosa, dokler se na zaslonu ne prikaže želena stopnja nanosa.
Vrnite se na mesto, kjer ste škropili.
Stikalo glavne sekcije prestavite v položaj ON (Vklop) in začnite škropiti.
Note: Ko je cisterna skoraj prazna, se v njej pri mešanju lahko začnejo tvoriti pene. Da to preprečite, izklopite mešalni ventil. Druga možnost je uporaba sredstva proti penjenju v cisterni.
Ko dokončate škropljenje, prestavite stikalo glavne sekcije v položaj OFF (Izklop), da izklopite vse sekcije škropljenja, in deaktivirajte priključno gred (modeli serije HD z ročnim menjalnikom).
Important: Pri določenih pogojih lahko pri upravljanju škropilnika v stacionarnem načinu toplota iz motorja, hladilnika in glušnika poškoduje travo. Stacionarni načini vključujejo mešanje v cisterni, ročno škropljenje s škropilno pištolo ali uporabo škropilne garniture za škropljenje med hojo.
Upoštevajte naslednje previdnostne ukrepe:
Izogibajte se stacionarnemu škropljenju v vremenskih pogojih ekstremne vročine in/ali suše, saj je v teh obdobjih travna ruša bolj obremenjena.
Med stacionarnim škropljenjem se izogibajte parkiranju na travni ruši. Če je le mogoče, parkirajte na tlakovani površini.
Čim bolj zmanjšajte čas, v katerem stroj deluje in je na določenem območju travne ruše. Obseg škode, povzročene travi, je odvisen od časa in temperature.
Da dosežete želeni tlak in pretok, število vrtljajev motorja nastavite tako nizko, kot je le mogoče. S tem se zmanjša količina generirane toplote in hitrost zraka, ki prihaja iz hladilnega ventilatorja.
Omogočite toploti, da uide v smeri navzgor od predelka motorja, tako da med stacionarnim delovanjem dvignete sklope sedeža, ne pa, da je toplota prisiljena uhajati navzven pod sedežem.
S stikali za dvig sekcije škropilne garniture na nadzorni plošči škropilnika lahko premikate zunanje sekcije za škropljenje med položajem za transport in položajem za škropljenje, ne da bi vam bilo treba zapustiti upravljavski sedež. Če je le mogoče, pred spreminjanjem položaja sekcij za škropljenje zaustavite stroj.
Aktivirajte hidravlično dvižno ročico in jo zaklenite, da poskrbite za hidravlično energijo za nadzor dviga škropilne garniture.
Hidravlično dvižno ročico potisnite naprej.

Premaknite zaklep hidravličnega dviga, da ga aktivirate.
Da zunanje sekcije za škropljenje premaknete na položaj za šKROPLJENJE, izvedite naslednje korake:
Parkirajte stroj na ravni površini.
Za spust zunanjih sekcij uporabite stikala za dvig sekcije škropilne garniture.
Note: Počakajte, dokler zunanje sekcije za škropljenje ne dosežejo polnega, iztegnjenega položaja škropljenja.
Dokončajte škropljenje, nato pa izvedite naslednje korake za umik zunanjih sekcij za škropljenje v položaj za transport:
Parkirajte stroj na ravni površini.
Za dvig ene od zunanjih sekcij za škropljenje uporabite stikala za dvig sekcije škropilne garniture.
Za dvig drugih zunanjih sekcij za škropljenje uporabite stikala za dvig sekcije škropilne garniture.
Dvigajte sekcije škropilne garniture, dokler se popolnoma ne pomaknejo v transportna ogrodja za sekcije škropilne garniture, pri čemer oblikujejo položaj za transport v obliki črke X, valji za dvig pa se popolnoma umaknejo.
Important: Ko zunanje sekcije za škropljenje dosežejo želeni položaj, sprostite stikala za dvig sekcije škropilne garniture. Če bi se aktuatorji drgnili ob mehanske blokade, bi se valji za dvig in/ali drugi hidravlični sestavni deli lahko poškodovali.
Important: Prepričajte se, da se sekcije za škropljenje v transportnem položaju ne dotikajo nizkih predmetov nad glavo, saj lahko pride do poškodb sekcij za škropljenje.
Important: Sekcije za škropljenje se lahko poškodujejo, če so s transportnim ogrodjem transportirane v položaju, ki ni položaj X.

Important: Da preprečite poškodbe valja za dvig, se pred transportom stroja prepričajte, da so aktuatorji do konca umaknjeni.
Območja, kjer ste že prej škropili, naj se ne prekrivajo.
Pazite na priklopljene šobe. Zamenjajte vse obrabljene ali poškodovane šobe.
Pred zaustavitvijo škropilnika s stikalom glavne sekcije zaustavite pretok škropljenja. Ko je zaustavljen, z zaporo vrtenja motorja v nevtralnem položaju vzdržujte visoko hitrost vrtljajev, da bo mešanje še naprej delovalo.
Boljše rezultate dobite, če se ob vklopu sekcij za škropljenje škropilnik premika.
Bodite pozorni na spremembe stopnje nanosa, ki bi lahko kazale, da se je hitrost spremenila v takšno, ki je zunaj razpona šob, ali pa, da je prišlo do težave pri sistemu škropljenja.
Če se šoba zamaši, ko škropite, jo očistite po naslednjih navodilih:
Zaustavite škropilnik na ravni površini, izklopite motor in aktivirajte parkirno zavoro.
Stikalo glavne sekcije prestavite v položaj IZKLOP, v položaj IZKLOP pa prestavite tudi stikalo črpalke za škropilnik.
Odstranite zamašeno šobo in jo očistite s pršilko z vodo in zobno ščetko.
Namestite šobo.
Preden zapustite stroj, ga parkirajte na ravni površini, aktivirajte parkirno zavoro, ugasnite motor, odstranite ključ in počakajte, da se vsi premikajoči se deli ustavijo.
Ko končate delo s strojem za tisti dan, izperite vse ostanke kemikalij z zunanjosti stroja; glejte razdelek Kemična varnost.
Počakajte, da se motor ohladi, preden stroj shranite v zaprt prostor.
Varnostne pasove vzdržujte in čistite po potrebi.
Stroja ali posode za gorivo ne smete shranjevati, kjer so lahko prisotni odprti plamen, iskra ali pilotni plamen iz naprav, kot so na primer grelec za vodo ali drugi podobni gospodinjski aparati.
Vse dele stroja vzdržujte v brezhibnem stanju ter poskrbite, da bodo vsi strojni elementi dobro priviti.
Zamenjajte vse obrabljene, poškodovane ali manjkajoče nalepke.
Important: Za čiščenje stroja ne uporabljajte somornice ali filtrirane morske vode.
Parkirajte stroj na ravni površini, zategnite parkirno zavoro, ugasnite motor in odstranite ključ.
Poiščite drenažni ventil cisterne na desni strani stroja (Diagram 76).

Odprite ventil, da iz cisterne iztočite ves neuporabljen material (Diagram 77).
Important: Vse odpadne kemikalije odstranite v skladu z lokalnimi zakoni in navodili proizvajalca glede materiala.

Zaprite drenažni ventil (Diagram 77).
| Intervali servisnega vzdrževanja | Postopek vzdrževanja |
|---|---|
| Letno |
|
Important: Škropilnik morate po vsaki uporabi vedno izprazniti in očistiti. Če tega ne boste storili, se lahko kemikalije v vodih zasušijo ali zgostijo, zaradi česar se bodo črpalka in drugi sestavni deli zamašili.
Uporabljajte odobreni komplet za izpiranje za ta stroj. Če želite več informacij, se obrnite na pooblaščenega distributerja za izdelke Toro.
Po vsakem škropljenju očistite sistem škropilnika. Za temeljito čiščenje sistema škropilnika naredite naslednje:
Ločeno izpirajte trikrat.
Uporabljajte čistilna in nevtralizacijska sredstva, ki jih priporočajo proizvajalci kemikalij.
Pri zadnjem izpiranju uporabite samo čisto vodo (brez čistilnih in nevtralizacijskih sredstev).
Napolnite cisterno z vsaj 190 l čiste sveže vode in zaprite pokrov.
Note: Po potrebi lahko v vodi uporabite tudi čistilno/nevtralizacijsko sredstvo. Pri zadnjem izpiranju uporabite samo čisto, svežo vodo.
Spustite škropilne garniture v položaj za škropljenje.
Zaženite motor in prestavite stikalo črpalke v položaj VKLOP.
Premaknite ročico za plin na višje vrtljaje pri prostem teku.
Prepričajte se, da je stikalo za mešanje v položaju ON (Vklop) in s stikalom za stopnjo nanosa povišajte tlak na visoko nastavitev.
Stikalo glavne sekcije in stikala posameznih sekcij prestavite v položaj ON (Vklop), da začnete škropiti.
Pustite, da se skozi šobe razškropi vsa voda v cisterni.
Preverite, ali šobe pravilno škropijo.
Prestavite stikalo glavne sekcije v položaj OFF (Izklop), izklopite črpalko škropilnika in ugasnite motor.
Ponovite korake od 1 do 9 vsaj še dvakrat, da bo sistem za škropljenje zagotovo popolnoma očiščen.
Important: Da bo sistem za škropljenje zagotovo popolnoma čist in da bodo s tem preprečene poškodbe sistema, morate ta postopek dokončati vsaj trikrat.
Očistite sesalni in tlačni filter; glejte Čiščenje sesalnega filtra in Čiščenje tlačnega filtra.
Important: Če ste uporabili kemikalije v obliki močljivih praškov, očistite mrežasti filter za vsako cisterno.
Z vrtno cevjo za zalivanje izperite zunanjost škropilnika s čisto vodo.
Odstranite šobe in jih ročno očistite. Poškodovane ali obrabljene šobe zamenjajte.
| Intervali servisnega vzdrževanja | Postopek vzdrževanja |
|---|---|
| Pred vsako uporabo ali dnevno |
|
Parkirajte stroj na ravni površini, aktivirajte parkirno zavoro, izklopite črpalko, ugasnite motor in odstranite ključ.
Odstranite varovalni zatič na vrhu cisterne škropilnika, s katerim so zavarovani pritrdilni elementi gibkih cevi, pritrjeni na večjo gibko cev, ki vodi z ohišja filtra (Diagram 78).

Odstranite gibko cev in pritrdilni element gibke cevi z ohišja filtra (Diagram 78).
Povlecite mrežasti filter za sesanje iz ohišja filtra v cisterni (Diagram 79).

Očistite sesalni filter s čisto vodo.
Important: Če je filter poškodovan ali ga ni mogoče očistiti, ga zamenjajte.
Potiskajte sesalni filter v ohišje filtra, dokler ne bo vstavljen do konca.
Poravnajte gibko cev in pritrdilni element gibke cevi z ohišjem filtra na vrhu cisterne ter pritrdite pritrdilni element in ohišje z varovalnim zatičem, ki ste ga odstranili v koraku 2.
| Intervali servisnega vzdrževanja | Postopek vzdrževanja |
|---|---|
| Pred vsako uporabo ali dnevno |
|
Parkirajte stroj na ravni površini, aktivirajte parkirno zavoro, izklopite črpalko škropilnika, ugasnite motor in odstranite ključ.
Postavite odtočno posodo pod tlačni filter (Diagram 80).

Pokrovček izpusta zavrtite v nasprotni smeri urnega kazalca in ga odstranite s posode tlačnega filtra (Diagram 80).
Note: Pustite, da se posoda popolnoma posuši.
Posodo zavrtite v nasprotno smer urnega kazalca in odstranite glavo filtra (Diagram 80).
Odstranite vložek tlačnega filtra (Diagram 80).
Očistite vložek tlačnega filtra s čisto vodo.
Important: Če je filter poškodovan ali ga ni mogoče očistiti, ga zamenjajte.
Preverite, ali sta tesnili čepa za izpust (znotraj posode) in posode (znotraj glave filtra) poškodovani in obrabljeni (Diagram 80).
Important: Zamenjajte vsa poškodovana ali obrabljena tesnila za čep, posodo ali oboje.
Namestite vložek tlačnega filtra v glavo filtra (Diagram 80).
Note: Prepričajte se, da je filtrirni vložek trdno vstavljen v glavo filtra.
Namestite posodo na glavo filtra in jo ročno privijte (Diagram 80).
Namestite pokrovček izpusta na pritrdilni element na dnu posode in ga ročno privijte (Diagram 80).
Parkirajte stroj na ravni površini, aktivirajte parkirno zavoro, izklopite črpalko škropilnika, ugasnite motor in odstranite ključ.
Odstranite šobo z glave za škropljenje (Diagram 81).

Odstranite filter šobe (Diagram 81).
Očistite filter šobe s čisto vodo.
Important: Če je filter poškodovan ali ga ni mogoče očistiti, ga zamenjajte.
Namestite filter šobe (Diagram 81).
Note: Prepričajte se, da je filter vstavljen do konca.
Namestite šobo na glavo za škropljenje (Diagram 81).
| Intervali servisnega vzdrževanja | Postopek vzdrževanja |
|---|---|
| Po vsaki uporabi |
|
Specifikacije regeneratorja: propilen glikol, »nestrupeno sredstvo proti zamrzovanju za rekreacijska vozila (RV)«, z zaviralcem korozije.
Important: Uporabite le propilen glikol z zaviralcem korozije. Ne uporabljajte recikliranega propilen glikola. Ne uporabljajte sredstva proti zamrzovanju na osnovi etilen glikola.Ne uporabljajte propilen glikola, ki so mu dodani topni alkoholi (metanol, etanol ali izopropanol) ali slanica.
Premaknite stroj na ravno površino, zategnite parkirno zavoro, ugasnite motor in odstranite ključ.
Dodajte regenerator v cisterno na naslednji način:
Pri (predhodno pripravljenem) sredstvu proti zamrzovanju za RV s propilen glikolom v cisterno dodajte 10 galon sredstva proti zamrzovanju za RV s propilen glikolom.
Pri koncentriranem sredstvu proti zamrzovanju za RV s propilen glikolom naredite naslednje:
V cisterno škropilnika dodajte 10 galon mešanice sredstva proti zamrzovanju za RV s propilen glikolom in vode. Mešanico sredstva proti zamrzovanju pripravite po navodilih proizvajalca za koncentracijo pri nazivni temperaturi najmanj –45 °C.
Important: Pri čiščenju škropilnika uporabljajte samo čisto vodo.
Zaženite motor in prestavite stikalo črpalke škropilnika v položaj VKLOP.
Pritisnite stopalko za pospeševanje, da povečate število vrtljajev motorja.
Prestavite stikalo za mešanje v položaj VKLOP.
Raztopina regeneratorja naj kroži 3 minute ali več.
Priporočeno orodje: čista lovilna posoda.
Premaknite stroj na drenažno območje in aktivirajte parkirno zavoro.
Spustite zunanje sekcije škropilne garniture.
Prestavite stikala leve, osrednje in desne sekcije ter stikalo glavne sekcije v položaj VKLOP.
Pustite, da sistem za škropljenje škropi, dokler iz šob ne bo izpuščen ves regenerator.
Note: Večina sredstva proti zamrzovanju za RV s propilen glikolom je rožnate barve. Za vzorčenje izpusta regeneratorja na več šobah uporabite lovilno posodo.
Izklopite stikalo glavne sekcije, 3 sekcijska stikala, stikalo za mešanje, stikalo črpalke za škropljenje in motor ter odstranite ključ.
Za informacije o transportu ali vleki stroja si oglejte priročnik za upravljanje vozila Workman.
Important: Privežite zunanje sekcije za škropljenje na transportna ogrodja sekcije škropilne garniture.
Note: Brezplačni izvod sheme električne ali hidravlične napeljave lahko prenesete na naslovu www.Toro.com, kjer lahko poiščete svoj stroj z uporabo povezave Priročniki na domači stani.
Note: Ugotovite, katera stran je leva in katera desna, gledano s položaja za upravljanje stroja.
Preden zapustite delovni položaj, storite naslednje:
Parkirajte stroj na ravni površini.
Menjalno ročico prestavite v NEVTRALNI položaj.
Aktivirajte parkirno zavoro.
Ugasnite motor in odstranite ključ (če je del opreme).
Počakajte, da se vsi deli ustavijo.
Pred začetkom vzdrževanja počakajte, da se vroči deli stroja ohladijo.
Vzdrževanje, popravilo, prilagajanje ali pregled stroja dovolite samo usposobljenemu in pooblaščenemu osebju.
Pred izvedbo kakršnih koli vzdrževalnih del škropilnik temeljito očistite in izperite; glejte razdelek Kemična varnost.
Kemikalije, ki so uporabljene v sistemu škropilnika, so lahko nevarne in strupene za vas, navzoče osebe, živali, rastline, prst in drugo.
Natančno preberite in upoštevajte kemične opozorilne oznake in varnostne liste za vse uporabljene kemikalije ter se zaščitite po priporočilih proizvajalcev kemikalij.
Ko ste v bližini kemikalij, vedno zaščitite svojo kožo. Za zaščito pred stikom s kemikalijami uporabljajte ustrezno osebno zaščitno opremo (OZO), vključno z naslednjim:
varnostna stekla, zaščitna očala in/ali obrazni vizir,
obleka za zaščito pred kemikalijami,
respirator ali filtrirna maska,
na kemikalije odporne rokavice,
gumijasti škornji ali druga trdna obutev,
čista nadomestna oblačila, milo in papirnate brisače za čiščenje.
Če informacije o kemični varnosti niso na voljo, zavrnite upravljanje škropilnika ali dela na njem.
Če so v bližini druge osebe, zlasti otroci, ali hišni ljubljenčki, v stroj ne dolivajte tekočine, ga ne umerjajte in ne čistite.
S kemikalijami rokujte v dobro prezračevanem prostoru.
Vedno imejte na voljo čisto vodo, zlasti pri polnjenju cisterne za škropljenje.
Pri delu v bližini kemikalij ne jejte, ne pijte in ne kadite.
Ne čistite škropilnih šob s pihanjem skoznje ali z nameščanjem teh šob v usta.
Čim prej po delu s kemikalijami umijte roke in druge izpostavljene predele.
Kemikalije in hlapi so nevarni; nikoli ne vstopajte v cisterno in ne postavljajte glave nad odprtino cisterne ali vanjo.
Da bo stanje celotnega stroja brezhibno, poskrbite, da bodo vsi strojni elementi pravilno priviti.
Da preprečite nevarnost požara, v prostoru za motor ne sme biti odvečne masti, kemikalij, trave, listja in umazanije.
Če morate zagnati motor za prilagoditev pri vzdrževanju, pazite, da roke, noge, obleka in kateri koli drug del telesa ne bo v bližini motorja ali katerega koli premikajočega se dela. Poskrbite, da bodo vse navzoče osebe na varni razdalji.
Ne prilagajajte hitrosti vožnje stroja. Da zagotovite varnost in točnost, naj hitrost vožnje preveri pooblaščeni distributer za izdelke Toro.
Če je stroj treba generalno popraviti ali če potrebujete tehnično pomoč, se obrnite na pooblaščenega distributerja za izdelke Toro.
Spreminjanje tega stroja na kakršen koli način lahko vpliva na njegovo upravljanje, delovanje, vzdržljivost ali uporabo, posledica pa so lahko poškodbe ali smrt. S tako uporabo bi bila garancija izničena.
Če delate pod strojem, ga podprite z dvižnimi stojali.
Pri sestavnih delih, ki so pod tlakom, bodite pri sproščanju tlaka zelo previdni.
| Intervali servisnega vzdrževanja | Postopek vzdrževanja |
|---|---|
| Pred vsako uporabo ali dnevno |
|
| Po vsaki uporabi |
|
| Vsakih 50 ur |
|
| Vsakih 100 ur |
|
| Vsakih 200 ur |
|
| Vsakih 400 ur |
|
| Letno |
|
Important: Za dodatne vzdrževalne postopke glejte priročnik za upravljanje za stroj in priročnik za lastnike motorja.
To stran lahko kopirate za redno uporabo.
| Postavka vzdrževalnega pregleda | Za teden: | ||||||
|---|---|---|---|---|---|---|---|
| Pon. | Tor. | Sre. | Čet. | Pet. | Sob. | Ned. | |
| Preverite zavoro in delovanje parkirne zavore. | |||||||
| Preverite delovanje prestav/nevtralnega položaja. | |||||||
| Preverite raven goriva. | |||||||
| Pred polnjenjem cisterne preverite raven motornega olja. | |||||||
| Pred polnjenjem cisterne preverite raven olja sklopa transmisijske gredi z diferencialom. | |||||||
| Pred polnjenjem cisterne preverite zračni filter. | |||||||
| Pred polnjenjem cisterne preverite raven olja hladilnih reber motorja. | |||||||
| Preverite, ali motor oddaja kakšne nenavadne zvoke. | |||||||
| Preverite, ali stroj med delovanjem oddaja kakšne nenavadne zvoke. | |||||||
| Preverite tlak v pnevmatikah. | |||||||
| Preverite za puščanje tekočin. | |||||||
| Preverite delovanje instrumentov. | |||||||
| Preverite delovanje pospeševalnika. | |||||||
| Očistite sesalni mrežasti filter. | |||||||
| Preverite usmerjenost koles. | |||||||
| Namažite vse mazalke.1 | |||||||
| Popravite vse poškodbe na laku. | |||||||
1Takoj po vsakem pranju, ne glede na navedene intervale
| Pregled je opravil: | ||
| Postavka | Datum | Informacije |
| 1 | ||
| 2 | ||
| 3 | ||
| 4 | ||
| 5 | ||
| 6 | ||
| 7 | ||
| 8 | ||
| 9 | ||
| 10 | ||
Če pozabite ključ v stikalu za vžig, lahko nekdo nenamerno zažene motor ter vas ali mimoidoče hudo poškoduje.
Pred izvedbo kakršnih koli vzdrževalnih del odstranite ključ iz stikala za vžig in odklopite negativni akumulatorski kabel z akumulatorja. Akumulatorski kabel dajte na stran, da ne bo nenamerno prišel v stik s polom akumulatorja.
Sklop cisterne škropilnika predstavlja nevarnost zaradi shranjene energije. Če pri nameščanju ali odstranjevanju sklop ni pravilno zadržan, se lahko premakne ali pade in poškoduje vas ali druge navzoče osebe.
Za podporo sklopa cisterne škropilnika med namestitvijo, odstranjevanjem ali kakršnim koli vzdrževanjem, ko odstranjujete zadrževalne pritrdilne elemente, uporabljajte trakove in mostno dvigalo.
Za dostop do motorja in drugih notranjih sestavnih delov lahko sklop cisterne dvignete. Zavrtite podaljšek škropilne garniture naprej, da bo teža enakomerneje porazdeljena.
Izpraznite cisterno za škropljenje.
Parkirajte vozilo na ravni površini.
S stikali za nadzor škropilne garniture dvignite podaljšek škropilne garniture pod kotom približno 45°.
Zategnite parkirno zavoro, ugasnite motor in odstranite ključ.
Odklopite akumulator.
S sprednjega dela sani odstranite varnostne vijake (Diagram 82).

Odklopite kabelski snop osrednje konzole od glavnega kabelskega snopa in sprostite glavni kabelski snop, da ni napet.
Zložite podaljške škropilne garniture v smeri naprej, vzdolž sklopa cisterne, da bo teža enakomerneje porazdeljena in da bo preprečena prevrnitev nazaj.
Dvigujte sklop cisterne, dokler valji za dvig ne bodo do konca iztegnjeni.
Odstranite podpornik kesona s shranjevalnih nosilcev na zadnji strani plošče ROPS (Diagram 83).

Podpornik kesona potisnite na drog valja, pri čemer poskrbite, da bodo jezički podporne glave položeni na konec bobna valja in na glavo droga valja (Diagram 84).

Ko ste pripravljeni na spust sklopa cisterne, odstranite podpornik kesona z valja in ga vstavite v nosilce na zadnji strani plošče ROPS.
Important: Ne skušajte spustiti sklopa cisterne, ko je varnostni podpornik kesona še na valju.
Umaknite valje za dvig, da previdno spustite cisterno na ogrodje.
Za pritrditev sklopa cisterne namestite 2 vpenjalna vijaka in pritrdilna elementa.
Zložite podaljške škropilne garniture v smeri nazaj v iztegnjeni položaj.
S stikali za nadzor škropilne garniture dvignite podaljške škropilne garniture v položaj za TRANSPORT (prevoz).
Speljite glavni kabelski snop tako, da bo napet, in ga priključite na kabelski snop osrednje konzole.
| Intervali servisnega vzdrževanja | Postopek vzdrževanja |
|---|---|
| Vsakih 50 ur |
|
Vrsta masti: Mobil XHP 461
Poiščite mazalke na črpalki škropilnika.
Note: Črpalka je na zadnjem delu stroja.

Do čistega obrišite daljinski mazalki.
V vsako daljinsko mazalko načrpajte mast.
Obrišite odvečno mast.
| Intervali servisnega vzdrževanja | Postopek vzdrževanja |
|---|---|
| Vsakih 100 ur |
|
Important: Če ste tečaj škropilne garniture oprali z vodo, s sklopa tečaja očistite vso vodo in umazanijo in nanesite svežo mast.
Vrsta masti: mast št. 2 na litijevi osnovi
Obrišite mazalke tako, da bodo čiste in da preprečite vdor tujkov v ležaj ali pušo.
Načrpajte mast v ležaj ali pušo vsake mazalke Diagram 86.

Obrišite odvečno mast.
Ponovite postopek na vsaki točki vrtenja škropilne garniture.
Pred popravilom stroja morate odklopiti akumulator. Najprej odklopite negativno priključno sponko in nato še pozitivno. Najprej priklopite pozitivno priključno sponko in nato še negativno.
Zamenjavo akumulatorja opravite v odprtem in dobro prezračenem prostoru, daleč od isker in plamenov. Pred priključitvijo ali odklopom akumulatorja morate odklopiti polnilnik.
Nositi morate zaščitna oblačila in uporabiti izolirana orodja.
Ohišje z varovalkami sistema škropilnika je nameščeno na konec ohišja z varovalkami pri vozilu. Pregorelo varovalko zamenjajte z varovalko enakega tipa in nazivnega toka.

| Intervali servisnega vzdrževanja | Postopek vzdrževanja |
|---|---|
| Vsakih 200 ur |
|
| Vsakih 400 ur |
|
Pri vsaki gibki cevi v sistemu škropljenja preverite, ali je razpokana, pušča ali pa je kakor koli drugače poškodovana. Hkrati možnost podobnih poškodb preverite tudi pri priključkih in pritrdilnih elementih. Zamenjajte vse gibke cevi in pritrdilne elemente, ki so poškodovani.
| Intervali servisnega vzdrževanja | Postopek vzdrževanja |
|---|---|
| Vsakih 400 ur |
|
Note: Določite ustrezno velikost mreže sesalnega filtra, ki jo potrebujete za delo; glejte Izbira sesalnega filtra.
Parkirajte stroj na ravni površini, aktivirajte parkirno zavoro, izklopite črpalko, ugasnite motor in odstranite ključ.
Odstranite varovalni zatič na vrhu cisterne škropilnika, s katerim so zavarovani pritrdilni elementi gibkih cevi, pritrjeni na večjo gibko cev, ki vodi z ohišja filtra (Diagram 88).

Odstranite gibko cev in pritrdilni element gibke cevi z ohišja filtra (Diagram 88).
Odstranite stari sesalni filter iz ohišja filtra v cisterni (Diagram 89).
Note: Stari filter zavrzite.

V ohišje filtra namestite novi sesalni filter.
Note: Prepričajte se, da je filter vstavljen do konca.
Poravnajte gibko cev in pritrdilni element gibke cevi z ohišjem filtra na vrhu cisterne ter pritrdite pritrdilni element in ohišje z varovalnim zatičem, ki ste ga odstranili v koraku 2.
| Intervali servisnega vzdrževanja | Postopek vzdrževanja |
|---|---|
| Vsakih 400 ur |
|
Note: Določite ustrezno velikost mreže tlačnega filtra, ki jo potrebujete za delo; glejte Izbira tlačnega filtra.
Parkirajte stroj na ravni površini, aktivirajte parkirno zavoro, izklopite črpalko škropilnika, ugasnite motor in odstranite ključ.
Postavite odtočno posodo pod tlačni filter (Diagram 90).

Pokrovček izpusta zavrtite v nasprotni smeri urnega kazalca in ga odstranite s posode tlačnega filtra (Diagram 90).
Note: Pustite, da se posoda popolnoma posuši.
Posodo zavrtite v nasprotno smer urnega kazalca in odstranite glavo filtra (Diagram 90).
Odstranite stari vložek tlačnega filtra (Diagram 90).
Note: Stari filter zavrzite.
Preverite, ali sta tesnili čepa za izpust (znotraj posode) in posode (znotraj glave filtra) poškodovani in obrabljeni (Diagram 90).
Note: Zamenjajte vsa poškodovana ali obrabljena tesnila za čep, posodo ali oboje.
Namestite novi vložek tlačnega filtra v glavo filtra (Diagram 90).
Note: Prepričajte se, da je filtrirni vložek trdno vstavljen v glavo filtra.
Namestite posodo na glavo filtra in jo ročno privijte (Diagram 90).
Namestite pokrovček izpusta na pritrdilni element na dnu posode in ga ročno privijte (Diagram 90).
Note: Določite ustrezno velikost mreže filtra šobe, ki jo potrebujete za delo; glejte Izbira filtra za konico šobe (izbirno).
Parkirajte stroj na ravni površini, aktivirajte parkirno zavoro, izklopite črpalko škropilnika, ugasnite motor in odstranite ključ.
Odstranite šobo z glave za škropljenje (Diagram 91).

Odstranite stari filter šobe (Diagram 91).
Note: Stari filter zavrzite.
Namestite novi filter šobe (Diagram 91).
Note: Prepričajte se, da je filter vstavljen do konca.
Namestite šobo na glavo za škropljenje (Diagram 91).
| Intervali servisnega vzdrževanja | Postopek vzdrževanja |
|---|---|
| Vsakih 400 ur |
|
Note: Naslednji sestavni deli stroja veljajo za dele, ki so pri uporabi potrošni, razen če je ugotovljeno, da so okvarjeni in jih garancija, povezana s tem strojem, ne krije.
Pooblaščeni distributer za izdelke Toro naj pri naslednjih sestavnih delih notranje črpalke preveri, ali so poškodovani:
Membrana črpalke
Sklopi kontrolnega ventila črpalke
Kateri koli sestavni del po potrebi zamenjajte.
| Intervali servisnega vzdrževanja | Postopek vzdrževanja |
|---|---|
| Vsakih 400 ur |
|
Parkirajte stroj na ravni površini, aktivirajte parkirno zavoro, izklopite črpalko, ugasnite motor in odstranite ključ.
Razširite zunanje sekcije škropilne garniture v položaj za škropljenje in podprite sekcije škropilne garniture s podstavki ali trakovi in dvižno opremo.
Odstranite vijak in matico, s katerima je pritrjen vrtljivi zatič, in odstranite zatič (Diagram 92).

Odstranite škropilno garnituro in sklop vrtljivega nosilca s končnega kanala osrednjega ogrodja, da boste lahko dostopali do najlonskih puš.
Odstranite in preglejte najlonske puše s sprednjih in zadnjih delov vrtljivega nosilca (Diagram 92).
Note: Zamenjajte vse obrabljene ali poškodovane puše.
Namažite najlonske puše z majhno količino olja in jih namestite v vrtljivi nosilec (Diagram 92).
Poravnajte odprtine v vrtljivem nosilcu z odprtinami v končnem kanalu (Diagram 92).
Namestite vrtljivi zatič ter ga pritrdite z vijakom s prirobkom in varovalno matico s prirobkom, ki ste ju odstranili v koraku 3.
Za drugo zunanjo sekcijo škropilne garniture ponovite korake od 2 do 8.
Z naslednjim postopkom je mogoče prilagoditi aktuatorje na osrednji škropilni garnituri, tako da bosta leva in desna škropilna garnitura uravnani.
Razširite škropilne garniture v položaj za škropljenje.
Z vrtljivega zatiča odstranite razcepko (Diagram 93).

Dvignite škropilno garnituro in odstranite zatič (Diagram 93) ter počasi spustite škropilno garnituro na tla.
Preverite, ali je zatič kakor koli poškodovan, in ga po potrebi zamenjajte.
S ključem primite ploske strani droga aktuatorja, da se ne bo premikal, nato pa odvijte protimatico, da bo mogoče prilagoditi drog očesca (Diagram 94).

Obrnite drog očesca v drogu aktuatorja, da skrajšate ali podaljšate razširjeni aktuator v želeni položaj (Diagram 94).
Note: Da boste drog lahko pritrdili na škropilno garnituro, morate drog očesca obračati za pol vrtljaja ali cel vrtljaj.
Ko dosežete želeni položaj, privijte protimatico, da pritrdite aktuator in drog očesca.
Dvignite škropilno garnituro, da os poravnate z drogom aktuatorja.
Medtem ko držite škropilno garnituro, vstavite zatič skozi os škropilne garniture in drog aktuatorja (Diagram 93).
Ko je zatič nameščen, sprostite škropilno garnituro in pritrdite zatič, pri čemer prej odstranite razcepko.
Postopek po potrebi ponovite za vsak ležaj droga aktuatorja.
Important: Za čiščenje stroja ne uporabljajte somornice ali filtrirane morske vode.
| Intervali servisnega vzdrževanja | Postopek vzdrževanja |
|---|---|
| Vsakih 200 ur |
|
Temeljito izperite celoten škropilni sistem in pustite, da iz njega odteče vsa tekočina.
Odstranite merilnik pretoka s škropilnika in ga sperite s čisto vodo.
Odstranite zadrževalni obroč na strani v smeri proti toku (Diagram 95).

Očistite turbino in pesto turbine, da odstranite opilke in morebitne močljive praške.
Preverite, ali so lopatice turbine obrabljene.
Note: Turbino primite v roko in jo vrtite. Vrteti bi se morala prosto, z le malo upora. Če se ne, jo zamenjajte.
Sestavite merilnik pretoka.
Z nizkotlačnim (50 kPa) zračnim curkom se prepričajte, da se turbina prosto vrti.
Note: Če se turbina ne vrti prosto, odvijajte šestkotni vijak na dnu pesta turbine za 1/16 obrata, dokler se turbina ne bo začela prosto vrteti.
Preden zapustite delovni položaj, storite naslednje:
Parkirajte stroj na ravni površini.
Izklopite črpalko za škropljenje.
Aktivirajte parkirno zavoro.
Ugasnite motor in odstranite ključ (če je del opreme).
Počakajte, da se vsi deli ustavijo.
Pustite, da se stroj ohladi, preden ga nastavite, popravite, očistite ali shranite.
Stroja ali posode za gorivo ne smete shranjevati, kjer so lahko prisotni odprt plamen, iskra ali pilotni plamen iz naprav, kot so na primer grelec za vodo ali drugi podobni gospodinjski aparati.
Izvedite naslednje postopke:
Important: Za čiščenje stroja ne uporabljajte somornice ali predelane vode.
Preden zapustite stroj, ga parkirajte na ravni površini, aktivirajte parkirno zavoro, izklopite črpalko za škropljenje in motor, odstranite ključ in počakajte, da se vsi premikajoči se deli ustavijo.
Note: Pri modelih serije HD in HDX Workman z ročnim menjalnikom deaktivirajte priključno gred.
Odstranite zemljo in umazanijo s celotnega stroja, vključno z lopaticami glave valja motorja in ohišja puhalnika.
Important: Stroj lahko operete z blagim čistilom in vodo. Za pranje stroja ne uporabljajte vode pod visokim tlakom. S pranjem pod tlakom lahko poškodujete električno napeljavo ali sperete potrebno mast na točkah trenja. Ne uporabljajte prekomerne količine vode, zlasti v bližini nadzorne plošče, luči in akumulatorja.
Preden zapustite upravljavčev položaj, premaknite stroj na območje za drenažo, aktivirajte parkirno zavoro, izklopite črpalko za škropljenje in motor, odstranite ključ in počakajte, da se vsi premikajoči se deli ustavijo.
Izpustite vodo iz rezervoarja za sladko vodo in pustite pipo rezervoarja odprto.
Iz cisterne škropilnika izpustite čim več tekočine.
Pripravite raztopino sredstva proti zamrzovanju za rekreacijska vozila (RV), ki preprečuje rjavenje in ni narejena na osnovi alkohola; glejte Priprava regeneratorja.
Odstranite eno od cevi za zaznavanje tlaka s potisnega pritrdilnega elementa za priključitev, kot prikazuje Diagram 96.

Zaženite motor in spustite zunanje sekcije škropilne garniture.
Za nekaj minut zaženite črpalko škropilnika, da bo sredstvo proti zamrzovanju RV krožilo po sistemu za škropljenje in vsej nameščeni dodatni opremi za škropljenje.
Prestavite stikala leve, osrednje in desne sekcije v položaj VKLOP.
Stikalo glavne sekcije prestavite v položaj VKLOP in preverite naslednje:
Prepričajte se, da iz odklopljenega konca cevi za merjenje tlaka teče sredstvo proti zamrzovanju RV.
Pustite, da iz šobe škropi, dokler se ne pojavi sredstvo proti zamrzovanju RV.
Stikalo glavne sekcije obrnite v položaj IZKLOP.
Stikalo črpalke obrnite v položaj IZKLOP.
Za dvig zunanjih sekcij uporabite stikala za dvig sekcije škropilne garniture.
Dvigajte sekcije škropilne garniture, dokler se popolnoma ne pomaknejo v transportna ogrodja za sekcije škropilne garniture, pri čemer oblikujejo položaj za transport v obliki črke X, valji za dvig pa se popolnoma umaknejo.
Note: Da preprečite poškodbe droga aktuatorja, se prepričajte, da so valji za dvig popolnoma umaknjeni.
Ugasnite motor.
Iz cisterne škropilnika izpustite čim več tekočine.
Namažite škropilnik; glejte Mazanje.
Preverite in po potrebi privijte vse vijake in matice.
Note: Popravite ali zamenjajte vse obrabljene ali poškodovane dele.
Preverite stanje vseh gibkih cevi za škropljenje.
Note: Zamenjajte vse obrabljene ali poškodovane gibke cevi.
Zategnite vse pritrdilne elemente gibkih cevi.
Prebarvajte vse opraskane in oguljene kovinske površine z barvo, ki jo dobite pri pooblaščenem serviserju za izdelke Toro.
Po potrebi pripravite vozilo za dolgotrajno shranjevanje; glejte priročnik za upravljanje za vaše vozilo.
Stroj uskladiščite v čistem in suhem skladiščnem prostoru.
Stroj prekrijte, da ga zaščitite in ohranite čistega.
Vstavljajte cev za zaznavanje tlaka v potisni pritrdilni element za priključitev, dokler ni do konca vstavljena (Diagram 97).

Zaprite pipo rezervoarja za sladko vodo.
V rezervoar za gorivo dolijte gorivo.
Servisirajte vozilo; glejte priročnik za upravljanje vašega vozila.
Zmogljivost dvižne opreme: 408 kg
Sklop cisterne škropilnika predstavlja nevarnost zaradi shranjene energije. Če pri nameščanju ali odstranjevanju sklop ni pravilno zadržan, se lahko premakne ali pade in poškoduje vas ali druge navzoče osebe.
Za podporo sklopa cisterne škropilnika med namestitvijo, odstranjevanjem ali kakršnim koli vzdrževanjem, ko odstranjujete zadrževalne pritrdilne elemente, uporabljajte trakove in mostno dvigalo.
Odklopite akumulatorske kable z akumulatorja; glejte Odklop akumulatorja.
Ločite ohišje z varovalkami za škropilnik od ohišja z varovalkami za stroj in odklopite ožičenje med obema ohišjema z varovalkami; glejte Namestitev ohišja z varovalkami za škropilnik.
Odstranite žični kabelski snop z J-sponk; glejte Napeljava zadnjega električnega kabelskega snopa za škropilnik na nadzorno konzolo.
Sprostite ročni gumb pod konzolo in odstranite razcepko; glejte Namestitev nadzorne konzole na stroj.
Odklopite priključne sponke žic, ki povezujejo ohišje z varovalkami za škropilnik z ohišjem z varovalkami za stroj; glejte Namestitev ohišja z varovalkami za škropilnik.
Ločite ohišje z varovalkami za škropilnik od ohišja z varovalkami za stroj; glejte Namestitev ohišja z varovalkami za škropilnik.
Odstranite konzolo z montažnega nosilca konzole na armaturni plošči stroja in poravnajte vrtljivi zatič na nadzorni konzoli s shranjevalnim nosilcem na sprednjem traku cisterne (Diagram 98); glejte Namestitev nadzorne konzole na stroj.

Spojite konzolo z nosilcem in pritrdite vrtljivi zatič na nosilec z razcepko (Diagram 98).
Zmogljivost dvižne opreme: 408 kg
Poravnajte sprednje podporno stojalo z elementom za vstavitev podpornega stojala na sprednjem delu cisterne (Diagram 99).

Potiskajte podporno stojalo v element za vstavitev, dokler srednja odprtina v vodoravni cevi podpornega stojala ne bo poravnana z odprtino na vrhu elementa za vstavitev (Diagram 99).
Vstavite varovalni sornik (½ x 3") v odprtine podpornega stojala in elementa za vstavitev ter varovalni sornik pritrdite z razcepko (5/32 x 2⅝").
Privijte zaporni gumb v element za vstavitev in gumb ročno zategnite (Diagram 99).
Poravnajte zadnje podporno stojalo z zadnjim elementom za vstavitev podpornega stojala (Diagram 100).

Poravnajte odprtino na vrhu podpornega stojala z odprtino v ogrodju sani cisterne (Diagram 100).
Pritrdite podporno stojalo na element za vstavitev in ogrodje z 2 varovalnima sornikoma (½ x 4½") in 2 razcepkama (5/32 x 2⅝"), kot prikazuje Diagram 100.
Pri sprednjih in zadnjih podpornih stojalih na drugi strani sani cisterne ponovite korake od 1 do 7.
Podporna stojala razširite s podaljškom za podporno stojalo in sprednje podporno stojalo.

Spustite škropilne garniture do približno 45° in jih nato zavrtite naprej (Diagram 102).

Odstranite 2 vijaka (½ x 1½") in 2 varovalni matici (½"), s katerimi je vpenjalni nosilec sklopa sani cisterne na vsaki strani stroja pritrjen na nosilec kesona na ogrodju; glejte Spuščanje sani cisterne.
Dvignite sani cisterne z valji za dvig in naredite naslednje:
Note: Glejte Dvig sklopa cisterne.
Pri modelih serije HD in HDX Workman z ročnim menjalnikom odklopite priključno gred s priključne gredi sklopa transmisijske gredi z diferencialom; glejte navodila za namestitev za komplet za končno obdelavo pri škropilniku za travno rušo Multi Pro WM, večnamensko vozilo Workman z ročnim menjalnikom.
Odklopite ožičenje senzorja hitrosti; glejte Priklop kabelskega snopa senzorja hitrosti (modeli serije HD z ročnim menjalnikom).
Odstranite zaklep valja in z valji za dvig spustite sani cisterne; glejte Spust sklopa cisterne.
Priklopite dvižno opremo na vodoravne cevi sprednjih podpornih stojal in navpični steber zadnjih podpornih stojal (Diagram 102).
Dvignite sklop cisterne od 7,5 do 10 cm in odstranite zatiče in varovalne sornike, s katerimi so valji za dvig pritrjeni na sklop cisterne.
Sani cisterne dvignite dovolj visoko nad stroj, da jih boste lahko odstranili z njega (Diagram 102).
Previdno premaknite vozilo naprej in stran od sani cisterne.
Počasi spustite cisterno s sanmi do tal.
| Problem | Possible Cause | Corrective Action |
|---|---|---|
| Sekcija ne škropi. |
|
|
| Sekcija se ne izklopi. |
|
|
| Sekcijski ventil pušča. |
|
|
| Iz ene ali več šob kaplja, če je izklopljeno eno ali več stikal za sekcije. |
|
|
| Ko vklopite škropilno garnituro, se pojavi padec tlaka. |
|
|
