| Interval de întreţinere şi service | Procedură de întreţinere |
|---|---|
| Înainte de fiecare folosinţă sau zilnic |
|
Când este corect instalat, acest accesoriu convertește un vehicul într-o mașină dedicată de pulverizare pentru gazon și este destinat utilizării de către operatori profesioniști, contractați pentru aplicații comerciale. Este conceput în principal pentru pulverizare pe peluzele bine întreținute din parcuri, terenuri de golf, terenuri de sport și din spații comerciale.
Citiți cu atenție aceste informații pentru a învăța despre modul corespunzător de utilizare și întreținere a produsului și pentru a evita rănirea personală și deteriorarea produsului. Aveți responsabilitatea de a utiliza produsul în mod corespunzător și sigur.
Vizitați site-ul www.Toro.com pentru mai multe informații, inclusiv informații privind siguranța produsului și materiale de instruire, informații privind accesoriile, ajutor la căutarea unui distribuitor sau pentru înregistrarea produsului.
De fiecare dată când aveţi nevoie de service, piese originale Toro sau informaţii suplimentare, contactaţi un centru de service autorizat sau departamentul Servicii Clienţi Toro şi pregătiţi numărul de model sau de serie al produsului. Figura 1 indică locația numărului de model sau de serie pe produs. Scrieți numerele în spațiul furnizat.
Important: Important: puteți scana codul QR de pe autocolantul cu numărul de serie (dacă este disponibil) cu ajutorul unui dispozitiv mobil pentru a accesa date despre garanție, piese și alte informații despre produs.

Acest manual identifică potențialele pericole și conține mesaje de siguranță identificate prin simbolul de alertă de siguranță (Figura 2), semnalizând un pericol care poate cauza rănirea gravă sau moartea dacă nu respectați următoarele măsuri de precauție recomandate.

Acest manual utilizează 2 cuvinte pentru a evidenția informațiile. Important atrage atenția asupra informațiilor mecanice speciale și Notă accentuează informațiile generale care necesită atenție specială.
Produsul respectă toate directivele europene relevante; pentru detalii, consultați Declarația de conformitate (DC) separată specifică produsului.
Folosirea sau operarea motorului pe orice sol acoperit de păduri, de arbuști sau de iarbă fără a fi echipat cu amortizor parascântei, conform definiției din Secțiunea 4442 și fără a fi menținut în stare perfectă de funcționare, sau dacă motorul nu este construit, echipat și întreținut în vederea prevenirii incendiilor reprezintă o violare a Codului de Resurse Publice din California, Secțiunea 4442 sau 4443.
CALIFORNIA
Propunere 65 Avertismente
Utilizarea acestui produs poate cauza expunerea la substanţe chimice cunoscute în Statul California ca substanţe care cauzează cancerul, defectele de naştere sau afecţiuni ale sistemului reproductiv.
Utilizarea sau întreținerea necorespunzătoare de către operator sau proprietar poate cauza vătămări corporale. Pentru a reduce riscul de accidentare, respectați aceste instrucțiuni de siguranță și acordați întotdeauna atenție simbolului de alertă privind siguranța (Figura 2), care înseamnă Atenție, Avertisment sau Pericol – instrucțiune privind siguranța personală. Nerespectarea instrucțiunilor poate duce la vătămări corporale sau la deces.
Acest produs poate provoca vătămări corporale. Urmați întotdeauna instrucțiunile de siguranță pentru a evita rănirea gravă.
Trebuie să citiți și să înțelegeți conținutul acestui Manual al operatorului înainte de a porni mașina.
Utilizați mașina cu foarte mare atenție. Nu vă angrenați în nicio activitate care vă poate distrage atenția; în caz contrar, se pot înregistra pagube materiale sau vătămări corporale.
Utilizați echipament individual de protecție (EIP) adecvat pentru a vă proteja împotriva contactului cu substanțele chimice. Substanțele chimice utilizate în sistemul de pulverizare pot fi periculoase și toxice.
Nu vă sprijiniți mâinile sau picioarele în apropierea componentelor aflate în mișcare.
Nu utilizați mașina fără toate apărătoarele și alte dispozitive de protecție montate și funcționând pe aceasta.
Stați la distanță de orice zonă de descărcare a duzelor pulverizatorului și de împrăştiere a substanţei pulverizate. Țineți trecătorii și copiii departe de zona de utilizare.
Nu lăsaţi niciodată copii să utilizeze maşina.
Parcați maşina pe o suprafaţă plană, acționați frâna de parcare, opriți motorul, scoateți cheia de contact (dacă este disponibilă) și așteptați oprirea tuturor pieselor mobile înainte de a părăsi poziţia operatorului. Lăsați mașina să se răcească înainte de reglarea, repararea, curățarea sau depozitarea acesteia.
Utilizarea sau întreținerea necorespunzătoare a
acestei mașini poate cauza accidentări. Pentru a reduce riscul
de accidentare, respectați aceste instrucțiuni de siguranță
și acordați întotdeauna atenție simbolului de alertă
privind siguranța
, care înseamnă Atenție, Avertisment
sau Pericol – instrucțiune privind siguranța personală.
Nerespectarea acestor instrucțiuni poate cauza vătămări
corporale sau moartea.
Nu toate dispozitivele de atașare care se adaptează acestei mașini sunt prezentate în acest manual. Consultați manualul operatorului furnizat cu fiecare dispozitiv de atașare pentru instrucțiuni de siguranță suplimentare.
![]() |
Instrucțiunile și autocolantele cu informații privind siguranța sunt ușor vizibile pentru operator și sunt amplasate lângă orice zonă cu potențial risc. Înlocuiți orice autocolant care este deteriorat sau lipsește. |

















Important: Modelul 41240 cu numărul de serie 416500000 și mai mare poate fi instalat numai pe mașinile Workman HDX cu transmisie manuală.
Note: Determinați partea stângă și dreaptă a mașinii din poziția de operare normală.
Note: Dacă aveți întrebări sau aveți nevoie de informații suplimentare cu privire la sistemul de control al pulverizării, consultați Manualul operatorului furnizat împreună cu sistemul.
Important: Acest pulverizator este comercializat fără duze de pulverizare.Pentru a utiliza pulverizatorul, trebuie să procurați și să montați duzele. Contactați distribuitorul autorizat Toro pentru informații despre setul și accesoriile disponibile. După ce montați duzele și înainte de a utiliza pulverizatorul pentru prima dată, reglați supapele de bypass ale secțiunii, astfel încât presiunea și rata de aplicare să rămână aceleași pentru toate secțiunile când opriți una sau mai multe secțiuni. Consultați Calibrarea debitului pulverizatorului.
Important: Pulverizatorul pentru gazon Multi-Pro WM necesită un ROPS cu 4 locuri sau o cabină instalată în vehiculul Workman.
Greutatea totală a platformei este de aproximativ 95 kg. Vă puteți răni dacă demontați platforma fără ajutor.
Nu încercați să instalați sau să demontați personal platforma.
Solicitați ajutorul a 2 – 3 persoane sau folosiți o macara suspendată.
Parcați mașina pe o suprafață plană, cuplați frâna de parcare și porniți motorul.
Deplasați înainte maneta de ridicare hidraulică și coborâți platforma până când știfturile cu cap și gaură pentru capetele de tijă ale cilindrilor de ridicare sunt libere în fantele de montaj ale plăcilor de montaj ale platformei.
Eliberați maneta de ridicare hidraulică, setați maneta de blocare a ridicării hidraulice, opriți motorul și scoateți cheia; consultați manualul operatorului mașinii.
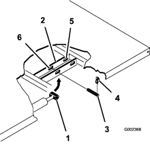
Îndepărtați știfturile de prindere de la capetele exterioare ale știfturilor cu cap și gaură tijă cilindru (Figura 3).

Îndepărtați cuiele spintecate care fixează capetele tijei cilindrului pe plăcile de montaj ale platformei împingând știfturile spre centrul mașinii (Figura 3).
Îndepărtați știfturile de prindere și știfturile cu cap și gaură care fixează suporturile pivot ale platformei de canalele cadrului mașinii (Figura 4).

Ridicați platforma de pe vehicul.
Depozitați cilindrii de ridicare în cleme de depozitare.
Piese solicitate pentru această procedură:
| Kit PTO spate, vehicul Workman pentru condiții grele (modele din seria HD cu transmisie manuală) | 1 |
| Kit de finisare pulverizator pentru gazon Multi Pro WM, autovehicul utilitar manual seria Workman (modele din seria HD cu transmisie manuală) | 1 |
Pentru modelele Workman din seriile HD și HDX cu transmisie manuală, instalați complet kitul PTO spate pentru vehicule Workman pentru condiții grele; consultați Instrucțiuni de instalare pentru kitul PTO spate pentru vehicule Workman pentru condiții grele.
Utilizând un echipament de ridicare cu capacitate portantă de 408 kg, ridicați sania rezervorului din cutia de transport la cele 2 puncte de ridicare față, respectiv spate (Figura 5).
Note: Asigurați-vă că sania rezervorului este ridicată suficient pentru instalarea suporturilor de cric.

Pentru modelele Workman din seriile HD și HDX cu transmisie manuală, completați pașii din kitul de finisare pentru pulverizator pentru gazon Multi Pro WM pentru vehicule utilitare manuale Workman.
Piese solicitate pentru această procedură:
| Suporturi de fixare | 2 |
Demontați cele 2 șuruburi cu guler din spate și cele 2 contrapiulițe cu guler care fixează suportul tubului motorului pe cadrul mașinii (Figura 6).
Note: Păstrați organele de asamblare pentru utilizare ulterioară.

Rotiți cilindrul de ridicare pentru a crea spațiu pentru instalarea suportului de fixare pentru sania rezervorului (Figura 6).
Asamblați suporturile de fixare pentru a susține consola și cadrul, folosind cele 2 șuruburi cu guler și contrapiulițele cu guler demontate la pasul 1 (Figura 7).

Strângeți șuruburile și piulițele la 91 – 113 N∙m.
Repetați pașii 1 – 4 în partea opusă a mașinii.
Piese solicitate pentru această procedură:
| Ansamblu rezervor – sanie | 1 |
| Cuie spintecate | 2 |
| Știft conic cu cap și gaură pentru cui spintecat | 2 |
| Știfturi în formă de agrafă | 2 |
| Știfturi de prindere | 4 |
| Șurub (½ x 1 ½") | 2 |
| Piulițe (½") | 2 |
Ansamblul pulverizator – rezervor constituie un pericol din cauza energiei stocate. Dacă acesta nu este fixat corespunzător la instalarea sau demontarea ansamblului, se poate mișca sau cădea și vă poate vătăma pe dvs. sau pe alte persoane.
Utilizați chingi și o macara suspendată pentru a susține ansamblul pulverizator – rezervor pe durata instalării, a demontării sau a oricăror operații de întreținere, atunci când demontați dispozitivele de prindere.
Folosind un elevator, ridicați ansamblul rezervor – supapă (Figura 8) și poziționați-l peste cadrul vehiculului, cu ansamblurile pompei și ale supapelor orientate în spate.
Note: Cereți unei alte persoane să vă ajute să efectuați pașii următori.

Coborâți lent sania rezervorului peste cadrul mașinii.
Extindeți cilindrii de ridicare la suporturile de pe sania rezervorului și aliniați fitingurile cilindrului cu orificiile din suporturile rezervorului saniei (Figura 9).

Fixați rezervorul saniei pe cilindrii de ridicare cu știfturile cu cap și gaură pentru cui spintecat și cu știfturile în formă de agrafă la ambele capete ale mașinii.
Aliniați găurile din consolele pivot din partea din spate a ansamblului saniei rezervorului cu găurile din tubul pivot al platformei de la capătul cadrului vehiculului (Figura 10).

Instalați un știft conic cu cap și gaură pentru cui spintecat și 2 știfturi de prindere pe consola pivot pentru a fixa ansamblul rezervorului pe cadru (Figura 10).
Extindeți cilindrii de ridicare pentru a ridica rezervorul și a-i susține greutatea.
Note: Decuplați ansamblul rezervorului de la echipamentul de ridicare.
Scoateți suportul pentru platformă din suporturile de depozitare din spatele panoului ROPS (Figura 11).

Împingeți suportul pentru platformă pe tija cilindrului, asigurându-vă că proeminențele de la capătul suportului se sprijină pe capătul tamburului cilindrului și pe capătul tijei cilindrului (Figura 12).

Demontați colierul de cablu care fixează robinetul de evacuare și furtunul pentru rezervorul pulverizatorului pe canalul saniei (Figura 13).

Mutați robinetul de evacuare și furtunul în afara canalului saniei (Figura 14A).

Demontați cele 2 șuruburi cu guler (5/16 x ⅝") din carcasa robinetului de evacuare (Figura 14).
Asamblați robinetul de evacuare pe suportul acestuia (Figura 14B) cu cele 2 șuruburi cu guler (5/16 x ⅝") demontate la pasul 3.
Strângeți manual cele 2 șuruburi cu guler (Figura 14B).
Dispunerea incorectă a cablurilor bateriei poate deteriora pulverizatorul și cablurile, provocând scântei. Scânteile pot produce explozia gazelor din baterie, ducând la vătămări corporale.
Deconectați întotdeauna cablul negativ (negru) al bateriei înainte de a deconecta cablul pozitiv (roșu).
Conectați întotdeauna cablul pozitiv (roșu) al bateriei înainte de a conecta cablul negativ (negru).
Bornele bateriei sau uneltele metalice pot face scurtcircuit la contactul cu piesele pulverizatorului, producând scântei. Scânteile pot produce explozia gazelor din baterie, ducând la vătămări corporale.
Când îndepărtați sau instalați bateria, nu permiteți contactul bornelor cu piesele metalice ale pulverizatorului.
Nu permiteți uneltelor metalice să producă un scurtcircuit între bornele bateriei și piesele metalice ale pulverizatorului.
Strângeți părțile laterale ale capacului bateriei pentru a elibera proeminențele din fantele de la baza bateriei și scoateți capacul bateriei de la baza bateriei (Figura 15).

Glisați capacul înapoi și demontați borna negativă a bateriei de la baterie (Figura 15).
Demontați borna pozitivă a bateriei de la baterie (Figura 15).
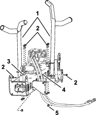
La cablajul pulverizatorului, localizați conectorul conector cu 3 mufe pentru circuitul senzorului de viteză și conectorul cu 3 pini pentru circuitul vehiculului.
La transmisia mașinii, conectați conectorul cu 3 pini al cablajului mașinii pentru senzorul de viteză la conectorul cu 3 mufe al cablajului pulverizatorului pentru senzorul de viteză (Figura 16).

Conectați conectorul cu 3 pini pentru circuitul vehiculului al cablajului pulverizatorului în mufa cu 3 pini pentru circuitul vehiculului a cablajului mașinii.
Consultați Instrucțiunile de instalare pentru kitul de finisare pentru pulverizator pentru gazon Multi Pro WM pentru vehicul utilitar manual Workman.
Piese solicitate pentru această procedură:
| Suport de montare consolă | 1 |
| Contrapiuliță cu guler (5/16") | 3 |
| Șurub cu guler (5/16") | 3 |
| Bucșă de plastic | 2 |
| Consolă de comandă | 1 |
| Știft cu clemă și arc | 1 |
| Rozetă manuală | 1 |
Note: La unele vehicule Workman, placa de montare a sistemului de control este fixată pe tabloul de bord în aceeași locație unde este montat suportul pentru kitul opțional pentru accelerație manuală. În cazul în care kitul pentru accelerație manuală este instalat, trebuie să demontați consola ansamblului accelerației de mână de pe tabloul de bord, să aliniați placa de montaj a sistemului de control la tabloul de bord și să instalați suportul pentru accelerația de mână pe placa de montaj a sistemului de control. Consultați instrucțiunile de instalare pentru kitul de accelerație manuală pentru instrucțiuni de demontare și instalare a ansamblului accelerației de mână.
Demontați cele 3 șuruburi și 3 piulițe care fixează porțiunea centrală inferioară a panoului tabloului de bord pe suportul de susținere a tabloului de bord (Figura 17).
Note: Unele mașini Workman mai vechi utilizează 4 șuruburi și piulițe cu guler.
Note: Eliminați șuruburile și piulițele.

Aliniați orificiile din suportul de montaj pentru consola de comandă cu orificiile din tabloul de bord și suportul de susținere (Figura 17).
Asamblați suportul de montaj al panoului tabloului de bord și suportul de susținere cu 3 șuruburi cu guler (5/16 x 1") și 3 contrapiulițe cu guler (5/16").
Strângeți șuruburile și piulițele la (Figura 17).
Introduceți cele 2 bucșe de plastic în suportul de montaj (Figura 17).
Scoateți știftul în formă de agrafă care fixează fusul de basculare al consolei de comandă pe suportul de depozitare de pe rezervorul pulverizatorului.
Instalați consola de comandă pe suportul de montaj al sistemului de control și fixați consola de comandă cu știftul cu clemă și arc (Figura 18).
Note: Asigurați-vă că clema cu arc este rotită deasupra fusului de basculare, pentru o fixare sigură a știftului cu clemă și arc.

Instalați rozeta manuală și strângeți-o pentru a preveni rotirea consolei în timpul funcționării (Figura 18).
Piese solicitate pentru această procedură:
| Cleme J | 3 |
| Șurub (¼ x ¾") | 1 |
| Piuliță cu guler (¼") | 1 |
Instalați 2 cleme J în consola de comandă folosind șuruburile existente.

Instalați o clemă J în spatele scaunului pasagerului folosind un șurub (¼ x ½") și o piuliță cu guler (¼").

Fixați cablajul consolei de comandă pe consolă și pe învelișul ROPS folosind clemele J.
Conectați conectorul cu 3 pini al cablajului posterior pentru pulverizator cu conectorul cu 3 mufe al cablajului frontal conectat la consola de comandă.

Împingeți împreună conectorul cu 24 de pini al cablajului posterior pentru pulverizator cu conectorul cu 24 de mufe al cablajului frontal conectat la consola de comandă.
Întoarceți invers maneta de la nivelul conectorului cu 24 de pini pentru a bloca împreună cei 2 conectori.
Piese solicitate pentru această procedură:
| Autocolant siguranțe (127–3966) | 1 |
La consola de comandă a pulverizatorului, pozați ramura cablajului frontal cu blocurile de siguranță dintre baza panoului tabloului de bord și tubul transversal al șasiului mașinii și în jos spre partea frontală a blocului de siguranțe al mașinii (Figura 22).

Localizați borna neizolată de la capătul cablului de putere deschis, de culoare galbenă, al blocului de siguranțe al mașinii și borna lamă izolată de la capătul cablului de putere galben opțional al blocului de siguranțe al cablajului pulverizatorului (Figura 23).

Cuplați borna neizolată a blocului de siguranțe al mașinii la borna lamă izolată a blocului de siguranțe al pulverizatorului (Figura 23).
Aliniați fitingurile în T de pe blocul de siguranțe al pulverizatorului la fantele în T ale blocului de siguranțe al mașinii și glisați blocul de siguranțe al pulverizatorului în fante până când blocul de siguranțe este complet așezat (Figura 24).

Atașați autocolantul pentru siguranțe pe o suprafață din apropierea blocului de siguranțe pentru pulverizator.
Piese solicitate pentru această procedură:
| Șurub bornă baterie | 2 |
| Piuliță de strângere | 2 |
| Capac – lat (bornă baterie – roșie) | 1 |
Pozarea incorectă a cablului bateriei poate atrage deteriorarea pulverizatorului și a cablurilor, provocând apariția de scântei. Scânteile pot produce explozia gazelor din baterie, ducând la vătămări corporale.
Conectați întotdeauna cablul pozitiv (roșu) al bateriei înainte de a conecta cablul negativ (negru).
Demontați piulițele și șuruburile în T de la clemele cablurilor de baterie pozitive și negative (Figura 25).
Note: Nu mai aveți nevoie de piulițe și de șuruburile în T.

Îndepărtați capacul (îngust) de pe cablul pozitiv al bateriei (Figura 26).
Note: Nu mai aveți nevoie de capacul îngust al bateriei.

Instalați capacul lat al bateriei peste cablul pozitiv al bateriei, așa cum este indicat în Figura 26.
Note: Glisați capacul suficient de departe peste cabluri pentru a permite accesul la clema bornei.
Aliniați borna inelară a siguranței fuzibile (cablajul pulverizatorului) prin capacul lat de baterie, așa cum este indicat în Figura 27.

Asamblați cu joc un șurub de bornă și o piuliță de strângere la clemele cablurilor pozitiv, respectiv negativ ale bateriei (Figura 28).

Fixați borna inelară a siguranței fuzibile (cablajul pulverizatorului) la suportul șurubului de bornă pe care l-ați asamblat la cablul pozitiv al bateriei cu o piuliță de strângere (Figura 29).

Fixați borna inelară a cablului negativ (negru – cablajul pulverizatorului) la suportul șurubului de bornă pe care l-ați asamblat la cablul negativ al bateriei cu o piuliță de strângere (Figura 29).
Asamblați cablul pozitiv al bateriei la suportul pozitiv al bateriei și strângeți manual piulița de strângere (Figura 30).

Asamblați cablul negativ al bateriei la suportul negativ al bateriei și strângeți manual piulița de strângere.
Strângeți părțile laterale ale capacului bateriei, aliniați proeminențele capacului cu fantele din baza bateriei și deblocați capacul bateriei (Figura 31).

Piese solicitate pentru această procedură:
| Șurub (½ x 1 ½") | 2 |
| Contrapiuliță (½") | 2 |
Porniți mașina și ridicați ușor sania rezervorului cu ajutorul cilindrilor de ridicare.
Îndepărtai suportul platformei de pe cilindrul de ridicare și depozitați suportul pe consolele de depozitare din spatele panoului ROPS (Figura 32 și Figura 33).


Utilizați cilindrii de ridicare pentru a coborî lent rezervorul pe cadru.
Note: Solicitați unei persoane să monitorizeze sania rezervorului în timpul coborârii. Fiți atent la furtunuri și cablaje care pot fi înțepate sau îndoite.
Verificați alinierea saniei rezervorului la cadrul mașinii.
Îndepărtați panourile de acces de pe ambele părți ale saniei cadrului (Figura 34).

Verificați furtunurile sau cablajele pe care le puteți vedea prin deschiderea din cadrul saniei pentru a vedea dacă nu prezintă înțepături sau îndoituri.
Important: Dacă există furtunuri sau cablaje înțepate sau îndoite, ridicați ansamblul, ajustați poziția acestuia și legați articolele.
Aliniați suporturile de montaj frontale cu suporturile de fixare instalate în Instalarea suporturilor de fixare pentru sania rezervorului.
Fixați suportul de fixare al ansamblului saniei rezervorului la suportul platformei de pe cadru de pe fiecare parte a mașinii cu un șurub (½ x ½") și o contrapiuliță (½") așa cum este indicat în Figura 34.
Strângeți șurubul și contrapiulița la 91 – 113 Nm.
Repetați pașii 7 – 9 pentru cealaltă parte a saniei rezervorului și a mașinii.
Piese solicitate pentru această procedură:
| Ansamblul central al brațului | 1 |
| Șurub (⅜ x 1") | 10 |
| Contrapiuliță cu guler (⅜") | 10 |
| Suport de transport braț | 2 |
| Șurub (½ x 1¼") | 4 |
| Piuliță cu guler (½") | 4 |
Atașați echipamentul de ridicare la secțiunea centrală a brațului și demontați-l de pe containerul de transport.
Aliniați suporturile de transport ale brațului la secțiunea centrală a brațului (Figura 35).

Asamblați suporturile pe secțiunea brațului (Figura 35 și Figura 36) cu 6 șuruburi (⅜ x 1") și 6 contrapiulițe cu flanșă (⅜").

Strângeți șuruburile și piulițele la 37 – 45 N∙m.
Porniți mașina, scoateți suportul platformei de pe cilindrul de ridicare și depozitați suportul, coborâți sania rezervorului, opriți mașina și scoateți cheia din comutatorul de pornire.
Aliniați orificiul inferior din suporturile de montaj ale secțiunii de pe ansamblul central al brațului cu al treilea orificiu de jos din suporturile de braț de pe cadrul saniei de pulverizare, așa cum se arată în Figura 37.
Note: Dacă este necesar, slăbiți suporturile brațului și ajustați-le la secțiunea centrală a brațului pentru o aliniere mai bună a orificiilor. Strângeți șuruburile și piulițele la 67 – 83 N∙m.

Montați ansamblul central al brațului pe cadrul saniei pulverizatorului cu cele 4 șuruburi (½ x 1 ¼") și cele 4 contrapiulițe (½").
Strângeți șuruburile și piulițele la 67 – 83 N∙m.
Consultați Instrucțiunile de instalare pentru kitul de finisare pentru pulverizator pentru gazon Multi Pro WM pentru vehicul utilitar manual Workman.
Piese solicitate pentru această procedură:
| Secțiunea din stânga a brațului | 1 |
| Secțiunea din dreapta a brațului | 1 |
| Șuruburi cu guler (⅜ x 1 ¼") | 8 |
| Plăci din spate | 8 |
| Contrapiulițe cu guler (⅜") | 8 |
| Știft cu cap și gaură pentru cui spintecat | 2 |
| Știft în formă de agrafă | 2 |
Fiecare secțiune a brațului are o greutate de aproximativ 14 kg.
Demontați cele 4 șuruburi cu guler (⅜ x 1 ¼"), 4 plăci din spate și 4 contrapiulițe cu guler (⅜") de la suportul cu balama al secțiunii centrale a brațului.
Rotiți fiecare suport pivot la capătul secțiunii centrale a brațului, astfel încât suporturile să se alinieze vertical (Figura 38).

Ridicați secțiunea exterioară a brațului și aliniați orificiile din placa triunghiulară de montaj de la capătul secțiunii exterioare a brațului cu orificiile din suportul pivot.
Note: Asigurați-vă că turelele duzelor pulverizatorului sunt orientate în spate.
Asamblați placa cu balamale pe placa triunghiulară folosind 4 șuruburi cu guler, 4 plăci de bază și 4 piulițe cu guler (Figura 38), pe care le-ați demontat la pasul 1.
Strângeți șuruburile și piulițele la 37 – 45 N∙m.
Aliniați capătul tijei cilindrului de ridicare a brațului cu orificiile din cornul suportului pivot (Figura 38).

Fixați capătul tijei pe suportul pivotant cu un știft cu cap și gaură pentru cui spintecat și cu un știft în formă de agrafă (Figura 38).
Repetați pașii de la 1 la 5 pe cealaltă parte a ansamblului central al brațului, cu secțiunea opusă a brațului.
Note: Înainte de a finaliza această procedură, asigurați-vă că toate turelele duzelor de pulverizare sunt orientate către înapoi.
Piese solicitate pentru această procedură:
| Cleme pentru furtun | 3 |
| Clemă R | 2 |
| Șurub cu umăr | 2 |
| Șaibă | 2 |
| Piuliță | 2 |
Pozați furtunurile din secțiunea brațului așa cum se indică în Figura 40 și Figura 41.


Fixați furtunurile brațului pe partea din față a secțiunii centrale a brațului (Figura 40 și Figura 41) cu o clemă R, 1 șurub cu umăr (5/16 x 1"), 1 contrapiuliță (5/16") și 1 șaibă (5/16").
Instalați furtunul din secțiunea brațului peste fitingul în T inelat de la secțiunea brațului și fixați furtunul cu un colier de furtun (Figura 40 și Figura 41).
Note: Aplicați un strat de săpun lichid pe ștuțul inelat al furtunului de la fitingul în T pentru a facilita instalarea furtunului.
Repetați pașii de la 1 la 3 la furtunul de la secțiunea brațului de pe cealaltă parte a pulverizatorului.
Pozați furtunurile din secțiunea centrală a brațului așa cum se indică în Figura 42.

Instalați furtunul din secțiunea brațului peste fitingul în T inelat de la secțiunea centrală a brațului și fixați furtunul cu un colier de furtun ( Figura 42).
Note: Aplicați un strat de săpun lichid pe ștuțul inelat al furtunului de la fitingul în T pentru a facilita instalarea furtunului.
Duzele pe care le utilizați pentru aplicarea substanțelor chimice variază în funcție de rata de aplicare necesară; în consecință, duzele nu sunt furnizate cu kitul. Pentru a obține duzele adecvate pentru necesitățile dvs., contactați distribuitorul autorizat Toro și pregătiți-vă să-i oferiți următoarele informații:
Rata de aplicare țintă, exprimată în litri/hectar.
Viteza țintă a vehiculului, în kilometri pe oră.
Înfiletați sau introduceți duza în bucșa de duză, urmată de o garnitură.
Glisați bucșa de duză peste fitingul duzei, pe o turelă.
Rotiți duza în sens orar pentru a bloca la poziție camele de pe bucșă.
Verificați porțiunea cu ventilator a duzei.
Consultați instrucțiunile de instalare care însoțesc duzele pentru mai multe informații.
Piese solicitate pentru această procedură:
| Rezervor de apă dulce | 1 |
| Cot la 90° (¾" NPT) | 1 |
| Robinet la 90° | 1 |
| Suport de montaj pentru rezervorul de apă dulce | 1 |
| Chingă de montaj | 4 |
| Șurub cu guler (5/16 x ⅝") | 4 |
| Contrapiuliță cu guler (5/16") | 10 |
| Tub de susținere (rezervor de apă dulce) | 1 |
| Contrapiuliță (5/16") | 1 |
| Șurub (5/16 x 1") | 1 |
| Șuruburi cu umăr (½ x 1 15/16") | 2 |
| Șurub (5/16 x 2 ¼") | 2 |
| Șaibă (5/16") | 2 |
Asamblați rezervorul de apă dulce pe suportul aferent cu 2 chingi de montaj, 4 șuruburi cu guler (5/16 x ⅝") și 4 contrapiulițe cu guler (5/16") așa cum este indicat în Figura 43.
Note: Asigurați-vă că robinetul și cotul sunt aliniate la aceeași parte a rezervorului cu autocolantul rezervorului de apă dulce.

Strângeți șuruburile și piulițele la 20 – 25 N∙m.
Aliniați tubul de susținere pentru rezervorului de apă dulce cu canalul de susținere a rezervorului (Figura 44).

Aliniați orificiile din tubul de susținere cu orificiile din canal (Figura 44).
Fixați tubul pe canal (Figura 44) cu cele 2 șuruburi cu umăr (½ x 1 15/16") și cele 2 contrapiulițe cu guler (5/16").
Strângeți șuruburile și piulițele la 20 – 25 N∙m.
Înfiletați contrapiulița (5/16") pe șurub (5/16 x 1") așa cum este indicat în Figura 44.
Înfiletați șurubul (5/16 x 1") și contrapiulița pe piulița pentru sudură de la baza canalului de susținere al rezervorului și strângeți manual șurubul și contrapiulița (Figura 44).
Note: Pulverizatorul pentru gazon Multi-Pro WM necesită un ROPS cu 4 locuri sau o cabină instalată pe vehiculul Workman.
Asamblați rezervorul de apă dulce și suportul pe tubul de susținere cu cele 2 șuruburi (5/16 x 2 ¼") și cele 2 contrapiulițe cu guler (5/16") așa cum este indicat în Figura 45.

Strângeți șuruburile și piulițele la 20 – 25 N∙m.
Piese solicitate pentru această procedură:
| Ansamblu bucșă de umplere | 1 |
| Șurub cu guler (5/16 x ¾") | 1 |
Poziționați ansamblul bucșei de umplere peste orificiul filetat din rezervor (Figura 46) și fixați-l cu un șurub cu guler (5/16 x ¾").

Piese solicitate pentru această procedură:
| Suport de cric frontal | 2 |
| Suport de cric posterior | 2 |
| Cui spintecat | 4 |
| Cui spintecat (4 ½") | 2 |
| Știft cu cap și gaură pentru cui spintecat (7,5 cm) | 2 |
| Buton | 2 |
Introduceți suporturile de cric frontale cu susul în jos în cadru, lângă punctele frontale de ancorare (Figura 47).

Fixați suporturile de cric frontale cu 2 știfturi cu cap și gaură pentru cui spintecat (7,5 cm) și 2 cuie spintecate trecute prin orificiul median al suporturilor.
Introduceți suporturile de cric posterioare de jos în sus în cadru, lângă punctele posterioare de ancorare (Figura 48).

Fixați suporturile de cric posterioare cu 4 știfturi cu cap și gaură pentru cui spintecat (11,4 cm) și 4 cuie spintecate trecute prin ultimul orificiu al suporturilor.

Note: Acest InfoCenter cu 6 butoane este disponibil doar pentru vehiculul manual Workman HDX. În cazul în care aveți o mașină Workman HDX-Auto, vă rugăm să continuați să utilizați InfoCenter cu 3 butoane.
Afișajul LCD InfoCenter afișează informații despre mașina dumneavoastră și baterie, cum ar fi nivelul curent de încărcare a bateriei, viteza, informațiile de diagnoză și multe altele. Pentru informații suplimentare, consultați Utilizarea InfoCenter.
Comutatorul de secțiune principală (Figura 49) se află pe partea laterală a consolei și în dreapta scaunului operatorului. Vă permite să porniți sau să opriți lucrarea de pulverizare. Apăsați comutatorul pentru a activa sau dezactiva sistemul de pulverizare.
Comutatoarele pentru secțiunile stânga, centru și dreapta sunt situate pe panoul de comandă (Figura 49). Împingeți fiecare comutator în față pentru a activa secțiunea corespunzătoare și în spate pentru a o dezactiva. Când întrerupătorul este pornit, se aprinde o lampă pe acesta. Aceste comutatoare acționează asupra sistemului de pulverizare doar atunci când este pornit comutatorul secțiunii principale.
Comutatorul pentru rata de aplicare este situat în partea stângă a panoului de control (Figura 49). Apăsați și mențineți comutatorul în sus pentru a mări rata de aplicare a sistemului de pulverizare, respectiv în jos pentru a reduce rata de aplicare.
Comutatoarele de ridicare a secțiunii brațului sunt amplasate pe panoul de comandă și sunt folosite pentru a ridica secțiunile exterioare ale brațului.
Supapa de reglare amplasată în spatele rezervorului (Figura 50) controlează cantitatea de lichid direcționată către supapele de secțiuni sau rata de retur către rezervor.

Debitmetrul măsoară debitul lichidului către supapele secțiunii brațului (Figura 50).
Utilizați supapele secțiunilor brațului pentru a activa sau dezactiva presiunea pulverizatorului la duzele pulverizatorului din secțiunile din stânga, centrală și din dreapta ale brațului (Figura 50).
Supapele de bypass pentru secțiunea brațului (Figura 51) redirecționează fluxul de fluid de la un braț la rezervor atunci când dezactivați secțiunea brațului. Puteți regla aceste supape pentru a vă asigura că presiunea brațului rămâne constantă indiferent de combinația de brațe pe care o utilizați; consultați Calibrarea supapelor de bypass pentru secțiune.

Această supapă este situată în partea din stânga spate a rezervorului (Figura 52). Rotiți rozeta de pe supapă în poziția orei 6 pentru a activa agitarea rezervorului, respectiv în poziția orei 8 pentru a dezactiva agitarea rezervorului.

Note: Modele din seria HD cu transmisie manuală – pentru o agitare adecvată, este necesar ca PTO și ambreiajul să fie cuplate, iar motorul să fie la o turație superioară celei de ralanti. Dacă opriți pulverizatorul și doriți circularea conținutului rezervorului prin agitare, poziționați maneta de comutare în poziția NEUTRU, decuplați ambreiajul, cuplați frâna de parcare și acționați accelerația de mână (dacă este instalată).
Pompa pulverizatorului este situată în partea din spate a mașinii.
La consola centrală a mașinii, mutați maneta PTO în poziția ENGAGE (cuplat) pentru a pune pompa în funcțiune; mutați maneta PTO în poziția DISENGAGE (decuplat) pentru a opri pompa. Consultați Manualul operatorului pentru vehiculul utilitar seria Workman HDX.

Note: Specificațiile și designul pot fi modificate fără preaviz.
| Greutate de bază a sistemului de pulverizare (greutatea vehiculului nu este inclusă) | 424 kg |
| Capacitatea rezervorului | 757 l |
| Lungime totală a vehiculului cu sistem de pulverizare standard | 422 cm |
| Înălțime totală a vehiculului cu sistem de pulverizare standard, la partea de sus a rezervorului | 147 cm |
| Înălțime globală a vehiculului cu sistem de pulverizare standard și brațele dispuse în formă de X | 234 cm |
| Lățime globală a vehiculului cu sistem de pulverizare standard și brațele dispuse în formă de X | 175 cm |
Pentru extinderea și îmbunătățirea performanțelor mașinii este disponibilă o gamă de dispozitive de atașare și accesorii aprobate de Toro. Pentru lista dispozitivelor de atașare și a accesoriilor aprobate, contactați centrul de service local sau un distribuitor Toro autorizat sau accesați www.Toro.com.
Pentru performanțe optime și utilizarea în siguranță a mașinii, utilizați exclusiv piese de schimb și accesorii originale Toro.
Note: Determinați partea stângă și dreaptă a mașinii din poziția de operare normală.
Note: Dacă trebuie să transportați vehiculul pe o remorcă având pulverizatorul instalat, asigurați-vă că brațele sunt fixate și asigurate.
Nu lăsați niciodată copii sau persoane neinstruite să utilizeze sau să efectueze lucrări de service asupra mașinii. Reglementările locale pot impune o limită de vârstă pentru utilizator. Proprietarul trebuie să asigure instruirea tuturor operatorilor și a mecanicilor.
Familiarizați-vă cu utilizarea în siguranță a echipamentului, comenzile de operare și indicatoarele de siguranță.
Înainte de a părăsi poziția operatorului, realizați următorii pași:
Parcați mașina pe o suprafață plană.
Deplasați maneta schimbătorului de viteze în poziția NEUTRU.
Cuplați frâna de parcare.
Opriţi motorul şi scoateţi cheia (dacă este disponibilă).
Așteptați până când se oprește orice mișcare.
Trebuie să știți cum să opriți mașina și să opriți rapid motorul.
Asigurați-vă că toate comenzile de prezență a operatorului, întrerupătoarele de siguranță și protecțiile sunt montate și funcționează în mod corespunzător. Nu utilizaţi maşina decât dacă acestea funcționează corect.
Dacă mașina nu funcționează corect sau este deteriorată în vreun fel, nu o utilizați. Remediați problema înainte de a utiliza mașina sau dispozitivul de atașare.
Asigurați-vă că sunt strânși toți conectorii liniilor pentru lichide și că toate furtunurile sunt în stare bună înainte de a aplica presiune asupra sistemului.
Substanțele chimice folosite în sistemul de pulverizare pot fi periculoase și toxice pentru dumneavoastră, trecători, animale și pot cauza daune plantelor, solului sau altor bunuri.
Citiți informațiile despre fiecare substanță chimică. Nu utilizați sau nu interveniți asupra pulverizatorului dacă aceste informații nu sunt disponibile.
Înainte de a interveni asupra unui sistem de pulverizare, asigurați-vă că sistemul a fost neutralizat și clătit de trei ori, conform recomandărilor producătorului (producătorilor) de substanțe chimice și că toate supapele au fost utilizate de 3 ori.
Asigurați-vă că există destulă apă curată și săpun în apropiere și spălați imediat orice urme ale substanțelor chimice cu care ați intrat în contact direct.
Citiți cu atenție și respectați informațiile de pe etichetele de avertizare privind substanțele chimice și fișele cu date de securitate (SDS) privind toate substanțele chimice și protejați-vă conform recomandărilor producătorului de substanțe chimice.
Protejați-vă întotdeauna corpul în timp ce utilizați substanțe chimice. Utilizați echipament individual de protecție (EIP) adecvat pentru a vă proteja împotriva contactului cu substanțele chimice, cum ar fi următoarele:
ochelari de protecție și/sau ecran pentru față
un combinezon de protecție chimică
o mască pentru protecție respiratorie sau cu filtru
mănuși rezistente la substanțe chimice
cizme din cauciuc sau alte încălțăminte rezistentă
haine de schimb curate, săpun și prosoape de unică folosință pentru curățare
Obțineți instruire adecvată înainte de a utiliza sau manipula substanțe chimice.
Folosiți substanța chimică potrivită.
Respectați instrucțiunile producătorului de substanțe chimice pentru utilizarea acestora în siguranță. Nu depășiți presiunea recomandată de aplicare pentru sistem.
Nu umpleți, nu calibrați și nu curățați mașina dacă în zonă se află oameni, în special copii sau animale de companie.
Manipulați substanțele chimice în zone bine aerisite.
Nu consumați alimente sau băuturi și nu fumați în timp ce lucrați în apropierea substanțelor chimice.
Nu curățați duzele de pulverizare suflând prin ele sau introducându-le în gură.
Spălați-vă întotdeauna mâinile și alte zone expuse, cât mai curând posibil după ce ați lucrat cu substanțe chimice.
Păstrați substanțele chimice în ambalajele originale și depozitate într-un loc sigur.
Eliminați corespunzător substanțele chimice neutilizate și recipientele substanțelor chimice, conform instrucțiunilor producătorului și regulamentelor locale.
Substanțele chimice și vaporii reprezintă un pericol; nu intrați niciodată în rezervor și nu țineți capul deasupra deschiderii sau în aceasta.
Respectați toate reglementările locale, naționale și federale în materie de pulverizare a substanțelor chimice.
Note: Acest InfoCenter cu 6 butoane este disponibil doar pentru vehiculul manual Workman HDX. În cazul în care aveți o mașină Workman HDX-Auto, vă rugăm să continuați să utilizați InfoCenter cu 3 butoane.
Afișajul LCD InfoCenter afișează informații despre mașină, cum ar fi starea de funcționare, diferite date de diagnoză și alte informații despre mașină. InfoCenter include un ecran splash și un ecran principal cu informații. Puteți comuta oricând între ecranul splash și ecranul principal cu informații apăsând pe oricare dintre butoanele InfoCenter și selectând apoi săgeata direcțională adecvată.

Note: Fiecare buton poate fi utilizat pentru alte scopuri, în funcție de opțiunea activă din momentul respectiv. Afișajul LCD prezintă o pictogramă deasupra fiecărui buton care indică funcția curentă a acestuia.
![]() | Meniu | ![]() | Rezervorul este gol (mai puțin de 10% din volum) | |
![]() | Derulați în sus/jos | ![]() | Volumul rezervorului este scăzut (10% – 29%) | |
![]() | Derulați la stânga/dreapta | ![]() | Volumul rezervorului este pe jumătate plin (30% – 69%) | |
![]() | Ecranul anterior | ![]() | Volumul rezervorului este plin (70% – 100%) | |
![]() | Reduceți valoarea | ![]() | Creșteți volumul rezervorului cu 3,7 litri | |
![]() | Măriți valoarea | ![]() | Creșteți volumul rezervorului cu 37 litri | |
![]() | Acceptare | ![]() | Creșteți volumul rezervorului cu 25 litri | |
![]() | Salvare | ![]() | Brațul este oprit | |
![]() | Cod PIN | ![]() | Brațul este activ | |
![]() | Ieșire meniu (defecte) | ![]() | Ștergere toate suprafețele | |
![]() | Tensiune baterie | ![]() | Ștergere suprafață activă | |
![]() | Contor de timp | ![]() | Suprafețe pulverizate | |
![]() | Blocat | ![]() | Ecranul cu toate suprafețele | |
![]() | Navigare la o suprafață pentru pulverizator | |||
![]() | Navigare la o suprafață pentru pulverizator |
Pentru a accesa sistemul de meniuri ale afișajului InfoCenter, apăsați butonul înapoi în timp ce vă aflați în ecranul principal. Veți fi direcționat către meniul principal. Consultați următoarele tabele pentru un rezumat al opțiunilor disponibile în meniuri.
Protejate
în cadrul meniurilor protejate – accesibil doar prin introducerea
codului PIN
| Opțiune de meniu | Descriere |
| Calibrare | Meniul Calibration (Calibrare) asistă la calibrarea debitmetrului și a senzorului de viteză. |
| Settings (Setări) | Meniul Settings (Setări) vă permite să personalizați și să modificați parametrii de configurare de pe afișaj. |
| Machine Settings (Setări mașină) | Meniul Machine Settings (Setări mașină) vă permite să configurați parametrii mașinii. |
| Service (Service) | Meniul Service (Service) conține informații despre mașină, cum ar fi orele de utilizare și defectele mașinii. |
| Diagnostics (Diagnoze) | Meniul Diagnostics (Diagnoze) afișează starea fiecărui comutator, senzor și a fiecărei comenzi a mașinii. Puteți utiliza acest meniu pentru a remedia unele probleme, deoarece vă indică rapid care comenzi ale mașinii sunt activate și care sunt dezactivate. |
| About (Despre) | Meniul About (Despre) afișează numărul de model, numărul de serie și versiunea de software a mașinii. |
| Opțiune de meniu | Descriere |
| Test Speed (Viteză de testare) | Setează viteza de testare pentru calibrare. |
| Flow Cal (Calibrare debit) | Calibrează debitmetrul. |
| Speed Cal (Calibrare viteză) | Calibrează senzorul de viteză. |
| Utilizați calibrarea debitului implicită | Resetează calibrarea debitului la media calculată implicit, nu la volumul real. |
| Utilizați calibrarea vitezei implicită | Resetează calibrarea vitezei la media calculată implicit, nu la viteza reală. |
| Opțiune de meniu | Descriere |
| Edit PIN (Editare PIN) | Permite unei persoane (supraveghetor/mecanic) autorizate de dumneavoastră să acceseze meniurile protejate cu codul PIN. |
Protect Settings (Setări protejate) ![]() | Asigură posibilitatea de a modifica setările din setările protejate. |
Reset Defaults (Resetare la setări implicite) ![]() | Resetează la valorile implicite. |
| Backlight (Iluminare de fundal) | Reglează luminozitatea afișajului LCD. |
| Language (Limbă) | Setează limba utilizată pe afișaj. |
| Units (Unități) | Controlează unitățile utilizate pe afișaj (în sistem imperial, Turf sau metric). |
| Opțiune de meniu | Descriere |
| Tank Alert (Alertă rezervor) | Setează alerta cu privire la volumul scăzut din rezervor. |
Left Boom (Braț stânga) ![]() | Reglează lățimea secțiunii din stânga. |
Center Boom (Braț central) ![]() | Reglează lățimea secțiunii centrale. |
Right Boom (Braț dreapta) ![]() | Reglează lățimea secțiunii din dreapta. |
Reset Defaults (Resetare la setări implicite) ![]() | Resetează la valorile implicite. |
| Opțiune de meniu | Descriere |
| Faults (Defecte) | Meniul Faults (Defecte) conține o listă cu defectele recente ale mașinii. Consultați Manualul de service sau contactați distribuitorul autorizat Toro local pentru informații suplimentare cu privire la meniul Faults (Defecte) și informațiile conținute. |
| Hours (Ore) | Indică numărul total de ore în care mașina, motorul și priza de putere au fost pornite, precum și numărul de ore în care mașina a fost transportată și reparată. |
Flow Rate (Debit) ![]() | Afișează debitul curent. |
Flow Cal Value (Valoare calibrare debit)![]() | Afișează multiplicatorul curent utilizat pentru a calcula diferența dintre debitul presupus și debitul calibrat. |
Speed Cal Value (Valoare calibrare viteză)![]() | Afișează multiplicatorul curent utilizat pentru a calcula diferența dintre viteza presupusă și viteza calibrată. |
| Opțiune de meniu | Descriere |
| Pumps (Pompe) | Accesează clătirea de scurtă durată și opțiunile de clătire în timp. |
| Booms (Brațe) | Accesează intrările și ieșirile brațelor. |
| Engine Run (Rulare motor) | Accesează intrările și ieșirile de funcționare a motorului. |
| Opțiune de meniu | Descriere |
| Model (Model) | Indică numărul de model al mașinii. |
| SN (Număr de serie) | Indică numărul de serie al mașinii. |
| S/W Revision (Versiune software) | Indică versiunea de software a dispozitivului de control primar. |
XDM–2700 ![]() | Indică versiunea de software pentru InfoCenter. |
CAN Stats (Statistici CAN) ![]() | Indică magistrala CAN. |
Există setări de configurare a operării care sunt ajustabile în Settings (Setări) din afișaj. Pentru a bloca aceste setări, utilizați Protected Menu (Meniu protejat).
Note: În momentul livrării, codul inițial al parolei este programat de distribuitorul dumneavoastră.
Note: Codul PIN al mașinii setat din fabrică este 0000 sau 1234.
Dacă ați schimbat codul PIN și l-ați uitat, contactați-vă distribuitorul autorizat Toro pentru asistență.
Din Main Menu (Meniul Principal), derulați în jos la Settings (Setări) și apăsați butonul de selectare.

În Settings (Setări), derulați până la Enter PIN (Introducere PIN) și apăsați butonul de selectare.
Pentru a introduce codul PIN, apăsați butoanele de navigare sus/jos până când este afișată prima cifră corectă, apoi apăsați butonul de navigare din dreapta pentru a trece la cifra următoare. Repetați acest pas până când se introduce ultima cifră.
Apăsați butonul de selectare.
Note: Dacă afișajul acceptă codul PIN și meniul protejat este deblocat, cuvântul PIN” este afișat în colțul din dreapta sus al ecranului.
Pentru a bloca meniul protejat, rotiți comutatorul de contact în poziția Oprire și apoi în poziția Pornire.

În Settings (Setări), derulați în jos până la Protect Settings (Setări protejate).
Pentru a vizualiza și modifica setările fără a introduce un cod PIN, utilizați butonul de selectare pentru a schimba Protect Settings (Setări Protejate) la Oprire.
Pentru a vizualiza și modifica setările cu un cod PIN, utilizați butonul de selectare pentru a modifica Protect Settings (Setări protejate) la Pornire, setați codul PIN și rotiți cheia de contact în poziția Oprire și apoi în poziția Pornire.
Selectați Machine Settings (Setări mașină).
Selectați Tank Alert (Alertă rezervor).

Utilizați butoanele direcționale pentru a introduce cantitatea minimă în rezervor atunci când se afișează alerta în timpul funcționării pulverizatorului.
Selectați Machine Settings (Setări mașină).
Selectați brațul pe care ați dori să îl actualizați.
Utilizați butoanele direcționale pentru a modifica dimensiunea brațului în trepte de 2,5 cm.
| Setare | Valoare implicită |
| Test Speed (Viteză de testare) | 0,0 |
| Spray Tank Alert (Alertă rezervor de pulverizare) | 1 gal/litru |
| L Boom (Braț stânga) | 203 cm |
| C Boom (Braț centru) | 152 cm |
| R Boom (Braț dreapta) | 203 cm |
Selectați Machine Settings (Setări mașină) și selectați Reset Defaults (Resetare la setări implicite).
Note: Modificarea volumului va reseta alerta rezervorului.
Apăsați butonul ENTER (INTRODUCERE) pentru a naviga la dreapta. Afișajul va prezenta volumul curent al rezervorului.
Apăsați butonul pentru a mări sau micșora volumul rezervorului.
Apăsați butoanele direcționale sus/jos pentru a sări la ±10 (pentru unități SUA) sau ±25 (pentru unități metrice).
Apăsați butoanele direcționale stânga/dreapta pentru a modifica volumul cu 1 treaptă.

Aceste ecrane afișează:
Suprafață pulverizată (acri, hectare sau 1000 ft2)
Volum pulverizat (galoane SUA sau litri)
Informațiile despre suprafață și volum se acumulează până când le resetați. Utilizați o subzonă individuală pentru fiecare sarcină de pulverizare de la locația dumneavoastră. Puteți adăuga până la 20 de subzone.
Note: Asigurați-vă că navigați la subzona la care lucrați înainte de a începe pulverizarea. Subzona afișată pe ecran este subzona activă pentru acumularea acoperirii.
Apăsați butonul BACK (ÎNAPOI) pentru a naviga la ecranul pentru suprafața totală.
Apăsați RIGHT (DREAPTA) pentru a reseta datele pentru suprafața totală.
Note: Resetarea informațiilor cu privire la suprafața totală și volumul total din ecranul pentru suprafața totală resetează toate datele pentru fiecare subzonă.

Apăsați butonul BACK (Înapoi) pentru a naviga la un ecran pentru subzonă.
Apăsați UP (SUS) pentru a reseta datele privind subzona.

Avertizările pentru operator sunt afișate automat pe afișajul InfoCenter atunci când o funcție a mașinii necesită acțiuni suplimentare. De exemplu, dacă încercați să porniți motorul în timp ce apăsați pedala de tracțiune, este afișată o avertizare care indică faptul că pedala de tracțiune trebuie să fie în poziția NEUTRU.
Apăsați orice buton de pe afișaj pentru a șterge avertizarea.
| Cod avertizare | Descriere |
|---|---|
| 200 | Pornire nepermisă – comutatorul pompei este activ |
| 201 | Pornire nepermisă – nu este cuplată poziția NEUTRU |
| 202 | Pornire nepermisă – nu este ocupat scaunul |
| 203 | Pornire nepermisă – pedala de accelerație nu este eliberată |
| 204 | Pornire nepermisă – expirare timp cuplare demaror |
| 205 | Frâna de parcare este cuplată |
| 206 | Pornire pompă nepermisă – braț activ |
| 207 | Pornire pompă nepermisă – turație motor ridicată |
| 208 | Blocare accelerație/viteză nepermisă – pompa nu este activă |
| 209 | Blocare accelerație nepermisă – frâna de parcare nu este cuplată |
| 210 | Blocare viteză nepermisă – operatorul nu se află pe scaun sau frâna de parcare este cuplată |
| 211 | Blocare accelerație/viteză nepermisă – este cuplat ambreiajul sau frâna de serviciu |
| 212 | Alertă volum scăzut rezervor |
| 213 | Pompă de clătire PORNITă |
| 220 | Calibrare senzor de debit |
| 221 | Calibrare senzor de debit – adăugați apă în rezervor și introduceți volumul adăugat |
| 222 | Calibrare senzor de debit – porniți pompa |
| 223 | Calibrare senzor de debit – porniți toate brațele |
| 224 | Calibrare senzor de debit – a început calibrarea |
| 225 | Calibrare senzor de debit – calibrare completă |
| 226 | Calibrare senzor de debit – ieșire din modul de calibrare |
| 231 | Calibrare senzor de viteză |
| 232 | Calibrare senzor de viteză – umpleți rezervorul de apă proaspătă, apăsați butonul înainte |
| 233 | Calibrare senzor de viteză – umpleți pe jumătate rezervorul pulverizatorului cu apă, apăsați butonul înainte |
| 234 | Calibrare senzor de viteză – introduceți distanța de calibrare, apăsați butonul înainte |
| 235 | Calibrare senzor de viteză – marcați și conduceți pe distanța introdusă cu secțiunile pulverizatorului oprite |
| 236 | Calibrare senzor de viteză – calibrarea senzorului de viteză este în curs |
| 237 | Calibrare senzor de viteză – calibrarea senzorului de viteză este completă |
| 238 | Calibrare senzor de viteză – opriți brațele |
| 241 | Calibrare în afara limitelor, folosirea valorilor implicite |
Verificați următoarele elemente de fiecare dată când începeți utilizarea pulverizatorului într-o zi de lucru:
Verificați presiunea din anvelope.
Note: Anvelopele aceste mașini sunt diferite de anvelopele auto; necesită o presiune mai redusă a aerului, pentru a reduce la minimum compactarea și deteriorarea gazonului.
Verificați toate nivelurile fluidelor și adăugați cantitatea adecvată de fluide specificate, dacă se constată că unele niveluri sunt scăzute.
Verificați funcționarea pedalei de frână.
Verificați dacă luminile sunt funcționale.
Rotiți volanul la stânga și la dreapta verifica răspunsul direcției.
Cu motorul oprit, verificați dacă există scurgeri de ulei, piese slăbite sau orice alte defecțiuni vizibile.
Dacă oricare dintre elementele de mai sus nu este corect, contactați-vă mecanicul sau consultați-vă cu supervizorul înainte de a încheia ziua de lucru cu pulverizatorul. Este posibil ca supervizorul dvs. să dorească să verificați alte articole zilnic, deci întrebați ce inspecții trebuie să efectuați.
Note: Consultați ghidul de selectare a duzelor care este disponibil prin distribuitorul dumneavoastră autorizat Toro.
Corpurile turelelor acceptă până la 3 duze diferite.
Opriți pulverizatorul pe o suprafață plană, opriți motorul, acționați frâna de parcare și scoateți cheia.
Amplasați comutatorul secțiunii principale în poziția OPRIT și comutatorul pompei de pulverizare în poziția OPRIT.
Rotiți turela duzelor în oricare direcție către duza corectă.
Efectuați o calibrare a debitului; consultați Calibrarea debitului pulverizatorului.
Echipament standard: filtru de aspirație cu ochiuri de 50 (albastru)
Utilizați tabelul pentru filtre de aspirație pentru a determina plasa sitei pentru duzele de pulverizare pe care le utilizați pe baza produselor chimice sau a soluțiilor cu o vâscozitate echivalentă cu cea a apei.
| Cod de culoare pentru duza de pulverizare (debit) | Dimensiune ochiuri plasă* | Cod de culoare pentru filtru |
|---|---|---|
| Galben (0,2 g/m) | 50 | Albastru |
| Roșu (0,4 g/m) | 50 | Albastru |
| Maro (0,5 g/m) | 50 (sau 30) | Albastru (sau verde) |
| Gri (0,6 g/m) | 30 | Verde |
| Alb (0,8 g/m) | 30 | Verde |
| Albastru (1,0 g/m) | 30 | Verde |
| Verde (1,5 g/m) | 30 | Verde |
| *Dimensiunea ochiurilor de plasă pentru filtrele de aspirație din acest tabel se bazează pe substanțe chimice pulverizate sau soluții cu vâscozitatea echivalentă cu cea a apei. | ||
Important: Când pulverizați produse chimice cu vâscozitate mai mare (mai vâscoase) sau soluții cu pulberi umectabile, poate fi necesar să utilizați o plasă de sită mai grosieră pentru filtrul de aspirație opțional; consultați Figura 61.

Atunci când pulverizați cu o rată de aplicare mai mare, utilizați o plasă mai grosieră pentru filtrul de aspirație opțional; consultați Figura 62.

Dimensiunile disponibile ale sitei includ:
Echipament standard: filtru de aspirație cu ochiuri de 50 (albastru)
Utilizați tabelul pentru filtre de presiune pentru a determina plasa sitei pentru duzele de pulverizare pe care le utilizați pe baza produselor chimice sau a soluțiilor cu o vâscozitate echivalentă cu cea a apei.
| Cod de culoare pentru duza de pulverizare (debit) | Dimensiune ochiuri plasă* | Cod de culoare pentru filtru |
|---|---|---|
| Așa cum este necesar pentru substanțe chimice sau soluții cu vâscozitate scăzută sau rate scăzute de aplicare | 100 | Verde |
| Galben (0,2 g/m) | 80 | Galben |
| Roșu (0,4 g/m) | 50 | Albastru |
| Maro (0,5 g/m) | 50 | Albastru |
| Gri (0,6 g/m) | 50 | Albastru |
| Alb (0,8 g/m) | 50 | Albastru |
| Albastru (1,0 g/m) | 50 | Albastru |
| Verde (1,5 g/m) | 50 | Albastru |
| Așa cum este necesar pentru substanțe chimice sau soluții cu vâscozitate mare sau rate mari de aplicare | 30 | Roșu |
| Așa cum este necesar pentru substanțe chimice sau soluții cu vâscozitate mare sau rate mari de aplicare | 16 | Maro |
| *Dimensiunea ochiurilor plasei pentru filtrele de presiune din acest tabel se bazează pe substanțe chimice pulverizate sau soluții cu vâscozitatea echivalentă cu cea a apei. | ||
Important: Atunci când pulverizați produse chimice cu vâscozitate mai mare (mai vâscoase) sau soluții cu pulberi umectabile, poate fi necesar să utilizați o plasă de sită mai grosieră pentru filtrul de presiune opțional; consultați Figura 63.

Când pulverizați cu o rată de aplicare mai mare, utilizați o plasă mai grosieră de filtrare sub presiune opțională; consultați Figura 64.

Note: Utilizați filtrul opțional de vârf de duză pentru a proteja vârful duzei de pulverizare și pentru a crește durata de viață a acestuia.
Utilizați tabelul pentru filtre de vârf de duză pentru a determina plasa sitei pentru duzele de pulverizare pe care le utilizați pe baza produselor chimice sau a soluțiilor cu o vâscozitate echivalentă cu cea a apei.
| Cod de culoare pentru duza de pulverizare (debit) | Dimensiune ochiuri filtru* | Cod de culoare pentru filtru |
|---|---|---|
| Galben (0,2 g/m) | 100 | Verde |
| Roșu (0,4 g/m) | 50 | Albastru |
| Maro (0,5 g/m) | 50 | Albastru |
| Gri (0,6 g/m) | 50 | Albastru |
| Alb (0,8 g/m) | 50 | Albastru |
| Albastru (1,0 g/m) | 50 | Albastru |
| Verde (1,5 g/m) | 50 | Albastru |
| *Dimensiunea ochiurilor de plasă pentru filtrele de duză din acest tabel se bazează pe substanțe chimice pulverizate sau soluții cu vâscozitatea echivalentă cu cea a apei. | ||
Important: Atunci când pulverizați produse chimice cu vâscozitate mai mare (mai vâscoase) sau soluții cu pulberi umectabile, poate fi necesar să utilizați o plasă de sită mai grosieră pentru filtrul de vârf de duză opțional; consultați Figura 65.

Atunci când pulverizați cu o rată de aplicare mai mare, utilizați o plasă mai grosieră pentru filtrul de vârf de duză; consultați Figura 66.

Important: Nu folosiți apă reciclată (apă gri) în rezervorul de apă dulce.
Note: Rezervorul de apă dulce este folosit pentru a furniza o sursă de apă dulce pentru a vă spăla substanțele chimice de pe piele, ochi sau alte suprafețe în cazul expunerii accidentale.Umpleți întotdeauna rezervorul de apă dulce cu apă curată înainte de a manipula sau amesteca orice substanțe chimice.
Rezervorul de apă dulce este amplasat pe ROPS, în spatele scaunului pasagerului (Figura 67). Acesta furnizează o sursă de apă dulce pentru a vă spăla substanțele chimice de pe piele, ochi sau alte suprafețe în cazul expunerii accidentale.
Pentru a umple rezervorul, deșurubați capacul din partea de sus a rezervorului și umpleți rezervorul cu apă dulce. Montați la loc capacul.
Pentru a deschide robinetul rezervorului de apă dulce, rotiți maneta de pe robinet.

Montați kitul de premixare a substanțelor chimice pentru amestecare optimă și curățenie exterioară a rezervorului.
Important: Ori de câte ori este posibil, nu folosiți apă reciclată în rezervorul de pulverizare.
Important: Asigurați-vă că substanțele chimice pe care le utilizați sunt compatibile pentru utilizare cu VitonTM (consultați eticheta producătorului; aceasta trebuie să indice dacă nu sunt compatibile). Utilizarea unei substanțe chimice care nu este compatibilă cu VitonTM degradează inelele de etanșare din pulverizator, provocând scurgeri.
Important: După ce ați umplut rezervorul pentru prima dată, verificați dacă există joc al benzilor de fixare a rezervorului. Strângeți-le, dacă este necesar.
Purjați sistemul de pulverizare a aditivului pentru sistemul de pulverizare prin pornirea secțiunilor.
Parcați mașina pe o suprafață plană, deplasați maneta schimbătorului de viteze în poziția neutră, cuplați frâna de parcare, opriți motorul și scoateți cheia.
Asigurați-vă că este închis robinetul de golire a rezervorului.
Determinați cantitatea de apă necesară pentru a o amesteca cu cantitatea de substanță chimică de care aveți nevoie, așa cum este prescris de producătorul substanței chimice.
Deschideți capacul rezervorului de pulverizare.
Note: Capacul rezervorului este situat în centrul părții superioare a rezervorului. Pentru a-l deschide, rotiți jumătatea din față a capacului în sens invers acelor de ceasornic și deschideți-l. Puteți scoate sita din interior pentru curățare. Pentru a etanșa rezervorul, închideți capacul și rotiți jumătatea din față în sensul acelor de ceasornic.
Adăugați ¾ din apa necesară în rezervorul de pulverizare folosind elementul de umplere anti-sifon.
Important: Utilizați întotdeauna apă dulce curată în rezervorul de pulverizare. Nu turnați substanța concentrată în rezervorul gol.

Porniți motorul, cuplați PTO și setați accelerația de mână, dacă este prevăzută.
Rotiți comutatorul de agitare în poziția ON (Pornit).
Adăugați în rezervor cantitatea adecvată de substanță chimică concentrată, conform instrucțiunilor producătorului de substanțe chimice.
Important: Dacă utilizați o pulbere umectabilă, amestecați pulberea cu o cantitate mică de apă pentru a forma o suspensie înainte de a o adăuga în rezervor.
Adăugați în rezervor restul de apă.
Note: Pentru o agitare mai bună, reduceți rata de aplicare setată.
| Interval de întreţinere şi service | Procedură de întreţinere |
|---|---|
| Înainte de fiecare folosinţă sau zilnic |
|
Important: Strângerea excesivă a elementelor de fixare a benzilor rezervorului poate duce la deformarea și deteriorarea rezervorului și a benzilor.
Umpleți cu apă rezervorul principal.
Verificați dacă există vreo mișcare între benzile de fixare a rezervorului și rezervor (Figura 69).

Dacă benzile de fixare a rezervorului se potrivesc liber pe rezervor, strângeți contrapiulițele cu guler și șuruburile de la partea superioară a benzilor de fixare până când acestea sunt la același nivel cu suprafața rezervorului (Figura 69).
Note: Nu strângeți prea tare piesele metalice ale benzilor de fixare a rezervorului.
Note: Înainte de a utiliza pulverizatorul pentru prima dată, dacă schimbați duzele sau dacă este necesar, calibrați debitul, viteza și bypass-ul secțiunii pulverizatorului.
Umpleți rezervorul pulverizatorului cu apă curată.
Note: Asigurați-vă că există suficientă apă în rezervor pentru a finaliza fiecare dintre procedurile de calibrare.
Coborâți secțiunile brațului din stânga și din dreapta.
Dezactivați setările protejate; consultați Utilizarea InfoCenter.
Echipament furnizat de operator: cronometru capabil să măsoare până la ± 1/10 secunde și un recipient gradat în pași de 50 ml.
Note: Pentru calibrarea debitului pulverizatorului pentru mașinile fără blocarea accelerației sunt necesare 2 persoane.
Deplasați maneta schimbătorului de viteze în poziția NEUTRU.
Cuplați frâna de parcare și porniți motorul.
Porniți pompa pulverizatorului și porniți agitarea.
Apăsați pedala de accelerație până când motorul atinge turația maximă.
Setați turația motorului după cum urmează:
Pentru mașini fără blocarea opțională a accelerației – cereți unei persoane să apese pe pedala de accelerație până când motorul atinge turația maximă.
Note: Solicitați celeilalte persoane să preleveze eșantioane de pe duzele pulverizatorului.
La mașinile cu blocarea opțională a accelerației, apăsați pedala de accelerație până când motorul atinge turația maximă și setați blocarea accelerației; consultați instrucțiunile de operare pentru kitul Workman de accelerație manuală.
Deplasați toate comutatoarele celor 3 secțiuni și comutatorul secțiunii principale în poziția ON (Pornit).
Pregătiți-vă să efectuați un test de colectare folosind recipientul gradat.
Începeți de la 2,75 bar și utilizați comutatorul pentru rata de aplicare pentru a regla presiunea de pulverizare, astfel încât în urma unui test de colectare să rezulte cantitățile enumerate în tabelul care urmează.
Note: Prelevați 3 eșantioane la câte 15 secunde fiecare și faceți o medie a cantităților de apă colectate.
| Culoare duză | Mililitri colectați în 15 secunde | Uncii colectate în 15 secunde | ||
|---|---|---|---|---|
| Galben | 189 | 6,4 | ||
| Roșu | 378 | 12,8 | ||
| Maro | 473 | 16,0 | ||
| Gri | 567 | 19,2 | ||
| Alb | 757 | 25,6 | ||
| Albastru | 946 | 32,0 | ||
| Verde | 1.419 | 48,0 | ||
După ce în urma testului de colectare au fost obținute cantitățile prezentate în tabelul de mai sus, deplasați comutatorul de blocare a ratei supervizor în poziția LOCK (Blocare).
Rotiți comutatorul secțiunii principale în poziția OFF (Oprit).
În InfoCenter, navigați la meniul Calibrare și selectați FLOW CAL (CALIBRARE DEBIT) după cum urmează:
Note: Selectarea în orice moment a pictogramei Ecran de pornire anulează calibrările.
Apăsați de două ori butonul de selectare centru din InfoCenter pentru a accesa meniurile.
Accesați meniul de calibrare apăsând butonul de selectare dreapta din InfoCenter.
Selectați FLOW CAL (CALIBRARE DEBIT) evidențiind FLOW CAL și apăsați butonul de selectare dreapta din InfoCenter.
În ecranul următor, introduceți cantitatea cunoscută de apă care va fi pulverizată din secțiuni pentru procedura de calibrare; consultați tabelul de mai jos.
Apăsați butonul de selectare dreapta din InfoCenter.
Folosind simbolurile plus (+) și minus (-), introduceți debitul conform tabelului de mai jos.
| Culoare duză | Litri | Galoane SUA |
| Galben | 42 | 11 |
| Roșu | 83 | 22 |
| Maro | 106 | 28 |
| Gri | 125 | 33 |
| Alb | 167 | 44 |
| Albastru | 208 | 55 |
| Verde | 314 | 83 |
Deplasați comutatorul secțiunii principale în poziția pornit timp de 5 minute.
Note: Pe măsură ce mașina pulverizează, InfoCenter afișează cantitatea de lichid pe care o contorizează.
După pulverizare timp de 5 minute, selectați bifa apăsând butonul central din InfoCenter.
Note: Este acceptabil dacă galoanele afișate în timpul procesului de calibrare nu se potrivesc cu cantitatea cunoscută de apă introdusă în InfoCenter.
Treceți comutatorul secțiunii principale în poziția oprit și selectați bifa apăsând butonul central din InfoCenter.
Note: Calibrarea este acum finalizată.
Asigurați-vă că rezervorul pulverizatorului este plin cu apă.
Într-o zonă deschisă, plană, marcați o distanță de 45 – 152 m.
Note: Marcați o distanță de 152 m pentru rezultate mai precise.
Porniți motorul și conduceți până la începutul distanței marcate.
Note: Pentru o măsurătoare de precizie, aliniați centrul anvelopelor față cu linia de pornire.
În InfoCenter, navigați la meniul Calibration (Calibrare) și selectați Speed Calibration (Calibrare viteză).
Note: Selectarea în orice moment a pictogramei Ecran de pornire anulează calibrarea.
Selectați săgeata Înainte (→) în InfoCenter.
Folosind simbolurile plus (+) și minus (-), introduceți distanța marcată în InfoCenter.
Cuplați prima treaptă de viteză a mașinii și conduceți pe distanța marcată în linie dreaptă, cu accelerația maximă.
Opriți mașina la distanța marcată și selectați bifa din InfoCenter.
Note: Încetiniți și rulați până la oprire pentru a alinia centrul anvelopelor față cu linia de sosire, pentru cea mai precisă măsurătoare.
Note: Calibrarea este acum finalizată.
Înainte de a utiliza pulverizatorul pentru prima dată, când schimbați duzele sau dacă este necesar, calibrați debitul, viteza și bypass-ul secțiunii pulverizatorului.
Important: Selectați o zonă plană, deschisă pentru a efectua această procedură.
Note: Pentru calibrarea bypass-ul secțiunii pentru mașinile fără blocarea accelerației sunt necesare 2 persoane.
Asigurați-vă că rezervorul pulverizatorului este plin cu apă.
Deplasați maneta schimbătorului de viteze în poziția NEUTRU.
Cuplați frâna de parcare și porniți motorul.
Deplasați comutatoarele celor 3 secțiuni în poziția ON (Pornit), dar lăsați comutatorul secțiunii principale în poziția OFF (Oprit).
Deplasați comutatorul pentru pompă în poziția ON (Pornit) și porniți agitarea.
Setați turația motorului după cum urmează:
Pentru mașini fără blocarea opțională a accelerației – cereți unei persoane să apese pe pedala de accelerație până când motorul atinge turația maximă.
Note: Solicitați celeilalte persoane să ajusteze supapele de bypass ale secțiunii.
La mașinile cu blocarea opțională a accelerației, apăsați pedala de accelerație până când motorul atinge turația maximă și setați blocarea accelerației; consultați instrucțiunile de operare pentru kitul Workman de accelerație manuală.
În InfoCenter, navigați la meniul Calibration (Calibrare) și selectați Test Speed (Viteză de testare).
Note: Selectarea în orice moment a pictogramei ecranului de pornire anulează calibrarea.
Folosind simbolurile plus (+) și minus (-), introduceți o viteză de testare de 5,6 km/h, apoi selectați pictograma Acasă.
Folosind comutatorul pentru rata de aplicare, reglați rata de aplicare conform tabelului următor.
| Culoare duză | SI (Unități de măsură sistem metric) | English (Unități de măsură sistem imperial) | Turf (Unități de măsură pentru gazon) |
| Galben | 159 l/ha | 17 gpa | 0,39 gpk |
| Roșu | 319 l/ha | 34 gpa | 0,78 gpk |
| Maro | 394 l/ha | 42 gpa | 0,96 gpk |
| Gri | 478 l/ha | 51 gpa | 1,17 gpk |
| Alb | 637 l/ha | 68 gpa | 1,56 gpk |
| Albastru | 796 l/ha | 85 gpa | 1,95 gpk |
| Verde | 1.190 l/ha | 127 gpa | 2,91 gpk |
Treceți comutatorul pentru secțiunea din stânga în poziția Oprit și reglați supapa de bypass pentru secțiunea din stânga (Figura 70) până când valoarea presiunii ajunge la nivelul reglat anterior (de regulă 2,75 bar).
Note: Indicatoarele numerotate de pe supapa de bypass au doar caracter orientativ.

Treceți comutatorul pentru secțiunea din stânga în poziția Pornit și comutatorul pentru secțiunea din dreapta în poziția Oprit.
Reglați supapa de bypass pentru secțiunea din dreapta (Figura 70) până când valoarea presiunii ajunge la nivelul reglat anterior (de regulă, 2,75 bar).
Treceți comutatorul pentru secțiunea din dreapta în poziția Pornit și comutatorul pentru secțiunea centrală în poziția Oprit.
Reglați supapa de bypass pentru secțiunea din centru (Figura 70) până când valoarea presiunii ajunge la nivelul reglat anterior (de regulă, 2,75 bar).
Treceți toate comutatoarele de secțiune în poziția Oprit.
Opriți pompa de pulverizare.
Note: Calibrarea este acum finalizată.
Supapa de bypass de agitare este în poziție complet deschisă, așa cum se arată în Figura 71A.
Supapa de bypass de agitare este în poziția închisă (0), așa cum se arată în Figura 71B.
Supapa de bypass de agitare este într-o poziție intermediară (reglată în raport cu manometrul pentru sistemul de pulverizare), așa cum se arată în Figura 71C.

| Interval de întreţinere şi service | Procedură de întreţinere |
|---|---|
| Anual |
|
Important: Selectați o zonă plană, deschisă pentru a efectua această procedură.
Note: Pentru calibrarea supapei de bypass de agitare pentru mașinile fără blocarea accelerației sunt necesare 2 persoane.
Asigurați-vă că rezervorul pulverizatorului este plin cu apă.
Verificați dacă supapa de control agitare este deschisă. Dacă a fost reglată, deschideți-o complet în acest moment.
Deplasați maneta schimbătorului de viteze în poziția NEUTRU.
Cuplați frâna de parcare și porniți motorul.
Porniți pompa pulverizatorului.
Setați turația motorului după cum urmează:
Pentru mașini fără blocarea opțională a accelerației – cereți unei persoane să apese pe pedala de accelerație până când motorul atinge turația maximă.
Note: Solicitați celeilalte persoane să preleveze eșantioane de pe duzele pulverizatorului.
La mașinile cu blocarea opțională a accelerației, apăsați pedala de accelerație până când motorul atinge turația maximă și setați blocarea accelerației; consultați instrucțiunile de operare pentru kitul Workman de accelerație manuală.
Setați cele 3 comutatoare de supape individuale de secțiuni în poziția OFF (Oprit).
Aduceţi comutatorul secțiunii principale în poziţia ON (Pornit).
Setați presiunea sistemului la MAXIM.
Aduceți comutatorul de agitare în poziția OFF (Oprire) și citiți valoarea indicată de manometru.
Dacă valoarea rămâne la 6,9 bar, supapa de bypass de agitare este calibrată corespunzător.
Dacă valoarea indicată de manometru este diferită, treceți la pasul următor.
Reglați supapa de bypass de agitare (Figura 72) pe partea din spate a supapei de agitare până când valoarea presiunii indicată de manometru este de 6,9 bar.

Aduceți comutatorul pentru pompă în poziția OFF (Oprit), deplasați maneta de accelerație în poziția IDLE (Ralanti) și rotiți comutatorul demarorului în poziția OFF (Oprit).
Note: Reglarea supapei de bypass din secțiunea principală reduce sau mărește debitul trimis către duzele de agitare din rezervor atunci când comutatorul brațului principal se află în poziția OFF (Oprit).
Asigurați-vă că rezervorul pulverizatorului este plin cu apă.
Cuplați frâna de parcare.
Deplasați maneta schimbătorului de viteze în poziția NEUTRU.
Porniți pompa pulverizatorului.
Aduceți comutatorul de agitare în poziția ON (Pornit).
Aduceți comutatorul secțiunii principale în poziția OFF (Oprit).
Setați turația motorului după cum urmează:
Pentru mașini fără blocarea opțională a accelerației – cereți unei persoane să apese pe pedala de accelerație până când motorul atinge turația maximă.
Note: Solicitați celeilalte persoane să preleveze eșantioane de pe duzele pulverizatorului.
La mașinile cu blocarea opțională a accelerației, apăsați pedala de accelerație până când motorul atinge turația maximă și setați blocarea accelerației; consultați instrucțiunile de operare pentru kitul Workman de accelerație manuală.
Reglați maneta de bypass din secțiunea principală pentru a controla nivelul de agitare din rezervor (Figura 72).
Reduceți turația de accelerare la ralanti.
Aduceți comutatorul de agitare și comutatorul pentru pompă în poziția OFF (Oprit).
Opriți motorul.
Pompa de pulverizare este situată în partea din spate a mașinii (Figura 73).

Proprietarul/operatorul poate preveni și este responsabil pentru accidentele care pot cauza vătămări corporale sau pagube materiale.
Purtați îmbrăcăminte adecvată, inclusiv ochelari de protecție, pantaloni lungi, încălțăminte solidă, antiderapantă și căști pentru protecția auzului. Strângeți la spate părul lung și nu purtați îmbrăcăminte largă sau bijuterii.
Purtați echipament individual de protecție adecvat, conform instrucțiunilor din secțiunea Securitate chimică.
Utilizați mașina cu foarte mare atenție. Nu vă angrenați în nicio activitate care vă poate distrage atenția; în caz contrar, se pot înregistra pagube materiale sau vătămări corporale.
Nu operaţi maşina dacă sunteți bolnav, obosit sau sub influența alcoolului sau a drogurilor.
Nu transportați mai mult de un pasager în mașină; pasagerul trebuie să stea numai pe locul desemnat.
Utilizați mașina doar atunci când aveți o vizibilitate corespunzătoare. Evitați gropile sau pericolele ascunse.
Înainte de a porni motorul, asigurați-vă că sunteți în poziția de operare, iar transmisia este poziția NEUTRU.
Rămâneți așezat ori de câte ori mașina este în mișcare. Țineți ambele mâini pe volan ori de câte ori este posibil și țineți întotdeauna brațele și picioarele în compartimentul operatorului.
Apropiați-vă cu atenție de curbele fără vizibilitate, tufișuri, copaci sau alte obiecte care vă pot afecta vizibilitatea.
Înainte de a conduce în marșarier, priviți în spate și asigurați-vă că nu este nimeni în spatele dumneavoastră. Conduceți în marșarier cu viteză scăzută.
Nu pulverizați niciodată atunci când se află în apropiere oameni, în special copii sau animalele de companie.
Nu utilizați mașina în apropierea pantelor abrupte, șanțurilor sau terasamentelor. Mașina se poate răsturna brusc dacă o roată trece peste o margine sau dacă marginea cedează.
Reduceți viteza atunci când lucrați pe teren accidentat, cu denivelări și lângă borduri, gropi și alte elemente de schimbare bruscă a configurației terenului. Încărcăturile se pot deplasa, ceea ce face ca mașina să devină instabilă.
Opriți mașina, opriți motorul, scoateți cheia, acționați frâna de parcare și verificați dacă există deteriorări după lovirea unui obiect sau dacă există o vibrație anormală a mașinii. Efectuați reparațiile necesare înainte de a o utiliza din nou.
Când conduceți mașina, încetiniți și virați, traversați drumurile și trotuarele cu mare atenție. Acordați întotdeauna dreptul de trecere.
Acordați o atenție sporită atunci când lucrați pe suprafețe umede, în condiții meteo nefavorabile, la viteze mai mari sau la sarcină maximă. Timpul și distanța de oprire cresc în aceste condiții.
Nu atingeți motorul sau toba de eșapament în timp ce motorul funcționează sau la scurt timp după ce s-a oprit. Aceste zone pot fi suficient de fierbinți pentru a provoca arsuri.
Înainte de a părăsi poziția operatorului, realizați următorii pași:
Parcați mașina pe o suprafață plană.
Deplasați maneta schimbătorului de viteze în poziția NEUTRU.
Opriți pompa de pulverizare.
Cuplați frâna de parcare.
Opriţi motorul şi scoateţi cheia (dacă este disponibilă).
Așteptați până când se oprește orice mișcare.
Nu porniți niciodată un motor într-o zonă în care gazele de eșapament rămân într-un spațiu închis.
Nu utilizaţi maşina dacă există riscul unor descărcări electrice.
Utilizați doar accesorii și dispozitive de atașare aprobate de Toro.
Pentru a utiliza Multi Pro WM, mai întâi umpleți rezervorul de pulverizare, apoi aplicați soluția în zona de lucru și, în final, curățați rezervorul. Este important să parcurgeți toți acești 3 pași în ordine, pentru a evita deteriorarea pulverizatorului. De exemplu, nu amestecați și nu adăugați substanțe chimice în rezervorul de pulverizare noaptea pentru a pulveriza dimineața. Aceasta determină separarea substanțelor chimice și o posibilă deteriorare a componentelor pulverizatorului.
Important: Marcajele de pe rezervor au un caracter strict orientativ și nu pot fi considerate precise pentru calibrare.
Substanțele chimice sunt periculoase și pot cauza vătămări corporale.
Citiți instrucțiunile de pe etichetele substanțelor chimice înainte de a le utiliza și respectați toate recomandările și măsurile de precauție indicate de producător.
Aveți grijă ca substanțele chimice să nu intre în contact cu pielea dumneavoastră. În cazul în care contactul a avut loc, spălați zona afectată cu săpun și apă curată din abundență.
Purtați ochelari protecție și orice alte echipamente de protecție recomandate de producătorul de substanțe chimice.
Pulverizatorul Multi Pro WM a fost proiectat special pentru a avea o durabilitate ridicată, care să asigure durata mare de viață de care aveți nevoie. Pentru a îndeplini acest obiectiv, au fost alese materiale diferite din motive specifice în diferite locații ale pulverizatorului. Din păcate, nu există un singur material care să fie perfect pentru toate aplicațiile previzibile.
Unele substanțe chimice sunt mai agresive decât altele și fiecare substanță chimică interacționează diferit cu diferite materiale. Unele consistențe (de exemplu, pulberi umectabile, cărbune) sunt mai abrazive și duc la rate de uzură mai mari. Dacă o substanță chimică este disponibilă într-o formulă care ar oferi o durată de viață crescută pulverizatorului, utilizați această formulare alternativă.
Ca întotdeauna, nu uitați să curățați bine mașina și sistemul de pulverizare după toate utilizările. Astfel, vă asigurați că pulverizatorul dumneavoastră are o durată mare de viață și funcționează fără probleme.
Important: Pentru a vă asigura că soluția dumneavoastră rămâne bine amestecată, utilizați funcția de agitare ori de câte ori aveți soluție în rezervor. Pentru ca agitarea să funcționeze, trebuie să cuplați PTO și motorul trebuie să funcționeze peste turația de ralanti. Dacă opriți vehiculul și este necesară agitarea, treceți maneta de comutare în poziția NEUTRAL (Neutru) cuplați frâna de parcare, cuplați PTO, cuplați ambreiajul și setați accelerația manuală, dacă este instalată.
Note: În cadrul acestei proceduri, se presupune că PTO este cuplată (modele din seria HD cu transmisie manuală) și că s-a finalizat calibrarea supapei secțiunii.
Coborâți brațele la poziție.
Aduceți comutatorul secțiunii principale în poziția OFF (Oprit).
Aduceți comutatoarele secțiunilor individuale în poziția ON (Pornit).
Conduceți până la locul în care doriți să pulverizați.
Accesați ecranul Application Rate (Rată de aplicare) din InfoCenter și setați rata dorită parcurgând următorii pași:
Verificați dacă poziția comutatorului pentru pompă este ON (Pornit).
La modelele din seria HD cu transmisie manuală, selectați intervalul dorit de trepte de viteză.
Începeți să conduceți cu viteza de deplasare țintă.
Verificați dacă monitorul afișează rata de aplicare corectă. Dacă este necesar, ajustați comutatorul ratei de aplicare până când monitorul afișează rata de aplicare dorită.
Reveniți la locul în care pulverizați.
Aduceți comutatorul secțiunii principale în poziția ON (Pornit) și începeți pulverizarea.
Note: Când rezervorul este aproape gol, agitarea poate provoca formarea spumei în rezervor. Pentru a preveni acest lucru, opriți supapa de agitare. Alternativ, puteți utiliza un agent antispumant în rezervor.
După finalizarea pulverizării, aduceți comutatorul secțiunii principale în poziția OFF (Oprit) pentru a opri toate secțiunile de pulverizare și decuplați maneta PTO (modele din seria HD cu transmisie manuală).
Important: În anumite condiții, căldura generată de motor, radiator și toba de eșapament pot deteriora iarba în timpul utilizării pulverizatorului în modul staționar. Modurile staționare includ agitarea rezervorului, pulverizarea manuală cu un pistol de pulverizare sau utilizarea unui braț manual.
Luați următoarele măsuri de precauție:
Evitați pulverizarea staționară în condiții de căldură și/sau uscăciune excesivă, deoarece gazonul poate fi mai solicitat în astfel de perioade.
Evitați parcarea pe gazon în timpul pulverizării de pe loc. Oricând este posibil, parcați pe o potecă.
Reduceți la minimum perioada de timp în care lăsați mașina să funcționeze într-o anumită zonă a gazonului. Gradul de deteriorare a ierbii este dependent atât de timp, cât și de temperatură.
Setați viteza motorului la cea mai joasă treaptă posibilă pentru a obține presiunea și fluxul dorite. Aceasta minimizează nivelul de căldură generat și viteza aerului eliberat de ventilatorul de răcire.
Permiteți disiparea căldurii pe direcție ascendentă din compartimentul motorului, ridicând ansamblurile scaunelor în timpul funcționării staționare și evitând disiparea forțată pe sub vehicul.
Comutatoarele de ridicare a secțiunii brațului de pe panoul de comandă al pulverizatorului vă permit să deplasați secțiunile exterioare de pulverizare între poziția de transport și poziția de pulverizare fără a părăsi scaunul operatorului. Ori de câte ori este posibil, opriți mașina înainte de a schimba pozițiile secțiunii de pulverizare.
Cuplați maneta de ridicare hidraulică și blocați-o pentru a furniza putere hidraulică pentru controlul elevatorului brațului.
Împingeți înainte maneta de ridicare hidraulică.

Deplasați la stânga elementul de blocare a ridicării hidraulice pentru a cupla blocarea.
Parcurgeți următorii pași pentru a muta secțiunile de pulverizare exterioare în poziția de PULVERIZARE:
Parcați mașina pe o suprafață plană.
Utilizați comutatoarele de ridicare a secțiunii brațului pentru a coborî secțiunile exterioare.
Note: Așteptați până când secțiunile exterioare de pulverizare ating poziția de pulverizare complet extinsă.
Efectuați operația de pulverizare, apoi parcurgeți următorii pași pentru a retrage secțiunile exterioare de pulverizare în poziția de transport:
Parcați mașina pe o suprafață plană.
Utilizați comutatoarele de ridicare a secțiunii brațelor pentru a ridica una din secțiunile exterioare de pulverizare.
Utilizați comutatoarele de ridicare a secțiunii brațelor pentru a ridica celelalte secțiuni exterioare de pulverizare.
Ridicați secțiunile până la deplasarea lor completă în suporturile de transport a secțiunii brațului, formând poziția de transport X”, și până la retragerea completă a cilindrilor de ridicare.
Important: Eliberați comutatorul (comutatoarele) de ridicare a secțiunii brațului după ce secțiunile exterioare de pulverizare au ajuns în poziția dorită. Acționarea dispozitivelor de acţionare spre opritoarele mecanice poate deteriora cilindrii de ridicare și/sau alte componente hidraulice.
Important: Asigurați-vă că secțiunile de pulverizare nu intră în contact cu orice obiecte de deasupra aflate la înălțime scăzută în poziția de transport, acest lucru poate deteriora secțiuni de pulverizare.
Important: Secțiunile de pulverizare pot fi deteriorate dacă sunt transportate în orice altă poziție decât poziția de transport X” folosind suportul de transport al brațului.

Important: Pentru a preveni deteriorarea cilindrului de ridicare, asigurați-vă că dispozitivele de acționare sunt complet retrase înainte de a transporta mașina.
Nu suprapuneți zonele unde ați pulverizat anterior.
Atenție la duzele colmatate. Înlocuiți toate duzele uzate sau deteriorate.
Utilizați comutatorul secțiunii principale pentru a opri fluxul de pulverizare înainte de a opri pulverizatorul. După oprire, utilizați blocarea turației motorului în poziție neutră pentru a menține agitarea în funcțiune.
Obțineți rezultate mai bune dacă pulverizatorul este în mișcare atunci când porniți secțiunile de pulverizare.
Atenție la modificările ratei de aplicare, care pot arăta că viteza s-a modificat dincolo de aria de acoperire a duzelor sau că există o problemă la sistemul de pulverizare.
Dacă o duză se colmatează în timp ce pulverizați, curățați duza după cum urmează:
Parcați pulverizatorul pe o suprafaţă plană, opriți motorul și cuplați frâna de parcare.
Aduceți comutatorul secțiunii principale în poziția OFF (Oprit) și apoi aduceți comutatorul pentru pompa de pulverizare în poziţia OFF (Oprit).
Îndepărtați duza colmatată și curățați-o folosind un recipient de pulverizare cu apă și o periuță de dinți.
Montați duza.
Parcați maşina pe o suprafaţă plană; acționați frâna de parcare; opriți motorul; scoateți cheia de contact și așteptați oprirea tuturor pieselor mobile înainte de a părăsi mașina.
După ce ați terminat ziua de lucru cu mașina, îndepărtați prin spălare reziduurile chimice de pe partea exterioară a mașinii; consultați secțiunea Securitate chimică.
Înainte de depozitarea mașinii în orice spațiu, lăsați motorul să se răcească.
Întrețineți și curățați centura (centurile) de siguranță, după cum este necesar.
Nu depozitați mașina sau recipientul cu combustibil într-o zonă cu o flacără deschisă, scântei sau o lampă martor, precum pe un boiler sau alte dispozitive electrice.
Mențineți toate componentele mașinii în stare bună de funcționare și bine fixate.
Înlocuiți toate autocolantele uzate, deteriorate sau lipsă.
Important: Nu folosiți apă salmastră sau refolosită pentru a curăța mașina.
Parcați mașina pe o suprafață plană, cuplați frâna de parcare, opriți motorul și scoateți cheia de contact.
Localizați supapa de golire a rezervorului de pe partea dreaptă a mașinii (Figura 76).

Deschideți robinetul pentru a elimina toate materialele neutilizate din rezervor (Figura 77).
Important: Eliminați toate substanțele chimice reziduale conform codurilor locale și instrucțiunilor producătorului materialului.

Închideți robinetul de evacuare (Figura 77).
| Interval de întreţinere şi service | Procedură de întreţinere |
|---|---|
| Anual |
|
Important: Goliți și curățați întotdeauna pulverizatorul imediat după fiecare utilizare. În caz contrar, substanțele chimice se vor usca sau îngroșa în conducte înfundând pompa și alte componente.
Utilizați kitul de clătire aprobat pentru această mașină. Pentru mai multe informații, contactați distribuitorul autorizat Toro.
Curățați sistemul de pulverizare după fiecare pulverizare. Pentru curățarea adecvată a sistemului de pulverizare, procedați astfel:
Utilizați 3 clătiri separate.
Utilizați detergenți și agenți de neutralizare conform recomandărilor producătorilor de substanțe chimice.
Utilizați apă curată (fără detergenți sau agenți de neutralizare) pentru ultima clătire.
Umpleți rezervorul cu cel puțin 190 l de apă dulce curată și închideți capacul.
Note: Puteți utiliza un agent de curățare/neutralizare în apă, după cum este necesar. La clătirea finală, doar apă curată și limpede.
Coborâți brațele în poziție de pulverizare.
Porniți motorul și deplasați comutatorul pentru pompă în poziția ON (Pornit).
Deplasați clapeta de accelerație la o turație de ralanti mai ridicată.
Asigurați-vă că poziția comutatorului de agitare este ON (Pornit) și utilizați comutatorul pentru rata de aplicare pentru a crește presiunea la o setare înaltă.
Aduceți comutatorul secțiunii principale și comutatoarele secțiunilor individuale în poziția PORNIT pentru a începe pulverizarea.
Permiteți pulverizarea prin duze a întregii cantități de apă din rezervor.
Verificați duzele pentru a vă asigura că toate pulverizează corect.
Aduceți comutatorul secțiunii principale în poziția OFF (Oprit), opriți pompa pulverizatorului și opriți motorul.
Repetați pașii 1 – 9 încă de cel puțin 2 ori pentru a vă asigura că sistemul de pulverizare este curățat complet.
Important: Trebuie să efectuați întotdeauna această procedură de cel puțin 3 ori, pentru a vă asigura că sistemul de pulverizare este complet curat, prevenind deteriorarea sistemului.
Curățați filtrul de aspirație și filtrul de presiune; consultați Curățarea filtrului de aspirație și Curățarea filtrului de presiune.
Important: Dacă ați folosit substanțe chimice cu pulbere umectabilă, curățați sita după fiecare rezervor.
Folosind un furtun de grădină, clătiți exteriorul pulverizatorului cu apă curată.
Scoateți duzele și curățați-le manual. Înlocuiți duzele deteriorate sau uzate.
| Interval de întreţinere şi service | Procedură de întreţinere |
|---|---|
| Înainte de fiecare folosinţă sau zilnic |
|
Parcați mașina pe o suprafață plană, cuplați frâna de parcare, opriți pompa, opriți motorul şi scoateţi cheia.
La partea de sus a rezervorului de pulverizare, îndepărtați opritorul care fixează racordul de furtun atașat la furtunul mare de la carcasa filtrului (Figura 78).

Îndepărtați furtunul și racordul pentru furtun de la carcasa filtrului (Figura 78).
Scoateți sita de aspirație din carcasa filtrului din rezervor (Figura 79).

Curățați filtrul de aspirație cu apă curată.
Important: Înlocuiți filtrul dacă este deteriorat sau dacă nu poate fi curățat.
Introduceți filtrul de aspirație în carcasa filtrului până când este complet așezat.
Aliniați furtunul și racordul pentru furtun cu carcasa filtrului la partea de sus a rezervorului și fixați racordul și carcasa cu opritorul pe care l-ați îndepărtat la pasul 2.
| Interval de întreţinere şi service | Procedură de întreţinere |
|---|---|
| Înainte de fiecare folosinţă sau zilnic |
|
Parcați mașina pe o suprafață plană, cuplați frâna de parcare, opriți pompa de pulverizare, opriți motorul şi scoateţi cheia.
Amplasați o tavă de golire sub filtrul de presiune (Figura 80).

Rotiți capacul de golire în sens invers acelor de ceasornic și scoateți-l din vasul filtrului de presiune (Figura 80).
Note: Lăsați vasul să se golească complet.
Rotiți vasul în sens invers acelor de ceasornic și îndepărtați capul filtrului (Figura 80).
Îndepărtați elementul filtrului de presiune (Figura 80).
Curățați cu apă curată elementul filtrului de presiune.
Important: Înlocuiți filtrul dacă este deteriorat sau dacă nu poate fi curățat.
Verificați dacă există deteriorare și uzură la nivelul garniturii pentru bușonul de golire (situat în interiorul vasului) și garniturii pentru vas (aflată în interiorul capului filtrului) (Figura 80).
Important: Înlocuiți garniturile deteriorate sau uzate ale bușonului, vasului sau ambelor.
Montați un nou element de filtrare de presiune la capul filtrului (Figura 80).
Note: Asigurați-vă că elementul de filtrare este bine așezat pe capul filtrului.
Montați vasul pe capul filtrului și strângeți-l manual (Figura 80).
Montați capacul de golire pe fitingul din partea de jos a vasului și strângeți capacul manual (Figura 80).
Parcați mașina pe o suprafață plană, cuplați frâna de parcare, opriți pompa de pulverizare, opriți motorul şi scoateţi cheia.
Îndepărtați duza din turela de pulverizare (Figura 81).

Îndepărtați filtrul duzei (Figura 81).
Curățați filtrul duzei cu apă curată.
Important: Înlocuiți filtrul dacă este deteriorat sau dacă nu poate fi curățat.
Montați filtrul duzei (Figura 81).
Note: Asigurați-vă că filtrul este așezat complet.
Montați duza la turela de pulverizare (Figura 81).
| Interval de întreţinere şi service | Procedură de întreţinere |
|---|---|
| După fiecare folosinţă |
|
Specificație cu privire la aditiv: propilenglicol antigel RV netoxic” cu inhibitor de coroziune
Important: Utilizați doar propilenglicol cu inhibitor de coroziune. Nu utilizați propilenglicol reciclat. Nu utilizați antigel pe bază de etilenglicol.Nu utilizați propilenglicol cu alcooli solubili (metanol, etanol sau izopropanol) sau apă sărată adăugată.
Deplasați mașina pe o suprafață plană, cuplați frâna de parcare, opriți motorul și scoateți cheia de contact.
Adăugați aditiv în rezervor după cum urmează:
Pentru antigel propilenglicol RV gata de utilizare (preamestecat) – adăugați în rezervor 10 galoane de antigel RV propilenglicol.
Pentru antigel concentrat de propilenglicol RV, efectuați următorii pași:
Adăugați un amestec de 10 galoane de antigel propilenglicol RV și apă în rezervorul pulverizatorului. Ați pregătit amestecul antigel conform instrucțiunilor producătorului pentru o concentrație nominală pentru minim -45°C (-50°F).
Important: Utilizați doar apă curată pentru curățarea pulverizatorului.
Porniți motorul și aduceți comutatorul pentru pompa de pulverizare în poziția PORNIT.
Utilizați pedala de accelerație pentru a mări turația motorului.
Aduceți comutatorul de agitare în poziția PORNIT.
Lăsați aditivul și soluția de apă să circule timp de 3 minute sau mai mult.
Instrument recomandat: un recipient de colectare transparent.
Mutați mașina în zona plăcuțelor de scurgere și acționați frâna de parcare.
Coborâți secțiunile exterioare ale brațului.
Aduceți comutatoarele de secțiune, stânga, centru și dreapta și comutatorul de secțiune principală în poziția PORNIT.
Lăsați sistemul de pulverizare să pulverizeze până când aditivul este golit prin duze.
Note: Majoritatea produselor antigel pe bază de propilenglicol RV au culoarea roz. Utilizați recipientul de colectare pentru a eșantiona descărcarea pulverizatorului la câteva dintre duze.
Treceți comutatorul secțiunii principale, comutatoarele celor 3 secțiuni, comutatorul de agitare și comutatorul pentru pompa de pulverizare în poziția oprit, opriți motorul și scoateți cheia.
Pentru informații privind transportarea sau tractarea mașinii, consultați manualul operatorului pentru vehiculul Workman.
Important: Legați secțiunile exterioare de pulverizare de suporturile de transport ale secțiunii brațului.
Note: Descărcați o copie gratuită a schemei electrice sau hidraulice, accesând www.Toro.com și căutați documentele necesare pentru mașina dumneavoastră în linkul Manuale de pe pagina principală.
Note: Determinați partea stângă și dreaptă a mașinii din poziția de operare normală.
Înainte de a părăsi poziția operatorului, realizați următorii pași:
Parcați mașina pe o suprafață plană.
Deplasați maneta schimbătorului de viteze în poziția NEUTRU.
Cuplați frâna de parcare.
Opriţi motorul şi scoateţi cheia (dacă este disponibilă).
Așteptați până când se oprește orice mișcare.
Lăsați componentele mașinii să se răcească înainte de a realiza lucrările de întreținere.
Doar personalul calificat și autorizat trebuie să efectueze lucrările de întreținere, de reparații, de reglare și verificare a mașinii.
Înainte de a efectua orice lucrare de întreținere, curățați bine și clătiți pulverizatorul; consultați secțiunea Securitate chimică.
Substanțele chimice folosite în sistemul de pulverizare pot fi periculoase și toxice pentru dumneavoastră, trecători, animale, plante, sol sau alte bunuri.
Citiți cu atenție și respectați informațiile de pe etichetele de avertizare privind substanțele chimice și fișele cu date de securitate (SDS) privind toate substanțele chimice și protejați-vă conform recomandărilor producătorului de substanțe chimice.
Protejați-vă întotdeauna pielea când vă aflați în apropierea substanțelor chimice. Utilizați echipament individual de protecție (EIP) adecvat pentru a vă proteja împotriva contactului cu substanțele chimice, inclusiv următoarele:
ochelari de protecție și/sau ecran pentru față
un combinezon de protecție chimică
o mască pentru protecție respiratorie sau cu filtru
mănuși rezistente la substanțe chimice
cizme din cauciuc sau alte încălțăminte rezistentă
haine de schimb curate, săpun și prosoape de unică folosință pentru curățare
Nu utilizați sau nu interveniți asupra pulverizatorului dacă nu sunt disponibile informații cu privire la securitatea chimică.
Nu umpleți, nu calibrați și nu curățați mașina dacă în zonă se află oameni, în special copii sau animale de companie.
Manipulați substanțele chimice în zone bine aerisite.
Asigurați-vă că aveți apă curată la dispoziție, în special când umpleți rezervorul pulverizatorului.
Nu consumați alimente sau băuturi și nu fumați în timp ce lucrați în apropierea substanțelor chimice.
Nu curățați duzele de pulverizare suflând prin ele sau introducându-le în gură.
Spălați-vă întotdeauna mâinile și alte zone expuse, cât mai curând posibil după ce ați lucrat cu substanțe chimice.
Substanțele chimice și vaporii reprezintă un pericol; nu intrați niciodată în rezervor și nu țineți capul deasupra deschiderii sau în aceasta.
Pentru a vă asigura că întreaga mașină este în stare bună, păstrați toate elementele de feronerie strânse corespunzător.
Pentru a reduce riscul de incendiu, îndepărtați excesul de lubrifiant, substanțele chimice, iarba, frunzele și murdăria din zona motorului.
Dacă trebuie să porniți motorul pentru a efectua o reglare de întreținere, țineți mâinile, picioarele, îmbrăcămintea și orice parte a corpului departe de motor și orice componente în mișcare. Țineți la distanță orice persoană.
Nu reglați viteza de deplasare a mașinii. Pentru a asigura siguranța și acuratețea, solicitați unui distribuitor Toro autorizat să verifice viteza de deplasare.
Dacă mașina necesită o reparație majoră sau aveți nevoie de asistență tehnică, contactați un distribuitor autorizat Toro.
Modificarea acestei mașini în orice mod poate afecta funcționarea, performanța, durabilitatea sau utilizarea acesteia și poate cauza rănirea sau decesul. O astfel de utilizare poate anula garanția produsului.
Sprijiniți mașina pe suporturi cric tip capră ori de câte ori lucrați sub mașină.
Depresurizați cu grijă componentele cu energie stocată.
| Interval de întreţinere şi service | Procedură de întreţinere |
|---|---|
| Înainte de fiecare folosinţă sau zilnic |
|
| După fiecare folosinţă |
|
| La intervale de 50 de ore |
|
| La intervale de 100 de ore |
|
| La intervale de 200 de ore |
|
| La intervale de 400 de ore |
|
| Anual |
|
Important: Consultați manualul operatorului aferent mașinii și manualul proprietarului motorului pentru proceduri suplimentare de întreținere.
Copiați această pagină pentru utilizare de rutină.
| Verificări de întreținere | Pentru săptămâna: | ||||||
|---|---|---|---|---|---|---|---|
| Luni | Marți | Miercuri | Joi | Vineri | Sâmbătă | Duminică | |
| Verificați funcționarea frânei și a frânei de parcare. | |||||||
| Verificați funcționarea schimbătorului de viteze/poziției Neutru. | |||||||
| Verificați nivelul de combustibil. | |||||||
| Verificați nivelul de ulei de motor înainte de umplerea rezervorului. | |||||||
| Verificați nivelul de ulei de transmisie înainte de umplerea rezervorului. | |||||||
| Inspectați filtrul de aer înainte de umplerea rezervorului. | |||||||
| Inspectați nervurile de răcire a motorului înainte de umplerea rezervorului. | |||||||
| Verificați orice zgomote neobișnuite ale motorului. | |||||||
| Verificați orice zgomote neobișnuite de funcționare. | |||||||
| Verificaţi presiunea din anvelope. | |||||||
| Verificați dacă există scurgeri de lichide. | |||||||
| Verificați funcționarea instrumentelor. | |||||||
| Verificați funcționarea acceleratorului. | |||||||
| Curățați sita de aspirație. | |||||||
| Verificați unghiul de convergență. | |||||||
| Lubrifiați toate fitingurile de lubrifiere.1 | |||||||
| Retușați orice zone cu vopsea deteriorată. | |||||||
1Imediat după fiecare spălare, indiferent de intervalul menționat
| Verificare efectuată de către: | ||
| Element | Dată | Informații |
| 1 | ||
| 2 | ||
| 3 | ||
| 4 | ||
| 5 | ||
| 6 | ||
| 7 | ||
| 8 | ||
| 9 | ||
| 10 | ||
Dacă lăsați cheia în demaror, cineva poate porni în mod accidental motorul și vă poate răni grav pe dumneavoastră sau pe trecători.
Scoateți cheia din contact și deconectați cablul negativ al bateriei de la baterie înainte de a efectua orice lucrare de întreținere. Puneți cablul bateriei deoparte, astfel încât să nu intre în contact accidental cu suportul bateriei.
Ansamblul pulverizator – rezervor constituie un pericol din cauza energiei stocate. Dacă acesta nu este fixat corespunzător la instalarea sau demontarea ansamblului, se poate mișca sau cădea și vă poate vătăma pe dvs. sau pe alte persoane.
Utilizați chingi și o macara suspendată pentru a susține ansamblul pulverizator – rezervor pe durata instalării, a demontării sau a oricăror operații de întreținere, atunci când demontați dispozitivele de prindere.
Puteți ridica ansamblul rezervorului pentru a avea acces la motor și la alte componente interne. Pivotați extensia brațului înainte pentru a distribui greutatea mai omogen.
Goliți rezervorul de pulverizare.
Parcați vehiculul pe o suprafață plană.
Utilizați comutatoarele de control al brațului pentru a ridica extensia brațului la aproximativ 45°.
Cuplați frâna de parcare, opriți motorul și scoateți cheia.
Deconectați bateria.
Demontați bolțurile de siguranță din partea frontală a saniei (Figura 82).

Deconectați cablajul consolei centrale de la cablajul principal și scoateți cablajul principal pentru a crea un joc.
Pliați extensiile brațelor spre înainte, de-a lungul ansamblului rezervorului, pentru a distribui mai omogen greutatea, și preveniți răsturnarea înapoi a acestuia.
Ridicați ansamblul rezervorului până când cilindrii de ridicare sunt complet extinși.
Scoateți suportul pentru platformă din suporturile de depozitare aflate în spatele panoului ROPS (Figura 83).

Împingeți suportul pentru platformă pe tija cilindrului, asigurându-vă că proeminențele de la capătul suportului se sprijină pe capătul tamburului cilindrului și pe capătul tijei cilindrului de ridicare (Figura 84).

Când sunteți pregătit pentru coborârea ansamblului rezervorului, îndepărtați suportul pentru platformă de la cilindru și introduceți-l în suporturile aflate în spatele panoului ROPS.
Important: Nu încercați să coborâți ansamblul rezervorului cu suportul de siguranță pentru platformă de pe cilindru.
Retrageți cilindrii de ridicare pentru a coborî cu atenție rezervorul pe cadru.
Instalați cele 2 șuruburi de reținere și organele de asamblare pentru a fixa ansamblul rezervorului.
Pliați extensiile brațului în spate, în poziție extinsă.
Utilizați comutatoarele de control ale brațelor pentru a ridica extensiile brațelor în poziția de TRANSPORT.
Ghidați cablajul principal pentru a elimina jocul și conectați-l la cablajul consolei centrale.
| Interval de întreţinere şi service | Procedură de întreţinere |
|---|---|
| La intervale de 50 de ore |
|
Tip de lubrifiant: Mobil XHP 461
Localizați fitingurile de lubrifiere de pe pompa pulverizatorului.
Note: Pompa este situată în partea din spate a mașinii.

Ștergeți cele 2 fitinguri de lubrifiere de la distanță.
Pompați lubrifiant în fiecare fiting de lubrifiere de la distanță.
Ștergeți excesul de lubrifiant.
| Interval de întreţinere şi service | Procedură de întreţinere |
|---|---|
| La intervale de 100 de ore |
|
Important: Dacă spălați cu apă balamaua brațului, eliminați apa și reziduurile de pe ansamblul balamalei și aplicați lubrifiant proaspăt.
Tip lubrifiant: lubrifiant cu litiu nr. 2
Ștergeți fitingul de lubrifiere, astfel încât corpurile străine să nu poată să pătrundă în rulment sau bucșă.
Pompați lubrifiant în rulment sau bucșă la nivelul fiecărui fiting Figura 86.

Ștergeți excesul de lubrifiant.
Repetați procedura pentru fiecare pivot de braț.
Deconectați bateria înainte de repararea mașinii. Deconectați întâi borna negativă, apoi borna pozitivă. Conectați întâi borna pozitivă, apoi borna negativă.
Încărcați bateria într-un spațiu deschis, bine ventilat, departe de scântei sau flăcări. Deconectați încărcătorul înainte de a conecta sau deconecta bateria.
Purtați îmbrăcăminte de protecție și utilizați scule izolate.
Blocul de siguranțe al sistemului pulverizatorului este montat la capătul blocului de siguranțe al vehiculului. Înlocuiți o siguranță arsă cu același tip de siguranță, având același amperaj.

| Interval de întreţinere şi service | Procedură de întreţinere |
|---|---|
| La intervale de 200 de ore |
|
| La intervale de 400 de ore |
|
Examinați fiecare furtun al sistemului de pulverizare pentru a descoperi eventuale fisuri, scurgeri sau alte deteriorări. În același timp, verificați dacă există deteriorări similare le nivelul conexiunilor și fitingurilor. Înlocuiți furtunurile și fitingurile, dacă sunt deteriorate.
| Interval de întreţinere şi service | Procedură de întreţinere |
|---|---|
| La intervale de 400 de ore |
|
Note: Determinați dimensiunea corespunzătoare a ochiurilor plasei filtrului de aspirație de care aveți nevoie pentru lucrarea dumneavoastră; consultați Selectarea unui filtru de aspirație.
Parcați mașina pe o suprafață plană, cuplați frâna de parcare, opriți pompa, opriți motorul şi scoateţi cheia.
La partea de sus a rezervorului de pulverizare, îndepărtați opritorul care fixează racordul de furtun atașat la furtunul mare de la carcasa filtrului (Figura 88).

Îndepărtați furtunul și racordul pentru furtun de la carcasa filtrului (Figura 88).
Îndepărtați filtrul de aspirație vechi din carcasa filtrului din rezervor (Figura 89).
Note: Eliminați filtrul vechi.

Montați noul filtrul de aspirație în carcasa filtrului.
Note: Asigurați-vă că filtrul este așezat complet.
Aliniați furtunul și fitingul furtunului cu carcasa filtrului din partea de sus a rezervorului și fixați fitingul și carcasa cu opritorul pe care l-ați îndepărtat la pasul 2.
| Interval de întreţinere şi service | Procedură de întreţinere |
|---|---|
| La intervale de 400 de ore |
|
Note: Determinați dimensiunea corespunzătoare a ochiurilor plasei filtrului de presiune de care aveți nevoie pentru lucrarea dumneavoastră; consultați Selectarea unui filtru de presiune.
Parcați mașina pe o suprafață plană, cuplați frâna de parcare, opriți pompa de pulverizare, opriți motorul şi scoateţi cheia.
Amplasați o tavă de golire sub filtrul de presiune (Figura 90).

Rotiți capacul de golire în sens invers acelor de ceasornic și scoateți-l din vasul filtrului de presiune (Figura 90).
Note: Lăsați vasul să se golească complet.
Rotiți vasul în sens invers acelor de ceasornic și îndepărtați capul filtrului (Figura 90).
Îndepărtați elementul de filtrare al vechiului filtru de presiune (Figura 90).
Note: Eliminați filtrul vechi.
Verificați dacă există deteriorare și uzură la nivelul garniturii pentru bușonul de golire (situat în interiorul vasului) și garniturii pentru vas (aflată în interiorul capului filtrului) (Figura 90).
Note: Înlocuiți garniturile deteriorate sau uzate ale bușonului, vasului sau ambelor.
Montați un nou element de filtrare pentru filtrul de presiune pe capul filtrului (Figura 90).
Note: Asigurați-vă că elementul de filtrare este bine așezat pe capul filtrului.
Montați vasul pe capul filtrului și strângeți-l manual (Figura 90).
Montați capacul de golire pe fitingul din partea de jos a vasului și strângeți capacul manual (Figura 90).
Note: Determinați dimensiunea corespunzătoare a ochiurilor plasei filtrului duzei de care aveți nevoie pentru lucrarea dumneavoastră; consultați Selectarea unui filtru de vârf de duză (opțional).
Parcați mașina pe o suprafață plană, cuplați frâna de parcare, opriți pompa de pulverizare, opriți motorul şi scoateţi cheia.
Îndepărtați duza din turela de pulverizare (Figura 91).

Îndepărtați vechiul filtru al duzei (Figura 91).
Note: Eliminați filtrul vechi.
Montați un filtru de duză nou (Figura 91).
Note: Asigurați-vă că filtrul este așezat complet.
Montați duza la turela de pulverizare (Figura 91).
| Interval de întreţinere şi service | Procedură de întreţinere |
|---|---|
| La intervale de 400 de ore |
|
Note: Următoarele componente ale mașinii sunt considerate piese supuse consumului prin utilizare, cu excepția cazului în care se constată că sunt defecte, și nu sunt acoperite de garanția asociată cu această mașină.
Solicitați unui distribuitor Toro autorizat să verifice următoarele componente interne ale pompei, pentru a vedea dacă sunt deteriorate:
Diafragma pompei
Ansamblurile supapelor de reținere ale pompei
Înlocuiți orice componente, dacă este necesar.
| Interval de întreţinere şi service | Procedură de întreţinere |
|---|---|
| La intervale de 400 de ore |
|
Parcați mașina pe o suprafață plană, cuplați frâna de parcare, opriți pompa, opriți motorul şi scoateţi cheia.
Extindeți secțiunile exterioare ale brațelor în poziția de pulverizare și sprijiniți secțiunile brațelor folosind suporturi sau curele și echipamente de ridicare.
Îndepărtați șurubul și piulița care fixează fusul de basculare și îndepărtați fusul (Figura 92).

Îndepărtați ansamblul brațului și suportului pivotant de la canalul de capăt al cadrului central pentru a avea acces la bucșele din nailon.
Îndepărtați și verificați bucșele din nailon de la părțile din față și din spate ale suportului pivotant (Figura 92).
Note: Înlocuiți orice bucșe uzate sau deteriorate.
Lubrifiați bucșele din nailon cu o cantitate redusă de ulei și instalați bucșele în suportul pivotant (Figura 92).
Aliniați orificiile din suportul pivotant cu orificiile din canalul de capăt (Figura 92).
Montați fusul de basculare și fixați-l cu șurubul cu guler și contrapiulița cu guler demontate la pasul 3.
Repetați pașii 2 – 8 pentru cealaltă secțiune exterioară a brațului.
Următoarea procedură poate fi utilizată pentru a regla mecanismele de acționare de pe brațul central pentru a menține brațele din stânga și din dreapta la nivel.
Extindeți brațele în poziția de pulverizare.
Îndepărtați cuiul spintecat de la fusul de basculare (Figura 93).

Ridicați brațul și îndepărtați știftul (Figura 93) și coborâți încet brațul la sol.
Verificați dacă este deteriorat știftul și înlocuiți-l, dacă este necesar.
Utilizați o cheie pe părțile plate ale tijei dispozitivului de acționare pentru a o imobiliza, apoi slăbiți contrapiulița pentru a permite reglarea tijei cu ureche (Figura 94).

Rotiți tija cu ureche în tija dispozitivului de acționare pentru a scurta sau a prelungi dispozitivul de acționare extins în poziția dorită (Figura 94).
Note: Pentru a putea monta tija la braț, trebuie să rotiți tija cu ureche cu jumătate de rotații sau rotații complete.
După ce a fost atinsă poziția dorită, strângeți contrapiulița pentru a fixa dispozitivul de acționare și tija cu ureche.
Ridicați brațul pentru a alinia pivotul cu tija dispozitivului de acționare.
În timp ce susțineți brațul, introduceți știftul atât prin pivotul brațului, cât și prin tija dispozitivului de acționare (Figura 93).
Cu știftul în poziție, eliberați brațul și fixați știftul cu cuiul spintecat îndepărtat anterior.
Repetați procedura pentru fiecare rulment de tijă a dispozitivului de acționare, dacă este necesar.
Important: Nu folosiți apă salmastră sau refolosită pentru a curăța mașina.
| Interval de întreţinere şi service | Procedură de întreţinere |
|---|---|
| La intervale de 200 de ore |
|
Clătiți bine și scurgeți întregul sistem de pulverizare.
Îndepărtați debitmetrul de la pulverizator și clătiți-l cu apă curată.
Scoateți inelul de fixare de la partea din amonte (Figura 95).

Curățați turbina și butucul turbinei pentru a îndepărta pilitura de metal și orice pulberi umectabile.
Verificați lamele turbinei pentru urme de uzură.
Note: Țineți turbina în mână și rotiți-o. Trebuie să se învârtească liber, cu rezistență redusă. În caz contrar, înlocuiți-o.
Montați debitmetrul.
Utilizați un jet de aer de joasă presiune (0,5 bar) pentru a vă asigura că turbina se rotește liber.
Note: Dacă turbina nu se învârtește liber, slăbiți știftul hexagonal din partea de jos a butucului turbinei cu 1/16 de tură până când se rotește liber.
Înainte de a părăsi poziția operatorului, realizați următorii pași:
Parcați mașina pe o suprafață plană.
Opriți pompa de pulverizare.
Cuplați frâna de parcare.
Opriţi motorul şi scoateţi cheia (dacă este disponibilă).
Așteptați până când se oprește orice mișcare.
Lăsați mașina să se răcească înainte de reglarea, repararea, curățarea sau depozitarea acesteia.
Nu depozitați mașina sau recipientul cu combustibil într-o zonă cu o flacără deschisă, scântei sau o lampă martor, precum pe un boiler sau un alt dispozitiv electric.
Efectuați procedurile următoare:
Important: Nu folosiți apă salmastră sau reciclată pentru a curăța mașina.
Parcați mașina pe o suprafață plană, acționați frâna de parcare, opriți pompa de pulverizare și motorul, scoateți cheia de contact și așteptați oprirea tuturor mișcărilor înainte de a părăsi mașina.
Note: La modelele Workman din seriile HD și HDX cu transmisie manuală, decuplați priza de putere.
Curățați murdăria și reziduurile de pe întreaga mașină, inclusiv exteriorul aripioarelor chiulasei motorului și al carcasei suflantei.
Important: Puteți spăla mașina utilizând un detergent delicat și apă. Nu folosiți apă de mare presiune pentru a spăla mașina. Spălarea cu jet sub presiune poate deteriora sistemul electric sau poate îndepărta lubrifiantul necesar din punctele de frecare. Evitați excesul de apă, în special în apropierea panoului de comandă, a luminilor, a motorului și a bateriei.
Mutați mașina în zona plăcuțelor de scurgere, acționați frâna de parcare, opriți pompa de pulverizare și motorul, scoateți cheia de contact și așteptați oprirea tuturor mișcărilor înainte de a părăsi mașina.
Goliți rezervorul de apă proaspătă și lăsați robinetul rezervorului deschis.
Goliți rezervorul de pulverizare cât mai complet posibil.
Pregătiți o soluție antigel RV cu inhibitor de rugină, fără alcool; consultați Pregătirea aditivului.
Demontați unul dintre tuburile de detectare a presiunii din fitingul de conectare prin apăsare, așa cum este indicat în Figura 96.

Porniți mașina și coborâți secțiunile brațelor exterioare.
Lăsați pompa de pulverizare să funcționeze timp de câteva minute pentru a circula antigelul RV în sistemul de pulverizare și în toate accesoriile de pulverizare montate.
Treceți comutatoarele secțiunii din stânga, centru și dreapta în poziția ON (Pornit).
Rotiți comutatorul secțiunii principale în poziția ON (Pornit) și căutați următoarele:
Asigurați-vă că antigelul RV curge de la capătul deconectat al tubului manometru.
Pulverizați prin duză până când antigelul RV este vizibil.
Rotiți comutatorul secțiunii principale în poziția OFF (Oprit).
Rotiți comutatorul pompei în poziția OFF (Oprit).
Utilizați comutatoarele de ridicare a secțiunii brațelor pentru a ridica secțiunile exterioare ale brațelor.
Ridicați secțiunile brațelor până la deplasarea lor completă în suportul de transport al brațului, formând poziția de transport X”, și până la retragerea completă a cilindrilor de ridicare.
Note: Asigurați-vă de retragerea completă a cilindrilor de ridicare, pentru a preveni deteriorarea tijei dispozitivului de acționare.
Opriți motorul.
Goliți rezervorul de pulverizare cât mai complet posibil.
Lubrifiați pulverizatorul; consultați Lubrifiere.
Verificați și strângeți toate șuruburile și piulițele.
Note: Reparați sau înlocuiți orice piese uzate sau deteriorate.
Verificați starea tuturor furtunurilor de pulverizare.
Note: Înlocuiți orice furtunuri uzate sau deteriorate.
Strângeți toate fitingurile de furtun.
Vopsiți toate suprafețele zgâriate sau de metal gol cu vopsea furnizată de un distribuitor Toro autorizat.
Dacă este necesar, pregătiți vehiculul pentru depozitare pe termen lung; consultați manualul operatorului vehiculului.
Depozitaţi mașina într-un spaţiu de depozitare sau garaj uscat şi curat.
Acoperiți mașina pentru a o proteja și a o menține curată.
Introduceți tubul de detecție a presiunii în fitingul de conectare prin apăsare până când este complet așezat (Figura 97).

Închideți robinetul rezervorului de apă dulce.
Adăugați combustibil la rezervorul de combustibil.
Efectuați intervenții de service la vehicul; consultați manualul operatorului vehiculului.
Capacitatea echipamentului de ridicare: 408 kg
Ansamblul rezervorului pulverizatorului prezintă un pericol din cauza energiei stocate. Dacă nu este fixat corespunzător la instalarea sau demontarea ansamblului, se poate mișca sau cădea și vă poate vătăma pe dvs. sau alte persoane.
Utilizați chingi și o macara suspendată pentru a susține ansamblul pulverizator – rezervor pe durata instalării, a demontării sau a oricăror operații de întreținere, atunci când demontați dispozitivele de prindere.
Deconectați cablurile bateriei de la baterie; consultați Deconectarea bateriei.
Separați blocul de siguranțe al pulverizatorului de la blocul de siguranțe al mașinii și deconectați cablajul dintre cele 2 blocuri de siguranțe; consultați Instalarea blocului de siguranță al pulverizatorului.
Decuplați cablajul de la clemele J; consultați Pozarea cablajului electric posterior pentru pulverizator la consola de comandă.
Slăbiți rozeta manuală amplasată sub consolă și scoateți știftul în formă de agrafă; consultați Montarea consolei de comandă la mașină.
Deconectați bornele firelor care conectează blocul de siguranțe al pulverizatorului la blocul de siguranțe al mașinii; consultați Instalarea blocului de siguranță al pulverizatorului.
Separați blocul de siguranțe al pulverizatorului de blocul de siguranțe al mașinii; consultați Instalarea blocului de siguranță al pulverizatorului.
Demontați consola de pe suportul de montare a consolei de la bordul mașinii și aliniați fusul de basculare de la consola de comandă cu suportul de depozitare de la chinga frontală a rezervorului (Figura 98); consultați Montarea consolei de comandă la mașină.

Asamblați consola pe suport și fixați fusul de basculare pe suport cu știftul în formă de agrafă (Figura 98).
Capacitatea echipamentului de ridicare: 408 kg
Aliniați suportul de cric frontal cu receptorul de suport de cric frontal situat în partea din față a rezervorului (Figura 99).

Introduceți suportul de cric în receptor până când orificiul median din tubul suportului de cric orizontal este aliniat cu orificiul din partea de sus a receptorului (Figura 99).
Introduceți știftul cu cap și gaură (½ x 3") în orificiile din suportul de cric și receptor și asigurați știftul cu cap și gaură cu un știft în formă de agrafă (5/32 x 2 ⅝").
Înfiletați o rozetă de blocare în receptor și strângeți manual rozeta (Figura 99).
Aliniați suportul de cric posterior cu receptorul suportului de cric posterior (Figura 100).

Aliniați orificiul din partea de sus a suportului de cric cu orificiul din cadrul saniei rezervorului (Figura 100)
Fixați suportul de cric pe receptor și cadru cu 2 știfturi cu cap și gaură pentru cui spintecat (½ x 4 ½") și 2 știfturi în formă de agrafă (5/32 x 2 ⅝"), așa cum este indicat în Figura 100.
Repetați pașii 1 – 7 pentru suporturile de cric frontal și posterior de pe cealaltă parte a rezervorului saniei.
Utilizați cricul și extensia suportului de cric frontal pentru a extinde suporturile de cric.

Coborâți brațele la aproximativ 45° și pivotați-le înainte (Figura 102).

Demontați cele 2 șuruburi (½ x 1 ½") și 2 contrapiulițe (½") care fixează suportul de prindere al ansamblului saniei rezervorului pe suportul platformei de pe cadru, pe fiecare parte a mașinii; consultați Coborârea saniei rezervorului.
Ridicați sania rezervorului cu cilindrii de ridicare, instalați blocarea cilindrilor și efectuați următoarele:
Note: Consultați Ridicarea ansamblului rezervorului.
Pentru modelele Workman din seriile HD și HDX cu transmisie manuală, decuplați arborele PTO de la PTO a transmisiei; consultați instrucțiunile de instalare pentru kitul de finisare pulverizator gazon Multi Pro WM, vehicul utilitar Manual Workman.
Deconectați cablajul senzorului de viteză; consultați Conectarea cablajului senzorului de viteză (modelele din seria HD cu transmisie manuală).
Demontați blocajul cilindrilor și coborâți sania rezervorului cu cilindrii de ridicare; consultați Coborârea ansamblului rezervorului.
Atașați echipamentul de ridicare la tuburile orizontale ale suporturilor de cric frontale și la suportul vertical al suporturilor de cric posterioare (Figura 102).
Ridicați ansamblul rezervorului cu 7,5 – 10 cm și demontați știfturile de prindere și știfturile cu cap și gaură pentru cui spintecat care fixează cilindrii de ridicare pe ansamblul rezervorului.
Ridicați sania rezervorului de pe mașină suficient de sus pentru a desprinde sania de mașină (Figura 102).
Deplasați cu atenție vehiculul înainte și la distanță de sania rezervorului.
Coborâți lent rezervorul saniei la sol.
| Problem | Possible Cause | Corrective Action |
|---|---|---|
| O secțiune nu pulverizează. |
|
|
| O secțiune nu se oprește. |
|
|
| Scurgere la nivelul unei supape de secțiune. |
|
|
| Duza (duzele) de pulverizare picură atunci când comutatorul (comutatoarele) de secțiune este (sunt) oprit/e |
|
|
| Se produce o cădere la presiune la pornirea unui braț. |
|
|
