| Intervalo de assistência | Procedimento de manutenção |
|---|---|
| Em todas as utilizações ou diariamente |
|
Quando devidamente instalada, esta máquina converte-se num veículo de aplicação de rega dedicado que se destina a ser utilizado por operadores profissionais contratados em aplicações comerciais. Foi principalmente concebido para regar a relva em parques, campos de golfe, campos desportivos e relvados comerciais bem mantidos.
Leia estas informações com atenção para saber como operar e realizar a manutenção adequada do produto, além de evitar lesões e danos ao produto. A utilização correta e segura do produto é da exclusiva responsabilidade do utilizador.
Visite www.Toro.com para obter mais informações, incluindo dicas de segurança, materiais de formação, informações sobre acessórios, ajuda a encontrar um revendedor ou para registar o seu produto.
Sempre que necessitar de assistência, peças genuínas Toro ou informações adicionais, entre em contacto com um representante de assistência autorizado ou com o serviço de assistência Toro, indicando os números de modelo e de série do produto. Figura 1 identifica a localização dos números de série e de modelo do produto. Escreva os números no espaço fornecido.
Important: Importante: com o seu dispositivo móvel, pode ler o código QR no autocolante do número de série (se equipado) para aceder às informações de garantia, peças e outras.

Este manual identifica potenciais perigos e contém mensagens de segurança identificadas com o símbolo de alerta de segurança (Figura 2), que sinaliza perigos que podem provocar lesões graves ou morte se não forem observadas as precauções recomendadas.

Neste manual são utilizadas duas palavras para destacar informações. A palavra Importante chama a atenção para informações mecânicas específicas e a palavra Observação destaca informações gerais que merecem atenção especial.
Este produto cumpre todas as diretivas europeias relevantes. Para mais informações consultar a folha de Declaração de conformidade (DOC) em separado, específica do produto.
Utilizar ou operar o motor em qualquer terreno com floresta, arbustos ou relva é uma violação da secção 4442 ou 4443 do código de recursos públicos da Califórnia exceto se o motor estiver equipado com uma proteção contra chamas, como definido na secção 4442, mantido em boas condições ou o motor for construído equipado e mantido para a prevenção de fogo.
CALIFÓRNIA
Proposição 65 Aviso
É do conhecimento do Estado da Califórnia que a utilização deste produto pode causar exposição a químicos que podem provocar cancro, defeitos congénitos ou outros problemas reprodutivos.
A utilização ou manutenção indevida por parte do utilizador ou do proprietário pode provocar ferimentos. De modo a reduzir o risco de lesões, respeite estas instruções de segurança e preste toda a atenção ao símbolo de alerta de segurança (Figura 2), que indica: Cuidado, Aviso ou Perigo – instruções de segurança pessoal. O não cumprimento desta instrução pode resultar em acidentes pessoais ou mesmo na morte.
Este produto pode causar ferimentos pessoais. Respeite sempre todas as instruções de segurança, de modo a evitar ferimentos pessoais graves.
Leia e compreenda o conteúdo deste Manual do utilizador antes de ligar o motor.
Enquanto utilizar a máquina, esteja permanentemente atento. Não execute quaisquer atividades que possam causar distrações para não ocorrerem ferimentos nem danos materiais.
Utilize Equipamento de Proteção Pessoal (EPP) para proteção contra o contato pessoal com produtos químicos. As substâncias químicas utilizadas no sistema de pulverização podem ser perigosas ou tóxicas.
Não coloque as mãos ou os pés perto de componentes em movimento da máquina.
Não opere a máquina sem que todos os resguardos e outros dispositivos protetores de segurança estejam instalados e a funcionar.
Mantenha-se afastado de qualquer área de descarga dos bicos do pulverizados e da dispersão dos produtos pulverizados. Mantenha as pessoas e as crianças pequenas afastadas da área de operação.
Nunca permita que crianças utilizem a máquina.
Estacione a máquina numa superfície nivelada, engate o travão de estacionamento, desligue a chave (se equipada) e espere até todas as partes em movimento parem antes de sair da posição do operador. Deixe a máquina arrefecer antes de ajustar, fazer manutenção, limpar ou armazenar.
O uso e manutenção impróprios desta máquina
podem resultar em ferimentos. Para reduzir o risco de lesões,
respeite estas instruções de segurança e preste
sempre atenção ao símbolo de alerta de segurança
, que indica: Cuidado, Aviso
ou Perigo — instruções de segurança pessoal.
O não cumprimento destas instruções pode resultar
em ferimentos pessoais ou mesmo em morte.
Este manual não abrange a totalidade dos acessórios adaptáveis a esta máquina. Consulte o Manual do Utilizador específico, fornecido com cada engate, para obter informações sobre instruções de segurança adicionais.
![]() |
Os autocolantes de segurança e de instruções são facilmente visíveis e situam-se próximo das zonas de potencial perigo. Substitua todos os autocolantes danificados ou em falta. |

















Important: O modelo 41240 com número de série 416500000 e superior só pode ser instalado em máquinas Workman HDX com uma transmissão manual.
Note: Determine os lados direito e esquerdo da máquina a partir da posição normal de utilização.
Note: Se tiver alguma questão ou necessitar de informações adicionais acerca do sistema de controlo de pulverização, consulte o Manual do utilizador fornecido com o sistema.
Important: Este pulverizador é vendido sem bicos de pulverização.Para utilizar o pulverizador, tem de adquirir e instalar os bicos. Contate o seu distribuidor Toro autorizado para obter mais informações sobre os kits de secções e acessórios disponíveis. Depois de instalar os bicos e antes de utilizar o pulverizador pela primeira vez, ajuste as válvulas de distribuição das secções para que a pressão e a taxa de aplicação sejam iguais em todas as secções quando desliga uma ou mais secções. Consulte Calibração do fluxo do pulverizador.
Important: O pulverizador Multi-Pro WM exige que esteja instalado um sistema de proteção anticapotamento (ROPS) de quatro postes ou cabina no veículo Workman.
A plataforma completa pesa cerca de 95 kg. Pode ferir-se se remover a plataforma sem ajuda.
Não tente montar ou remover a plataforma sozinho.
Peça a 2 ou 3 pessoas que o ajudem ou utilize um guincho suspenso.
Estacione a máquina numa superfície plana, engate o travão de estacionamento e ligue o motor.
Mova a alavanca de elevação hidráulica para a frente e baixe a plataforma até os passadores de forquilha dos cilindros de elevação da haste do cilindro ficarem soltos nas ranhuras de montagem das placas de montagem da plataforma.
Liberte a alavanca de elevação hidráulica, ative a alavanca de bloqueio de elevação hidráulica, desligue o motor e retire a chave; consulte o Manual do utilizador da máquina.
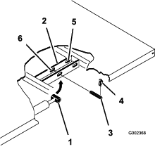
Retire os pinos de sujeição das extremidades exteriores dos pinos de forquilha da haste do cilindro (Figura 3).

Retire os passadores de forquilha que prendem as extremidades da haste do cilindro nas placas de montagem da plataforma empurrando-os para o centro da máquina (Figura 3).
Retire os pinos de sujeição e os passadores de forquilha que prendem os apoios articulados da plataforma nos canais da estrutura da máquina (Figura 4).

Levante a caixa retirando-a do veículo.
Guarde os cilindros de elevação nos grampos de armazenamento.
Peças necessárias para este passo:
| Kit de tomada de força traseira, veículo Workman para trabalhos pesados (modelos da série HD com transmissão manual) | 1 |
| Kit de acabamento do pulverizador de relva Multi Pro WM, veículo Workman para trabalhos pesados (modelos da série HD com transmissão manual) | 1 |
Para os modelos Workman da série HD e HDX com transmissão manual, instale completamente o kit de tomada de força traseiro para veículos Workman para trabalhos pesados; consulte as Instruções de instalação do kit de tomada de força traseiro para veículos Workman de trabalhos pesados.
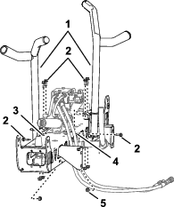
Utilizando equipamento de elevação com uma capacidade de elevação de 408 kg, eleve o patim do depósito da grade de transporte nos dois pontos de elevação frontais e dois pontos de elevação traseiros (Figura 5).
Note: Certifique-se de que o patim do depósito está elevado o suficiente para instalar os macacos.

Para os modelos HD-Series e HDX-Series Workman com uma transmissão manual, complete os passos do kit de de acabamento do pulverizador de relva Multi Pro WM para veículos utilitários Workman manuais.
Peças necessárias para este passo:
| Suportes de fixação | 2 |
Retire os dois parafusos de cabeça flangeada e as duas porcas flangeadas que prendem o suporte de apoio do tubo do motor à estrutura da máquina (Figura 6).
Note: Guarde os dispositivos de fixação para utilizar depois.

Rode o cilindro esquerdo para obter folga para instalar o suporte de fixação para o patim do depósito (Figura 6).
Monte os suportes de fixação ao suporte de apoio e estrutura utilizando os dois parafusos de cabeça flangeada e as porcas flangeadas que retirou no passo 1 (Figura 7).

Aperte os parafusos e porcas com uma força de 91 a 113 N·m.
Repita os passos 1 a 4 no lado oposto da máquina.
Peças necessárias para este passo:
| Conjunto de depósito e patim | 1 |
| Pinos de forquilha | 2 |
| Passador de forquilha afunilado | 2 |
| Pernos de gancho | 2 |
| Pinos de sujeição | 4 |
| Parafuso (½ pol. x 1½ pol.) | 2 |
| Porcas (½ pol.) | 2 |
O depósito do pulverizador representa um perigo de energia acumulada. Se não estiver preso de forma adequada quando é instalado ou removido pode deslocar-se ou cair e feri-lo a si e a outras pessoas presentes.
Utilize correias e um elevador de suspensão para apoiar o depósito do pulverizador durante a instalação, remoção ou qualquer trabalho de manutenção sempre que remover os dispositivos de fixação.
Utilizando um elevador, eleve o patim do depósito (Figura 8) e posicione-o por cima da estrutura do veículo com os conjuntos da válvula e da bomba voltados para trás.
Note: Deve ter a ajuda de outra pessoa para executar os seguintes passos.

Baixe lentamente o patim do depósito para a estrutura da máquina.
Estenda os cilindros de elevação para os suportes no patim do depósito e alinhe as uniões do cilindro com os furos nos suportes do patim do depósito (Figura 9).

Prenda o patim do depósito aos cilindros de elevação com os passadores de forquilha e pernos de gancho em ambos os lados da máquina.
Alinhe os furos nos olhais de articulação na parte de trás do patim do depósito com os furos no tubo articulado da plataforma na extremidade da estrutura do veículo (Figura 10).

Instale um passador de forquilha afunilado e 2 pinos de sujeição no olhal de articulação para prender o depósito na estrutura (Figura 10).
Estenda os cilindros de elevação para elevar o depósito e suportar o respetivo peso.
Note: Desligue o conjunto do depósito do equipamento de elevação.
Retire o suporte da plataforma dos suportes existentes na parte de trás do painel do sistema ROPS (Figura 11).

Introduza o apoio da plataforma na haste do cilindro, assegurando que as linguetas encostam à extremidade do cilindro e à extremidade da haste do cilindro (Figura 12).

Retire a braçadeira de cabos que prende a válvula de drenagem e o tubo do depósito do pulverizador ao canal do patim (Figura 13).

Mova a válvula de drenagem e o tubo para fora do canal do patim (Figura 14A).

Retire os dois parafusos de cabeça flangeada (5/16 pol. x ⅝ pol.) da caixa da válvula de drenagem (Figura 14).
Monte a válvula de drenagem no suporte da válvula de drenagem (Figura 14B) com os dois parafusos de cabeça flangeada (5/16 pol. x ⅝ pol.) que retirou no passo 3.
Aperte os dois parafusos de cabeça flangeada à mão (Figura 14B).
A ligação incorreta dos cabos da bateria poderá danificar o pulverizador e os cabos produzindo faíscas. As faíscas podem provocar uma explosão dos gases da bateria, resultando em acidentes pessoais.
Desligue sempre o cabo negativo (preto) antes de desligar o cabo positivo (vermelho).
Ligue sempre o cabo positivo (vermelho) antes de ligar o cabo negativo (preto).
Os terminais da bateria e as ferramentas de metal poderão provocar curto-circuitos noutros componentes do veículo, produzindo faíscas. As faíscas podem provocar uma explosão dos gases da bateria, resultando em acidentes pessoais.
Quando retirar ou montar a bateria, não toque com os terminais da bateria noutras peças metálicas do pulverizador.
Deverá evitar quaisquer curto-circuitos entre os terminais da bateria e as peças metálicas do pulverizador.
Na cablagem do pulverizador, localize o conetor de três tomadas do circuito do sensor de velocidade e o conetor de três pinos do circuito do veículo.
Na transmissão da máquina, ligue o conetor de três pinos da cablagem da máquina para o sensor de velocidade ao conetor de 3 tomadas da cablagem do pulverizador para o sensor de velocidade (Figura 16).

Ligue o conetor de três pinos para o circuito do veículo da cablagem do pulverizador ao conetor de três pinos para o circuito do veículo da cablagem da máquina.
Consulte as Instruções de Instalação para o kit de acabamento do pulverizador de relva Multi Pro WM, veículo utilitário Workman manual.
Peças necessárias para este passo:
| Suporte de montagem da consola | 1 |
| Porca flangeada (5/16 pol.) | 3 |
| Parafuso de cabeça flangeada (5/16 pol.) | 3 |
| Casquilho plástico | 2 |
| Consola de controlo | 1 |
| Pino de clipe de mola | 1 |
| Manípulo | 1 |
Note: Em alguns veículos Workman, a placa de montagem do controlo está presa ao tablier no mesmo ponto que o suporte do acelerador de mão opcional se encontra montado. Se for instalado o kit de acelerador de mão, tem de remover o suporte do conjunto do acelerador de mão do tablier, alinhar a placa de montagem de controlo com o tablier e instalar o suporte do acelerador de mão na parte superior da placa de montagem de controlo. Consulte as Instruções de instalação do kit do acelerador de mão para obter instruções sobre como remover e instalar o acelerador.
Retire os três parafusos e as três porcas que prendem a parte central inferior do painel de instrumentos ao suporte de apoio do painel (Figura 17).
Note: Algumas máquinas Workman mais antigas podem utilizar 4 parafusos e porcas frangeadas.
Note: Elimine os parafusos e as porcas.

Alinhe os furos no suporte de montagem da consola de controlo com os furos no tablier e suporte de apoio (Figura 17).
Monte o painel de instrumentos do suporte de montagem e suporte de apoio com três parafusos de cabeça flangeada (5/16 pol. x 1 pol.) e três porcas de bloqueio flangeadas (5/16 pol.)..
Aperte os parafusos e porcas com uma força de (Figura 17).
Insira os dois casquilhos plásticos no suporte de montagem (Figura 17).
Retire o perno de gancho que fixa o pino da articulação da consola de controlo ao suporte de armazenagem no depósito do pulverizador.
Instale a consola de controlo no suporte de montagem de controlo e prenda a consola utilizando o pino do clipe de mola (Figura 18).
Note: Certifique-se de que o clipe de mola é rodado sobre o pino da articulação para prender o pino do clipe de mola.

Instale o botão manual e aperte-o para evitar que a consola rode durante a operação (Figura 18).
Peças necessárias para este passo:
| Grampos em forma de J | 3 |
| Parafuso (¼ pol. x ¾ pol.) | 1 |
| Porca flangeada (¼ pol.) | 1 |
Instale 2 clipes J no centro da consola com os parafusos existentes.

Instale um gancho em J por detrás do banco do passageiro utilizando um parafuso (¼ x ½ pol.) e uma porca flangeada (¼ pol.).

Prenda a cablagem da consola à consola e à cobertura do sistema de proteção contra capotamento utilizando ganchos em J.
Alinhe o conetor de 3 pinos da cablagem traseira do pulverizador com o conetor de 3 tomadas da cablagem frontal ligada à consola de controlo.

Encaixe o conetor de 24 pinos da cablagem traseira do pulverizador no conetor de 24 tomadas da cablagem frontal ligada à consola de controlo.
Vire a alavanca do conector de 24 pinos para bloquear os 2 conectores encaixados.
Peças necessárias para este passo:
| Autocolante de fusível (127–3966) | 1 |
Na consola de controlo do pulverizador, encaminhe o ramal da cablagem frontal com os blocos de fusíveis entre a parte inferior do painel de instrumentos e o tubo transversal da estrutura da máquina e para baixo na direção da frente do bloco de fusíveis da máquina (Figura 22).

Localize o terminal do recetáculo não isolado no final do fio de alimentação amarelo aberto do bloco de fusíveis da máquina e o terminal de lâmina isolado no final do fio amarelo de alimentação opcional do bloco de fusíveis dos fios do pulverizador (Figura 23).

Localize o terminal do recetáculo não isolado do bloco de fusíveis da máquina ao terminal da lâmina isolado do bloco de fusíveis do pulverizador (Figura 23).
Alinhe as uniões em T no bloco de fusíveis do pulverizador com as ranhuras em T do bloco de fusíveis da máquina e deslize o bloco de fusíveis do pulverizador para as ranhuras até que o bloco de fusíveis esteja totalmente encaixado (Figura 24).

Coloque o autocolante dos fusíveis numa superfície próxima do bloco de fusíveis do pulverizador.
Peças necessárias para este passo:
| Parafuso do terminal da bateria | 2 |
| Porca de fixação | 2 |
| Tampa – larga (terminal da bateria – vermelha) | 1 |
A ligação incorreta dos cabos da bateria poderá danificar o pulverizador e os cabos produzindo faíscas. As faíscas podem provocar uma explosão dos gases da bateria, resultando em acidentes pessoais.
Ligue sempre o cabo positivo (vermelho) antes de ligar o cabo negativo (preto).
Retire os parafusos em T e as porcas das braçadeiras dos cabos da bateria positivos e negativos (Figura 25).
Note: Já não precisa das porcas e dos parafusos em T.

Retire a tampa (estreita) do cabo positivo da bateria (Figura 26).
Note: Já não precisa da tampa estreita do cabo positivo da bateria.

Instale a tampa larga da bateria sobre o cabo positivo da bateria como se mostra na Figura 26.
Note: Deslize a tampa o suficiente sobre os cabos para permitir o acesso ao grampo do borne.
Alinhe o terminal de anel da ligação do fusível (cablagem do pulverizador) através da tampa larga da bateria como se mostra na Figura 27.

Monte sem apertar um parafuso terminal e uma porca de fixação nas abraçadeiras dos cabos positivo e negativo da bateria (Figura 28).

Alinhe o terminal de anel da ligação do fusível (cablagem do pulverizador) ao borne do parafuso terminal que montou no cabo positivo da bateria com uma porca de fixação (Figura 29).

Prenda o terminal de anel do cabo negativo (preto – cablagem do pulverizador) ao borne do parafuso terminal que montou no cabo negativo da bateria com uma porca de fixação (Figura 29).
Ligue o cabo positivo da bateria ao borne positivo da bateria e aperte a porca de fixação à mão (Figura 30).

Ligue o cabo negativo da bateria ao borne negativo da bateria e aperte a porca de fixação à mão.
Aperte as partes laterais da tampa da bateria, alinhe as patilhas da tampa com as ranhuras da base da bateria e remova a tampa da bateria (Figura 31).

Peças necessárias para este passo:
| Parafuso (½ pol. x 1½ pol.) | 2 |
| Porca de bloqueio (½ pol.) | 2 |
Ligue a máquina e eleve o patim do depósito ligeiramente com os cilindros de elevação.
Remova o apoio da plataforma do cilindro de elevação e guarde-o nos suportes de armazenamento na parte de trás do painel do ROPS (Figura 32 e Figura 33).


Utilize os cilindros de elevação para baixar lentamente o depósito para a estrutura.
Note: Outra pessoa deve observar o patim do depósito à medida que desce. Procure tubos e fios que possam ficar entalados ou dobrados.
Verifique o alinhamento do patim do depósito e a estrutura do veículo.
Retire os painéis de acesso em ambos os lados da estrutura do patim (Figura 34).

Verifique os tubos e fios que possa observar através da abertura na estrutura do patim para ver se há sinais de estarem entalados ou dobrados.
Important: Se houver tubagens ou cabos no patim do depósito que estejam entalados ou dobrados, levante o conjunto, ajuste o seu posicionamento e volte a prender os itens.
Alinhe os suportes de montagem dianteiros com os suportes de fixação montados na Instalação dos suportes de fixação do patim do depósito.
Prenda o suporte de fixação do conjunto do patim do depósito à estrutura da plataforma na estrutura de cada lado da máquina com um parafuso (½ pol. x 1½ pol.) e uma porca de bloqueio (½ pol.) como se mostra na Figura 34.
Aperte o parafuso e a porca com uma força de 91 a 113 N·m..
Repita os passos 7 a 9 no lado oposto do patim do depósito e da máquina.
Peças necessárias para este passo:
| Rampa central | 1 |
| Parafuso (⅜ pol. x 1 pol.) | 10 |
| Porca de flange (⅜ pol.) | 10 |
| Cavidade de transporte das rampas | 2 |
| Parafuso (½ pol. x 1¼ pol.) | 4 |
| Porca flangeada (½ pol.) | 4 |
Ligue o equipamento de elevação à secção da rampa central e retire-a do contentor de transporte.
Alinhe as cavidades de transporte da rampa com a secção da rampa central (Figura 35).

Monte as cavidades na secção da rampa (Figura 35 e Figura 36) com seis parafusos (⅜ pol. x 1 pol.) e seis porcas de bloqueio flangeadas (⅜ pol.).

Aperte os parafusos e porcas com uma força de 37 a 45 N·m.
Ligue a máquina, retire o suporte da plataforma do cilindro de elevação e guarde o suporte, desça o patim do depósito, desligue a máquina e retire a chave da ignição.
Alinhe o orifício inferior nos suportes de montagem de secção do conjunto da rampa central com o terceiro furo da parte inferior nos suportes da rampa na estrutura do patim de pulverização, como se mostra na Figura 37.
Note: Caso necessário, desaperte os suportes da rampa e ajuste-os à secção da rampa central para um melhor alinhamento. Aperte os parafusos e porcas com uma força de 67 a 83 N·m.

Monte o conjunto da rampa central na estrutura do patim de pulverização com quatro parafusos (½ pol. x 1¼ pol.) e quatro porcas de bloqueio (½ pol.).
Aperte os parafusos e porcas com uma força de 67 a 83 N·m.
Consulte as instruções de instalação do kit de acabamento do pulverizador de relva Multi Pro WM, veículo utilitário Workman manual.
Peças necessárias para este passo:
| Secção da rampa esquerda | 1 |
| Secção da rampa direita | 1 |
| Parafusos de cabeça flangeada (⅜ pol. x 1¼ pol.) | 8 |
| Placas posteriores | 8 |
| Porcas de bloqueio flangeadas (⅜ pol.) | 8 |
| Passador de forquilha | 2 |
| Perno de gancho | 2 |
Cada secção das rampas pesa cerca de 14 kg.
Retire os quatro parafusos de cabeça flangeada (⅜ pol. x 1¼ pol.), quatro placas posteriores e quatro porcas flangeadas (⅜ pol.) do suporte da articulação da secção da rampa central.
Rode cada suporte articulado no final da secção da rampa central de forma a que os suportes alinhem verticalmente (Figura 38).

Eleve a secção da rampa exterior e alinhe os furos na placa de montagem triangular no final da secção da rampa exterior com os furos no suporte articulado.
Note: Certifique-se de que todas as cabeças dos bicos de pulverização estão voltadas para a parte de trás.
Monte a placa da articulação na placa triangular com quatro parafusos de cabeça flangeada, quatro placas posteriores e quatro porcas de bloqueio flangeadas (Figura 38) que removeu no passo 1.
Aperte os parafusos e porcas com 37 a 45 N·m.
Alinhe a extremidade da barra do cilindro de elevação da rampa com os furos na buzina do suporte articulado (Figura 38).

Prenda a extremidade da barra ao suporte articulado com um passador de forquilha e perno de gancho (Figura 38).
Repita os passos 1a 5 do outro lado da rampa central com a extensão da rampa oposta.
Note: Antes de concluir este procedimento, certifique-se de que todas as cabeças dos bicos de pulverização estão voltadas para a parte de trás.
Peças necessárias para este passo:
| Braçadeiras de tubos | 3 |
| Grampo em R | 2 |
| Parafuso com olhal | 2 |
| Anilha | 2 |
| Porca | 2 |
Oriente as tubagens das secções das rampas como indicado na Figura 40 e na Figura 41.


Prenda os tubos da rampa ao lado da frente da secção da rampa central (Figura 40 e Figura 41) com um grampo em R, um parafuso com olhal (5/16 pol. x 1 pol.), uma porca de bloqueio (5/16 pol.) e uma anilha (5/16 pol.).
Instale o tubo da secção da rampa sobre a união em T na secção da rampa e prenda o tubo com uma braçadeira de tubos (Figura 40 e Figura 41).
Note: Aplique uma camada de sabão líquido na parte estriada do tubo da união em T para facilitar a instalação do tubo.
Repita os passos 1a 3 no tubo para a secção da rampa do outro lado do pulverizador.
Oriente a tubagem da secção da rampa central como se mostra na Figura 42.

Instale o tubo da secção da rampa sobre a união em T estriada na secção da rampa central e prenda o tubo com uma braçadeira de tubos (Figura 42).
Note: Aplique uma camada de sabão líquido na parte estriada do tubo da união em T para facilitar a instalação do tubo.
Os bicos que utiliza para aplicar os seus químicos variam dependendo da taxa da aplicação que precisa; por essa razão os bicos não são fornecidos com o kit. Para obter os bicos corretos para as suas necessidades, contacte o seu distribuidor autorizado da Toro e prepare-se para lhe fornecer as seguintes informações:
A taxa da aplicação alvo está indicada em litros por hectare, galões EUA por acre e galões dos EUA por 1000 pés quadrados.
A velocidade alvo do veículo é em quilómetros por hora ou em milhas por hora.
Enrosque ou insira o bico no recetáculo do bico seguido de uma junta.
Faça deslizar o recetáculo do bico por cima do acessório do bico numa cabeça.
Rode o bico no sentido dos ponteiros do relógio para prender os cames do recetáculo no lugar.
Verifique a parte da ventoinha do bico.
Consulte as Instruções de instalação que acompanham os bicos para mais informações.
Peças necessárias para este passo:
| Depósito de água limpa | 1 |
| Cotovelo de 90° (NPT de ¾ pol.) | 1 |
| Torneira 90° | 1 |
| Montagem do depósito de água limpa | 1 |
| Correia de montagem | 4 |
| Perno com cabeça de flange (5/16 pol. x ⅝ pol.) | 4 |
| Porca flangeada (5/16 pol.) | 10 |
| Tubo de apoio (depósito de água limpa) | 1 |
| Porca de retenção (5/16 pol.) | 1 |
| Parafuso (5/16 x 1 pol.) | 1 |
| Parafuso de olhal (½ pol. x 1-15/16 pol.) | 2 |
| Parafuso (5/16 pol. x 2¼ pol.) | 2 |
| Anilha (5/16 pol.) | 2 |
Monte o depósito de água limpa na montagem do depósito com as duas correias de montagem, quatro parafusos de cabeça flangeada (5/16 pol. x ⅝ pol.) e quatro porcas flangeadas (5/16 pol.) como se mostra na Figura 43.
Note: Certifique-se de que cada cotovelo e torneira estão alinhados para o mesmo lado do depósito de acordo com o autocolante do depósito de água limpa.

Aperte os parafusos e porcas com uma força de 20 a 25 N·m.
Alinhe o tubo de apoio do depósito de água limpa com o canal de suporte do depósito (Figura 44).

Alinhe os orifícios do tubo de apoio com os orifícios no canal (Figura 44).
Prenda o tubo ao canal (Figura 44) com os dois parafusos com olhal (½ pol. x 1-15/16 pol.) e duas porcas de bloqueio (5/16 pol.).
Aperte os parafusos e porcas com uma força de 20 a 25 N·m.
Enrosque a porca de retenção (5/16 pol.) no parafuso (5/16 pol. x 1 pol.) como se mostra na Figura 44.
Enrosque o parafuso (5/16 pol. x 1 pol.) e uma porca de retenção na porca soldada na parte inferior do canal de suporte do depósito e aperte o parafuso e a porca à mão (Figura 44).
Note: O pulverizador Multi-Pro WM exige que esteja instalado um sistema de proteção anticapotamento (ROPS) de quatro postes ou cabina no veículo Workman.
Monte o depósito de água limpa e instale no tubo de suporte com os dois parafusos (5/16 pol. x 2¼ pol.) e duas porcas de bloqueio flangeadas (5/16 pol.) como se mostra na Figura 45.

Aperte os parafusos e porcas com uma força de 20 a 25 N·m.
Peças necessárias para este passo:
| Conjunto do recetáculo de enchimento | 1 |
| Parafuso com cabeça flangeada (5/16 pol. x ¾ pol.) | 1 |
Coloque o conjunto do recetáculo de enchimento sobre o orifício roscado no depósito (Figura 46) e fixe-o com um parafuso de cabeça flangeada (5/16 pol. x ¾ pol.).

Peças necessárias para este passo:
| Macaco frontal | 2 |
| Macaco traseiro | 2 |
| Contrapino | 4 |
| Passador de forquilha (4½ pol.) | 2 |
| Passador de forquilha (3 pol.) | 2 |
| Manípulo | 2 |
Insira os macacos frontais de cima para baixo na estrutura perto dos pontos de fixação frontais (Figura 47).

Prenda os macacos frontais com dois passadores de forquilha (3 pol.) e dois contrapinos através do furo do meio nos macacos.
Insira os macacos traseiros de baixo para cima na estrutura perto dos pontos de fixação traseiros (Figura 48).

Prenda os macacos traseiros com quatro passadores de forquilha (4¼ pol.) e quatro contrapinos através do último furo nos macacos.

Note: Este InfoCenter de 6 botões apenas está disponível para o Workman HDX manual. Se tiver uma máquina Workman HDX automática, continue a utilizar o InfoCenter de 3 botões.
O ecrã LCD do InfoCenter mostra informações sobre a sua máquina e a bateria, como a carga atual da bateria, a velocidade, informações de diagnóstico e muito mais. Para mais informações, consultar Utilização do InfoCenter.
O interruptor principal (Figura 49) encontra-se no lado da consola e à direita do banco do operador. Permite-lhe iniciar e parar a operação de pulverização. Pressione o interruptor para ativar ou desativar o sistema de pulverização.
Os interruptores das secções esquerda, central e direita encontram-se no painel de controlo (Figura 49). Pressione cada interruptor para a frente para ativar a secção correspondente e para trás para os desativar. Quando acionar o interruptor, acende-se uma luz no próprio interruptor. Estes interruptores só vão acionar o sistema de pulverização quando o interruptor principal estiver ativado.
O interruptor da taxa de aplicação situa-se à esquerda do painel de controlo (Figura 49). Carregue e mantenha o interruptor para cima para aumentar a taxa da aplicação do sistema de pulverização, ou carregue e mantenha o interruptor para baixo para diminuir a taxa da aplicação.
Os interruptores de elevação das secções da rampa estão localizados no painel de controlo e são utilizados para elevar as secções exteriores da rampa.
A válvula de regulação, localizada atrás do depósito (Figura 50), controla a quantidade de fluido que é encaminhado para as válvulas de secção ou o caudal retorno para o depósito.

O fluxímetro mede o caudal do fluido para as válvulas de secção da rampa (Figura 50).
Utilize as válvulas de secção da rampa para ligar ou desligar a pressão do pulverizador para os bicos do pulverizador nas secções da rampa esquerda, central ou direita (Figura 50).
As válvulas de derivação de secção das rampas (Figura 51) redirecionam o fluxo do fluido de uma rampa para o depósito quando se desliga a secção da rampa. É possível ajustar estas válvulas para garantir uma pressão constante da rampa, independentemente da combinação de rampas que estiver a operar; consulte Calibração das válvulas de derivação da secção.

Esta válvula situa-se no lado posterior esquerdo do depósito (Figura 52). Rode o manípulo da válvula para a posição das 6 horas para acionar a agitação do depósito e para a posição das 8 horas para desativar esta função.

Note: Nos modelos da série HD com transmissão manual, para que se realize a agitação, a tomada de força e a embraiagem devem estar engatadas e o motor deve estar a um regime mais elevado que o ralenti. Se parar o pulverizador e precisar de agitar o conteúdo do depósito, coloque a alavanca das mudanças em PONTO MORTO, solte a embraiagem, engate o travão de estacionamento e ative o acelerador de mão (caso esteja equipado).
A bomba do pulverizador encontra-se na traseira da máquina.
Na consola central da máquina, mova a alavanca da tomada de força para a posição ENGAGE (ativar) para ligar a bomba; mova a alavanca da tomada de força para a posição DISENGAGE (desativar) para parar a bomba. Consulte o Manual do utilizador do veículo utilitário Workman HDX.

Note: As especificações e o desenho do produto estão sujeitos a alterações sem aviso prévio.
| Peso do sistema de pulverização base (peso do veículo não incluído) | 424 kg |
| Capacidade do depósito | 757 litros |
| Largura total do veículo com o sistema pulverizador padrão | 422 cm |
| Altura total do veículo com o sistema pulverizador padrão até à parte superior do depósito. | 147 cm |
| Altura total do veículo com o sistema de pulverização padrão e as rampas armazenadas na posição X | 234 cm |
| Largura total do veículo com o sistema de pulverização padrão e as rampas armazenadas na posição X | 175 cm |
Está disponível uma seleção de engates e acessórios aprovados pela Toro para utilização com a máquina, para melhorar e expandir as suas capacidades. Contacte o seu representante ou distribuidor de assistência autorizado ou vá a www.Toro.com para obter uma lista de todos os engates e acessórios aprovados.
Para garantir o máximo desempenho e segurança contínua certificada da máquina, adquira sempre peças sobressalentes e acessórios genuínos da Toro.
Note: Determine os lados direito e esquerdo da máquina a partir da posição normal de utilização.
Note: Se necessitar de transportar o veículo num atrelado com o pulverizador instalado, certifique-se de que as rampas estão bem presas.
Nunca permita que crianças ou pessoal não qualificado utilizem ou procedam à assistência técnica da máquina. Os regulamentos locais podem determinar restrições relativamente à idade do utilizador. A formação de todos os operadores e mecânicos é da responsabilidade do proprietário.
Familiarize-se com o funcionamento seguro do equipamento, com os controlos do utilizador e com os sinais de segurança.
Antes de sair da posição de operador, faça o seguinte:
Estacione a máquina numa superfície nivelada.
Mude a transmissão para PONTO-MORTO.
Engate o travão de estacionamento.
Desligue o motor e retire a chave (se equipada).
Aguarde que todo o movimento pare.
Saiba como parar a máquina e desligar o motor rapidamente.
Verifique se os controlos de presença do operador, os interruptores de segurança e os resguardos estão corretamente montados e a funcionar corretamente. Não utilize a máquina se estes componentes não estiverem a funcionar corretamente.
Se a máquina não funcionar corretamente ou se estiver de alguma forma danificada não utilize a máquina. Corrija o problema antes de utilizar a máquina ou o engate.
Certifique-se de que todas as ligações e tubagens do sistema hidráulico se encontram bem apertadas e em bom estado de conservação antes de colocar o sistema sob pressão.
As substâncias químicas utilizadas no sistema de pulverização podem ser perigosas e tóxicas para si ou outras pessoas presentes, animais, plantas, solos ou outros bens.
Leia as informações sobre cada produto químico. Recuse operar ou trabalhar no pulverizador se esta informação não estiver disponível.
Antes de trabalhar num sistema de pulverização, certifique-se de que foi neutralizado e lavado três vezes, de acordo com as recomendações do(s) fabricante(s) do(s) produto(s) químico(s), e de que todas as válvulas passaram por três ciclos.
Verifique se existe uma fonte de água limpa e sabão nas proximidades e lave imediatamente qualquer produto químico que entre em contacto consigo.
Leia atentamente e siga as etiquetas de advertência química e folhas de dados de de segurança (FDS) de todos os produtos químicos usados e proteja-se de acordo com as recomendações do fabricante do produto químico.
Proteja sempre o seu corpo quando utilizar químicos. Utilize Equipamento de Proteção Pessoal (EPP) para proteção contra o contato com produtos químicos como:
óculos de segurança, óculos e/ou resguardo do rosto
roupa de proteção química
um respirador ou máscara de filtro
luvas resistentes a produtos químicos
botas de borracha ou outro calçado resistente
uma muda de roupa limpa, sabão e toalhas descartáveis para limpeza
Esteja devidamente preparado antes de utilizar ou manusear os produtos químicos.
Utilize o químico adequado para o trabalho que vai realizar.
Siga as instruções do fabricante para a aplicação em segurança do químico. Não exceda a pressão recomendada de aplicação do sistema.
Não encha, calibre, nem limpe a máquina enquanto estiverem pessoas, especialmente crianças ou animais de estimação, na área.
Prepare os químicos numa zona bem ventilada.
Não coma, não beba, nem fume quando estiver a trabalhar perto de químicos.
Não limpe os bicos de pulverização, ao soprar através deles ou colocando-os na boca.
Assim que acabar de trabalhar com produtos químicos, lave sempre as mãos e outras zonas do corpo expostas ao químico.
Mantenha os produtos químicos nas embalagens originais e guardados num local seguro.
Elimine corretamente os químicos inutilizados e os recipientes dos químicos de acordo com as recomendações do fabricante e as normas locais.
Os produtos químicos e os gases são perigosos; nunca entre dentro do tanque nem coloque a cabeça na abertura.
Cumpra todos os regulamentos locais/estatais/federais para a aplicação e pulverização de produtos químicos.
Note: Este InfoCenter de 6 botões apenas está disponível para o Workman HDX manual. Se tiver uma máquina Workman HDX automática, continue a utilizar o InfoCenter de 3 botões.
O ecrã LCD InfoCenter mostra informações sobre sua máquina, como o estado de funcionamento, vários diagnósticos e outras informações sobre a máquina. Existe um ecrã de inicialização e um ecrã de informações principal do InfoCenter. Pode alternar entre o ecrã de inicialização e o ecrã de informações principal a qualquer altura pressionando qualquer um dos botões do InfoCenter e, em seguida, selecionando a seta direcional adequada.

Note: O objetivo de cada botão pode mudar, dependendo de que função está ativa no momento. O ecrã LCD mostra um ícone acima de cada botão que indica a função atual.
![]() | Menu | ![]() | Depósito vazio (menos de 10% do volume) | |
![]() | Deslizar para cima/baixo | ![]() | Depósito baixo (10% a 29% do volume) | |
![]() | Deslizar para a esquerda/direita | ![]() | Depósito meio cheio (30% a 69% do volume) | |
![]() | Ecrã anterior | ![]() | Depósito cheio (70% a 100% do volume) | |
![]() | Diminuir o valor | ![]() | Aumentar o volume do depósito em 1 galão | |
![]() | Aumentar o valor | ![]() | Aumentar o volume do depósito em 10 galões | |
![]() | Aceitar | ![]() | Aumentar o volume do depósito em 25 litros | |
![]() | Guardar | ![]() | A rampa está desligada | |
![]() | Código PIN | ![]() | A rampa está ligada | |
![]() | Sair (avarias) do menu | ![]() | Limpar todas as áreas | |
![]() | Tensão da bateria | ![]() | Área ativa limpa | |
![]() | Contador de horas | ![]() | Áreas pulverizadas | |
![]() | Bloqueado | ![]() | Ecrã de todas as áreas | |
![]() | Navegar para uma área de pulverização | |||
![]() | Navegar para uma área de pulverização |
Para aceder ao sistema de menus do InfoCenter, prima o botão de retrocesso quando está no ecrã principal. Será redirecionado para o menu principal. Consulte as tabelas seguintes para obter uma sinopse das opções disponíveis dos menus.
Protegido
sob os menus protegidos – acessível apenas inserindo
o PIN.
| Item do menu | Descrição |
| Calibração | O menu Calibração auxilia na calibração do fluxímetro e do sensor de velocidade. |
| Definições | O menu Definições permite-lhe personalizar e alterar as variáveis de configuração do ecrã. |
| Definições da máquina | O menu Definições da máquina permite-lhe configurar as variáveis da máquina. |
| Manutenção | O menu Manutenção contém informações sobre a máquina, como as horas de utilização e avarias da máquina. |
| Diagnósticos | O menu Diagnósticos apresenta o estado de cada interruptor, sensor e controlos de saída da máquina. Pode utilizar este menu para solucionar determinados problemas, uma vez que o informa rapidamente que controlos da máquina estão ligados e quais estão desligados. |
| Acerca | O menu Acerca indica o número do modelo, número de série e versão de software da sua máquina. |
| Item do menu | Descrição |
| Velocidade de teste | Define a velocidade de teste para calibração. |
| Flow Cal (Calibração de fluxo) | Calibra o fluxímetro. |
| Speed Cal (Calibração de velocidade) | Calibra o sensor de velocidade. |
| Usa a calibração de fluxo predefinida. | Repõe a calibração de fluxo para a média padrão calculada, não o volume real. |
| Usa a calibração de velocidade predefinida. | Repõe a calibração de velocidade para a média padrão calculada, não a velocidade real. |
| Item do menu | Descrição |
| Editar PIN | Permite a uma pessoa (superintendente/mecânico) autorizada pela sua empresa com o código PIN aceder aos menus protegidos. |
Proteger definições ![]() | Permite alterar as definições das definições protegidas. |
Repor predefinições ![]() | Repõe os valores predefinidos. |
| Retroiluminação | Controla o brilho do ecrã LCD.. |
| Idioma | Controla o idioma utilizado no ecrã. |
| Unidades | Controla as sistema de unidades utilizado no ecrã (imperial ou métrico). |
| Item do menu | Descrição |
| Tank Alert (alerta do depósito) | Define o alerta de volume de depósito reduzido. |
Left Boom (rampa esquerda) ![]() | Ajusta a largura da secção esquerda. |
Center Boom ![]() | Ajusta a largura da secção central. |
Right Boom ![]() | Ajusta a largura da secção direita. |
Reset Defaults ![]() | Repõe os valores predefinidos. |
| Item do menu | Descrição |
| Faults (avarias) | O menu Faults contém uma lista das avarias recentes da máquina. Consulte o Manual de manutenção ou o seu distribuidor autorizado da Toro para mais informações acerca do menu Faults e as respetivas informações. |
| Hours (horas) | Indica o número total de horas que a máquina, o motor e tomada de força estiveram a funcionar, bem como o número de horas que a máquina foi transportada e quando deve efetuar a manutenção. |
Flow rate ![]() | Indica a taxa de fluxo atual. |
Flow Cal Value![]() | Apresenta o multiplicador atual utilizado para calcular a diferença entre o fluxo assumido e o fluxo calibrado. |
Speed Cal Value![]() | Apresenta o multiplicador atual utilizado para calcular a diferença entre a velocidade assumida e a velocidade calibrada. |
| Item do menu | Descrição |
| Pumps (bombas) | Acede às opções de lavagem momentânea e lavagem programada. |
| Booms (rampas) | Acede às entradas, qualificações e saídas das rampas. |
| Engine Run (funcionamento do motor) | Acede às entradas e saídas do funcionamento do motor. |
| Item do menu | Descrição |
| Model (modelo) | Indica o número do modelo da máquina. |
| SN (número de série) | Indica o número de série da máquina. |
| S/W Revision (revisão de software) | Indica a revisão de software do controlador principal. |
XDM–2700 ![]() | Indica a revisão de software do InfoCenter. |
CAN Stats (estados CAN) ![]() | Indica os estados do barramento CAN. |
Algumas definições de configuração existentes são ajustáveis dentro as Definições do ecrã. Para bloquear estas definições, utilize o Menu protegido.
Note: No ato de entrega, a palavra-passe é programada pelo seu distribuidor.
Note: O PIN por defeito vindo de fábrica para a sua máquina é 0000 ou 1234.
Se tiver alterado o PIN e se esquecer do mesmo, entre em contacto com o distribuidor autorizado da Toro para obter ajuda.
A partir do Menu principal, percorra até ao menu Definições e prima o botão de seleção.

Nas Definições, percorra até Enter PIN (introduzir PIN) e prima o botão de seleção.
Para introduzir o PIN, prima os botões de navegação cima/baixo até surgir o primeiro dígito correto e depois prima o botão direito para avançar para o próximo dígito. Repita este passo até introduzir o último dígito.
Pressione o botão de seleção.
Note: Se o ecrã aceitar o PIN e o menu protegido tiver sido desbloqueado, é apresentada a palavra “PIN” no canto superior direito do ecrã.
Para bloquear o menu protegido, rode a chave para a posição OFF (desligar) e depois para a posição ON (ligar).

Nas Definições , percorra até Proteger definições.
Para ver e alterar as definições sem introduzir um PIN, utilize o botão de seleção para alterar Proteger definições para Off (desligar).
Para ver e alterar as definições com um PIN, utilize o botão de seleção para alterar Proteger definições para On (ligar), e rode a chave para a posição OFF (desligar) e depois para a posição ON (ligar).
Selecione Definições da máquina.
Selecione Tank Alert (alerta do depósito).

Utilize os botões de direção para introduzir a quantidade mínima no depósito quando o alerta é mostrado durante a operação do pulverizador.
Selecione Definições da máquina.
Selecione a rampa que gostaria de atualizar.
Utilize os botões de direção para alterar a largura das rampas em incrementos de 2,5 cm.
| Definição | Valor predefinido |
| Test Speed (velocidade de teste) | 0,0 |
| Spray Tank Alert (alerta do depósito do pulverizador) | 1 gal/L |
| L Boom (rampa esquerda) | 203 cm |
| C Boom (rampa central) | 152 cm |
| R Boom (rampa direita) | 80 pol. (152 cm) |
Selecione Definições da máquina e Reset Defaults (repor predefinições).
Note: Alterar o volume irá repor o alerta do depósito.
Prima a tecla ENTER para navegar para a direita. O ecrã irá mostrar o volume do depósito atual.
Prima o botão para aumentar ou diminuir o volume do depósito.
Prima os botões de direção cima/baixo para avançar ±10 (para unidades do sistema imperial) ou ±25 (para unidades do sistema métrico).
Prima os botões de direção esquerda/direita para alterar o volume em incrementos de 1 unidade.

Estes ecrãs mostram:
Área pulverizada (acres, hectares ou 1000 pés2)
Volume pulverizado (galões EUA ou litros)
As informações de área e volume acumulam até que as reponham. Pode utilizar uma subárea individual para cada tarefa de pulverização. Pode utilizar até 20 subáreas.
Note: Certifique-se de que navega para a subárea em que está a trabalhar antes de iniciar a pulverização. A subárea mostrada no ecrã é a subárea ativa para a acumulação de cobertura.
Prima o botão RETROCEDER para navegar para o ecrã Total Area.
Prima o botão DIREITA para repor os dados do ecrã Total Area.
Note: Repor os dados da área total e do volume total no ecrã da área total repõe todos os dados de cada subárea.

Prima o botão RETROCEDER para navegar para o ecrã Sub Area.
Prima o botão CIMA e reponha os dados da subárea.

O conselho ao utilizador surge automaticamente no ecrã do InfoCenter quando uma função da máquina exige uma ação adicional. Por exemplo, se tentar iniciar o motor enquanto pressiona o pedal de tração, surge um ecrã de conselho a indicar que o pedal de tração tem de estar na posição PONTO MORTO.
Prima qualquer botão do ecrã para limpar o aviso.
| Código de conselho | Descrição |
|---|---|
| 200 | Arranque evitado – interruptor da bomba ativo |
| 201 | Arranque evitado – não está em PONTO MORTO |
| 202 | Arranque evitado – operador fora do banco |
| 203 | Arranque evitado – pedal do acelerador não está na posição inicial |
| 204 | Arranque evitado – engate do arranque com tempo expirado |
| 205 | O travão de estacionamento está engatado |
| 206 | Arranque da bomba evitado – rampa ativa |
| 207 | Arranque da bomba evitado – velocidade do motor elevada |
| 208 | Bloqueio do acelerador/velocidade evitado – bomba não ativa |
| 209 | Bloqueio do acelerador evitado – travão de mão não está engatado |
| 210 | Bloqueio de velocidade evitado – operador fora do banco ou travão de mão não está engatado |
| 211 | Bloqueio do acelerador/velocidade evitado – embraiagem ou travão de mão engatado |
| 212 | Alerta de baixo volume do depósito |
| 213 | Bomba de lavagem LIGADA |
| 220 | Calibração do sensor de fluxo |
| 221 | Calibração do sensor de fluxo – encha água no depósito e introduza o volume que encheu |
| 222 | Calibração do sensor de fluxo – ligue a bomba |
| 223 | Calibração do sensor de fluxo – ligue todas as rampas |
| 224 | Calibração do sensor de fluxo – calibração iniciada |
| 225 | Calibração do sensor de fluxo – calibração concluída |
| 226 | Calibração do sensor de fluxo – a sair do modo de calibração |
| 231 | Calibração do sensor de velocidade |
| 232 | Calibração do sensor de velocidade – encha o depósito de água limpa; carregue em seguinte |
| 233 | Calibração do sensor de velocidade – encha o pulverizador até metade com água; carregue em seguinte |
| 234 | Calibração do sensor de velocidade – introduza a distância de calibração; carregue em seguinte |
| 235 | Calibração do sensor de velocidade – marque e conduza a distância introduzida com as secções do pulverizador desligadas |
| 236 | Calibração do sensor de velocidade – calibração do sensor de velocidade em curso |
| 237 | Calibração do sensor de velocidade – calibração do sensor de velocidade concluída |
| 238 | Calibração do sensor de fluxo – desligue as rampas |
| 241 | Calibração fora dos limites, utilizando o padrão |
Verifique os seguintes elementos diariamente, antes de começar a utilizar o pulverizador:
Verifique a pressão de ar dos pneus.
Note: Os pneus desta máquina são diferentes dos utilizados normalmente nos automóveis; necessitam de uma pressão de ar menor, de modo a minimizar a compactação e danificação da relva.
Verifique o nível de todos os fluidos e adicione a quantidade de fluido necessária para manter os níveis corretos.
Funcionamento do pedal dos travões.
Verifique se as luzes funcionam corretamente.
Rode o volante para a esquerda e para a direita para verificar a direção.
Desligue o motor e verifique se existem fugas de óleo, peças soltas ou quaisquer outros problemas.
Se existir algum problema com qualquer um dos elementos referidos anteriormente, deverá avisar o mecânico ou o seu supervisor antes de utilizar o pulverizador. É possível que tenha de verificar outros elementos diariamente, por isso pergunte que inspeções são da sua responsabilidade.
Note: Consulte o guia de seleção dos bicos que se encontra disponível através do seu distribuidor autorizado Toro.
As estruturas dos bicos suportam até 3 tipos diferentes de bicos.
Pare o pulverizador numa superfície nivelada, desligue o motor, engate o travão de estacionamento e retire a chave.
Coloque o interruptor principal e o interruptor da bomba de pulverização na posição DESLIGAR.
Rode o suporte dos bicos em qualquer um dos sentidos para escolher a configuração correta do bico.
Proceda à calibração do fluxo; consulte Calibração do fluxo do pulverizador.
Equipamento de série: filtro de sucção de rede 50 (azul)
Utilize a tabela de filtro de sucção para identificar a rede do filtro dos bicos de pulverização que está a utilizar com base nos produtos químicos ou soluções com uma viscosidade equivalente à água.
| Código de cores do bico de pulverização (taxa de caudal) | Tamanho da rede de filtro* | Código de cores do filtro |
|---|---|---|
| Amarelo (0,2 gpm) | 50 | Azul |
| Vermelho (0,4 gpm) | 50 | Azul |
| Castanho (0,5 gpm) | 50 (ou 30) | Azul (ou verde) |
| Cinzento (0,6 gpm) | 30 | Verde |
| Branco (0,8 gpm) | 30 | Verde |
| Azul (1,0 gpm) | 30 | Verde |
| Verde (1,5 gpm) | 30 | Verde |
| *O tamanho da rede dos filtros de sucção nesta tabela baseia-se em produtos químicos ou soluções com uma viscosidade equivalente à água. | ||
Important: Quando pulveriza com soluções ou químicos de maior viscosidade (mais espessos) com pós solúveis, talvez precise de utilizar uma rede de filtro adicional (mais grossa) para o filtro de sucção opcional; consulte Figura 61.

Quando pulveriza a uma taxa de aplicação superior, considere utilizar uma rede de filtro de sucção opcional mais grossa; consulte Figura 62.

Os tamanhos de filtros disponíveis incluem:
Equipamento de série: filtro de sucção de rede 50 (azul)
Utilize a tabela de filtro de pressão para identificar a rede do filtro dos bicos de pulverização que está a utilizar com base nos produtos químicos ou soluções com uma viscosidade equivalente à água.
| Código de cores do bico de pulverização (taxa de caudal) | Tamanho da rede de filtro* | Código de cores do filtro |
|---|---|---|
| Como exigido para produtos químicos ou soluções de menor viscosidade ou taxas de aplicação menores | 100 | Verde |
| Amarelo (0,2 gpm) | 80 | Amarelo |
| Vermelho (0,4 gpm) | 50 | Azul |
| Castanho (0,5 gpm) | 50 | Azul |
| Cinzento (0,6 gpm) | 50 | Azul |
| Branco (0,8 gpm) | 50 | Azul |
| Azul (1,0 gpm) | 50 | Azul |
| Verde (1,5 gpm) | 50 | Azul |
| Como exigido para produtos químicos ou soluções de maior viscosidade ou taxas de aplicação maiores | 30 | Vermelho |
| Como exigido para produtos químicos ou soluções de maior viscosidade ou taxas de aplicação maiores | 16 | Castanho |
| *O tamanho da rede dos filtros de pressão nesta tabela baseia-se em produtos químicos ou soluções com uma viscosidade equivalente à água. | ||
Important: Quando pulveriza com soluções ou químicos de maior viscosidade (mais espessos) com pós solúveis, talvez precise de utilizar uma rede de filtro mais grossa para o filtro de pressão opcional; consulte Figura 63.

Quando pulveriza a uma taxa de aplicação superior, considere utilizar uma rede de filtro de pressão opcional mais grossa; consulte Figura 64.

Note: A utilização do filtro opcional de ponta do bico serve para proteger a ponta do bico de pulverização e aumentar a duração.
Utilize a tabela de filtro de ponta do bico para identificar a rede do filtro dos bicos de pulverização que está a utilizar com base nos produtos químicos ou soluções com uma viscosidade equivalente à água.
| Código de cores do bico de pulverização (taxa de caudal) | Tamanho da rede de filtro* | Código de cores do filtro |
|---|---|---|
| Amarelo (0,2 gpm) | 100 | Verde |
| Vermelho (0,4 gpm) | 50 | Azul |
| Castanho (0,5 gpm) | 50 | Azul |
| Cinzento (0,6 gpm) | 50 | Azul |
| Branco (0,8 gpm) | 50 | Azul |
| Azul (1,0 gpm) | 50 | Azul |
| Verde (1,5 gpm) | 50 | Azul |
| *O tamanho da rede dos filtros dos bicos nesta tabela baseia-se em produtos químicos ou soluções com uma viscosidade equivalente à água. | ||
Important: Quando pulveriza com soluções ou químicos de maior viscosidade (mais espessos) com pós solúveis, talvez precise de utilizar uma rede de filtro mais grossa para o filtro do bico opcional; consulte Figura 65.

Quando pulveriza a uma taxa de aplicação superior, considere utilizar uma rede de filtro do bico opcional mais grossa; consulte Figura 66.

Important: Não utilize água recuperada (água cinzenta) no depósito de água limpa.
Note: O depósito de água limpa é utilizado como fonte de fornecimento de água limpa para limpar os químicos da pele, olhos ou outras zonas em caso de exposição acidental.Encha sempre o depósito de água com água limpa antes de utilizar ou misturar quaisquer químicos.
O depósito de água limpa encontra-se no ROPS, por trás do banco do passageiro (Figura 67). A máquina dispõe de um depósito de água para limpar os químicos da pele, olhos ou outras zonas em caso de exposição acidental.
Para encher o depósito, desaperte a tampa na parte superior do depósito e encha-o com água limpa. Coloque a tampa.
Para abrir a torneira do depósito de água limpa, rode o manípulo da torneira.

Instale o Kit pré-mistura química para uma mistura óptima e limpeza exterior do depósito.
Important: Sempre que possível, não utilize água recuperada (água cinzenta) no depósito de pulverização.
Important: Os químicos que utiliza têm de ser compatíveis com Viton™ (consulte a etiqueta do fabricante; se não for compatível, deve estar indicado). A utilização de um químico que não é compatível com VitonTM degrada os anéis de retenção do pulverizador, originando fugas.
Important: Depois de encher o depósito pela primeira vez, verifique se existe alguma folga nas correias. Aperte se necessário.
Purgue o sistema de pulverização do condicionador do sistema de pulverização colocando as secções a trabalhar.
Estacione a máquina numa superfície plana, mova o seletor de gama para a posição de ponto morto, engate o travão de estacionamento, desligue o motor e retire a chave.
Certifique-se que a válvula de escoamento do depósito está fechada.
Determine a quantidade de água necessária para misturar o químico que vai utilizar, segundo as indicações do fabricante.
Abra a tampa do depósito de pulverização.
Note: A tampa do depósito situa-se no centro da parte superior do depósito. Para abrir o tampão, rode o meio-tampão frontal para a esquerda e gire o tampão para abrir. Pode retirar o filtro de rede interior para limpeza. Para fechar o depósito, feche o tampão e rode o meio-tampão frontal para a direita.
Adicione 3/4 da água necessária ao depósito através do recetáculo de enchimento antissifão.
Important: Utilize sempre água limpa e nova no depósito de pulverização. Não coloque concentrado num depósito vazio.

Ponha o motor a trabalhar, engate a tomada de força e ative o acelerador de mão, caso equipado.
Rode o interruptor de agitação para a posição LIGAR.
Adicione a quantidade adequada de concentrado químico no depósito, tal como recomendado pelo fabricante do produto químico.
Important: Se estiver a utilizar um pó solúvel, misture o pó com uma pequena quantidade de água para formar uma pasta antes de a colocar no depósito.
Adicione a restante água ao depósito.
Note: Para uma melhor agitação, diminua a definição da taxa de aplicação.
| Intervalo de assistência | Procedimento de manutenção |
|---|---|
| Em todas as utilizações ou diariamente |
|
Important: Apertar demasiado os dispositivos de fixação das correias pode causar deformação e danificar o depósito e as correias.
Encha o depósito principal com água.
Verifique se há algum movimento entre as correias do depósito e o depósito (Figura 69).

Se as correias do depósito estiverem largas, aperte os parafusos e as porcas de bloqueio na parte superior das correias até estas ficarem justas à superfície do depósito (Figura 69).
Note: Não aperte demasiado as ferragens da correia do depósito.
Note: Antes de utilizar o pulverizador pela primeira vez, se alterar os bicos, ou quando necessário, calibrar o caudal do pulverizador, a velocidade e a distribuição da secção.
Encha o depósito de pulverização com água limpa.
Note: Certifique-se de que há água suficiente no depósito para realizar os procedimentos de calibração.
Baixe as secções de rampa esquerda e direita.
Configure as definições protegidas para off; consulte Utilização do InfoCenter.
Equipamento fornecido pelo operador: Cronómetro capaz de medir ± 1/10 segundo e um recipiente graduado com incrementos de 50 ml.
Note: Calibrar o fluxo do pulverizador para máquinas sem bloqueio do acelerador requer duas pessoas.
Mude a transmissão para a posição PONTO MORTO.
Engate o travão de estacionamento e ligue o motor.
Ligue a bomba do pulverizador e ligue a agitação.
Carregue no pedal do acelerador para obter a velocidade máxima do motor.
Regule a velocidade do motor da seguinte forma:
Para máquinas sem a alavanca opcional de bloqueio do acelerador, é necessária uma pessoa para pressionar o pedal do acelerador até atingir a velocidade máxima do motor.
Note: Deve ter outra pessoa para recolher amostras dos bicos de pulverização.
Para máquinas com a alavanca opcional de bloqueio do acelerador pressione o pedal do acelerador até atingir a velocidade máxima do motor e engate o bloqueio do acelerador; consulte as instruções de operação do kit de acelerador manual Workman.
Coloque os três interruptores das secções e o interruptor principal na posição LIGAR.
Prepare-se para fazer um teste de recolha utilizando o recipiente graduado.
Comece nos 2,75 bar e utilize o interruptor de taxa de aplicação para ajustar a pressão de pulverização de forma a que o teste de recolha apresente as quantidades indicadas na tabela seguinte.
Note: Recolha três amostras a 15 segundos cada e faça a média das quantidades de água recolhida.
| Cor do bico | Mililitros recolhidos em 15 segundos | Onças recolhidas em 15 segundos | ||
|---|---|---|---|---|
| Amarelo | 189 | 6,4 | ||
| Vermelho | 378 | 12,8 | ||
| Castanho | 473 | 16,0 | ||
| Cinza | 567 | 19,2 | ||
| Branco | 757 | 25,6 | ||
| Azul | 946 | 32,0 | ||
| Verde | 1.419 | 48,0 | ||
Quando o teste de recolha apresentar as quantidades indicadas na tabela acima, regule o interruptor de bloqueio da taxa de supervisor para a posição BLOQUEAR.
Coloque o interruptor principal na posição DESLIGAR.
No InfoCenter, navegue para o menu de calibração e selecione a opção de CALIBRAçãO DE FLUXO da seguinte forma:
Note: Selecionar o ícone de ecrã principal a qualquer momento cancela as calibrações.
Carregue no botão de seleção central do InfoCenter duas vezes para aceder aos menus.
Entre no menu de calibração carregando no botão de seleção direito no InfoCenter.
Selecione a opção de CALIBRAçãO DE FLUXO realçando a opção de CALIBRAçãO DE FLUXO e carregue no botão de seleção direito no InfoCenter.
No ecrã seguinte, introduza a quantidade conhecida de água que será pulverizada das secções para o procedimento de calibração; consulte a tabela abaixo.
Carregue no botão de seleção direito no InfoCenter.
Utilizando os símbolos mais (+) e menos (-) introduza o volume de acordo com a tabela abaixo.
| Cor do bico | Litros | Galões EUA |
| Amarelo | 42 | 11 |
| Vermelho | 83 | 22 |
| Castanho | 106 | 28 |
| Cinza | 125 | 33 |
| Branco | 167 | 44 |
| Azul | 208 | 55 |
| Verde | 314 | 83 |
Ligue o interruptor principal durante 5 minutos.
Note: À medida que a máquina pulveriza, o InfoCenter apresenta a quantidade de fluido que conta.
Depois de pulverizar durante 5 minutos, selecione a marca de verificação carregando no botão central no InfoCenter.
Note: É aceitável que os litros apresentados durante o processo de calibração não correspondam à quantidade conhecida de água introduzida no InfoCenter.
Desligue o interruptor principal e selecione a marca de verificação carregando no botão central no InfoCenter.
Note: A calibração está agora concluída.
Certifique-se de que o depósito de pulverização está cheio com água.
Num local plano e ao ar livre, marque uma distância entre 45 e 152 m.
Note: Marque 152 m para resultados mais precisos.
Ligue o motor e conduza para o início da distância marcada.
Note: Alinhe o centro dos pneus dianteiros com a linha de início para uma medição mais precisa.
No InfoCenter, navegue para o menu Calibração e selecione Calibração de velocidade.
Note: Selecionar o ícone de ecrã inicial a qualquer momento cancela a calibração.
Selecione a seta Seguinte (→) no InfoCenter.
Utilizando os símbolos mais (+) e menos (-) introduza a distância marcada no InfoCenter.
Mude a máquina para a 1ª velocidade e conduza a distância marcada numa linha reta a velocidade total.
Pare a máquina na distância marcada e selecione a marca de verificação no InfoCenter.
Note: Abrande e pare para alinhar o centro dos pneus dianteiros com a linha final, para uma medição mais precisa.
Note: A calibração está agora concluída.
Antes de utilizar o pulverizador pela primeira vez, sempre que alterar os bicos, ou quando necessário, calibrar o fluxo do pulverizador, a velocidade e a distribuição da secção.
Important: Escolha uma área plana para efetuar este procedimento.
Note: Calibrar a derivação da secção para máquinas sem bloqueio do acelerador requer duas pessoas.
Certifique-se de que o depósito de pulverização está cheio com água.
Mude a transmissão para a posição PONTO MORTO.
Engate o travão de estacionamento e ligue o motor.
Coloque os interruptores das 3 secções na posição LIGAR, mas deixe o interruptor da secção principal em DESLIGAR.
Coloque o interruptor da bomba na posição LIGAR e ligue a agitação.
Regule a velocidade do motor da seguinte forma:
Para máquinas sem a alavanca opcional de bloqueio do acelerador, é necessária uma pessoa para pressionar o pedal do acelerador até atingir a velocidade máxima do motor.
Note: Deve ter outra pessoa para ajustar as válvulas de derivação de secção.
Para máquinas com a alavanca opcional de bloqueio do acelerador pressione o pedal do acelerador até atingir a velocidade máxima do motor e engate o bloqueio do acelerador; consulte as instruções de operação do kit de acelerador manual Workman.
No InfoCenter, navegue para o menu Calibração e selecione Velocidade de teste.
Note: Selecionar o ícone de ecrã inicial a qualquer momento cancela as calibrações.
Utilizando os símbolos mais (+) e menos (-), introduza uma velocidade de teste de 5,6 km/h e, em seguida, selecione o ícone de ecrã principal.
Utilizando o interruptor da taxa de aplicação, ajuste a taxa de aplicação de acordo com a tabela que se segue.
| Cor do bico | SI (métrico) | Português | Relva |
| Amarelo | 159 l/ha | 17 gpa | 0,39 gpk |
| Vermelho | 319 l/ha | 34 gpa | 0,78 gpk |
| Castanho | 394 l/ha | 42 gpa | 0.96 gpk |
| Cinza | 478 l/ha | 51 gpa | 1,17 gpk |
| Branco | 637 l/ha | 68 gpa | 1.56 gpk |
| Azul | 796 l/ha | 85 gpa | 1.95 gpk |
| Verde | 1,190 l/ha | 127 gpa | 2,91 gpk |
Desligue o interruptor de secção esquerda e ajuste a válvula de derivação de secção esquerda (Figura 70) até que a leitura da pressão se encontre no nível previamente ajustado (habitualmente 2,75 bar).
Note: Os indicadores numerados na válvula de derivação são apenas para referência.

Ligue o interruptor da secção esquerda e desligue o interruptor da secção direita.
Ajuste a válvula de derivação da secção direita (Figura 70) até que a leitura da pressão se encontre no nível previamente ajustado (habitualmente 2,75 bar).
Ligue o interruptor da secção direita e desligue o interruptor da secção central.
Ajuste a válvula de derivação da secção central (Figura 70) até que a leitura da pressão se encontre no nível previamente ajustado (habitualmente 2,75 bar).
Desligue os interruptores de todas as secções.
Desligue a bomba de pulverização.
Note: A calibração está agora concluída.
A válvula de derivação da agitação está na posição totalmente Aberta, como se mostra na Figura 71 A.
A válvula de derivação da agitação está na posição Fechada (0), como se mostra na Figura 71B.
A válvula de derivação de agitação está numa posição intermédia (ajustada em relação ao indicador de pressão para o sistema de pulverização), como se mostra na Figura 71C.

| Intervalo de assistência | Procedimento de manutenção |
|---|---|
| Anualmente |
|
Important: Escolha uma área plana para efetuar este procedimento.
Note: Calibrar a válvula de derivação da agitação para máquinas sem bloqueio do acelerador requer duas pessoas.
Certifique-se de que o depósito de pulverização está cheio com água.
Verifique se a válvula de controlo de agitação está aberta. Se tiver sido ajustada, abra-a completamente nesta altura.
Mude a transmissão para a posição PONTO MORTO.
Engate o travão de estacionamento e ligue o motor.
Ligue a bomba do pulverizador.
Regule a velocidade do motor da seguinte forma:
Para máquinas sem a alavanca opcional de bloqueio do acelerador, é necessária uma pessoa para pressionar o pedal do acelerador até atingir a velocidade máxima do motor.
Note: Deve ter outra pessoa para recolher amostras dos bicos de pulverização.
Para máquinas com a alavanca opcional de bloqueio do acelerador pressione o pedal do acelerador até atingir a velocidade máxima do motor e engate o bloqueio do acelerador; consulte as instruções de operação do kit de acelerador manual Workman.
Coloque os três interruptores individuais da válvula de secção na posição DESLIGAR.
Coloque o interruptor principal na posição LIGAR.
Regule a pressão do sistema para MáXIMO.
Pressione o interruptor de agitação para a posição DESLIGAR e leia o medidor.
Se a leitura permanecer nos 6,9 bar, a válvula de derivação de agitação está bem calibrada.
Se a leitura do medidor for diferente, continue para o passo seguinte.
Ajuste a válvula de derivação de agitação (Figura 72) na parte posterior da válvula de agitação até que a pressão indicada no medidor seja 6,9 bar.

Pressione o interruptor da bomba para a posição DESLIGAR, mude a alavanca do acelerador para a posição INTERMéDIA e coloque o interruptor de arranque na posição DESLIGAR.
Note: Ajustar a válvula de derivação de secção principal reduz ou aumenta a quantidade de fluxo enviada para os bicos de agitação no depósito quando o interruptor da rampa principal está na posição DESLIGAR.
Certifique-se de que o depósito de pulverização está cheio com água.
Engate o travão de estacionamento.
Mude a transmissão para a posição PONTO MORTO.
Ligue a bomba do pulverizador.
Coloque o interruptor de agitação na posição LIGAR.
Coloque o interruptor principal na posição DESLIGAR.
Regule a velocidade do motor da seguinte forma:
Para máquinas sem a alavanca opcional de bloqueio do acelerador, é necessária uma pessoa para pressionar o pedal do acelerador até atingir a velocidade máxima do motor.
Note: Deve ter outra pessoa para recolher amostras dos bicos de pulverização.
Para máquinas com a alavanca opcional de bloqueio do acelerador pressione o pedal do acelerador até atingir a velocidade máxima do motor e engate o bloqueio do acelerador; consulte as instruções de operação do kit de acelerador manual Workman.
Ajuste o manípulo de derivação principal das secções para controlar a quantidade de agitação que ocorre no depósito (Figura 72)
Reduza a velocidade do acelerador para a posição de ralenti.
Coloque o interruptor de agitação e o interruptor da bomba na posição DESLIGAR.
Desligue o motor.
A bomba do pulverizador encontra-se na traseira da máquina (Figura 73).

O proprietário/utilizador pode evitar e é responsável por acidentes que possam causar ferimentos a pessoas ou danos a propriedades.
Utilize vestuário adequado, incluindo proteção ocular, calças compridas, calçado resistente anti-derrapante e proteção para os ouvidos. Prenda cabelo comprido e não utilize vestuário solto ou joias pendentes.
Use Equipamento de Proteção Pessoal conforme indicado na Segurança Química.
Esteja totalmente atento quando utilizar a máquina. Não se envolva em nenhuma atividade que dê azo a distrações, caso contrário poderão ocorrer ferimentos ou danos materiais.
Não utilize a máquina quando estiver doente, cansado ou se encontrar sob o efeito de álcool ou drogas.
Não transporta mais de um passageiro na máquina. O passageiro deve sentar-se apenas na posição designada de assento.
Utilize a máquina apenas quando tiver boa visibilidade. Evite buracos e outros perigos não visíveis.
Antes de ligar o motor, certifique-se de que se encontra na posição de utilização, a transmissão está na posição NEUTRAL (ponto-morto).
Permaneça sentado sempre que a máquina se encontrar em movimento. Mantenha as mãos no volante sempre que possível e mantenha os braços e as pernas no compartimento do operador.
Tome todas as precauções necessárias quando se aproximar de esquinas sem visibilidade, arbustos, árvores ou outros objetos que possam obstruir o seu campo de visão.
Antes de fazer marcha-atrás, veja se está alguém atrás do veículo. Recue lentamente.
Nunca regue a relva com pessoas por perto, sobretudo no caso de crianças ou animais de estimação.
Não utilize a máquina perto de depressões, buracos ou bancos de areia. A máquina poderá capotar repentinamente se a roda resvalar numa depressão ou se o piso ceder.
Reduza a velocidade quando circular em terrenos acidentados, irregulares e perto de lancis, buracos e outras alterações bruscas no terreno. As cargas podem soltar-se e desestabilizar a máquina.
Pare a máquina, desligue o motor, retire a chave, engate o travão de estacionamento e verifique se há danos depois de ter atingido qualquer objeto ou na eventualidade de sentir vibrações estranhas. Efetue todas as reparações necessárias antes de retomar o funcionamento.
Abrande e tome as precauções necessárias quando virar e atravessar estradas ou passeios com a máquina. Dê sempre prioridade.
Tome precauções adicionais quando conduzir a máquina em superfícies molhadas, em condições atmosféricas adversas, a uma velocidade maior ou com a carga máxima. A duração e a distância necessárias para parar o veículo aumentam nestas condições.
Não toque no motor nem na panela de escape quando o motor se encontrar em funcionamento ou assim que o desligar. Estas zonas podem estar suficientemente quentes para provocar queimaduras.
Antes de sair da posição de operador, faça o seguinte:
Estacione a máquina numa superfície nivelada.
Mude a transmissão para PONTO-MORTO.
Desligue a bomba de pulverização.
Engate o travão de estacionamento.
Desligue o motor e retire a chave (se equipada).
Aguarde que todo o movimento pare.
Nunca ligue o motor numa área onde os gases de escape fiquem presos.
Nunca opere a máquina quando existir a possibilidade de trovoadas.
Utilize apenas acessórios e engates aprovados pela Toro.
Para utilizar o Multi Pro WM, primeiro encha o depósito de pulverização e, em seguida, aplique a solução para a zona de trabalho. Por fim, limpe o depósito. É importante realizar estes três passos, por esta ordem, para evitar qualquer dano no pulverizador. Por exemplo, não misture nem adicione quaisquer químicos ao depósito de pulverização durante a noite para aplicar na manhã seguinte. Isto iria provocar a separação dos químicos e poderia danificar os componentes do pulverizador.
Important: As marcas no depósito são somente para referência e não devem ser consideradas exatas para calibração.
Os químicos são perigosos e podem provocar ferimentos.
Antes de utilizar os químicos, leia as instruções das etiquetas e respeite as recomendações e precauções fornecidas pelo fabricante.
Evite o contacto dos químicos com a pele. Caso ocorra qualquer contacto, lave a zona afetada com sabão e água corrente.
Utilize óculos ou outro equipamento de proteção recomendado pelo fabricante.
O pulverizador Multi Pro WM foi especificamente concebido para ter uma durabilidade elevada para ter a maior vida útil que precisar. Para se atingir este objetivo foram utilizados materiais diferentes para fins específicos em diferentes locais do seu pulverizador. Infelizmente não existe um material único que seja perfeito para todas as aplicações previstas.
Alguns químicos são mais agressivos do que outros e cada químico interage de forma diferente com os diversos materiais. Algumas consistências (por exemplo, químicos em pó, carvão) são mais abrasivas e provocam um desgaste superior. Se existir um químico numa fórmula que irá proporcionar uma maior vida útil do pulverizador, utilize esta formulação alternativa.
Como sempre, lembre-se de limpar muito bem a sua máquina e sistema de pulverização depois de qualquer aplicação. Isto contribui muito para que o seu pulverizador tenha uma vida longa e sem problemas.
Important: Para garantir que solução permanece bem misturada, utilize a função de agitação sempre que tiver uma solução no depósito. Para que se realize a agitação, deve engatar a tomada de força e o motor deve estar a um regime mais elevado que o ralenti. Se parar o veículo e precisar de efetuar a agitação, coloque a alavanca das mudanças em PONTO MORTO, engate o travão de estacionamento, engate a tomada de força, engate a embraiagem e ative o acelerador de mão, caso equipado.
Note: Este procedimento assume que a tomada de força está engatada (modelos da série HD com transmissão manual) e a calibração da válvula da rampa foi concluída.
Baixe as rampas colocando-as em posição.
Coloque o interruptor principal na posição DESLIGAR.
Coloque os interruptores de secção individual, conforme necessário, na posição LIGAR.
Conduza até ao local onde planeia efetuar a pulverização.
Percorra o ecrã de taxa de aplicação no InfoCenter e defina a taxa pretendida, realizando os seguintes passos:
Certifique-se de que o interruptor da bomba está na posição LIGAR.
Para modelos da série HD com transmissão manual, selecione a mudança desejada.
Comece a conduzir na velocidade pretendida.
Verifique se o monitor apresenta a taxa de aplicação correta. Caso necessário, ajuste o interruptor da taxa da aplicação até que o monitor apresente a taxa de aplicação desejada.
Regresse ao local onde está a pulverizar.
Coloque o interruptor de secção principal na posição LIGAR e comece a pulverizar.
Note: Quando o depósito estiver quase vazio, a agitação pode criar espuma no depósito. Para evitar isto, desligue a válvula da agitação. Ou então, pode utilizar um agente antiespuma no depósito.
Quando terminar a pulverização, coloque o interruptor de secção principal na posição DESLIGAR para desligar todas as secções de pulverização e, em seguida, desengate a alavanca da tomada de força (modelos da série HD com transmissão manual).
Important: Em determinadas condições, o calor proveniente do motor, do radiador, e da panela de escape pode provocar danos na relva, ao operar o pulverizador num modo estacionário. Os modos estacionários compreendem a agitação do depósito, a pulverização manual com uma pistola de pulverização, ou a utilização de uma rampa móvel.
Tome as seguintes precauções:
Evite a pulverização estacionária, se o tempo estiver extremamente quente e/ou seco, uma vez que a relva pode sofrer uma degradação acentuada em tais condições.
Evite estacionar sobre a relva ao efetuar a pulverização estacionária. Estacione numa via para carros de golfe, sempre que possível.
Minimize o intervalo de tempo durante o qual a máquina fica a operar em qualquer área específica de relva. O grau de danos na relva depende do tempo e da temperatura.
Regule o regime do motor para o mínimo possível mas que permita obter a pressão e o fluxo pretendidos. Esta prática minimiza o calor gerado e a velocidade do ar proveniente da ventoinha de arrefecimento.
Deixe escapar o calor do compartimento do motor para cima, levantando os conjuntos dos bancos no decorrer da operação estacionária, evitando que o calor seja forçado a sair pela parte inferior do veículo.
Os interruptores de elevação das secções, no painel de controlo do pulverizador, permitem-lhe deslocar as secções de pulverização exteriores entre a posição de transporte e a posição de pulverização sem sair do banco do operador. Sempre que possível, pare a máquina antes de mudar as posições das secções de pulverização.
Engate a alavanca de elevação hidráulica e bloqueie-a para fornecer potência hidráulica para controlo do elevador das rampas.
Empurre a alavanca de elevação hidráulica para a frente.

Mova o bloqueio da elevação hidráulica para a esquerda para engatar o bloqueio.
Realize os passos seguintes para mover as secções de pulverização exteriores para a posição de PULVERIZAçãO:
Estacione a máquina numa superfície nivelada.
Utilize os interruptores de elevação das secções da rampa para descer as secções exteriores.
Note: Espere até que as secções de pulverização exteriores fiquem completamente estendidas na sua posição de pulverização.
Conclua a tarefa de pulverização e, em seguida, realize os passos seguintes para retrair as secções de pulverização exteriores para a posição de transporte:
Estacione a máquina numa superfície nivelada.
Utilize os interruptores de elevação para levantar uma das secções de pulverização exteriores.
Utilize os interruptores de elevação para levantar as secções de pulverização exteriores.
Eleve as secções até se terem deslocado completamente para a cavidade de transporte da secção da rampa, formando a posição de transporte em “X”, e até que os cilindros de elevação estejam completamente recolhidos.
Important: Liberte o(s) interruptor(es) de elevação da secção da rampa assim que as secções de pulverização exteriores tiverem alcançado a posição desejada. Fazer funcionar os acionadores contra os batentes mecânicos pode causar danos aos cilindros e outros componentes hidráulicos.
Important: Certifique-se de que as secções de pulverização não entram em contacto com quaisquer objetos baixos enquanto estiverem na posição de transporte, o que poderá causar danos às secções de pulverização.
Important: As secções de pulverização podem ficar danificadas se forem transportadas numa posição que não seja a posição de transporte em “X” utilizando a cavidade de transporte das rampas.

Important: Para evitar danificar o cilindro de elevação, certifique-se de que os acionadores estão completamente recolhidos antes de iniciar o transporte da máquina.
Não volte a passar por áreas que já tenha pulverizado.
Verifique os bicos obstruídos. Substitua todos os bicos usados ou danificados.
Utilize o interruptor principal para interromper a pulverização antes de parar o pulverizador. Depois de parado, utilize o bloqueio de velocidade do motor em ponto morto para manter a velocidade do motor e continuar a realizar a agitação.
Vai obter melhores resultados se o pulverizador estiver em movimento quando ligar as secções do pulverizador.
Repare se ocorrem alterações na taxa de aplicação, podendo isso significar que a sua velocidade ultrapassou a capacidade dos bicos, ou então, que existe um problema com o sistema de pulverização.
Se um bico ficar entupido enquanto estiver a pulverizar, limpe o bico da seguinte forma:
Pare o pulverizador numa superfície plana, desligue o motor e engate o travão de estacionamento.
Coloque o interruptor da secção principal na posição DESLIGAR e o interruptor da bomba de pulverização na posição DESLIGAR.
Retire o bico entupido e limpe-o com um borrifador e uma escova pequena.
Monte o bico.
Estacione a máquina numa superfície nivelada, engate o travão de estacionamento, desligue o motor, retire a chave e espere até todas as partes em movimento parem antes de sair da máquina.
Depois de terminar a utilização da máquina, lave todos os resíduos químicos do exterior da máquina; consulte Segurança Química.
Espere que o motor arrefeça antes de armazenar a máquina em ambiente fechado.
Mantenha e limpe o(s) cinto(s) de segurança, como necessário.
Nunca guarde a máquina ou o recipiente de combustível onde exista uma fonte de fogo, faísca ou luz piloto, como junto de uma caldeira ou outros eletrodomésticos.
Mantenha todas as peças da máquina em boas condições de trabalho e as partes corretamente apertadas.
Substitua todos os autocolantes desgastados, danificados ou em falta.
Important: Não utilize água salobra ou recuperada para limpar a máquina.
Estacione a máquina numa superfície plana, engate o travão de estacionamento, desligue o motor e retire a chave da ignição.
Localize a válvula de escoamento do depósito no lado direito da máquina (Figura 76).

Abra a válvula para drenar todo o material não utilizado do depósito (Figura 77).
Important: Elimine todos os resíduos químicos de acordo com os códigos locais e instruções do fabricante.

Feche a válvula de drenagem (Figura 77).
| Intervalo de assistência | Procedimento de manutenção |
|---|---|
| Anualmente |
|
Important: Depois de cada utilização, deve drenar e limpar imediatamente o pulverizador. Se não o fizer, os químicos podem secar ou solidificar nas linhas, entupindo a bomba e os outros componentes.
Utilize o Kit de lavagem aprovado para esta máquina. Contate o distribuidor autorizado Toro para obter mais informações.
Limpe o sistema de pulverização de ar após cada sessão de pulverização. Para limpar cuidadosamente o sistema de pulverização, realize o seguinte:
Utilize 3 lavagens separadas.
Utilize os produtos de limpeza e neutralizantes recomendados pelos fabricantes dos produtos químicos.
Utilize água pura (sem produtos de limpeza ou neutralizantes) para a última lavagem.
Encha o depósito com pelo menos 190 litros de água limpa e feche a tampa.
Note: Conforme necessário, utilize um agente de limpeza/neutralizante na água. Na lavagem final, utilize apenas água limpa.
Baixe as rampas para a posição de pulverização.
Ligue a bomba e o interruptor da bomba na posição LIGAR.
Desloque o acelerador para um ralenti mais rápido.
Assegure-se de que o interruptor de agitação está na posição LIGAR e utilize o interruptor da taxa de aplicação para aumentar a pressão.
Coloque o interruptor de secção principal e os interruptores de secção individual na posição LIGAR para iniciar a pulverização.
Deixe que toda a água existente no depósito passe pelos bicos.
Verifique os bicos para certificar-se de que estão todos a funcionar corretamente.
Coloque o interruptor de secção principal na posição DESLIGAR, desligue a bomba do pulverizador e desligue o motor.
Repita os passos 1 a 9 pelo menos mais duas vezes para garantir que o sistema de pulverização fica totalmente limpo.
Important: Tem de efetuar sempre este procedimento pelo menos três vezes para garantir que o sistema de pulverização fique completamente limpo, evitando assim danos no sistema.
Limpe o filtro de sucção e o filtro de pressão; consulte Limpeza do filtro de pressão e Limpeza do filtro de sucção.
Important: Se utilizou químicos em pó, limpe o filtro de rede depois de gastar cada depósito.
Com uma mangueira de jardim, lave a parte exterior do pulverizador com água.
Retire os bicos e limpe-os manualmente. Substitua os bicos danificados ou usados.
| Intervalo de assistência | Procedimento de manutenção |
|---|---|
| Em todas as utilizações ou diariamente |
|
Estacione a máquina numa superfície plana, engate o travão de estacionamento, desligue a bomba, desligue o motor e retire a chave.
Na parte superior do depósito do pulverizador, retire a fixação que prende a união da mangueira unida à tubagem grande da estrutura do filtro (Figura 78).

Retire a tubagem e a união da tubagem da estrutura do filtro (Figura 78).
Retire o filtro de rede da sucção da estrutura do filtro no depósito (Figura 79).

Limpe o filtro de sucção com água limpa.
Important: Substitua o filtro se estiver danificado ou não puder ser limpo.
Insira o filtro de sucção na estrutura do filtro até o filtro ficar bem colocado.
Alinhe a tubagem e a união da tubagem com a estrutura do filtro na parte superior do depósito e fixe a união e a estrutura com a fixação que retirou no passo 2.
| Intervalo de assistência | Procedimento de manutenção |
|---|---|
| Em todas as utilizações ou diariamente |
|
Estacione a máquina numa superfície plana, engate o travão de estacionamento, desligue a bomba de pulverização, desligue o motor e retire a chave.
Alinhe um recipiente de escoamento debaixo do filtro de pressão (Figura 80).

Rode a tampa de drenagem no sentido contrário ao dos ponteiros do relógio e retire-a do recipiente do filtro de pressão (Figura 80).
Note: Deixe o recipiente escoar completamente.
Rode o recipiente no sentido contrário ao dos ponteiros do relógio e retire a cabeça do filtro (Figura 80).
Retire o elemento do filtro de pressão (Figura 80).
Limpe o elemento do filtro de pressão com água limpa.
Important: Substitua o filtro se estiver danificado ou não puder ser limpo.
Verifique a junta do tampão de drenagem (localizado no interior do recipiente) e junta do recipiente (localizado no interior da cabeça do filtro) e veja se há danos e desgaste (Figura 80).
Important: Substitua quaisquer juntas danificadas ou gastas no tampão, no recipiente ou ambos.
Instale o elemento do filtro de pressão na cabeça do filtro (Figura 80).
Note: Certifique-se de que o elemento do filtro está firmemente colocado na cabeça do filtro.
Instale o recipiente na cabeça do filtro apertando à mão (Figura 80).
Enrosque a tampa de drenagem na união na parte inferior do recipiente e aperte bem a tampa à mão (Figura 80).
Estacione a máquina numa superfície plana, engate o travão de estacionamento, desligue a bomba de pulverização, desligue o motor e retire a chave.
Retire o bico da cabeça de pulverização (Figura 81).

Retire o filtro do bico (Figura 81).
Limpe o filtro de sucção com água limpa.
Important: Substitua o filtro se estiver danificado ou não puder ser limpo.
Instale o filtro do bico (Figura 81).
Note: Certifique-se de que o filtro está totalmente colocado.
Instale o bico na cabeça de pulverização (Figura 81).
| Intervalo de assistência | Procedimento de manutenção |
|---|---|
| Após cada utilização |
|
Especificações do condicionador: propilenoglicol “anticongelante RV não tóxico” com inibidor de corrosão
Important: Utilize apenas propilenoglicol com inibidor de corrosão. Não utilize propilenoglicol reciclado. Não utilize anticongelante à base de etilenoglicol.Não utilize propilenoglicol com adição de álcoois solúveis (metanol, etanol ou isopropanol) ou salmouras.
Mova a máquina para uma superfície plana, acione o travão de estacionamento, desligue o motor e retire a chave.
Adicione condicionador ao depósito da seguinte forma:
No caso de anticongelante RV de propilenoglicol (pré-misturado) pronto a utilizar – acrescente 38 litros de anticongelante RV de propilenoglicol ao depósito.
No caso de anticongelante RV de propilenoglicol concentrado, efetue os seguintes passos:
Acrescente uma mistura de 38 litros de anticongelante RV de propilenoglicol e água no depósito do pulverizador. Prepare a mistura de anticongelante conforme indicado pelo fabricante para uma concentração preparada para -45ºC no mínimo.
Important: Utilize apenas água limpa quando limpar o pulverizador.
Ligue a bomba e o interruptor da bomba de pulverização na posição LIGAR.
Carregue no pedal do acelerador para aumentar a velocidade do motor.
Coloque o interruptor de agitação na posição LIGAR.
Permita que o condicionador e a solução aquosa circulem durante pelo menos 3 minutos.
Ferramenta recomendada: um recipiente para apanhar.
Mova a máquina para a superfície de drenagem e engate o travão de estacionamento.
Baixe as secções das rampas exteriores.
Coloque os interruptores das secções esquerda, central e direita e o interruptor principal na posição LIGAR.
Deixe o sistema de pulverização pulverizar até os bicos descarregarem o condicionador.
Note: A maioria dos anticongelantes RV de propilenoglicol concentrado tem a cor rosa. Utilize o recipiente para apanhar junto da descarga do pulverizador em vários bicos.
Desligue o interruptor principal, os 3 interruptores de secção, o interruptor de agitação, o interruptor da bomba de pulverização, o motor e retire a chave.
Para obter informações sobre como transportar ou rebocar a máquina, consulte o Manual do utilizador do veículo Workman.
Important: Fixe as secções de pulverização exteriores às cavidades de transporte da secção da rampa.
Note: Transfira uma cópia gratuita dos esquemas elétricos ou hidráulicos visitando www.Toro.com e procurando a sua máquina a partir da hiperligação de manuais na página inicial.
Note: Determine os lados direito e esquerdo da máquina a partir da posição normal de utilização.
Antes de sair da posição de operador, faça o seguinte:
Estacione a máquina numa superfície nivelada.
Mude a transmissão para PONTO-MORTO.
Engate o travão de estacionamento.
Desligue o motor e retire a chave (se equipada).
Aguarde que todo o movimento pare.
Deixe os componentes da máquina arrefecerem antes de proceder à manutenção.
Apenas pessoal qualificado e autorizado deverá efetuar a manutenção, reparação, ajuste ou inspeção da máquina.
Antes de realizar qualquer manutenção, limpe e enxague cuidadosamente o pulverizador. Consulte a Segurança química.
Os químicos utilizados no sistema de pulverização podem ser perigosas ou tóxicas para si ou outras pessoas presentes, animais, plantas, solos ou outros bens.
Leia atentamente e siga as etiquetas de advertência química e folhas de dados de de segurança (FDS) de todos os produtos químicos usados e proteja-se de acordo com as recomendações do fabricante do produto químico.
Proteja sempre a sua pele quando estiver perto de químicos. Utilize Equipamento de Proteção Pessoal (EPP) para proteção contra o contato com produtos químicos, incluindo o seguinte:
óculos de segurança, óculos e/ou resguardo do rosto
roupa de proteção química
um respirador ou máscara de filtro
luvas resistentes a produtos químicos
botas de borracha ou outro calçado resistente
uma muda de roupa limpa, sabão e toalhas descartáveis para limpeza
Recuse operar ou trabalhar no pulverizador, se as informações sobre segurança química não estiverem disponíveis.
Não encha, calibre, nem limpe a máquina enquanto estiverem pessoas, especialmente crianças, ou animais de estimação, na área.
Prepare os químicos numa zona bem ventilada.
Tenha sempre água limpa à disposição, especialmente quando encher o tanque do pulverizador.
Não coma, não beba, nem fume quando estiver a trabalhar perto de químicos.
Não limpe os bicos de pulverização, ao soprar através deles ou colocando-os na boca.
Assim que acabar de trabalhar com produtos químicos, lave sempre as mãos e outras zonas do corpo expostas ao químico.
Os produtos químicos e os gases são perigosos; nunca entre dentro do tanque nem coloque a cabeça na abertura.
Para garantir que toda a máquina se encontra em boas condições de funcionamento, mantenha todas as ferragens devidamente apertadas.
Para reduzir o risco de incêndio, mantenha a zona do motor livre de massa lubrificante excessiva, químicos, folhas e sujidade.
Se for necessário colocar o motor em funcionamento para executar qualquer ajuste, deverá manter as mãos, pés, roupa e outras partes do corpo longe do motor e outras peças em movimento. Mantenha todas as pessoas longe da máquina.
Não ajuste a velocidade da máquina. Para garantir a segurança e precisão do motor, deverá pedir a um distribuidor autorizado Toro que verifique a velocidade do veículo.
Se a máquina necessitar de reparações de vulto ou necessitar de assistência técnica, contate um distribuidor autorizado Toro.
Qualquer modificação da máquina que possa afetar o seu funcionamento, desempenho, durabilidade ou utilização poderá resultar em lesões ou em morte. Esse tipo de utilização pode anular a garantia do produto.
Apoie a máquina com preguiças sempre que trabalhar debaixo da máquina.
Cuidadosamente, liberte a pressão dos componentes com energia acumulada.
| Intervalo de assistência | Procedimento de manutenção |
|---|---|
| Em todas as utilizações ou diariamente |
|
| Após cada utilização |
|
| A cada 50 horas |
|
| A cada 100 horas |
|
| A cada 200 horas |
|
| A cada 400 horas |
|
| Anualmente |
|
Important: Para informações sobre os procedimentos de manutenção adicionais, consulte o Manual de utilizador da sua máquina e o manual de proprietário do motor.
Copie esta página para uma utilização de rotina.
| Verificações de manutenção | Para a semana de: | ||||||
|---|---|---|---|---|---|---|---|
| 2ª | Ter. | Qua. | Qui. | Sex. | Sáb. | Dom. | |
| Verifique o funcionamento dos travões (pedal dos travões e travão de estacionamento). | |||||||
| Verifique o funcionamento da alavanca de mudanças. | |||||||
| Verifique o nível de combustível. | |||||||
| Verifique o nível de óleo do motor antes de encher o depósito. | |||||||
| Verifique o nível de óleo da transmissão antes de encher o depósito. | |||||||
| Inspecione o filtro de ar antes de encher o depósito. | |||||||
| Inspecione as aletas de arrefecimento do motor antes de encher o depósito. | |||||||
| Verifique todos os ruídos estranhos no motor. | |||||||
| Verifique todos os ruídos estranhos de funcionamento. | |||||||
| Verificação da pressão dos pneus. | |||||||
| Verifique se há fuga de fluidos. | |||||||
| Verifique o funcionamento do painel de instrumentos. | |||||||
| Verifique o funcionamento do acelerador. | |||||||
| Limpe o filtro de rede da sucção. | |||||||
| Verifique o alinhamento. | |||||||
| Aplique lubrificante em todos os bocais de lubrificação.1 | |||||||
| Retoque a pintura danificada. | |||||||
1 Imediatamente após cada lavagem, independentemente do intervalo previsto
| Inspeção executada por: | ||
| Item | Data | Informação |
| 1 | ||
| 2 | ||
| 3 | ||
| 4 | ||
| 5 | ||
| 6 | ||
| 7 | ||
| 8 | ||
| 9 | ||
| 10 | ||
Se deixar a chave no interruptor de arranque, alguém pode ligar acidentalmente o motor e feri-lo a si ou às pessoas que se encontrarem próximo da máquina.
Retire a chave do interruptor de arranque e desligue o cabo negativo da bateria antes de efetuar qualquer tarefa de manutenção. Mantenha o cabo da bateria afastado para evitar qualquer contacto acidental com o borne da bateria.
O depósito do pulverizador representa um perigo de energia acumulada. Se não estiver preso de forma adequada quando é instalado ou removido pode deslocar-se ou cair e feri-lo a si e a outras pessoas presentes.
Utilize correias e um elevador de suspensão para apoiar o depósito do pulverizador durante a instalação, remoção ou qualquer trabalho de manutenção sempre que remover os dispositivos de fixação.
Pode elevar o conjunto do depósito para aceder ao motor e a outros componentes internos. Incline a rampa de extensão para a frente para distribuir o peso de forma mais uniforme.
Despeje o depósito de pulverização.
Estacione o veículo numa superfície nivelada.
Utilize os interruptores de controlo da rampa para elevar a extensão da rampa até cerca de 45°.
Engate o travão de estacionamento, desligue o motor e retire a chave da ignição.
Desligue a bateria.
Retire os parafusos de segurança da parte frontal do patim (Figura 82).

Desligue a cablagem da consola central da cablagem principal e desencaminhe a cablagem principal para criar folga.
Dobre as extensões da rampa para a frente, ao longo do depósito para distribuir o peso uniformemente e impedir que se incline para trás.
Eleve a montagem do depósito até atingir o curso máximo dos cilindros de elevação.
Retire o suporte da plataforma dos suportes existentes na parte de trás do painel do sistema ROPS (Figura 83).

Introduza o apoio da plataforma na haste do cilindro, assegurando que as linguetas encostam à extremidade do cilindro e à extremidade da haste do cilindro de elevação (Figura 84).

Quando estiver pronto para descer o depósito, retire o apoio da plataforma do cilindro e introduza-o nos suportes na parte de trás do painel do sistema ROPS.
Important: Não tente descer a montagem do depósito com o apoio aplicado no cilindro.
Recolha os cilindros de elevação para baixar cuidadosamente o depósito para a estrutura.
Monte os dois parafusos que fixam em baixo e os dispositivos de fixação para prender o depósito.
Dobre as extensões da rampa para trás até à posição de estendidas.
Utilize os interruptores de controlo da rampa para elevar as extensões da rampa até à posição de TRANSPORTE.
Encaminhe a cablagem principal de forma a eliminar a folga e ligue-a à cablagem da consola central.
| Intervalo de assistência | Procedimento de manutenção |
|---|---|
| A cada 50 horas |
|
Tipo de lubrificante: Mobil XHP 461
Localize os bocais de lubrificação na bomba do pulverizador.
Note: A bomba do pulverizador encontra-se na extremidade traseira da máquina.

Limpe os 2 bocais de lubrificação remotos.
Introduza o lubrificante em cada bocal de lubrificação remoto.
Limpe a massa lubrificante em excesso.
| Intervalo de assistência | Procedimento de manutenção |
|---|---|
| A cada 100 horas |
|
Important: Se lavar a dobradiça da rampa com água, deve retirar todos os restos de água e detritos da dobradiça e aplicar massa lubrificante nova.
Tipo de lubrificante: Massa n.º 2 à base de lítio
Limpe os bocais de lubrificação de modo a evitar a entrada de matérias estranhas no rolamento ou casquilho.
Introduza massa lubrificante no rolamento ou casquilho de cada união Figura 86.

Limpe a massa lubrificante em excesso.
Repita este procedimento para cada articulação da rampa.
Desligue a bateria antes de reparar a máquina. Desligue o terminal negativo em primeiro lugar e o terminal positivo no final. Ligue o positivo em primeiro lugar e o terminal negativo no final.
Carregue a bateria num espaço aberto e bem ventilado, longe de faíscas e chamas. Retire a ficha do carregador da tomada antes de o ligar ou desligar da bateria.
Utilize roupas adequadas e ferramentas com isolamento.
O bloco de fusíveis do sistema do pulverizador está montado na extremidade do bloco de fusíveis do veículo. Substitua o fusível por um fusível do mesmo tipo e mesma amperagem.

| Intervalo de assistência | Procedimento de manutenção |
|---|---|
| A cada 200 horas |
|
| A cada 400 horas |
|
Examine cada mangueira no sistema de pulverização para ver se apresenta rachas, fugas ou outros danos. Ao mesmo tempo, inspecione as ligações e acessórios para ver se apresentam danos semelhantes. Substitua quaisquer tubos e acessórios se estiverem danificados.
| Intervalo de assistência | Procedimento de manutenção |
|---|---|
| A cada 400 horas |
|
Note: Determine a dimensão da rede adequada do filtro de sucção que necessita para a tarefa; consulte Seleção de um filtro de sucção.
Estacione a máquina numa superfície plana, engate o travão de estacionamento, desligue a bomba, desligue o motor e retire a chave.
Na parte superior do depósito do pulverizador, retire a fixação que prende a união da mangueira unida à tubagem grande da estrutura do filtro (Figura 88).

Retire a tubagem e a união da tubagem da estrutura do filtro (Figura 88).
Retire o filtro de sucção antigo da estrutura do filtro no depósito (Figura 89).
Note: Elimine o filtro antigo.

Instale o novo filtro de sucção na estrutura do filtro.
Note: Certifique-se de que o filtro está totalmente colocado.
Alinhe a tubagem e a união da tubagem com a estrutura do filtro na parte superior do depósito e fixe a união e a estrutura com a fixação que retirou no passo 2.
| Intervalo de assistência | Procedimento de manutenção |
|---|---|
| A cada 400 horas |
|
Note: Determine a dimensão da rede adequada do filtro de pressão que necessita para a tarefa; consulte Seleção de um filtro de pressão.
Estacione a máquina numa superfície plana, engate o travão de estacionamento, desligue a bomba de pulverização, desligue o motor e retire a chave.
Alinhe um recipiente de escoamento debaixo do filtro de pressão (Figura 90).

Rode a tampa de drenagem no sentido contrário ao dos ponteiros do relógio e retire-a do recipiente do filtro de pressão (Figura 90).
Note: Deixe o recipiente escoar completamente.
Rode o recipiente no sentido contrário ao dos ponteiros do relógio e retire a cabeça do filtro (Figura 90).
Retire o elemento do filtro de pressão antigo (Figura 90).
Note: Elimine o filtro antigo.
Verifique a junta do tampão de drenagem (localizado no interior do recipiente) e junta do recipiente (localizado no interior da cabeça do filtro) e veja se há danos e desgaste (Figura 90).
Note: Substitua quaisquer juntas danificadas ou gastas no tampão, no recipiente ou ambos.
Instale o novo elemento do filtro de pressão na cabeça do filtro (Figura 90).
Note: Certifique-se de que o elemento do filtro está firmemente colocado na cabeça do filtro.
Instale o recipiente na cabeça do filtro apertando à mão (Figura 90).
Enrosque a tampa de drenagem na união na parte inferior do recipiente e aperte bem a tampa à mão (Figura 90).
Note: Determine a dimensão da rede adequada do filtro do bico que necessita para a tarefa; consulte Seleção de um filtro de ponta do bico (opcional).
Estacione a máquina numa superfície plana, engate o travão de estacionamento, desligue a bomba de pulverização, desligue o motor e retire a chave.
Retire o bico da cabeça de pulverização (Figura 91).

Retire o filtro do bico antigo (Figura 91).
Note: Elimine o filtro antigo.
Instale o novo filtro do bico (Figura 91).
Note: Certifique-se de que o filtro está totalmente colocado.
Instale o bico na cabeça de pulverização (Figura 91).
| Intervalo de assistência | Procedimento de manutenção |
|---|---|
| A cada 400 horas |
|
Note: Os seguintes componentes da máquina são considerados peças sujeitas a desgaste durante a utilização exceto se apresentarem um defeito e não são abrangidas pela garantia associada a esta máquina.
Peça a um distribuidor autorizado Toro que verifique os seguintes componentes internos da bomba para ver se estão danificados:
Diafragma da bomba
Conjuntos de válvulas de verificação da bomba
Substitua quaisquer componentes, se for necessário.
| Intervalo de assistência | Procedimento de manutenção |
|---|---|
| A cada 400 horas |
|
Estacione a máquina numa superfície plana, engate o travão de estacionamento, desligue a bomba, desligue o motor e retire a chave.
Estenda as secções das rampas exteriores até à posição de pulverização e apoie as rampas com suportes ou cintas e um dispositivo de elevação.
Retire o parafuso e porca que prende o pino de articulação e retire o pino (Figura 92).

Retire a rampa e o suporte da articulação do canal final da estrutura central para aceder aos casquilhos de nylon.
Retire e inspecione os casquilhos de nylon dos lados dianteiro e traseiro do suporte da articulação (Figura 92).
Note: Substitua todos os casquilhos gastos ou danificados.
Lubrifique os casquilhos de nylon com uma leve camada de óleo e instale-os no suporte da articulação (Figura 92).
Alinhe dos furos no suporte da articulação com os furos do canal final (Figura 92).
Instale o pino da articulação e fixe-o com o parafuso flangeado e a porca de bloqueio que retirou no passo 3.
Repita os passos 2 a 8 na outra secção da rampa exterior.
Pode ser usado o procedimento seguinte para ajustar os acionadores na rampa central para manter as rampas esquerda e direita niveladas.
Estenda as rampas para a posição de pulverização.
Retire o contrapino do pino de articulação (Figura 93).

Eleve rampa e retire o pino (Figura 93) e lentamente baixe a rampa para o solo.
Inspecione o pino para ver se está danificado e substitua-o, caso necessário.
Utilize uma chave nos lados planos do acionador para imobilizar e, em seguida, desaperte a porca para permitir que a barra do olhal seja ajustada (Figura 94).

Rode a barra do olhal na barra do olhal para diminuir ou aumentar o acionador estendido para a posição desejada (Figura 94).
Note: Tem de rodar a barra do olhal em meias voltas ou voltas inteiras para conseguir montar a barra na rampa.
Assim que alcançar a posição desejada, aperte a porca para prender o acionador e barra do olhal.
Levante a rampa para alinhar a articulação com a barra do acionador.
Enquanto segura na rampa, insira o pino através tanto da articulação da rampa como da barra do acionador (Figura 93).
Com o perno no lugar, solte a rampa e prenda o perno com o gancho anteriormente retirado.
Repita o procedimento para cada rolamento da barra do acionador, se necessário.
Important: Não utilize água salobra ou recuperada para limpar a máquina.
| Intervalo de assistência | Procedimento de manutenção |
|---|---|
| A cada 200 horas |
|
Lave cuidadosamente e enxague todo o sistema de pulverização.
Retire o fluxímetro do pulverizador e enxagúe-o com água limpa.
Retire o anel de retenção do lado superior (Figura 95).

Limpe a turbina e o cubo da turbina para retirar as ligações metálicas e quaisquer pós solúveis.
Inspecione as pás da turbina para verificar se existe desgaste.
Note: Segure a turbina na mão e rode-a. Deve rodar livremente com pouca pressão. Caso contrário, substitua-a.
Monte o fluxímetro.
Utilize uma pressão baixa (0,34 bar) de ar para assegurar que a turbina roda livremente.
Note: Se a turbina não rodar livremente, desaperte o parafuso hexagonal na parte inferior do cubo da turbina em 1/16 de volta até que ela rode livremente.
Antes de sair da posição de operador, faça o seguinte:
Estacione a máquina numa superfície nivelada.
Desligue a bomba de pulverização.
Engate o travão de estacionamento.
Desligue o motor e retire a chave (se equipada).
Aguarde que todo o movimento pare.
Deixe a máquina arrefecer antes de ajustar, fazer manutenção, limpar ou armazenar.
Não guarde a máquina ou o recipiente de combustível onde uma fonte de fogo, faísca ou luz piloto, como junto de uma caldeira ou outros eletrodomésticos.
Realize os seguintes procedimentos:
Important: Não utilize água salobra ou recuperada para limpar a máquina.
Estacione a máquina numa superfície nivelada, engate o travão de estacionamento, desligue a bomba de pulverização e o motor, retire a chave e aguarde que todo o movimento pare antes de sair da máquina.
Note: Para os modelos Workman das séries HD e HDX com transmissão manual, desengate a tomada de força.
Limpe a sujidade de toda a máquina, incluindo a parte exterior das aletas da cabeça do cilindro e o revestimento da turbina.
Important: Pode lavar a máquina com água e um detergente suave. Não utilize água sob pressão para lavar a máquina. A lavagem de pressão pode danificar o sistema elétrico ou retirar qualquer lubrificação aplicada nos pontos de fricção. Evite a utilização excessiva de água, especialmente próximo da zona do painel de controlo, luzes, motor e bateria.
Mova a máquina para a superfície de drenagem, engate o travão de estacionamento, desligue a bomba de pulverização e o motor, retire a chave e aguarde que todo o movimento pare antes de sair da máquina.
Drene o depósito de água limpa e deixe a torneira do depósito aberta.
Drene o depósito do pulverizador de forma tão completa quanto possível.
Prepare uma solução inibidora de ferrugem, anticongelante RV, sem ser à base de álcool; consulte a Preparação do condicionador.
Retire um painel de tubo do sensor de pressão uma abertura (caso se aplique) como se mostra na Figura 96.

Ligue o motor e baixe as secções exteriores das rampas.
Ponha a bomba de pulverização a trabalhar durante alguns minutos para fazer circular o anticongelante RV pelo sistema de pulverização e em quaisquer acessórios de pulverização instalados.
Rode os interruptores da secção esquerda, central e direita para a posição LIGAR.
Rode o interruptor da secção principal para a posição LIGAR e procure o seguinte:
Certifique-se de que o anticongelante RV flui da extremidade desligada do tubo do indicador de pressão.
Pulverize pelo bico até que seja visível anticongelante RV.
Coloque o interruptor da secção principal na posição DESLIGAR.
Rode o interruptor da bomba para a posição DESLIGAR.
Utilize os interruptores de elevação para levantar as secções da rampa exteriores.
Eleve as secções da rampa até se terem deslocado completamente para a cavidade de transporte das rampas, formando a posição de transporte em “X”, e até que os cilindros de elevação estejam completamente recolhidos.
Note: Certifique-se de que os cilindros de elevação estão completamente recolhidos para evitar danificar a barra do acionador.
Desligue o motor.
Drene o depósito do pulverizador de forma tão completa quanto possível.
Lubrifique o pulverizador; consulte Lubrificação.
Verifique e aperte todos os pernos, porcas e parafusos.
Note: Repare ou substitua quaisquer peças gastas ou danificadas.
Verifique o estado de todas as tubagens de pulverização.
Note: Substitua quaisquer tubagens que estejam gastas ou danificadas.
Aperte todas as uniões das tubagens.
Pinte todas as superfícies de metal riscadas ou descascadas com tinta disponível no seu Serviço de assistência autorizado.
Se necessário, prepare o veículo para o armazenamento de longa duração; consulte o Manual do utilizador da máquina.
Guarde a máquina numa garagem ou armazém limpo e seco.
Tape a máquina para a proteger e mantê-la limpa.
Insira o tubo do sensor de pressão na união de pressão até o tubo estar devidamente colocado (Figura 97).

Feche a torneira do depósito de água limpa.
Adicione combustível ao depósito de combustível.
Faça a assistência ao veículo; consulte o Manual do utilizador do veículo.
Capacidade do equipamento de elevação: 408 kg
O depósito do pulverizador apresenta um perigo de energia acumulada. Se não estiver preso de forma adequada quando é instalado ou removido, pode deslocar-se ou cair e feri-lo a si e a outras pessoas presentes.
Utilize correias e um elevador de suspensão para apoiar o depósito do pulverizador durante a instalação, remoção ou qualquer trabalho de manutenção sempre que remover os dispositivos de fixação.
Desligue os cabos da bateria; consulte a Desligação da bateria.
Separe o bloco de fusíveis do pulverizador do bloco de fusíveis da máquina e desligue os fios entre os dois blocos de fusíveis; consulte a Instalação do bloco de fusíveis do pulverizador.
Retire a cablagem dos ganchos em J; consulte Passagem da cablagem elétrica traseira do pulverizador para a consola de controlo.
Desaperte o manípulo que se encontra por baixo da consola e retire o perno de gancho; consulte a Instalação da consola de controlo na máquina.
Desligue os terminais dos fios que ligam o bloco de fusíveis do pulverizador ao bloco de fusíveis da máquina; consulte Instalação do bloco de fusíveis do pulverizador.
Separe o bloco de fusíveis do pulverizador do bloco de fusíveis da máquina; consulte Instalação do bloco de fusíveis do pulverizador.
Retire a consola do suporte de montagem da consola no painel de instrumentos da máquina e alinhe o pino articulado na consola de controlo com o suporte de armazenamento na correia frontal do depósito (Figura 98); consulte Instalação da consola de controlo na máquina.

Monte a consola no suporte e prenda o pino articulado no suporte com o perno de gancho (Figura 98).
Capacidade do equipamento de elevação: 408 kg
Alinhe o macaco frontal com o recetor do macaco na frente do depósito (Figura 99).

Insira o macaco frontal com o recetor até que o furo do meio no tubo horizontal do macaco esteja alinhado com o furo na parte superior do recetor (Figura 99).
Insira o passador de forquilha (1/2 x 3 pol.) nos furos no macaco e recetor e prenda o passador de forquilha com um perno de gancho (5/32 x 2-5/8 pol.).
Enrosque bem à mão um manípulo de bloqueio no recetor (Figura 99).
Alinhe o macaco traseiro com o recetor do macaco traseiro (Figura 100).

Alinhe o furo na parte superior do macaco com o furo na estrutura do patim do depósito (Figura 100).
Prenda o macaco ao recetor e estrutura com dois passadores de forquilha (1/2 x 4-1/2 pol.) e dois pernos de gancho (5/32 x 2-5/8 pol.) como se mostra na Figura 100.
Repita os passos de 1 a 7 para os macaco traseiros e o outro lado do patim do depósito.
Utilize o macaco e extensão frontal do macaco e apoie a máquina usando preguiças.

Baixe as rampas para aproximadamente 45° e, em seguida, incline-as para a frente (Figura 102).

Retire os dois parafusos (½ pol. x 1½ pol.) e as duas porcas de bloqueio (½ pol.) que prendem o suporte de fixação do conjunto do patim do depósito ao suporte da plataforma na estrutura de cada lado da máquina; consulte Abaixamento do patim do depósito.
Eleve o patim do depósito aos cilindros de elevação, instale o bloqueio do cilindro e efetue o seguinte:
Note: Consulte Elevação do depósito.
Para os modelos Workman da série HD e HDX com transmissão manual, desligue o veio da tomada de força da tomada de força da transmissão; consulte as Instruções de instalação do kit de acabamento do pulverizador de relva Multi Pro WM, veículo utilitário Workman manual.
Desligue os fios do sensor de velocidade; consulte Ligação da cablagem do sensor de velocidade (modelos da série HD com transmissão manual).
Retire o bloqueio do cilindro e baixe o patim do depósito com os cilindros de elevação; consulte Abaixamento do depósito.
Ligue o equipamento de elevação aos tubos horizontais dos macacos frontais e o poste vertical aos macacos traseiros (Figura 102).
Eleve o depósito 7,5 a 10 cm e retire os pinos de sujeição e os passadores de forquilha que prendem os cilindros de elevação ao depósito.
Eleve o patim do depósito da máquina o suficiente para afastar o patim da máquina (Figura 102).
Mova cuidadosamente o veículo para a frente afastando-o do patim do depósito
Faça descer lentamente o patim do depósito até ao solo.
| Problem | Possible Cause | Corrective Action |
|---|---|---|
| Uma secção não pulveriza. |
|
|
| Uma secção não desliga. |
|
|
| Uma válvula tem uma fuga. |
|
|
| O(s) bico(s) do pulverizador pinga(m) quando o(s) interruptor(es) de secção é(são) desligado(s). |
|
|
| Ocorre uma queda de pressão sempre que se liga uma rampa. |
|
|
