| Wartungsintervall | Wartungsmaßnahmen |
|---|---|
| Bei jeder Verwendung oder täglich |
|
Bei ordnungsgemäßer Installation verwandelt dieses Anbaugerät ein Fahrzeug in ein spezielles Rasensprühfahrzeug und ist für den Einsatz durch professionelle, geschulte Bediener in gewerblichen Anwendungen vorgesehen. Es ist hauptsächlich für das Sprühen von Gras auf gepflegten Grünflächen in Parkanlagen, Golfplätzen, Sportplätzen und öffentlichen Anlagen gedacht.
Lesen Sie diese Informationen sorgfältig durch, um sich mit dem ordnungsgemäßen Einsatz und der Wartung des Geräts vertraut zu machen und Verletzungen und eine Beschädigung des Geräts zu vermeiden. Sie tragen die Verantwortung für einen ordnungsgemäßen und sicheren Einsatz des Geräts.
Besuchen Sie Toro.com für weitere Informationen, einschließlich Sicherheitstipps, Schulungsunterlagen, Zubehörinformationen, Standort eines Händlers oder Registrierung Ihres Produkts.
Wenden Sie sich an Ihren autorisierten Service-Vertragshändler oder Kundendienst, wenn Sie eine Serviceleistung, Toro Originalersatzteile oder zusätzliche Informationen benötigen. Halten Sie hierfür die Modell- und Seriennummern Ihres Produkts griffbereit. In Bild 1 ist angegeben, wo an dem Produkt die Modell- und die Seriennummer angebracht sind. Tragen Sie hier die Modell- und Seriennummern des Geräts ein.
Important: Wichtig: Scannen Sie mit Ihrem Mobilgerät den QR-Code auf dem Seriennummernaufkleber (falls vorhanden), um auf Garantie-, Ersatzteil- oder andere Produktinformationen zuzugreifen.

In dieser Anleitung werden potenzielle Gefahren angeführt und Sicherheitshinweise werden vom Sicherheitswarnsymbol (Bild 2) gekennzeichnet. Dieses Warnsymbol weist auf eine Gefahr hin, die zu schweren oder tödlichen Verletzungen führen kann, wenn Sie die empfohlenen Sicherheitsvorkehrungen nicht einhalten.

In dieser Anleitung werden zwei Begriffe zur Hervorhebung von Informationen verwendet. Wichtig weist auf spezielle mechanische Informationen hin, und Hinweis hebt allgemeine Informationen hervor, die Ihre besondere Beachtung verdienen.
Dieses Produkt erfüllt alle relevanten europäischen Richtlinien; weitere Details finden Sie in der produktspezifischen Konformitätserklärung (DOC).
Entsprechend dem California Public Resource Code Section 4442 oder 4443 ist der Einsatz des Motors in bewaldeten oder bewachsenen Gebieten ohne richtig gewarteten und funktionsfähigen Funkenfänger, wie in Section 4442 definiert, oder ohne einen Motor verboten, der nicht für die Brandvermeidung konstruiert, ausgerüstet und gewartet ist.
KALIFORNIEN
Warnung zu Proposition 65
Bei Verwendung dieses Produkts sind Sie ggf. Chemikalien ausgesetzt, die laut den Behörden des Staates Kalifornien krebserregend wirken, Geburtsschäden oder andere Defekte des Reproduktionssystems verursachen.
Eine fehlerhafte Bedienung oder Wartung durch den Bediener oder Besitzer kann Verletzungen zur Folge haben. Befolgen Sie zur Verringerung des Verletzungsrisikos diese Sicherheitshinweise und beachten Sie das Warnsymbol (Bild 2) mit der Bedeutung Achtung, Warnung oder Gefahr – Sicherheitsrisiko. Wenn der Hinweis nicht beachtet wird, kann es zu Verletzungen u. U. tödlichen Verletzungen kommen.
Dieses Produkt kann Verletzungen verursachen. Befolgen Sie zum Vermeiden von schweren Verletzungen immer alle Sicherheitshinweise.
Lesen und verstehen Sie vor dem Anlassen des Motors den Inhalt dieser Bedienungsanleitung.
Konzentrieren Sie sich immer bei der Verwendung des Fahrzeugs. Tun Sie nichts, was Sie ablenken könnte, sonst können Verletzungen oder Sachschäden auftreten.
Tragen Sie geeignete Schutzkleidung, um sich vor dem Kontakt mit Chemikalien zu schützen. Die im Sprühsystem verwendeten Chemikalien können gefährlich und giftig sein.
Halten Sie Hände und Füße von beweglichen Teilen fern.
Bedienen Sie die Maschine niemals, wenn nicht alle Schutzvorrichtungen und Abdeckungen angebracht und funktionstüchtig sind.
Halten Sie sich vom Auswurfbereich der Sprühdüsen und dem Sprühwindabdrift fern. Halten Sie Unbeteiligte, insbesondere Kinder, aus dem Arbeitsbereich fern.
Die Maschine darf niemals von Kindern betrieben werden.
Stellen Sie die Maschine auf einer ebenen Fläche ab, aktivieren Sie die Feststellbremse, stellen Sie den Motor ab, ziehen Sie den Schlüssel ab und warten Sie, bis alle beweglichen Teile zum Stillstand gekommen sind, bevor Sie die Bedienerposition verlassen. Lassen die Maschine abkühlen, bevor Sie sie einstellen, warten, reinigen, oder einlagern.
Der unsachgemäße Einsatz oder die falsche Wartung
dieser Maschine kann zu Verletzungen führen. Befolgen Sie zur
Verringerung des Verletzungsrisikos diese Sicherheitshinweise und
beachten Sie das Warnsymbol
mit der Bedeutung Achtung, Warnung oder Gefahr
– Sicherheitsrisiko. Wenn diese Hinweise nicht beachtet werden,
kann es zu schweren bis tödlichen Verletzungen kommen.
Nicht alle für diese Maschine angebotenen Anbaugeräte werden in dieser Anleitung angesprochen. Weitere Sicherheitsanweisungen finden Sie in der Bedienungsanleitung, die jedem Anbaugerät beiliegt.
![]() |
Die Sicherheits- und Bedienungsaufkleber sind für den Bediener gut sichtbar und befinden sich in der Nähe der möglichen Gefahrenbereiche. Tauschen Sie beschädigte oder verloren gegangene Aufkleber aus. |

















Important: Das Modell 41240 mit einer Seriennummer von 416500000 und höher kann nur auf Workman HDX-Maschinen mit Schaltgetriebe installiert werden.
Note: Bestimmen Sie die linke und rechte Seite der Maschine anhand der normalen Sitz- und Bedienposition.
Note: Lesen Sie die dem System beiliegende Bedienungsanleitung, wenn Sie Fragen haben oder weitere Informationen zum Sprühsystem haben.
Important: Das Sprühfahrzeug wird ohne Sprühdüsen verkauft.Für den Einsatz des Sprühfahrzeugs müssen Sie Düsen kaufen und einsetzen. Wenden Sie sich an den offiziellen Vertragshändler von Toro für Informationen zu angebotenen Abschnitten und Zubehör. Nach dem Einbau der Düsen und vor der ersten Verwendung des Sprühfahrzeugs müssen Sie die Sicherheitsventile der Abschnitte einstellen, damit der Druck und die Dosierung für alle Abschnitte konstant bleiben, wenn Sie einen oder mehrere Abschnitte abschalten. Siehe Kalibrieren des Sprühfahrzeugflusses.
Important: Für das Sprühfahrzeug Multi Pro WM muss am Workman-Fahrzeug ein Überrollschutz mit vier Streben oder eine Kabine montiert sein.
Gewicht der großen Ladepritsche: Ca. 95 kg Sie können Verletzungen erleiden, wenn Sie die Ladepritsche ohne Hilfe entfernen.
Versuchen Sie nie, die Pritsche allein zu montieren oder abzunehmen.
Lassen Sie sich von zwei oder drei Personen helfen oder verwenden Sie einen Schwebekran.
Parken Sie die Maschine auf einer ebenen Fläche, aktivieren Sie die Feststellbremse und starten Sie den Motor.
Schieben Sie den Hydraulikhubhebel nach vorne und senken die Ladepritsche ab, bis die Lastösenbolzen für die Hubzylinder am Zylinderstangenende lose in den Befestigungsschlitzen der Befestigungsplatte für die Ladepritsche sind.
Lassen Sie den Hydraulikhubhebel los, aktivieren Sie den Hydraulikhubsperrhebel, stellen den Motor ab und ziehen Sie den Schlüssel ab, siehe Bedienungsanleitung der Maschine.
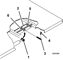
Nehmen Sie die Klappstecker von den äußeren Enden der Lastösenbolzen der Zylinderstange (Bild 3) ab.

Nehmen Sie die Lastösenbolzen ab, mit denen die Zylinderstangenenden an den Befestigungsplatten der Ladepritsche befestigt sind. Drücken Sie hierfür die Bolzen zur Mitte der Maschine (Bild 3).
Nehmen Sie die Klappstecker und die Lastösenbolzen ab, mit denen die Schwenkhalterungen der Ladepritsche an den Rahmenkanälen der Maschine befestigt sind (Bild 4).

Heben Sie die Pritsche vom Fahrzeug ab.
Lagern Sie die Hubzylinder in den Lagerclips.
Für diesen Arbeitsschritt erforderliche Teile:
| Hintere Zapfwelle, HD-Workman-Fahrzeug (Modelle der Serie HD mit manuellem Getriebe) | 1 |
| Finishingkit für Sprühfahrzeug Multi Pro WM, manuelles Workman-Nutzfahrzeug (Modelle der Serie HD mit manuellem Getriebe) | 1 |
Für Workman-Modelle der Serie HD und HDX mit manuellem Getriebe müssen Sie die hintere Zapfwelle für HD-Workman-Fahrzeuge einbauen, siehe Installationsanleitungen für die hintere Zapfwelle für HD-Workman-Fahrzeuge.
Verwenden Sie eine Hebevorrichtung mit einer Hubkapazität von 408 kg; heben Sie das Behältergestell an den zwei vorderen und hinteren Hebestellen aus der Versandkiste (Bild 5).
Note: Stellen Sie sicher, dass das Behältergestell hoch genug angehoben ist, um die Stützböcke zu montieren.

Führen Sie für Workman-Modelle der HD- und HDX-Serie mit Schaltgetriebe die Schritte im Multi Pro WM Turf Sprayer Finishing-Kit für Workman-Nutzfahrzeuge mit Schaltgetriebe aus.
Für diesen Arbeitsschritt erforderliche Teile:
| Befestigungshalterungen | 2 |
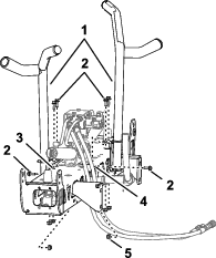
Entfernen Sie die zwei hinteren Bundkopfschrauben und zwei Sicherungsbundmuttern, mit denen die Stützhalterung für das Motorrohr am Rahmen der Maschine befestigt ist (Bild 6).
Note: Bewahren Sie die Befestigungsteile für eine spätere Verwendung auf.

Drehen Sie den Hubzylinder, um einen Abstand für das Montieren der Befestigungshalterung am Behältergestell zu schaffen (Bild 6).
Befestigen Sie die Befestigungshalterungen mit den zwei Bundkopfschrauben und der Sicherungsbundmutter, die Sie in Schritt 1 entfernt haben, an der Stützhalterung (Bild 7).

Ziehen Sie die Schrauben und Muttern mit 91-113 N∙m an.
Wiederholen Sie die Schritte 1 bis 4 an der anderen Seite der Maschine.
Für diesen Arbeitsschritt erforderliche Teile:
| Behälter und Behältergestell | 1 |
| Lastösenbolzen | 2 |
| Angeschrägter Lastösenbolzen | 2 |
| Splinte | 2 |
| Klappstecker | 4 |
| Schraube (½" x 1½") | 2 |
| Muttern (½") | 2 |
Der Sprühbehälter stellt eine Gefahrenstelle mit gespeicherter Energie dar. Wenn der Behälter bei der Montage oder dem Ausbau nicht richtig festgehalten wird, kann er herunterfallen und Sie oder Unbeteiligte verletzen.
Stützen Sie den Sprühbehälter beim Einbau, dem Ausbau oder bei Wartungsarbeiten mit Riemen oder einem Flaschenzug ab, wenn die Befestigungen abgenommen sind.
Heben Sie das Behältergestell (Bild 8) mit einer Hebevorrichtung an und positionieren Sie es über den Fahrzeugrahmen. Die Pumpe und das Ventil sollten nach hinten zeigen.
Note: Bitten Sie für die folgenden Schritte eine zweite Person um Hilfe.

Senken Sie das Behältergestell langsam auf den Rahmen der Maschine ab.
Fahren Sie die Hubzylinder bis zu den Halterungen am Behältergestell aus und fluchten Sie die Zylinderbefestigungen mit den Löchern in den Halterungen des Behältergestells aus (Bild 9).

Befestigen Sie das Behältergestell mit den Lastösenbolzen und den Splints an beiden Seiten der Maschine an den Hubzylindern.
Fluchten Sie die Löcher in den Drehansätzen hinten am Behältergestell mit den Löchern im Schwenkrohr der Ladepritsche am Ende des Fahrzeugrahmens aus (Bild 10).

Setzen Sie einen angeschrägten Lastösenbolzen und zwei Klappstecker in den Drehansatz ein, um den Behälter am Rahmen zu befestigen (Bild 10).
Fahren Sie die Hubzylinder aus, um den Behälter anzuheben und sein Gewicht abzustützen.
Note: Schließen Sie den Behälter von der Hebevorrichtung ab.
Nehmen Sie die Ladepritschenstütze aus den Einlagerungshalterungen hinten an der Überrollschutzplatte (Bild 11).

Schieben Sie die Ladepritschenstütze auf die Zylinderstange. Achten Sie darauf, dass die Stützenendnasen auf dem Ende der Zylindertrommel und auf dem Ende der Zylinderstange aufliegen (Bild 12).

Entfernen Sie den Kabelbinder, mit dem das Ablassventil und der Schlauch für den Sprühbehälter am Gestellkanal befestigt sind (Bild 13).

Schieben Sie das Ablassventil zur Außenseite des Gestellkanals (Bild 14A).

Nehmen Sie die zwei Bundkopfschrauben (5/16" x ⅝") vom Gehäuse des Ablassventils ab (Bild 14).
Befestigen Sie das Ablassventil mit den zwei Bundkopfschrauben (5/16" x ⅝"), die Sie in Schritt 3 entfernt haben, an der Ablassventilhalterung (Bild 14B).
Ziehen Sie die zwei Bundkopfschrauben mit der Hand an (Bild 14B).
Das unsachgemäße Verlegen der Batteriekabel kann das Sprühfahrzeug beschädigen, und die Kabel können Funken erzeugen. Funken können zum Explodieren der Batteriegase führen, was Verletzungen zur Folge haben kann.
Trennen Sie immer das Minuskabel (Schwarz) ab, bevor Sie das Pluskabel (Rot) abtrennen.
Schließen Sie immer das Pluskabel (Rot) an, bevor Sie das Minuskabel (Schwarz) anschließen.
Batteriepole und Metallwerkzeuge können an metallischen Teilen des Sprühfahrzeugs Kurzschlüsse verursachen, was Funken erzeugen kann. Funken können zum Explodieren der Batteriegase führen, was Verletzungen zur Folge haben kann.
Lassen Sie Batteriepole, wenn Sie die Batterie entfernen oder einbauen, nie mit irgendwelchen Metallteilen des Sprühfahrzeugs in Berührung kommen.
Achten Sie darauf, dass Metallwerkzeuge keinen Kurzschluss zwischen den Batteriepolen und Metallteilen des Sprühfahrzeugs erzeugen.
Drücken Sie die Seiten der Batterieabdeckung zusammen, um die Nasen aus dem Batterieunterteil zu lösen, und nehmen Sie die Batterieabdeckung vom Batterieunterteil ab (Bild 15).

Schieben Sie die Abdeckung zurück und ziehen den Minuspol der Batterie von der Batterie ab (Bild 15).
Ziehen Sie den Pluspol der Batterie von der Batterie ab (Bild 15).
Suchen Sie am Kabelbaum des Sprühfahrzeugs den 3-Buchsen-Stecker für den Geschwindigkeitssensor-Schaltkreis und den 3-Stift-Stecker für den Fahrzeugschaltkreis.
Stecken Sie am Getriebe der Maschine den 3-Stift-Stecker des Kabelbaums der Maschine für den Geschwindigkeitssensor in den 3-Buchsen-Stecker des Sprühfahrzeug-Kabelbaums für den Geschwindigkeitssensor (Bild 16).

Stecken Sie den 3-Stift-Stecker für den Fahrzeugschaltkreis des Kabelbaums des Sprühfahrzeugs in den 3-Buchsen-Stecker für den Fahrzeugschaltkreis des Maschinenkabelbaums.
Siehe Installationsanleitung für das Multi Pro WM Turf Sprayer Finishing-Kit, Workman-Nutzfahrzeuge mit Schaltgetriebe.
Für diesen Arbeitsschritt erforderliche Teile:
| Befestigungshalterung für die Konsole | 1 |
| Sicherungsbundmutter (5/16") | 3 |
| Bundkopfschraube (5/16") | 3 |
| Kunststoffbüchse | 2 |
| Bedienkonsole | 1 |
| Federclipstift | 1 |
| Handrad | 1 |
Note: Bei einigen Workman-Fahrzeugen ist die Befestigungsplatte für die Steuerkonsole an derselben Stelle wie die Halterung für die optionale Handgasbedienung am Armaturenbrett befestigt. Wenn die Handgasbedienung montiert ist, müssen Sie die Halterung der Handgasbedienung vom Armaturenbrett entfernen, die Befestigungsplatte der Steuerkonsole mit dem Armaturenbrett ausfluchten und die Halterung für die Handgasbedienung über der Befestigungsplatte für die Steuerkonsole befestigen. Weitere Informationen zum Entfernen und Montieren der Handgasbedienung finden Sie in den Installationsanleitungen.
Entfernen Sie die drei Schrauben und drei Muttern, mit denen das Armaturenbrett unten in der Mitte an der Armaturenbrett-Stützhalterung befestigt ist (Bild 17).
Note: Bei einigen älteren Workman Modellen werden vier Schrauben und Bundmuttern verwendet.
Note: Werfen Sie die Schrauben und Muttern weg.

Fluchten Sie die Löcher in der Befestigungshalterung für die Steuerkonsole mit den Löchern im Armaturenbrett und der Stützhalterung aus (Bild 17).
Befestigen Sie die Befestigungshalterung des Armaturenbretts und der Stützhalterung mit den drei Bundkopfschrauben (5/16" x 1") und den drei Sicherungsbundmuttern (5/16").
Ziehen Sie die Muttern und Schrauben mit (Bild 17) an.
Stecken Sie die zwei Kunststoffbüchsen in die Befestigungshalterung (Bild 17).
Entfernen Sie den Splint, mit dem der Lagerungsbolzen der Steuerkonsole an der Lagerhalterung am Sprühbehälter befestigt ist.
Befestigen Sie die Steuerkonsole an der Befestigungshalterung der Steuerung und befestigen sie mit dem Federclipstift (Bild 18).
Note: Stellen Sie sicher, dass der Federclip um den Lagerbolzen gedreht ist, um den Federclipstift richtig zu befestigen.

Montieren Sie das Handrad und ziehen es an, damit sich die Konsole nicht während des Betriebs dreht (Bild 18).
Für diesen Arbeitsschritt erforderliche Teile:
| Hakenclips | 3 |
| Schraube (¼" x ¾") | 1 |
| Bundmutter (¼") | 1 |
Montieren Sie zwei Hakenclips mit den vorhandenen Schrauben in der Mittelkonsole.

Befestigen Sie einen Hakenclip mit einer Schraube (¼" x ½") und einer Bundmutter (¼") hinter dem Passagiersitz.

Befestigen Sie den Kabelbaum der Bedienkonsole mit den Hakenclips an der Konsole und der Überrollschutzabdeckung.
Verbinden Sie den 3-poligen Stecker des hinteren Kabelbaums für das Sprühfahrzeug mit dem 3-poligen Stecker des vorderen Kabelbaums, der mit der Steuerkonsole verbunden ist.

Verbinden Sie den 24-poligen Stecker des hinteren Kabelbaums für das Sprühfahrzeug mit dem 24-poligen Stecker des vorderen Kabelbaums, der mit der Steuerkonsole verbunden ist.
Klappen Sie den Hebel am 24-poligen Stecker um, um die beiden Stecker miteinander zu verriegeln.
Für diesen Arbeitsschritt erforderliche Teile:
| Sicherungsaufkleber (127-3966) | 1 |
Verlegen Sie an der Steuerkonsole für das Sprühfahrzeug den Zweig des vorderen Kabelbaums mit den Sicherungskästen zwischen der Unterseite des Armaturenbretts und dem Querrohr des Maschinenchassis und dann nach unten zur Vorderseite des Sicherungskastens der Maschine (Bild 22).

Suchen Sie den nicht isolierten Anschluss am Ende des offenen, gelben Stromkabels am Sicherungskasten der Maschine und den isolierten Flachstecker am Ende des gelben, optionalen Stromkabels am Sicherungskasten des Sprühfahrzeugkabels (Bild 23).

Stecken Sie den nicht isolierten Anschluss des Sicherungskastens für die Maschine in den isolierten Flachstecker des Sicherungskastens des Sprühfahrzeugs (Bild 23).
Fluchten Sie die T-Anschlussstücke am Sicherungskasten für das Sprühfahrzeug mit den T-Schlitzen des Sicherungskastens für die Maschine aus und schieben Sie den Sicherungskasten des Sprühfahrzeugs in die Schlitze, bis der Sicherungskasten einrastet (Bild 24).

Kleben Sie den Sicherungsaufkleber in der Nähe des Sicherungskastens für das Sprühfahrzeug auf.
Für diesen Arbeitsschritt erforderliche Teile:
| Batteriepolschraube | 2 |
| Klemmmutter | 2 |
| Abdeckung, breit (Batteriepol, rot) | 1 |
Das unsachgemäße Verlegen der Batteriekabel kann das Sprühfahrzeug beschädigen, und die Kabel können Funken erzeugen. Funken können zum Explodieren der Batteriegase führen, was Verletzungen zur Folge haben kann.
Klemmen Sie immer zuerst das (rote) Pluskabel an, bevor Sie das (schwarze) Minuskabel anklemmen.
Entfernen Sie die Muttern und T-Schrauben an den Klemmen des Plus- und Minuskabels der Batterie (Bild 25).
Note: Die Muttern und T-Schrauben werden nicht mehr benötigt.

Nehmen Sie die Abdeckung (schmal) vom Pluskabel der Batterie ab (Bild 26).
Note: Die schmale Batterieabdeckung wird nicht mehr benötigt.

Schieben Sie die breite Batterieabdeckung über das Pluskabel der Batterie, wie in Bild 26 abgebildet.
Note: Schieben Sie die Abdeckung so weit über die Kabel, dass die Polklemme zugänglich ist.
Fluchten Sie den Kabelschuh des durch die Schmelzsicherung geschützten Verbindungsteils (Kabelbaum des Sprühfahrzeugs) durch die breite Batterieabdeckung aus, wie in Bild 27 abgebildet.

Bringen Sie eine Polschraube und eine Klemmmutter lose an den Klemmen des Plus- und Minuskabels der Batterie an (Bild 28).

Befestigen Sie den Kabelschuh des durch die Schmelzsicherung geschützten Verbindungsteils (Kabelbaum des Sprühfahrzeugs) am Stift der Polschraube, die Sie mit einer Klemmmutter am Pluskabel der Batterie befestigt haben (Bild 29).

Befestigen Sie den Kabelschuh des Minuskabels (schwarz, Kabelbaum des Sprühfahrzeugs) am Stift der Polschraube, die Sie mit einer Klemmmutter am Minuskabel der Batterie befestigt haben (Bild 29).
Schließen Sie das Pluskabel der Batterie am Pluspol der Batterie an und ziehen Sie die Klemmmutter mit der Hand an (Bild 30).

Schließen Sie das Minuskabel der Batterie am Minuspol der Batterie an und ziehen Sie die Klemmmutter mit der Hand an.
Drücken Sie die Seiten der Batterieabdeckung zusammen, fluchten Sie die Nasen der Abdeckung mit den Schlitzen im Batterieunterteil aus, und lassen Sie die Batterieabdeckung los (Bild 31).

Für diesen Arbeitsschritt erforderliche Teile:
| Schraube (½" x 1½") | 2 |
| Sicherungsmutter (½") | 2 |
Lassen Sie den Motor an und heben Sie das Behältergestell etwas mit den Hubzylindern an.
Entfernen Sie die Ladepritschenstütze von dem Hubzylinder und lagern Sie die Stütze in den Lagerungshalterungen an der Rückseite der Überrollschutzplatte (Bild 32 und Bild 33).


Senken Sie den Behälter mit den Hubzylindern langsam auf den Rahmen ab.
Note: Ein Helfer sollte das Behältergestell beim Absenken beobachten. Achten Sie auf Schläuche und Kabel, die eingeklemmt oder gebogen sind.
Prüfen Sie die Ausfluchtung des Behältergestells mit dem Rahmen der Maschine.
Nehmen Sie die Abdeckplatten an beiden Seiten des Gestellrahmens ab (Bild 34).

Prüfen Sie, ob die Schläuche oder Kabel, die Sie durch die Öffnung im Gestellrahmen sehen können, eingequetscht oder eingeklemmt sind.
Important: Wenn Schläuche oder Kabel am Behältergestell gequetscht oder geknickt sind, heben Sie das Gestell an, ändern Sie die Position und binden Sie Schläuche oder Kabel fest.
Fluchten Sie die vorderen Befestigungshalterungen mit den Befestigungshalterungen aus, die Sie in Montieren der Befestigungshalterungen für das Behältergestell montiert haben.
Befestigen Sie die Befestigungshalterung des Behältergestells mit einer Schraube (½" x 1½") und einer Sicherungsmutter (½") an der Ladepritschenhalterung am Rahmen auf beiden Seiten der Maschine, wie in Bild 34 abgebildet.
Ziehen Sie die Schraube und Sicherungsmutter mit 91-113 N∙m an.
Wiederholen Sie die Schritte 7 bis 9 auf der anderen Seite des Behältergestells und der Maschine.
Für diesen Arbeitsschritt erforderliche Teile:
| Mittlerer Ausleger | 1 |
| Schraube (⅜" x 1") | 10 |
| Sicherungsbundmutter (⅜") | 10 |
| Auslegertransportgabel | 2 |
| Schraube (½" x 1¼") | 4 |
| Bundmutter (½") | 4 |
Befestigen Sie Hebegeräte am mittleren Auslegerabschnitt und nehmen ihn aus der Versandkiste heraus.
Fluchten Sie die Transportgabeln des mittleren Auslegerabschnitts aus (Bild 35).

Befestigen Sie die Gabeln mit sechs Schrauben (⅜" x 1") und sechs Sicherungsbundmuttern (⅜") am Auslegerabschnitt (Bild 35 und Bild 36).

Ziehen Sie die Schrauben und Muttern mit 37-45 N∙m an.
Starten Sie die Maschine, entfernen Sie die Ladepritschenstütze vom Hubzylinder und lagern die Stütze, senken das Behältergestell ab, stellen die Maschine ab und ziehen den Zündschlüssel aus dem Zündschloss.
Fluchten Sie das untere Loch in der Befestigungshalterung für den Abschnitt des mittleren Auslegers mit dem dritten Loch von unten in den Auslegerstützen am Gestellrahmen des Sprühfahrzeugs aus, wie in Bild 37 abgebildet.
Note: Lösen Sie ggf. die Auslegerstützen und passen sie dem mittleren Auslegerabschnitt für ein besseres Ausfluchten des Lochs an. Ziehen Sie die Schrauben und Muttern mit 67-83 N∙m an.

Befestigen Sie den mittleren Ausleger mit vier Schrauben (½" x 1¼") und vier Sicherungsmuttern (½") am Gestellrahmen des Sprühfahrzeugs.
Ziehen Sie die Schrauben und Muttern mit 67-83 N∙m an.
Siehe Installationsanleitung für das Multi Pro WM Turf Sprayer Finishing-Kit, Workman-Nutzfahrzeuge mit Schaltgetriebe.
Für diesen Arbeitsschritt erforderliche Teile:
| Linker Auslegerabschnitt | 1 |
| Rechter Auslegerabschnitt | 1 |
| Bundkopfschrauben (⅜" x 1¼") | 8 |
| Stützplatten | 8 |
| Sicherungsbundmuttern (⅜") | 8 |
| Lastösenbolzen | 2 |
| Splint | 2 |
Jeder Auslegerabschnitt wiegt ungefähr 14 kg.
Entfernen Sie die vier Bundkopfschrauben (⅜" x 1¼"), vier Stützplatten und vier Sicherungsbundmuttern (⅜") von der Scharnierhalterung des mittleren Auslegerabschnitts.
Drehen Sie jede Schwenkhalterung am Ende des mittleren Auslegerabschnitts so, dass die Halterungen vertikal ausgefluchtet sind (Bild 38).

Heben Sie den äußeren Auslegerabschnitt an und fluchten Sie die Löcher in der dreieckigen Befestigungsplatte am Ende des äußeren Auslegerabschnitts mit den Löchern in der Schwenkhalterung aus.
Note: Stellen Sie sicher, dass die Drehkreuze für die Sprühdüsen nach hinten zeigen.
Montieren Sie die Scharnierplatte mit vier Bundkopfschrauben, vier Stützplatten und vier Sicherungsbundmuttern (Bild 38), die Sie in Schritt 1 entfernt haben, an der dreieckigen Platte.
Ziehen Sie die Schrauben und Muttern mit 37-45 N∙m an.
Fluchten Sie das Stangenende des Auslegerhubzylinders mit den Löchern im Horn der Schwenkhalterung aus (Bild 38)

Befestigen Sie das Stangenende der Schwenkhalterung mit einem Lastösenbolzen und einem Splint (Bild 38).
Wiederholen Sie Schritt 1 bis 5 an der anderen Seite des mittleren Auslegerabschnitts mit dem gegenüberliegenden Auslegerabschnitt.
Note: Stellen Sie vor dem Abschluss dieser Schritte sicher, dass alle Drehkreuze für die Sprühdüsen nach hinten zeigen.
Für diesen Arbeitsschritt erforderliche Teile:
| Schlauchklemmen | 3 |
| R-Klemme | 2 |
| Ansatzschraube | 2 |
| Scheibe | 2 |
| Mutter | 2 |
Verlegen Sie die Schläuche des Auslegerabschnitt, wie in Bild 40 und Bild 41 abgebildet.


Befestigen Sie die Auslegerschläuche mit einer R-Klemme, einer Ansatzschraube (5/16" x 1"), einer Sicherungsmutter (5/16") und einer Scheibe (5/16") vorne am mittleren Auslegerabschnitt (Bild 40 und Bild 41).
Befestigen Sie den Schlauch des Auslegerabschnitts mit einer Schlauchklemme über dem gezahnten T-Anschlussstück (Bild 40 und Bild 41).
Note: Schmieren Sie Flüssigseife auf die Zahnung des T-Anschlussstückes, um das Befestigen des Schlauchs zu erleichtern.
Wiederholen Sie die Schritte 1 bis 3 am Schlauch des Auslegerabschnitts an der anderen Seite des Sprühfahrzeugs.
Verlegen Sie den Schlauch des mittleren Auslegerabschnitts, wie in Bild 42 abgebildet.

Befestigen Sie den Schlauch des Auslegerabschnitts über dem gezahnten T-Anschlussstück am mittleren Auslegerabschnitt und befestigen den Schlauch mit einer Schlauchklemme (Bild 42).
Note: Schmieren Sie Flüssigseife auf die Zahnung des T-Anschlussstückes, um das Befestigen des Schlauchs zu erleichtern.
Die Düsen, mit denen Sie die Chemikalien dosieren, sind abhängig von der gewünschten Dosierungsrate unterschiedlich. Daher werden keine Düsen mit dem Kit ausgeliefert. Wenden Sie sich für Düsen an den offiziellen Toro Vertragshändler. Sie sollten die folgenden Informationen griffbereit haben:
Die Solldosierung in Litern pro Hektar, amerikanischen Gallonen pro Ar oder amerikanischen Gallonen pro 1000 Quadratfuß.
Die Sollgeschwindigkeit des Fahrzeugs in Kilometern pro Stunde oder Meilen pro Stunde.
Drehen oder setzen Sie die Düse in den Düsensockel ein, setzen Sie dann eine Dichtung ein.
Schieben Sie die Düsenfassung über das Düsenanschlussstück an einem Drehkreuz.
Drehen Sie die Düsen nach rechts, um die Nocken in der Fassung zu arretieren.
Prüfen Sie den Sprühteil der Düse.
Weitere Informationen finden Sie in der Installationsanleitung, die den Düsen beiliegt.
Für diesen Arbeitsschritt erforderliche Teile:
| Frischwasserbehälter | 1 |
| 90°-Krümmer (¾", NPT) | 1 |
| 90°-Hahn | 1 |
| Befestigung für Frischwasserbehälter | 1 |
| Befestigungsriemen | 4 |
| Bundkopfschraube (5/16" x ⅝") | 4 |
| Sicherungsbundmutter (5/16") | 10 |
| Stützrohr (Frischwasserbehälter) | 1 |
| Klemmmutter (5/16") | 1 |
| Schraube (5/16" x 1") | 1 |
| Ansatzschraube (½" x 1-15/16") | 2 |
| Schraube (5/16" x 2¼") | 2 |
| Scheibe (5/16") | 2 |
Montieren Sie den Frischwasserbehälter mit den zwei Befestigungsriemen, vier Bundkopfschrauben (5/16" x ⅝") und vier Sicherungsbundmuttern (5/16") an der Befestigung für den Frischwasserbehälter, wie in Bild 43 abgebildet.
Note: Stellen Sie sicher, dass der Krümmer und Hahn mit derselben Seite des Behälters wie der Aufkleber für Frischwasser ausgefluchtet sind.

Ziehen Sie die Schrauben und Muttern bis auf 20-25 N∙m an.
Fluchten Sie das Stützrohr für den Frischwasserbehälter mit dem Kanal der Behälterstütze aus (Bild 44).

Fluchten Sie die Löcher im Stützrohr mit den Löchern im Kanal aus (Bild 44).
Befestigen Sie das Rohr mit zwei Ansatzschrauben (½" x 1-15/16") und zwei Sicherungsbundmuttern (5/16") am Kanal (Bild 44).
Ziehen Sie die Schrauben und Muttern bis auf 20-25 N∙m an.
Schrauben Sie die Klemmmutter (5/16") in die Schraube (5/16" x 1"), wie in Bild 44 abgebildet.
Schrauben Sie die Schraube (5/16") und Klemmmutter auf die Schweißmutter unten am Behälterstützkanal und ziehen die Schraube und Klemmmutter mit der Hand an (Bild 44).
Note: Für das Sprühfahrzeug Multi Pro WM muss am Workman-Fahrzeug ein Überrollschutz mit vier Streben oder eine Kabine montiert sein.
Montieren Sie den Frischwasserbehälter und die Befestigung mit den zwei Schrauben (5/16" x 2¼") und zwei Sicherungsbundmuttern (5/16") am Stützrohr, wie in Bild 45 abgebildet.

Ziehen Sie die Schrauben und Muttern bis auf 20-25 N∙m an.
Für diesen Arbeitsschritt erforderliche Teile:
| Füllanschluss | 1 |
| Bundkopfschraube (5/16" x ¾") | 1 |
Setzen Sie den Füllanschluss über das Gewindeloch im Behälter (Bild 46) und befestigen ihn mit einer Bundkopfschraube (5/16" x ¾").

Für diesen Arbeitsschritt erforderliche Teile:
| Vorderer Stützbock | 2 |
| Hinterer Stützbock | 2 |
| Splint | 4 |
| Lastösenbolzen (4½") | 2 |
| Lastösenbolzen (3") | 2 |
| Knopf | 2 |
Setzen Sie die vorderen Stützböcke umgedreht in den Rahmen in der Nähe der vorderen Vergurtungsstellen ein (Bild 47).

Befestigen Sie die vorderen Stützböcke mit zwei Lastösenbolzen (3") und zwei Splints im mittleren Loch an den Ständern.
Setzen Sie die hinteren Stützböcke von unten in den Rahmen in der Nähe der hinteren Vergurtungsstellen ein (Bild 48).

Befestigen Sie die hinteren Stützböcke mit vier Lastösenbolzen (4½") und vier Splints im letzten Loch an den Ständern.

Note: Dieses InfoCenter mit sechs Tasten ist nur für den HDX Workman mit Schaltgetriebe erhältlich. Wenn Sie eine Workman HDX-Maschine mit Automatikgetriebe besitzen, verwenden Sie bitte weiterhin das InfoCenter mit drei Tasten.
Das LCD-Display am InfoCenter zeigt Informationen über die Maschine und den Akkupack an, zum Beispiel den aktuellen Ladezustand des Akkus, Geschwindigkeit, Diagnoseinformationen usw. Weitere Informationen finden Sie hier: Verwenden des InfoCenters.
Der Hauptabschnittschalter (Bild 49) befindet sich an der Seite des Bedienfelds rechts vom Bedienersitz. Mit dem Schalter schalten Sie das Sprühsystem ein oder aus. Betätigen Sie den Schalter, um das Sprühsystem zu aktivieren oder zu deaktivieren.
Die Schalter für den linken, mittleren und rechten Abschnitt befinden sich am Bedienfeld (Bild 49). Kippen Sie jeden Schalter nach vorne, um den entsprechenden Abschnitt einzuschalten. Kippen Sie den Schalter nach hinten, um den Abschnitt abzuschalten. Wenn Sie den Schalter einschalten, leuchtet eine Lampe am Schalter auf. Diese Schalter wirken sich nur auf das Sprühsystem aus, wenn der Hauptabschnittschalter eingeschaltet ist.
Der Dosierungsschalter befindet sich links am Armaturenbrett (Bild 49). Wenn Sie den Schalter nach oben gedrückt halten, erhöhen Sie die Dosierung des Sprühsystems; wenn Sie den Schalter nach unten gedrückt halten, reduzieren Sie die Dosierung.
Die Hubschalter für den Auslegerabschnitt befinden sich am Bedienfeld. Mit den Schaltern heben Sie die äußeren Auslegerabschnitte an.
Mit dem Regelventil hinter dem Behälter (Bild 50) wird die Flüssigkeitsmenge, die zu den Abschnittventilen gelangt, oder der Dosierungsrücklauf zum Behälter gesteuert.

Das Durchflussmessgerät misst die Durchflussmenge der Flüssigkeit zu den Auslegerabschnittsventilen (Bild 50).
Mit den Auslegerabschnittsventilen schalten Sie den Sprühdruck zu den Sprühdüsen im linken, mittleren und rechten Auslegerabschnitt ein oder aus (Bild 50).
Mit den Sicherheitsventilen des Auslegerabschnitts (Bild 51) wird der Flüssigkeitsdurchfluss von einem Ausleger zum Behälter umgeleitet, wenn Sie den Auslegerabschnitt abstellen. Sie können diese Ventile einstellen, um einen konstanten Auslegerdruck zu gewährleisten, unabhängig von der Anzahl der eingeschalteten Ausleger, siehe Kalibrieren der Sicherheitsventile des Abschnitts.

Dieses Ventil befindet sich links hinten am Behälter (Bild 52). Drehen Sie das Handrad am Ventil auf 6 Uhr, um das Behälterrührwerk einzuschalten. Drehen Sie das Handrad auf 8 Uhr, um das Behälterrührwerk abzuschalten.

Note: Modelle der Serie HD mit manuellem Getriebe: Das Rührwerk funktioniert nur, wenn die Zapfwelle eingekuppelt und die Kupplung aktiviert ist und der Motor im Leerlauf läuft. Wenn Sie das Sprühfahrzeug anhalten und das Rührwerk eingeschaltet sein muss, schieben Sie den Geschwindigkeitsbereichshebel in die NEUTRAL-Stellung, lassen die Kupplung kommen, aktivieren die Feststellbremse und stellen die Handgasbedienung ein (falls vorhanden).
Die Sprühpumpe befindet sich am Maschinenheck.
Schieben Sie den Zapfwellenschalter an der Mittelkonsole der Maschine in die EINGEKUPPELTE Stellung, um die Pumpe zu aktivieren; stellen Sie den Zapfwellenschalter in die AUSGEKUPPELTE Stellung, um die Pumpe abzuschalten. Weitere Informationen finden Sie in der Bedienungsanleitung Workman HDX Nutzfahrzeugs.

Note: Technische und konstruktive Änderungen vorbehalten.
| Leergewicht des Sprühsystems (ohne Fahrzeuggewicht) | 424 kg |
| Fassungsvermögen des Behälters | 757 L |
| Fahrzeuggesamtlänge mit Standardsprühsystem | 422 cm |
| Fahrzeuggesamthöhe mit Standardsprühsystem bis zur oberen Kante des Behälters | 147 cm |
| Fahrzeuggesamthöhe mit Standardsprühsystem und im Überkreuzmuster angeordneten Auslegern | 234 cm |
| Fahrzeuggesamtbreite mit Standardsprühsystem und im Überkreuzmuster angeordneten Auslegern | 175 cm |
Ein Sortiment an Originalanbaugeräten und -zubehör von Toro wird für dieses Fahrzeug angeboten, um den Funktionsumfang des Geräts zu erhöhen und zu erweitern. Wenden Sie sich an Ihren offiziellen Toro-Vertragshändler oder navigieren Sie auf www.Toro.com für eine Liste der zugelassenen Anbaugeräte und des Zubehörs.
Verwenden Sie nur Originalersatzteile und -zubehörteile von Toro, um die optimale Leistung und Sicherheit zu gewährleisten.
Note: Bestimmen Sie die linke und rechte Seite der Maschine anhand der normalen Sitz- und Bedienerposition.
Note: Wenn Sie das Fahrzeug mit montiertem Sprühfahrzeug auf einem Anhänger transportieren müssen, stellen Sie sicher, dass die Ausleger vergurtet und befestigt sind.
Kinder oder nicht geschulte Personen dürfen die Maschine weder verwenden noch warten. Örtliche Vorschriften bestimmen u. U. das Mindestalter von Benutzern. Der Besitzer ist für die Schulung aller Bediener und Mechaniker verantwortlich.
Machen Sie sich mit dem sicheren Betrieb der Maschine sowie den Bedienelementen und Sicherheitssymbolen vertraut.
Bevor Sie den Fahrerstand verlassen, gehen Sie wie folgt vor:
Stellen Sie die Maschine auf einer ebenen Fläche ab.
Schalten Sie das Getriebe in die NEUTRAL-Stellung.
Aktivieren Sie die Feststellbremse.
Stellen Sie den Motor ab und ziehen Sie den Zündschlüssel ab (sofern vorhanden).
Warten Sie, bis alle beweglichen Teile zum Stillstand gekommen sind.
Sie müssen wissen, wie Sie die Maschine schnell anhalten und den Motor abstellen können.
Prüfen Sie, ob alle Sitzkontaktschalter, Sicherheitsschalter, und Schutzvorrichtungen montiert und funktionsfähig sind. Nehmen Sie die Maschine nur in Betrieb, wenn sie richtig funktioniert.
Setzen Sie die Maschine nicht ein, wenn die Maschine nicht richtig funktioniert oder auf irgendeine Weise beschädigt ist. Beheben Sie den Fehler vor der Verwendung der Maschine oder des Anbaugeräts.
Stellen Sie sicher, dass die Anschlüsse aller Flüssigkeitsleitungen fest angezogen sind, und dass alle Schläuche in gutem Zustand sind, bevor Sie die Anlage unter Druck stellen.
Die im Sprühsystem verwendeten Chemikalien können für Sie, Unbeteiligte und Tiere gefährlich und giftig sein und können Pflanzen, Flächen oder anderes Eigentum beschädigen.
Lesen Sie die Informationen zu den einzelnen Chemikalien. Weigern Sie sich, das Sprühfahrzeug einzusetzen, wenn diese Informationen nicht verfügbar sind.
Bevor Sie am Sprühsystem arbeiten, stellen Sie sicher, dass es gemäß der Empfehlungen des Chemikalienherstellers neutralisiert und dreimal ausgespült wurde; und dass alle Ventile dreimal ausgespült wurden.
Stellen Sie sicher, dass eine ausreichende Menge an frischem Wasser und Seife in der Nähe verfügbar sind, und waschen Sie unverzüglich jede Chemikalie ab, mit der Sie in Kontakt kommen.
Lesen Sie die chemischen Warnaufkleber und die Sicherheitsdatenblätter für alle verwendeten Chemikalien sorgfältig durch, und halten Sie sich an die Angaben. Tragen Sie außerdem die vom Chemikalienhersteller empfohlene Schutzkleidung.
Schützen Sie beim Umgang mit Chemikalien immer Ihren Körper. Tragen Sie geeignete Schutzkleidung, um sich vor dem Kontakt mit Chemikalien zu schützen, u. a.:
Sicherheitsbrillen, Schutzbrillen und Gesichtsmaske
Schutzanzug
Atmungsgerät oder Filtermaske
Chemikalienbeständige Handschuhe
Gummistiefel oder Arbeitsschuhe
Saubere Ersatzkleidung, Seife und Einweghandtücher für Reinigungsarbeiten
Lassen Sie sich vor der Verwendung oder der Handhabung von Chemikalien entsprechend schulen.
Verwenden Sie jeweils die der Aufgabe entsprechende(n) Chemikalie(n).
Halten Sie die Herstelleranweisungen bezüglich des sicheren Umgangs mit der Chemikalie ein. Überschreiten Sie nicht den empfohlenen Systemdosierungsdruck.
Füllen, kalibrieren oder reinigen Sie die Maschine nicht, wenn sich Personen, besonders Kinder oder Haustiere, im Bereich aufhalten.
Verwenden Sie Chemikalien in einem gut gelüfteten Bereich.
Essen, trinken oder rauchen Sie nicht beim Umgang mit Chemikalien.
Blasen Sie nicht in die Sprühdüsen oder nehmen sie in den Mund, um sie zu reinigen.
Waschen Sie sich immer die Hände und andere nicht geschützte Körperteile, sobald Sie den Umgang mit Chemikalien abgeschlossen haben.
Bewahren Sie die Chemikalien in den Originalverpackungen an einem sicheren Ort auf.
Entsorgen Sie überschüssige Chemikalien und Chemikalienbehälter gemäß den Anweisungen des Chemikalienherstellers und den lokalen Vorschriften.
Chemikalien und Dämpfe sind gefährlich. Betreten Sie nie den Behälter oder stecken Sie den Kopf in die Behälteröffnung.
Halten Sie alle Gemeinde-, Bundes- oder Landesvorschriften zum Sprühen von Chemikalien ein.
Note: Dieses InfoCenter mit sechs Tasten ist nur für den HDX Workman mit Schaltgetriebe erhältlich. Wenn Sie eine Workman HDX-Maschine mit Automatikgetriebe besitzen, verwenden Sie bitte weiterhin das InfoCenter mit drei Tasten.
Das LCD-Display des InfoCenters zeigt Informationen über Ihre Maschine an, zum Beispiel Betriebszustand, unterschiedliche Diagnose- und andere Maschineninformationen. Das InfoCenter verfügt über einen Begrüßungsbildschirm und einen Hauptinformationsbildschirm. Sie können jederzeit zwischen dem Begrüßungsbildschirm und dem Hauptinformationsbildschirm umschalten, indem Sie auf eine der InfoCenter-Tasten drücken und dann den entsprechenden Richtungspfeil auswählen.

Note: Der Zweck jeder Taste kann sich ändern, abhängig von jeweils aktivierten Funktion. Auf dem LCD-Display wird über jeder Taste ein Symbol angezeigt, das die aktuelle Funktion angibt.
![]() | Menü | ![]() | Behälter ist leer (weniger als 10 % Volumen) | |
![]() | Nach oben/unten blättern | ![]() | Das Behältervolumen ist gering (10 % bis 29 %) | |
![]() | Nach links/rechts blättern | ![]() | Behältervolumen ist halb voll (30 % bis 69 %) | |
![]() | Taste Vorheriger Bildschirm“ | ![]() | Das Behältervolumen ist voll (70 % bis 100 %) | |
![]() | Wert verringern | ![]() | Erhöhen Sie das Behältervolumen um 4,55 Liter | |
![]() | Wert erhöhen | ![]() | Erhöhen Sie das Behältervolumen um 45,5 Liter | |
![]() | Akzeptieren | ![]() | Erhöhen Sie das Behältervolumen um 25 Liter | |
![]() | Speichern | ![]() | Ausleger ist aus | |
![]() | PIN-Passwort | ![]() | Ausleger ist aktiv | |
![]() | Menü (Störungen) verlassen | ![]() | Alle Flächen löschen | |
![]() | Batteriespannung | ![]() | Aktive Fläche löschen | |
![]() | Betriebsstundenzähler | ![]() | Gesprühte Flächen | |
![]() | Arretiert | ![]() | Alle Flächen überprüfen | |
![]() | Zu einer Sprühfläche navigieren | |||
![]() | Zu einer Sprühfläche navigieren |
Um auf das InfoCenter-Menüsystem zuzugreifen drücken Sie auf dem Hauptbildschirm die Zurück-Taste. So gelangen Sie zum Hauptmenü. In den folgenden Tabellen finden Sie eine Übersicht über die in den Menüs verfügbaren Optionen.
Geschützt
unter Geschützte Menüs – nur durch PIN Eingabe erreichbar
| Menüelement | Beschreibung |
| Calibration (Kalibrierung) | Das Menü Kalibrierung hilft bei der Kalibrierung des Durchflussmessers und des Geschwindigkeitssensors. |
| Einstellungen | Im Menü Einstellungen können Sie die Konfigurationsvariablen der Anzeige anpassen und ändern. |
| Maschineneinstellungen | Im Menü Maschineneinstellungen können Sie Maschinenvariablen konfigurieren. |
| Service | Das Service-Menü enthält Informationen zur Maschine, u. a. Betriebsstunden und Maschinenstörungen. |
| Diagnostics | Im Diagnostics-Menü wird der Zustand der Maschinenschalter, Sensoren sowie der Steuerausgabe angezeigt. Diese Angaben sind bei der Problembehebung nützlich, da Sie sofort sehen, welche Bedienelemente der Maschine ein- oder ausgeschaltet sind. |
| About | Im Info-Menü wird die Modellnummer, Seriennummer und Softwareversion der Maschine aufgelistet. |
| Menüelement | Beschreibung |
| Testgeschwindigkeit | Hier stellen Sie die Testgeschwindigkeit für die Kalibrierung ein. |
| Flow Cal | Hier kalibrieren Sie das Durchflussmessgerät. |
| Speed Cal (Geschwindigkeitskalibrierung) | Hier kalibrieren Sie den Geschwindigkeitssensor. |
| Standardeinstellung der Durchflusskalibrierung verwenden | Hier setzen Sie die Kalibrierung der Durchflussmenge auf den standardmäßig berechneten Durchschnitt (nicht das tatsächliche Volumen) zurück. |
| Standardeinstellung der Geschwindigkeitskalibrierung verwenden | Hier setzen Sie die Kalibrierung der Geschwindigkeit auf den standardmäßig berechneten Durchschnitt (nicht die tatsächliche Geschwindigkeit) zurück. |
| Menüelement | Beschreibung |
| PIN bearbeiten | Ermöglicht einer von Ihrem Unternehmen autorisierten Person (Hausmeister/Mechaniker) mit dem PIN-Code den Zugriff auf geschützte Menüs. |
Protect Settings [Geschützte Einstellungen] ![]() | Ermöglicht das Ändern der Einstellungen in den geschützten Einstellungen.. |
Standardeinstellungen zurücksetzen ![]() | Setzt die Standardwerte zurück. |
| Hintergrundbeleuchtung | Steuert die Helligkeit des LCD-Displays. |
| Sprache | Ändert die für die Anzeige verwendete Sprache. |
| Maßeinheiten | Steuert die auf dem Display verwendeten Maßeinheiten ein (Imperial oder Metrisch). |
| Menüelement | Beschreibung |
| Behälteralarm | Hier stellen Sie den Hinweis für ein niedriges Sprühbehältervolumen ein. |
Linker Ausleger ![]() | Einstellen der Breite des linken Abschnitts. |
Mittlerer Ausleger ![]() | Einstellen der Breite des mittleren Abschnitts. |
Rechter Ausleger ![]() | Einstellen der Breite des rechten Abschnitts. |
Standardeinstellungen zurücksetzen ![]() | Setzt die Standardwerte zurück. |
| Menüelement | Beschreibung |
| Fehler | Das Fehler-Menü enthält eine Liste der letzten Maschinenstörungen. Weitere Informationen zum Fehler-Menü und den im Menü enthaltenen Angaben finden Sie in der Wartungsanleitung oder wenden Sie sich an Ihren autorisierten Toro-Vertragshändler. |
| Hours | Zeigt die Gesamtbetriebsstunden der Maschine, des Motors und der Zapfwelle an, sowie die Transportstunden der Maschine und fälligen Kundendienst. |
Flow Rate (Durchflussmenge) ![]() | Die aktuelle Durchflussmenge. |
Flow Cal Value![]() | Der aktuelle Multiplikator, der für die Berechnung des Unterschieds zwischen angenommener Durchflussmenge und der kalibrierten Durchflussmenge verwendet wird. |
Speed Cal Value![]() | Der aktuelle Multiplikator, der für die Berechnung des Unterschieds zwischen angenommener Geschwindigkeit und der kalibrierten Geschwindigkeit verwendet wird. |
| Menüelement | Beschreibung |
| Pumps (Pumpen) | Ruft die Optionen für das momentane und zeitgesteuerte Spülen auf. |
| Booms (Ausleger) | Zugreifen auf die Ein- und Ausgaben der Ausleger. |
| Engine Run (Motor läuft) | Zugreifen auf die Eingaben und Ausgaben des laufenden Motors. |
| Menüelement | Beschreibung |
| Modell | Listet die Modellnummer der Maschine auf. |
| SN | Listet die Seriennummer der Maschine auf. |
| S/W Revision | Listet die Softwarerevision des Primärsteuergeräts auf. |
XDM-2700 ![]() | Listet die Softwarerevision des InfoCenter auf. |
CAN-Statistiken ![]() | Listet den CAN Bus auf. |
Unter den Einstellungen auf der Anzeige befinden sich die Einstellmöglichkeiten für die Betriebskonfigurationen. Sie sperren diese Einstellungen im geschützten Menü.
Note: Bei der Auslieferung programmiert der Händler den anfänglichen Passcode.
Note: Der werkseitig voreingestellte PIN-Code für Ihre Maschine ist entweder 0000 oder 1234.
Wenn Sie den PIN-Code geändert und vergessen haben, wenden Sie sich an den offiziellen Toro-Vertragshändler.
Blättern Sie vom Hauptmenü zu Einstellungen und drücken Sie die Auswahltaste.

Blättern Sie im Menü Einstellungen bis zu PIN eingeben und drücken Sie die Auswahltaste.
Drücken Sie für die Eingabe des PIN-Codes die oben/unten Navigationstasten, bis die korrekte erste Ziffer angezeigt wird; drücken Sie dann die rechte Navigationstaste, um zur nächsten Ziffer zu wechseln. Wiederholen Sie diesen Schritt, bis die letzte Ziffer eingegeben ist.
Drücken Sie die Auswahltaste.
Note: Wenn der PIN-Code im Display akzeptiert wird und das geschützte Menü entsperrt ist, wird oben rechts auf dem Bildschirm PIN“ angezeigt.
Drehen Sie den Schlüsselschalter in die Aus-Stellung und dann in die Ein-Stellung, um das geschützte Menü zu sperren.

Navigieren Sie im Menü Einstellungen auf Einstellungen schützen“.
Um die Einstellungen zu sehen und zu ändern, ohne einen PIN-Code einzugeben, verwenden Sie die Auswahltaste, um die Einstellungen schützen“ auszuschalten.
Um die Einstellungen mit einem PIN-Code zu sehen und zu ändern, verwenden Sie die Auswahltaste um die Einstellungen schützen“ einzuschalten. Stellen Sie den PIN-Code ein und stellen den Schlüssel im Zündschloss in die Aus-Stellung und dann in die Ein-Stellung.
Maschineneinstellungen auswählen.
Sprühbehälterhinweis auswählen.

Geben Sie mit den Richtungstasten eine Mindestmenge im Behälter an, bei der die Warnung beim Sprühen angezeigt wird.
Maschineneinstellungen auswählen.
Wählen Sie den Ausleger, den Sie aktualisieren möchten.
Verwenden Sie die Richtungstasten, um die Größe des Auslegers in Schritten von 2,5 cm zu ändern.
| Einstellung | Standardwert |
| Testgeschwindigkeit | 0,0 |
| Spray Tank Alert | 1 Liter |
| L Ausleger | 80" |
| C Ausleger | 60" |
| R Ausleger | 80" |
Wählen Sie Maschineneinstellungen und wählen Sie Standardeinstellungen zurücksetzen.
Note: Eine Änderung des Volumens setzt den Tankalarm zurück.
Drücken Sie die Eingabe-Taste um nach rechts zu navigieren. Auf dem Display wird das aktuelle Tankvolumen angezeigt.
Drücken Sie die Taste, um das Tankvolumen zu erhöhen oder zu verringern.
Drücken Sie die Richtungstasten nach oben/unten, um zu ±10 (für US-Einheiten) oder ±25 (für metrische Einheiten) zu springen.
Drücken Sie die Richtungstasten links/rechts, um das Volumen um 1 Stufe zu ändern.

Diese Bildschirme zeigen:
Gesprühte Fläche (Ar, Hektar oder 1000 Fuß2).
Gesprühtes Volumen (amerikanische Gallonen oder Liter)
Informationen zur Fläche und Volumen werden akkumuliert, bis Sie sie zurücksetzen. Verwenden Sie eine einzelne Teilfläche für jede Sprühaufgabe an Ihrem Standort. Sie können bis zu 20 Teilflächen verwenden.
Note: Stellen Sie sicher, dass Sie zu der Teilfläche navigieren, an der Sie arbeiten, bevor Sie mit dem Sprühen beginnen. Die auf dem Bildschirm angezeigte Teilfläche ist die aktive Teilfläche für die Akkumulation der Bedeckung.
Drücken Sie die Taste ZURÜCK, um zum Bildschirm Gesamtfläche zu navigieren.
Drücken Sie die Taste RECHTS, um die Daten für Gesamtfläche zurückzusetzen.
Note: Das Zurücksetzen der Informationen zur Gesamtfläche und zum Gesamtvolumen auf dem Bildschirm Gesamtfläche setzt alle Daten für jede Teilfläche zurück.

Drücken Sie die Taste ZURÜCK, um zu einem Bildschirm für eine Teilfläche zu navigieren.
Drücken Sie die Taste AUFWÄRTS, um die Daten der Teilfläche zurückzusetzen.

Bedienerhinweise werden automatisch auf dem InfoCenter-Bildschirm angezeigt, wenn für eine Maschinenfunktion eine zusätzliche Aktion erforderlich ist. Beispiel: Wenn Sie auf das Fahrpedal treten und versuchen, den Motor anzulassen, wird ein Hinweis angezeigt, dass das Fahrpedal in der NEUTRAL-Stellung sein muss.
Drücken Sie eine beliebige Taste auf der Anzeige, um den Hinweis zu löschen.
| Hinweiscode | Beschreibung |
|---|---|
| 200 | Start verhindert: Pumpenschalter ist aktiv |
| 201 | Start verhindert: Nicht in der NEUTRAL-Stellung |
| 202 | Start verhindert: Bediener sitzt nicht auf dem Sitz |
| 203 | Start verhindert: Fahrpedal ist nicht in der Ausgangsstellung |
| 204 | Start verhindert: Timeout bei Anlasseraktivierung |
| 205 | Feststellbremse ist aktiviert |
| 206 | Pumpenstart verhindert: Ausleger ist aktiv |
| 207 | Pumpenstart verhindert: Motordrehzahl zu hoch |
| 208 | Gasbedienungs- bzw. Geschwindigkeitssperre verhindert: Pumpe ist inaktiv |
| 209 | Gasbedienungssperre verhindert: Feststellbremse ist nicht aktiviert |
| 210 | Geschwindigkeitssperre verhindert: Bediener sitzt nicht auf dem Sitz oder Feststellbremse ist aktiv |
| 211 | Gasbedienungs- bzw. Geschwindigkeitssperre verhindert, Kupplung oder Betriebsbremse ist aktiv |
| 212 | Füllstandsalarm des Behälters |
| 213 | Spülpumpe EIN |
| 220 | Kalibrierung des Durchflusssensors |
| 221 | Kalibrierung des Durchflusssensors, füllen Sie den Behälter mit Wasser und geben Sie das eingefüllte Volumen ein |
| 222 | Kalibrierung des Durchflusssensors: Schalten Sie die Pumpe ein |
| 223 | Kalibrierung des Durchflusssensors: Schalten Sie alle Ausleger ein |
| 224 | Kalibrierung des Durchflusssensors: Kalibrierung wurde begonnen |
| 225 | Kalibrierung des Durchflusssensors: Kalibrierung ist abgeschlossen |
| 226 | Kalibrierung des Durchflusssensors: Kalibrierungsmodus wird beendet |
| 231 | Kalibrierung des Geschwindigkeitssensors |
| 232 | Kalibrierung des Geschwindigkeitssensors: Füllen Sie den Frischwasserbehälter, drücken Sie die Taste Weiter“ |
| 233 | Kalibrierung des Geschwindigkeitssensors: Füllen Sie das Sprühfahrzeug zur Hälfte von Wasser, drücken Sie die Taste Weiter“ |
| 234 | Kalibrierung des Geschwindigkeitssensors: Geben Sie die Kalibrierungsdistanz ein, drücken Sie die Taste Weiter“ |
| 235 | Kalibrierung des Geschwindigkeitssensors: Markieren und fahren Sie die eingegebene Distanz mit ausgeschalteten Sprühabschnitten |
| 236 | Kalibrierung des Geschwindigkeitssensors: Kalibrierung des Geschwindigkeitssensors wird durchgeführt |
| 237 | Kalibrierung des Geschwindigkeitssensors: Kalibrierung des Geschwindigkeitssensors ist abgeschlossen |
| 238 | Kalibrierung des Durchflusssensors: Schalten Sie alle Ausleger aus |
| 241 | Kalibrierung außerhalb der Grenzwerte, Standardeinstellungen werden verwendet |
Prüfen Sie die folgenden Punkte täglich vor jedem Einsatz des Sprühfahrzeugs:
Prüfen Sie den Druck in allen Reifen.
Note: Die Reifen an dieser Maschine sind anders als Autoreifen, d. h. sie erfordern geringeren Druck, um eine Verdichtung der Grünfläche und Beschädigungen zu vermeiden.
Prüfen Sie alle Flüssigkeitsstände und füllen bei Bedarf die von Toro vorgeschriebenen Flüssigkeiten nach.
Prüfen Sie die Funktion des Bremspedals.
Prüfen Sie, ob die Beleuchtung funktioniert.
Drehen Sie das Lenkrad nach rechts und links, um die Lenkwirkung zu prüfen.
Stellen Sie den Motor ab und prüfen Sie auf Öllecks, lose Teile und andere offensichtliche Defekte.
Wenn Sie irgendwelche Missstände feststellen, melden Sie diese sofort Ihrem Techniker oder ziehen Sie Ihre Aufsicht heran, bevor Sie das Sprühfahrzeug zum Einsatz fahren. Unter Umständen möchte Ihr Vorgesetzter andere Bereiche täglich prüfen lassen. Fragen Sie also nach, welche Verantwortung Sie tragen.
Note: Weitere Informationen finden Sie in der Düsenauswahlanleitung, die Sie von Ihrem offiziellen Toro-Vertragshändler erhalten.
In die Drehkreuzgehäuse passen bis zu drei verschiedene Düsen.
Stellen Sie das Sprühfahrzeug auf eine ebenen Fläche, stellen Sie den Motor ab, aktivieren Sie die Feststellbremse und ziehen Sie den Schlüssel ab.
Stellen Sie den Hauptabschnittschalter in die AUS-Stellung und den Sprühpumpenschalter in die AUS-Stellung.
Drehen Sie das Drehkreuz der Düsen in eine Richtung auf die richtige Düse.
Führen Sie eine Flusskalibrierung durch, siehe Kalibrieren des Sprühfahrzeugflusses.
Standardausrüstung: Saugfilter, 50 Maschen (Blau)
Ermitteln Sie mit der Saugfiltertabelle die Siebmaschen für die Sprühdüsen, die Sie verwenden, basierend auf den Chemikalien oder Lösungen, die eine Viskosität haben, die Wasser entspricht.
| Sprühdüsen-Farbcode (Durchflussmenge) | Maschengröße des Siebs* | Filterfarbcode |
|---|---|---|
| Gelb (0,2 GPM) | 50 | Blau |
| Rot (0,4 GPM) | 50 | Blau |
| Braun (0,5 GPM) | 50 (oder 30) | Blau (oder Grün) |
| Grau (0,6 GPM) | 30 | Grün |
| Weiß (0,8 GPM) | 30 | Grün |
| Blau (1,0 GPM) | 30 | Grün |
| Grün (1,5 GPM) | 30 | Grün |
| *Die Maschengröße der Saugfilter in dieser Tabelle basiert auf Sprühchemikalien oder Lösungen, die eine Viskosität haben, die Wasser entspricht. | ||
Important: Wenn Sie Chemikalien mit höherer Viskosität (dicker) oder Lösungen mit benetzbarem Pulver versprühen, müssen Sie u. U. ein Sieb mit gröberen Maschen für den optionalen Saugfilter verwenden; siehe Bild 61.

Wenn Sie mit höherer Dosierung sprühen, sollten Sie die Verwendung eines optionalen Saugfilters mit gröberen Maschen erwägen, siehe Bild 62.

Die folgenden Siebgrößen sind u. a. erhältlich:
Standardausrüstung: Saugfilter, 50 Maschen (Blau)
Ermitteln Sie mit der Druckfiltertabelle die Siebmaschen für die Sprühdüsen, die Sie verwenden, basierend auf den Chemikalien oder Lösungen, die eine Viskosität haben, die Wasser entspricht.
| Sprühdüsen-Farbcode (Durchflussmenge) | Maschengröße des Siebs* | Filterfarbcode |
|---|---|---|
| Nach Bedarf für Chemikalien mit niedriger Viskosität oder Lösungen mit niedrigeren Dosierungen | 100 | Grün |
| Gelb (0,2 GPM) | 80 | Gelb |
| Rot (0,4 GPM) | 50 | Blau |
| Braun (0,5 GPM) | 50 | Blau |
| Grau (0,6 GPM) | 50 | Blau |
| Weiß (0,8 GPM) | 50 | Blau |
| Blau (1,0 GPM) | 50 | Blau |
| Grün (1,5 GPM) | 50 | Blau |
| Nach Bedarf für Chemikalien mit höherer Viskosität oder Lösungen mit höheren Dosierungen | 30 | Rot |
| Nach Bedarf für Chemikalien mit höherer Viskosität oder Lösungen mit höheren Dosierungen | 16 | Braun |
| *Die Maschengröße der Druckfilter in dieser Tabelle basiert auf Sprühchemikalien oder Lösungen, die eine Viskosität haben, die Wasser entspricht. | ||
Important: Wenn Sie Chemikalien mit höherer Viskosität (dicker) oder Lösungen mit benetzbarem Pulver versprühen, müssen Sie u. U. ein Sieb mit gröberen Maschen für den optionalen Druckfilter verwenden; siehe Bild 63.

Wenn Sie mit höherer Dosierung sprühen, sollten Sie die Verwendung eines optionalen Druckfilters mit gröberen Maschen erwägen, siehe Bild 64.

Note: Die Verwendung eines optionalen Düsenspitzenfilters schützt die Sprühdüsenspitze und verlängert die Nutzungsdauer.
Ermitteln Sie mit der Düsenspitzenfilter-Tabelle die Siebmaschen für die Sprühdüsen, die Sie verwenden, basierend auf den Chemikalien oder Lösungen, die eine Viskosität haben, die Wasser entspricht.
| Sprühdüsen-Farbcode (Durchflussmenge) | Maschengröße des Filters* | Filterfarbcode |
|---|---|---|
| Gelb (0,2 GPM) | 100 | Grün |
| Rot (0,4 GPM) | 50 | Blau |
| Braun (0,5 GPM) | 50 | Blau |
| Grau (0,6 GPM) | 50 | Blau |
| Weiß (0,8 GPM) | 50 | Blau |
| Blau (1,0 GPM) | 50 | Blau |
| Grün (1,5 GPM) | 50 | Blau |
| *Die Maschengröße der Düsenfilter in dieser Tabelle basiert auf Sprühchemikalien oder Lösungen, die eine Viskosität haben, die Wasser entspricht. | ||
Important: Wenn Sie Chemikalien mit höherer Viskosität (dicker) oder Lösungen mit benetzbarem Pulver versprühen, müssen Sie u. U. ein Sieb mit gröberen Maschen für den optionalen Spitzenfilter verwenden; siehe Bild 65.

Wenn Sie mit höherer Dosierung sprühen, sollten Sie die Verwendung eines optionalen Spitzenfilters mit gröberen Maschen erwägen, siehe Bild 66.

Important: Verwenden Sie im Frischwasserbehälter kein Brauchwasser.
Note: Mit dem Frischwasserbehälter können Sie versehentlich auf die Haut, in die Augen oder auf andere Oberflächen gelangte Chemikalien abwaschen.Füllen Sie den Frischwasserbehälter immer mit sauberem Wasser, bevor Sie mit Chemikalien umgehen oder diese mischen.
Der Frischwasserbehälter befindet sich am Überrollschutz hinter dem Beifahrersitz (Bild 67). Der Tank enthält frisches Wasser, mit dem Sie Chemikalien von Ihrer Haut, Ihren Augen oder anderen Oberflächen abwaschen können, falls Sie versehentlich damit in Berührung kommen.
Schrauben Sie den Deckel oben am Behälter ab und füllen Sie den Behälter mit frischem Wasser. Setzen Sie die Kappe auf.
Drehen Sie zum Öffnen des Hahns am Frischwasserbehälter den Hebel am Hahn.

Montieren Sie das chemische Vormischset für optimale Mischung und äußere Behältersauberkeit.
Important: Verwenden Sie (falls möglich) im Sprühbehälter kein Brauchwasser.
Important: Achten Sie darauf, dass die verwendeten Chemikalien mit VitonTM kompatibel sind (der Aufkleber des Herstellers sollte eine Unverträglichkeit ausweisen). Wenn Sie Chemikalien verwenden, die nicht mit Viton TM kompatibel sind, werden die O-Ringe im Sprühfahrzeug beschädigt, und es können undichte Stellen auftreten.
Important: Prüfen Sie nach dem ersten Füllen des Behälters, ob die Behälterriemen Spiel haben. Ziehen Sie sie ggf. an.
Aktivieren Sie die Abschnitte, um das Konditioniermittel des Sprühsystems zu entfernen.
Parken Sie die Maschine auf einer ebenen Fläche, bewegen Sie die Wahlhebel für Reichweite in die Neutral-Stellung, aktivieren Sie die Feststellbremse, stellen den Motor ab und ziehen Sie den Schlüssel ab.
Stellen Sie sicher, dass das Ablassventil des Behälters geschlossen ist.
Ermitteln Sie die für die benötigte Chemikalienmenge erforderliche Wassermenge. Lesen Sie die Anweisungen des Chemikalienherstellers.
Öffnen Sie die Behälterabdeckung am Sprühbehälter.
Note: Die Behälterabdeckung befindet sich in der Mitte oben am Behälter. Drehen Sie zum Öffnen die vordere Hälfte der Abdeckung nach links und schwenken Sie sie nach außen. Sie können den Filter innen herausnehmen und reinigen. Wenn Sie den Behälter abdichten möchten, schließen Sie die Abdeckung und drehen Sie die vordere Hälfte nach rechts.
Füllen Sie ¾ der erforderlichen Wassermenge mit dem Rücklauffüllanschluss in den Sprühbehälter ein.
Important: Verwenden Sie im Sprühbehälter immer sauberes Wasser. Füllen Sie kein Konzentrat in einen leeren Behälter ein.

Lassen Sie den Motor an, kuppeln Sie die Zapfwelle ein und stellen Sie das Handgas ein (falls vorhanden).
Stellen Sie den Rührwerkschalter in die EIN-Stellung.
Füllen Sie die richtige Menge des Chemikalienkonzentrats in den Behälter ein. Lesen Sie die Anweisungen des Chemikalienherstellers.
Important: Mischen Sie ein benetzbares Pulver mit etwas Wasser zu einem Brei, bevor Sie es in den Behälter füllen.
Füllen Sie die restliche Wassermenge in den Behälter.
Note: Verringern Sie für eine bessere Leistung des Rührwerks die Dosierungseinstellung.
| Wartungsintervall | Wartungsmaßnahmen |
|---|---|
| Bei jeder Verwendung oder täglich |
|
Important: Wenn die Behälterriemen zu stark angezogen sind, können sich der Behälter und die Riemen verformen und beschädigt werden.
Füllen Sie den Hauptbehälter mit Wasser.
Prüfen Sie, ob Sie zwischen den Behälterriemen und dem Behälter eine Bewegung feststellen können (Bild 69).

Wenn die Behälterriemen lose am Behälter angebracht sind, ziehen Sie die Sicherungsbundmutter und Schrauben oben an den Riemen an, bis sie mit der Behälterfläche bündig sind (Bild 69).
Note: Ziehen Sie die Befestigungen für die Behälterriemen nicht zu stark an.
Note: Kalibrieren Sie den Sprühfluss, die Geschwindigkeit und die Abschnittsicherheitsventile vor dem ersten Einsatz des Sprühfahrzeugs oder wenn Sie die Düsen bei Bedarf wechseln.
Füllen Sie den Sprühbehälter mit sauberem Wasser.
Note: Stellen Sie sicher, dass der Behälter genug Wasser enthält, um alle Kalibrierungsschritte abzuschließen.
Senken Sie die rechten und linken Auslegerabschnitte ab.
Stellen Sie die geschützten Einstellungen auf Aus, siehe Verwenden des InfoCenters.
Vom Bediener bereitgestelltes Gerät: Stoppuhr, die ± 1/10 Sekunden messen kann, und ein Behälter, der in Schritten von 50 ml markiert ist.
Note: Für das Kalibrieren des Sprühfahrzeugflusses für Maschinen ohne Gasbedienungssperre werden zwei Personen benötigt.
Schalten Sie das Getriebe in die NEUTRAL-Stellung.
Aktivieren Sie die Feststellbremse und lassen Sie den Motor an.
Schalten Sie die Sprühpumpe ein und aktivieren das Rührwerk.
Treten Sie auf das Fahrpedal, bis Sie die maximale Motordrehzahl erreichen.
Stellen Sie die Motordrehzahl wie folgt ein:
Bei Maschinen ohne die optionale Gasbedienungssperre muss eine Person auf das Fahrpedal treten, bis die maximale Motordrehzahl erreicht ist.
Note: Die andere Person sammelt die Proben von den Sprühdüsen ein.
Treten Sie bei Maschinen mit optionaler Gasbedienungssperre das Fahrpedal durch, bis die maximale Motordrehzahl erreicht ist, und aktivieren Sie die Gasbedienungssperre, siehe Bedienungsanleitungen für die Workman-Handgasbedienung.
Stellen Sie alle drei Abschnittschalter und den Hauptabschnittschalter in die EIN-Stellung.
Bereiten Sie die Durchführung eines Auffangtests mit dem markierten Behälter vor.
Starten Sie mit 2,76 bar und stellen Sie mit dem Schalter für die Dosierung den Sprühdruck so ein, dass Sie mit dem Auffangtest die in der Tabelle unten aufgeführten Werte erhalten.
Note: Sammeln Sie drei Proben alle 15 Sekunden und bilden Sie den Durchschnitt der gesammelten Wassermenge.
| Düsenfarbe | In 15 Sekunden gesammelte Millimeter | In 15 Sekunden gesammelte Unzen | ||
|---|---|---|---|---|
| Gelb | 189 | 6,4 | ||
| Rot | 378 | 12,8 | ||
| Braun | 473 | 16,0 | ||
| Grau | 567 | 19,2 | ||
| Weiß | 757 | 25,6 | ||
| Blau | 946 | 32,0 | ||
| Grün | 1.419 | 48,0 | ||
Wenn Sie mit dem Auffangtest die in der Tabelle unten aufgeführten Werte erhalten haben, stellen Sie den Schalter für die Dosierungssperre in die GESPERRTE Stellung.
Stellen Sie den Hauptabschnittschalter in die AUS-Stellung.
Navigieren Sie im InfoCenter auf das Menü Calibration“ und wählen Sie FLOW CALIBRATION wie folgt aus:
Note: Wenn Sie das Symbol des Homebildschirm zu einem Zeitpunkt auswählen, werden die Kalibrierungen abgebrochen.
Drücken Sie zweimal die mittlere Auswahltaste, um auf die Menüs zuzugreifen.
Drücken Sie die rechte Auswahltaste auf dem InfoCenter, um das Menü Calibration“ zu öffnen.
Markieren Sie FLOW CAL, um FLOW CAL auszuwählen und drücken Sie die rechte Auswahltaste auf dem InfoCenter.
Geben Sie auf dem nächsten Bildschirm die bekannte Wassermenge ein, die für die Kalibrierung aus den Abschnitten gesprüht wird; siehe Tabelle unten.
Drücken Sie die rechte Auswahltaste auf dem InfoCenter.
Geben Sie das Durchflussvolumen mit den Plus- (+) und Minussymbolen (–) gemäß der Tabelle unten ein.
| Düsenfarbe | Liter | Amerikanische Gallonen |
| Gelb | 42 | 11 |
| Rot | 83 | 22 |
| Braun | 106 | 28 |
| Grau | 125 | 33 |
| Weiß | 167 | 44 |
| Blau | 208 | 55 |
| Grün | 314 | 83 |
Schalten Sie den Hauptabschnittschalter für fünf Minuten ein.
Note: Während die Maschine sprüht, wird auf dem InfoCenter die gemessene Flüssigkeitsmenge angezeigt.
Wählen Sie nach einem fünfminütigen Sprühen durch Druck auf die mittlere Taste das Häkchen im InfoCenter.
Note: Es ist zulässig, wenn die während der Kalibrierung angezeigten Gallonen nicht mit der im InfoCenter eingegebenen bekannten Wassermenge übereinstimmen.
Schalten Sie den Hauptabschnittschalter ab und wählen Sie durch Druck auf die mittlere Taste das Häkchen im InfoCenter.
Note: Die Kalibrierung ist jetzt abgeschlossen.
Stellen Sie sicher, dass der Sprühbehälter mit Wasser gefüllt ist.
Markieren Sie in einem offenen und flachen Bereich einen Abstand von 45 m bis 152 m.
Note: Markieren Sie 152 m für genauere Ergebnisse.
Lassen Sie den Motor an und fahren Sie zum Anfang der markierten Strecke.
Note: Sie erhalten die genauesten Werte, wenn Sie die Mitte der Vorderreifen mit der Startlinie ausfluchten.
Navigieren Sie im InfoCenter auf das Menü Calibration“ und wählen Sie Speed Calibration“ aus.
Note: Wenn Sie das Symbol des Homebildschirms zu einem Zeitpunkt auswählen, wird die Kalibrierung abgebrochen.
Wählen Sie im InfoCenter den Pfeil Weiter“ (→).
Geben Sie den markierten Abstand mit den Plus- (+) und Minussymbolen (–) im InfoCenter ein.
Legen Sie den 1. Gang ein und fahren Sie die markierte Strecke in einer geraden Linie mit Vollgas.
Halten Sie die Maschine am markierten Abstand an und wählen Sie das Häkchen im InfoCenter.
Note: Sie erhalten die genauesten Werte, wenn Sie die Geschwindigkeit verringern und zum Halt rollen, um die Mitte der Vorderreifen mit der Ziellinie auszufluchten.
Note: Die Kalibrierung ist jetzt abgeschlossen.
Kalibrieren Sie den Sprühfluss, die Geschwindigkeit und stellen Sie die Abschnittsicherheitsventile ein, wenn Sie das Sprühfahrzeug zum ersten Mal verwenden oder die Düsen wechseln.
Important: Führen Sie dies auf einer offenen, ebenen Fläche aus.
Note: Für das Kalibrieren des Abschnittsicherheitsventils für Maschinen ohne Gasbedienungssperre werden zwei Personen benötigt.
Stellen Sie sicher, dass der Sprühbehälter mit Wasser gefüllt ist.
Schalten Sie das Getriebe in die NEUTRAL-Stellung.
Aktivieren Sie die Feststellbremse und lassen den Motor an.
Stellen Sie die drei Abschnittschalter in die EIN-Stellung, lassen Sie den Hauptabschnittschalter jedoch in der AUS-Stellung.
Stellen Sie den Pumpenschalter in die EIN-Stellung und aktivieren das Rührwerk.
Stellen Sie die Motordrehzahl wie folgt ein:
Bei Maschinen ohne die optionale Gasbedienungssperre muss eine Person auf das Fahrpedal treten, bis die maximale Motordrehzahl erreicht ist.
Note: Die andere Person stellt die Abschnittssicherheitsventile ein.
Treten Sie bei Maschinen mit optionaler Gasbedienungssperre das Fahrpedal durch, bis die maximale Motordrehzahl erreicht ist, und aktivieren Sie die Gasbedienungssperre, siehe Bedienungsanleitungen für die Workman-Handgasbedienung.
Navigieren Sie im InfoCenter auf das Menü Calibration“ und wählen Sie Test Speed“ aus.
Note: Wenn Sie das Symbol für den Homebildschirm zu einem Zeitpunkt auswählen, wird die Kalibrierung abgebrochen.
Geben Sie eine Testgeschwindigkeit von 5,6 km/h mit den Plus- (+) und Minussymbolen (–) ein und wählen Sie dann das Home-Symbol.
Stellen Sie die Dosierung mit dem Dosierungsschalter gemäß der folgenden Tabelle ein.
| Düsenfarbe | SI (metrisches Maßeinheitensystem) | Englisch | Grünfläche |
| Gelb | 159 l/ha | 17 gpa | 0,39 gpk |
| Rot | 319 l/ha | 34 gpa | 0,78 gpk |
| Braun | 394 l/ha | 42 gpa | 0,96 gpk |
| Grau | 478 l/ha | 51 gpa | 1,17 gpk |
| Weiß | 637 l/ha | 68 gpa | 1,56 gpk |
| Blau | 796 l/ha | 85 gpa | 1,95 gpk |
| Grün | 1190 l/ha | 127 gpa | 2,91 gpk |
Stellen Sie den linken Abschnittsschalter aus und das Auslegersicherheitsventil (Bild 70) ein, bis der Druck am vorher angepassten Niveau (normalerweise 2,76 bar) liegt.
Note: Die nummerierten Anzeigen auf dem Sicherheitsventil dienen nur Referenzzwecken.

Schalten Sie den linken Abschnittschalter ein und den rechten Abschnittschalter aus.
Stellen Sie das rechte Abschnittssicherheitsventil (Bild 70) ein, bis der Druck am vorher angepassten Niveau (normalerweise 2,76 bar) liegt.
Schalten Sie den rechten Abschnittschalter ein und den mittleren Abschnittschalter aus.
Stellen Sie das mittlere Abschnittssicherheitsventil (Bild 70) ein, bis der Druck am vorher angepassten Niveau (normalerweise 2,76 bar) liegt.
Schalten Sie alle Abschnittsschalter ab.
Schalten Sie die Sprühpumpe ab.
Note: Die Kalibrierung ist jetzt abgeschlossen.
Das Rührwerksicherheitsventil ist in der ganz geöffneten Stellung, wie in Bild 71A abgebildet.
Das Rührwerksicherheitsventil ist in der geschlossenen Stellung (0), wie in Bild 71B abgebildet.
Das Rührwerksicherheitsventil ist in einer mittleren Stellung (relativ zum Druckmanometer für das Sprühsystem eingestellt), wie in Bild 71C abgebildet.

| Wartungsintervall | Wartungsmaßnahmen |
|---|---|
| Jährlich |
|
Important: Führen Sie dies in einem offenen, ebenen Bereich aus.
Note: Für das Kalibrieren des Rührwerksicherheitsventils für Maschinen ohne Gasbedienungssperre werden zwei Personen benötigt.
Stellen Sie sicher, dass der Sprühbehälter mit Wasser gefüllt ist.
Stellen Sie sicher, dass das Rührwerkregelventil offen ist. Falls es eingestellt wurde, öffnen Sie es jetzt ganz.
Schalten Sie das Getriebe in die NEUTRAL-Stellung.
Aktivieren Sie die Feststellbremse und lassen den Motor an.
Schalten Sie die Sprühpumpe ein.
Stellen Sie die Motordrehzahl wie folgt ein:
Bei Maschinen ohne die optionale Gasbedienungssperre muss eine Person auf das Fahrpedal treten, bis die maximale Motordrehzahl erreicht ist.
Note: Die andere Person sammelt die Proben von den Sprühdüsen ein.
Treten Sie bei Maschinen mit optionaler Gasbedienungssperre das Fahrpedal durch, bis die maximale Motordrehzahl erreicht ist, und aktivieren Sie die Gasbedienungssperre, siehe Bedienungsanleitungen für die Workman-Handgasbedienung.
Stellen Sie die 3 einzelnen Abschnittschalter in die AUS-Stellung.
Stellen Sie den Hauptabschnittschalter in die EIN-Stellung.
Stellen Sie den Systemdruck auf MAXIMUM.
Stellen Sie den Schalter für das Rührwerk in die AUS-Stellung und lesen den Wert des Druckmanometers ab.
Wenn der Wert bei 6,9 bar bleibt, ist das Rührwerksicherheitsventil richtig kalibriert.
Wenn das Druckmanometer einen anderen Wert anzeigt, führen Sie den nächsten Schritt aus.
Stellen Sie das Rührwerksicherheitsventil (Bild 72) hinten am Rührwerkventil so lange ein, bis das Druckmanometer 6,9 bar anzeigt.

Stellen Sie den Pumpenschalter in die AUS-Stellung, den Gasbedienungshebel in die NEUTRAL-Stellung und das Zündschloss in die AUS-Stellung.
Note: Durch das Einstellen des Sicherheitsventils am Hauptabschnitt wird die Durchflussmenge, die zu den Rührwerkdüsen im Behälter gesendet wird, verringert oder erhöht, wenn der Hauptabschnittschalter in der AUS-Stellung ist.
Stellen Sie sicher, dass der Sprühbehälter mit Wasser gefüllt ist.
Aktivieren Sie die Feststellbremse.
Schalten Sie das Getriebe in die NEUTRAL-Stellung.
Schalten Sie die Sprühpumpe ein.
Stellen Sie den Schalter für das Rührwerk in die EIN-Stellung.
Stellen Sie den Hauptabschnittschalter in die AUS-Stellung.
Stellen Sie die Motordrehzahl wie folgt ein:
Bei Maschinen ohne die optionale Gasbedienungssperre muss eine Person auf das Fahrpedal treten, bis die maximale Motordrehzahl erreicht ist.
Note: Die andere Person sammelt die Proben von den Sprühdüsen ein.
Treten Sie bei Maschinen mit optionaler Gasbedienungssperre das Fahrpedal durch, bis die maximale Motordrehzahl erreicht ist, und aktivieren Sie die Gasbedienungssperre, siehe Bedienungsanleitungen für die Workman-Handgasbedienung.
Stellen Sie den Griff am Sicherheitsventil des Hauptabschnitts ein, um die Rührwerkstärke im Behälter zu steuern (Bild 72).
Verringern Sie die Gasbedienung auf den Leerlauf.
Stellen Sie den Rührwerkschalter und den Pumpenschalter in die AUS-Stellung.
Stellen Sie den Motor ab.
Die Sprühpumpe befindet sich in der Nähe des Maschinenhecks (Bild 73).

Der Besitzer bzw. Bediener ist für Unfälle oder Verletzungen von Dritten sowie Sachschäden verantwortlich und kann diese verhindern.
Tragen Sie geeignete Kleidung, u. a. eine Schutzbrille, lange Hosen, rutschfeste Arbeitsschuhe und einen Gehörschutz. Binden Sie lange Haare hinten zusammen und tragen Sie keinen Schmuck oder weite Kleidung.
Tragen Sie passende Schutzkleidung, wie unter Chemikaliensicherheit aufgeführt.
Konzentrieren Sie sich immer bei der Verwendung des Fahrzeugs. Tun Sie nichts, was Sie ablenken könnte, sonst können Verletzungen oder Sachschäden auftreten.
Setzen Sie die Maschine nicht ein, wenn Sie müde oder krank sind oder unter Alkohol- oder Drogeneinfluss stehen.
Nehmen Sie nicht mehr als einen Fahrgast auf der Maschine mit; der Fahrgast sollte nur in der vorgesehenen Sitzposition sitzen.
Setzen Sie die Maschine nur bei guten Sichtverhältnissen ein. Vermeiden Sie Löcher und andere verborgene Gefahren.
Stellen Sie vor dem Anlassen des Motors sicher, dass Sie in der Bedienerposition sind und das Getriebe in der NEUTRAL-Stellung ist.
Bleiben Sie auf dem Sitz sitzen, wenn sich die Maschine bewegt. Halten Sie (falls möglich) das Lenkrad immer mit beiden Händen fest und halten Sie Arme und Beine im Bedienerbereich.
Seien Sie vorsichtig, wenn Sie sich unübersichtlichen Kurven, Sträuchern, Bäumen und anderen Objekten nähern, die Ihre Sicht behindern können.
Schauen Sie vor dem Rückwärtsfahren hinter sich und stellen Sie sicher, dass sich keine Person hinter Ihnen aufhält. Fahren Sie im Rückwärtsgang nur langsam.
Sprühen Sie nie, wenn sich Personen, insbesondere Kinder oder Haustiere, in der Nähe aufhalten.
Setzen Sie die Maschine nicht in der Nähe von steilen Gefällen, Gräben oder Böschungen ein. Die Maschine könnte plötzlich umkippen, wenn ein Rad über den Rand fährt oder die Böschung nachgibt.
Verringern Sie die Geschwindigkeit beim Einsatz auf unebenem Gelände, bei unebenem Boden und in der Nähe von Bordsteinen, Löchern und plötzlichen Veränderungen im Gelände. Ladungen können sich verlagern. Dies kann die Maschine instabil machen.
Halten Sie die Maschine an, stellen Sie den Motor ab und ziehen Sie den Zündschlüssel ab, aktivieren Sie die Feststellbremse und prüfen Sie auf Beschädigungen, wenn Sie auf ein Objekt aufgefahren sind oder ungewöhnliche Vibrationen auftreten. Führen Sie alle erforderlichen Reparaturen durch, ehe Sie die Maschine wieder in Gebrauch nehmen.
Fahren Sie beim Wenden und beim Überqueren von Straßen und Gehsteigen mit der Maschine langsam und vorsichtig. Geben Sie immer Vorfahrt.
Passen Sie bei der Verwendung der Maschine auf nassen Oberflächen, bei ungünstiger Witterung, höheren Fahrgeschwindigkeiten oder einer vollen Ladung besonders auf. In diesen Situationen sind die Bremszeit und der Bremsweg verlängert.
Berühren Sie den Motor oder Auspuff nie bei laufendem Motor und kurz nachdem er abgestellt wurde. Diese Bereiche sind heiß genug, um Verbrennungen zu verursachen.
Bevor Sie den Fahrerstand verlassen, gehen Sie wie folgt vor:
Stellen Sie die Maschine auf einer ebenen Fläche ab.
Schalten Sie das Getriebe in die NEUTRAL-Stellung.
Schalten Sie die Sprühpumpe aus.
Aktivieren Sie die Feststellbremse.
Stellen Sie den Motor ab und ziehen Sie den Zündschlüssel ab (sofern vorhanden).
Warten Sie, bis alle beweglichen Teile zum Stillstand gekommen sind.
Lassen Sie den Motor nie in einem geschlossenen Raum laufen, wo die Auspuffgase nicht entweichen können.
Verwenden Sie die Maschine nie bei möglichen Gewittern.
Verwenden Sie nur von Toro zugelassenes Zubehör und zugelassene Anbaugeräte.
Für den Einsatz des Multi Pro WM Sprühfahrzeugs müssen Sie zuerst den Sprühbehälter füllen, die Lösung anschließend auf den Arbeitsbereich auftragen und zum Schluss den Behälter reinigen. Sie müssen diese drei Schritte unbedingt nacheinander ausführen, um eine Beschädigung des Sprühfahrzeugs zu vermeiden. Beispiel: Mischen und füllen Sie keine Chemikalien in den Sprühbehälter am Abend ein, die Sie dann am nächsten Morgen sprühen. Dies würde zu einer Separation der Chemikalien führen und könnte die Komponenten des Sprühfahrzeugs beschädigen.
Important: Die Behältermarkierungen sind nur ein Bezug und können für die Kalibrierung nicht als genau angesehen werden.
Chemikalien sind gefährlich und können Verletzungen verursachen.
Lesen Sie vor dem Umgang mit Chemikalien die Anweisungen auf dem Chemikalienetikett, und halten Sie die Empfehlungen und Vorsichtsmaßnahmen des Herstellers ein.
Vermeiden Sie, dass Ihre Haut mit Chemikalien in Berührung kommt. Sollte Ihre Haut mit Chemikalien in Kontakt kommen, waschen Sie den Bereich gründlich mit Seife und sauberem Wasser.
Tragen Sie eine Schutzbrille und andere vom Chemikalienhersteller empfohlene Schutzausrüstung.
Das Sprühfahrzeug Multi Pro WM wurde besonders für lange Haltbarkeit konzipiert, um die von Ihnen gewünschte lange Nutzungsdauer eines Sprühfahrzeugs zur Verfügung zu stellen. An verschiedenen Stellen des Sprühfahrzeugs wurden aus bestimmten Gründen unterschiedliche Materialien verwendet, um dieses Ziel zu realisieren. Leider gibt es kein Material, das für alle denkbaren Anwendungen perfekt ist.
Einige Chemikalien sind aggressiver als andere, und jede Chemikalie reagiert mit Materialien anders. Einige Zusammensetzungen (z. B. benetzbares Pulver, Aktivkohle) sind aggressiver und führen zu höherer Abnutzung. Wenn eine Chemikalie in einer Rezeptur erhältlich ist, mit der die Nutzungsdauer des Sprühfahrzeugs verlängert wird, verwenden Sie die alternative Rezeptur.
Denken Sie auf jeden Fall daran, die Maschine und das Sprühsystem nach jedem Einsatz gründlich zu reinigen. Dies trägt zu einer langen und problemlosen Nutzungsdauer des Sprühfahrzeugs bei.
Important: Verwenden Sie das Rührwerk, wenn Sie eine Lösung in den Behälter gefüllt haben, um zu gewährleisten, dass die Chemikalien gut gemischt bleiben. Das Rührwerk funktioniert nur, wenn die Zapfwelle eingekuppelt ist und der Motor schneller als im Leerlauf läuft. Wenn Sie das Fahrzeug anhalten und das Rührwerk laufen muss, schieben Sie den Geschwindigkeitsbereichshebel in die NEUTRAL-Stellung, aktivieren die Feststellbremse, kuppeln die Zapfwelle ein, aktivieren die Kupplung und stellen Sie die Handgasbedienung ein (falls vorhanden).
Note: Es wird vorausgesetzt, dass die Zapfwelle eingekuppelt ist (Modelle der Serie HD mit manuellem Getriebe) und die Kalibrierung der Auslegerabschnittsventile abgeschlossen ist.
Senken Sie die Ausleger ab.
Stellen Sie den Hauptabschnittschalter in die AUS-Stellung.
Stellen Sie die Schalter der einzelnen Ausleger nach Wunsch in die EIN-Stellung.
Fahren Sie zum Bereich, den Sie sprühen möchten.
Navigieren Sie im InfoCenter zum Dosierungsbildschirm (Application Rate) und stellen Sie die gewünschte Dosierung mit den folgenden Schritten ein:
Achten Sie darauf, dass der Schalter für die Pumpe in der EIN-Stellung ist.
Stellen Sie bei Modellen der Serie HD mit manuellem Getriebe den gewünschten Gangbereich ein.
Fahren Sie mit der Zielfahrgeschwindigkeit an.
Stellen Sie sicher, dass das Steuergerät die richtige Dosierung anzeigt. Verstellen Sie ggf. den Schalter für die Dosierung, bis der Monitor die gewünschte Dosierung anzeigt.
Fahren Sie zu der Stelle zurück, die Sie sprühen möchten.
Stellen Sie den Hauptabschnittschalter in die EIN-Stellung, um mit dem Sprühen zu beginnen.
Note: Wenn der Behälter fast leer ist, kann das Rührwerk zu einer Schaumbildung im Behälter führen. Schalten Sie das Rührwerkventil aus, um dies zu vermeiden. Sie können auch ein schaumhemmendes Mittel im Behälter verwenden.
Stellen Sie nach dem Sprühen den Hauptabschnittschalter in die AUS-Stellung, um alle Schalter der Sprühabschnitte abzuschalten. Kuppeln Sie den Zapfwellenschalter aus (Modelle der Serie HD mit manuellem Getriebe).
Important: Manchmal kann die Wärme vom Motor, dem Kühler und Auspuff das Gras beschädigen, wenn Sie das Sprühfahrzeug stationär einsetzen. Stationärer Einsatz umfasst das Behälterrührwerk, das Sprühen mit einer Spritzpistole oder das Sprühen mit einem tragbaren Ausleger.
Befolgen Sie die nachstehenden Sicherheitsvorkehrungen:
Vermeiden Sie ein stationäres Sprühen, wenn es sehr heiß und/oder trocken ist, da Rasenflächen zu diesen Zeitpunkten mehr gestresst sind.
Vermeiden Sie ein Parken auf der Rasenfläche, wenn Sie stationär sprühen. Parken Sie, falls möglich, auf einem Weg.
Minimieren Sie den Zeitraum, in der Sie die Maschine in einem bestimmten Bereich der Grünfläche laufen lassen. Das Ausmaß der Beschädigung der Rasenfläche hängt von der Zeit und der Temperatur ab.
Stellen Sie die Motordrehzahl so niedrig wie möglich ein, um den gewünschten Druck und Durchfluss zu erreichen. Dies verringert die Wärmeentwicklung und die Luftgeschwindigkeit vom Kühllüfter.
Lassen Sie die Wärme nach oben vom Motorraum entweichen. Klappen Sie den Sitz hoch, wenn Sie stationär arbeiten, damit die Wärme nicht unter dem Fahrzeug herausgedrückt wird.
Mit den Hubschaltern für den Auslegerabschnitt am Bedienfeld des Sprühfahrzeugs bewegen Sie die äußeren Sprühabschnitte zwischen der Transport- und der Sprühstellung, ohne dass Sie den Bedienersitz verlassen müssen. Falls möglich, halten Sie die Maschine an, bevor Sie die Stellung der Sprühabschnitte ändern.
Aktivieren Sie den Hydraulikhubhebel ein und arretieren ihn, um Hydraulikkraft für die Steuerung des Auslegerhubs bereitzustellen.
Drücken Sie den Hydraulikhubhebel nach vorne.

Schieben Sie die Hydraulikhubsperre nach links, um die Sperre zu aktivieren.
Führen Sie die folgenden Schritte aus, um die äußeren Sprühabschnitte in die SPRüH-Stellung zu bewegen:
Stellen Sie die Maschine auf einer ebenen Fläche ab.
Senken Sie die äußeren Abschnitte mit den Hubschaltern für den Auslegerabschnitt ab.
Note: Warten Sie, bis die äußeren Sprühabschnitte ganz in die Sprüh-Stellung ausgefahren sind.
Führen Sie Ihre Sprüharbeiten aus und führen Sie die folgenden Schritte aus, um die äußeren Sprühabschnitte in die Transport-Stellung zu bringen:
Stellen Sie die Maschine auf einer ebenen Fläche ab.
Heben Sie einen der äußeren Sprühabschnitte mit den Hubschaltern für den Auslegerabschnitt an.
Heben Sie die anderen äußeren Sprühabschnitte mit den Hubschaltern für den Auslegerabschnitt an.
Heben Sie die Auslegerabschnitte an, bis sie ganz in den Transportgabeln der Ausleger (in der Überkreuzstellung für den Transport) sind, und die Hubzylinder ganz eingefahren sind.
Important: Lassen Sie die Hubschalter für den Auslegerabschnitt los, wenn die äußeren Sprühabschnitte in der gewünschten Stellung sind. Wenn die Aktuatoren die Anschläge berühren, können die Hubzylinder oder andere Hydraulikteile beschädigt werden.
Important: Achten Sie darauf, dass die Sprühabschnitte in der Transportstellung nicht mit niedrigen oberirdisch liegenden Gegenständen in Berührung kommen, da dies die Sprühabschnitte beschädigen kann.
Important: Die Sprühabschnitte können beschädigt werden, wenn Sie sie nicht in der Überkreuzstellung für den Transport mit der Transportgabel der Ausleger befördern.

Important: Stellen Sie sicher, dass die Aktuatoren vor dem Transport der Maschine ganz eingefahren sind, um eine Beschädigung des Hubzylinders zu verhindern.
Achten Sie darauf, dass sich die gesprühten Bereiche nicht überschneiden.
Achten Sie auf verstopfte Düsen. Ersetzen Sie abgenutzte und beschädigte Düsen.
Stoppen Sie den Sprühfluss mit dem Hauptabschnittschalter, bevor Sie das Sprühfahrzeug anhalten. Halten Sie nach dem Anhalten mit dem Sperrschalter für die Motorleerlaufgeschwindigkeit die Motordrehzahl aufrecht, damit das Rührwerk weiter läuft.
Sie erhalten bessere Ergebnisse, wenn das Sprühfahrzeug beim Einschalten der Sprühabschnitte in Bewegung ist.
Achten Sie auf Änderungen in der Dosierung. Dies kann darauf hinweisen, dass die Geschwindigkeit außerhalb des Bereichs der Düsen liegt, oder dass das Sprühsystem einen Fehler aufweist.
Wenn eine Düse beim Sprühen verstopft, reinigen Sie die Düse wie folgt:
Halten Sie das Sprühfahrzeug auf einer ebenen Fläche an, stellen Sie den Motor ab und aktivieren die Feststellbremse.
Stellen Sie den Hauptabschnittschalter in die AUS-Stellung und stellen Sie dann den Sprühpumpenschalter in die AUS-Stellung.
Entfernen Sie die verstopfte Düse und reinigen Sie sie mit einer Spritzflasche mit Wasser und einer Zahnbürste.
Setzen Sie die Düse ein.
Parken Sie die Maschine auf einer ebenen Fläche, aktivieren Sie die Feststellbremse, stellen Sie den Motor ab, ziehen Sie den Schlüssel ab und warten Sie, bis alle beweglichen Teile zum Stillstand gekommen sind, bevor Sie die Maschine verlassen.
Nach dem täglichen Einsatz der Maschine sollten Sie alle Chemikalienrückstände von der Außenseite der Maschine abwaschen, siehe Chemikaliensicherheit“.
Lassen Sie den Motor abkühlen, bevor Sie die Maschine in einem geschlossenen Raum abstellen.
Pflegen und reinigen Sie die Sicherheitsgurte bei Bedarf.
Lagern Sie die Maschine oder den Benzinkanister nie an Orten mit offener Flamme, Funken oder Zündflamme, z. B. Warmwasserbereiter oder andere Geräte.
Halten Sie alle Teile der Maschine in gutem Betriebszustand und alle Befestigungen angezogen.
Ersetzen Sie alle abgenutzten oder fehlenden Aufkleber.
Important: Verwenden Sie zur Reinigung der Maschine kein Brack- oder wiederaufbereitetes Wasser.
Parken Sie die Maschine auf einer ebenen Fläche, aktivieren Sie die Feststellbremse, stellen den Motor ab und ziehen den Schlüssel ab
Ermitteln Sie das Ablassventil des Behälters an der rechten Seite der Maschine (Bild 76).

Öffnen Sie das Ventil und lassen alle nicht verwendete Lösung aus dem Behälter (Bild 77) aus.
Important: Entsorgen Sie Chemikalienabfall entsprechend den örtlichen Vorschriften und den Vorschriften des Herstellers.

Schließen Sie das Abflussventil (Bild 77).
| Wartungsintervall | Wartungsmaßnahmen |
|---|---|
| Jährlich |
|
Important: Sie müssen das Sprühfahrzeug sofort nach jedem Einsatz entleeren und reinigen. Ansonsten können die Chemikalien in den Leitungen austrocknen oder sich verdicken und die Pumpe und andere Komponenten verstopfen.
Verwenden Sie das zugelassene Spülkit für diese Maschine. Wenden Sie sich an den offiziellen Toro-Vertragshändler für weitere Informationen.
Reinigen Sie das Sprühsystem nach jedem Sprühen. So reinigen Sie das Sprühsystem gründlich:
Verwenden Sie drei Spülgänge.
Verwenden Sie die von den Chemikalienherstellern empfohlenen Reiniger und Neutralisierungsmittel.
Verwenden Sie für den letzten Spülgang sauberes Wasser (ohne Reinigungs- oder Neutralisierungsmittel).
Füllen Sie den Behälter mit mindestens 190 L sauberem, frischem Wasser und schließen Sie die Abdeckung.
Note: Sie können dem Wasser ggf. ein Reinigungs- bzw. Neutralisierungsmittel zugeben. Verwenden Sie für das letzte Spülen nur sauberes Wasser.
Senken Sie die Ausleger in die Sprühstellung ab.
Lassen Sie den Motor an und stellen Sie den Pumpenschalter in die EIN-Stellung.
Stellen Sie die Gasbedienung in eine höhere Leerlaufdrehzahl.
Prüfen Sie, dass der Rührwerksschalter in der EIN-Stellung ist und erhöhen Sie mit dem Dosierungsschalter den Druck auf die höchste Einstellung.
Stellen Sie die Schalter der einzelnen Abschnitte und den Hauptabschnittschalter in die EIN-Stellung, um mit dem Sprühen zu beginnen.
Sprühen Sie die gesamte Wassermenge im Behälter durch die Düsen.
Prüfen Sie die Düsen und stellen Sie sicher, dass alle ordnungsgemäß sprühen.
Stellen Sie den Schalter des Hauptabschnittschalters in die AUS-Stellung, schalten Sie die Sprühpumpe aus und stellen den Motor ab.
Wiederholen Sie die Schritte 1 bis 9 mindestens noch zweimal, um eine gründliche Säuberung des Sprühsystems zu gewährleisten.
Important: Sie müssen dies immer mindestens dreimal durchführen, um sicherzustellen, dass das Sprühsystem richtig sauber ist und nicht durch Rückstände beschädigt wird.
Reinigen Sie den Saugfilter und den Druckfilter, siehe Reinigen des Saugfilters und Reinigen des Druckfilters.
Important: Reinigen Sie nach der Verwendung von benetzbarem Chemikalienpulver das Sieb nach jeder Behälterfüllung.
Spritzen Sie das Sprühfahrzeug außen mit einem Gartenschlauch mit sauberem Wasser ab.
Nehmen Sie die Düsen heraus und reinigen Sie diese mit der Hand. Tauschen Sie beschädigte oder abgenutzte Düsen aus.
| Wartungsintervall | Wartungsmaßnahmen |
|---|---|
| Bei jeder Verwendung oder täglich |
|
Parken Sie die Maschine auf einer ebenen Fläche, aktivieren die Feststellbremse, stellen die Pumpe und den Motor ab und ziehen Sie den Schlüssel ab.
Nehmen Sie oben am Sprühbehälter den Halter ab, mit dem das Schlauchanschlussstück befestigt ist, das am dicken Schlauch und dem Filtergehäuse angeschlossen ist (Bild 78).

Nehmen Sie den Schlauch und das Schlauchanschlussstück vom Filtergehäuse ab (Bild 78).
Ziehen Sie das Saugsieb aus dem Filtergehäuse im Behälter (Bild 79).

Reinigen Sie den Saugfilter mit sauberem Wasser.
Important: Ersetzen Sie einen beschädigten oder nicht mehr zu reinigenden Filter.
Setzen Sie den Saugfilter in das Filtergehäuse ein, bis er fest sitzt.
Fluchten Sie den Schlauch und das Schlauchanschlussstück oben am Behälter mit dem Filtergehäuse aus, und befestigen Sie das Anschlussstück und das Gehäuse mit dem in Schritt 2 entfernten Halter.
| Wartungsintervall | Wartungsmaßnahmen |
|---|---|
| Bei jeder Verwendung oder täglich |
|
Parken Sie die Maschine auf einer ebenen Fläche, aktivieren die Feststellbremse, stellen die Sprühpumpe und den Motor ab und ziehen Sie den Schlüssel ab.
Stellen Sie eine Auffangwanne unter den Druckfilter (Bild 80).

Drehen Sie die Ablassschraube nach links und nehmen sie von der Glocke des Druckfilters ab (Bild 80).
Note: Entleeren Sie die Glocke vollständig.
Drehen Sie die Glocke nach links und nehmen den Filterkopf ab (Bild 80).
Entfernen Sie den Druckfiltereinsatz (Bild 80).
Reinigen Sie den Druckfiltereinsatz mit sauberem Wasser.
Important: Ersetzen Sie einen beschädigten oder nicht mehr zu reinigenden Filter.
Prüfen Sie die Dichtung für die Ablassschraube (in der Glocke) und die Dichtung für die Glocke (im Filterkopf) auf Beschädigungen und Abnutzung (Bild 80).
Important: Tauschen Sie beschädigte oder abgenutzte Dichtungen für die Schraube, Glocke oder beide aus.
Setzen Sie den Druckfiltereinsatz in den Filterkopf ein (Bild 80).
Note: Stellen Sie sicher, dass der Filtereinsatz fest im Filterkopf sitzt.
Befestigen Sie die Glocke am Filterkopf und ziehen sie mit der Hand an (Bild 80).
Befestigen Sie die Ablassschraube am Anschlussstück unten an der Glocke und ziehen sie mit der Hand an (Bild 80).
Parken Sie die Maschine auf einer ebenen Fläche, aktivieren die Feststellbremse, stellen die Sprühpumpe und den Motor ab und ziehen Sie den Schlüssel ab.
Nehmen Sie die Düse vom Sprühdrehkreuz ab (Bild 81.

Entfernen Sie den Düsenfilter (Bild 81).
Reinigen Sie den Düsenfilter mit sauberem Wasser.
Important: Ersetzen Sie einen beschädigten oder nicht mehr zu reinigenden Filter.
Setzen Sie den Düsenfilter ein (Bild 81).
Note: Stellen Sie sicher, dass der Filter richtig sitzt.
Setzen Sie die Düse auf das Sprühdrehkreuz auf (Bild 81).
| Wartungsintervall | Wartungsmaßnahmen |
|---|---|
| Nach jeder Verwendung |
|
Technische Daten für Konditionierer: Propylenglykol (ungiftiges RV-Frostschutzmittel) mit Korrosionsschutzmittel
Important: Verwenden Sie nur Propylenglykol mit Korrosionsschutzmittel. Verwenden Sie kein gebrauchtes Propylenglykol. Verwenden Sie kein Frostschutzmittel auf Ethylenglykol-Basis.Verwenden Sie kein Propylenglykol mit den löslichen Alkoholen (Methanol, Ethanol oder Isopropanol) oder Frostschutzmitteln, die zugefügt wurden.
Stellen Sie die Maschine auf eine ebene Fläche, stellen den Motor ab und ziehen Sie den Zündschlüssel ab.
Füllen Sie wie folgt Konditionierer in den Behälter:
Vorgemischtes RV-Frostschutzmittel mit Propylenglykol: Füllen Sie 39 Liter RV-Frostschutzmittel mit Propylenglykol in den Behälter.
Führen Sie für konzentriertes RV-Frostschutzmittel mit Propylenglykol folgende Schritte aus:
Füllen Sie eine 45,6-Liter-Mischung aus RV-Frostschutzmittel mit Propylenglykol und Wasser in den Sprühbehälter. Bereiten Sie die Frostschutzmittellösung gemäß des Herstellers für eine Konzentration für mindestens -45° C vor.
Important: Reinigen Sie das Sprühfahrzeug nur mit sauberem Wasser.
Lassen Sie den Motor an und stellen Sie den Sprühpumpenschalter in die EIN-Stellung.
Treten Sie auf das Fahrpedal, um die Motordrehzahl zu erhöhen.
Stellen Sie den Schalter für das Rührwerk in die EIN-Stellung.
Lassen Sie den Konditionierer und die Wasserlösung für drei Minuten oder länger zirkulieren.
Empfohlenes Werkzeug: Ein durchsichtiger Fangbehälter.
Fahren Sie mit der Maschine auf den Bereich mit dem Ablasspad und aktivieren Sie die Feststellbremse.
Senken Sie die äußeren Auslegerabschnitte ab.
Stellen Sie den linken, mittleren und rechten Abschnittschalter und den Hauptabschnittschalter in die EIN-Stellung.
Sprühen Sie mit dem Sprühsystem, bis der Konditionierer aus den Düsen austritt.
Note: Die meisten RV-Frostschutzmittel mit Propylenglykol sind rosa. Sammeln Sie den Auswurf des Sprühfahrzeugs an mehreren Düsen mit dem Fangbehälter.
Stellen Sie den Hauptabschnittschalter, die drei Abschnittsschalter, den Rührwerkschalter, Sprühpumpenschalter und den Motor ab, und ziehen Sie den Zündschlüssel ab.
Weitere Informationen zum Transport oder Abschleppen der Maschine finden Sie in der Bedienungsanleitung für Ihr Workman-Fahrzeug.
Important: Binden Sie die äußeren Sprühabschnitte an den Transportgabeln des Auslegerabschnitts fest:
Note: Laden Sie ein kostenfreies Exemplar des elektrischen oder hydraulischen Schaltbilds von www.Toro.com herunter und suchen Sie Ihre Maschine vom Link für die Bedienungsanleitungen auf der Homepage.
Note: Bestimmen Sie die linke und rechte Seite der Maschine anhand der normalen Sitz- und Bedienposition.
Bevor Sie den Fahrerstand verlassen, gehen Sie wie folgt vor:
Stellen Sie die Maschine auf einer ebenen Fläche ab.
Schalten Sie das Getriebe in die NEUTRAL-Stellung.
Aktivieren Sie die Feststellbremse.
Stellen Sie den Motor ab und ziehen Sie den Zündschlüssel ab (sofern vorhanden).
Warten Sie, bis alle beweglichen Teile zum Stillstand gekommen sind.
Lassen Sie alle Maschinenteile abkühlen, ehe Sie mit Wartungsarbeiten beginnen.
Lassen Sie die Maschine nur von geschulten und autorisierten Personen warten, reparieren, einstellen oder prüfen.
Reinigen und spülen Sie die Sprüheinrichtung gründlich, bevor Sie Wartungsarbeiten durchführen; siehe Chemikaliensicherheit.
Die im Sprühsystem verwendeten Chemikalien sind gefährlich und können für Sie, Unbeteiligte, Tiere, Pflanzen, Böden oder anderes Eigentum giftig sein.
Lesen Sie die chemischen Warnaufkleber und die Sicherheitsdatenblätter für alle verwendeten Chemikalien sorgfältig durch, und halten Sie sich an die Angaben. Tragen Sie außerdem die vom Chemikalienhersteller empfohlene Schutzkleidung.
Schützen Sie beim Umgang mit Chemikalien immer Ihre Hautflächen. Tragen Sie geeignete Schutzkleidung, um sich vor dem Kontakt mit Chemikalien zu schützen, u. a.:
Sicherheitsbrillen, Schutzbrillen und Gesichtsmaske
Schutzanzug
Atmungsgerät oder Filtermaske
Chemikalienbeständige Handschuhe
Gummistiefel oder Arbeitsschuhe
Saubere Ersatzkleidung, Seife und Einweghandtücher für Reinigungsarbeiten
Weigern Sie sich, das Sprühfahrzeug einzusetzen oder an ihm zu arbeiten, wenn Informationen zur Chemikaliensicherheit nicht verfügbar sind.
Füllen, kalibrieren oder reinigen Sie die Maschine nicht, wenn sich Personen, besonders Kinder oder Haustiere, im Bereich aufhalten.
Verwenden Sie Chemikalien in einem gut gelüfteten Bereich.
Sie sollten sauberes Wasser griffbereit haben, besonders wenn Sie den Sprühbehälter auffüllen.
Essen, trinken oder rauchen Sie nicht beim Umgang mit Chemikalien.
Blasen Sie nicht in die Sprühdüsen oder nehmen sie in den Mund, um sie zu reinigen.
Waschen Sie sich immer die Hände und andere nicht geschützte Körperteile, sobald Sie den Umgang mit Chemikalien abgeschlossen haben.
Chemikalien und Dämpfe sind gefährlich. Betreten Sie nie den Behälter oder stecken Sie den Kopf in die Behälteröffnung.
Halten Sie alle Befestigungsmittel ordnungsgemäß angezogen, um den einwandfreien Betriebszustand der Maschine zu gewährleisten.
Halten Sie den Motorbereich frei von überflüssigem Schmierfett, Chemikalien, Schnittgut, Laub und Schmutz, um die Brandgefahr zu reduzieren.
Wenn der Motor zum Durchführen von Wartungseinstellungen laufen muss, berühren Sie den Motor und bewegliche Teile nicht mit den Händen, Füßen und Kleidungsstücken. Halten Sie Unbeteiligte von der Maschine fern.
Stellen Sie die Fahrgeschwindigkeit der Maschine nicht ein. Lassen Sie die Fahrgeschwindigkeit von einem Toro-Kundendienst prüfen, damit Sie die Betriebssicherheit und den einwandfreien Zustand der Maschine sicherstellen.
Wenden Sie sich für große Reparaturen oder technische Unterstützung Hilfe an den offiziellen Toro-Vertragshändler.
Modifikationen der Maschine können sich auf den Maschineneinsatz, die Leistung, Haltbarkeit und die Verwendung auswirken und zu Verletzungen ggf. tödlichen Verletzungen führen. Ein Einsatz unter solchen Bedingungen führt zum Verlust Ihrer Garantieansprüche.
Stützen Sie die Maschine mit Achsständern ab, wenn Sie Arbeiten unter der Maschine ausführen.
Lassen Sie den Druck aus Maschinenteilen mit gespeicherter Energie vorsichtig ab.
| Wartungsintervall | Wartungsmaßnahmen |
|---|---|
| Bei jeder Verwendung oder täglich |
|
| Nach jeder Verwendung |
|
| Alle 50 Betriebsstunden |
|
| Alle 100 Betriebsstunden |
|
| Alle 200 Betriebsstunden |
|
| Alle 400 Betriebsstunden |
|
| Jährlich |
|
Important: Weitere Wartungsarbeiten finden Sie in der Bedienungsanleitung der Maschine und des Motors.
Kopieren Sie diese Seite für regelmäßige Verwendung.
| Wartungsprüfpunkt | Für KW: | ||||||
|---|---|---|---|---|---|---|---|
| Mo | Di | Mi | Do | Fr | Sa | So | |
| Prüfen Sie die Funktion der Bremse und der Feststellbremse. | |||||||
| Prüfen Sie den Schalthebel und den Leerlauf. | |||||||
| Prüfen Sie den Kraftstoffstand. | |||||||
| Prüfen Sie den Motorölstand, bevor Sie den Behälter auffüllen. | |||||||
| Prüfen Sie den Getriebeölstand, bevor Sie den Behälter auffüllen. | |||||||
| Prüfen Sie den Luftfilter, bevor Sie den Behälter auffüllen. | |||||||
| Prüfen Sie die Motorkühlrippen, bevor Sie den Behälter auffüllen. | |||||||
| Achten Sie auf ein ungewöhnliches Motorgeräusch. | |||||||
| Achten Sie auf ein ungewöhnliches Betriebsgeräusch. | |||||||
| Überprüfen Sie den Reifendruck. | |||||||
| Prüfen Sie die Dichtheit. | |||||||
| Prüfen Sie die Funktion der Instrumente. | |||||||
| Prüfen Sie die Funktion des Fahrpedals. | |||||||
| Reinigen Sie das Saugsieb. | |||||||
| Prüfen Sie die Vorspur. | |||||||
| Fetten Sie alle Schmiernippel ein.1 | |||||||
| Bessern Sie alle Lackschäden aus. | |||||||
1Sofort nach jedem Reinigen, unabhängig von den aufgeführten Intervallen.
| Inspiziert durch: | ||
| Punkt | Datum | Informationen |
| 1 | ||
| 2 | ||
| 3 | ||
| 4 | ||
| 5 | ||
| 6 | ||
| 7 | ||
| 8 | ||
| 9 | ||
| 10 | ||
Wenn Sie den Zündschlüssel im Zündschloss stecken lassen, könnte eine andere Person den Motor versehentlich anlassen und Sie und Unbeteiligte schwer verletzen.
Ziehen Sie vor dem Beginn von Wartungsarbeiten den Zündschlüssel aus dem Zündschloss ab und klemmen Sie das Minuskabel von der Batterie ab. Schieben Sie das Batteriekabel zur Seite, damit es nicht versehentlich den Batteriepol berührt.
Der Sprühbehälter stellt eine Gefahrenstelle mit gespeicherter Energie dar. Wenn der Behälter bei der Montage oder dem Ausbau nicht richtig festgehalten wird, kann er herunterfallen und Sie oder Unbeteiligte verletzen.
Stützen Sie den Sprühbehälter beim Einbau, Ausbau oder bei Wartungsarbeiten mit Riemen oder einem Flaschenzug ab, wenn die Befestigungen abgenommen sind.
Sie können den Behälter anheben, um Zugang zum Motor und anderen internen Teilen zu erhalten. Drehen Sie die Auslegersektion nach vorne, um das Gewicht gleichmäßiger zu verteilen.
Leeren Sie den Sprühbehälter.
Parken Sie das Fahrzeug auf einer ebenen Fläche.
Heben Sie die Auslegersektion mit den Schaltern für die Auslegersteuerung auf ungefähr 45° an.
Aktivieren Sie die Feststellbremse, stellen den Motor ab und ziehen den Zündschlüssel ab.
Trennen Sie die Batterie.
Entfernen Sie die Sicherungsschrauben vorne am Gestell (Bild 82).

Trennen Sie den Kabelbaum der Mittelkonsole vom Hauptkabelbaum und lösen Sie den Hauptkabelbaum so vom Verlegeweg, dass er locker ist.
Klappen Sie die Auslegersektion nach vorne entlang des Behälters, um das Gewicht gleichmäßiger zu verteilen und Kippen nach hinten zu vermeiden.
Heben Sie den Behälter an, bis die Hubzylinder ganz ausgefahren sind.
Nehmen Sie die Ladepritschenstütze aus den Einlagerungshalterungen hinten an der Überrollschutzplatte (Bild 83).

Schieben Sie die Ladepritschenstütze auf die Zylinderstange. Achten Sie darauf, dass die Nasen der Stützenenden auf dem Ende der Zylindertrommel und auf dem Ende der Zylinderstange aufliegen (Bild 84).

Wenn Sie bereit sind, den Behälter abzusenken, entfernen Sie die Ladepritschenstütze vom Zylinder und setzen Sie sie in die Halterungen hinten an der Überrollschutzplatte ein.
Important: Versuchen Sie nicht, den Behälter abzusenken, wenn die Sicherheitsstütze der Ladepritsche am Zylinder aufgesetzt ist.
Fahren Sie die Hubzylinder ein, um den Behälter vorsichtig auf den Rahmen abzusenken.
Setzen Sie die zwei Befestigungsschrauben und Befestigungen ein, um den Behälter zu befestigen.
Klappen Sie die Auslegerabschnitte nach hinten in die ausgefahrene Stellung.
Heben Sie die Auslegersektionen mit den Steuerschaltern für die Ausleger in die TRANSPORT-Stellung an.
Verlegen Sie den Hauptkabelbaum so, dass er nicht durchhängt, und verbinden Sie ihn mit dem Kabelbaum der Mittelkonsole.
| Wartungsintervall | Wartungsmaßnahmen |
|---|---|
| Alle 50 Betriebsstunden |
|
Fettsorte: Mobilgrease XHP 461
Lokalisieren Sie die Schmiernippel an der Sprühpumpe.
Note: Die Sprühpumpe des Sprühfahrzeugs befindet sich in der Nähe des Maschinenhecks.

Wischen Sie die zwei Schmiernippel mit einem sauberen Lappen ab.
Pressen Sie Fett in jeden Schmiernippel.
Wischen Sie überschüssiges Schmierfett ab.
| Wartungsintervall | Wartungsmaßnahmen |
|---|---|
| Alle 100 Betriebsstunden |
|
Important: Wenn Sie das Scharnier des Auslegers mit Wasser reinigen, entfernen Sie das Wasser und Rückstände vom Scharnier und tragen Sie neues Fett auf.
Schmierfettsorte: Nr. 2 Allzweckschmierfett auf Lithiumbasis
Wischen Sie die Schmiernippel ab, um das Eindringen von Fremdkörpern in die Lager oder Büchsen zu vermeiden.
Pressen Sie Fett in die Lager oder Büchsen jedes AnschlussstückesBild 86.

Wischen Sie überflüssiges Fett ab.
Wiederholen Sie diese Schritte für jedes Auslegerscharnier.
Klemmen Sie vor dem Durchführen von Reparaturen an der Maschine die Batterie ab. Klemmen Sie immer zuerst die Minusklemme und dann die Plusklemme ab. Schließen Sie immer zuerst den Pluspol und dann den Minuspol an.
Laden Sie die Batterie in offenen, gut gelüfteten Bereichen und nicht in der Nähe von Funken und offenem Feuer. Stecken Sie das Ladegerät aus, ehe Sie die Batterie anschließen oder abklemmen.
Tragen Sie Schutzkleidung und verwenden Sie isoliertes Werkzeug.
Der Sicherungskasten des Sprühsystems ist am Ende des Sicherungskastens des Fahrzeugs angebracht. Ersetzen Sie eine defekte Sicherung durch eine Sicherung desselben Typs und derselben Amperezahl.

| Wartungsintervall | Wartungsmaßnahmen |
|---|---|
| Alle 200 Betriebsstunden |
|
| Alle 400 Betriebsstunden |
|
Prüfen Sie jeden Schlauch im Sprühsystem auf Risse, undichte Stellen und andere Beschädigungen. Prüfen Sie gleichzeitig die Anschlüsse und Anschlussstücke auf ähnliche Beschädigungen. Wechseln Sie beschädigte Schläuche und Anschlussstücke aus.
| Wartungsintervall | Wartungsmaßnahmen |
|---|---|
| Alle 400 Betriebsstunden |
|
Note: Ermitteln Sie die passende Maschenweite des Saugfilters, der für die jeweilige Aufgabe ausgelegt ist; siehe Auswählen eines Saugfilters.
Parken Sie die Maschine auf einer ebenen Fläche, aktivieren die Feststellbremse, stellen die Pumpe und den Motor ab und ziehen Sie den Schlüssel ab.
Nehmen Sie oben am Sprühbehälter den Halter ab, mit dem das Schlauchanschlussstück befestigt ist, das am dicken Schlauch und dem Filtergehäuse angeschlossen ist (Bild 88).

Nehmen Sie den Schlauch und das Schlauchanschlussstück vom Filtergehäuse ab (Bild 88).
Entfernen Sie den alten Saugfilter aus dem Filtergehäuse im Behälter (Bild 89).
Note: Entsorgen Sie den alten Filter.

Setzen Sie den neuen Saugfilter in das Filtergehäuse ein.
Note: Stellen Sie sicher, dass der Filter richtig sitzt.
Fluchten Sie den Schlauch und das Schlauchanschlussstück oben am Behälter mit dem Filtergehäuse aus, und befestigen Sie das Anschlussstück und das Gehäuse mit dem in Schritt 2 entfernten Halter.
| Wartungsintervall | Wartungsmaßnahmen |
|---|---|
| Alle 400 Betriebsstunden |
|
Note: Ermitteln Sie die passende Maschenweite des Druckfilters, der für die jeweilige Anforderung ausgelegt ist, siehe Auswählen eines Druckfilters.
Parken Sie die Maschine auf einer ebenen Fläche, aktivieren die Feststellbremse, stellen die Sprühpumpe und den Motor ab und ziehen Sie den Schlüssel ab.
Stellen Sie eine Auffangwanne unter den Druckfilter (Bild 90).

Drehen Sie die Ablassschraube nach links und nehmen sie von der Glocke des Druckfilters ab (Bild 90).
Note: Entleeren Sie die Glocke vollständig.
Drehen Sie die Glocke nach links und nehmen den Filterkopf ab (Bild 90).
Entfernen Sie den alten Druckfiltereinsatz (Bild 90).
Note: Entsorgen Sie den alten Filter.
Prüfen Sie die Dichtung für die Ablassschraube (in der Glocke) und die Dichtung für die Glocke (im Filterkopf) auf Beschädigungen und Abnutzung (Bild 90).
Note: Tauschen Sie beschädigte oder abgenutzte Dichtungen für die Schraube, Glocke oder beide aus.
Setzen Sie den neuen Druckfiltereinsatz in den Filterkopf ein (Bild 90).
Note: Stellen Sie sicher, dass der Filtereinsatz fest im Filterkopf sitzt.
Befestigen Sie die Glocke am Filterkopf und ziehen sie mit der Hand an (Bild 90).
Befestigen Sie die Ablassschraube am Anschlussstück unten an der Glocke und ziehen sie mit der Hand an (Bild 90).
Note: Ermitteln Sie die passende Maschenweite des Düsenfilters, der für die jeweilige Anforderung ausgelegt ist; siehe Auswählen eines Düsenspitzenfilters (optional).
Parken Sie die Maschine auf einer ebenen Fläche, aktivieren die Feststellbremse, stellen die Sprühpumpe und den Motor ab und ziehen Sie den Schlüssel ab.
Nehmen Sie die Düse vom Sprühdrehkreuz ab (Bild 91.

Entfernen Sie den alten Düsenfilter (Bild 91).
Note: Entsorgen Sie den alten Filter.
Setzen Sie den neuen Düsenfilter ein (Bild 91).
Note: Stellen Sie sicher, dass der Filter richtig sitzt.
Setzen Sie die Düse auf das Sprühdrehkreuz auf (Bild 91).
| Wartungsintervall | Wartungsmaßnahmen |
|---|---|
| Alle 400 Betriebsstunden |
|
Note: Die folgenden Gerätebestandteile werden als Teile angesehen, die abgenutzt werden, und sind nicht (außer bei einem Defekt) von der Gerätegarantie abgedeckt.
Lassen Sie die folgenden internen Pumpenteile von einem offiziellen Toro-Vertragshändler auf Beschädigungen prüfen:
Pumpenmembran
Pumpensperrventile
Wechseln Sie die Teile ggf. aus.
| Wartungsintervall | Wartungsmaßnahmen |
|---|---|
| Alle 400 Betriebsstunden |
|
Parken Sie die Maschine auf einer ebenen Fläche, aktivieren die Feststellbremse, stellen die Pumpe und den Motor ab und ziehen Sie den Schlüssel ab.
Fahren Sie die äußeren Auslegerabschnitte in die Sprühstellung aus und stützen Sie die Auslegersektionen mit Ständern oder Riemen und einer Hebevorrichtung ab.
Entfernen Sie die Schraube und die Mutter, mit denen der Lagerbolzen befestigt ist, und nehmen Sie den Bolzen ab (Bild 92).

Nehmen Sie den Ausleger und die Schwenkhalterung vom Endkanal des mittleren Rahmens ab, um die Nylonbüchsen zugänglich zu machen.
Nehmen Sie die Nylonbüchsen vorne und hinten an der Schwenkhalterung ab und prüfen Sie sie (Bild 92).
Note: Ersetzen Sie abgenutzte und beschädigte Büchsen.
Tragen Sie etwas Öl auf die Nylonbüchsen auf und setzen Sie diese in die Schwenkhalterung ein (Bild 92).
Fluchten Sie die Löcher in der Schwenkhalterung mit den Löchern im Endkanal aus (Bild 92).
Setzen Sie den Lagerbolzen ein und befestigen Sie diesen mit der in Schritt 3 entfernten Bundbolzen und der Bundmutter.
Wiederholen Sie die Schritte 2 bis 8 am anderen äußeren Auslegerabschnitt.
Mit den folgenden Schritten können Sie die Aktuatoren am mittleren Ausleger einstellen, damit der linke und rechte Ausleger waagerecht bleiben.
Fahren Sie die Ausleger in die Sprühstellung aus.
Nehmen Sie den Splint vom Lagerbolzen ab (Bild 93).

Heben Sie den Ausleger an und nehmen Sie den Stift ab (Bild 93), senken Sie den Ausleger dann langsam auf den Boden ab.
Prüfen Sie den Stift auf Beschädigungen und wechseln Sie ihn ggf. aus.
Arretieren Sie die flachen Seiten der Aktuatorstange mit einem Schraubenschlüssel und lösen Sie dann die Klemmmutter, damit Sie die Ösenstange manipulieren können (Bild 94).

Drehen Sie die Ösenstange in der Aktuatorstange, um den ausgefahrenen Aktuator auf die gewünschte Stellung zu verlängern oder zu verkürzen (Bild 94).
Note: Sie müssen die Ösenstange in halben oder ganzen Umdrehungen drehen, um die Stange am Ausleger zu montieren.
Wenn die gewünschte Stellung erreicht ist, ziehen Sie die Klemmmutter an, um den Aktuator und die Ösenstange zu befestigen.
Heben Sie den Ausleger an, um den Drehzapfen mit der Aktuatorstange auszurichten.
Halten Sie den Ausleger fest und stecken Sie den Stift durch das Auslegerscharnier und die Aktuatorstange (Bild 93).
Wenn der Stift eingesetzt ist, lassen Sie den Ausleger los und befestigen Sie den Stift mit dem vorher abgenommenen Splint.
Wiederholen Sie diese Schritte für jedes Aktuatorstangenlager.
Important: Verwenden Sie zur Reinigung der Maschine kein Brack- oder wiederaufbereitetes Wasser.
| Wartungsintervall | Wartungsmaßnahmen |
|---|---|
| Alle 200 Betriebsstunden |
|
Spülen Sie das ganze Sprühsystem gründlich durch und entleeren es.
Entfernen Sie das Durchflussmessgerät vom Sprühfahrzeug und spülen Sie es mit frischem Wasser.
Entfernen Sie den Haltering an der vorgeschalteten Seite (Bild 95).

Reinigen Sie die Turbine und die Turbinennabe, um Metallfeilstaub und benetzbare Pulver zu entfernen.
Prüfen Sie die Turbinenflügel auf Abnutzung.
Note: Halten Sie die Turbine in der Hand und drehen Sie sie. Sie sollte sich ungehindert mit nur wenig Widerstand drehen. Sollte dies nicht der Fall sein, ersetzen Sie sie.
Montieren Sie das Durchflussmessgerät.
Prüfen Sie mit einem niedrigen Luftdruck (0,34 bar), dass sich die Turbine ungehindert dreht.
Note: Wenn sich die Turbine nicht ungehindert dreht, lösen Sie den Sechskantbolzen unten an der Turbinennabe um eine Sechszehntel-Umdrehung, bis sie sich ungehindert dreht.
Bevor Sie den Fahrerstand verlassen, gehen Sie wie folgt vor:
Stellen Sie die Maschine auf einer ebenen Fläche ab.
Schalten Sie die Sprühpumpe aus.
Aktivieren Sie die Feststellbremse.
Stellen Sie den Motor ab und ziehen Sie den Zündschlüssel ab (sofern vorhanden).
Warten Sie, bis alle beweglichen Teile zum Stillstand gekommen sind.
Lassen das Fahrzeug abkühlen, bevor Sie es einstellen, warten, reinigen, oder einlagern.
Lagern Sie die Maschine oder den Benzinkanister nie an Orten mit offener Flamme, Funken oder Zündflamme, z. B. Warmwasserbereiter, oder anderen Geräten.
Führen Sie die folgenden Schritte durch:
Important: Verwenden Sie zur Reinigung der Maschine kein Brack- oder wiederaufbereitetes Wasser.
Parken Sie die Maschine auf einer ebenen Fläche, aktivieren Sie die Feststellbremse, stellen Sie die Sprühpumpe und den Motor ab, ziehen Sie den Schlüssel ab und warten Sie, bis alle beweglichen Teile zum Stillstand gekommen sind, bevor Sie die Maschine verlassen.
Note: Kuppeln Sie bei Modellen der Serie Workman HD und HDX mit manuellem Getriebe die Zapfwelle aus.
Entfernen Sie Schmutz und Rückstände von der ganzen Maschine, einschließlich von der Außenseite der Zylinderkopfrippen des Motors und des Gebläsegehäuses.
Important: Sie können das Fahrzeug mit einem milden Reinigungsmittel und Wasser waschen. Waschen Sie die Maschine nie mit einem Hochdruckreiniger. Durch hohen Wasserdruck kann die elektrische Anlage beschädigt und das Fett an den Reibungsstellen weggespült werden. Vermeiden Sie überflüssiges Wasser, insbesondere in der Nähe des Bedienfelds, der Lampen, des Motors und der Batterie.
Parken Sie die Maschine auf einer ebenen Fläche, aktivieren Sie die Feststellbremse, schalten Sie die Sprühpumpe ab, stellen Sie den Motor ab, ziehen Sie den Schlüssel ab und warten Sie, bis alle beweglichen Teile zum Stillstand gekommen sind, bevor Sie die Bedienerposition der Maschine verlassen.
Entleeren Sie den Frischwassertank und lassen Sie den Tankstutzen offen.
Entleeren Sie den Sprühsystemtank so gut wie möglich.
Rosthemmende, nicht alkoholische RV-Frostschutzlösung vorbereiten, siehe Vorbereiten des Konditionierers.
Entfernen Sie einen der Druckmessschläuche von der Steckverbindung, wie in Bild 96 dargestellt.

Lassen Sie den Motor an und senken Sie die äußeren Auslegerabschnitte ab.
Lassen Sie die Sprühpumpe einige Minuten laufen, um das Frostschutzmittel im Sprühsystem und dem montieren Sprühzubehör zu verteilen.
Drehen Sie den linken, mittleren und rechten Abschnittschalter in die EIN-Stellung.
Drehen Sie den Hauptabschnittschalter in die EIN-Stellung und achten Sie auf Folgendes:
Stellen Sie sicher, dass der RV-Frostschutz aus dem abgetrennten Ende des Manometerrohres fließt.
Sprühen Sie die Düse aus, bis das RV-Frostschutzmittel sichtbar austritt.
Stellen Sie den Hauptabschnittschalter in die AUS-Stellung.
Stellen Sie den Pumpenhebel in die AUS-Stellung.
Heben Sie die äußeren Sprühabschnitte mit den Hubschaltern für den Auslegerabschnitt an.
Heben Sie die Auslegerabschnitte an, bis sie ganz in der Transportgabel der Ausleger (in der Überkreuzstellung für den Transport) sind, und die Hubzylinder ganz eingefahren sind.
Note: Stellen Sie sicher, dass die Hubzylinder ganz eingefahren sind, um eine Beschädigung der Aktuatorstange zu vermeiden.
Stellen Sie den Motor ab.
Entleeren Sie den Sprühsystemtank so gut wie möglich.
Fetten Sie das Sprühfahrzeug ein, siehe Schmierung.
Prüfen Sie alle Muttern und Schrauben und ziehen diese bei Bedarf an.
Note: Reparieren Sie alle beschädigten und defekten Teile oder wechseln sie aus.
Prüfen Sie den Zustand alle Sprühschläuche.
Note: Wechseln Sie abgenutzte oder beschädigte Schläuche aus.
Ziehen Sie alle Schlauchanschlussstücke fest.
Bessern Sie Lackschäden mit Lack aus, den Sie von Ihrem Toro Vertragshändler beziehen können.
Bereiten Sie das Fahrzeug bei Bedarf für eine langfristige Einlagerung vor; siehe Bedienungsanleitung Ihres Fahrzeugs.
Lagern Sie die Maschine in einer sauberen, trockenen Garage oder an einem anderen geeigneten Ort ein.
Decken Sie die Maschine ab, damit sie geschützt ist und nicht verstaubt.
Führen Sie den Druckmessschlauch in das Schnelltrenn-Anschlussstück ein, bis er vollständig sitzt (Bild 97).

Schließen Sie den Einfüllstutzen des Frischwassertanks.
Geben Sie Kraftstoff in den Kraftstofftank.
Führen Sie die Wartung an Ihrem Fahrzeug aus; siehe Bedienungsanleitung Ihres Fahrzeugs.
Kapazität der Hebevorrichtung: 408 kg
Der Sprühbehälter stellt eine Gefahrenstelle mit gespeicherter Energie dar. Wenn der Behälter bei der Montage oder dem Ausbau nicht richtig festgehalten wird, kann er verrutschen oder herunterfallen und Sie oder Unbeteiligte verletzen.
Stützen Sie den Sprühbehälter beim Einbau, Ausbau oder bei Wartungsarbeiten mit Riemen oder einem Flaschenzug ab, wenn die Befestigungen abgenommen sind.
Klemmen Sie die Batteriekabel von der Batterie ab, siehe Trennen der Batterie.
Trennen Sie den Sicherungskasten des Sprühfahrzeugs vom Sicherungskasten der Maschine ab und trennen die Kabel zwischen den zwei Sicherungsblöcken ab, siehe Einbauen des Sicherungskastens des Sprühfahrzeugs.
Nehmen Sie den Kabelbaum von den Hakenclips ab, siehe Verlegen des hinteren elektrischen Kabelbaums für das Sprühfahrzeug zur Steuerkonsole.
Lösen Sie das Handrad, das sich unter der Konsole befindet, und entfernen Sie den Splint, siehe Befestigen der Steuerkonsole an der Maschine.
Trennen Sie die Anschlussklemmen der Kabel ab, mit denen der Sicherungskasten des Sprühfahrzeugs mit dem Sicherungskasten der Maschine verbunden ist, siehe Einbauen des Sicherungskastens des Sprühfahrzeugs.
Trennen Sie den Sicherungskasten des Sprühfahrzeugs vom Sicherungskasten der Maschine ab, siehe Einbauen des Sicherungskastens des Sprühfahrzeugs.
Entfernen Sie die Konsole von den Befestigungshalterung der Konsole und fluchten Sie den Lagerbolzen an der Steuerkonsole mit der Lagerhalterung am vorderen Behälterriemen (Bild 98)aus, siehe Befestigen der Steuerkonsole an der Maschine.

Befestigen Sie die Konsole an der Halterung und befestigen den Lagerbolzen mit dem Lastösenbolzen an der Halterung (Bild 98).
Kapazität der Hebevorrichtung: 408 kg
Fluchten Sie den vorderen Stützbock mit der Stützbockaufnahme vorne am Behälter aus (Bild 99).

Setzen Sie den Stützbock in die Aufnahme, bis das mittlere Loch im horizontalen Stützbockrohr mit dem Loch oben an der Aufnahme ausgefluchtet ist (Bild 99).
Stecken Sie den Lastösenbolzen (½" x 3") in die Löcher im Stützbock und die Aufnahme und befestigen Sie den Lastösenbolzen mit einem Sicherungsstift (5/32" x 2⅝").
Schrauben Sie ein Sperrhandrad in die Aufnahme und ziehen Sie es handfest an (Bild 99).
Richten Sie den hinteren Stützbock an der hinteren Stützbockaufnahme aus (Bild 100).

Fluchten Sie das Loch oben am Stützbock mit dem Loch im Rahmen des Behältergestells aus (Bild 100)
Befestigen Sie den Stützbock mit zwei Lastösenbolzen (½" x 4½") und zwei Sicherungsstiften (5/32" x 2⅝") an der Aufnahme und dem Rahmen, wie in Bild 100 dargestellt.
Wiederholen Sie die Schritte 1 bis 7 für den vorderen und hinteren Stützbock an der anderen Seite des Behältergestells.
Verwenden Sie den Stützfuß und die vordere Verlängerung der Stützböcke, um die Stützböcke auszufahren.

Senken Sie die Ausleger auf ca. 45° ab und schwenken Sie sie nach vorne (Bild 102).

Entfernen Sie die 2 Schrauben (½" x 1½") und 2 Sicherungsmuttern (½") mit denen die Befestigungshalterung des Behältergestells an der Ladepritschenhalterung am Rahmen auf beiden Seiten der Maschine befestigt ist; siehe Absenken des Behältergestells.
Heben Sie das Behältergestell mit den Hubzylindern an, setzen die Zylindersperre ein und führen die folgenden Schritte aus:
Note: Siehe Anheben des Behälters.
Schließen Sie bei Modellen der Serie Workman HD und HDX mit manuellem Getriebe die Zapfwelle von der Getriebezapfwelle ab, siehe Installationsanleitungen für das Finishingkit für das Sprühfahrzeug Multi Pro WM, Workman-Nutzfahrzeug mit manuellem Getriebe.
Schließen Sie das Geschwindigkeitssensorkabel ab, siehe Anschließen des Kabelbaums für den Geschwindigkeitssensors (Modelle der Serie HD mit manuellem Getriebe).
Entfernen Sie das Zylinderschloss und senken Sie das Behältergestell mit den Hubzylindern ab, siehe Absenken des Behälters.
Befestigen Sie die Hebevorrichtung an den horizontalen Rohren der vorderen Stützböcke und der vertikalen Strebe der hinteren Stützböcke (Bild 102).
Heben Sie den Behälter 7,5 bis 10 cm an und entfernen Sie die Klappstecker und die Lastösenbolzen, mit denen die Hubzylinder am Behälter befestigt sind.
Heben Sie das Behältergestell so weit an, dass das Gestell nicht die Maschine berührt (Bild 102).
Bewegen Sie das Fahrzeug langsam vorwärts und vom Behältergestell weg.
Senken Sie das Behältergestell langsam auf den Boden ab.
| Problem | Possible Cause | Corrective Action |
|---|---|---|
| Ein Abschnitt sprüht nicht. |
|
|
| Ein Abschnitt kann nicht abgestellt werden. |
|
|
| Ein Abschnittventil ist undicht. |
|
|
| Die Sprühdüsen tropfen, wenn die Abschnittsschalter abgestellt sind |
|
|
| Der Druck fällt beim Einschalten eines Auslegers ab. |
|
|
