Onderhoud
Note: Om een elektrisch of hydraulisch schema van uw machine te verkrijgen, kunt u terecht op www.Toro.com.
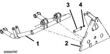
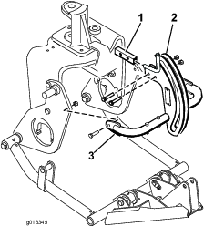
Het frame van de lift smeren
Het frontliftframe is voorzien van 5 smeerpunten (Figuur 28) die regelmatig moeten worden gesmeerd met Nr. 2 smeervet op lithiumbasis. Als de machine in normale omstandigheden wordt gebruikt, moet u alle lagers en lagerbussen om de 100 bedrijfsuren smeren. Wij adviseren de lagers en lagerbussen onmiddellijk na elke wasbeurt smeren, ongeacht het voorgeschreven interval.


























