| Maintenance Service Interval | Maintenance Procedure |
|---|---|
| Before each use or daily |
|
This rotary-blade, walk-behind lawn mower is intended to be used by residential homeowners. It is designed primarily for cutting grass on well-maintained lawns on residential properties. Using this product for purposes other than its intended use could prove dangerous to you and bystanders.
Read this information carefully to learn how to operate and maintain your product properly and to avoid injury and product damage. You are responsible for operating the product properly and safely.
Visit www.Toro.com for more information, including safety tips, training materials, accessory information, help finding a dealer, or to register your product.
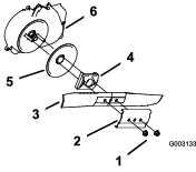
Whenever you need service, genuine Toro parts, or additional information, contact an Authorized Service Dealer or Toro Customer Service and have the model and serial numbers of your product ready. Figure 1 identifies the location of the model and serial numbers on the product. Write the numbers in the space provided.
Important: With your mobile device, you can scan the QR code on the serial number decal (if equipped) to access warranty, parts, and other product information

This manual identifies potential hazards and has safety messages identified by the safety-alert symbol (Figure 2), which signals a hazard that may cause serious injury or death if you do not follow the recommended precautions.

This manual uses 2 words to highlight information. Important calls attention to special mechanical information and Note emphasizes general information worthy of special attention.
Be sure to register your machine at www.Toro.com/register. Registration ensures that you are notified should there be a product recall. Your registration information is never sold or shared with third party companies. To avoid waste and help the environment, a discharge chute does not come with your purchase (most customers prefer to recycle or bag their grass clippings). You can request a discharge chute when you register your product at www.Toro.com/register. Simply check the box in the online registration form and Toro will send you a discharge chute at no additional charge. Please allow 1 to 2 weeks for delivery.
This product complies with all relevant European directives; for details, please see the separate product specific Declaration of Conformity (DOC) sheet.
Gross or Net Torque: The gross or net torque of this engine was laboratory rated by the engine manufacturer in accordance with the Society of Automotive Engineers (SAE) J1940 or J2723. As configured to meet safety, emission, and operating requirements, the actual engine torque on this class of mower will be significantly lower. Please refer to the engine manufacturer’s information included with the machine.
Do not tamper with or disable safety devices on the machine, and check their proper operation regularly. Do not attempt to adjust or tamper with the engine speed control; doing so may create an unsafe operating condition, resulting in personal injury.
This product is capable of amputating hands and feet and of throwing objects. Always follow all safety instructions to avoid serious personal injury or death.
Read, understand, and follow the instructions and warnings in this Operator’s Manual and on the machine and attachments before starting the engine.
Do not put your hands or feet near moving parts or under the machine. Keep clear of any discharge opening.
Do not operate the machine without all guards and other safety protective devices in place and functioning properly on the machine.
Keep bystanders and children out of the operating area. Do not allow children to operate the machine. Allow only people who are responsible, trained, familiar with the instructions, and physically capable to operate the machine.
Stop the machine, shut off the engine, and wait for all moving parts to stop before servicing, fueling, or unclogging the machine.
Improperly using or maintaining this machine can result in injury.
To reduce the potential for injury, comply with these safety instructions
and always pay attention to the safety-alert symbol
, which means Caution, Warning,
or Danger—personal safety instruction. Failure to comply with
these instructions may result in personal injury or death.
![]() |
Safety decals and instructions are easily visible to the operator and are located near any area of potential danger. Replace any decal that is damaged or missing. |





Important: Remove and discard the protective plastic sheet that covers the engine and any other plastic or wrapping on the machine.

Important: To start the engine safely and easily whenever you use the machine, install the recoil-starter rope in the rope guide.

Important: If the oil level in the engine is too low or too high and you run the engine, you may damage the engine.



| Model | Weight | Length | Width | Height |
|---|---|---|---|---|
| 21772 | 37 kg | 151 cm | 59 cm | 109 cm |
| (81.5 lb) | (59 inches) | (23 inches) | (43 inches) |
A selection of Toro approved attachments and accessories is available for use with the machine to enhance and expand its capabilities. Contact your Authorized Service Dealer or authorized Toro distributor or go to www.Toro.com for a list of all approved attachments and accessories.
To ensure optimum performance and continued safety certification of the machine, use only genuine Toro replacement parts and accessories. Replacement parts and accessories made by other manufacturers could be dangerous, and such use could void the product warranty.
Note: Determine the left and right sides of the machine from the normal operating position.
Always shut off the machine, wait for all moving parts to stop, and allow the machine to cool before adjusting, servicing, cleaning, or storing it.
Become familiar with the safe operation of the equipment, operator controls, and safety signs.
Check that all guards and safety devices, such as deflectors and/or grass catcher, are in place and functioning properly.
Always inspect the machine to ensure that the blades and blade bolts are not worn or damaged.
Inspect the area where you will use the machine, and remove all objects that could interfere with the operation of the machine or that the machine could throw.
Contact with the moving blade will cause serious injury. Do not put your fingers under the housing.
Fuel is extremely flammable and highly explosive. A fire or explosion from fuel can burn you and others and can damage property.
To prevent a static charge from igniting the fuel, place the container and/or machine directly on the ground before filling, not in a vehicle or on an object.
Fill the fuel tank outdoors, in an open area, when the engine is cold. Wipe up any fuel that spills.
Do not handle fuel when smoking or around an open flame or sparks.
Do not remove the fuel cap or add fuel to the tank while the engine is running or hot.
If you spill fuel, do not attempt to start the engine. Avoid creating a source of ignition until the fuel vapors have dissipated.
Store fuel in an approved container and keep it out of the reach of children.
Fuel is harmful or fatal if swallowed. Long-term exposure to vapors can cause serious injury and illness.
Avoid prolonged breathing of vapors.
Keep your hands and face away from the nozzle and the fuel-tank opening.
Keep fuel away from your eyes and skin.
| Type | Unleaded gasoline |
| Minimum octane rating | 87 (US) or 91 (research octane; outside the US) |
| Ethanol | No more than 10% by volume |
| Methanol | None |
| MTBE (methyl tertiary butyl ether) | Less than 15% by volume |
| Oil | Do not add to the fuel |
Use only clean, fresh (no more than 30 days old), fuel from a reputable source.
Important: To reduce starting problems, add fuel stabilizer/conditioner to fresh fuel as directed by the fuel-stabilizer/conditioner manufacturer.
Refer to your engine owner’s manual for additional information.
Fill the fuel tank as shown in Figure 9.

| Maintenance Service Interval | Maintenance Procedure |
|---|---|
| Before each use or daily |
|
Important: If the oil level in the crankcase is too low or too high and you run the engine, you may damage the engine.

You can raise or lower the handle in 1 of 2 positions that is more comfortable for you (Figure 11).

Remove both handle knobs.
Move the handle to the desired height position.
Secure the handle with the previously removed handle knobs.
Adjusting the cutting-height levers could bring your hands into contact with a moving blade and result in serious injury.
Shut off the engine and wait for all moving parts to stop before adjusting the cutting height.
Do not put your fingers under the housing when adjusting the cutting height.
If the engine has been running, the muffler will be hot and can burn you.
Keep away from the hot muffler.
Adjust the cutting height as desired. Set all wheels to the same cutting height (Figure 12).

Wear appropriate clothing, including eye protection; long pants; substantial, slip-resistant footwear; and hearing protection. Tie back long hair and do not wear loose clothing or loose jewelry.
Use your full attention while operating the machine. Do not engage in any activity that causes distractions; otherwise, injury or property damage may occur.
Do not operate the machine while ill, tired, or under the influence of alcohol or drugs.
The blade is sharp; contacting the blade can result in serious personal injury. Shut off the engine, remove the ignition key (if equipped), and wait for all moving parts to stop before leaving the operating position.
Keep bystanders out of the operating area. Keep small children out of the operating area and under the watchful care of a responsible adult who is not operating the machine. Stop the machine if anyone enters the area.
Always look down and behind you before moving the machine in reverse.
Operate the machine only in good visibility and appropriate weather conditions. Do not operate the machine when there is the risk of lightning.
Wet grass or leaves can cause serious injury if you slip and contact the blade. Avoid mowing in wet conditions.
Use extreme care when approaching blind corners, shrubs, trees, or other objects that may block your view.
Do not direct the discharge material toward anyone. Avoid discharging material against a wall or obstruction; material may ricochet toward you. Stop the blade(s) when crossing gravel surfaces.
Watch for holes, ruts, bumps, rocks, or other hidden objects. Uneven terrain could cause you to lose your balance or footing.
If the machine strikes an object or starts to vibrate, immediately shut off the engine, remove the ignition key (if equipped), wait for all moving parts to stop, and disconnect the wire from the spark plug before examining the machine for damage. Make all necessary repairs before resuming operation.
Before leaving the operating position, shut off the engine, remove the ignition key (if equipped), and wait for all moving parts to stop.
If the engine has been running, it will be hot and can severely burn you. Keep away from the hot engine.
Operate the engine only in well-ventilated areas. Exhaust gases contain carbon monoxide, which is an odorless, deadly poison.
Check the grass catcher components and the discharge chute frequently for any wear or deterioration and replace them with genuine Toro parts when necessary.
Mow across the face of slopes; never up and down. Use extreme caution when changing direction on slopes.
Do not mow on excessively steep slopes. Poor footing could cause a slip-and-fall accident.
Mow with caution near drop-offs, ditches, or embankments.

Note: If the machine does not start after several attempts, contact an Authorized Service Dealer.
To operate the self-propel drive, simply walk with your hands on the upper handle and your elbows at your sides, and the machine will automatically keep pace with you (Figure 14).

Note: If the machine does not freely roll backward after self-propelling, stop walking, hold your hands in place, and allow the machine to roll a couple of centimeters (inches) forward to disengage the wheel drive. You can also try reaching just under the upper handle to the metal handle and pushing the machine forward a couple of centimeters (inches). If the machine still does not roll backward easily, contact an Authorized Service Dealer.
| Maintenance Service Interval | Maintenance Procedure |
|---|---|
| Before each use or daily |
|
To shut off the engine, press and hold the engine-shutoff button (Figure 16) until the engine shuts off.

Release the blade-control bar (Figure 19).

Important: When you release the blade-control bar, the blade should stop within 3 seconds. If it does not stop properly, stop using your machine immediately and contact an Authorized Service Dealer.
Check the control bar before each use to ensure that the blade-brake-clutch system is operating properly.
| Maintenance Service Interval | Maintenance Procedure |
|---|---|
| Before each use or daily |
|
You can use the grass bag to perform an additional test to check the blade-brake clutch.
Install the empty grass bag on the machine.
Start the engine.
Engage the blade.
Note: The bag should begin to inflate, indicating that the blade is engaged and rotating.
Release the blade-control bar.
Note: If the bag does not immediately deflate, the blade is still rotating. The blade-brake clutch may be deteriorating and, if ignored, could result in an unsafe operating condition. Have the machine inspected and serviced by an Authorized Service Dealer.
Shut off the engine and wait for all moving parts to stop.
Move the machine onto a paved surface in a non-windy area.
Set all 4 wheels to the 83 mm (3-1/4 inch) cutting-height setting.
Take a half sheet of newspaper and crumple it into a ball small enough to go under the machine housing (about 76 mm or 3 inches in diameter).
Place the newspaper ball about 13 cm (5 inches) in front of the machine.
Start the engine.
Engage the blade.
Release the blade-control bar.
Immediately push the machine over the newspaper ball.
Shut off the engine and wait for all moving parts to stop.
Go to the front of the machine and check the newspaper ball.
Note: If the newspaper ball did not go under the machine, repeat steps 4 through 10.
If the newspaper is unravelled or shredded, the blade did not stop properly, which could result in an unsafe operating condition. Contact an Authorized Service Dealer.
Your machine comes from the factory ready to recycle the grass and leaf clippings back into the lawn.
If the grass bag is on the machine and the bag-on-demand lever is in the bagging position, move the lever to the recycling position; refer to Installing the Grass Bag.
Use the grass bag when you want to collect grass and leaf clippings from the lawn.
If the bag-on-demand lever is in the recycling position, move it to the bagging position; refer to Operating the Bag-on-Demand Lever.
To remove the bag, reverse the steps in Installing the Grass Bag.
The bag-on-demand feature allows you to either collect or recycle grass and leaf clippings while the grass bag is attached to the machine.
To bag the grass and leaf clippings, press the button on the bag-on-demand lever and move the lever forward until the button on the lever pops up (Figure 21).

To recycle the grass and leaf clippings, press the button on the lever and move the lever rearward until the button on the lever pops up.
Important: For proper operation, shut off the engine, wait for all moving parts to stop, and then remove any grass clippings and debris from the bag-on-demand door and the surrounding opening (Figure 22) before you move the bag-on-demand lever from 1 position to another.

Inspect the area where you will use the machine and remove all objects that the machine could throw.
Avoid striking solid objects with the blade. Never deliberately mow over any object.
If the machine strikes an object or starts to vibrate, immediately shut off the engine, wait for all moving parts to stop, disconnect the wire from the spark plug, and examine the machine for damage.
For best performance, install a new Toro blade before the cutting season begins or when necessary.
Cut only about a third of the grass blade at a time. Do not cut below 51 mm (2 inches) unless the grass is sparse or it is late fall when grass growth begins to slow down.
When cutting grass over 15 cm (6 inches) tall, mow at the highest cutting height setting and walk slower; then mow again at a lower setting for the best lawn appearance. If the grass is too long, the machine may plug and cause the engine to stall.
Wet grass and leaves tend to clump on the yard and can cause the machine to plug or the engine to stall. Avoid mowing in wet conditions.
Be aware of a potential fire hazard in very dry conditions, follow all local fire warnings, and keep the machine free of dry grass and leaf debris.
Alternate the mowing direction. This helps disperse the clippings over the lawn for even fertilization.
If the finished lawn appearance is unsatisfactory, try 1 or more of the following:
Replace the blade or have it sharpened.
Walk at a slower pace while mowing.
Raise the cutting height on your machine.
Cut the grass more frequently.
Overlap cutting swaths instead of cutting a full swath with each pass.
After cutting the lawn, ensure that half of the lawn shows through the cut leaf cover. You may need to make more than a single pass over the leaves.
If there are more than 13 cm (5 inches) of leaves on the lawn, mow at a higher cutting height and then again at the desired cutting height.
Slow down your mowing speed if the machine does not cut the leaves finely enough.
Always shut off the machine, wait for all moving parts to stop, and allow the machine to cool before adjusting, servicing, cleaning, or storing it.
Clean grass and debris from the machine to help prevent fires. Clean up oil or fuel spills.
Never store the machine or fuel container where there is an open flame, spark, or pilot light, such as on a water heater or on other appliances.
Use care when loading or unloading the machine.
Secure the machine from rolling.
| Maintenance Service Interval | Maintenance Procedure |
|---|---|
| After each use |
|
For best results, clean under the machine shortly after you have completed mowing.
Lower the machine to its lowest cutting-height setting.
Move the machine onto a paved level surface.
With the engine running and the blade engaged, spray a stream of water in front of the right, rear wheel (Figure 23).
Note: The water will splash into the path of the blade, cleaning out the clippings.

When no more clippings come out, stop the water and move the machine to a dry area.
Start the engine and run it for a few minutes to dry the underside of the machine to prevent it from rusting.
Shut off the engine, remove the electric-start button (if equipped), and allow the machine to cool before storing it in an enclosed area.
Folding or unfolding the handle improperly can damage the cables, causing an unsafe operating condition.
Do not damage the cables when folding or unfolding the handle.
If a cable is damaged, contact an Authorized Service Dealer.
Remove and save the 2 handle knobs and 2 carriage bolts from the handle brackets (A of Figure 24).
Important: Route the cables to the outside of the handle knobs as you fold the handle.
Fold the handle by rotating it forward (B of Figure 24).
Loosely install the handle knobs and carriage bolts on the handle brackets (C of Figure 24).
To unfold the handle, refer to Assembling and Unfolding the Handle.

| Maintenance Service Interval | Maintenance Procedure |
|---|---|
| Before each use or daily |
|
| After each use |
|
| Every 25 hours |
|
| Yearly |
|
| Yearly or before storage |
|
Important: Refer to your engine owner’s manual for additional maintenance procedures.
Always shut off the machine, wait for all moving parts to stop, and allow the machine to cool before adjusting, servicing, cleaning, or storing it.
Disconnect the spark-plug wire from the spark plug before performing any maintenance procedure.
Wear gloves and eye protection when servicing the machine.
The blade is sharp; contacting the blade can result in serious personal injury. Wear gloves when servicing the blade. Do not repair or alter the blade(s).
Never tamper with safety devices. Check their proper operation regularly.
Tipping the machine may cause the fuel to leak. Fuel is flammable and explosive, and can cause personal injury. Run the engine dry or remove the fuel with a hand pump; never siphon the fuel.
To ensure optimum performance of the machine, use only genuine Toro replacement parts and accessories. Replacement parts and accessories made by other manufacturers could be dangerous, and such use could void the product warranty.
Shut off the engine and wait for all moving parts to stop.
Disconnect the spark-plug wire from the spark plug (Figure 25).

After performing the maintenance procedure(s), connect the spark-plug wire to the spark plug.
Important: Before tipping the machine to change the oil or replace the blade, allow the fuel tank to run dry through normal usage. If you must tip the machine prior to running out of fuel, use a hand fuel pump to remove the fuel. Always tip the machine onto its side, with the dipstick down.
| Maintenance Service Interval | Maintenance Procedure |
|---|---|
| Every 25 hours |
|
| Yearly |
|
Unclip the top of the air-filter cover (Figure 26).

Remove the air filter (Figure 26).
Inspect the air filter.
Note: If the air filter is excessively dirty, replace it with a new filter. Otherwise, gently tap the air filter on a hard surface to loosen debris.
Install the air filter.
Use the clip to install the air-filter cover.
| Maintenance Service Interval | Maintenance Procedure |
|---|---|
| Yearly |
|
Changing the engine oil is not required, but if you want to change the oil, use the following procedure.
Note: Run the engine a few minutes before changing the oil to warm it. Warm oil flows better and carries more contaminants.
| Engine oil capacity | 0.44 L (15 fl oz)* |
| Oil viscosity | SAE 30 or SAE 10W-30 detergent oil |
| API service classification | SJ or higher |
*There is residual oil in the crankcase after you drain the oil. Do not pour the entire capacity of oil into the crankcase. Fill the crankcase with oil as directed in the following steps.
Move the machine to a level surface.
Refer to Preparing for Maintenance.
Remove the dipstick by rotating the cap counterclockwise and pulling it out (Figure 27).

Tip the machine onto its side (so that the air filter is up) to drain the used oil from the oil-fill tube (Figure 28).

After draining the used oil, return the machine to the operating position.
Carefully pour about 3/4 of the engine capacity of oil into the oil-fill tube.
Wait 3 minutes for the oil to settle in the engine.
Wipe the dipstick clean with a clean cloth.
Insert the dipstick into the oil-fill tube, screw it in, then remove the dipstick.
Read the oil level on the dipstick (Figure 27).
If the oil level on the dipstick is too low, carefully pour a small amount of oil into the oil-fill tube, wait 3 minutes, and repeat steps 8 through 10 until the oil level on the dipstick is correct.
If the oil level on the dipstick is too high, drain the excess oil until the oil level on the dipstick is correct.
Important: If the oil level in the engine is too low or too high and you run the engine, you may damage the engine.
Install the dipstick into the oil-fill tube securely.
Recycle the used oil properly.
| Maintenance Service Interval | Maintenance Procedure |
|---|---|
| Yearly |
|
Important: You will need a torque wrench to install the blade properly. If you do not have a torque wrench or are uncomfortable performing this procedure, contact an Authorized Service Dealer.
Examine the blade whenever you run out of fuel. If the blade is damaged or cracked, replace it immediately. If the blade edge is dull or nicked, have it sharpened and balanced, or replace it.
The blade is sharp; contacting the blade can result in serious personal injury.
Wear gloves when servicing the blade.
Disconnect the spark-plug wire from the spark plug; refer to Preparing for Maintenance.
Tip the machine onto its side with the air filter up.
Remove the 2 blade nuts and the stiffener (Figure 29).

Remove the blade (Figure 29).
Install the new blade (Figure 29).
Install the stiffener you previously removed.
Install the blade nuts and torque them to 20 to 37 N∙m (15 to 27 ft-lb).
| Maintenance Service Interval | Maintenance Procedure |
|---|---|
| Every 25 hours |
|
Clean the blade-brake-clutch shield yearly to prevent the blade from stalling while you mow.
Disconnect the spark-plug wire from the spark plug; refer to Preparing for Maintenance.
Tip the machine onto its side with the dipstick down.
Remove the 2 blade nuts and the stiffener (Figure 30).

Remove the blade (Figure 30).
Remove the blade driver and disk (Figure 30).
Remove the blade-brake-clutch shield (Figure 30).
Brush or blow out debris from the inside of the shield and around all the parts.
Install the blade-brake-clutch shield that you previously removed.
Install the blade driver and disk that you previously removed.
Install the blade and the stiffener that you previously removed (Figure 30).
Install the blade nuts and torque them to 20 to 37 N∙m (15 to 27 ft-lb).
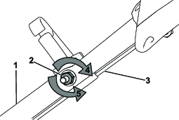
Whenever you install a new self-propel cable or if the self-propel drive is out of adjustment, adjust the self-propel drive.
Turn the adjustment nut counterclockwise to loosen the cable adjustment (Figure 31).

Adjust the tension on the cable (Figure 31) by pulling it back or pushing it forward and holding that position.
Note: Push the cable toward the engine to increase the traction; pull the cable away from the engine to decrease the traction.
Turn the adjustment nut clockwise to tighten the cable adjustment.
Note: Tighten the nut firmly with a socket or wrench.
Store the machine in a cool, clean, dry place.
Always shut off the machine, wait for all moving parts to stop, and allow the machine to cool before adjusting, servicing, cleaning, or storing it.
On the last refueling of the year, add fuel stabilizer (such as Toro Premium Fuel Treatment) to the fuel as directed on the label.
Dispose of any unused fuel properly. Recycle it according to local codes or use it in your automobile.
Important: Old fuel in the fuel tank is the leading cause of hard starting. Do not store the fuel without fuel stabilizer more than 30 days, and do not store stabilized fuel beyond the duration recommended by the fuel-stabilizer manufacturer.
Run the machine until the engine shuts off from running out of fuel.
Start the engine again and allow it to run until it shuts off. When you can no longer start the engine, it is sufficiently dry.
Disconnect the wire from the spark plug and connect the wire to the retaining post (if equipped) and remove the electric-start button (if equipped).
Remove the spark plug, add 30 ml (1 fl oz) of engine oil through the spark-plug hole, and pull the recoil-starter rope slowly several times to distribute oil throughout the cylinder to prevent cylinder corrosion during the off-season.
Loosely install the spark plug.
Tighten all nuts, bolts, and screws.
Check and tighten all fasteners.
Remove the spark plug and spin the engine rapidly by pulling the recoil-start handle to blow the excess oil from the cylinder.
Install the spark plug and tighten it with a torque wrench to 20 N∙m (15 ft-lb).
Perform any maintenance procedures; refer to .
Check the engine-oil level; refer to Checking the Engine-Oil Level.
Fill the fuel tank with fresh fuel; refer to Filling the Fuel Tank.
Connect the wire to the spark plug.