| Maintenance Service Interval | Maintenance Procedure |
|---|---|
| Before each use or daily |
|
This utility vehicle is intended to be primarily used off-highway to transport people and material loads. Using this product for purposes other than its intended use could prove dangerous to you and bystanders.
Read this information carefully to learn how to operate and maintain your product properly and to avoid injury and product damage. You are responsible for operating the product properly and safely.
Visit www.Toro.com for product safety and operation training materials, accessory information, help finding a dealer, or to register your product.
Whenever you need service, genuine Toro parts, or additional information, contact an Authorized Service Distributor or Toro Customer Service and have the model and serial numbers of your product ready. Figure 1 identifies the location of the model and serial numbers on the product. Write the numbers in the space provided.
Important: With your mobile device, you can scan the QR code on the serial number decal (if equipped) to access warranty, parts, and other product information.

This product complies with all relevant European directives; for details, please see the separate product specific Declaration of Conformity (DOC) sheet.
If this machine is equipped with a telematics device, refer to your authorized Toro distributor for instructions to activate the device.
CALIFORNIA
Proposition 65 Warning
The power cord on this product contains lead, a chemical known to the State of California to cause birth defects or other reproductive harm. Wash hands after handling.
Battery posts, terminals, and related accessories contain lead and lead compounds, chemicals known to the State of California to cause cancer and reproductive harm. Wash hands after handling.
The safety-alert symbol (Figure 2) shown in this manual and on the machine identifies important safety messages that you must follow to prevent accidents.

The safety-alert symbol appears above information that alerts you to unsafe actions or situations and is followed by the word DANGER, WARNING, or CAUTION.
DANGER indicates an imminently hazardous situation which, if not avoided, will result in death or serious injury.
WARNING indicates a potentially hazardous situation which, if not avoided, could result in death or serious injury.
CAUTION indicates a potentially hazardous situation which, if not avoided, may result in minor or moderate injury.
This manual uses two other words to highlight information. Important calls attention to special mechanical information and Note emphasizes general information worthy of special attention.
This product is capable of causing personal injury. Always follow all safety instructions to avoid serious personal injury.
Read and understand the contents of this Operator’s Manual before you start the machine. Ensure that everyone using this product knows how to use it and understands the warnings.
Use your full attention while operating the machine. Do not engage in any activity that causes distractions; otherwise, injury or property damage may occur.
Do not put your hands or feet near moving components of the machine.
Do not operate the machine without all guards and other safety protective devices in place and working on the machine.
Keep bystanders and children out of the operating area. Never allow children to operate the machine.
Stop and shut off the machine and remove the key before servicing.
Improperly using or maintaining this machine can result in injury.
To reduce the potential for injury, comply with these safety instructions
and always pay attention to the safety-alert symbol
, which means Caution, Warning,
or Danger—personal safety instruction. Failure to comply with
these instructions may result in personal injury or death.
![]() |
Safety decals and instructions are easily visible to the operator and are located near any area of potential danger. Replace any decal that is damaged or missing. |

















Parts needed for this procedure:
| Steering wheel | 1 |
| Screw | 5 |
| Spring | 2 |
| Wheel cover | 1 |
| Wheel clip | 1 |
Refer to Figure 3 for this procedure.
Place the steering wheel on the steering shaft.
Ensure that the steering wheel is centered (i.e., the flat bottom should be parallel with the ground).
Use the locknut to secure the steering wheel to the steering shaft.
Torque the locknut to 27 N∙m (20 ft-lb).
Use 2 screws and 2 springs to secure the wheel clip to the wheel cover.
Use 3 screws to secure the wheel cover to the steering wheel.
Torque the 5 screws to 0.6 N∙m (5 in-lb).

Charge the machine; refer to Understanding the Lithium-Ion Battery Charger.
Check the brake-fluid level before you first start the machine; refer to Checking the Brake-Fluid Level.
Check the transaxle-fluid level before you first start the machine; refer to Checking the Transaxle-Fluid Level.
Check the air pressure in the tires; refer to Checking the Tire Pressure.
To ensure optimum performance of the brake system, burnish (break-in) the brakes before use.
Bring the machine up to full speed, apply the brakes to rapidly stop the machine without locking up the tires.
Repeat this procedure 10 times, waiting 1 minute between stops, to avoid overheating the brakes.

Note: The steering wheel is removed from Figure 5 for clarity.

Use the accelerator pedal to vary ground speed of the machine. Pressing down the accelerator pedal starts the machine. Pressing the pedal farther increases ground speed. Releasing the pedal slows the machine, and the machine shuts off.
The forward speed in performance mode is 26 km/h (16 mph).
The forward speed in economy mode is 18 km/h (11 mph).
Use the brake pedal to stop or slow the machine.
Operating a machine with worn or incorrectly adjusted brakes can result in personal injury.
If the brake pedal travels within 25 mm (1 inch) of the machine floor board, adjust or repair the brakes.
The direction selector (Figure 5) has 2 positions: FORWARD and REVERSE.
Note: The machine can be on in any of the 2 positions, but only moves in the FORWARD and REVERSE positions.
Press the horn switch (Figure 5) to sound the horn.
Use the light switch (Figure 5) to illuminate the headlights. Push the light switch up to turn on the headlights. Push the light switch down to turn off the lights.
Use the USB port (Figure 5) to power mobile devices.
Important: When you are not using the USB port, insert the rubber plug to prevent damage to the port.
Use the key switch (Figure 5) to run and shut off the machine or put the machine into TRANSPORT mode.
The key switch has 3 positions: ON, OFF, and TRANSPORT.
Rotate the key clockwise to the ON position to operate the machine.
When you stop the machine, rotate the key counterclockwise to the OFF position to shut off the machine. Remove the key whenever you leave the machine.
To disengage the parking brake, rotate and hold the key switch in place for 5 seconds to enter the TRANSPORT position.
The display shows information about your machine, such as the operating status, various diagnostics, and other information about the machine (Figure 6).

There is a startup screen, run screen, and charging screen on the display (Figure 7, Figure 8, and Figure 9).
Figure 8 shows what you may see on the display when you run the machine. The startup screen displays for a few seconds after you turn the key to the ON position, then the run screen displays.



The run screen with the direction position (Figure 10) appears when you change directions.

The run screen with the current machine speed (Figure 11) appears when you are driving the machine.

An active fault code (Figure 12) appears on the display if there is an issue with the machine.

When the cold battery indicator (Figure 13) flashes on the run screen during operation, the machine performance changes until the battery temperature is above 0°C (32°F).

The cold battery indicator also appears in the charging screen (Figure 14) when the batteries are too cold to be charged.

![]() | Direction—FORWARD position |
![]() | Transport—NEUTRAL position |
![]() | Direction—REVERSE position |
![]() | Parking brake is engaged. |
![]() | Hour meter |
![]() | Battery voltage |
![]() | Battery charge level |
![]() |
Battery currently charging |
![]() |
Low-battery advisory |
![]() | Eco Mode is on. |
![]() | Active fault |
![]() | Hot battery indicator—battery temperature is greater than 67°C (152°F) |
![]() | Cold battery indicator—battery temperature is less than 0°C (32°F) |
![]() | Batteries are too cold to be charged. |
The supervisor speed-limit switch (Figure 15), located under the hood, has 2 positions: PERFORMANCE and ECONOMY. Rotate the switch clockwise to the ECONOMY position to limit the maximum machine speed to 18 km/h (11 mph). Rotate the switch counterclockwise to the PERFORMANCE position to restore the maximum speed of the machine to 26 km/h (16 mph).

The passenger handholds are located on the right side of the dash panel and at the outside of each seat (Figure 16).

Note: Specifications and design are subject to change without notice.
| Base weight | Dry 571 kg (1,260 lb) |
| Rated capacity (on level ground) | 767 kg (1,690 lb) total, including 90.7 kg (200 lb) operator and 90.7 kg (200 lb) passenger, load, trailer tongue weight, gross trailer weight, accessories, and attachments |
| Gross vehicle weight (GVW)—on level ground | 1,338 kg (2,950 lb) total, including all of the weights listed above |
| Maximum cargo capacity (on level ground) | 567 kg (1,250 lb) total, including trailer tongue weight and gross trailer weight |
| Towing capacity: | |
| Standard hitch | Tongue weight: 45 kg (100 lb) |
| Gross trailer weight (GTW): 363 kg (800 lb) | |
| Heavy-duty hitch | Tongue weight: 45 kg (100 lb) |
| Gross trailer weight (GTW): 544 kg (1,200 lb) | |
| Overall width | 155 cm (61 inches) |
| Overall length | 307 cm (121 inches) |
| Ground clearance | 28 cm (11 inches) at the front with no load or operator, 17 cm (6.5 inches) at the rear with no load or operator |
| Wheel base | 206 cm (81 inches) |
| Wheel tread (center line to center line) | 125 cm (49 inches) in the front, 120 cm (47-1/4 inches) in the rear |
| Cargo bed length | 113 cm (44.5 inches), 137 cm (54 inches) outside |
| Cargo bed width | 125 cm (49 inches) inside, 155 cm (61 inches) at outside of the molded fenders |
| Cargo bed height | 25 cm (10 inches) inside |
A selection of Toro approved attachments and accessories is available for use with the machine to enhance and expand its capabilities. Contact your Authorized Service Dealer or authorized Toro distributor or go to www.Toro.com for a list of all approved attachments and accessories.
To ensure optimum performance and continued safety certification of the machine, use only genuine Toro replacement parts and accessories. Replacement parts and accessories made by other manufacturers could be dangerous, and such use could void the product warranty.
Never allow children or people who are not trained or physically capable to safely operate or service the machine. Local regulations may restrict the age of the operator. The owner is responsible for training all operators and mechanics.
Become familiar with the safe operation of the equipment, operator controls, and safety signs.
Shut off the machine, remove the key, and wait for all movement to stop before you leave the operator’s position. Allow the machine to cool before adjusting, servicing, cleaning, or storing it.
Know how to stop and shut off the machine quickly.
Ensure that there are not more occupants (you and your passenger(s)) than the number of handholds equipped on the machine.
Check that all safety devices and decals are in place. Repair or replace all safety devices and replace all illegible or missing decals. Do not operate the machine unless they are present and functioning properly.
| Maintenance Service Interval | Maintenance Procedure |
|---|---|
| Before each use or daily |
|
Before starting the machine each day, perform the Each Use/Daily procedures listed in .
| Maintenance Service Interval | Maintenance Procedure |
|---|---|
| Before each use or daily |
|
Tire air pressure specification: 55 to 103 kPa (8 to 22 psi)
Important: Do not exceed the maximum air pressure indicated on the sidewall of the tire.
Note: The air pressure needed in the tires is determined by the payload that you intend to carry.
Check the air pressure in the tires.
Note: The air pressure in the front and rear tires should be between 55 to 103 kPa (8 to 22 psi).
Use lower air pressure in the tires for lighter payloads, for less soil compaction, for a smoother ride, and to minimize tire marks on the ground.
Use higher air pressure in the tires for carrying heavier payloads at higher speeds.
If necessary, adjust the air pressure in the tires by adding or removing air in the tires.

| Maintenance Service Interval | Maintenance Procedure |
|---|---|
| After the first 100 hours |
|
Perform the breaking in a new machine guidelines to provide proper performance and long life for the machine.
Ensure that the brakes are burnished; refer to the burnishing section in Setup.
Check the brake fluid; refer to Checking the Brake-Fluid Level.
Refer to for any special low hour checks.
Check the front and rear suspension positioning and adjust it, if necessary; refer to Adjusting the Front Wheel Alignment.
For optimal battery performance and battery life, charge the batteries to 100% when you receive your machine.
The owner/operator can prevent and is responsible for accidents that may cause personal injury or property damage.
Passengers should sit in the designated seating positions only. Do not carry passengers in the cargo bed. Keep bystanders and pets away from the machine during operation.
Wear appropriate clothing, including eye protection; long pants; and substantial, slip-resistant footwear. Tie back long hair and do not wear loose clothing or loose jewelry.
Use your full attention while operating the machine. Do not engage in any activity that causes distractions; otherwise, injury or property damage may occur.
Do not operate the machine while ill, tired, or under the influence of alcohol or drugs.
Do not exceed the maximum gross vehicle weight (GVW) of the machine.
Use extra caution when operating, braking, or turning the machine with a heavy load in the cargo bed.
Carrying oversized loads in the cargo bed reduces the stability of the machine. Do not exceed the carrying capacity of the bed.
Carrying material that cannot be bound to the machine adversely affects the steering, braking, and stability of the machine. When you carry material that cannot be bound to the machine, use caution when steering or braking.
Carry a reduced load and reduce the ground speed of the machine when operating on rough, uneven terrain, and near curbs, holes, and other sudden changes in terrain. Loads may shift, causing the machine to become unstable.
Before you start the machine, ensure that the parking brake is engaged and you are in the operating position.
You and your passengers should remain seated whenever the machine is moving. Keep your hands on the steering wheel; your passengers should use the handholds provided. Keep arms and legs within the machine body at all times.
Operate the machine only in good visibility. Watch for holes, ruts, bumps, rocks, or other hidden objects. Uneven terrain could overturn the machine. Tall grass can hide obstacles. Use care when approaching blind corners, shrubs, trees, or other objects that may obscure your vision.
Do not drive the machine near drop-offs, ditches, or embankments. The machine could suddenly roll over if a wheel goes over the edge or if the edge gives way.
Always watch out for and avoid low overhangs such as tree limbs, door jambs, overhead walkways, etc.
Look behind and down before reversing the machine to be sure of a clear path.
When using the machine on public roads, follow all traffic regulations and use any additional accessories that may be required by law, such as lights, turn signals, slow-moving vehicle (SMV) signs, and others as required.
If the machine ever vibrates abnormally, stop and shut off the machine immediately, wait for all movement to stop, and inspect for damage. Repair all damage to the machine before resuming operation.
It can take longer to stop the machine on wet surfaces than on dry surfaces. To dry out wet brakes, drive slowly on level ground while putting light pressure on the brake pedal.
Operating the machine at high speed and then quickly stopping may cause the rear wheels to lock up, which impairs your control of the machine.
Do not touch the motor while the motor is running, or soon after you turn off the motor, because these areas may be hot enough to cause burns.
Do not leave a running machine unattended.
Before you leave the operating position, do the following:
Park the machine on a level surface.
Ensure that the parking brake is engaged.
Shut off the machine and remove the key.
Wait for all movement to stop.
Do not operate the machine when there is the risk of lightning.
Use accessories and attachments approved by The Toro Company only.
Note: A 2-post Rollover Protection System (ROPS) is available for this machine as an accessory. Use a ROPS if you will work next to drop-offs, near water, in rough terrain, or on a slope, which could result in a rollover. Contact an authorized Toro distributor for more information.
Slopes are a major factor related to loss-of-control and tip-over accidents, which can result in severe injury or death.
Survey the site to determine which slopes are safe for operating the machine and establish your own procedures and rules for operating on those slopes. Always use common sense and good judgment when performing this survey.
If you feel uneasy operating the machine on a slope, do not do it.
Keep all movement on slopes slow and gradual. Do not suddenly change the speed or direction of the machine.
Avoid operating the machine on wet terrain. Tires may lose traction. A rollover can occur before the tires lose traction.
Travel straight up and down a slope.
If you begin to lose momentum while climbing a slope, gradually engage the brakes and slowly reverse the machine straight down the slope.
Turning while going up or down a slope can be dangerous. If you must turn on a slope, do it slowly and cautiously.
Heavy loads affect stability on a slope. Carry a reduced load and reduce your ground speed when operating on a slope or if the load has a high center of gravity. Secure the load to the cargo bed of the machine to prevent the load from shifting. Take extra care when hauling loads that shift easily (e.g., liquids, rock, sand, etc.).
Avoid starting, stopping, or turning the machine on a slope, especially with a load. Stopping while going down a slope takes longer than stopping on level ground. If you must stop the machine, avoid sudden speed changes, which can cause the machine to tip or roll over. Do not engage the brakes suddenly when rolling rearward, as this may cause the machine to overturn.
Do not exceed the gross vehicle weight (GVW) of the machine when operating it with a load in the cargo bed and/or towing a trailer; refer to Specifications.
Distribute the load in the cargo bed evenly to improve the stability and control of the machine.
Before dumping, ensure that there is no one behind the machine.
Do not dump a loaded cargo bed while the machine is sideways on a slope. The change in weight distribution may cause the machine to overturn.
A raised bed could fall and injure persons that are working beneath it.
Always use the prop rod to hold the bed up before working under the bed.
Remove any load material from the bed before raising it.
Driving the machine with the cargo bed raised could cause the machine to tip or roll easier. You could damage the structure of the cargo bed if you operate the machine with the bed raised.
Operate the machine when the cargo bed is down.
After emptying the cargo bed, lower it.
If a load is concentrated near the back of the cargo bed when you release the latches, the bed may unexpectedly tip open, injuring you or bystanders.
Center loads in the cargo bed, if possible.
Hold the cargo bed down and ensure that no one is leaning over the bed or standing behind it when releasing the latches.
Remove all cargo from the bed before lifting the bed up to service the machine.
The weight of the bed may be heavy. Hands or other body parts could be crushed.
Keep your hands and other body parts clear when lowering the bed.
If you unloaded loose material such as sand, landscaping rock, or wood chips from the cargo bed of the machine, some of the material that you unloaded may have lodged in the hinge area of the tailgate. Perform the following before closing the tailgate.
Use your hands to remove as much of the material from the hinge area as possible.
Rotate the tailgate to approximately the 45° position (Figure 21).

Use a short, shaking motion to rotate the tailgate back and forth several times (Figure 21).
Note: This action helps move material away from the hinge area.
Lower the tailgate and check for material remaining in the hinge area.
Repeat steps 1 through 4 until the material is removed from the hinge area.
Rotate the tailgate up and forward until the lock flanges of the tailgate are flush with the tailgate pocket in the cargo bed (Figure 20).
Note: Raise or lower the tailgate in order to align the lock flanges of the tailgate with the vertical openings between the tailgate flanges of the cargo bed.
Lower the tailgate until it is seated in the back of the cargo bed (Figure 20).
Note: The lock flanges of the tailgate are fully secured by the tailgate flanges of the cargo bed.
Refer to the display to determine the battery-system charge level; refer to Display.
If the battery level becomes too low (i.e., below 10%), a low-battery icon appears on the display. When you are operating at this battery percentage, drive the machine to a designated battery-charging area and charge the batteries; refer to Understanding the Lithium-Ion Battery Charger.
If you operate the machine while the battery charge level is blank, the machines operates at a reduced speed (i.e., 5 km/h or 3 mph).
Important: When stopping the machine on an incline, use the service brakes to stop the machine to hold the machine in place. Using the accelerator to stall the machine on the hill can overheat the motor or drain the batteries.
Remove your foot from the accelerator pedal.
Slowly press the brake pedal to apply the service brakes until the machine comes to a complete stop. The parking brake engages when the machine comes to a complete stop.
Note: The stopping distance may vary depending on the machine load and speed.
Use the following guidelines when loading the cargo bed and operating the machine:
Observe the weight capacity of the machine and limit the weight of the load that you carry in the cargo bed as described in Specifications and on the gross vehicle weight tag of the machine.
Note: The load rating is specified for machine operation on a level surface only.
Reduce the weight of the load that you carry in the cargo bed when operating the machine on hills and rough terrain.
Reduce the weight of the load that you carry when the materials are tall (and have a high center of gravity), such as a stack of bricks, landscaping timbers, or fertilizer bags. Distribute the load as low as possible to ensure that the load does not reduce your ability to see behind the machine when operating it.
Keep loads centered by loading the cargo bed as follows:
Evenly position the weight in the cargo bed from side to side.
Important: Tipping over is more likely to occur if the cargo bed is loaded to 1 side.
Evenly position the weight in the cargo bed from front to back.
Important: Loss of steering control or the machine may tip over if you position the load behind the rear axle and the traction on the front tires is reduced.
Use extra caution when transporting oversized loads in the cargo bed, particularly when you cannot center the weight of the oversize load to the cargo bed.
Whenever possible, secure the load by binding it to the cargo bed so that it does not shift.
When transporting liquids, use caution when driving the machine uphill or downhill, when suddenly changing speed or stopping, or when driving over rough surfaces.
The capacity of the cargo box is 0.37 m3 (13 ft3). The amount (volume) of material that you can place in the bed without exceeding the load ratings of the machine can vary greatly depending on the density of the material.
Refer to the following table for load volume limits with various materials:
| Material | Density | Maximum Cargo Box Capacity(on level ground) |
| Gravel, dry | 1522 kg/m3 (95 lb/ft3) | Full |
| Gravel, wet | 1922 kg/m3 (120 lb/ft3) | 3/4 Full |
| Sand, dry | 1442 kg/m3 (90 lb/ft3) | Full |
| Sand, wet | 1922 kg/m3 (120 lb/ft3) | 3/4 Full |
| Wood | 721 kg/m3 (45 lb/ft3) | Full |
| Bark | <721 kg/m3 (<45 lb/ft3) | Full |
| Earth, packed | 1602 kg/m3 (100 lb/ft3) | 3/4 Full (approximately) |
Before you leave the operating position, do the following:
Park the machine on a level surface.
Ensure that the parking brake is engaged.
Shut off the machine and remove the key.
Wait for all movement to stop.
Allow the machine to cool before adjusting, servicing, cleaning, or storing it.
Do not store the machine where there is an open flame, spark, or pilot light, such as on a water heater or other appliance.
Keep all parts of the machine in good working condition and all hardware tightened.
Maintain and clean the seat belt(s) as necessary.
Replace all worn, damaged, or missing decals.
WARNING: Risk of fire and electric shock—The batteries have no user-serviceable parts.
Confirm the voltage that is available in your country before using the charger.
Do not charge the machine in a wet environment; keep it protected from rain and snow.
A risk of fire, electric shock, or injury may result from using an accessory not recommended or sold by Toro.
To reduce risk of a battery explosion, follow these instructions and the instructions for any equipment that you intend to use near the charger.
Batteries could emit explosive gasses if they are significantly overcharged.
Refer to an authorized Toro distributor to service or replace a battery.
Never allow children or untrained people to operate or service the charger. Local regulations may restrict the age of the operator. The owner is responsible for training all operators and mechanics.
Read, understand, and follow all instructions on the charger and in the manual before operating the charger. Be familiar with the proper use of the charger.
Keep bystanders and children away while charging.
Shut off the machine and wait until the machine has completely powered down before charging. Failure to do this may cause arcing.
Use the charger only within the voltage range specified in this Operator's Manual, and use only a power cord approved by Toro.
Contact your authorized Toro distributor for the proper charger and power cord.
Do not charge a frozen battery.
Do not abuse the cord. Do not pull on the power supply cord to disconnect the charger from the receptacle. Store the cord away from heat, oil, and sharp edges.
Connect the charger directly to a grounding receptacle. Do not use the charger on an ungrounded outlet, even with a grounding adapter.
Do not alter the provided power cord or plug.
Remove metal items such as rings, bracelets, necklaces, and watches when working with a lithium-ion battery. A lithium-ion battery can produce enough current to cause a severe burn.
Use an extension cord that can handle the charging amperage specified in this Operator's Manual. If you are charging outdoors, use an extension cord rated for outdoor use.
If the power supply cord is damaged while it is plugged in, disconnect the cord from the wall receptacle and contact an authorized Toro distributor for a replacement.
Unplug the charger from the electrical outlet when not in use, before moving it to another location, or prior to servicing it.
Do not disassemble the charger.
Take the charger to an authorized Toro distributor when service or repair is required.
Unplug the power cord from the outlet before starting any maintenance or cleaning to reduce risk of electric shock.
Maintain or replace safety and instruction labels as needed.
Do not operate the charger with a damaged cord or plug. Contact an authorized Toro distributor to obtain a replacement cord.
If the charger is damaged, do not use it; take it to an authorized Toro distributor.
Use care when loading or unloading the machine into a trailer or a truck.
Use full-width ramps for loading the machine into a trailer or a truck.
Tie the machine down securely.
Refer to Figure 22 and Figure 23 for the tie-down locations on the machine.
Note: Load the machine on the trailer with the front of the machine facing forward. If that is not possible, secure the machine hood to the frame with a strap, or remove the hood and transport and secure it separately or the hood may blow off during transport.


In case of an emergency, you can tow the machine for a short distance; however, this should not be a standard operating procedure.
Towing at excessive speeds could cause a loss of steering control, resulting in personal injury.
Never tow the machine at faster than 8 km/h (5 mph).
Towing the machine is a 2-person job. If you must move the machine a considerable distance, transport it on a truck or trailer.
Affix a tow line to the tongue at the front of the machine’s frame.
To disengage the parking brake, rotate and hold the key switch in place for 5 seconds to enter the TRANSPORT position.
Note: The “N” symbol (i.e., the NEUTRAL position) should appear on the display.
The machine is capable of pulling trailers. A tow hitch is available for the machine. Contact your Authorized Service Dealer for details.
When hauling cargo or towing a trailer, do not overload your machine or trailer. Overloading either the machine or the trailer can cause poor performance or damage to the brakes, transaxle, steering, suspension, body structure, or tires.
Always load a trailer with 60% of the cargo weight in the front of the trailer. This places approximately 10% of the gross trailer weight (GTW) on the tow hitch of the machine.
To provide adequate braking and traction, always load the cargo bed when using a trailer. Do not exceed the GTW or GVW limits.
Avoid parking a machine with a trailer on a hill. If you must park on a hill, chock the tires of the trailer.
The US Department of Transportation and international transportation authorities require that lithium-ion batteries be transported using special packaging and only be transported by carriers certified to haul them. In the US, you are allowed to transport a battery when it is installed on the machine as battery powered equipment, with some regulatory requirements. Contact the US Department of Transportation or the appropriate government body in your country for detailed regulations on transportation of your batteries or the machine with the batteries equipped.
For detailed information on shipping a battery, contact your authorized Toro distributor.
Contact with water while charging the machine could cause electric shock, causing injury or death.
Do not handle the plug or the charger with wet hands or while standing in water.
Do not charge the batteries in the rain or in wet conditions.
To reduce the risk of electric shock, this charger has a 3-prong grounded plug (type B). If the plug does not fit into the wall receptacle, other grounded plug types are available; contact an authorized Toro distributor.
Do not change the charger or the power-supply-cord plug in any way.
Important: Check the power supply cord periodically for holes or cracks in the insulation. Do not use a damaged cord. Do not run the cord through standing water or wet grass.
See Figure 24 for power source requirements.

Plug the power-supply cord into the machine charger outlet (Figure 25).
A damaged charger cord can cause an electrical shock or a fire.
Thoroughly inspect the power supply cord before using the charger. If the cord is damaged, do not operate the charger until you obtain a replacement.

Insert the wall plug end of the power-supply cord into a grounded electrical outlet.
Attempting to charge the batteries with a charger not provided by Toro can result in excessive heat and other related product malfunctions, which can lead to property damage and/or injury.
Use the Toro-provided chargers to charge the batteries.
Recommended temperature range for charging: 0° to 45°C (32° to 113°F)
Important: Charge the batteries only in temperatures that are within the recommended range.
Note: The charger will not function in temperatures exceeding the minimum or maximum temperatures. The hot or cold battery indicators will appear on the display.
The charging status is shown on the display.
If there is a fault, an error message will appear in the display. To correct an error, refer to the machine Service Manual.
Remove the power-supply cord from the machine charger outlet.
Place the cord in a storage position that avoids damage.
Turn on the machine.
Verify the charge level; refer to Display.
Do not allow untrained personnel to service the machine.
Before you leave the operating position, do the following:
Park the machine on a level surface.
Ensure that the parking brake is engaged.
Shut off the machine and remove the key.
Wait for all movement to stop.
Allow the machine to cool before adjusting, servicing, cleaning, or storing it.
Support the machine with jack stands whenever you work under the machine.
Do not work under a raised bed without the proper bed safety support in place.
Do not charge the batteries while servicing the machine.
To ensure that the entire machine is in good condition, keep all hardware properly tightened.
To reduce the potential fire hazard, keep the machine area free of excessive grease, grass, leaves, and accumulation of dirt.
If possible, do not perform maintenance while the machine is running. Keep away from moving parts.
If you must run the machine to perform a maintenance adjustment, keep your hands, feet, clothing, and any parts of the body away from any moving parts. Keep bystanders away from the machine.
Check the parking brake operation as recommended in the maintenance schedule and adjust and service it as required.
Keep all parts of the machine in good working condition and all the hardware properly tightened. Replace all worn or damaged decals.
Never interfere with the intended function of a safety device or reduce the protection provided by a safety device.
If major repairs are ever necessary or assistance is required, contact an authorized Toro distributor.
Altering this machine in any manner may affect the operation of the machine, performance, durability, or its use may result in injury or death. Such use could void the product warranty of The Toro® Company.
| Maintenance Service Interval | Maintenance Procedure |
|---|---|
| After the first 100 hours |
|
| Before each use or daily |
|
| Every 100 hours |
|
| Every 200 hours |
|
| Every 300 hours |
|
| Every 400 hours |
|
| Every 800 hours |
|
| Every 1,000 hours |
|
Note: Download a free copy of the electrical schematic by visiting www.Toro.com and searching for your machine from the Manuals link on the home page.
Failing to properly maintain the machine could result in premature failure of machine systems, causing possible harm to you or bystanders.
Keep the machine well maintained and in good working order as indicated in these instructions.
Only qualified and authorized personnel should maintain, repair, adjust, or inspect the machine.
Avoid fire hazards and have fire-protection equipment present in the work area. Do not use an open flame to check fluid levels.
Do not use open pans of flammable cleaning fluids for cleaning parts.
If you leave the key in the switch, someone could accidently start the machine and seriously injure you or other bystanders.
Shut off the machine and remove the key from the switch before you perform any maintenance.
Important: If the machine is subjected to any of the conditions listed below, perform maintenance twice as frequently:
Desert operation
Cold climate operation—below 10°C (50°F)
Trailer towing
Frequent operation in dusty conditions
Construction work
After extended operation in mud, sand, water, or similar dirty conditions, do the following:
Have your brakes inspected and cleaned as soon as possible. This prevents any abrasive material from causing excessive wear.
Wash the machine using water alone or with a mild detergent.
Important: Do not use brackish or reclaimed water to clean the machine.
Park the machine on a level surface.
Ensure that the parking brake is engaged.
Shut off the machine and remove the key.
The machine may be unstable when using a jack. The machine could slip off the jack, injuring anyone beneath it.
Do not start the machine while the machine is on a jack.
Always remove the key from the key switch before getting off the machine.
Block the tires when the machine is supported by lifting equipment.
Use jack stands to support the machine once you have lifted it.
Important: Whenever you run the machine for routine maintenance and/or diagnostics, ensure that the rear wheels of the machine are 25 mm (1 inch) off the ground, with the rear axle supported on jack stands.
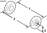
The lifting point at the front of the machine is located at the front of the frame, behind the towing tongue (Figure 26).

The lifting point at the rear of the machine is located under the axle tubes (Figure 27).

| Maintenance Service Interval | Maintenance Procedure |
|---|---|
| Every 300 hours |
|
Grease specification: Mobilgrease XHP™-222
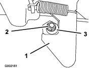
Lift the front of the machine and support it with jack stands.
Remove the 4 lug nuts that secure the wheel to the hub (Figure 29).

Remove the flange-head bolts (3/8 x 3/4 inch) that secure the bracket for the brake assembly to the spindle and separate the brake from the spindle (Figure 30).
Note: Support the brake assembly before proceeding to the next step.

Remove the dust cap from the hub (Figure 31).

Remove the cotter pin and nut retainer from the spindle and spindle nut (Figure 31).
Remove the spindle nut from the spindle, and separate the hub and rotor assembly from the spindle (Figure 31 and Figure 32).

Wipe clean the spindle with a rag.
Repeat steps 1 through 7 to the hub and rotor at the other side of the machine.
Remove the outboard bearing and bearing race from the hub (Figure 33).

Remove the seal, inboard bearing from the hub (Figure 33).
Wipe clean the seal and check for wear and damage.
Note: Do not use cleaning solvent to clean the seal. Replace the seal if it is worn or damaged.
Clean the bearings and races, and check these parts for wear and damage.
Note: Replace all worn or damaged parts. Ensure that the bearings and races are clean and dry.
Clean the cavity of the hub of all grease, dirt, and debris (Figure 33).
Pack the bearings with the specified grease.
Fill the cavity of hub 50 to 80% full of the specified grease (Figure 33).
Assemble the inboard bearing onto the race at the inboard side of the hub and install the seal (Figure 33).
Repeat steps 1 through 8 to the bearings for the other hub.
Apply a light coat of the specified grease to the spindle (Figure 34).

Assemble the hub and rotor onto the spindle with the rotor inboard (Figure 34).
Assemble the outboard bearing onto the spindle and seat the bearing to the outboard race (Figure 34).
Assemble the tab washer onto the spindle (Figure 34).
Thread the spindle nut onto the spindle and tighten the nut to 15 N∙m (11 ft-lb), while rotating the hub to seat the bearing (Figure 34).
Loosen the spindle nut until the hub rotates freely.
Torque the spindle nut to 170 to 225 N∙cm (15 to 20 in-lb).
Install the retainer over the nut and check the alignment of the slot in the retainer and the hole in the spindle for the cotter pin (Figure 35).
Note: If the slot in the retainer and the hole in the spindle are not aligned, tighten the spindle nut to align the slot and hole to a maximum torque of 226 N∙cm (20 in-lb) on the nut.

Install the cotter pin and bend each legs around the retainer (Figure 35).
Install the dust cap onto the hub (Figure 35).
Repeat steps 1 through 10 for the hub and rotor at the other side of the machine.
Clean the 2 flange-head bolts (3/8 x 3/4 inch) and apply a coat of medium-strength thread-locking compound to the threads of the bolts.
Align the brake pads to either side of the rotor (Figure 30) and the holes in the caliper bracket with the holes in the brake mount of the spindle frame (Figure 34).
Secure the caliper bracket to the spindle frame (Figure 30) using the 2 flange-head bolts (3/8 x 3/4 inch).
Torque the 2 flange-head bolts to 47 to 54 N∙m (35 to 40 ft-lb).
Align the holes in the wheel to the studs of the hub and assemble the wheel to the hub with the valve stem outward (Figure 29).
Note: Ensure that the mounting surface of the wheel is flush with the hub.
Secure the wheel to the hub using the lug nuts (Figure 29).
Torque the lug nuts to 108 to 122 N∙m (80 to 90 ft-lb).
Repeat steps 1 through 5 for the brake and wheel on the other side of the machine.
Unplug the power cord to the battery charger if it is connected.
Raise the cargo bed.
Move the battery-disconnect switch to the desired position as shown in Figure 36.

Note: The machine is equipped with 4 lithium-ion batteries.
A lithium-ion battery must be disposed of or recycled in accordance with local and federal regulations. If a battery requires service, contact your authorized Toro distributor for assistance.
Do not open the battery. If you are having problems with a battery, contact your authorized Toro distributor for assistance.
The batteries contain high voltage, which could burn or shock you.
Do not attempt to open the batteries.
Use extreme care when handling a battery with a cracked case.
Use only the charger designed for the batteries.
The lithium-ion batteries hold a sufficient charge to perform intended work during its life span.
To achieve maximum life and use from your batteries, follow these guidelines:
Do not open the battery.
Store/park the machine in a clean, dry garage or storage area, away from direct sunlight, heat sources, rain, and wet conditions. Do not store it in a location where the temperature exceeds the range specified in Battery Storage Requirements. Temperatures outside of this range will damage your batteries. High temperatures during storage, especially at a high state of charge, reduces the life of the batteries.
When storing the machine for more than 10 days, ensure that the machine is in a cool and dry location, out of sunlight, rain, and wet conditions.
Use lights only when it is necessary.
Important: All electrical repairs should be performed by an authorized Toro distributor only.
The charger requires little maintenance other than protecting it from damage and weather.
Clean the battery-charger cords and case with a slightly damp cloth after each use.
Note: Do not clean the dielectric grease from the terminals.
Coil the cords when not in use.
Periodically examine the cords for damage, and replace them when necessary with Toro-approved parts.
Specification: See your Parts Catalog.
Disconnect the battery power; refer to Using the Battery-Disconnect Switch.
Open the hood.
Disconnect the electrical connector for the harness from the connector of the lamp assembly (Figure 39).

Remove the speed clips that secure the headlight to the headlight bracket (Figure 39).
Note: Retain all parts for installation of the new headlight.
Remove the headlight assembly by moving it forward through the opening in the front bumper (Figure 39).
Install the new headlight through the opening in the bumper (Figure 39).
Note: Ensure the adjustment posts are lined up with the holes in the mounting bracket behind the bumper.
Secure the headlight assembly with the speed clips that you removed in step 4.
Connect the electrical connector for the harness to the connector of the lamp assembly (Figure 39).
Adjust the headlights to direct the beams to the desired position, refer to Adjusting the Headlights.
Use the following procedure to adjust the headlight beam position whenever a headlight assembly is replaced or removed.
Park the machine on a level surface with the headlights approximately 7.6 m (25 ft) from a wall (Figure 40).
Measure the distance from the floor to the center of the headlight and make a mark on the wall at the same height.
Turn the key switch to the ON position, and turn on the headlights.
Take note of where the headlights aim on the wall.
The brightest part of the headlight beam should be 20 cm (8 inches) below the mark placed on the wall (Figure 40).

At the back of the headlight assembly, rotate adjustment screws (Figure 39) to pivot the headlight assembly and align the position of the cast beam.
Connect the battery power; refer to Using the Battery-Disconnect Switch.
| Maintenance Service Interval | Maintenance Procedure |
|---|---|
| Every 100 hours |
|
Inspect the tires and rims for signs of wear and damage.
Note: Operating accidents, such as hitting curbs, can damage a tire or rim and also disrupt wheel alignment, so inspect tire condition after an accident.
Torque the wheel lug nuts to 108 to 122 N∙m (80 to 90 ft-lb).
| Maintenance Service Interval | Maintenance Procedure |
|---|---|
| Every 100 hours |
|
With the steering wheel at the centered position (Figure 41), turn the steering wheel to the left or right. If you turn the steering wheel more than 13 mm (1/2 inch) to the left or right, and the tires do not turn, check the following steering and suspension components to ensure that they are not loose or damaged:
Steering shaft to the steering-rack assembly joint
Important: Inspect the condition and security of the pinion-shaft seal (Figure 42).
Steering-rack assembly tie rods


| Maintenance Service Interval | Maintenance Procedure |
|---|---|
| Every 100 hours |
|
Check the tire pressure to ensure that the front tires are inflated to 82 kPa (12 psi).
Either add weight to the driver's seat equal to the average operator who will run the machine, or have an operator sit on the seat. The weight or operator must remain on the seat for the duration of the adjustment procedure.
On a level surface, roll the machine straight back 2 to 3 m (6 to 10 ft) and then straight forward to the original starting position. This allows the suspension to settle into the operating position.
Owner provided tools: spanner wrench, Toro Part 132-5069; refer to your authorized Toro distributor.
Important: Make the camber adjustments only if you are using a front attachment or if there is uneven tire wear.
Check the camber alignment at each wheel; the alignment should be as close to neutral (zero) as possible.
Note: The tires should be aligned with the tread evenly on the ground to reduce uneven wear.
If the wheel camber is out of alignment, use the spanner wrench to rotate the collar on the shock absorber to align the wheel (Figure 43).

Important: Before adjusting toe-in, ensure that the camber adjustment is as close to neutral as possible; refer to Adjusting the Camber.
Ensure that the front tires are facing straight ahead.
Measure the distance between both of the front tires at the axle height at both the front and rear of the front tires (Figure 44).

If the measurement does not fall within 0 to 6 mm (0 to 1/4 inch), loosen the jam nuts at the outer end of the tie rods (Figure 45).

Rotate both tie rods to move the front of the tire inward or outward.
Tighten the tie rod jam nuts when the adjustment is correct.
Ensure that there is full travel of the steering wheel in both directions.
| Maintenance Service Interval | Maintenance Procedure |
|---|---|
| Every 100 hours |
|
Remove the fill plug on the transaxle (Figure 46).
Note: The fluid level should be even with the bottom of the fill plug.

If the fluid level is low, remove the fill plug and add the specified fluid [indicated in Changing the Transaxle Fluid] until it runs out of the hole (Figure 46).
Install the fill plug and torque it to 27 to 41 N∙m (20 to 30 ft-lb).
| Maintenance Service Interval | Maintenance Procedure |
|---|---|
| Every 100 hours |
|
| Every 800 hours |
|
Fluid Type: Mobil 424
Fluid Capacity: 0.95 L (1 US qt)
Align a drain pan under the transaxle drain plug (Figure 47).

Remove the fill plug (Figure 47).
Remove the drain plug and allow the fluid to drain completely.
Install the drain plug and torque it to 12 to 19 N∙m (9 to 14 ft-lb).
Fill the transaxle with the specified fluid through the fill-plug hole until it runs out of the fill hole.
Install the fill plug and torque it to 27 to 41 N∙m (20 to 30 ft-lb).
| Maintenance Service Interval | Maintenance Procedure |
|---|---|
| Every 100 hours |
|
Important: Brakes are a critical safety component of the machine. Closely inspect them at the recommended service interval to ensure optimum performance and safety.
Inspect the brake lining for wear or damage. If the lining (brake pad) thickness is less than 1.6 mm (1/16 inch), replace the brake lining.
Inspect the backing plate and other components for signs of excessive wear or deformation. Replace any deformed components.
Inspect the brake lines, fittings, and clamps for signs of leakage, deterioration, or loose connections.
Note: Repair any damaged or leaking braking system component before using the machine.
Check the brake-fluid level; refer to Checking the Brake-Fluid Level.
| Maintenance Service Interval | Maintenance Procedure |
|---|---|
| Before each use or daily |
|
Brake-fluid type: DOT 3
| Maintenance Service Interval | Maintenance Procedure |
|---|---|
| Every 1,000 hours |
|
Contact your authorized Toro distributor.
If the cargo-bed latch is out of adjustment, the cargo bed vibrates up and down as you drive the machine. You can adjust the latch posts to make the latches hold the cargo bed snugly to the chassis.
| Maintenance Service Interval | Maintenance Procedure |
|---|---|
| Before each use or daily |
|
Wash the machine as needed using water alone or with a mild detergent. You may use a rag when washing the machine.
Important: Do not use brackish or reclaimed water to clean the machine.
Important: Pressurized water is not recommended when washing the machine. It may damage the electrical system, loosen important decals, or wash away necessary grease at friction points. Avoid excessive use of water, especially near the control panel, motor, motor controller, charger, back of the dashboard, and batteries.
Shut off the machine, remove the key, and wait for all movement to stop before you leave the operator's position. Allow the machine to cool before adjusting, servicing, cleaning, or storing it.
The owner is responsible for periodically inspecting the charging and storage areas or facilities and review procedures to ensure that the requirements are being followed.
| Maintenance Service Interval | Maintenance Procedure |
|---|---|
| Every 200 hours |
|
| Every 400 hours |
|
Park the machine on a level surface, shut off the machine, and remove the key.
Clean dirt and grime from the entire machine, including the outside of the motor housing.
Important: You can wash the machine with mild detergent and water. Do not use high-pressure water to wash the machine. Pressure-washing may damage the electrical system or wash away necessary grease at friction points. Avoid excessive use of water, especially near the control panel, lights, motor, and battery.
Check the brakes; refer to Inspecting the Brakes.
Check the tire pressure; refer to Checking the Fluid Levels and Tire Pressure.
Check and tighten all bolts, nuts, and screws. Repair or replace any part that is damaged.
Paint all scratched or bare metal surfaces.
Note: Paint is available from your authorized Toro distributor.
Cover the machine to protect it and keep it clean.
Note: You do not need to remove the batteries from the machine for storage.
Refer to the temperature limits for storage in the following table:
| Storage Temperature | Appropriate Storage Time |
| 45° to 55°C (113° to 131°F) | 1 week |
| 25° to 45°C (77° to 113°F) | 3 weeks |
| -20° to 25°C (-4° to 77°F) | 52 weeks |
Important: Temperatures outside of these ranges will damage your batteries.The temperature that the batteries are stored at will affect their long-term life. Storage for long periods of time at extreme temperatures will reduce the battery life. For temperatures above 25°C (77°F), only store the machine for the appropriate amount of time indicated in the table.
Before you store the machine, charge or discharge the batteries between 40% to 60%.
Note: A 50% charge is optimal to ensure a maximum battery life. When the batteries are charged to 100% before storage, the battery life shortens.If you anticipate that the machine will be stored for a longer period of time, charge the batteries to around 60%.
For every 6 months of storage, check the battery-charge level and ensure that it is between 40% to 60%. If the charge is below 40%, charge the batteries between 40% to 60%.
After charging the batteries, disconnect the battery charger from power.
If you leave the charger on the machine, it will shut off after the batteries are fully charged and does not turn back on unless the charger is disconnected and reconnected.