| Périodicité d'entretien | Procédure d'entretien |
|---|---|
| À chaque utilisation ou une fois par jour |
|
Cette machine est une tondeuse autoportée à cylindres prévue pour les utilisateurs professionnels temporaires employés à des applications commerciales. Elle est principalement conçue pour tondre les pelouses entretenues régulièrement. L'utilisation de ce produit à d'autres fins que celle prévue peut être dangereuse pour vous-même et toute personne à proximité.
En mode autonome, cette tondeuse robotisée à cylindres est destinée aux superviseurs professionnels temporaires engagés pour l’entretien autonome des gazons dans des applications commerciales. Elle est principalement conçue pour tondre les gazons régulièrement entretenus des propriétés qui répondent aux exigences Toro détaillées sous Critères d’évaluation des sites autonomes. L'utilisation de ce produit à d'autres fins que celle prévue peut être dangereuse pour vous-même et toute personne à proximité.
Lisez attentivement cette notice pour apprendre comment utiliser et entretenir correctement votre produit, et éviter ainsi de l'endommager ou de vous blesser. Vous êtes responsable de l'utilisation sûre et correcte du produit.
Pour plus d’information, y compris des conseils de sécurité, des documents de formation, des renseignements concernant un accessoire, pour obtenir l'adresse d'un dépositaire ou pour enregistrer votre produit, rendez-vous sur le site www.Toro.com.
Pour obtenir des prestations de service, des pièces Toro d'origine ou des renseignements complémentaires, munissez-vous des numéros de modèle et de série du produit et contactez un dépositaire Toro agréé. La Figure 1 indique l'emplacement des numéros de modèle et de série du produit. Inscrivez les numéros dans l'espace réservé à cet effet.
Important: Avec votre appareil mobile, vous pouvez scanner le code QR sur l'autocollant du numéro de série (le cas échéant) pour accéder à l'information sur la garantie, les pièces et autres renseignements concernant le produit.

Le symbole de sécurité (Figure 2) utilisé dans ce manuel et sur la machine identifie d'importants messages de sécurité dont vous devez tenir compte pour éviter des accidents.

Le symbole de sécurité apparaît au-dessus de toute information signalant des actions ou des situations dangereuses. Il est suivi de la mention DANGER, ATTENTION ou PRUDENCE.
DANGER signale un danger immédiat qui, s'il n'est pas évité, entraînera obligatoirement des blessures graves ou mortelles.
ATTENTION signale un danger potentiel qui, s'il n'est pas évité, risque d'entraîner des blessures graves ou mortelles.
PRUDENCE signale un danger potentiel qui, s'il n'est pas évité, peut éventuellement entraîner des blessures légères ou modérées.
Ce manuel utilise également deux autres termes pour faire passer des renseignements essentiels. Important pour attirer l'attention sur une information d'ordre mécanique spécifique, et Remarque pour souligner une information d'ordre général méritant une attention particulière.
Cette machine est conçue pour offrir deux modes de fonctionnement :
Mode manuel Mode de fonctionnement dans lequel les fonctions de la machine sont commandées par un utilisateur.
Mode autonome : Mode de fonctionnement dans lequel la machine exécute des fonctions en rapport avec les tâches définies sans intervention de l’utilisateur ; au lieu de cela, le fonctionnement est surveillé par un superviseur qualifié.
Suivez ces directives pour utiliser la ou les machines en mode autonome sur un site acceptable.
Une trajectoire directe est une trajectoire que la ou les machines peuvent suivre sans rencontrer d’obstacles lorsqu’elles fonctionnent en mode autonome.
Un obstacle empêche le fonctionnement continu de la ou des machines en mode autonome. Le système de détection d’objets est conçu pour arrêter la machine lorsqu’il détecte les obstacles suivants :
Clôtures (par ex., mur plein ou clôture grillagée; les clôtures en corde et temporaires ne constituent pas un véritable obstacle)
Murs de soutènement
Haies ou rangées de végétation continues de plus de 1 m (3,3 pi) de hauteur ou sans espaces plus grands que la largeur de la machine
Fossés
Ruisseaux
Lacs
Bâtiments
Pentes trop raides pour être franchies par la ou les machines
Tout autre terrain impraticable que la machine ne peut pas franchir physiquement
Une zone de fonctionnement autonome (AOA) est une zone définie par le superviseur dans laquelle la ou les machines peuvent suivre une trajectoire directe lorsqu’elles sont en mode autonome.
Une zone non opérationnelle (NOA) est une zone définie par le superviseur dans laquelle la ou les machines ne sont pas autorisées à suivre une trajectoire directe lorsqu’elles sont en mode autonome.
Un site acceptable répond à tous les critères mentionnés sous Critères de sécurité pour zone de fonctionnement autonome.
Avant de placer la machine en mode autonome, vérifiez que la limite de l’AOA se trouve à au moins 10 m (33 pi) des dangers suivants :
Note: Par ailleurs, si un obstacle (par ex., mur plein ou terrain impraticable) se trouve entre la machine et l’un des dangers suivants, vérifiez que la limite de l’AOA est placée à au moins 2 m (7 pi) de l’obstacle en question.
Une voie publique est une voie autorisée pour les véhicules (par ex., automobiles, véhicules tout-terrain et vélos), mais pas pas pour les piétons.
Si les zones ou les sentiers publics sont fermés au public pendant des opérations autonomes, les restrictions relatives à la limite de l’AOA définies plus haut ne s’appliquent pas.
Une piste cyclable publique est une piste destinée à être utilisée quotidiennement et à tout moment par le grand public, et sur laquelle les deux roues légers (par ex., vélos et trottinettes) sont autorisés à rouler.
Si les zones ou les sentiers publics sont fermés au public pendant des opérations autonomes, les restrictions relatives à la limite de l’AOA définies plus haut ne s’appliquent pas.
Un sentier pédestres public est un sentier public utilisé par le grand public qui n’autorise pas l’utilisation des véhicules.
Si les zones ou les sentiers publics sont fermés au public pendant des opérations autonomes, les restrictions relatives à la limite de l’AOA définies plus haut ne s’appliquent pas.
Une fosse profonde ou forte dénivellation est une fosse de sable ou une dépression d’une profondeur de 1,5 m (5 pi) ou plus, située à moins de 1 m (39 po) du bord de la fosse.
Une installation de maintenance comprend les bâtiments et les espaces extérieurs connexes utilisés exclusivement par le personnel du site pour la maintenance et le stockage du matériel, y compris la ou les machines. Le grand public et les autres membres du personnel qui ne participent pas à la maintenance du matériel n’ont pas accès à l’installation de maintenance ou aux espaces extérieurs connexes.
Une propriété privée est une zone à laquelle vous n’avez pas l’autorisation d’accéder.
Important: Les pentes très raides peuvent être incluses à l’intérieur d’une AOA ou à moins de 10 m (33 pi) d’une limite d’AOA, mais elles doivent être entourées d’une limite de NOA.
Mesurez l’angle des pentes en plaçant une planche de 1,25 m (4 pi) sur la partie la plus raide de la pente et en plaçant un inclinomètre sur la planche.
La ou les machines ne doivent pas fonctionner en mode autonome sur les pentes très raides, comme défini ici;
N’utilisez pas la machine sur des pentes de supérieures ou égales à 14° (inclinaison de 25 %) sur une distance horizontale supérieure à 10 m (33 pi).
N'utilisez pas la machine sur une pente de plus de 15° (inclinaison de 27 %).
Superviseur de machine qualifié (Superviseur)
Une ou plusieurs personnes chargées de superviser le fonctionnement de la ou des machines. Un superviseur a montré :
Un contrôle adéquat de la machine
Une compréhension générale des systèmes énergétiques et de commande, et du groupe motopropulseur de la ou des machines
A été formé et à lu et compris les manuels de l’utilisateur des machines.
Opérateur manuel qualifié (Opérateur)
Un ou plusieurs employés du client chargés de la conduite manuelle de la machine lorsqu’elle est en mode manuel.
Arrêt d'urgence sur le produit
Un interrupteur d'arrêt d'urgence situé sur ou fixé à la machine. L’interrupteur fonctionne uniquement lorsque la machine est en mode autonome.
Appareil mobile
Appareil mobile d’un superviseur (par ex., téléphone intelligent ou tablette) qui se connecte à la machine et permet de programmer, contrôler et surveiller la machine lorsqu’elle est en mode autonome. L’appareil sert de dispositif d’arrêt à distance que le superviseur doit garder avec lui pour arrêter toutes les fonctions de la ou des machines sur commande, lorsque cela est nécessaire.
Avis – message signalant à l'utilisateur une erreur de l'opérateur ou tout incident pouvant entraîner une pause ou une interruption de la tâche et pouvant nécessiter l'intervention de l'utilisateur.
Appli – abréviation d’application logicielle. Programme informatique sur un appareil mobile qui exécute une ou plusieurs tâches. Également appelé application, appli mobile ou appli web.
Système de commande autonome (ACS) – système composé de logiciels et de matériel permettant à machine d’exécuter des tâches sans intervention humaine pendant de longue périodes.
Mode autonome – mode de fonctionnement dans lequel la machine exécute des fonctions en rapport avec les tâches définies sans intervention de l’opérateur. S’oppose au mode manuel.
Zone de fonctionnement autonome (AOA) – zone dans laquelle le fonctionnement autonome est autorisé. Dans cette zone, la machine peut décider librement des trajectoires à exécuter pour se déplacer d’un lieu à un autre. Il s’agit généralement d’une zone comportant peu d’obstacles fixes. Sur un terrain de golf, cette zone comporte au moins une allée ou un point de récupération.
Station de base – dans le cadre d’un relevé topographique externe, il s’agit d’un récepteur GNSS situé en un lieu fixe connu avec précision et utilisé pour établir des données de correction information pour des récepteur GNSS portable GPS à proximité. Voir également Système de positionnement mondial; récepteur GNSS.
Limite – quelque chose qui indique ou fixe une délimitation ou une étendue. Pour un robot, il s'agit de la ligne extérieure à ne pas franchir d'une zone d'utilisation, d'une trajectoire ou d'une zone d'exclusion. Également appelé périmètre. Voir également Zone d'utilisation; Trajectoire; Zone d’exclusion.
Axe – ligne qui s’étend au centre de toute l’allée. Pour la tonte de type Tuxedo, la machine suit la courbe de cette ligne pendant la tonte.
Zone de tonte contiguë (CMA) – zone dans laquelle la tonte est effectuée. Elle est représentée sur la carte par une ligne vert clair à l’intérieur de l’AOA. Elle définit la zone qui sera tondue par la machine. Une CMA peut comporter des trous, mais il s’agit d’une zone fermée unique qui doit être se trouver entièrement dans une seule AOA. Sur un terrain de golf, cela correspond généralement à une allée ou une partie d’une allée si des allées sont divisées en plusieurs parties par dangers naturels (par ex., lac).
Direction du jeu (D.d.J) – en termes de golf, la direction du jeu est la direction entre l’aire de départ et le vert. Pendant la tonte autonome, la direction du jeu peut être utilisée pour créer des modèles de tonte personnalisés. La machine peut tondre dans le sens ou à contre-sens de la direction du jeu, ou être programmée pour tondre à un angle par rapport à la direction du jeu.
Zone d’exclusion – une zone enregistrée par l'opérateur dans laquelle le robot ne doit pas entrer. Voir Zone non opérationnelle (NOA).
Anomalie – conséquence d'une erreur mécanique, de capteur ou de logiciel, nécessitant une entretien ou une réparation de la machine, du capteur ou du code logiciel.
Système mondial de navigation par satellite (GNSS) – terme général décrivant l’ensemble des constellations utilisées pour la localisation par satellite. Voir également Système de positionnement mondial.
Système de positionnement mondial (GPS) – système de navigation par constellation de satellites américain qui utilise un signal numérique provenant de chaque satellite pour envoyer des données à un récepteur. Ce récepteur peut alors déterminer sa distance approximative par rapport au satellite, ainsi que la position géographique (GP) du satellite, qui est l’endroit du globe situé directement sous le satellite.
Antenne GNSS – dispositif utilisé pour recevoir et étendre les signaux radio envoyés par des fréquences distinctes provenant des satellites GNSS. Voir également Système mondial de navigation par satellite; Système de positionnement mondial.
Récepteur GNSS – dispositif qui peut recevoir l’information des satellites GNSS. Également appelé dispositif de navigation par satellite. Voir également Système mondial de navigation par satellite.
Aller au point de récupération – comportement consistant pour la machine à retourner de manière autonome à un point prédéfini sur demande du superviseur.
Trou – type de zone enregistrée par l’opérateur à l’intérieur d’une CMA que le robot peut traverser, mais ne doit pas tondre. Enregistrez une NOA dans le Trou si la machine ne doit jamais pénétrer dans une zone lorsqu’elle fonctionne de manière autonome; voir Zone non opérationnelle (NOA).
Trajectoires inter-AOA – trajectoires que la machine peut suivre pour se déplacer entre des AOA. Elles sont représentées par des lignes orange sur la carte. Ces trajectoires définies correspondent généralement aux trajectoires déjà suivies par des machines conduites par des personnes. La machine suivra ces trajectoires précisément ou de très près lors de ses déplacements entre les AOA.
LiDAR (laser imaging, detection, and ranging/imagerie laser, détection et télémétrie) – voir Types de capteurs.
Localisation – processus permettant de déterminer où se trouve un robot mobile par rapport à un cadre de référence global. La localisation est une compétence fondamentale nécessaire pour un robot, car la connaissance de sa position est nécessaire pour prendre des décisions sur ses actions à venir.
Mode manuel – mode de fonctionnement dans lequel les fonctions de la machine sont commandées par un utilisateur. S’oppose au mode autonome.
Cartographie – procédure de collecte de l’emplacement et de la forme des caractéristiques pertinentes de l’environnement, et de stockage précis de ces données dans un cadre de référence global.
Mission – ensemble de tâches devant être exécutées par la machine.
Navigation – capacité d’un robot à déterminer sa propre position dans son cadre de référence et à planifier une trajectoire vers un objectif.
Zone non opérationnelle (NOA) – zone dans laquelle le fonctionnement autonome n’est pas autorisé. Ce type de zone est utilisé pour indiquer la présence d’un obstacle naturel ou d’une obstruction, une zone à l’intérieur d’une AOA ou une zone à l’intérieur d’une CMA dans laquelle la machine ne doit jamais avoir accès lorsqu’elle fonctionne en mode autonome (par ex., lacs, fosses de sable ou trous).
Objet – obstacle ou état du sol qui peut causer ou subir des dommages s’il entre en contact ou en collision avec la machine. Les objets peuvent être vus par le système de détection d’objets de la machine; voir Détection d’objets.
Détection d'objets – processus consistant à détecter des objets ou des types de terrain qui gênent le mouvement d'un robot.
Obstacle – type de caractéristique ou d’entité de terrain pouvant endommager la machine ou l’empêcher de fonctionner si elle n’est pas programmée pour éviter cette zone.
Obstruction – type de caractéristique ou d’entité de terrain que la machine ne peut pas franchir. Exemples d’obstructions :
Clôtures
Bâtiments
Murs de soutènement
Plans d'eau
Fosses de sable
Trous de drainage d’irrigation
Grilles surélevées
Mode stationnement – mode de fonctionnement de la machine dans lequel le sélecteur de mode autonome/manuel est basculé en mode autonome, mais le système ACS n’est pas prêt ou est désactivé. Le mode stationnement peut aussi être causé par la présence d’opérateur ou d’un objet dans l’environnement qui interrompt le fonctionnement autonome de la machine et la force à stationner pendant que le problème est résolu.
Trajectoire – Itinéraire autonome programmé par l’utilisateur que peut suivre un robot. Au cours d’une a mission comportant plusieurs allées, la tondeuse utilise des trajectoires pour se déplacer de manière autonome entre les allées. Également appelé Trajectoire de transit.
Périmètre – Voir Limite.
Point de récupération – point à l’intérieur d’une AOA lorsque l’opérateur laisse/prend la machine avant/après la tonte ou d’autres opérations. Il est représenté sur la carte par un P bleu entouré d’un cercle bleu. La machine peut retourner à ce point si le superviseur le demande.
Pôle – point défini sur la carte que la machine traite comme une NOA. Ces points sont cartographiés individuellement et un jeu de Pôles peut être utilisé pour exclure précisément des zones que la machine doit éviter. Cette procédure est utile pour exclure des zones que la machine doit éviter sans avoir à cartographier une NOA complète. Voir Zone non opérationnelle (NOA).
Capteurs de proximité – voir Types de capteurs.
Radar – voir Types de capteurs.
Cinématique en temps réel (RTK) – correction en temps réel du positionnement géographique (moins de 3 cm ou 1 po dans des conditions optimales) à l’aide de messages satellites envoyés à une station de base fixe localisée avec précision. Les données RTK sont ensuite généralement communiquées à la machine par l'intermédiaire d’une connexion cellulaire à Internet.
Dispositif de navigation par satellite – voir Récepteur GNSS.
Détection – le retour d'information reçu de l’environnement du robot, qui permet à ce dernier de réagir en conséquence. Les données de détection peuvent provenir de divers types de capteurs.
Capteur – appareil qui réagit à des stimuli physiques (notamment, mais sans s’y limiter, chaleur, lumière, son, pression, magnétisme, mouvement) et transmet le signal ou les données qui en résultent, fournissant ainsi une mesure, ou effectuant une commande, ou les deux. Par exemple, un capteur peut évaluer l'état d'un robot et de son environnement. Cette information est envoyée à un contrôleur pour activer le comportement approprié. Un robot doit disposer d’informations détaillées à propos de son environnement pour fonctionner de manière efficace.
Types de capteurs – les capteurs fournissent des données similaires aux sens humains et peuvent surveiller d’autres caractéristiques physiques de l’environnement, en transformant cette information sous forme numérique.
Capteurs de position – ces capteurs détectent la position d’un objet. Ils peuvent indiquer la position absolue de l’objet (son emplacement) ou sa position relative (déplacement) en termes de course linéaire, angle de rotation ou espace tridimensionnel.
Capteurs de proximité – ces capteurs détectent un objet sans entrer en contact avec lui.
Capteur ultrasonique
LiDAR
Radar
États – ensembles de propriétés de la machine et son état à un moment précis.
Appli de supervision – voir Appli.
Tâche – composante d’une mission. Les tâches sont choisies par l’opérateur de la machine pour faire partie d’une mission donnée et représentent une unité de travail que la machine effectuera de manière autonome.
Ultrasonique – voir Types de capteurs.
Ce produit est conforme à toutes les directives européennes pertinentes. Pour plus de renseignements, reportez-vous à la Déclaration de conformité spécifique du produit fournie séparément.
Vous commettez une infraction à la section 4442 ou 4443 du Code des ressources publiques de Californie si vous utilisez cette machine dans une zone boisée, broussailleuse ou recouverte d'herbe, à moins d'équiper le moteur d'un pare-étincelles en bon état, tel que défini dans la section 4442, ou à moins que le moteur soit construit, équipé et entretenu correctement pour prévenir les incendies.
Le manuel du propriétaire du moteur ci-joint est fourni à titre informatif concernant la réglementation de l'Agence américaine pour la protection de l'environnement (EPA) et la réglementation antipollution de l'état de Californie relative aux systèmes antipollution, à leur entretien et à leur garantie. Vous pouvez vous en procurer un nouvel exemplaire en vous adressant au constructeur du moteur.
Lorsque vous utilisez cette machine à plus de 1 000 m (3 280 pi) au-dessus du niveau de la mer, vous devez l'équiper du gicleur haute altitude. Voir le manuel du propriétaire du moteur Kawasaki pour plus de renseignements.
|
Certification de compatibilité électromagnétique |
AttentionLa Federal Communications Commission (commission fédérale des communications) avertit que les changements ou modifications du module radio de cet appareil qui ne sont pas expressément approuvés par The Toro Company sont susceptibles d’annuler le droit de l’utilisateur à utiliser l'équipement. Cet équipement a été testé et déclaré conforme aux limites afférentes à un appareil numérique de classe A, en vertu de la section 15 de la réglementation de la FCC. Ces limites visent à assurer une protection raisonnable contre tout brouillage préjudiciable lorsque l’équipement est utilisé dans un environnement commercial. Cet équipement génère, utilise et peut émettre de l’énergie radiofréquence et, s'il n'est pas installé et utilisé conformément aux instructions du manuel, peut produire un brouillage préjudiciable aux radiocommunications. L’utilisation de cet équipement dans une zone résidentielle est susceptible de produire un brouillage préjudiciable, auquel cas l’utilisateur sera dans l’obligation de remédier au brouillage à ses frais. |
|
Cet appareil est conforme aux normes d'exemption de licence RSS d'Industry Canada. Son utilisation est assujettie aux deux conditions suivantes : (1) ce dispositif ne doit pas produire de brouillage et (2) ce dispositif doit accepter tout brouillage subi, même si le brouillage est susceptible d’en compromettre le fonctionnement. |
|
Le présent appareil est conforme aux CNR d'Industrie Canada applicables aux appareils radio exempts de licence. L'exploitation est autorisée aux deux conditions suivantes : (1) l'appareil ne doit pas produire de brouillage, et (2) l'utilisateur de l'appareil doit accepter tout brouillage radioélectrique subi, même si le brouillage est susceptible d'en compromettre le fonctionnement. |
|
Conformément à la réglementation d’Industrie Canada, le présent émetteur radio peut uniquement fonctionner avec une antenne d’un type et d’un gain maximal (ou inférieur) approuvé pour l’émetteur par Industrie Canada. Dans le but de réduire les risques de brouillage radioélectrique pour d’autres utilisateurs, il convient de choisir le type d’antenne et son gain de sorte que la puissance isotrope rayonnée équivalente (p.i.r.e.) ne soit pas supérieure à celle nécessaire pour une communication réussie. |
|
Le présent émetteur radio CI : 26511-RUT956AF a été approuvé par Industrie Canada pour fonctionner avec les types d’antenne énumérés ci-dessous, et avec gain admissible maximal et l’impédance requise pour chaque type d’antenne. L’utilisation de types d’antenne non inclus dans cette liste, et dont le gain est supérieur au gain maximal indiqué, est strictement interdite avec cet appareil. |
|
Conformément à la réglementation d'Industrie Canada, le présent émetteur radio peut fonctionner avec une antenne d'un type et d'un gain maximal (ou inférieur) approuvé pour l'émetteur par Industrie Canada. Dans le but de réduire les risques de brouillage radioélectrique à l'intention des autres utilisateurs, il faut choisir le type d'antenne et son gain de sorte que la puissance isotrope rayonnée équivalente (p.i.r.e.) ne dépasse pas l'intensité nécessaire à l'établissement d'une communication satisfaisante. |
|
Le présent émetteur radio IC: 26511-RUT956AFa été approuvé par Industrie Canada pour fonctionner avec les types d'antenne énumérés ci-dessous et ayant un gain admissible maximal et l'impédance requise pour chaque type d'antenne. Les types d'antenne non inclus dans cette liste, ou dont le gain est supérieur au gain maximal indiqué, sont strictement interdits pour l'exploitation de l'émetteur. |
|
Antenne : The Toro Company, Modèle 145-0335, TAOGLAS, TLS.01.1F11, Omnidirectionnel, Gain de crête 5.0 (dBi) |
CALIFORNIE
Proposition 65 - Avertissement
Les gaz d'échappement de ce produit contiennent des substances chimiques considérées par l'état de Californie comme susceptibles de provoquer des cancers, des malformations congénitales et autres troubles de la reproduction.
Les bornes de la batterie et accessoires connexes contiennent du plomb et des composés de plomb. L'état de Californie considère ces substances chimiques comme susceptibles de provoquer des cancers et des troubles de la reproduction. Lavez-vous les mains après avoir manipulé la batterie.
L'utilisation de ce produit peut entraîner une exposition à des substances chimiques considérées pas l'état de Californie comme capables de provoquer des cancers, des anomalies congénitales ou d'autres troubles de la reproduction.
Ce produit peut sectionner les mains ou les pieds et projeter des objets.
Vous devez lire et comprendre le contenu de ce Manuel de l'utilisateur avant de démarrer le moteur.
Accordez toute votre attention à l'utilisation de la machine. Ne vous livrez à aucune activité risquant de vous distraire, au risque de causer des dommages corporels ou matériels.
N'approchez pas les mains ou les pieds des composants mobiles de la machine.
N'utilisez pas la machine s'il manque des capots ou d'autres dispositifs de protection, ou s'ils sont en mauvais état.
N'admettez personne, notamment les enfants, dans le périmètre de travail. N'autorisez jamais un enfant à utiliser la machine.
À moins de vous préparer à utiliser la machine en mode autonome, coupez le moteur, enlevez la clé et attendez l'arrêt complet de tout mouvement avant de quitter la position d'utilisation. Laissez refroidir la machine avant de la régler, la nettoyer, la remiser ou la réparer.
L'usage ou l'entretien incorrect de cette machine
peut occasionner des accidents. Pour réduire les risques d'accidents
et de blessures, respectez les consignes de sécurité
qui suivent. Tenez toujours compte des mises en garde signalées
par le symbole de sécurité (
) et la mention
Prudence, Attention ou Danger. Le non respect de ces instructions
peut entraîner des blessures graves voire mortelles.
Note: La sécurité en mode autonome s’ajoute à la sécurité générale/en mode manuel.
Le superviseur de la machine qui fonctionne en mode autonome est responsable des accidents et dommages causés aux autres personnes ou à leurs biens.
Lisez, comprenez et suivez toutes ces instructions et mises en garde avant de permettre à la machine de fonctionner en mode autonome.
L'usage ou l'entretien incorrect de cette machine peut occasionner des blessures graves ou mortelles. Pour réduire les risques, respectez toutes les consignes de sécurité.
Ne confiez pas l'utilisation ou l'entretien de la machine à des enfants ou à des personnes non compétentes. Seules les personnes responsables, formées à l'utilisation de la machine, ayant lu et compris les instructions et physiquement aptes sont autorisées à utiliser la machine ou à en faire l'entretien.
Ne confiez jamais l'utilisation ou l'entretien de la machine à des enfants ou à des personnes non qualifiées. La réglementation locale peut imposer un âge minimum pour les utilisateurs. Le propriétaire de la machine doit assurer la formation de tous les utilisateurs et mécaniciens.
Familiarisez-vous avec le maniement correct du matériel, les commandes et les symboles de sécurité.
Avant de quitter la position d'utilisation, serrez le frein de stationnement, coupez le moteur, enlevez la clé et attendez l'arrêt complet de toutes les pièces mobiles. Laissez refroidir la machine avant de la régler, la nettoyer, la remiser ou la réparer.
Apprenez à arrêter la machine et à couper le moteur rapidement.
Vérifiez toujours que les commandes de présence de l'utilisateur, les contacteurs de sécurité et les dispositifs de sécurité sont en place et fonctionnent correctement. N'utilisez pas la machine en cas de mauvais fonctionnement.
Avant de tondre, vérifiez toujours que les unités de coupe sont en bon état de marche.
Inspectez la zone de travail et débarrassez-la de tout objet qui pourrait être projeté par la machine.
Note: La sécurité en mode autonome s’ajoute à la sécurité générale/en mode manuel.
Inspectez la zone de travail et débarrassez-la de tout objet qui pourrait être projeté par la machine.
Familiarisez-vous avec le maniement correct du matériel, les commandes et les symboles de sécurité.
Apprenez comment arrêter la machine et empêcher les pièces de se déplacer.
N'utilisez pas la machine si tous les capots et autres dispositifs de protection appropriés ne sont pas en place et en bon état de marche.
N'admettez personne, notamment les enfants, dans la zone de fonctionnement autonome. N'autorisez jamais les enfants à surveiller la machine. Seul le personnel formé est autorisé à surveiller cette machine pendant qu’elle fonctionne en mode autonome.
Ne vous tenez pas debout, ne vous asseyez pas et ne montez pas sur la machine, et n'autorisez personne d'autre à le faire lorsque la machine fonctionne en mode autonome.
Examinez régulièrement la zone de travail pour détecter les nouveaux risques et y remédier avant d’utiliser la machine.
Si la machine se retourne, ne vous approchez pas des pièces en mouvement.
Faites preuve de la plus grande prudence quand vous manipulez du carburant, en raison de son inflammabilité et du risque d'explosion des vapeurs qu'il dégage.
Éteignez cigarettes, cigares, pipes et autres sources d'étincelles.
Utilisez exclusivement un bidon à carburant homologué.
N'enlevez pas le bouchon du réservoir de carburant et n'ajoutez pas de carburant quand le moteur tourne ou est encore chaud.
N'ajoutez pas de carburant et ne vidangez pas le réservoir dans un local fermé.
Ne remisez pas la machine ni les bidons de carburant à proximité d'une flamme nue, d'une source d'étincelles ou d'une veilleuse, telle celle d'un chauffe-eau ou autre appareil.
Si vous renversez du carburant, ne mettez pas le moteur en marche. Évitez toute source possible d'inflammation jusqu'à dissipation complète des vapeurs de carburant.
Le propriétaire/l'utilisateur est responsable des accidents pouvant entraîner des dommages corporels et matériels et peut les prévenir.
Portez une tenue adéquate, y compris une protection oculaire, un pantalon, des chaussures solides à semelle antidérapante et des protecteurs d'oreilles. Si vos cheveux sont longs, attachez-les et ne portez pas de vêtements amples ni de bijoux pendants.
N'utilisez pas la machine si vous êtes fatigué(e), malade ou sous l'emprise de l'alcool, de médicaments ou de drogues.
Accordez toute votre attention à l'utilisation de la machine. Ne vous livrez à aucune activité risquant de vous distraire, au risque de causer des dommages corporels ou matériels.
Avant de démarrer le moteur, assurez-vous que tous les embrayages sont au point mort, que le frein de stationnement est serré et que vous êtes au poste d'utilisation.
Ne transportez jamais de passagers sur la machine.
N'admettez personne, notamment les enfants, dans le périmètre de travail.
N'utilisez la machine que si la visibilité est bonne afin d'éviter les trous ou autres dangers cachés.
Évitez de tondre quand l'herbe est humide, car la perte de motricité peut faire déraper la machine.
N'approchez pas les pieds et les mains des unités de coupe.
Avant de faire marche arrière, vérifiez que la voie est libre juste derrière la machine et sur sa trajectoire.
Faites preuve de prudence à l'approche de tournants sans visibilité, de buissons, d'arbres ou d'autres objets susceptibles de gêner la vue.
Arrêtez les unités de coupe quand vous ne tondez pas.
Ralentissez et faites preuve de prudence quand vous changez de direction, ainsi que pour traverser des routes et des trottoirs avec la machine. Cédez toujours la priorité.
Ne faites tourner le moteur que dans des lieux bien aérés. Les gaz d'échappement contiennent du monoxyde de carbone dont l'inhalation est mortelle.
Ne laissez pas la machine en marche sans surveillance.
À moins de préparer la machine à fonctionner en mode autonome, procédez comme suit avant de quitter la position d’utilisation :
Garez la machine sur une surface plane et horizontale.
Abaissez les unités de coupe au sol et vérifiez qu'elles sont débrayées.
Serrez le frein de stationnement.
Coupez le moteur et enlevez la clé.
Attendez l'arrêt complet de tout mouvement.
N'utilisez la machine que si la visibilité est suffisante et dans de bonnes conditions météorologiques. N'utilisez pas la machine si la foudre menace.
Ne retirez aucun des composants de la structure ROPS de la machine.
Attachez la ceinture de sécurité et apprenez à la détacher rapidement en cas d'urgence.
Attachez toujours votre ceinture de sécurité.
Vérifiez soigneusement où se trouvent les obstacles en hauteur et ne les touchez pas.
Maintenez la structure ROPS en bon état en vérifiant minutieusement et régulièrement si elle est endommagée et en maintenant toutes les fixations bien serrées.
Remplacez tous les composants de la structure ROPS qui sont endommagés. Ne les réparez pas et ne les modifiez pas.
Les pentes augmentent significativement les risques de perte de contrôle et de retournement de la machine pouvant entraîner des accidents graves, voire mortels. Vous êtes responsable de la sécurité d'utilisation de la machine sur les pentes. L'utilisation de la machine sur une pente, quelle qu'elle soit, demande une attention particulière.
Évaluez l'état du terrain, étudiez-le et balisez-le pour déterminer si la pente permet d'utiliser la machine sans risque. Faites toujours preuve de bon sens et de discernement quand vous réalisez cette étude.
Lisez les instructions relatives à l'utilisation sur les pentes ci-dessous avant d'utiliser la machine sur une pente. Avant d'utiliser la machine, examinez l'état actuel du terrain pour déterminer s'il se prête à l'utilisation de la machine. Les variations de terrain peuvent modifier le fonctionnement de la machine sur les pentes.
Évitez de démarrer, de vous arrêter ou de tourner sur les pentes. Évitez de changer brusquement de vitesse ou de direction. Dans les virages, procédez lentement et progressivement.
N'utilisez pas la machine si l'adhérence, la direction ou la stabilité peuvent être compromises.
Enlevez ou balisez les obstacles tels que fossés, trous, ornières, bosses, rochers ou autres dangers cachés. L'herbe haute peut masquer les obstructions. Les irrégularités du terrain peuvent provoquer le retournement de la machine.
Tenez compte du fait qu'une perte de l'adhérence peut se produire sur l'herbe humide, en travers des pentes ou dans les descentes. La perte d'adhérence des roues motrices peut faire déraper la machine et entraîner la perte du freinage et de la direction.
Faites preuve de la plus grande prudence lorsque vous utilisez la machine près de fortes dénivellations, de fossés, de berges, d'étendues d'eau ou autres dangers. La machine pourrait se retourner brusquement si une roue passe par-dessus une dénivellation quelconque et se retrouve dans le vide, ou si un bord s'effondre. Établissez une zone de sécurité entre la machine et tout danger potentiel.
Repérez les dangers potentiels depuis le bas de la pente. Si vous constatez la présence de dangers, tondez la pente avec une machine à conducteur marchant.
Dans la mesure du possible, gardez les unités de coupe abaissées au sol quand vous utilisez la machine sur des pentes. Si vous levez les unités de coupe alors que la machine se déplace sur une pente, elle peut devenir instable.
Redoublez de prudence quand des systèmes de ramassage ou d'autres accessoires sont montés sur la machine. Ceux-ci peuvent modifier la stabilité et entraîner la perte de contrôle de la machine.
À moins de vous préparer à utiliser la machine en mode autonome, serrez le frein de stationnement, coupez le moteur, enlevez la clé et attendez l'arrêt complet de tout mouvement avant de quitter la position d'utilisation. Laissez refroidir la machine avant de la régler, la nettoyer, la remiser ou la réparer.
Pour éviter les risques d'incendie, enlevez les débris d'herbe coupée et autres qui sont agglomérés sur les unités de coupe et les dispositifs d'entraînement. Nettoyez les coulées éventuelles d'huile ou de carburant.
Fermez le robinet d'arrivée de carburant avant de remiser ou de faire transporter la machine.
Désengagez l'entraînement de l'outil pendant le transport de la machine ou qu'elle ne sert pas.
Laissez refroidir la machine avant de la remiser dans un local fermé.
Faites l'entretien de la ou des ceintures de sécurité, et nettoyez-les au besoin.
Ne remisez pas la machine ni les bidons de carburant à proximité d'une flamme nue, d'une source d'étincelles ou d'une veilleuse, telle celle d'un chauffe-eau ou d'autres appareils.
Le remorquage ne doit être effectué que par une machine équipée à cet effet. L'équipement remorqué ne doit être attaché qu'au point d'attelage.
Suivez les recommandations du fabricant en ce qui concerne les limites de poids relatives au matériel remorqué et au remorquage sur pentes. Sur les pentes, le poids du matériel remorqué peut provoquer une perte de la motricité et du contrôle de la machine.
N'autorisez jamais ni enfants ni adultes à monter sur ou dans le matériel remorqué.
Conduisez lentement et prévoyez une distance de freinage plus grande que la normale pendant le remorquage.
Avant de quitter la position d'utilisation, effectuez la procédure suivante :
Garez la machine sur une surface plane et horizontale.
Débrayez la ou les unités de coupe.
Serrez le frein de stationnement.
Coupez le moteur et enlevez la clé.
Attendez l'arrêt complet de tout mouvement.
Laissez refroidir les composants de la machine avant d'effectuer un entretien.
Si possible, n'effectuez aucun entretien quand le moteur est en marche. Ne vous approchez pas des pièces mobiles.
Soutenez la machine avec des chandelles chaque fois que vous devez travailler dessous.
Libérez la pression emmagasinée dans les composants avec précaution.
Maintenez toutes les pièces de la machine en bon état de marche et toutes les fixations bien serrées.
Remplacez tous les autocollants usés ou endommagés.
Pour garantir le fonctionnement sûr et optimal de la machine, utilisez uniquement des pièces de rechange Toro d'origine. Les pièces de rechange provenant d'autres constructeurs peuvent être dangereuses et leur utilisation risque d'annuler la garantie de la machine.
Note: La sécurité en mode autonome s’ajoute à la sécurité générale/en mode manuel.
Ne modifiez pas la machine ou son logiciel de quelque manière que ce soit.
Ne placez rien sur la machine.
Ne modifiez pas ou ne neutralisez pas les commandes de la machine ou les dispositifs de sécurité.
L'usage ou l'entretien incorrect de cette machine peut occasionner des blessures, parfois mortelles.
Toutes les procédures d’entretien doivent être effectuées par un technicien certifié.
Pour garantir le fonctionnement sûr et optimal et de la machine, utilisez exclusivement des pièces de rechange autonomes Toro d'origine. Les pièces de rechange autonomes d'autres constructeurs peuvent être dangereuses.
Coupez le moteur avant de contrôler le niveau d'huile ou d'ajouter de l'huile dans le carter.
Ne modifiez pas le réglage du régulateur et ne faites pas tourner le moteur à un régime excessif.
Débranchez les connecteurs d'alimentation principale avant de réparer la machine.
Chargez la batterie dans un endroit dégagé et bien aéré, à l'écart des flammes ou sources d'étincelles. Débranchez le chargeur avant de brancher ou de débrancher la batterie. Portez des vêtements de protection et utilisez des outils isolés.
Avant de quitter la position d'utilisation, coupez le moteur de la machine, enlevez la clé et attendez l'arrêt complet de tout mouvement. Laissez refroidir la machine avant de la régler, la nettoyer, la remiser ou la réparer.
Ne remisez pas la machine ni les bidons de carburant à proximité d'une flamme nue, d'une source d'étincelles ou d'une veilleuse, telle celle d'un chauffe-eau ou autre appareil.
![]() |
Des autocollants de sécurité et des instructions bien visibles par l'opérateur sont placés près de tous les endroits potentiellement dangereux. Remplacez tout autocollant endommagé ou manquant. |














Voir la Définition des termes pour une description des modes énumérés sur l’autocollant 145-0345.

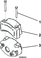
Pièces nécessaires pour cette opération:
| Unité de coupe (à commander séparément; contactez votre dépositaire Toro agréé) | 3 |
| Contrepoids électrique | 3 |
| Vis d'assemblage | 6 |
| Joint torique | 3 |
Préparez les unités de coupe pour l'installation; voir le Manuel de l'utilisateur des unités de coupe.
Appliquez de la graisse à l'intérieur de la cannelure de l'accouplement d'entraînement.
Placez un joint torique sur chaque moteur de cylindre, comme montré à la Figure 3.

Fixez le contrepoids électriques au contrepoids existant à l'aide de 2 vis, comme montré à la 2Figure 4.

Installez les unités de coupe; voir Montage des unités de coupe.
Branchez les connecteurs d'alimentation principale; voir Connecteurs d'alimentation principale.
Utilisez l'InfoCenter pour programmer les réglages la machine; voir Utilisation de l'InfoCenter pour régler les paramètres de la machine.
Pièces nécessaires pour cette opération:
| Autocollant de l'année de production | 1 |
| Autocollant de sécurité CE (réf. 139-8321) | 1 |
| Autocollant CE/UKCA (réf. 138-9470) | 1 |
Si vous utilisez cette machine dans un pays qui applique les normes CE/UKCA, installez les autocollants suivants :
Autocollant de l'année de production et autocollant CE/UKCA : apposez les autocollants sur le tube du cadre sous le siège et la plaque du numéro de série; voir Figure 5.

Autocollant de sécurité CE : apposez l'autocollant de sécurité CE (réf. 139-8321) par dessus l'autocollant de sécurité existant (réf. 139-8320) situé sur le couvercle du volant; voir Figure 6.

Les pneus sont surgonflés à l'usine pour l'expédition. Avant de démarrer la machine, réduisez la pression au niveau adéquat; voir Contrôle de la pression des pneus.
Vérifiez que tous les utilisateurs de la machine ont les identifiants myTurf; voir le Guide du logiciel myTurf.
Dans myTurf, ajoutez la machine en tant qu’Actif; voir le Guide du logiciel myTurf.
Les techniciens qui ont accès au matériel Toro trouveront les instructions pour activer ou renouveler un Service cellulaire ou un plan RTK sur le Centre de service GeoLink.
Note: Ces deux actions sont nécessaires pour utiliser la machine en mode autonome.
Recherchez le bulletin de service « GeoLink Activation Process » (procédure d’activation Geolink).
Suivez et complétez les étapes du bulletin de service.
Attendez que Toro envoie les identifiants du service cellulaire et du plan RTK avant de continuer.
Insérez et tournez la clé à la position CONTACT.
Connectez-vous à la machine à l’aide de l’appli de supervision de GeoLink Mow.
Dans la barre de menu supérieure, sélectionnez le bouton RéGLAGES.
Sous Local Reference Point (point de référence local), définissez les coordonnées et la hauteur d’un point de référence local que la machine utilisera pour la localisation RTK GNSS.
Note: Utilisez les degrés décimaux pour les coordonnées et les mètres pour la hauteur.
Sous NTRIP Corrections (corrections NTRIP), saisissez l’information pour le caster NTRIP.
Sous Credentials (identifiants), saisissez l’information relative à l’abonnement RTK.
Note: Il est recommandé d’effectuer ce test sur le terrain ou la machine sera utilisée. Cela donnera une idée précise de la force du signal envoyé à la machine pendant le fonctionnement normal.
Insérez et tournez la clé à la position CONTACT.
Conduisez la machine jusqu'à une zone extérieure.
Connectez-vous à la machine à l’aide de l’appli de supervision de GeoLink Mow.
Dans la barre de menu supérieure, sélectionnez le bouton DIAGNOSTICS .
Sous Mobile network (réseau mobile), confirmez qu’il existe une connexion cellulaire à la machine.
Sous Localization (localisation), confirmez qu’il existe une connexion RTK à la machine.
Note: La connexion de la machine à un réseau cellulaire ou une station de base RTK peut prendre quelques minutes.
Validez le bon fonctionnement des capteurs pour le système de détection d’objets avant d’activer le mode autonome; voir Vérification du système de détection d’objets.
Insérez et tournez la clé à la position CONTACT.
Conduisez la machine jusqu'à une zone extérieure.
Appuyez sur le côté gauche du sélecteur de mode autonome/manuel pendant 2 secondes pour activer le mode autonome; voir Vérification du système de commande autonome Sélecteur de mode autonome/manuel.
Connectez-vous à la machine à l’aide de l’appli de supervision de GeoLink Mow.
Dans la barre de menu supérieure, sélectionnez le bouton DIAGNOSTICS .
Sélectionnez les champs de diagnostic pour ouvrir les menus déroulants détaillés. Vérifiez que l’ACS fonctionne correctement.
Vérifiez que le toit de la machine ne présente pas d’antennes tordues.
Insérez et tournez la clé à la position CONTACT.
Conduisez la machine jusqu'à une surface à tondre.
Préparez un test CMA; voir Cartographie de la zone de fonctionnement autonome et Cartographie de la zone de tonte contiguë.
Créez une mission pour la tondeuse : pour la première tâche, faites-lui effectuer une passe de nettoyage dans le sens horaire sur une allée. Faites-lui ensuite effectuer une passe de nettoyage dans le sens antihoraire sur la même allée; voir Création d’une mission et Création d’un modèle de tonte personnalisé
Exécutez la mission; voir Exécution d’une mission.
Observez la machine pendant la mission en recherchant des irrégularités de trajectoire entre les passes dans le sens horaire et dans le sens antihoraire.
Important: Si des différences sont constatées, il est possible que les antennes ne soient pas centrées; contactez l’assistance technique.


Le commutateur d'allumage a 3 positions : ARRêT, CONTACT et DéMARRAGE (Figure 9).
Utilisez le commutateur d'allumage pour démarrer ou couper le moteur, ou pour conduire la machine sans l'aide du moteur; voir Démarrage du moteur,Arrêt du moteur et Conduire la machine sans l'aide du moteur.

Le sélecteur de fonction (Figure 8) permet de choisir 2 modes de déplacement plus le POINT MORT.
Position POINT MORT – point mort et rodage des lames
Position TONTE – pour la tonte
Position TRANSPORT – pour le transport
Vous pouvez passer du mode TONTE au mode TRANSPORT ou inversement (mais pas au POINT MORT) pendant le déplacement de la machine sans causer de dommages à cette dernière.
Vous pouvez déplacer la commande de la position de TRANSPORT ou de TONTE à la position POINT MORT pour immobiliser la machine. Si vous essayez de passer de la position POINT MORT à la position de TONTE ou de TRANSPORT alors que la pédale n'est pas en position NEUTRE, un avis s'affiche.
Ce levier (Figure 8) permet d'élever et d'abaisser les unités de coupe. Le levier permet d'engager ou de désengager les cylindres des unités de coupe selon la position du sélecteur de fonction :
Sélecteur de fonction en position POINT MORT : les unités de coupe s'élèvent ou s'abaissent tant que vous déplacez le levier en avant ou en arrière, mais les cylindres ne s'engageront que si la machine est en mode rodage.
Sélecteur de fonction en position TONTE : déplacez le levier en avant pendant la tonte pour abaisser les unités de coupe et démarrer les cylindres. Ramenez le levier en arrière pour arrêter les cylindres et lever les unités de coupe.
Pour arrêter les cylindres sans lever les unités de coupe, ramenez le levier en arrière momentanément, puis relâchez-le. Ramenez le levier en avant pour démarrer les cylindres ou en arrière pour lever les unités de coupe. Vous devez activer cette fonction à partir de l'InfoCenter; voir Réglage de la temporisation de pause des unités de coupe.
Sélecteur de fonction en position TRANSPORT : les unités de coupe peuvent être levées, mais les cylindres ne s'engageront pas. Un avis s'affiche sur l'InfoCenter si vous tentez d'abaisser les unités de coupe.
La pédale de déplacement (Figure 10) a 3 fonctions : faire avancer la machine, la faire reculer et l'arrêter. Appuyez sur le haut de la pédale pour avancer et sur le bas pour faire marche arrière.
Pour arrêter la machine, laissez revenir la pédale de déplacement en position NEUTRE. Ne faites pas reposer le talon sur le bas de la pédale de déplacement (position MARCHE ARRIèRE) pendant que la machine avance (Figure 11).


Vous pouvez configurez la vitesse de déplacement maximale en mode manuel comme suit :
4,8 à 8 km/h (3 à 5 mi/h) – vitesse de tonte en marche avant
8 à 16 km/h (5 à 10 mi/h) – vitesse de transport
3,2 à 8 km/h (2 à 5 mi/h) – vitesse de marche arrière
Appuyez sur la pédale (Figure 10) et levez ou abaissez le bras de direction à la position la plus confortable pour l'utilisateur, puis relâchez la pédale pour bloquer le bras en place.
Appuyez sur la pédale de frein (Figure 12) pour arrêter la machine.

Utilisez le frein de stationnement (Figure 12) pour empêcher la machine de rouler. Pour serrer le frein de stationnement, enfoncez la pédale de frein et poussez le haut de la pédale vers l'avant pour la verrouiller en position. Pour desserrer le frein de stationnement, appuyez sur la pédale jusqu'à ce que le verrou se rétracte.
Outre le bouton d'arrêt de l’appli de supervision, une autre méthode pour arrêter la machine consiste à appuyer sur le bouton d'arrêt d’urgence à l’arrière de la machine.
Pour désengager l’arrêt d'urgence :
Tirez sur le bouton.
Réinitialisez le sélecteur de mode autonome/manuel pour activer le mode autonome.
Important: Le bouton d'arrêt d'urgence fonctionne uniquement lorsque la machine est en mode autonome. L’activation du bouton d'arrêt d'urgence n’a aucun effet sur le fonctionnement de la machine en mode manuel.

Appuyez sur le côté gauche du sélecteur de mode autonome/manuel pendant 2 secondes pour activer le mode AUTONOME.
Appuyez sur le côté droit du sélecteur pour activer le mode MANUEL.

Le voyant d'état du mode autonome indique l’état autonome actuel de la machine :
Blanc continu – ACS activé et en mode manuel
Vert continu – mode autonome en cours d’exécution; ne pas s’approcher
Clignotement vert – en mode autonome, mais objet à proximité
Rouge continu – pas de risque à s’approcher; machine garée
L’appli de supervision GeoLink Mow est l’outil utilisé pour configurer et utiliser une machine pour la tonte autonome.
| Élément de la barre de menu | Description |
| HOME | Le menu HOME (accueil) est le premier écran dans l’appli web. Il comprend des raccourcis vers les menus DASHBOARD (tableau de bord), MISSIONS, MAP (carte) et RéGLAGES, ainsi que les conditions d’utilisation et les mentions légales. |
| DASHBOARD (tableau de bord) | Le menu DASHBOARD répertorie les états actuels de la machine et des missions. Les boutons de commande au bas de l’écran permettent également de contrôler la machine à distance. |
| MISSIONS | Le menu MISSIONS permet de créer de nouvelles missions et d’afficher les missions actuelles ainsi que l’historique des missions. Il permet de créer des modèles de tonte personnalisés. |
| MAP |
Le menu MAP (carte) affiche une carte de votre terrain et des allées cartographiées. Il contient également des commandes permettant de cartographier les zones opérationnelles et d’autres fonctions autonomes. Pendant le fonctionnement de la machine, il peut être utilisé pour surveiller la machine pendant une mission. |
| RéGLAGES | Le menu RéGLAGES permet de changer les paramètres et les identifiants RTK, les paramètres de fonctionnement généraux et les préférences personnelles pour la machine. |
| HELP |
Le menu HELP (aide) permet d’accéder aux données cartographiques, aux journaux de la machine, au manuel de l’utilisateur, aux données de performance et aux détails sur la version du logiciel. |
| DIAGNOSTICS |
Le menu DIAGNOSTICS répertorie les états de diverses parties de la machine, y compris le matériel, les capteurs, ainsi que les données de localisation et de connectivité. Cette information peut être utilisée pour dépanner la machine, car elle permet de savoir rapidement quelles commandes sont actives, désactivées ou présentent des problèmes. |
| LOGOUT |
L’option Log out (déconnexion) vous permet de vous déconnecter de votre compte myTurf. |
| Option de menu | Description | |
| Point de référence local | ||
| LATITUDE | Permet de régler la latitude d’un point de référence local que la machine utilise pour la localisation RTK GNSS. Utilisez le format des degrés décimaux. | |
| LONGITUDE | Permet de régler la longitude d’un point de référence local que la machine utilise pour la localisation RTK GNSS. Utilisez le format des degrés décimaux. | |
| HAUTEUR | Permet de régler la hauteur (en mètres) d’un point de référence local que la machine utilise pour la localisation RTK GNSS. | |
| Corrections NTRIP | ||
| NOM D’HôTE | Définit l’URL du nom de connexion pour le caster NTRIP (RTK). | |
| NUMéRO DE PORT | Définit le numéro de port du caster. | |
| POINT DE MONTAGE | Définit un nom de point de montage pour le flux de données GNSS sortant du caster. | |
| Message NMEA GGA | ||
| NéCESSAIRE | Active ou désactive les messages GGA NMEA. Nécessaire est activé par défaut. | |
| PéRIODE DE MISE à JOUR | Définit la fréquence des messages GGA NMEA. La valeur par défaut est 5 secondes. | |
| Identifiants | ||
| NOM D’UTILISATEUR | Saisir le nom d’utilisateur pour l’abonnement RTK. | |
| MOT DE PASSE | Saisir le mot de passe pour l’abonnement RTK. | |
| Carte | ||
| VERROUILLAGE DE CARTE | Supprime la possibilité de modifier, effacer ou créer de nouvelles zones cartographiées. | |
| Tonte | ||
| CHEVAUCHEMENT | Permet de définir le degré de chevauchement durant les passes de tonte. | |
| Vitesses de la machine | ||
| VITESSE DE TONTE PRINCIPALE | Définit la vitesse maximale autorisée de la machine pendant la tonte. | |
| VITESSE DE TONTE DU PéRIMèTRE | Définit la vitesse maximale autorisée de la machine pendant les passes de nettoyage. | |
| VITESSE DE TRANSPORT | Définit la vitesse maximale autorisée de la machine lorsqu’elle ne tond pas. | |
| Info machine | ||
| SURNOM | Permet de définir un nom pour la machine. Il sera utilisé dans les messages envoyés au téléphone du superviseur. | |
| Info utilisateur | ||
| LANGUE | Définit la langue de l’interface utilisateur. | |
| UNITéS | Définit les unités de mesure de l’appli. | |
| RETOUR RéGLAGES D’USINE | Permet de rétablir les réglages d’usine par défaut. | |
Note: Après avoir changé les réglages, sélectionnez Enregistrer pour sauvegarder vos réglages, puis effectuez un cycle d’allumage pour activer les réglages.
| Option de menu |
| MOBILE NETWORK > CARRIER NAME (réseau mobile > nom de l’opérateur) |
| MOBILE NETWORK > CONNECTION TYPE (réseau mobile > type de connexion) |
| MOBILE NETWORK > SIGNAL QUALITY (réseau mobile > qualité du signal) |
| LOCALIZATION > GNSS STATUS (localisation > état GNSS) |
| LOCALIZATION > GNSS STATUS (localisation > précision GNSS) |
| LOCALIZATION > VALID SATELLITES (localisation > satellites valides) |
| LOCALIZATION > ROVER SATELLITES (localisation > satellites rover) |
| LOCALIZATION > BASE SATELLITES (localisation > satellites de base) |
| LOCALIZATION > RTK CONNECTION (localisation > connexion RTK) |
| LOCALIZATION > LOCALIZATION ACCURACY (localisation > précision de la localisation) |
| EMERGENCY STOP (arrêt d’urgence) |
| SENSORS > LIDAR DISTANCE (capteurs > distance Lidar) |
| SENSORS > SONAR FRONT LEFT (capteurs > sonar avant gauche) |
| SENSORS > SONAR REAR LEFT (capteurs > sonar arrière gauche) |
| SENSORS > SONAR REAR RIGHT (capteurs > sonar arrière droit) |
| SENSORS > SONAR FRONT RIGHT (capteurs > sonar avant droit) |
| SENSORS > SONAR TOP LEFT (capteurs > sonar supérieur gauche) |
| SENSORS > SONAR TOP RIGHT (capteurs > sonar supérieur droit) |
| SENSORS > RADAR FIELD NEAR (capteurs > radar champs à proximité) |
Note: La machine peut s’arrêter si les champs SIGNAL QUALITY (qualité du signal) ou RTK CONNECTION (connexion RTK) sont BAD (mauvais). La machine ne dispose pas d'une connexion suffisamment forte au réseau cellulaire ou à la station de base RTK pour fonctionner.
| Option de menu | Description | |
| État de la machine | ||
| STATE (état) | Indique l’état actuel de la machine. Voir État de la machine pour une liste des états de la machine. | |
| GNSS | Indique la qualité du signal GNSS. 90 % ou plus est une bonne qualité; 60 % ou moins est une mauvaise qualité. Utilisez le menu DIAGNOSTICS et la liste LOCALISATION pour aider à diagnostiquer les problèmes de GNSS/localisation. | |
| SPEED (vitesse) | Indique la vitesse actuelle de la machine. | |
| État de la mission | ||
| STATE (état) | Indique l’état de la mission en cours, sa progression et le temps restant pour la terminer. Voir Mission State (état des missions) pour une liste des états de mission. Si aucune mission n’est sélectionnée, la liste est vide. | |
| MISSION | Indique le numéro d’identification de la mission sélectionnée. | |
| FAIRWAYS (allées) | Affiche les allées dans la file d’attente de la mission en cours et une barre de progression pour chaque allée. | |
| PATTERN (modèle) | Indique le modèle de tonte pour la mission en cours. Le chargement peut prendre jusqu’à 10 secondes. | |
| PROGRESS (progression) | Indique le pourcentage de progression de la mission en cours. Le chargement peut prendre jusqu’à 10 secondes. | |
| TIME REMAINING (temps restant) | Indique le temps estimé jusqu’à la fin de la mission. | |
| CONTINUE (continuer) | Ce bouton apparaît 10 minutes avant la tonte programmée par la machine de l’allée suivante dans la mission. Un texto est envoyé à l’appareil mobile du superviseur avec un lien vers le TABLEAU DE BORD. Sélectionnez le bouton, lisez l’accord d‘approbation et sélectionnez Accept (accepter) pour permettre à la machine de se rendre à l’allée suivante. | |
Consultez le tableau suivant pour connaître la signification de l’affichage de l’état de la machine :
| Affichage | Signification | Solution (le cas échéant) |
| Unknown (inconnu) | Erreur inconnue | Effectuez un cycle d’allumage de la machine. Note: Cela peut demander jusqu’à 5 minutes. |
| Setup (réglage) | Le réglage est en cours. | Attendez et tenez-vous à l’écart de la machine. |
| Idle (inactive) | La machine est réglée sur IDLE (inactive). | Réglez le mode à MANUAL (manuel) ou AUTO. |
| Mode manuel | La machine est réglée au mode MODE MANUEL | |
| Setup (réglage) | La machine est configurée pour le mode AUTO. | Appuyez sur le bouton Aller et acceptez l’avis. |
| Awaiting notice (en attente d’avis) | L’appli attend que vous acceptiez l’avis. | Appuyez sur le bouton Aller et acceptez l’avis. |
| Calibrating (étalonnage) | La machine lance le mode autonome. | Attendez au moins 3 minutes et écartez-vous de la machine. |
| On standby (en veille) | La machine est en mode autonome et au repos. | Planifiez une mission et appuyez sur le bouton Aller. |
| Executing (exécution en cours) | La machine est en train d’exécuter une mission. | |
| Going to sidestop (vers arrêt latéral) | La machine se gare sur le côté. | |
| Going to pickup (vers point de récupération) | La machine se rend au point de récupération. | |
| Going to point (vers le point) | La machine se rend au point sélectionné par l’opérateur sur la carte. | |
| Parked (en stationnement) | La machine est en mode STATIONNEMENT. |
Note: Si la solution consiste à attendre, 30 secondes devraient suffire pour que l’état passe à un autre état. Si ce n’est pas le cas, effectuez un cycle d’allumage de la machine.
Consultez le tableau suivant pour connaître la signification de l’affichage de l’état des missions :
| Affichage | Signification | Solution (le cas échéant) |
| Error (erreur) | Erreur inconnue | Effectuez un cycle d’allumage de la machine. Note: Cela peut demander jusqu’à 5 minutes. |
| Setup (réglage) | Réglage en cours | Patientez. |
| Initializing (initialisation) | Initialisation en cours | Patientez. |
| Loading (chargement en cours) | Chargement des missions | Patientez. |
| Preparing (préparation en cours) | Chargement des missions | Patientez. |
| Idle (inactive) | Aucune mission sélectionnée | Planifiez une mission et appuyez sur le bouton Aller. |
| Mowing (tonte) | Tonte en cours | |
| Paused (pausée) | La mission est pausée. | Appuyez sur le bouton Aller pour reprendre la mission. |
| Cancelled (annulée) | La mission a été annulée. | Créez une mission. |
| Completed (terminée) | La mission est terminée. | Planifiez une nouvelle mission et appuyez sur le bouton Aller . |
| Waiting (en attente) |
Note: Si la solution consiste à attendre, attendez 3 secondes pour permettre à l’état de passer à un autre état. S’il ne passe pas à l’autre état, effectuez un cycle d’allumage de la machine.
L’écran DASHBOARD (tableau de bord) comprend des boutons qui permettent de contrôler la machine durant une mission.

Des messages de diagnostic s’affichent chaque fois que la machine effectue une action importante ou rencontre une anomalie.
Note: Filtrez les messages en fonction de leur degré de gravité en sélectionnant un niveau de gravité à l’aide des boutons situés en haut à droite.
| Icône | Signification |
Info ![]() | Avis concernant des actions importantes. |
Problème![]() | La machine présente un problème mais continue à fonctionner. |
Erreur ![]() | La machine présente un problème qui l’empêche de fonctionner. |
| Affichage | Signification | Solution (le cas échéant) |
| Canceled mission ## (mission ## annulée) | La mission a été annulée par l’opérateur. | Planifiez une nouvelle mission et appuyez sur le bouton Aller . |
| Canceling mission ## (annulation de mission ## en cours) | La mission est en cours d’annulation par l’opérateur. | Planifiez une nouvelle mission et appuyez sur le bouton Aller . |
| Completed mission ## (mission ## terminée) | La mission est terminée. | Planifiez une nouvelle mission et appuyez sur le bouton Aller . |
| Error in mission ## (erreur dans mission ##) | La mission a rencontré une erreur et la machine ne peut pas fonctionner. |
|
| Executing mission ## (exécution de mission ##) | La mission est en cours d’exécution. | |
| Initializing mission ## (initialisation de mission ##) | La mission va commencer. | |
| Loading mission ## (chargement de mission ##) | Les détails de la mission sont en cours de chargement. | |
| Pause mission ## (pauser mission ##) | La mission a été pausée par l’opérateur. | |
| Arrived at side stop point (arrivé au point d’arrêt latéral) | La machine est arrivée au point d’arrêt latéral comme demandé par l’opérateur. | |
| Arrived at pickup point (arrivé au point de récupération) | La machine est arrivée au point de récupération comme demandé par l’opérateur. | |
| System started (système démarré) | La clé de la machine est en position CONTACT et le système ACS démarre. | |
| Arrived at specified point (arrivé au point spécifié) | La machine est arrivée au point spécifié choisi par l’opérateur. | |
| Unable to prepare mission (impossible de préparer la mission) | La machine a rencontré une erreur lors du traitement des détails de la mission. | |
| Difficult start position (position de départ difficile) | La machine se trouve dans une position de départ difficile. | |
| Preparing execution of mission ## (préparation de l’exécution de la mission ##) | La mission est en cours de traitement. | |
| Map is empty (carte vide) | Toutes les données cartographiques sont absentes de la base de données. |
| Option de menu | Définition |
| MAP DATA (données cartographies) |
Permet de télécharger, exporter et importer les fichiers cartographiques utilisés sur la machine. Permet d’exporter des cartes vers les autres machines d’un parc, ou, pour réduire l’usure du gazon, d’importer des cartes supplémentaires avec trajectoires de transit différentes vers la machine; voir Enregistrement et exportation des données cartographiques. |
| LOGS (journaux) |
Cette section permet de télécharger les journaux de la machine. Il est possible de télécharger des journaux complets ou seulement le dernier rapport. Vous pouvez également enregistrer une période spécifique en utilisant les commandes d’enregistrement intégral des échantillons. Note: Ces fichiers étant volumineux, il est déconseillé de les télécharger lors d’une connexion cellulaire. |
| MANUAL (manuel) |
Sélectionnez ce lien pour afficher le Manuel de l’utilisateur. |
| ACS PERFORMANCE COUNTERS (compteurs de performance ACS) |
Permet de visualiser les données relatives aux performances et à l’historique de la machine en mode autonome. |
| SOFTWARE INFORMATION (information sur le logiciel) |
Permet de visualiser les versions du logiciel pour différents systèmes autonomes. |
L'écran LCD de l'InfoCenter (Figure 16) affiche des renseignements relatifs à la machine, tels que l'état de fonctionnement, divers diagnostics et autres données la concernant.

Note: Chaque bouton peut changer de fonction selon les besoins du moment. Chaque bouton est repéré par une icône illustrant sa fonction actuelle.
Utilisez les boutons de navigation pour vous déplacer entre les écrans et les options des menus :
Écran de présentation : il affiche les données d'état actuel de la machine pendant quelques secondes une fois que vous avez tourné la clé à la position CONTACT.
Écran d'information principal (Figure 17) : il affiche les données actuelles de la machine quand la clé est à la position CONTACT.

Écran du moteur eReel (Figure 18) : indique la vitesse et le courant du moteur de chaque unité de coupe.

Écran du moteur de traction (Figure 19) : indique l'angle de braquage actuel et l'intensité attribuée à chaque moteur de traction.

Menu principal; voir Comprendre les options des menus de l'InfoCenter.
![]() | Compteur horaire |
![]() | Le sélecteur de fonction est en position POINT MORT. |
![]() | Le sélecteur de fonction est en position TRANSPORT. |
![]() | Le sélecteur de fonction est en position TONTE. |
![]() | L’opérateur doit être assis sur le siège pendant le fonctionnement en mode manuel. |
![]() | Le frein de stationnement est serré. |
![]() | Le frein de stationnement électrique est serré. |
![]() | Démarrez le moteur. |
![]() | Engine (moteur) |
![]() | La PDF est engagée |
![]() | La PDF est désengagée. |
![]() | Batterie |
![]() | Indique que les unités de coupe sont en train de s'élever. |
![]() | Indique que les unités de coupe sont en train de s'abaisser. |
![]() | Actif |
![]() | Inactif |
![]() | Précédent |
![]() | Suivant |
![]() | Augmenter |
![]() | Diminuer |
![]() | Écran précédent |
![]() | Écran suivant |
![]() | Augmenter la valeur |
![]() | Réduire la valeur |
![]() | Menu |
![]() | Défilement vers le haut/bas |
![]() | Défilement vers la gauche/droite |
Pour accéder au menu principal, appuyez sur le bouton de retour en arrière/quitter à partir de l’un des écrans d'information.
Reportez-vous aux tableaux ci-après pour une description des options disponibles dans les différents menus :
| Option de menu | Description |
| ANOMALIES | Le menu ANOMALIES contient la liste des anomalies récentes de la machine. Reportez-vous au Manuel d'entretien ou adressez-vous à votre distributeur Toro agréé pour plus de renseignements sur le menu ANOMALIES. |
| ENTRETIEN | Le menu ENTRETIEN contient des données relatives à la machine telles que le nombre d'heures de fonctionnement, les compteurs et l'étalonnage. Il vous permet aussi d'activer la procédure de rodage des unités de coupe. Voir le tableau Entretien. |
| DIAGNOSTICS | Le menu DIAGNOSTICS énumère les divers états et données actuels de la machine. Vous pouvez utiliser ces renseignements pour détecter certains problèmes, car ils indiquent rapidement quelles commandes de la machine sont activées/désactivées, et donnent la liste des niveaux de commande (par ex. valeurs des capteurs). Voir le tableau Diagnostics. |
| RéGLAGES | Le menu RéGLAGES permet de modifier les réglages de l'affichage de l'InfoCenter. Voir le tableau Réglages. |
| RéGLAGES MACHINE | Le menu RéGLAGES MACHINE permet de modifier les réglages tels que la vitesse des cylindres, la vitesse de tonte maximale et la vitesse de transport maximale. Voir le tableau Réglages machine. |
| À PROPOS | Le menu À PROPOS indique le numéro de modèle, le numéro de série et la version du logiciel de votre machine. Voir le tableau À propos. |
AUTONOME![]() | Le menu AUTONOME répertorie les réglages permettant de tester le fonctionnement autonome de la machine. |
| Option de menu | Description |
| HOURS | Indique le nombre total d'heures de où le contact est établi, de fonctionnement du moteur et des cylindres, et de rodage des lames, ainsi que l'intervalle jusqu'au prochain entretien. |
| COUNTS | Indique le nombre de démarrages, tontes, pauses des unités de coupe et rodages des unités de coupe, ainsi que le nombre de fois où le moteur a été lancé plus de 30 secondes de suite. |
| BACKLAP | Engage/désengage la procédure de rodage des unités de coupe (quand vous engagez cette procédure, vous pouvez désengager le mode avec cette option ou en tournant la clé à la position ARRêT). |
CALIBRATION ![]() | Permet d'étalonner le système de direction, le système de déplacement et les actionneurs de levage. Pour plus de renseignements sur l'étalonnage, voir le manuel d'entretien. |
| Option de menu | Description |
| ENGINE | Indique les entrées et sorties relatives au démarrage du moteur. |
| 48V ENABLE | Indique les entrées et sorties du système 48 V. |
| GENERATOR | Indique les entrées et sorties de l’alternateur. |
| TRACTION | Indique les entrées et sorties de la pédale de déplacement. |
| STEERING | Indique les entrées et sorties de la direction. |
| LIFT/LOWER | Indique les entrées et sorties pour élever et abaisser les unités de coupe. |
| PTO | Indique les entrées et sorties pour l'activation du circuit de la PDF. |
CAN STATISTICS![]() | Indique les entrées et sorties du CAN. |
| 12V SYSTEM | Indique les entrées et sorties du système 12V. |
| AUTONOMOUS | Indique les entrées et sorties du système autonome. |
| Option de menu | Description |
| SAISIR PIN | Permet à une personne autorisée (surintendant/mécanicien) par votre entreprise et détenant le code PIN d'accéder aux menus protégés. |
| RéTROéCLAIRAGE | Permet de régler la luminosité de l'affichage LCD. |
| LANGUE | Permet de choisir la langue utilisée dans l'InfoCenter. |
| TAILLE DE POLICE | Permet de régler la taille de la police dans l’InfoCenter. |
| UNITéS | Cette option permet de choisir les unités utilisées sur l'InfoCenter. Les unités peuvent être métriques ou impériales. |
PROTECTION DES RéGLAGES![]() | Permet de commander les menus protégés. |
RETOUR RéGLAGES D'USINE![]() | Permet de réinitialiser l'InfoCenter aux réglages par défaut. |
| Option de menu | Description |
DURéE DE PAUSE![]() | Permet de régler la temporisation de pause des unités de coupe. |
VITESSE DE CYLINDRES![]() | Régule la vitesse des cylindres sur les unités de coupe. |
VITESSE D'ABAISSEMENT![]() | Définit la vitesse d'abaissement au sol des unités de coupe pour tondre. |
VITESSE RODAGE![]() | Régule la vitesse de rodage des lames. |
CONTRôLE DE LA TONTE![]() | Permet d'activer/désactiver la fonction contrôle de la tonte. |
NBRE DE LAMES![]() | Commande le nombre de lames pour chaque cylindre. Ce réglage est seulement nécessaire si la fonction CONTRôLE DE LA TONTE est ACTIVéE. |
HAUTEUR DE COUPE![]() | Règle la hauteur de coupe souhaitée. Ce réglage est seulement nécessaire si la fonction CONTRôLE DE LA TONTE est ACTIVéE. |
TONTE MAX.![]() | Règle la vitesse de déplacement maximale de la machine pendant la tonte. |
TRANSPORT MAX.![]() | Règle la vitesse de déplacement maximale de la machine pendant le transport. |
MARCHE ARRIèRE MAX.![]() | Règle la vitesse de déplacement maximale de la machine pendant la tonte en marche arrière. |
RALENTIR POUR TOURNER![]() | Active ou désactive la fonction ralentir pour tourner. |
KIT 3RM![]() | Active ou désactive le kit 3 roues motrices. |
| Option de menu | Description |
| MODèLE | Indique le numéro de modèle de la machine. |
| Nº de série | Indique le numéro de série de la machine. |
| VERSION LOG. | Indique la version du logiciel du contrôleur principal. |
| Rév logiciel ACS | Indique la version du logiciel de l'ACS. |
XDM-2700 ![]() | Indique la version du logiciel de l'InfoCenter. |
UNITé DE COUPE 1![]() | Indique la version du logiciel du moteur de l'unité de coupe centrale. |
UNITé DE COUPE 2![]() | Indique la version du logiciel du moteur de l'unité de coupe avant gauche. |
UNITé DE COUPE 3![]() | Indique la version du logiciel du moteur de l'unité de coupe avant droite. |
ALTERNATEUR![]() | Indique le numéro de série de l'alternateur. |
LEVAGE DESCENTE 1![]() | Indique le numéro de référence et la version du logiciel de l'unité de coupe centrale. |
LEVAGE DESCENTE 2![]() | Indique le numéro et la version du logiciel de l'unité de coupe avant gauche. |
LEVAGE DESCENTE 3![]() | Indique le numéro et la version du logiciel de l'unité de coupe avant droite. |
TRACTION1![]() | Indique le numéro et la version du logiciel du moteur de traction avant droit. |
TRACTION2![]() | Indique le numéro et la version du logiciel du moteur de traction avant gauche. |
TRACTION3![]() | Indique le numéro et la version du logiciel du kit 3 roues motrices (selon l'équipement). |
DIRECTION![]() | Indique le numéro et la version du logiciel du moteur de direction arrière. |
| Option de menu | Description |
| EMULATE MOWING (reproduire tonte) | Le comportement autonome est respecté, mais les unités de coupe ne s’engagent pas. |
| OVERRIDE ACS LOWER (abaissement ACS neutralisé) | Le comportement autonome est respecté, mais les unités de coupe ne s’abaissent que dans la mesure autorisée par la LIMITE D’ABAISSEMENT. |
| LOWER LIMIT (limite d’abaissement) | Pourcentage de la position d’abaissement commandée par l’ACS. 85 suffit pour observer que les unités de coupe s’abaissent, mais ne vont pas toucher le sol. |
Note:
Protégé
sous Menus protégés – accessible uniquement à
l’aide d’un code PIN; voir Accès aux menus protégés.
Note: Le code PIN par défaut à la sortie d'usine de la machine est 0000 ou 1234.Si vous changez de code PIN et que vous l'oubliez, demandez l'aide de votre distributeur Toro agréé.
Depuis le MENU PRINCIPAL, naviguez jusqu'au menu RéGLAGES et appuyez sur le bouton de sélection (Figure 20).

Dans le menu RéGLAGES, naviguez jusqu'à SAISIR PIN et appuyez sur le bouton de sélection (Figure 21A).

Pour saisir le code PIN, appuyez sur les boutons de navigation vers le haut/bas jusqu'à ce que le premier chiffre correct s'affiche, puis appuyez sur le bouton de navigation droit pour passer au chiffre suivant (Figure 21B et Figure 21C). Répétez cette procédure jusqu'à ce que le dernier chiffre soit saisi.
Appuyez sur le bouton de sélection (Figure 21D).
Note: Si l'affichage accepte le code PIN et le menu protégé
est déverrouillé,
s'affiche dans le coin supérieur
droit de l'écran.
Pour verrouiller le menu protégé, tournez le commutateur d'allumage à la position ARRêT puis à la position CONTACT.
Sous RéGLAGES, naviguez jusqu'à l'option PROTECTION DES RéGLAGES.
Pour afficher et modifier les réglages sans
saisir de code PIN, utilisez le bouton de sélection pour changer
l'option PROTECTION DES RéGLAGES à
(désactivée).
Pour afficher et modifier les réglages en saisissant
un code PIN, utilisez le bouton de sélection pour changer l'option PROTECTION DES RéGLAGES à
(activée), saisissez
le code PIN et tournez le commutateur d'allumage à la
position ARRêT, puis ramenez-la à
la position CONTACT.

Clignotement rouge – anomalie active
Rouge continu – avis actif
Bleu continu – étalonnage/messages de dialogue
Vert continu – fonctionnement normal
Les DEL n° 1 s’allument en bleu et les messages suivants peuvent s’afficher lorsque la machine n’est pas en mode manuel. Attendez ou suivez les instructions à l’écran pour utiliser la machine :
MACHINE NOT READY FOR AUTONOMOUS (machine pas prête pour fonctionnement autonome)
ACS NOT READY, PLEASE WAIT (ACS pas prêt, veuillez patienter)
HOLD AUTONOMOUS ENGAGE FOR 2 SECONDS (maintenir autonome engagé pendant 2 secondes)
AUTONOMOUS ACTIVE, LEAVE MACHINE AND USE THE APP (mode autonome actif, quitter la machine et utiliser appli)
Des avis s'affichent automatiquement sur l'écran de l'InfoCenter ou l’appli de supervision quand une fonction de la machine exige une action supplémentaire. Par exemple, si vous essayez de démarrer le moteur tout en enfonçant la pédale de déplacement, un avis s'affiche pour indiquer que la pédale doit être à la position NEUTRE.
À chaque avis correspond un code d’avis (lettre et chiffre), un problème (première ligne du message, par ex. autonomous denied, autonomous abort), une cause (cause de l’avis affiché) et une solution (deuxième ligne de texte).
Note: Les avis ne sont pas enregistrés dans le journal des anomalies.
Reportez-vous au tableau suivant pour connaître tous les avis pouvant s'afficher dans l'InfoCenter :
Note: Pour supprimer un avis de l'InfoCenter, appuyez sur n'importe quelle touche.
| Code | Problème | Cause | Solution |
| B2900 | Mode autonome refusé | Frein de stationnement serré | Desserrez le frein de stationnement |
| B2901 | Mode autonome refusé | Pas en mode TONTE | Amenez la commande de fonction en position TONTE |
| B2902 | Mode autonome refusé | Le siège est occupé | Quittez le siège de l’utilisateur |
| B2903 | Mode autonome refusé | La pédale de déplacement est enfoncé | Ramenez la pédale de déplacement en position NEUTRE |
| B2904 | Mode autonome refusé | Le levier de commande est engagé | Désengagez le levier de commande |
| B2905 | Mode autonome refusé | Le volant tourne | Arrêtez de tourner le volant |
| B2906 | Mode autonome refusé | La machine n’est pas prête | Attendez ou remédiez à l’anomalie |
| B2907 | Mode autonome refusé | L’ACS n’est pas prêt | Attendez ou remédiez à l’anomalie |
| B2908 | Mode autonome refusé | Diverses | Consultez l’appli de supervision |
| B2910 | Mode autonome abandonné | Abandon par l’opérateur | Réinitialisez le sélecteur de mode autonome/manuel |
| B2911 | Mode autonome abandonné | Anomalie(s) active(s) | Entretien de la machine nécessaire. Corrigez la ou les anomalies actives |
| B2912 | Mode autonome abandonné | Présence de l'opérateur détectée | Réinitialisez le sélecteur de mode autonome/manuel |
| B2913 | Mode autonome abandonné | Objet détecté | Réinitialisez le sélecteur de mode autonome/manuel |
| B2914 | Mode autonome abandonné | Diverses | Consultez l’appli de supervision |
| B2940 | Autonomous Degraded (mode autonome dégradé) | Diverses | Consultez l’appli de supervision |
| B2950 | Autonomous Paused (mode autonome pausé) | Diverses | Consultez l’appli de supervision |
Reportez-vous au tableau suivant pour connaître tous les avis pouvant s'afficher dans l'appli de supervision :
| Code | Problème | Cause | Solution |
| B2908-1 | Fonctionnement autonome refusé | Machine en dehors d’une AOA | Amenez la machine dans une AOA |
| B2908-2 | Fonctionnement autonome refusé | La carte n’est pas valide |
|
| B2914-1 | Fonctionnement autonome abandonné | La pente maximale autorisée a été dépassée |
|
| B2914-2 | Fonctionnement autonome abandonné | La machine a quitté le fonctionnement autonome |
|
| B2914-3 | Fonctionnement autonome abandonné | L’IMU est défectueux; fonctionnement impossible |
|
| B2914-4 | Fonctionnement autonome abandonné | L’arrêt d'urgence a été déclenché | Relâchez le bouton d'arrêt d'urgence et réinitialisez le fonctionnement autonome |
| B2914-5 | Fonctionnement autonome abandonné | Le sonar avant gauche a été déclenché |
|
| B2914-6 | Fonctionnement autonome abandonné | Le sonar arrière gauche a été déclenché |
|
| B2914-7 | Fonctionnement autonome abandonné | Le sonar arrière droit a été déclenché |
|
| B2914-8 | Fonctionnement autonome abandonné | Le sonar avant droit a été déclenché |
|
| B2914-9 | Fonctionnement autonome abandonné | Le champ radar à proximité a été déclenché |
|
| B2914-10 | Fonctionnement autonome abandonné | Le sonar supérieur gauche a été déclenché |
|
| B2914-11 | Fonctionnement autonome abandonné | Le sonar supérieur droit a été déclenché |
|
| B2914-12 | Fonctionnement autonome abandonné | Le sélecteur de mode autonome/manuel est en mode manuel |
Réinitialisez le sélecteur de mode autonome/manuel |
| B2940-1 | Performance du fonctionnement autonome dégradé | Un obstacle près de la machine affecte le fonctionnement |
|
| B2940-2 | Performance du fonctionnement autonome dégradé | La température du PC est en dehors des limites opérationnelles | Les performances peuvent être dégradées, mais la machine est pleinement opérationnelleSi le problème persiste, contactez l’assistance technique |
| B2940-3 | Performance du fonctionnement autonome dégradé | Les roues patinent |
|
| B2940-4 | Performance du fonctionnement autonome dégradé | L’erreur d’IMU est en dehors des limites opérationnelles | Les performances peuvent être dégradées, mais la machine est pleinement opérationnelleSi le problème persiste, contactez l’assistance technique |
| B2940-5 | Performance du fonctionnement autonome dégradé | La distance jusqu’à la station de base est en dehors des limites opérationnelles | Les performances peuvent être dégradées, mais la machine est pleinement opérationnelle |
| B2940-6 | Performance du fonctionnement autonome dégradé | Pas de connexion au réseau mobile |
|
| B2940-7 | Performance du fonctionnement autonome dégradé | La température du LiDAR est en dehors des limites opérationnelles |
|
| B2950-1 | Fonctionnement autonome pausé | La distance entre la position actuelle et la dernière position de la machine est en dehors des limites opérationnelles |
|
| B2950-2 | Fonctionnement autonome pausé | Erreur de navigation |
|
| B2950-3 | Fonctionnement autonome pausé | Le temps de réponse du PC est en dehors des limites opérationnelles | Les performances peuvent être dégradées, mais la machine est pleinement opérationnelleSi le problème persiste, contactez l’assistance technique |
| B2950-4 | Fonctionnement autonome pausé | La qualité du signal de la station de base est en dehors des limites opérationnelles |
|
| B2950-5 | Fonctionnement autonome pausé | Mauvaise qualité RYK GNSS |
|
| B2950-6 | Fonctionnement autonome pausé | La machine est connectée à une station de base différente de celle utilisée pour la cartographie |
|
| B2950-7 | Fonctionnement autonome pausé | Précision de la position à l’extérieur des limites opérationnelles |
|
| B2950-8 | Fonctionnement autonome pausé | Le système de levage/descente présente un problème |
|
| B2950-9 | Fonctionnement autonome pausé | Le sous-système de PDF présente un problème |
|
| B2950-10 | Fonctionnement autonome pausé | Le sous-système de direction présente un problème |
|
| B2950-11 | Fonctionnement autonome pausé | Le sous-système de déplacement présente un problème |
|
| B2950-12 | Fonctionnement autonome pausé | La mission a rencontré une erreur lors du traitement de ses détails |
|
| B2950-13 | Fonctionnement autonome pausé | Position de départ difficile |
Amenez la machine dans une zone dégagée afin d’accélérer le fonctionnement |
Avant d'intervenir sur la machine ou d'installer, de retirer ou d'intervenir sur les unités de coupe, déconnectez la machine de l'alimentation électrique en débranchant les connecteurs d'alimentation principale (Figure 23) situés à la base de l'arceau de sécurité, sur le côté gauche du groupe de déplacement. Branchez les connecteurs ensemble avant d'utiliser la machine.

Si vous ne déconnectez pas la machine de l'alimentation électrique, quelqu'un pourrait la mettre en marche accidentellement et causer de graves blessures.
Débranchez toujours les connecteurs avant d'intervenir sur la machine.
Le robinet d'arrivée de carburant permet de régler le débit de carburant vers le moteur. Le robinet se trouve sous le capot, à côté du filtre à charbon actif.
La Figure 24 montre le robinet en position OUVERTE. Pour fermer le robinet, tournez-le dans le sens horaire (Figure 24) à la position FERMéE.

Voir la Figure 25 et le Tableau des spécifications pour les connaître les dimensions et le poids.
Note: Les spécifications et la conception peuvent faire l'objet de modifications sans préavis.

| Largeur de coupe | 151 cm (59,5 po) |
| Voie | 134 cm (52,8 po) |
| Empattement | 127 cm (50 po) |
| Longueur hors tout | 239 cm (94 po) |
| Largeur hors tout | 185 cm (73 po) |
| Hauteur hors tout | 211 cm (83 po) |
| Poids* | 841 kg (1 855 lb) |
| *Groupe de déplacement avec unités de coupe à 8 lames, sans carburant, sans utilisateur et avec siège standard. | |
Une sélection d'outils et accessoires agréés par Toro est disponible pour augmenter et améliorer les capacités de la machine. Pour obtenir la liste de tous les accessoires et outils agréés, contactez votre dépositaire-réparateur ou votre distributeur Toro agréé, ou rendez-vous sur www.Toro.com.
Pour garantir un rendement optimal et conserver la certification de sécurité de la machine, utilisez uniquement des pièces de rechange et accessoires Toro d'origine. Les pièces de rechange et accessoires d'autres constructeurs peuvent être dangereux et leur utilisation risque d'annuler la garantie de la machine.
Le superviseur est responsable de l’inspection des machines avant l’utilisation pour s’assurer qu’elles sont prêtes à fonctionner de manière fiable. Les inspections comprennent mais sans s’y limiter, ce qui suit :
Vérifiez que les capteurs fonctionnent correctement, sont exempts de poussière et de débris, et sont orientés dans la bonne direction avant le déploiement quotidien.
Effectuez les listes de contrôle des opérations quotidiennes normales selon les besoin des machines avant le déploiement quotidien. L’acceptation est dans l’appli.
La machine ne fonctionne pas de manière autonome tant que le superviseur n’a pas accepté les critères répertoriés dans l’accord de l’appli de supervision.
Effectuez tout entretien supplémentaire ou contrôles de préparation comme détaillé dans la formation ou les instructions fournies par les machines.
Portez en permanence l’appareil mobile connecté à la machine par l’intermédiaire de l’appli des commandes autonomes.
Le superviseur est chargé de s’assurer que tous les risques ont été cartographiés avant le fonctionnement autonome. Les zones de travail doivent satisfaire aux exigences énoncées sous Exigences en matière de cartographie.
Le superviseur est chargé de lancer le fonctionnement autonome des machines à partir d’une zone de transit située dans la zone de fonctionnement autonome. La machine doit être transportée jusqu’à la zone de transit et ramenée à la zone de stockage en mode manuel par un opérateur qualifié.
Avant et pendant l’utilisation de la machine, le superviseur est chargé d’inspecter les zones d'utilisation (y compris, mais sans s‘y limiter, la zone d'utilisation autonome), la zone de tonte contiguë et les trajectoires de transit pour identifier et éliminer les dangers, y compris, mais sans s’y limiter, les suivants :
Objets présents dans la zone d'utilisation, tels que bâtons, pierres, débris, équipement de golf, arroseurs surélevés et tout autre objet qui n’est pas destiné à être coupé par les lames ou à être tondu
Spectateurs et enfants
Zones impossibles à tondre, telles que zones en réparation, eau stagnante, gazon endommagé, etc.
Un opérateur manuel qualifié devra éventuellement tondre avec la machine en mode manuel si l’utilisation en mode autonome est limitée par ce qui suit, mais sans s’y limiter :
Signal sans fil inadéquat (c.-à-d., connectivité cellulaire, GNSS, etc.)
Précision GNSS et/ou correction RTK inadéquates
Restriction de la zone d'utilisation pour les machines basée sur et identifiée par l'évaluation du site
Zone trop proche de la limite AOA ou obstacles fixes
Avant de déployer la tondeuse pour un fonctionnement autonome, les déclarations suivantes doivent être vraies :
Qualifications du superviseur de la machine
Je suit un superviseur de tondeuses autonomes formé et approuvé par Toro.
Fonctionnement de la machine
J’ai vérifié au cours des 12 dernières heures que tous les capteurs de détection d’objets sont solidement fixés sur la machine, fonctionnent correctement et sont positionnés dans la bonne direction.
Note: Pour vérifier que les capteurs fonctionnent correctement, lisez et complétez les étapes sous Vérification du système de détection d’objets.
Assurez-vous que la machine est en marche.
Assurez-vous que l’appli de supervision est connectée à la machine.
Allez à la page DIAGNOSTICS.
Développez la liste Capteurs.
Faites le tour de la machine en vérifiant que chaque voyant devient rouge. Ne tenez pas compte des capteurs supérieurs avant, car ils sont utilisés pour la détection des dénivellations.
J’ai vérifié que les cylindres de coupe sont en bon état et sont exempts de débris et de blocages; voir Entretien des unités de coupe.
Inspection préalable du site
J’ai inspecté toutes les allées qui seront tondues de manière autonome et je confirme donc ce qui suit :
La zone de travail est exempte de tout débris susceptibles de gêner le bon fonctionnement de la machine ou d’être projetés par la machine.
L’eau stagnante, les branches d’arbres, les objets non liés au gazon, les trous ou les ravinements, etc., ont été soit réparés soit éliminés.
Toutes les têtes d’arrosage sont complètement rétractées dans le sol.
Tous les obstacles anticipés ont été éliminés de la zone de fonctionnement autonome, y compris râteaux de fosses de sable, marqueurs de terrain, panneaux, clôtures en corde, marqueurs de balles amovibles, poteaux et piquets.
Les spectateurs et enfants sont hors de la zone d'utilisation en mode autonome.
Immédiatement après le lancement de la machine
Je vérifierai que tous les avertissement sonores et visuels de la machine fonctionnent correctement.
Avant le déplacement de la machine, un avertisseur sonore émettra un signal d’alarme pendant 2 secondes.
Pendant le fonctionnement en mode autonome, les voyants orange à l’avant et à l’arrière de la machine clignoteront continuellement. Le voyant d'état du mode autonome sera vert.
Si la machine ne fonctionne pas correctement, je l’arrêterai immédiatement et je corrigerai le(s) problème(s) avant de la remettre en marche.
Si vous avez des questions ou des inquiétudes à propos de l’un des éléments de cette liste de contrôle, lisez le Manuel de l’utilisateur.
Capacité du réservoir de carburant : 18,5 L (4,9 gallons américains)
Carburant recommandé : essence sans plomb avec indice d'octane de 87 ou plus (méthode de calcul [R+M]/2).
Éthanol : de l'essence contenant jusqu'à 10 % d'éthanol (essence-alcool) ou 15 % de MTBE (éther méthyltertiobutylique) par volume peut être utilisée à la rigueur. L'éthanol et le MTBE sont deux produits différents. L'utilisation d'essence contenant 15 % d'éthanol (E15) par volume n'est pas agréée.
N'utilisez jamais d'essence contenant plus de 10 % d'éthanol par volume, par exemple E15 (qui contient 15 % d'éthanol), E20 (qui contient 20 % d'éthanol) ou E85 (qui contient jusqu'à 85 % d'éthanol).
N'utilisez pas de carburant contenant du méthanol.
Ne stockez pas le carburant dans le réservoir ou dans des bidons de carburant pendant l'hiver, à moins d'utiliser un stabilisateur de carburant.
N'ajoutez pas d'huile à l'essence.
Pour des résultats optimaux, utilisez uniquement du carburant propre et frais (conservé depuis moins d'un mois).
L'utilisation d'essence non agréée peut entraîner des problèmes de performances et/ou des dommages au moteur qui peuvent ne pas être couverts par la garantie.
Important: N'utilisez pas d'additifs de carburant autres qu'un stabilisateur/conditionneur. N'utilisez pas de stabilisateurs à base d'alcools tels que l'éthanol, le méthanol ou l'isopropanol.
Serrez le frein de stationnement, coupez le moteur, enlevez la clé et attendez l'arrêt complet de tout mouvement.
Nettoyez la surface autour du bouchon du réservoir de carburant et enlevez le bouchon (Figure 26).

Remplissez le réservoir de carburant jusqu'à 25 mm (1 po) au-dessous de la base du goulot de remplissage. L'espace au-dessus doit rester vide pour permettre au carburant de se dilater.
Important: Ne remplissez pas complètement le réservoir de carburant.
Remettez le bouchon en place.
Note: Vous entendrez un déclic quand le bouchon sera complètement fermé.
Essuyez le carburant éventuellement répandu.
Vous pouvez utiliser l'InfoCenter pour régler les paramètres suivants de la machine :
Durée de pause; voir Réglage de la temporisation de pause des unités de coupe.
Vitesse des cylindres pendant la tonte; voir Réglage de la vitesse des cylindres de tonte.
Vitesse des cylindres pendant le rodage des lames des unités de coupe; voir Réglage de la vitesse de rotation des cylindres pendant le rodage.
Contrôle de la tonte; voir Réglage de la fonction contrôle de la tonte.
Hauteur de coupe; voir Réglage de la hauteur de coupe.
Nombre de lames des unités de coupe; voir Réglage du nombre de lames des unités de coupe.
Vitesse de tonte maximale; voir Réglage de la vitesse de tonte maximale.
Vitesse d'abaissement des unités de coupe; voir Réglage de la vitesse d'abaissement des unités de coupe.
Vitesse de transport maximale; voir Réglage de la vitesse de transport maximale.
Vitesse de marche arrière maximale; voir Réglage de la vitesse de marche arrière maximale.
Ralentir pour tourner; voir Réglage de la fonction Ralentir pour tourner.
Désactivation du kit 3 roues motrices (selon l'équipement); voir Désactivation du kit 3 roues motrices (selon l'équipement).
Note: Chaque réglage est protégé par un code d'accès. Vous devrez peut-être entrer un code d'accès pour modifier les réglages.
Naviguez jusqu'à l'option DURéE DE PAUSE pour régler la temporisation de pause des unités de coupe. La fonction temporisation de pause des unités de coupe permet d'arrêter les unités de coupe sans les lever. Le réglage de la temporisation représente la durée maximale pendant laquelle le levier de levée/descente doit rester à la position arrière pour activer cette fonction.
Le tableau suivant indique les différentes durées de pause des unités de coupe et les numéros de réglage correspondants :
| Numéro de réglage | Temporisation (secondes) |
| 1 | Désactivation |
| 2 | 0,050 |
| 3 | 0,100 |
| 4 | 0,150 |
| 5 | 0,200 |
| 6 | 0,250 |
| 7 | 0,300 |
| 8 | 0,350 |
| 9 | 0,400 |
| 10 | 0,450 |
Note: Le réglage par défaut d'usine est 1, ce qui désactive la fonction.
Naviguez jusqu'à l'option VITESSE DES CYLINDRES pour régler la vitesse de rotation des cylindres pendant la tonte. Vous pouvez modifier ce réglage lorsque l'option contrôle de la tonte est désactivée (OFF); voir Réglage de la fonction contrôle de la tonte.
Voir dans le tableau suivant les options de vitesse des cylindres et les numéros de réglage correspondants :
| Numéro de réglage | Vitesse des cylindres (tr/min) |
| 1 | 800 |
| 2 | 950 |
| 3 | 1100 |
| 4 | 1250 |
| 5 | 1400 |
| 6 | 1550 |
| 7 | 1700 |
| 8 | 1850 |
| 9 | 2000 |
Note: Le réglage par défaut est 1550 tr/min (numéro de réglage 6).
Naviguez jusqu'à l'option VITESSE D'ABAISSEMENT pour programmer la vitesse d'abaissement au sol des unités de coupe pour la tonte. Vous pouvez alterner entre 1 (vitesse la plus basse) et 9 (vitesse la plus élevée).
Contrôlez la vitesse d'abaissement avant de commencer à tondre. Réglez la vitesse à votre convenance.
Note: Le réglage par défaut est 5.
Naviguez jusqu'à l'option VITESSE DE RODAGE pour régler la vitesse de rotation des cylindres pendant le rodage.
Voir dans le tableau suivant les options de vitesse des cylindres et les numéros de réglage correspondants :
| Numéro de réglage | Vitesse des cylindres (tr/min) |
| 1 | 200 |
| 2 | 240 |
| 3 | 280 |
| 4 | 320 |
| 5 | 360 |
| 6 | 400 |
| 7 | 440 |
| 8 | 480 |
| 9 | 520 |
Note: Le réglage par défaut est 200 tr/min (numéro de réglage 1).
Pour obtenir une qualité de coupe constante et un aspect uniforme après la tonte, la machine est équipée du système Radius Dependent Speed™ (RDS) (brevet en instance). Le système RDS est une fonction de contrôle de la tonte et de vitesse des roues indépendante qui fait varier la vitesse de chaque moteur de cylindre et de chaque moteur de traction afin de maintenir une coupe constante et de réduire les marques sur le gazon quand vous changez de direction pendant la tonte.
Lorsque la machine change de direction en cours de tonte (par ex. pendant la passe de nettoyage), le cylindre à l'intérieur du virage tourne plus lentement que celui à l'extérieur du virage. Le cylindre central fait la moyenne de vitesse des deux cylindres intérieur et extérieur afin que les trois unités de coupe produisent la même coupe. Plus le virage est serré, plus la différence de vitesse des cylindres est grande. En outre, si la vitesse de la machine change en cours de tonte, le système RDS ajuste la vitesse des cylindres pour maintenir une coupe constante. Cette fonction réduit l'éclaircissement du gazon au niveau du cylindre intérieur (comparé aux autres tondeuses d’allées autoportées), ce qui permet de pratiquement éliminer la « zone triplex ».
Le système RDS ajuste également la vitesse de chaque moteur de roue durant un virage, comme il le fait pour les moteurs de cylindres. Le moteur de la roue intérieure tourne plus lentement que celui de la roue extérieure. Cela minimise le frottement des roues dans les virages et peut réduire la « zone triplex ».
Naviguez jusqu'à l'option CONTRôLE DE LA TONTE pour programmer la fonction RDS.
Option Contrôle de la tonte ACTIVéE : la machine utilise les réglages des options HAUTEUR DE COUPE et NOMBRE DE LAMES, ainsi que les vitesses des roues droites et gauches, pour déterminer la vitesse de chaque cylindre.
Option Contrôle de la tonte DéSACTIVéE : la machine utilise les réglages de l'option VITESSE DES CYLINDRES.
Note: L'option est ACTIVéE par défaut.
Naviguez jusqu'à l'option HAUTEUR DE COUPE pour régler la hauteur de coupe. L'option Contrôle de la tonte doit être ACTIVéE pour que cette fonction soit disponible; voir Réglage de la fonction contrôle de la tonte.
Note: Le réglage par défaut est 12,7 mm (0,5 po).
Naviguez jusqu'à l'option NOMBRE DE LAMES pour régler le nombre de lames des unités de coupe. Déterminez le nombre de lames des unités de coupe montées sur la machine et choisissez la valeur correspondante (5, 8, 11 ou 14).
Note: La valeur par défaut est 8.
Naviguez jusqu'à l'option TONTE MAX. pour régler la vitesse de tonte maximale. Vous pouvez régler la vitesse de 4,8 à 8 km/h (3 à 5 mi/h) par paliers de 0,3 km/h (0,2 mi/h).
Note: Le réglage par défaut est 6,1 km/h (3,8 mi/h).
Naviguez jusqu'à l'option TRANSPORT MAX. pour régler la vitesse de transport maximale. Vous pouvez régler la vitesse de 8 à 16 km/h (5 à 10 mi/h) par paliers de 0,8 km/h (0,5 mi/h).
Note: Le réglage par défaut est 16 km/h (10 mi/h).
Naviguez jusqu'à l'option MARCHE ARRIèRE MAX. pour régler la vitesse de marche arrière maximale. Vous pouvez régler la vitesse de 3,2 à 8 km/h (2 à 5 mi/h) par paliers de 0,8 km/h (0,5 mi/h).
Note: Le réglage par défaut est 4 km/h (2,5 mi/h).
Note: Pour les logiciels machine versions A à D, la vitesse maximale est 4,8 km/h (3 mi/h). Mettez à jour le logiciel de la machine afin de pouvoir régler la vitesse maximale à 8 km/h (5 mi/h).
Naviguez jusqu'à l'option RALENTIR ET TOURNER pour régler la fonction ralentir pour tourner. La fonction Ralentir pour tourner réduit la vitesse de la machine pendant que vous la faites tourner pour exécuter une nouvelle passe sur le vert.
Note: L'option est DéSACTIVéE par défaut.
Naviguez jusqu'à l'option KIT 3RM pour désactiver le kit 3 roues motrices (selon l'équipement).
Note: Le kit 3 roues motrices est automatiquement activé lorsque vous l'installez.
Lors de l'étalonnage de la machine, des messages s'affichent dans l'InfoCenter. Ces messages ont pour objet de vous guider dans le processus d'étalonnage.
Consultez la liste des messages dans le tableau suivant :
| Numéro du message | Texte du message de l'InfoCenter |
| 1 | Ramener pédale en position neutre |
| 4 | Amener et maintenir la pédale en position marche avant max. |
| 5 | Étalonnage de position marche avant max. réussi |
| 9 | Échec d'étalonnage de position marche avant max. Tension hors spécifications |
| 13 | Amener et maintenir la pédale en position marche arrière max. |
| 14 | Étalonnage de position marche arrière max. réussi |
| 16 | Échec d'étalonnage de position marche arrière max. Tension hors spécifications |
| 17 | Échec de l'étalonnage. Position de pédale inconnue |
| 18 | Ramener pédale en position neutre. Continuer? |
| 100 | Étalonnage engagé |
| 101 | Étalonnage terminé |
| 102 | Établir puis couper le contact |
| 110 | Interdire l'étalonnage. Pas de réponse du composant |
| 111 | Interdire l'étalonnage. Composant pas prêt |
| 112 | Interdire l'étalonnage. Anomalie active |
| 113 | Interdire l'étalonnage. Siège vide |
| 114 | Interdire l'étalonnage. Pas en position neutre |
| 115 | Interdire l'étalonnage. En position neutre |
| 116 | Interdire l'étalonnage. Frein de stationnement serré |
| 300 | Ramener pédale en position neutre |
| 301 | Centrer le volant. Continuer? |
| 302 | Centrer la roue arrière manuellement. Continuer? |
| 303 | Tourner la roue arrière à fond à gauche. Continuer? |
| 304 | Tourner la roue arrière à fond à droite. Continuer? |
| 305 | Centre de roue arrière hors plage |
| 306 | Angle de roue arrière hors plage |
| 400 | Attention : la machine doit être sur des chandelles. Continuer? |
| 401 | Interdire l'étalonnage. Contacteur ouvert |
| 402 | Interdire l'étalonnage. Pédale en position neutre |
| 403 | Ramener pédale en position neutre |
| 404 | Attendre l'arrêt des roues |
| 405 | Amener et maintenir la pédale en position marche avant max. |
| 406 | Étalonnage actif. Maintenir pédale |
| 500 | Déploiement levée/descente actif |
| 501 | Rétraction levée/descente actif |
| 502 | Placer levier en position descente |
| 503 | Placer levier en position levage |
| 504 | L'unité de coupe est-elle installée? Continuer? |
| 1100 | Messages de diagnostic de déplacement activés |
| 1101 | Messages de diagnostic de direction activés |
| 1102 | Messages de diagnostic de sécurité activés |
| Périodicité d'entretien | Procédure d'entretien |
|---|---|
| À chaque utilisation ou une fois par jour |
|
Avant de démarrer la machine chaque jour, effectuez les procédures suivantes :
Contrôlez le niveau d'huile moteur; voir Contrôle du niveau d'huile moteur.
Contrôlez le contact cylindre/contre-lame; voir Contrôle du contact cylindre/contre-lame.
Contrôlez la pression des pneus; voir Contrôle de la pression des pneus.
Contrôlez le système de sécurité; voir Principe du système de sécurité.
Contrôlez le niveau de carburant et faites l'appoint si nécessaire; voir Remplissage du réservoir de carburant.
Actionnez le frein de stationnement pour vérifier qu'il fonctionne correctement et qu'il s'engage; voir Frein de stationnement.
Inspectez et nettoyez les capteurs (selon les besoins); voir Inspection des capteurs et de leurs supportsNettoyage des capteurs.
Lisez les procédures de vidange d'huile et d'entretien recommandées pendant le rodage dans le manuel du propriétaire du moteur fourni avec la machine.
La machine est rodée après seulement 8 heures de fonctionnement.
Comme les premières heures de fonctionnement sont critiques pour la fiabilité future de la machine, surveillez étroitement son fonctionnement et ses performances pour noter et corriger les anomalies mineures qui pourraient dégénérer en problèmes majeurs. Examinez fréquemment la machine pendant le rodage pour détecter des signes éventuels de fuites d'huile, fixations desserrées ou autres anomalies.
Note: Examinez la surface sous les unités de coupe pour vous assurer qu'elle est parfaitement dégagée de tout débris.
Insérez et tournez la clé à la position CONTACT.
Attendez que l'écran de présentation s'affiche sur l'InfoCenter, puis tournez la clé à la position DéMARRAGE jusqu'à ce que le moteur démarre.
Lorsque le moteur démarre, relâchez la clé; elle revient alors automatiquement à la position CONTACT.
Note: Une anomalie se produit si vous lancez le moteur plus de 30 secondes de suite.
Asseyez-vous sur le siège et attachez la ceinture de sécurité.
Placez la commande de fonction en position TONTE.
Desserrez le frein de stationnement.
Poussez momentanément le levier de levée/descente en avant.
Les unités de coupe doivent s'abaisser et tous les cylindres doivent tourner.
Tirez le levier de levée/descente en arrière.
Les cylindres de coupe doivent s'arrêter de tourner et les unités de coupe doivent s'élever à la position de transport maximale.
Amenez la machine sur une surface plane et horizontale.
Amenez le sélecteur de fonction en position POINT MORT.
Serrez le frein de stationnement.
Tournez la clé à la position ARRêT pour couper le moteur.
Enlevez la clé de contact.
| Périodicité d'entretien | Procédure d'entretien |
|---|---|
| À chaque utilisation ou une fois par jour |
|
Si les contacteurs de sécurité sont déconnectés ou endommagés, la machine peut se mettre en marche inopinément et causer des blessures.
Ne modifiez pas abusivement les contacteurs de sécurité.
Vérifiez chaque jour le fonctionnement des contacteurs de sécurité et remplacez ceux qui sont endommagés avant d'utiliser la machine.
Le rôle du système de sécurité est d'empêcher le fonctionnement de la machine si cela peut vous exposer à des blessures ou endommager la machine.
Le système de sécurité empêche la machine de se déplacer, sauf si :
Le frein de stationnement est desserré.
Vous êtes assis(e) sur le siège de l’opérateur (sauf si la machine fonctionne en mode autonome).
Le sélecteur de fonction est à la position TONTE ou TRANSPORT.
En outre, le système de sécurité interdit le fonctionnement des cylindres, sauf si le sélecteur de fonction est à la position TONTE (sauf si la machine est en mode rodage).
Activez le mode manuel et effectuez les opérations suivantes pour contrôler le système de sécurité :
Soulevez-vous du siège, démarrez le moteur, desserrez le frein de stationnement, placez le sélecteur de fonction à la position TONTE ou TRANSPORT, puis appuyez sur la pédale de déplacement.
La machine ne doit pas se déplacer si vous n'êtes pas assis(e) sur le siège. Cela signifie que le système de sécurité fonctionne correctement. Corrigez le problème en cas de mauvais fonctionnement.
Asseyez-vous sur le siège, démarrez le moteur, serrez le frein de stationnement, placez le sélecteur de fonction en position TONTE ou TRANSPORT, puis appuyez sur la pédale de déplacement.
La machine ne doit pas se déplacer quand le frein de stationnement est serré. Cela signifie que le système de sécurité fonctionne correctement. Corrigez le problème en cas de mauvais fonctionnement.
Asseyez-vous sur le siège, démarrez le moteur, desserrez le frein de stationnement, placez le sélecteur de fonction à la position POINT MORT, puis appuyez sur la pédale de déplacement.
La machine ne doit pas se déplacer quand le sélecteur de fonction est à la position POINT MORT. Cela signifie que le système de sécurité fonctionne correctement. Corrigez le problème en cas de mauvais fonctionnement.
Asseyez-vous sur le siège, placez la pédale de déplacement en position NEUTRE, placez le sélecteur de fonction à la position POINT MORT, serrez le frein de stationnement, démarrez le moteur et poussez le levier de levée/descente en avant pour abaisser les unités de coupe.
Les unités de coupe doivent s'abaisser mais ne pas se mettre à tourner. Si elles se mettent à tourner, cela signifie que le système de sécurité ne fonctionne pas correctement; remédiez au problème avant d'utiliser la machine.
Assurez-vous que les unités de coupe sont complètement levées.
Asseyez-vous sur le siège, desserrez le frein de stationnement et placez le sélecteur de fonction à la position TRANSPORT pour conduire la machine sans tondre.
Approchez les zones accidentées à vitesse réduite et traversez les terrains très ondulés avec prudence.
Familiarisez-vous avec la largeur de la machine. Pour éviter des réparations et des temps d'immobilisation coûteux, n'essayez pas de passer entre des objets trop rapprochés.
La connexion à la machine par l’appli de supervision GeoLink Mow permet de programmer, surveiller et commander à distance la machine.
Saisissez le numéro de série de la machine dans l’URL pour vous connecter à la machine.
Le format de l’URL est tacs
Connectez-vous à l’appli de supervision GeoLink Mow avec vos identifiants myTurf.
Note: Si vous ne pouvez pas vous connecter à la machine, vérifiez que la machine a été ajoutée à l’inventaire de votre club en tant qu’actif; voir le Guide du logiciel myTurf.
Note: Voir Comprendre le menu Map (carte) pour une vue d'ensemble des fonctions de cartographie.
La limite de l’AOA ne doit pas être cartographiée sous des arbres ou d’autres obstacles car cela pourrait empêcher la communication GNSS avec la machine (Figure 29).

Les AOA et les CMA doivent être cartographiées dans le sens horaire. Pour les trous et les NOA, cartographiez dans le sens antihoraire.
Lors de la cartographie des limites des AOA ou des CMA, commencez et terminez la limite sur une ligne droite.
Assurez-vous que la machine dispose d’un signal GNSS puissant avant de démarrer un processus de cartographie; voir la boîte d’état Accuracy (précision) sur la page MAP (carte) ou dans le Menu Diagnostics.
Pendant ou juste avant la cartographie, la machine ne doit pas être utilisée en marche arrière. Planifiez soigneusement l’itinéraire de cartographie avant d’effectuer la cartographie.
| Point à point | Distance minimale |
| Distance entre une CMA et une AOA ou une NOA | 1,5 m (5 pi) |
| Largeur de CMA | 4,5 m (15 pi) |
Note: Pour des performances optimales, la distance recommandée entre une AOA et une CMA est de 5 m (16,4 pi), car cela donne à la machine suffisamment d’espace pour effectuer des virages efficaces, ce qui lui permet de terminer les missions plus rapidement.

Suivez les étapes ci-dessous pour cartographier votre terrain pour la tonte autonome :
Cartographiez la zone de fonctionnement autonome (AOA); voir Cartographie de la zone de fonctionnement autonome.
Cartographiez la zone de tonte contiguë (CMA); voir Cartographie de la zone de tonte contiguë.
Cartographiez les zones non opérationnelles (NOA, trous et pôles); voir Cartographie des zones non opérationnelles et Création de pôles.
Cartographiez les trajectoires de transit; voir Cartographie des trajectoires de transit.
Créez des points de récupération; voirCréation de points de récupération.
Avant de déployer la tondeuse pour fonctionner en mode autonome, vous devez programmer les limites de la zone de fonctionnement autonome (AOA) en la cartographiant.
Important: Avant de cartographier, inspectez la surface et notez les obstacles éventuels afin que la zone de fonctionnement autonome ne contienne aucun obstacle ou ne soit trop proche d’obstacles éventuels. La zone de fonctionnement autonome ne doit contenir aucun obstacle que la machine ne peut pas détecter, qui pourrait endommager la machine ou qui pourrait créer un risque pour la sécurité.Le superviseur est responsable de s’assurer que tous les objets ou obstacles sont correctement cartographiés à l’extérieur de la zone de fonctionnement autonome; voir Cartographie des zones non opérationnelles et Création de pôles.Si un obstacle (par ex., mur plein ou terrain impraticable) se trouve entre la machine et l’un des dangers répertoriés sous Critères de sécurité pour zone de fonctionnement autonome, vérifiez que la limite de l’AOA est placée à au moins 2 m (7 pi) de l’obstacle en question.
Note: Il est recommandé de désigner l’une de vos machines comme machine de cartographie principale pour l’ensemble du terrain. Cette machine sera alors la seule du parc à créer de nouvelles zones cartographiées ou modifie les zones cartographiées existantes. Les autres machines du parc utiliseront le fichier cartographique créé par la machine de cartographie principale.Le superviseur est responsable de s’assurer que le fichier cartographique correct est chargé sur chaque machine d’un parc.
Connectez-vous à la machine à l’aide de l’appli de supervision de GeoLink Mow.
Dans l’écran d'accueil, appuyez sur le bouton de menu dans le coin supérieur droit et sélectionnez MAP (carte).
Conduisez la machine à l’endroit où vous voulez commencer à cartographier votre AOA.
Note: Prêtez attention à la couleur des boîtes d’état en bas à droite de l’écran : Accuracy (précision) et Clearance (espace). Si la couleur est rouge, cela signifie que la machine a une mauvaise précision de localisation ou détecte un objet à proximité. La machine ne peut pas cartographier cette zone, déplacez-la vers une autre position de démarrage et réessayez.
Note: Il est recommandé de commencer à cartographier votre AOA dans une zone comportant des marqueurs reconnaissables, tels que des balises d’arrosage ou d’autres caractéristiques du terrain.
Sélectionnez AOA dans le menu de la barre latérale ou le bouton rouge extensible, suivi de Perimeter (périmètre).
En utilisant le coin avant gauche de l’unité de coupe gauche comme marqueur, commencez en conduisant la machine en ligne droite, puis cartographiez le périmètre de l’AOA dans le sens horaire.
Pendant la cartographie, prêtez attention à la couleur des boîtes d’état en bas à droite de l’écran : Speed (vitesse), Accuracy (précision) et Clearance (espace). Si la couleur est jaune ou rouge, cela signifie que la machine se déplace trop rapidement, a une mauvaise précision de localisation ou détecte un objet à proximité. Ralentissez la machine, arrêtez et attendez, ou rendez-vous à un autre emplacement et essayez à nouveau de cartographier.
Vert signifie que la machine se trouve dans les paramètres de cartographie idéaux.
Jaune signifie que la machine s’approche des limites des paramètres de cartographie.
Rouge signifie que la machine n’a peut-être pas capturé la limite, offre une mauvaise précision de localisation ou détecte un objet à proximité.
Une fois que vous approchez du début de la ligne de l’AOA, ralentissez la machine et sélectionnez Save (enregistrer).
Sélectionnez Yes (oui) dans le boîte de dialogue.
Sélectionnez le bouton Save (enregistrer) pour enregistrer la limite.
Rafraîchissez la carte pour visualiser l’AOA terminée.
Recherchez d’éventuelles erreurs de cartographie et corrigez-les si nécessaire.
Conduisez la machine jusqu’à une zone dans l’AOA où vous souhaitez commencer à cartographier votre zone de tonte contiguë (CMA).
Note: Pour des performances optimales, la limite de la CMA doit être à au moins 5 m (16,4 pi) de distance de la limite de l’AOA. Cela permet d’obtenir un braquage efficace pendant le fonctionnement autonome. Voir Exigences en matière de cartographie pour connaître les distances minimales requises, mais anticipez une efficacité de braquage réduite et des temps de mission plus longs.
Sélectionnez le bouton rouge dans le coin inférieur droit de l’écran.
Sélectionnez CMA dans le menu puis Perimeter (périmètre).
En utilisant le coin avant gauche de l’unité de coupe gauche comme marqueur, commencez en conduisant la machine en ligne droite, puis cartographiez le périmètre de la CMA dans le sens horaire.
Note: Prêtez attention à la couleur des boîtes d’état en bas à droite de l’écran : Speed (vitesse), Accuracy (précision) et Clearance (espace). Si la couleur est jaune ou rouge, cela signifie que la machine se déplace trop rapidement, a une mauvaise précision de localisation ou détecte un objet à proximité. Ralentissez la machine, arrêtez et attendez, ou rendez-vous à un autre emplacement et essayez à nouveau de cartographier.
Vert signifie que la machine se trouve dans les paramètres de cartographie idéaux.
Jaune signifie que la machine s’approche des limites des paramètres de cartographie.
Rouge signifie que la machine n’a peut-être pas capturé la limite, offre une mauvaise précision de localisation ou détecte un objet à proximité.
Une fois que vous approchez du début de la ligne de la CMA, ralentissez la machine et sélectionnez Save (enregistrer).
Sélectionnez Yes (oui) dans le boîte de dialogue.
Sélectionnez le bouton Save (enregistrer) pour enregistrer la limite.
Cartographiez la direction de jeu (D.O.P) de l’allée :
Conduisez la machine jusqu’à un point de départ situé n’importe où dans la CMA.
Sélectionnez D.O.P (direction de jeu) et conduisez la tondeuse à 5 m (16,4 pi) dans la direction de jeu.
Sélectionnez Save (enregistrer).
Cartographiez l’axe (Centerline) :
Conduisez la machine à un point situé à 1 m (3,3 pi) de la limite de la CMA à chaque extrémité de l’allée.
Sélectionnez Centerline (axe) et conduisez la machine au centre de l’allée.
Note: Assurez-vous que l’axe s’étend à 1 m (3,3 pi) à l’extérieur de la CMA aux deux extrémités de l’allée.
Lorsque la machine a dépassé l’autre extrémité de la CMA, sélectionnez Save (enregistrer).
Pour créer une zone que la machine peut traverser, mais ne tondra pas, sélectionnez Hole (trou), faites le tour de la zone dans le sens antihoraire, puis sélectionnez Save (enregistrer).
Sélectionnez à nouveau Save pour enregistrer votre CMA.
Recherchez d’éventuelles erreurs de cartographie et corrigez-les si nécessaire.
Sélectionnez l’erreur pour visualiser des informations supplémentaires à son propos ainsi que son emplacement.
Important: Les zones non opérationnelles doivent être utilisées pour cartographier les objets ou obstacles de grande taille, tels que arbres, fosses de sable, boîtiers d’arrosage, obstacles en hauteur, etc., ou des obstacles de plus petite taille que la machine ne peut pas détecter, tels que les câbles, présents dans l’AOA. Le superviseur est responsable de s’assurer que tous les objets ou obstacles ont été cartographiés avant le fonctionnement autonome. Respectez les exigences énoncées sous Exigences en matière de cartographie.Les NOA ne peuvent pas être cartographiées directement à l’intérieur d’une CMA; créez un Trou dans la CMA avant de cartographier la NOA.
Pour créer une zone à l’intérieur d’un trou dans une CMA que la machine ne traversera jamais, rendez-vous à l’emplacement du trou, sélectionnez NOA, faites le tour de la zone dans le sens antihoraire, puis sélectionnez Save (enregistrer).
Pour créer une zone à l’intérieur d’une AOA mais à l’extérieur d’une CMA que la machine ne traversera jamais, rendez-vous sur la zone à l’extérieur de la CMA, sélectionnez NOA, faites le tour de la zone dans le sens antihoraire, puis sélectionnez Save (enregistrer).
Important: Les pôles sont des NOA de faibles diamètre (1 m ou 3,3 pi) qui empêchent la machine de traverser des AOA contenant un petit objet, tels des poteaux, des drains ou des boîtier d’arrosage. Plusieurs pôles peuvent être créés près les un des autres pour former une barrière.
Dans le menu MAP (carte), sélectionnez Pole (pôle).
Lorsque le coin avant gauche de l’unité de coupe gauche est proche de obstacle que vous souhaitez cartographier, sélectionnez Point et Save (enregistrer).
Un cercle rouge représentant le pôle apparaît sur la carte.
Les trajectoires de transit sont des trajectoires que la tondeuse suit lorsqu’elle se déplace entre les zones d'utilisation. Les trajectoires de transit doivent avoir une largeur minimale de 3,5 m (11,5 pi).
Conduisez la machine jusqu’à un point à l'intérieur d’une AOA où vous souhaitez que commence la trajectoire de transit.
Note: Les trajectoires de transit peuvent commencer n’importe où à l’intérieur d’une AOA, y compris à l’intérieur d’une CMA, mais pour obtenir des performances optimales, il est recommandé de commencer près de la limite de ‘AOA.
Dans le menu MAP (carte), sélectionnez Path (trajectoire).
Lorsque vous êtes prêt(e) à cartographier, sélectionnez Path et conduisez la machine sur l’itinéraire exact que vous voulez qu’elle suive entre deux AOA.
Une fois que la machine à l’intérieur de l’autre AOA et que la trajectoire vous satisfait, sélectionnez Save (enregistrer).
Une ligne orange représentant la trajectoire de transit apparaît sur la carte.
Les points de récupération sont des zones à l’intérieur des AOA où l’opérateur laisse/récupère la machine à tout moment pendant la tonte. Des AOA peuvent être créées spécifiquement pour des points de récupération et être reliées à une allée par des trajectoires de transit. Dans l’appli de supervision, l’opérateur peut commander à la machine de revenir à ce point à tout moment.
Conduisez la machine jusqu’à une zone à l'intérieur d’une AOA où vous souhaitez créer un point de récupération.
Sélectionnez Pickup (récupération), Point et Save (enregistrer).
Le point de récupération sera créé à la position du coin avant gauche de l’unité de coupe gauche.


Dans le menu MAP (carte), sélectionnez le bouton Map Layers (couches cartographiques).
Les options Summary (sommaire), Accuracy (précision) et Object Detection (détection d’objets) s’affichent.
| Couche | Description |
| Summary (sommaire) | Affiche les zones opérationnelles, les trajectoires de transit, les points de récupération et les pôles. Affiche également problèmes importants de précision et de détection d’objets. |
| Accuracy (précision) | Affiche la précision GNSS et RTK pour les zones cartographiées. |
| Object Detection (détection d’objets) | Indique si la machine a détectée des objets à proximité dans les zones cartographiées. |
Sélectionnez la couche cartographique que vous souhaitez afficher.
Dans le menu MAP (carte), sélectionnez un point dans la partie CMA d’une allée pour ouvrir les fenêtres Fairway (allée) et Properties (propriétés), Centerline (axe) et Holes (trous).
Dans la fenêtre Properties (propriété), changez le nom de l’allée ou l’angle de la direction du jeu.
Sélectionnez Save (enregistrer).
Utilisez la fonction Smooth (lisser) pour améliorer l’aspect de la bande centrale dans une coupe de type Tuxedo. Pour ajuster la trajectoire de l’axe, supprimer l’axe et créez-en un nouveau.
Dans la fenêtre Centerline (axe), sélectionnez Smooth (lisser) ou Remove (supprimer).
Dans la fenêtre Fairway (allée), effacez toutes les caractéristiques cartographiées en sélectionnant l’icône de la corbeille située à côté.
Note: Veillez à cartographier ces zones à nouveau et à remédier aux erreurs avant de commencer une mission.
Dans la fenêtre Holes (trous), affichez ou effacez tous les trous cartographiés.
Sélectionnez +Add (+Ajouter) pour créer un trou.
Une mission est une séquence de tâches sur l’allée. Lorsque la machine a terminé une mission, elle commence immédiatement la mission suivante. Si aucune autre mission n’existe, elle se rend sur le côté de la dernière allée, sauf si l’opérateur lui demande de se rendre ailleurs.
Connectez-vous à la machine à l’aide de l’appli de supervision de GeoLink Mow.
Dans l’écran d'accueil, sélectionnez le bouton MISSIONS.
Sélectionnez le bouton + New mission (+ Nouvelle mission).
Sélectionnez la ou les allées que vous souhaitez tondre dans la liste des CMA cartographiées.
Note: Sélectionnez les allées dans l’ordre dans lequel vous souhaitez les tondre.
Note: Assurez-vous que toutes les CMA d’une mission sont connectées par des AOA ou des trajectoires de transit.
Sélectionnez un modèle de tonte dans Favorites (favoris) ou créez une nouveau modèle de tonte dans Custom (personnaliser).
Saisissez le numéro de téléphone du superviseur et sélectionnez le bouton Save (enregistrer).
Note: Cela permet à la machine d’envoyer des alertes par texto si elle est arrêtée et nécessite une intervention manuelle de la part du superviseur.
Sélectionnez Save (enregistrer).
Si la tondeuse est inactive durant cette opération, elle commence la mission.
Note: Une fois enregistrée, la mission apparaît sous MISSIONS.
Sélectionnez le bouton MISSIONS.
Après avoir sélectionnez New mission (nouvelle mission), sélectionnez Custom (personnalisé) sous la section intitulée Mowing Pattern Selection (sélection de modèle de tonte).
Trois options de modèles s’affichent : Stripes (bandes), Tuxedo ou Cleanup (nettoyage).
Les options du modèle Stripes (bandes) sont les suivantes :
| Option | Définition |
| Relative/Absolute (relatif/absolu) | Indique si la machine utilise la direction de jeu ou des degrés absolus comme point de référence |
| Type de direction (-180 à 180 ou 0 à 360) | Différence de degré par rapport à l’option choisie ci-dessus. Par exemple, si Relatif est sélectionné, le fait de saisir 40 signifie que la machine va tondre à un angle de 40° (sens horaire) par rapport à la direction de jeu. Les valeurs négatives font tondre la machine dans le sens antihoraire par rapport à la direction de jeu.40° en degrés absolus signifie que la machine va tondre à un angle de 40° par rapport au nord vrai. |
| Line multiple (multiple de ligne) | Commande la largeur des bandes. Peut aller jusqu’à 5 largeurs de machine |
| Inverted (inversé) | Commande la direction des passes de tonte |
| Cleanup (nettoyage) | Si cette option est activée, la machine effectue des passes de nettoyage |
| Optimize turns (optimiser virages) | Si cette option est activée, la machine effectuer des virages de même amplitude au bout de chaque passe de tonte |
Les options du modèles Tuxedo sont :
| Option | Définition |
| Direction | Commande si la tondeuse tondra l’allée dans le sens horaire ou antihoraire |
| Cleanup (nettoyage) | Si cette option est activée, la machine effectue des passes de nettoyage |
L’option du modèle Cleanup (nettoyage) est :
| Option | Définition |
| Direction | Commande si la tondeuse effectuera les passes de nettoyage dans le sens horaire ou antihoraire |
Saisissez le numéro de téléphone de l’appareil mobile du superviseur et sélectionnez Save pour enregistrer la mission.
Avant de déployer la tondeuse en mode autonome, il convient de vérifier le bon fonctionnement du système de détection d’objets.
Insérez et tournez la clé à la position CONTACT.
Connectez-vous à la machine à l’aide de l’appli de supervision de GeoLink Mow.
Sélectionnez le bouton DIAGNOSTICS.
Développez la liste Object Detection (détection d’objets).
Rendez-vous à chaque capteur de la machine
et vérifiez que le cercle correspondant à chaque capteur
sur la liste Object Detection devient rouge
sur l’écran.
Voir Vue d'ensemble du produit pour une vue d’ensemble de tous les capteurs.
Éloignez-vous un peu de l’avant de la
machine; Radar Field Far (champ radar loin) doit
devenir jaune
.
Après avoir vérifié le fonctionnement
de tous les capteurs, éloignez-vous de la machine; toutes les
positions de la liste Object Detection doivent
devenir vertes
.
| Couleur | Signification |
![]() | Pas de connexion à l’appareil. |
![]() | Le système ne transmet pas de données. |
![]() | Les performance du système sont bonnes ou la machine ne détecte aucun obstacle à proximité. |
![]() | Les performances du système sont médiocres ou la machine détecte des obstacles à proximité, mais peut fonctionner. |
![]() | Le système gêne le fonctionnement de la machine; examinez la pièce défectueuse, corrigez le problème ou déplacez la machine. |
Desserrez le frein de stationnement.
Placez le sélecteur de fonction en position TONTE.
Remédiez aux anomalies actives de la machine.
Quittez le siège de l’opérateur et passez derrière la machine; assurez-vous que êtes hors de la zone de danger de tonte.
Appuyez sur le côté mode AUTONOME du sélecteur de mode autonome/manuel pendant 2 secondes.
Attendez que le voyant d'état du mode autonome devienne vert et que la machine émettent deux bips. Cela signifie que le mode autonome est actif.
La machine peut maintenant être utilisée à l’aide de l’appli de supervision.
Vérifiez que tous les capteurs fonctionnent correctement; voir Vérification du système de détection d’objets.
Amenez la machine dans une AOA.
Engagez le mode autonome; suivez les étapes de la section Engagement du mode autonome
Dans le menu DASHBOARD (tableau de bord) de l’appli de supervision, sélectionnez le bouton Aller.
Important: Si vous exécutez une mission sur une allée pour la première fois, observez la machine pour vous assurer qu’elle suit la mission avant de vous concentrer sur d’autres tâches.
Acceptez l’accord contextuel pour commencer la mission.
Sélectionnez le bouton MISSIONS. Les missions créées apparaissent sut la page.
Les missions actives sont accompagnées d’un sablier et d’un sommaire des informations relatives à la mission.
Sélectionnez une des missions sur la page. Des informations supplémentaires sur la mission sélectionnée s’affichent.
| Affichage | Signification |
| Mission # | Indique le numéro de la mission sélectionnée |
| State (état) | Voir Tableau de bord – États des missions. |
| Start time (heure de début) | Quand la mission a commencé |
| Finish time (heure de fin) | Quand la mission devrait être terminée |
| Mowed area (zone tondue) | Surface totale tondue pas la machine à ce stade |
| Distance covered (distance couverte) | Distance parcourue par la machine à ce stade |
| Work time (temps de travail) | Depuis combien de temps la mission actuelle est active |
| Progress (progression) | Indique le pourcentage d’achèvement de la mission |
| Pattern (modèle) | Indique le nom du modèle de la mission actuelle |
| Properties (propriétés) | Indique les propriétés du modèle de tonte sélectionné; voir Création d’un modèle de tonte personnalisé |
Les capteurs de la machine détectent les obstacles provoquent automatiquement le ralentissement ou l’arrêt de la machine s’ils sont activés. La machine surveille 3 zones : la zone de courtoisie, les zones de danger et la détection des dénivellations.

| Référence de la Figure 33 | Mesure |
| A | 8 m (26 pi) |
| B | 3 m (10 pi) |
Si la machine détecte la présence d’un objet fixe dans la zone de courtoisie de la machine, la machine commence à ralentir et les voyants orange commencent à clignoter plus rapidement. Une fois que la machine s’est approché de l’objet et que l’objet se trouve juste à l’extérieur d’une zone de danger, la machine est au ralenti, la PDF se désengage et la machine envoie un texto à l’appareil mobile du superviseur après 1 minute. Une fois que le superviseur a retiré objet, il peut reprendre la mission à distance à l’aide de son appareil mobile.
Si la machine détecte subitement un objet dans une zone de danger, la machine s’arrête immédiatement, la PDF se désengagé, le moteur est coupé et la machine passe en mode STATIONNEMENT et envoie un texto au superviseur. Le superviseur doit alors retirer l’objet et actionner manuellement le sélecteur de mode autonome/manuel pour reprendre la mission.
La détection des dénivellations détecte si la machine rencontre une dénivellations dangereuses. Si la machine rencontre un terrain dangereux, elle passe immédiatement en mode STATIONNEMENT et envoie un texto au superviseur. Le superviseur doit alors conduire manuellement la machine jusqu’à une zone sûre et actionner le sélecteur de mode autonome/manuel pour reprendre la mission.
Important: Le système de détection de dénivellations ne doit jamais être activé si les obstacles sont correctement cartographiés par le superviseur.Effectuez une mission d’essai pour observer les problèmes liés aux dénivellations. Créez de nouvelles AOA, CMA ou NOA pour que la machine évite les zones comportant des dénivellations.
L’appli de supervision possède une fonction qui permet d’exporter et de partager des fichiers cartographiques entre les machines d’un parc.
Important: Il est recommandé de désigner l’une de vos machines comme machine de cartographie principale pour le terrain. Cette machine doit être la seule du parc à créer de nouvelles zones cartographiées ou modifie les zones cartographiées existantes.Le superviseur est responsable de s’assurer que le fichier cartographique correct est chargé sur chaque machine d’un parc.
Insérez et tournez la clé de la machine cartographique principale en position CONTACT. Attendez 2 minutes.
Connectez-vous à la machine à l’aide de l’appli de supervision de GeoLink Mow.
Dans la barre de menu supérieure, sélectionnez le bouton HELP (aide).
Sélectionnez le bouton Export map database (exporter la base de données cartographique) pour créer et télécharger une copie du fichier cartographique.
Cela permet d’enregistrer une copie du fichier cartographique dans le répertoire des téléchargement de votre appareil.
Importez le fichier cartographique vers les autres machines de votre parc :
Insérez et tournez la clé en position CONTACT pour chacune des autres machines.
Connectez-vous à chaque machine à l’aide de l’appli de supervision de GeoLink Mow.
Dans la barre de menu supérieure, sélectionnez le bouton RéGLAGES.
Désactivez la fonction Lock map (verrouiller carte).
Dans la barre de menu supérieure, sélectionnez le bouton HELP (aide).
Sélectionnez le bouton Delete ALL map data (effacer TOUTES les données cartographiques).
Note: Assurez-vous qu’aucune mission n’est active avant de sélectionner le bouton.
Sélectionnez le bouton Choose File (choisir fichier) et ouvrez le fichier que vous avez téléchargé précédemment sur votre appareil.
Sélectionnez le bouton Import map database (importer la base de données cartographiques).
Dans le menu RéGLAGES, activez la fonction Lock map (verrouiller carte).
Répétez ces opérations pour toutes les autres machines du parc.
Si le système de commande autonome n’est pas disponible ou ne fonctionne pas correctement, il peut être nécessaire de contourner le système pour opérer manuellement la machine.
Déposez le couvercle droit du système électrique; voir Emplacement des fusibles du système de 12V.
Localisez le connecteur sur le faisceau principal de la machine et installez le connecteur de bouclage.

Avant de tondre des verts, trouvez une zone dégagée et entraînez-vous à exécuter les fonctions de base de la machine (démarrage et arrêt, levée et abaissement des unités de coupe, changement de direction, etc.).
Examinez la surface des vert et débarrassez-la des débris éventuellement présents qui pourraient endommager les unités de coupe pendant la tonte, enlevez le drapeau de la coupelle et déterminez la meilleure direction de tonte. Basez la direction de tonte sur celle de la tonte précédente. Alternez toujours le sens de la tonte par rapport à la coupe précédente afin que l'herbe ait moins tendance à s'aplatir et soit plus facile à couper.
Commencez sur un bord du vert afin de pouvoir utiliser la procédure de tonte dite « en ruban ».
Note: Cette méthode minimise le compactage et laisse des bandes esthétiques sur les verts.
Placez la commande de fonction en position TONTE.
Poussez le levier multifonction en avant quand les bords avant des unités de coupe franchit le bord extérieur du vert.
Note: Cette procédure abaisse les unités de coupe sur le gazon et démarre les cylindres.
Important: L'unité centrale s'élève ou s'abaisse légèrement après les unités de coupe avant; pour cette raison, entraînez-vous à synchroniser les opérations pour minimiser la tonte de rattrapage nécessaire et éviter de scalper la zone limitrophe.L'unité de coupe centrale s'élève et s'abaisse en fonction de la vitesse de déplacement. Une basse vitesse de déplacement a pour effet d'augmenter le délai de levée ou de descente, tandis qu'une vitesse plus élevée a pour effet de réduire le délai de levée ou de descente. La machine surveille la vitesse de déplacement et met à jour ce délai afin que les trois unités de coupe s'abaissent au même niveau.
Lors du passage retour, empiétez légèrement sur la bande tondue précédemment.
Note: Pour vous aider à traverser le vert en ligne droite et à maintenir la machine à égale distance du bord de la passe précédente, imaginez une ligne de vision approximativement 1,8 à 3 m devant la machine jusqu'au bord de la partie non tondue du vert (Figure 36). Faites passer la ligne de vision par le bord extérieur du volant, c.-à-d. maintenez le bord du volant aligné sur un point se trouvant toujours à la même distance par rapport à l'avant de la machine.
Lorsque le bord avant des bacs à herbe franchit le bord du vert, tirez le levier de levée/descente en arrière et maintenez-le dans cette position jusqu'à ce que toutes les unités de coupe soient levées. Cela arrête les cylindres et lève les unités de coupe.
Important: Programmez cette procédure correctement pour éviter d'empiéter sur la zone limitrophe, tout en tondant la plus grande superficie possible du vert de sorte à minimiser la quantité d’herbe restant à tondre autour de la périphérie extérieure.
Pour réduire le temps de travail et faciliter l'alignement pour la passe suivante, tournez momentanément la machine dans la direction opposée, puis tournez-la vers la partie à tondre. Ce demi-tour en « goutte d'eau » (Figure 35) permet d'aligner rapidement la machine pour la passe suivante.
Note: Si la fonction alentir pour tourner est activée, la machine ralentit en tournant sans que vous deviez relâcher la pédale de déplacement.

Note: Essayez de tourner au plus serré, sauf par temps chaud, où un virage plus large minimisera les marques sur le gazon.

Important: N'arrêtez jamais la machine sur le vert, en particulier quand les unités coupe sont en marche, car cela pourrait endommager le gazon. Si vous arrêtez la machine sur un vert, les roues peuvent y laisser des marques ou des empreintes.
Terminez la tonte du vert par la périphérie extérieure. Changez la direction de tonte par rapport à la tonte précédente.
Voir Tonte de la périphérie du terrain et fin de la tonte pour améliorer la finition du gazon et réduire la « zone triplex ».
Note: Tenez toujours compte des conditions météorologiques et de l'état du gazon et veillez à changer la direction de coupe par rapport à la tonte précédente.
Lorsque vous avez fini de tondre la périphérie extérieure, tirez légèrement le levier de levée/descente en arrière pour arrêter les cylindres (si la fonction temporisation de pause est activée), puis quittez le vert. Lorsque toutes les unités de coupe ont quitté le vert, tirez le levier de levée/descente en arrière pour lever les unités de coupe.
Note: Cela permet de minimiser les paquets d'herbe qui restent à la surface du vert.
Remettez le drapeau en place.
| Périodicité d'entretien | Procédure d'entretien |
|---|---|
| À chaque utilisation ou une fois par jour |
|
Après la tonte, lavez soigneusement la machine au jet d'eau sans buse pour éviter qu'une pression d'eau excessive ne vienne contaminer et endommager les joints et les roulements. Ne lavez pas le moteur encore chaud ni des connexions électriques avec de l'eau.
Important: Ne nettoyez pas la machine avec de l'eau saumâtre ou recyclée.
Important: Ne lavez pas la machine au jet haute pression. Cela pourrait endommager le système électrique, décoller des autocollants importants ou enlever la graisse nécessaire aux points de frottement. De l'eau pourrait être forcée sous les joints et contaminer l'huile et la graisse dans les boîtiers. N'utilisez pas trop d'eau près du panneau de commande, du moteur et de la batterie.
Important: Ne lavez pas la machine pendant que le moteur tourne. Cela pourrait endommager les pièces internes du moteur.
Important: Ne forcez pas d'eau dans le silencieux. L'infiltration d'eau dans le silencieux peut causer des dommages internes au moteur et en réduire les performances.
Vérifiez l'affutage des unités de coupe après avoir nettoyé la machine.
Procédez avec prudence pour charger la machine sur une remorque ou un camion, ainsi que pour la décharger.
Utilisez une rampe d'une seule pièce pour charger la machine sur une remorque ou un camion.
Arrimez solidement la machine au moyen de sangles, chaînes, câbles ou cordes. Les sangles avant et arrière doivent être dirigées vers le bas et l'extérieur de la machine (Figure 37).

Après avoir sécurisé la machine pour le transport, fermez le robinet d'arrivée de carburant.
Note: Voir la Figure 38 pour cette procédure.

Pour remorquer la machine, vous devez relâcher l'actionneur de frein comme suit :
Serrez le frein de stationnement.
Enlevez la clé et débranchez les connecteurs d'alimentation principale.
Important: Si les connecteurs d'alimentation principale restent branchés pendant le remorquage, des dommages électriques peuvent se produire.
Fermez le robinet d'arrivée de carburant.
Cales les roues avant des deux côtés.
Détendez le ressort en desserrant l'écrou qui fixe le le boulon à Å“il au support du ressort.
Retirez le ressort.
Insérez un manche à rochet (â…œ po) dans le trou du support de bras et enfoncez l'arbre d'actionneur.
Lorsque l'actionneur est dégagé du frein, la machine peut rouler en roue libre. La machine en roue libre peut causer de graves blessures aux personnes à proximité.
Si la machine n'est pas remorquée, serrez le frein de stationnement.
Serrez le frein de stationnement.
Retirez les cales des roues.
Si le kit 3 roues motrices est installé, débranchez les connecteurs du faisceau du kit du faisceau principal.
Important: Si les faisceaux du kit et de la machine restent connectés pendant le remorquage, des dommages électriques peuvent se produire.
Quand la machine est prête pour le remorquage, desserrez le frein de stationnement.
Demandez à une autre personne de s'asseoir sur le siège, d'attacher la ceinture de sécurité et de freiner pendant que vous remorquez la machine.
Note: Cela permet de garder le contrôle de la machine quand vous la remorquez sur les terrains ondulés et sur les pentes.
Utilisez la fourche de la roue pivotante arrière pour remorquer la machine (Figure 39).
Important: Ne remorquez pas la machine à plus de 5 km/h (3 mi/h). Cela pourrait endommager les composants électriques.

Après avoir remorqué la machine jusqu'à sa destination, effectuez la procédure suivante :
Serrez le frein de stationnement.
Détachez la sangle de remorquage de la fourche de la roue pivotante.
Préparez l'utilisation en serrant l'écrou du boulon à Å“il afin que la longueur du ressort soit 11,4 cm (4,5 po) lorsqu'il est en place (Figure 38).
Vous pouvez conduire la machine en utilisant l'alimentation de la batterie. Cette fonction peut être utilisée dans les deux cas suivants :
Pour conduire la machine jusqu'à l'atelier.
Pour quitter le vert si le moteur de la machine s'arrête.
Vous pouvez seulement déplacer la machine; vous ne pouvez pas engager les unités de coupe. Cette fonction reste disponible pendant 1 minute; vous pouvez couper puis rétablir le contact pour la remettre à zéro.
Asseyez-vous sur le siège et attachez la ceinture de sécurité.
Tournez la clé à la position CONTACT.
Placez le sélecteur de fonction à la position TONTE ou TRANSPORT.
Desserrez le frein de stationnement.
Utilisez la pédale de déplacement pour transporter la machine.
Note: La vitesse de déplacement est limitée à 4,8 km/h (3 mi/h) en marche avant et à 4 km/h (2,5 mi/h) en marche arrière.
Important: L'utilisation excessive ou prolongée de cette fonction peut réduire la durée de vie des batteries.
| Périodicité d'entretien | Procédure d'entretien |
|---|---|
| Après les 8 premières heures de fonctionnement |
|
| Après les 50 premières heures de fonctionnement |
|
| À chaque utilisation ou une fois par jour |
|
| Toutes les 25 heures |
|
| Toutes les 50 heures |
|
| Toutes les 100 heures |
|
| Toutes les 200 heures |
|
| Toutes les 800 heures |
|
| Toutes les 1000 heures |
|
| Tous les 2 ans |
|
Copiez cette page pour pouvoir vous en servir régulièrement.
| Entretiens à effectuer | Pour la semaine du : | ||||||
|---|---|---|---|---|---|---|---|
| Lun. | Mar. | Mer. | Jeu. | Ven. | Sam. | Dim. | |
| Vérifiez le fonctionnement du système de sécurité. | |||||||
| Vérifiez le fonctionnement des instruments. | |||||||
| Vérifiez le fonctionnement des freins. | |||||||
| Contrôlez le niveau d'huile moteur. | |||||||
| Contrôlez le niveau de carburant. | |||||||
| Nettoyez les ailettes de refroidissement du moteur. | |||||||
| Examinez le préfiltre du filtre à air. | |||||||
| Vérifiez tous bruits anormaux en provenance du moteur. | |||||||
| Contrôle de la pression des pneus. | |||||||
| Vérifiez le réglage cylindre/contre-lame. | |||||||
| Vérifiez le réglage de la hauteur de coupe. | |||||||
| Retouchez les peintures endommagées. | |||||||
| Examinez les capteurs et leurs supports. | |||||||
| Lavez la machine. | |||||||
| Notes concernant les problèmes constatés | ||
| Contrôle effectué par : | ||
| Contrôle | Date | Information |
Les crics mécaniques ou hydrauliques peuvent céder sous le poids de la machine et causer des blessures graves.
Utilisez des chandelles pour soutenir la machine après l'avoir soulevée.
Utilisez uniquement des crics mécaniques ou hydrauliques pour lever la machine.
Placez un cric au point de levage souhaité (Figure 40) :
Marchepied sur le côté gauche de la machine
Support de cric sur le côté droit de la machine
Fourche de roue pivotante à l'arrière de la machine

Après avoir levé la machine, placez une chandelle aux emplacement suivants pour la soutenir (Figure 41) :
Supports de batterie à l'arrière de la machine
Supports de pivot d'unité de coupe à l'avant de la machine

| Périodicité d'entretien | Procédure d'entretien |
|---|---|
| Toutes les 25 heures |
|
| Toutes les 100 heures |
|
| Toutes les 200 heures |
|
Examinez les éléments en mousse et en papier; remplacez-les s'ils sont endommagés ou très encrassés.
Important: Ne lubrifiez pas l'élément en mousse ou en papier.
Garez la machine sur une surface plane et horizontale, abaissez les unités de coupe et serrez le frein de stationnement.
Coupez le moteur et enlevez la clé.
Nettoyez la surface autour du filtre à air pour éviter que des impuretés n'endommagent le moteur en tombant à l'intérieur (Figure 43).
Desserrez les boutons du couvercle et déposez le couvercle du filtre à air (Figure 43).
Desserrez le collier et déposez le filtre à air (Figure 43).
Sortez délicatement l'élément en mousse de l'élément en papier (Figure 43).

Lavez l'élément en mousse dans de l'eau chaude additionnée de savon liquide. Rincez soigneusement l'élément une fois propre.
Séchez l'élément en le pressant dans un chiffon propre.
Important: Ne tordez pas l'élément en mousse car il pourrait se déchirer.Remplacez l'élément en mousse s'il est usé ou déchiré.
Nettoyez l'élément en papier en le tapotant pour faire tomber la poussière. Remplacez-le s'il est très encrassé (Figure 43).
Vérifiez que l'élément n'est pas déchiré ni couvert d'une pellicule grasse, et que le joint de caoutchouc n'est pas endommagé.
Remplacez l'élément en papier s'il est endommagé.
Important: Ne nettoyez pas l'élément en papier.
Important: Pour ne pas endommager le moteur, ne le faites jamais tourner sans le filtre à air complet garni des éléments en mousse et en papier.
À la livraison, le carter moteur contient de l'huile; vérifiez toutefois le niveau d'huile avant et après le premier démarrage du moteur.
Catégorie de service API : SJ- ou mieux
Viscosité d'huile : SAE 30
Note: Utilisez n'importe quelle huile détergente de haute qualité.
| Périodicité d'entretien | Procédure d'entretien |
|---|---|
| À chaque utilisation ou une fois par jour |
|
Les moteurs peuvent devenir extrêmement chauds pendant le fonctionnement normal.
Laissez refroidir le moteur avant de contrôler l'huile ou d'effectuer un entretien du moteur.
Voir la Figure 44 pour cette procédure.
Garez la machine sur une surface plane et horizontale, abaissez les unités de coupe, serrez le frein de stationnement, coupez le moteur et enlevez la clé.
Dévissez la jauge, sortez-la et essuyez-la sur un chiffon propre.
Insérez la jauge dans le tube.
Sortez la jauge du tube et vérifiez le niveau d'huile.
Si le niveau d'huile est trop bas, faites l'appoint par le tube de la jauge jusqu'à ce que le niveau atteigne le repère MAXIMUM sur la jauge.
Versez l’huile lentement et vérifiez souvent le niveau durant la procédure.
Important: Ne remplissez pas le carter moteur excessivement.
Remettez la jauge en place.


| Périodicité d'entretien | Procédure d'entretien |
|---|---|
| Après les 8 premières heures de fonctionnement |
|
| Toutes les 100 heures |
|
Les moteurs peuvent devenir extrêmement chauds pendant le fonctionnement normal.
Laissez refroidir le moteur avant de vidanger l'huile, de remplacer le filtre à huile ou d'effectuer un entretien du moteur.
Quantité d'huile moteur : 1,7 L (1,8 pte américaine) avec filtre
Retirez le bouchon de vidange (Figure 45) et laissez couler l'huile dans un bac de vidange.

Nettoyez le filetage du bouchon de vidange et remettez le bouchon en place (Figure 45).
Déposez le filtre à huile (Figure 46).


Appliquez une fine couche d'huile sur le joint du filtre de rechange.
Vissez le filtre dans le sens horaire jusqu'à ce que le joint rejoigne l'adaptateur, puis serrez-le encore de 3/4 à 1 tour. Ne le serrez pas excessivement.
Faites l'appoint d'huile dans le carter moteur; voir Contrôle du niveau d'huile moteur.
Débarrassez-vous du filtre à huile et de l'huile usagée conformément à la réglementation locale en matière d'environnement.
| Périodicité d'entretien | Procédure d'entretien |
|---|---|
| Toutes les 100 heures |
|
Les moteurs peuvent devenir extrêmement chauds pendant le fonctionnement normal.
Laissez refroidir le moteur avant de faire l'entretien de la bougie ou d'effectuer un entretien du moteur.
Avant de monter une bougie, vérifiez si l'écartement entre l'électrode centrale et l'électrode latérale est correct. Utilisez une clé à bougies pour déposer et reposer les bougies, et une jauge d'épaisseur pour contrôler et régler l'écartement des électrodes. Remplacez les bougies au besoin.
Type de bougie :NGK® BPR4ES ou type équivalent
Écartement des électrodes : 0,75 mm (0,03 po)
Garez la machine sur une surface plane et horizontale, abaissez les unités de coupe et serrez le frein de stationnement.
Coupez le moteur et enlevez la clé.
Localisez le capuchon des bougies.
Nettoyez la surface autour du capuchon des bougies pour éviter que des impuretés ne tombent dans le cylindre.
Détachez les capuchons des bougies (Figure 47).

Déposez les bougies du moteur.
Important: Remplacez toujours les bougies si elles sont recouvertes d'un dépôt noir ou d'une couche grasse, si elles sont fissurées ou si les électrodes sont usées.
Décalaminez les bougies avec une brosse métallique.
Lavez les bougies dans un produit nettoyant pour carburateur et veillez à éliminer toutes les impuretés.
Vérifiez si les bougies sont fissurées, recouvertes d'un dépôt noir ou d'une couche grasse, si les électrodes sont usées, ou si les bougies sont autrement usées ou endommagées.
Remplacez les bougies au besoin. Remplacez toutes les bougies même si une seule est endommagée.
Contrôlez l'écartement des électrodes et corrigez-le si nécessaire. Pour modifier l'écartement des électrodes, pliez l'électrode latérale seulement à l'aide d'un outil pour bougie.
Réglez l'écartement des électrodes à 0,75 mm (0,03 po).

Si l'isolateur est recouvert d'un léger dépôt gris ou brun, le moteur fonctionne correctement. S'il est recouvert d'un dépôt noir, cela signifie généralement que le filtre à air est encrassé.
Voir la Figure 49 pour cette procédure.
Installez la bougie dans le moteur.
Serrez la bougie à 22 N·m (16 pi-lb).
Replacez le capuchon sur les bougies.

| Périodicité d'entretien | Procédure d'entretien |
|---|---|
| Toutes les 1000 heures |
|
Le filtre à carburant en ligne se trouve entre le robinet d'arrivée de carburant et le moteur.
Dans certaines circonstances, le carburant est extrêmement inflammable et hautement explosif. Un incendie ou une explosion causé(e) par du carburant peut vous brûler, ainsi que toute personne à proximité, et causer des dommages matériels.
Vidangez le réservoir de carburant lorsque le moteur est froid. Travaillez à l'extérieur, dans un endroit dégagé. Essuyez tout carburant répandu.
Ne fumez jamais pendant la vidange du carburant, et tenez-vous à l'écart des flammes nues ou des sources d'étincelles qui pourraient enflammer les vapeurs de carburant.
Fermez le robinet d'arrivée de carburant (Figure 50).

Placez un bac de vidange sous le filtre, desserrez le collier sur le côté carburateur du filtre, et débranchez la conduite de carburant du filtre (Figure 50).
Desserrez l'autre collier et déposez le filtre.
Vérifiez que les conduites de carburant ne sont pas fissurées, détériorées ou autrement endommagées, et remplacez-les si nécessaire.
Montez le nouveau filtre en orientant la flèche sur le boîtier du filtre dans la direction opposée au réservoir de carburant.
Vérifiez que les flexibles et les colliers sont bien fixés sur le filtre.
Ouvrez le robinet d'arrivée de carburant et remplissez le réservoir. Assurez-vous que les conduites de carburant ne fuient pas et sont bien serrées.
| Périodicité d'entretien | Procédure d'entretien |
|---|---|
| Tous les 2 ans |
|
Vérifiez si les conduites d'alimentation sont détériorées ou endommagées, ou si elles présentent des raccords desserrés.
Les connecteurs d'alimentation principale fournissent le courant des batteries à la machine. Coupez l'alimentation électrique en séparant les connecteurs; pour rétablir l'alimentation, rebranchez les connecteurs ensemble. Voir Connecteurs d'alimentation principale.
S'ils sont mal acheminés, les câbles de la batterie peuvent subir des dommages ou endommager la machine et produire des étincelles. Les étincelles peuvent provoquer l'explosion des gaz de la batterie et vous blesser.
Débranchez toujours le câble négatif (noir) de la batterie avant le câble positif (rouge).
Connectez toujours le câble positif (rouge) de la batterie avant le câble négatif (noir).
La batterie 12 V AGM (absorbent glass mat / à séparateur en fibres de verre)(Figure 51) alimente l'InfoCenter, l'actionneur de frein, le contrôleur de la machine et le module d'isolation CAN.

Déposez le couvercle droit.
Déposez le couvercle de la batterie.
Débranchez les câbles des batteries.
Connectez le chargeur aux bornes de la batterie et chargez la batterie.
Prenez note de ce qui suit concernant le chargeur de batterie :
Les connecteurs du chargeur de batterie ne doivent pas se toucher ni toucher le cadre de la machine. Il est recommandé d'utiliser des connecteurs plus petits.
Utilisez de préférence un chargeur de batterie à réglage de charge AGM.
Intensité de charge maximale : 2,4 A
Tension de charge maximale : 14,3 V
Branchez les câbles sur la batterie quand la charge est terminée.
Reposez le couvercle sur la batterie.
Reposez le couvercle droit.
Important: Il est déconseillé de charger le système de batteries de 48 V.
Le système de batteries de 48 V se compose de 4 batteries (12 V, AGM [absorbed glass mat / à séparateur en fibres de verre]). Les batteries sont sous les couvercles, de chaque côté de la machine; voir Figure 52. Ce système assure l'alimentation électrique des roues de la machine, des moteurs des unités de coupe, du moteur de direction et des actionneurs de levage.

Les fusibles du système électrique de 48 V sont situés sous le siège (Figure 53).

Les fusibles du circuit de commande des cylindres sont situés sous le couvercle, sur le côté gauche de la machine. Pour accéder au porte-fusibles, déposez le couvercle gauche et le couvercle du porte-fusibles (Figure 56).

Voir la description de chaque fusible sur l'autocollant du porte-fusibles à la Figure 57 :

Les fusibles de l'alternateur (100 A) et du moteur de roue droite (60 A) sont sous le siège (Figure 58).

Le fusible du moteur de roue gauche (60 A) est situé sous le couvercle, sur le côté gauche de la machine, près des fusibles du circuit de commande des cylindres (Figure 59).

Le fusible du système électrique est situé sous les connecteurs d'alimentation principale (Figure 60).

| Périodicité d'entretien | Procédure d'entretien |
|---|---|
| À chaque utilisation ou une fois par jour |
|
Faites varier la pression des 3 pneus en fonction de l'état du gazon, de 0,83 bar minimum à 1,10 bar maximum (12 à 16 psi).
Important: Vérifiez que la pression des pneus est identique pour chaque roue. Si la pression n'est pas la même pour chaque roue, les performances de la machine seront affectées.
| Périodicité d'entretien | Procédure d'entretien |
|---|---|
| Après les 8 premières heures de fonctionnement |
|
| Toutes les 200 heures |
|
Un serrage incorrect des écrous de roues peut occasionner des blessures.
Serrez les écrous de roues au couple prescrit aux intervalles spécifiés.
Couple de serrage des écrous de roues : 108 à 122 N·m (80 à 90 pi-lb)
Pour assurer une répartition uniforme, serrez les écrous de roues dans l'ordre indiqué à la Figure 63.

| Périodicité d'entretien | Procédure d'entretien |
|---|---|
| Après les 8 premières heures de fonctionnement |
|
| Toutes les 800 heures |
|
Spécifications du liquide : SAE 80W90
Capacité d'huile du boîtier d'engrenages : 384 ml (13 oz liq.) approximativement
Soulevez la machine; voir Levage de la machine.
Important: La machine doit être horizontale pour pouvoir ajouter la quantité correcte d'huile dans le boîtier.Vérifiez que la machine est bien horizontale sur les chandelles.
Déposez les roues gauche et droite comme suit :
Desserrez et retirez les écrous de roue (Figure 64).

Déposez les roues gauche et droite.
Placez un bac de vidange sous le moteur de roue (Figure 65).

Enlevez le bouchon de l'orifice de vidange (Figure 65).
Note: L'orifice de vidange est situé au bas du boîtier d'engrenages.
Note: Vidangez toute l'huile du boîtier d'engrenages.
Nettoyez le bouchon.
Remettez le bouchon dans l'orifice de vidange (Figure 65).
Déposez le flexible et le raccord d'évent au sommet du boîtier d'engrenages (Figure 66).

Versez 384 ml (13 oz liq.) du liquide spécifié dans l'orifice de remplissage.
Reposez le flexible et le raccord 'évent dans l'orifice de remplissage (Figure 66).
Reposez les roues comme suit :
Glissez les roues gauche et droite sur les moyeux des roues.
Installez les écrous de roue (Figure 64).
Serrez les écrous des roues au couple prescrit sous Contrôle du couple de serrage des écrous de roues.
Si le frein n'immobilise pas la machine lorsqu'elle est garée, vous pouvez régler les freins; contactez votre dépositaire Toro agréé ou consultez le Manuel d'entretien pour plus de renseignements.
Une lame ou contre-lame usée ou endommagée peut se briser et projeter le morceau cassé dans votre direction ou celle d'autres personnes, et infliger des blessures graves ou mortelles.
Vérifiez périodiquement que les lames et les contre-lames ne sont pas excessivement usées ou endommagées.
Examinez les lames avec prudence. Portez des gants et procédez toujours avec précaution pendant leur entretien. Les lames et les contre-lames doivent uniquement être remplacées ou rodées; n'essayez jamais de les redresser ou de les souder.
Sur les machines à plusieurs unités de coupe, faites attention quand vous tournez une unité de coupe, car sa rotation peut entraîner celle des cylindres des autres unités de coupe.
Note: Lorsque les unités de coupe ne sont pas accouplées à la machine, rangez les moteurs des cylindres à l'avant des bras de suspension pour éviter de les endommager.
Important: N'élevez pas la suspension en position de transport lorsque les moteurs des cylindres sont sur les supports du cadre de la machine. Cela pourrait endommager les moteurs ou les flexibles.
Important: Chaque fois que vous devez basculer l'unité de coupe, soutenez l'arrière pour que les écrous situés sur les vis de réglage de la barre d'appui ne reposent pas sur la surface de travail (Figure 67).

Vous pouvez vous brûler gravement si vous touchez le moteur ou le silencieux quand ils sont chauds.
Laissez refroidir le moteur ou le silencieux avant d'installer les unités de coupe.
Vous devrez peut-être baisser la suspension pour installer les unités de coupe. Baissez la suspension comme suit :
Garez la machine sur une surface propre, plane et horizontale.
Placez le sélecteur de fonction à la position POINT MORT.
Démarrez le moteur ou tournez la clé à la position CONTACT.
Baissez la suspension à l'aide du levier de levée/descente.
Serrez le frein de stationnement, coupez le moteur et retirez la clé.
Installez les unités de coupe comme suit :
Débranchez les connecteurs d'alimentation principale; voir Connecteurs d'alimentation principale.
Si vous ne débranchez pas l'alimentation électrique de la machine, quelqu'un pourrait mettre en marche les unités de coupe accidentellement et causer de graves blessures aux mains et aux pieds.
Débranchez toujours les connecteurs d'alimentation principale avant d'intervenir sur les unités de coupe.
Placez l'unité de coupe sous le bras de suspension central.
Ouvrez les verrous sur la barre du bras de suspension (Figure 68) et poussez le bras vers le bas de sorte que la barre recouvre les deux bras d'inclinaison sur l'unité de coupe; assurez-vous que les verrous passent sous la barre transversale de l'unité de coupe (Figure 69).


Fermez les verrous autour de la barre de l'unité de coupe et bloquez-les en place (Figure 68).
Note: Un déclic se fait entendre et ressentir lorsque les verrous sont correctement verrouillés en place.
Enduisez de graisse propre l'arbre cannelé du moteur de l'unité de coupe (Figure 70).
Insérez le moteur dans le côté gauche de l'unité de coupe (vu par rapport à la position de l'utilisateur) et tirez la barre de retenue du moteur, située sur l'unité de coupe, vers le moteur jusqu'à ce que vous entendiez un déclic des deux côtés du moteur (Figure 70).

Répétez cette procédure pour les autres unités de coupe.
Branchez les connecteurs d'alimentation principale; voir Connecteurs d'alimentation principale.
Vous pouvez vous brûler gravement si vous touchez le moteur ou le silencieux quand ils sont chauds.
Laissez refroidir le moteur ou le silencieux avant d'installer les unités de coupe.
Garez la machine sur une surface propre, plane et horizontale, placez le sélecteur de fonction à la position POINT MORT et abaissez les unités de coupe avec le levier de levée/descente.
Serrez le frein de stationnement, coupez le moteur et retirez la clé.
Débranchez les connecteurs d'alimentation principale; voir Connecteurs d'alimentation principale.
Si vous ne débranchez pas l'alimentation électrique de la machine, quelqu'un pourrait mettre en marche les unités de coupe accidentellement et causer de graves blessures aux mains et aux pieds.
Débranchez toujours les connecteurs d'alimentation principale avant d'intervenir sur les unités de coupe.
Poussez la barre de retenue du moteur hors des fentes du moteur, en direction de l'unité de coupe, puis déposez le moteur de l'unité de coupe.

Transférez le moteur à la position de rangement sur l'avant du bras de suspension (Figure 72).

Note: Lors de l'affûtage des lames, du réglage de la hauteur de coupe ou de toute autre procédure d'entretien des unités de coupe, rangez les moteurs des cylindres de coupe à l'avant des bras de suspension pour éviter de les endommager.
Important: N'élevez pas la suspension en position de transport lorsque les moteurs des cylindres sont sur les supports du cadre de la machine. Cela pourrait endommager les moteurs ou les flexibles. S'il est nécessaire de déplacer le groupe de déplacement sans que les unités de coupe soient installées, fixez-les aux bras de suspension avec des attache-câbles.
Ouvrez les verrous sur la barre du bras de suspension de l'unité de coupe que vous voulez déposer (Figure 68).
Détachez les verrous de la barre de l'unité de coupe.
Faites rouler l'unité de coupe pour la sortir de sous le bras de suspension.
Répétez les opérations 4 à 8 pour les autres unités de coupe au besoin.
Branchez les connecteurs d'alimentation principale; voir Connecteurs d'alimentation principale.
| Périodicité d'entretien | Procédure d'entretien |
|---|---|
| À chaque utilisation ou une fois par jour |
|
Contrôlez le contact cylindre/contre-lame avant chaque journée de travail, quelle qu'ait été la qualité de la coupe jusque-là. Il doit exister un léger contact sur toute la longueur du cylindre et de la contre-lame; voir le Manuel de l'utilisateur des unités de coupe.
Avant de contrôler les cylindres, débranchez les connecteurs d'alimentation principale; voir Connecteurs d'alimentation principale. Rebranchez-les lorsque vous avez terminé.
Les contre-lames, les lames des cylindres ou autres pièces mobiles peuvent causer des blessures.
N'approchez pas les mains, les doigts et les vêtements des contre-lames, des lames des cylindres ou autres pièces mobiles.
N'essayez jamais de faire tourner les cylindres avec la main ou le pied quand le moteur est en marche.
Garez la machine sur une surface plane et horizontale, abaissez les unités de coupe, placez le sélecteur de fonction à la position POINT MORT, serrez le frein de stationnement, coupez le moteur et enlevez la clé.
Effectuez les premiers réglages cylindre/contre-lame nécessaires pour le rodage de toutes les unités de coupe qui en ont besoin; voir le Manuel de l'utilisateur des unités de coupe.
Introduisez la clé dans le commutateur d'allumage et démarrez le moteur.
Sur l'InfoCenter, ouvrez le menu ENTRETIEN et sélectionnez l'option BACKLAP (rodage).
Activez l'option BACKLAP (ON).
Ouvrez le menu principal et faites défiler les options jusqu'au menu Réglages.
Dans le menu RéGLAGES, naviguez jusqu'à l'option VITESSE DE RODAGE et choisissez le numéro correspondant à la vitesse voulue avec le bouton ±.
Avec le sélecteur de fonction à la position POINT MORT, déplacez le levier de levée/descente vers l'avant pour commencer le rodage des lames des cylindres désignés.
Appliquez le produit de rodage avec un pinceau à long manche. N'utilisez jamais de pinceau à manche court.
Si les cylindres calent ou se mettent à tourner irrégulièrement pendant le rodage, augmentez le régime moteur jusqu'à ce que la vitesse des cylindres se stabilise.
Pour effectuer un réglage sur les unités de coupe pendant le rodage, arrêtez les cylindres en tirant le levier de levée/descente en arrière et coupez le moteur. Lorsque le réglage est terminé, répétez les opérations 3 à 9.
Répétez la procédure pour toutes les unités de coupe que vous voulez roder.
Lorsque vous avez terminé, remettez l'option BACKLAP (rodage) sur désactivé (OFF) sur l'InfoCenter ou tournez la clé à la position ARRêT pour rétablir la tonte en marche avant.
Lavez toute trace de produit de rodage sur les unités de coupe. Réglez le contact cylindre/contre-lame selon les besoins. Amenez la commande de vitesse des cylindres à la position de tonte voulue.
Important: Ne nettoyez pas les unités de coupe avec un jet d'eau haute pression. Vous pourriez endommager les roulements et les joints.
| Périodicité d'entretien | Procédure d'entretien |
|---|---|
| À chaque utilisation ou une fois par jour |
|

Un capteur ou un support de capteur plié ou cassé augmente le risque de dysfonctionnement du système de détection d’objets, ce qui peut entraîner des blessures graves ou mortelles.
Réparez ou remplacez immédiatement les capteurs ou supports pliés ou cassés.
Inspectez les capteurs et leurs supports avant d'utiliser la machine en mode autonome.
| Périodicité d'entretien | Procédure d'entretien |
|---|---|
| À chaque utilisation ou une fois par jour |
|
Nettoyez les capteurs s’ils présentent une accumulation de débris notable ou ne fonctionnent pas.
Évitez de trop nettoyer les capteurs car vous pourriez les endommager.
Voir l’emplacement des capteurs à la Figure 73.
Important: Ne nettoyez pas les capteurs avec un jet d’eau haute pression.
Utilisez le nettoyant Simple Green® ou tout autre savon doux de ce type pour nettoyer les résidus ou les débris sur les capteurs sonars ou radars.
Note: Évitez d’utiliser de l’eau dure pour nettoyer le capteur LiDAR.
Déterminez la méthode de nettoyage appropriée :
Recherchez les 5 premiers caractères du numéro de série du capteur. Le numéro de série est situé sur l’étiquette collée sous le capteur.
Si les 5 premiers caractères sont compris entre AE001 et AE229, passez à l’étape 2.
Si les 5 premiers caractères sont AE230, passez à l’étape 3 ou 4.
Nettoyage à l’eau savonneuse.
Avec un pulvérisateur rempli d’eau propre et chaude, décollez les débris sur la lentille du capteur.
Important: N’essuyez pas directement la saleté ou les débris sur le capteur. Cela pourrait rayer la lentille.
Essuyez délicatement le capteur avec un chiffon microfibre et de l’eau chaude légèrement savonneuse.
Note: Essuyez le capteur en suivant la courbe de la lentille plutôt que de haut en bas.
Vaporisez de l’eau propre sur le capteur pour rincer le reste de savon, puis séchez-le avec un chiffon microfibre propre.
Nettoyage avec de l’alcool isopropylique.
Avec un pulvérisateur rempli d’eau propre et chaude, décollez les débris sur la lentille du capteur.
Important: N’essuyez pas directement la saleté ou les débris sur le capteur. Cela pourrait rayer la lentille.
Nettoyez la saleté ou les débris restants sur le capteur avec de l’alcool isopropylique et un chiffon microfibre propre.
Essuyez délicatement le capteur avec un chiffon microfibre et de l’eau chaude légèrement savonneuse.
Note: Essuyez le capteur en suivant la courbe de la lentille plutôt que de haut en bas.
Vaporisez de l’eau propre sur le capteur pour rincer le reste de savon, puis séchez-le avec un chiffon microfibre propre.
Nettoyage avec un nettoyant pour optique NACL.
North American Coating Laboratories (NACL) a formulé une solution de nettoyage pour certains appareils optiques. Elle peut être commandée directement en utilisant l’information suivante :
NACL réf. : 98-0020
Description NACL : NACL Precision Optics Cleaner 6 oz
Pulvérisez la solution de nettoyage pour optiques NACL sur un chiffon microfibre propre et sec.
Essuyez délicatement le capteur en suivant la courbe de la lentille plutôt que de haut en bas.
Si vous prévoyez de remiser la machine pendant une durée prolongée, effectuez les opérations énumérées à la section Préparation de la machine au remisage.
Dans la mesure du possible, rangez la machine dans un endroit chaud et sec.
Les batteries, qu'elles soient sur ou retirées de la machine, doivent être stockées dans un environnement adéquat :
Les températures de stockage recommandées doivent être comprises entre 10 et 25 °C (50 et 77 °F).
Le stockage à des températures extrêmes accélèrera les taux d'auto-décharge.
Si vous anticipez une baisse des températures en dessous de zéro pendant une période prolongée, retirez les batteries de la machine et rangez-les dans un lieu plus chaud.
Débranchez les connecteurs d'alimentation principale; voir Connecteurs d'alimentation principale.
Nettoyez la saleté et les brins d'herbe accumulés. Aiguisez les lames et les contre-lames au besoin; voir le Manuel de l'utilisateur de l'unité de coupe. Enduisez les contre-lames et les lames des cylindres de produit anticorrosion.
Vidangez complètement le réservoir de carburant. Faites tourner le moteur jusqu'à ce qu'il s'arrête. Remplacez le filtre à carburant; voir Remplacement du filtre à carburant.
Vidangez le carter moteur quand le moteur est encore chaud. Refaites le plein d'huile neuve; voir Vidange de l'huile moteur et remplacement du filtre à huile.
Enlevez les bougies, versez 30 ml (1 oz liq.) d'huile SAE 30 dans les cylindres et lancez le moteur pour bien répartir l'huile dans le système. Remettez les bougies en place; voir Entretien de la bougie.
Enlevez les saletés et les débris d'herbe sèche sur le cylindre, les ailettes de refroidissement de la culasse et le carter du ventilateur.
Débranchez les câbles de la batterie 12 V.
Assurez-vous que les batteries 12 V et 48 V sont chargées au maximum; voir les instructions de charge dans le Manuel d'entretien du groupe de déplacement.
Tous les 6 mois de stockage, vérifiez le niveau de charge de la batterie et chargez-la.
Levez et soutenez la machine pour délester les roues.