| Wartungsintervall | Wartungsmaßnahmen |
|---|---|
| Bei jeder Verwendung oder täglich |
|
Dieser Aufsitzrasenmäher mit Messerspindeln sollte nur von geschulten Facharbeitern in gewerblichen Anwendungen eingesetzt werden. Er ist hauptsächlich für das Mähen von Gras auf gepflegten Grünflächen vorgesehen. Wenn diese Maschine für einen anderen Zweck als vorgesehen eingesetzt wird, kann das für Sie und andere Personen gefährlich sein.
Im autonomen Betrieb ist dieser Mähroboter mit Spindelmessern für den Einsatz durch professionelles Fachpersonal zur autonomen Rasenpflege im gewerblichen Bereich vorgesehen. Er ist in erster Linie für das Mähen von Gras auf gut gepflegten Grünflächen auf Grundstücken vorgesehen, die die in Kriterien für die Bewertung von Standorten für den autonomen Betrieb beschriebenen Anforderungen von Toro erfüllen. Wenn diese Maschine für einen anderen Zweck als vorgesehen eingesetzt wird, kann das für Sie und andere Personen gefährlich sein.
Lesen Sie diese Informationen sorgfältig durch, um sich mit dem ordnungsgemäßen Einsatz und der Wartung des Geräts vertraut zu machen und Verletzungen und eine Beschädigung des Geräts zu vermeiden. Sie tragen die Verantwortung für einen ordnungsgemäßen und sicheren Einsatz des Geräts.
Besuchen Sie www.toro.com hinsichtlich Sicherheitstipps, Schulungsunterlagen, Zubehörinformationen, Standort eines Händlers oder Registrierung des Produkts.
Wenden Sie sich grundsätzlich an einen offiziellen Toro-Vertragshändler, wenn Sie eine Serviceleistung, Originalersatzteile von Toro oder weitere Informationen benötigen. Haben Sie dafür die Modell- und Seriennummern der Maschine griffbereit. In Bild 1 ist angegeben, wo an dem Produkt die Modell- und die Seriennummer angebracht sind. Tragen Sie hier die Modell- und Seriennummern des Geräts ein.
Important: Scannen Sie mit Ihrem Mobilgerät den QR-Code auf dem Seriennummernaufkleber (falls vorhanden), um auf Garantie-, Ersatzteil- oder andere Produktinformationen zuzugreifen.

Dieses Sicherheitswarnsymbol (Bild 2) in diesem Handbuch und an der Maschine weißt auf wichtige Sicherheitshinweise hin, die Sie beachten müssen, um Unfälle zu vermeiden.

Das Sicherheitswarnsymbol wird über Information dargestellt, die Sie vor unsicheren Handlungen oder Situationen warnen, gefolgt von dem Wort GEFAHR, WARNUNG oder VORSICHT.
GEFAHR bezeichnet eine unmittelbar drohende Gefahr. Wenn sie nicht gemieden wird, sind Tod oder schwerste Verletzungen die Folge.
WARNUNG bezeichnet eine möglicherweise drohende Gefahr. Wenn sie nicht gemieden wird, können Tod oder schwerste Verletzungen die Folge sein.
VORSICHT bezeichnet eine möglicherweise drohende Gefahr. Wenn sie nicht gemieden wird, können leichte oder geringfügige Verletzungen die Folge sein.
In dieser Anleitung werden zwei weitere Begriffe zur Hervorhebung von Informationen verwendet. Wichtig weist auf spezielle mechanische Informationen hin, und Hinweis hebt allgemeine Informationen hervor, die Ihre besondere Beachtung verdienen.
Diese Maschine ist für zwei Betriebsarten ausgelegt:
Manueller Betrieb: Betriebsart der Maschine, bei der die Maschinenfunktionen von einem Bediener gesteuert werden.
Autonomer Betrieb: Betriebsart der Maschine, in der die Maschine die mit ihren festgelegten Aufgaben verbundenen Funktionen ohne Eingreifen des Bedieners ausführt; stattdessen wird der Betrieb von einer qualifizierten Aufsichtsperson überwacht.
Befolgen Sie diese Richtlinien für den Betrieb der Maschine(n) im autonomen Betrieb an einem akzeptablen Standort.
Ein direkter Pfad ist ein Weg, dem die Maschine(n) im autonomen Betrieb ohne Hindernisse folgen können.
Ein Hindernis verhindert, dass die Maschine(n) ständig im autonomen Betrieb arbeiten. Das Objekterkennungssystem ist so konzipiert, dass es die Maschine anhält, wenn es eines der folgenden Hindernisse erkennt:
Abgrenzungen (z. B. eine feste Mauer oder ein Maschendrahtzaun; Seile und provisorische Zäune sind keine ausreichenden Hindernisse)
Stützmauern
Durchgehende Hecken- oder Pflanzenreihen, die höher als 1 m sind oder keine Lücken aufweisen, die größer sind als die Breite der Maschine
Gräben
Bachläufe
Seen
Gebäude
Zu steile Hänge, die die Maschine(n) nicht befahren können.
Jedes andere unwegsame Gelände, das die Maschine physisch nicht durchqueren kann.
Ein autonomer Arbeitsbereich (AOA) ist ein von der Aufsichtsperson definierter Bereich, in dem die Maschine(n) im autonomen Betrieb einem direkten Pfad folgen können.
Ein gesperrter-Arbeitsbereich (NOA - Non-Operating Area) ist ein von der Aufsichtsperson definierter Bereich, in dem die Maschine(n) im autonomen Betrieb keinen direkten Pfad folgen dürfen.
Ein akzeptabler Standort erfüllt alle Kriterien des Sicherheitskriterien für den autonomen Arbeitsbereich (AOA).
Bevor Sie die Maschine für den Betrieb im autonomen Betrieb freigeben, stellen Sie sicher, dass die Begrenzung des AOA mindestens 10 m von einer der folgenden Gefahren entfernt ist:
Note: Wenn sich ein Hindernis (z. B. eine feste Wand oder ein unwegsames Gelände) zwischen der Maschine und einer der folgenden Gefahren befindet, stellen Sie sicher, dass die Begrenzung des AOA mindestens 2 m von dem Hindernis entfernt ist.
Eine öffentliche Straße ist eine Straße, auf der Fahrzeuge (z. B. Autos, Geländewagen und Fahrräder) erlaubt sind, nicht aber Fußgänger.
Wenn öffentliche Bereiche oder Wege während des autonomen Betriebs für die Öffentlichkeit gesperrt sind, gelten die oben definierten AOA-Grenzbeschränkungen nicht.
Ein öffentlicher Radweg ist ein Weg für die tägliche, jederzeitige Nutzung durch die Allgemeinheit, der die Nutzung von leichten zweirädrigen Fahrzeugen (z. B. Fahrrädern und Rollern) erlaubt.
Wenn öffentliche Bereiche oder Wege während des autonomen Betriebs für die Öffentlichkeit gesperrt sind, gelten die oben definierten AOA-Grenzbeschränkungen nicht.
Ein öffentlicher Fußgängerweg ist ein von der Allgemeinheit genutzter öffentlicher Weg, der keine Benutzung von Fahrzeugen erlaubt.
Wenn öffentliche Bereiche oder Wege während des autonomen Betriebs für die Öffentlichkeit gesperrt sind, gelten die oben definierten AOA-Grenzbeschränkungen nicht.
Ein tiefer Bunker oder steiles Gefälle ist eine Sandgrube oder Vertiefung, die innerhalb von 1,0 m vom Rand 1,5 m oder mehr abfällt.
Eine Wartungseinrichtung umfasst die Gebäude und die dazugehörigen Außenbereiche, die nur vom Standortpersonal für die Wartung und Lagerung der Ausrüstung, einschließlich der Maschine(n), genutzt werden. Die unbefugte Personen und anderes Personal, das nicht mit der Wartung der Maschinen beauftragt ist, hat keinen Zugang zu den Wartungseinrichtungen oder den dazugehörigen Außenbereichen.
Privatgrundstück ist jeder Bereich, zu dem Sie keine Zugangsberechtigung haben.
Important: Übermäßige Hänge können innerhalb einer AOA oder weniger als 10 m von einer AOA-Grenze entfernt sein, aber es muss eine NOA-Grenze um sie herum vorhanden sein.
Messen Sie die Hangwinkel, indem Sie ein 1,25 m langes Stück Holzbrett über den steilsten Teil des Hangs legen und einen Neigungsmesser auf das Brett stellen.
Lassen Sie die Maschine(n) nicht im autonomen Betrieb an übermäßig steilen Hanglagen, wie hier definiert, arbeiten;
Setzen Sie die Maschine nicht an Hanglagen mit einer Neigung von mehr als oder gleich 14° (25 % Steigung) über eine horizontale Strecke von mehr als 10 m ein.
Setzen Sie diese Maschine nicht auf Hanglagen ein, die ein Gefälle von mehr als 15° (27 %-Steigung) aufweisen.
Qualifizierter Maschinenführer (Aufsichtsperson)
Eine oder mehrere Personen, die für die Überwachung des Betriebs der Maschine(n) verantwortlich sind. Eine Aufsichtsperson muss die folgenden Qualifikationen nachweisen können:
Angemessene Bedienung der Maschine
Allgemeines Verständnis der Versorgungs-, Antriebs- und Steuerungssysteme der Maschine(n)
Geschult und hat die Bedienungsanleitungen der Maschine gelesen und verstanden.
Qualifizierter manueller Bediener (Betreiber)
Ein oder mehrere Mitarbeiter des Kunden sind für das manuelle Fahren der Maschine im manuellen Betrieb verantwortlich.
Notabschaltung am Gerät
Ein Not-Halt-Schalter, der sich an der Maschine befindet und mit ihr verbunden ist. Der Schalter funktioniert nur, wenn sich die Maschine im autonomen Betrieb befindet.
Mobilgerät
Ein Mobilgerät (z. B. ein Smartphone oder Tablet) einer Aufsichtsperson, das mit der Maschine verbunden ist, um die Maschine zu programmieren, zu steuern und zu überwachen, während sie im autonomen Betrieb arbeitet. Das Gerät dient als Fernabstellvorrichtung, die die Aufsichtsperson mit sich führen muss, um bei Bedarf alle Funktionen der Maschine(n) auf Befehl abzustellen.
Hinweis: Eine Meldung, die den Benutzer über einen Bedienerfehler oder einen anderen Umstand informiert, der dazu führen kann, dass ein Vorgang unterbrochen oder angehalten wird und ein Eingreifen des Benutzers erforderlich machen kann.
App: Eine Abkürzung für eine Software-Anwendung. Ein Computerprogramm auf einem mobilen Gerät, das eine oder mehrere Aufgaben ausführt. Auch Anwendung, mobile App oder Web-App genannt.
Autonomes Steuerungssystem (ACS): Ein System, bestehend aus Software und Hardware, das es einer Maschine ermöglicht, Aufgaben über einen längeren Zeitraum ohne menschliches Eingreifen auszuführen.
Autonomer Betrieb: Eine Betriebsart einer Maschine, in der sie die mit ihren Aufgaben verbundenen Funktionen ohne Eingriff des Bedieners ausführt. Im Gegensatz zum manuellen Betrieb.
Autonomer Arbeitsbereich (AOA): Bereich, in dem autonomer Betrieb erlaubt ist. Innerhalb dieses Bereichs kann die Maschine frei entscheiden, welche Bahnen sie bei der Fahrt von einem Ort zum anderen ausführt. Dies ist in der Regel ein Gebiet mit einer geringen Anzahl fester Hindernisse. Auf einem Golfplatz gehört zu diesem Bereich zumindest ein Teil des Fairways oder ein Ablageort.
Basisstation: Im Zusammenhang mit der externen Geländevermessung ist ein GNSS-Empfänger an einem genau bekannten, festen Standort, der zur Ableitung von Korrekturinformationen für nahegelegene tragbare GNSS-Empfänger verwendet wird. Siehe auch Global Positioning System; GNSS-Empfänger.
Grenze: Ein Wert, der ein Limit oder ein Ausmaß angibt oder festlegt. Für einen Roboter ist dies die äußere, nicht zu überquerende Linie eines Arbeitsbereichs, einer Bahn oder eines Ausschlussbereichs. Auch Perimeter genannt. Siehe auch Arbeitsbereich, Pfad, Ausschlussbereich.
Mittellinie: Eine Linie, die sich über die Mitte des gesamten Fairways erstreckt. Bei Mähmustern im Smoking-Stil folgt das Gerät beim Mähen der Krümmung dieser Linie.
Zusammenhängende Mähfläche (CMA - Contiguous Mowing Area): Fläche, auf der gemäht wird. Sie wird auf der Karte durch die hellere grüne Linie innerhalb eines AOA dargestellt. Damit wird der Bereich definiert, der von der Maschine gemäht wird. Eine CMA kann Löcher haben, aber sie ist ein einziger geschlossener Bereich und muss vollständig innerhalb eines einzigen AOA liegen. Auf einem Golfplatz entspricht dies in der Regel einem Fairway oder einem Fairwayteil bei Fairways, die durch natürliche Hindernisse (z. B. einen See) in mehrere Teile geteilt sind.
Spielrichtung (D.o.P. - Direction of Play): Im Golfsport ist die Spielrichtung die Richtung vom Abschlag zum Grün. Beim autonomen Mähen kann die Spielrichtung bei der Erstellung benutzerdefinierter Mähmuster verwendet werden. Das Gerät kann mit oder gegen die Spielrichtung mähen, oder es kann so programmiert werden, dass es in einem Winkel zur Spielrichtung mäht.
Ausschlussbereich: Ein vom Bediener festgelegter Bereich, den der Roboter nicht befahren darf. Siehe gesperrter Arbeitsbereich (NOA).
Störung: Das Ergebnis eines mechanischen, Sensor- oder Softwarefehlers, der eine Wartung oder Korrektur der Maschine, des Sensors oder des Softwarecodes erfordert.
Globales Navigationssatellitensystem (GNSS - Global Navigation Satellite System): Ein allgemeiner Begriff, der die globale Reihe von Konstellationen beschreibt, die für die Satellitenlokalisierung verwendet werden. Siehe auch Global Positioning System (GPS).
Global Positioning System (GPS): Ein US-amerikanisches, auf einer Satellitenkonstellation basierendes Navigationssystem, das ein digitales Signal von jedem Satelliten verwendet, um Daten an einen Empfänger zu senden. Dieser Empfänger kann dann seine ungefähre Entfernung zum Satelliten sowie die geografische Position (GP) des Satelliten bestimmen, d. h. die Position auf der Erde direkt unter dem Satelliten.
GNSS-Antenne: Ein Gerät, das für den Empfang und die Erweiterung von Funksignalen verwendet wird, die auf unterschiedlichen Frequenzen von GNSS-Satelliten gesendet werden. Siehe auch Globales Navigationssatellitensystem (GNSS); Global Positioning System (GPS).
GNSS-Empfänger: Ein Gerät, das Informationen von GNSS-Satelliten empfangen kann. Auch Satellitennavigationsgerät genannt. Siehe auch Globales Navigationssatellitensystem (GNSS).
Zum Abholpunkt fahren: Ein Verhalten, das darin besteht, dass die Maschine auf Aufforderung der Aufsichtsperson selbstständig zu einem vordefinierten Punkt zurückkehrt.
Loch: Ein vom Bediener erfasster Bereich innerhalb einer CMA, den der Roboter durchfahren kann, aber nicht mähen darf. Tragen Sie ein NOA in das Loch ein, wenn die Maschine während des autonomen Betriebs niemals einen Bereich befahren soll; siehe gesperrter Arbeitsbereich (NOA).
Inter-AOA-Pfade: Pfade, die die Maschine befahren kann, um zwischen AOAs zu wechseln. Diese sind auf der Karte durch orangefarbene Linien dargestellt. Diese definierten Pfade entsprechen in der Regel den Pfaden, die von Menschen gesteuerte Maschinen bereits benutzen. Die Maschine folgt diesen Pfaden genau oder sehr genau, wenn sie zwischen AOAs fährt.
LiDAR (Laser Imaging, Detection, and Ranging): siehe Sensortypen.
Lokalisierung: Der Prozess der Positionsbestimmung eines mobilen Roboters in Bezug auf ein globales Referenzsystem. Die Lokalisierung ist eine der grundlegendsten Fähigkeiten, die ein Roboter benötigt, da die Kenntnis seines Standorts notwendig ist, um Entscheidungen über zukünftige Aktionen zu treffen.
Manueller Betrieb: Betriebsart der Maschine, bei der die Maschinenfunktionen von einem Bediener gesteuert werden. Im Gegensatz zum autonomen Betrieb.
Kartierung: Das Verfahren zur Erfassung der Lage und Form relevanter Merkmale in der Umgebung, die präzise in einem globalen Bezugsrahmen gespeichert werden.
Mission: Eine Reihe von Aufgaben, die von der Maschine auszuführen sind.
Navigation: Die Fähigkeit eines Roboters, seine eigene Position in seinem Bezugssystem zu bestimmen und dann einen Weg zu einem bestimmten Zielort zu planen.
Gesperrter Arbeitsbereich (NOA - Non Operating Area): Bereich, in dem der autonome Betrieb nicht zulässig ist. Diese Gebietsart wird verwendet, um ein natürliches Hindernis, ein Gebiet innerhalb eines AOA oder ein Gebiet innerhalb einer CMA zu kennzeichnen, in den bzw. die die Maschine während des autonomen Betriebs niemals einfahren sollte (z. B. Seen, Sandbunker oder Löcher).
Objekt: Ein Hindernis oder eine Bodenbeschaffenheit, das bei Berührung oder Zusammenstoß mit der Maschine Schaden verursachen kann oder beschädigt wird. Die Objekte können vom Objekterkennungssystem der Maschine erkannt werden; siehe Objekterkennung.
Objekterkennung: Der Prozess der Erkennung von Objekten oder Geländetypen, die die Bewegung eines Roboters behindern.
Hindernis: Eine Geländemerkmal oder Gebilde, das Schäden verursachen oder den Betrieb der Maschine behindern könnte, wenn sie nicht darauf programmiert ist, diesen Bereich zu umfahren.
Sperrung: Eine Art von Geländemerkmal oder Gebilde, das für die Maschine unpassierbar ist. Beispiele für Sperrungen:
Zäune
Gebäude
Stützmauern
Gewässer
Bunker
Bewässerungs- und Entwässerungslöcher
Erhöhte Roste
Geparkter Betrieb: Eine Betriebsart der Maschine, bei der der Schalter für den autonomen/manuellen Betrieb auf den autonomen Betrieb gestellt wird, das ACS-System aber nicht bereit oder ausgeschaltet ist. Der geparkte Betrieb entsteht auch, wenn ein Bediener oder ein Objekt in der Umgebung den autonomen Betrieb der Maschine unterbricht und die Maschine zwingt, sich selbst zu parken, während das Problem behoben wird.
Pfad: Eine autonome, vom Benutzer programmierte Route, die ein Roboter befahren kann. Bei einem Einsatz mit mehreren Fairways nutzt der Mäher Pfade, um autonom zwischen den Fairways zu fahren. Auch als Transitweg bekannt.
Perimeter: Siehe Grenze.
Abholpunkt: Punkt innerhalb einer AOA, an dem der Bediener die Maschine vor/nach dem Mähen oder anderen Arbeiten verlässt/aufnimmt. Sie ist auf der Karte durch ein blaues P innerhalb eines blauen Kreises dargestellt. Die Maschine kann zu diesem Punkt zurückkehren, wenn sie von der Aufsichtsperson angewiesen wird.
Pfosten: Ein definierter Punkt auf der Karte, der von der Maschine als NOA behandelt wird. Diese werden einzeln kartiert, und eine Reihe von Pfosten kann verwendet werden, um Bereiche, die die Maschine meiden soll, genau abzugrenzen. Sie ist nützlich, um Bereiche auszuschließen, die die Maschine meiden sollte, ohne einen vollständigen NOA zu kartieren. Siehe gesperrter Arbeitsbereich (NOA).
Näherungssensoren: Siehe Sensortypen.
Radar: Siehe Sensortypen.
Echtzeit-Kinematik (RTK): Eine Echtzeitkorrektur der geografischen Positionierung (weniger als 3 cm unter optimalen Bedingungen) unter Verwendung von Satelliteninformationen an eine stationäre und genau lokalisierte Basisstation. Die RTK-Informationen werden dann in der Regel über eine Mobilfunkverbindung mit dem Internet an die Maschine übermittelt.
Satellitennavigationsgerät: Siehe GNSS-Empfänger.
Sensorik: Die Rückmeldung aus der Umgebung des Roboters, die den Roboter in die Lage versetzt, auf seine Umgebung zu reagieren. Sensorische Eingaben können von einer Vielzahl von Sensortypen stammen.
Sensor: Ein Gerät, das auf physikalische Reize (u. a. Wärme, Licht, Schall, Druck, Magnetismus und Bewegung) reagiert und das daraus resultierende Signal oder die Daten überträgt, um eine Messung durchzuführen, eine Steuerung zu bedienen oder beides. Ein Sensor kann zum Beispiel den Zustand eines Roboters und seiner Umgebung einschätzen. Diese Informationen werden an eine Steuerung gesendet, um ein entsprechendes Verhalten auszulösen. Ein Roboter benötigt umfangreiche Informationen über seine Umgebung, um effektiv arbeiten zu können.
Sensortypen: Sensoren liefern eingehende Informationen, die den menschlichen Sinnen ähneln, und können andere physikalische Merkmale der Umgebung überwachen und diese Informationen in eine digitale Form bringen.
Positionssensoren: Diese Sensoren erkennen die Position eines Objekts. Sie können die absolute Position des Objekts (seinen Standort) oder seine relative Position (Verschiebung) in Bezug auf den linearen Pfad, den Rotationswinkel oder den dreidimensionalen Raum angeben.
Näherungssensoren: Diese Sensoren erkennen ein Objekt, ohne es zu berühren.
Ultraschall-Sensor
LiDAR
Radar
Zustände: Eine Reihe von Eigenschaften der Maschine und ihres Zustands zu einem bestimmten Moment.
Überwachungs-App: Siehe App.
Aufgabe: Der Baustein einer Mission. Die Aufgaben werden vom Maschinenbediener als Teil eines bestimmten Auftrags ausgewählt und stellen eine Arbeitseinheit dar, die von der Maschine autonom ausgeführt wird.
Ultraschall: Siehe Sensortypen.
Dieses Produkt erfüllt alle relevanten europäischen Richtlinien; weitere Details finden Sie in der produktspezifischen Konformitätserklärung (DOC).
Entsprechend dem California Public Resource Code Section 4442 oder 4443 ist der Einsatz des Motors in bewaldeten oder bewachsenen Gebieten ohne richtig gewarteten und funktionsfähigen Funkenfänger, wie in Section 4442 definiert, oder ohne einen Motor verboten, der nicht für die Brandvermeidung konstruiert, ausgerüstet und gewartet ist.
Die beiliegende Motoranleitung enthält Angaben zu den Emissionsbestimmungen der US Environmental Protection Agency (EPA) und den Kontrollvorschriften von Kalifornien zu Emissionsanlagen, der Wartung und Garantie. Sie können einen Ersatz beim Motorhersteller anfordern.
Der Betrieb dieser Maschine über 1.000 m über dem Meeresspiegel erfordert einen Höhendüse. Komplette Informationen finden Sie in der Motorbedienungsanleitung von Kawasaki.
|
Elektromagnetische Kompatibilitätszulassung |
Warnung:Die Federal Communications Commission warnt davor, dass Änderungen oder Modifikationen am Funkmodul dieses Geräts, die nicht ausdrücklich von The Toro Company genehmigt wurden, zum Erlöschen der Betriebserlaubnis für das Gerät führen können. Dieses Gerät wurde getestet und entspricht den Grenzwerten für ein digitales Gerät der Klasse A gemäß Teil 15 der FCC-Vorschriften. Diese Höchstwerte geben einen angemessenen Schutz vor störenden Interferenzen, wenn das Gerät in einem kommerziellen Umfeld eingesetzt wird. Dieses Gerät erzeugt und verwendet Hochfrequenzenergie und kann diese ausstrahlen. Wenn es nicht gemäß der Bedienungsanleitung installiert und verwendet wird, kann es schädliche Störungen des Funkverkehrs verursachen. Der Einsatz dieses Gerät in einem Wohnbereich erzeugt störende Interferenzen, die der Bediener auf eigene Kosten beheben muss. |
|
Dieses Gerät erfüllt die lizenzfreie(n) RSS-Norm(en) von Industry Canada. Der Betrieb unterliegt den folgenden zwei Bedingungen: (1) Dieses Gerät darf keine Störungen verursachen und (2) dieses Gerät muss eingehende Störungen akzeptieren, selbst wenn sie einen unerwünschten Betrieb verursachen. |
|
Le présent appareil est conforme aux CNR d'Industrie Canada applicables aux appareils radio exempts de licence. L'exploitation est autorisée aux deux conditions suivantes : (1) l'appareil ne doit pas produire de brouillage, et (2) l'utilisateur de l'appareil doit accepter tout brouillage radioélectrique subi, même si le brouillage est susceptible d'en compromettre le fonctionnement. |
|
Gemäß den Vorschriften von Industry Canada darf dieser Funksender nur mit einer Antenne betrieben werden, deren Typ und maximale (oder geringere) Verstärkung von Industry Canada für den Sender zugelassen ist. Um mögliche Funkstörungen bei anderen Nutzern zu verringern, sollten der Antennentyp und seine Verstärkung so gewählt werden, dass die äquivalente isotrope Strahlungsleistung (e.i.r.p.) nicht höher ist als für eine erfolgreiche Kommunikation erforderlich. |
|
Dieser Funksender IC: 26511-RUT956AF wurde von Industry Canada für den Betrieb mit den unten aufgeführten Antennentypen zugelassen, wobei die maximal zulässige Verstärkung und die erforderliche Antennenimpedanz für jeden Antennentyp angegeben sind. Antennentypen, die nicht in dieser Liste aufgeführt sind und deren Verstärkung größer ist als die für einen der aufgeführten Typen angegebene maximale Verstärkung, sind für den Betrieb mit diesem Gerät strengstens verboten. |
|
Conformément à la réglementation d'Industrie Canada, le présent émetteur radio peut fonctionner avec une antenne d'un type et d'un gain maximal (ou inférieur) approuvé pour l'émetteur par Industrie Canada. Dans le but de réduire les risques de brouillage radioélectrique à l'intention des autres utilisateurs, il faut choisir le type d'antenne et son gain de sorte que la puissance isotrope rayonnée équivalente (p.i.r.e.) ne dépasse pas l'intensité nécessaire à l'établissement d'une communication satisfaisante. |
|
Le présent émetteur radio IC: 26511-RUT956AFa été approuvé par Industrie Canada pour fonctionner avec les types d'antenne énumérés ci-dessous et ayant un gain admissible maximal et l'impédance requise pour chaque type d'antenne. Les types d'antenne non inclus dans cette liste, ou dont le gain est supérieur au gain maximal indiqué, sont strictement interdits pour l'exploitation de l'émetteur. |
|
Antenne: The Toro Company, Modell 145-0335, TAOGLAS, TLS.01.1F11, omnidirektional, Spitzenverstärkung 5,0 (dBi) |
KALIFORNIEN
Warnung zu Proposition 65
Die Motorauspuffgase dieses Produkts enthalten Chemikalien wirken laut den Behörden des Staates Kalifornien krebserregend, verursaschen Geburtsschäden oder andere Defekte des Reproduktionssystems.
Batteriepole, -klemmen und -zubehör enthalten Blei und Bleibestandteile. Dies sind Chemikalien, die laut den Behörden des Staates Kalifornien krebserregend sind und zu Erbschäden führen können. Waschen Sie sich nach dem Umgang mit diesen Materialien die Hände.
Bei Verwendung dieses Produkts sind Sie ggf. Chemikalien ausgesetzt, die laut den Behörden des Staates Kalifornien krebserregend wirken, Geburtsschäden oder andere Defekte des Reproduktionssystems verursachen.
Dieses Produkt kann Hände und Füße amputieren und Gegenstände aufschleudern.
Lesen und verstehen Sie vor dem Anlassen des Motors den Inhalt dieser Bedienungsanleitung.
Konzentrieren Sie sich immer bei der Verwendung der Maschine. Tun Sie nichts, was Sie ablenken könnte, sonst können Verletzungen oder Sachschäden auftreten.
Halten Sie Hände und Füße von beweglichen Teilen fern.
Bedienen Sie die Maschine niemals, wenn nicht alle Schutzvorrichtungen und Abdeckungen angebracht und funktionstüchtig sind.
Halten Sie Unbeteiligte und Kinder vom Arbeitsbereich fern. Die Maschine darf niemals von Kindern betrieben werden.
Sofern Sie nicht beabsichtigen, die Maschine im autonomen Betrieb zu betreiben, schalten Sie die Maschine aus, ziehen Sie den Schlüssel ab und warten Sie, bis alle beweglichen Teile zum Stillstand gekommen sind, bevor Sie den Fahrersitz der Maschine verlassen. Lassen Sie die Maschine abkühlen, bevor Sie diese einstellen, warten, reinigen oder einlagern.
Der unsachgemäße Einsatz oder die falsche Wartung
dieser Maschine kann zu Verletzungen führen. Befolgen Sie zur
Verringerung des Verletzungsrisikos diese Sicherheitshinweise und
beachten Sie das Warnsymbol
mit der Bedeutung Achtung, Warnung
oder Gefahr – Sicherheitsrisiko. Wenn diese Hinweise nicht beachtet
werden, kann es zu schweren bis tödlichen Verletzungen kommen.
Note: Die Sicherheit im autonomen Betrieb kommt zur allgemeinen/manuellen Sicherheit hinzu.
Die Aufsichtsperson, die die Maschine im autonomen Betrieb betreibt, ist für alle Unfälle oder Gefahren verantwortlich, die anderen Personen oder deren Eigentum zustoßen.
Lesen, verstehen und befolgen Sie alle diese Anweisungen und Warnhinweise, bevor Sie die Maschine für den autonomen Betrieb aktivieren.
Unsachgemäße Verwendung oder Wartung des Geräts kann zu schweren Verletzungen oder zum Tod führen. Um diese Gefahr zu verringern, befolgen Sie alle Sicherheitshinweise.
Kinder oder nicht geschulte Personen dürfen diese Maschine weder verwenden noch warten. Lassen Sie nur Personen zu, die verantwortungsbewusst, geschult, mit den Anweisungen vertraut, und körperlich in der Lage sind, die Maschine zu bedienen und zu warten.
Kinder oder nicht geschulte Personen dürfen die Maschine weder verwenden noch warten. Örtliche Vorschriften bestimmen u. U. das Mindestalter von Benutzern. Der Besitzer ist für die Schulung aller Bediener und Mechaniker verantwortlich.
Machen Sie sich mit dem sicheren Betrieb der Maschine sowie den Bedienelementen und Sicherheitssymbolen vertraut.
Aktivieren Sie die Feststellbremse, schalten Sie die Maschine aus, ziehen den Schlüssel ab und warten Sie, bis alle beweglichen Teile zum Stillstand gekommen sind, bevor Sie den Fahrersitz der Maschine verlassen. Lassen Sie die Maschine abkühlen, bevor Sie diese einstellen, warten, reinigen oder einlagern.
Sie müssen wissen, wie Sie die Maschine schnell anhalten und die Maschine abstellen können.
Prüfen Sie, ob alle Sitzkontaktschalter, Sicherheitsschalter, und Schutzvorrichtungen montiert und funktionsfähig sind. Verwenden Sie die Maschine nur, wenn sie richtig funktioniert.
Überprüfen Sie vor jedem Mähen die Maschine und stellen Sie sicher, dass die Schneideinheiten funktionsfähig sind.
Prüfen Sie den Arbeitsbereich gründlich und entfernen Sie alle Objekte, die von der Maschine aufgeschleudert werden könnten.
Note: Die Sicherheit im autonomen Betrieb kommt zur allgemeinen/manuellen Sicherheit hinzu.
Prüfen Sie den Arbeitsbereich gründlich und entfernen Sie alle Fremdkörper, die von der Maschine erfasst und aufgeschleudert werden könnten.
Machen Sie sich mit dem sicheren Betrieb der Maschine sowie den Bedienelementen und Sicherheitssymbolen vertraut.
Vergewissern Sie sich, dass Sie wissen, wie Sie die Maschine anhalten und verhindern können, dass sich Teile bewegen.
Bedienen Sie die Maschine niemals, wenn nicht alle Schutzvorrichtungen und Abdeckungen angebracht und ordnungsgemäß funktionsfähig sind.
Halten Sie Unbeteiligte und Kinder vom autonomen Arbeitsbereich fern. Die Maschine darf niemals von Kindern betrieben werden. Nur geschultes Personal sollte diese Maschine beaufsichtigen, während sie im autonomen Betrieb arbeitet.
Stehen, sitzen oder mitfahren auf der Maschine ist untersagt, auch während die Maschine im autonomen Betrieb arbeitet.
Überprüfen Sie den Arbeitsbereich regelmäßig auf neue Gefahren und beseitigen Sie diese, bevor Sie die Maschine in Betrieb nehmen.
Wenn die Maschine umkippt, halten Sie sich von den sich bewegenden Teilen fern.
Seien Sie besonders vorsichtig beim Umgang mit Kraftstoff. Kraftstoff ist brennbar und die Dämpfe sind explosiv.
Machen Sie alle Zigaretten, Zigarren, Pfeifen und andere Zündquellen aus.
Verwenden Sie nur einen vorschriftsmäßigen Benzinkanister.
Entfernen Sie nie den Tankdeckel oder füllen den Kraftstofftank, wenn der Motor läuft oder heiß ist.
Füllen Sie Kraftstoff nicht in einem geschlossenen Raum auf oder lassen ihn ab.
Lagern Sie die Maschine oder den Benzinkanister nie an Orten mit offener Flamme, Funken oder Zündflamme, z. B. Warmwasserbereiter, oder anderen Geräten.
Versuchen Sie niemals, bei Kraftstoffverschüttungen den Motor anzulassen. Vermeiden Sie Zündquellen, bis die Verschüttung verdunstet ist.
Der Besitzer bzw. Bediener ist für Unfälle oder Verletzungen von Dritten sowie Sachschäden verantwortlich und kann diese verhindern.
Tragen Sie geeignete Kleidung, u. a. eine Schutzbrille, lange Hosen, rutschfeste Arbeitsschuhe und einen Gehörschutz. Binden Sie lange Haare hinten zusammen und tragen Sie keinen Schmuck oder weite Kleidung.
Setzen Sie die Maschine nicht ein, wenn Sie müde oder krank sind oder unter Alkohol- oder Drogeneinfluss stehen.
Konzentrieren Sie sich immer bei der Verwendung der Maschine. Tun Sie nichts, was Sie ablenken könnte, sonst können Verletzungen oder Sachschäden auftreten.
Stellen Sie vor dem Anlassen des Motors sicher, dass alle Antriebe in der Neutralstellung sind, dass die Feststellbremse aktiviert ist und Sie in der Bedienungsposition sind.
Nehmen Sie nie Mitfahrer auf der Maschine mit.
Halten Sie Unbeteiligte und Kinder vom Arbeitsbereich fern.
Setzen Sie die Maschine nur bei guten Sichtverhältnissen ein, um Löcher sowie andere verborgene Gefahren zu vermeiden.
Vermeiden Sie ein Mähen auf nassem Gras. Bei reduzierter Bodenhaftung kann die Maschine ins Rutschen geraten.
Halten Sie Ihre Hände und Füße von den Schneideinheiten fern.
Schauen Sie hinter sich und nach unten, um vor dem Rückwärtsfahren sicherzustellen, dass der Weg frei ist.
Seien Sie vorsichtig, wenn Sie sich unübersichtlichen Kurven, Sträuchern, Bäumen und anderen Objekten nähern, die Ihre Sicht behindern können.
Stellen Sie die Schneideinheiten ab, wenn Sie nicht mähen.
Fahren Sie beim Wenden und beim Überqueren von Straßen und Gehsteigen mit der Maschine langsam und vorsichtig. Geben Sie immer Vorfahrt.
Betreiben Sie den Motor nur in gut belüfteten Bereichen. Die Abgase enthalten Kohlenmonoxid, das beim Einatmen tödlich ist.
Lassen Sie niemals eine laufende Maschine unbeaufsichtigt zurück.
Wenn Sie die Maschine nicht für den Betrieb im autonomen Betrieb vorbereiten, müssen Sie vor dem Verlassen der Arbeitsposition folgendes durchführen:
Stellen Sie die Maschine auf einer ebenen Fläche ab.
Senken Sie die Schneideinheiten auf den Boden ab und stellen Sie sicher, dass sie ausgekoppelt sind.
Aktivieren Sie die Feststellbremse.
Stellen Sie den Motor ab und ziehen Sie den Schlüssel ab.
Warten Sie, bis alle beweglichen Teile zum Stillstand gekommen sind.
Setzen Sie die Maschine nur bei guten Sichtverhältnissen und geeigneten Witterungsbedingungen ein. Verwenden Sie die Maschine nie bei möglichen Gewittern.
Entfernen Sie die Komponenten des Überrollschutzes nicht von der Maschine.
Stellen Sie sicher, dass Sie Ihren Sicherheitsgurt angelegt haben und ihn in einem Notfall schnell lösen können.
Legen Sie immer den Sicherheitsgurt an.
Achten Sie immer auf hängende Objekte und berühren Sie sie nicht.
Halten Sie den Überrollschutz in einem sicheren Betriebszustand, überprüfen Sie ihn regelmäßig auf Beschädigungen und halten Sie alle Befestigungen angezogen.
Tauschen Sie alle beschädigten Teile des Überrollschutzes aus. Führen Sie keine Reparaturen oder Modifikationen daran aus.
Hanglagen sind eine wesentliche Ursache für den Verlust der Kontrolle und Umkippunfälle, die zu schweren ggf. tödlichen Verletzungen führen können. Sie sind für den sicheren Einsatz an Hanglagen verantwortlich. Das Einsetzen der Maschine an jeder Hanglage erfordert große Vorsicht.
Evaluieren Sie das Gelände, einschließlich einer Ortsbegehung, um zu ermitteln, ob die Maschine sicher auf der Hanglage eingesetzt werden kann. Setzen Sie immer gesunden Menschenverstand ein, wenn Sie diese Ortsbegehung durchführen.
Lesen Sie die unten aufgeführten Anweisungen für Hanglagen, wenn Sie die Maschine an Hanglagen einsetzen. Prüfen Sie vor dem Einsatz der Maschine die Bedingungen an der Arbeitsstelle, um zu ermitteln, ob Sie die Maschine in diesen Bedingungen an diesem Tag und an diesem Ort verwenden können. Veränderungen im Gelände können zu einer Veränderung in der Neigung für den Betrieb der Maschine führen.
Vermeiden Sie das Anfahren, Anhalten oder Wenden der Maschine an Hanglagen. Vermeiden Sie plötzliche Geschwindigkeits- oder Richtungsänderungen. Wenden Sie möglichst langsam und vorsichtig.
Benutzern Sie die Maschine niemals unter Bedingungen, bei der die Bodenhaftung, das Lenkverhalten oder die Stabilität des Fahrzeugs gefährdet werden.
Entfernen oder markieren Sie Hindernisse, u. a. Gräben, Löcher, Rillen, Bodenwellen, Steine oder andere verborgene Gefahren. Hohes Gras kann Hindernisse verdecken. Die Maschine könnte sich in unebenem Terrain überschlagen.
Beim Arbeiten auf nassem Gras, Überqueren von steilen Hanglagen oder beim Fahren hangabwärts kann die Maschine die Bodenhaftung verlieren. Wenn die Antriebsräder die Bodenhaftung verlieren, kann die Maschine rutschen und zu einem Verlust der Bremsleistung und Lenkung führen.
Gehen Sie beim Einsatz der Maschine in der Nähe von Abhängen, Gräben, Böschungen, Gewässern oder anderen Gefahrenstellen besonders vorsichtig vor. Die Maschine kann sich plötzlich überschlagen, wenn ein Rad über den Rand fährt oder die Böschung nachgibt. Halten Sie stets einen Sicherheitsabstand von der Maschine zur Gefahrenstelle ein.
Achten Sie auf Gefahren unten am Hang. Mähen Sie die Hanglage mit einer handgeführten Maschine, wenn Gefahren vorhanden sind.
Halten Sie die Schneideinheiten, sofern möglich, beim Einsatz der Maschine an Hanglagen abgesenkt. Das Anheben der Schneideinheiten bei Mäharbeiten an Hanglagen kann zu einer Instabilität der Maschine führen.
Passen Sie besonders mit Heckfangsystemen oder anderen Anbaugeräten auf. Diese Geräte können die Stabilität der Maschine ändern und zu einem Verlust der Fahrzeugkontrolle führen.
Sofern Sie die Maschine nicht für den autonomen Betrieb vorbereiten, ziehen Sie die Feststellbremse an, stellen Sie den Motor ab, ziehen Sie den Schlüssel ab und warten Sie, bis alle Bewegungen zum Stillstand gekommen sind, bevor Sie den Fahrersitz verlassen. Lassen Sie die Maschine abkühlen, bevor Sie diese einstellen, warten, reinigen oder einlagern.
Entfernen Sie Gras und Schmutz von den Schneideinheiten und Antrieben, um einem Brand vorzubeugen. Wischen Sie Öl- und Kraftstoffverschüttungen auf.
Schließen Sie den Kraftstoffhahn, wenn Sie die Maschine einlagern oder schleppen.
Kuppeln Sie den Antrieb des Anbaugerätes aus, wenn Sie die Maschine schleppen oder nicht verwenden.
Lassen Sie die Maschine abkühlen, bevor Sie die Maschine in einem geschlossenen Raum lagern.
Den/die Sicherheitsgurt(e) bei Bedarf warten und reinigen.
Lagern Sie weder die Maschine noch den Kraftstoffkanister in der Nähe von offenen Flammen, Funken oder Zündflammen wie z. B. bei einem Heizkessel oder sonstigen Geräten.
Schleppen Sie nur mit einer Maschine ab, die eine Anhängerkupplung hat. Befestigen Sie abgeschleppte Geräte nur an der Anhängerkupplung.
Halten Sie die Empfehlungen des Herstellers hinsichtlich Gewichtslimits für geschleppte Geräte und Schleppen an Hanglagen ein. Auf Hängen kann das Gewicht des angehängten Geräts zu einem Verlust der Haftung und Kontrolle führen.
Halten Sie Kinder und andere Personen immer von angehängten Geräten fern.
Fahren Sie langsam und berücksichtigen den längeren Bremsweg, wenn Sie mit einem angehängten Gerät fahren.
Bevor Sie den Fahrerstand verlassen, gehen Sie wie folgt vor:
Stellen Sie die Maschine auf einer ebenen Fläche ab.
Kuppeln Sie die Schneideinheit aus.
Aktivieren Sie die Feststellbremse.
Stellen Sie den Motor ab und ziehen Sie den Schlüssel ab.
Warten Sie, bis alle beweglichen Teile zum Stillstand gekommen sind.
Lassen Sie alle Maschinenteile abkühlen, ehe Sie mit Wartungsarbeiten beginnen.
Führen Sie Wartungsarbeiten möglichst nicht bei laufendem Motor durch. Fassen Sie keine beweglichen Teile an.
Stützen Sie die Maschine mit Achsständern ab, wenn Sie Arbeiten unter der Maschine ausführen.
Lassen Sie den Druck aus Maschinenteilen mit gespeicherter Energie vorsichtig ab.
Halten Sie alle Teile der Maschine in gutem Betriebszustand und alle Befestigungen angezogen.
Ersetzen Sie abgenutzte und beschädigte Aufkleber.
Verwenden Sie nur Originalersatzteile von Toro, um eine sichere und optimale Leistung zu gewährleisten. Ersatzteile anderer Hersteller können gefährlich sein und eine Verwendung könnte die Garantie ungültig machen.
Note: Die Sicherheit im autonomen Betrieb kommt zur allgemeinen/manuellen Sicherheit hinzu.
Nehmen Sie niemals Änderungen an der Maschine oder der Software vor.
Legen Sie niemals etwas auf der Maschine ab.
Verändern Sie keine Bedienelemente oder Sicherheitsvorrichtungen der Maschine oder deaktivieren Sie diese.
Unsachgemäße Wartung oder Verwenden der Maschine kann zu Verletzungen oder zum Tod führen.
Alle Wartungsarbeiten sollten von einem zertifizierten Techniker durchgeführt werden.
Verwenden Sie nur Originalersatzteile von Toro, um eine sichere und optimale Leistung zu gewährleisten. Verwenden Sie niemals Teile für den autonomen Teil anderer Hersteller; diese könnten sich eventuell als gefährlich erweisen.
Stellen Sie den Motor grundsätzlich vor dem Prüfen des Ölstands oder Auffüllen des Kurbelgehäuses mit Öl ab.
Ändern Sie nicht die Geschwindigkeit des Drehzahlreglers oder überdrehen den Motor.
Vor der Reparatur der Maschine die Hauptstromanschlüsse abtrennen.
Laden Sie den Akku in offenen, gut gelüfteten Bereichen und nicht in der Nähe von Funken und offenem Feuer. Stecken Sie das Ladegerät aus, ehe Sie die Batterie anschließen oder abklemmen. Tragen Sie Schutzkleidung und verwenden Sie isoliertes Werkzeug.
Stellen Sie vor dem Verlassen des Fahrersitzes die Maschine ab, ziehen Sie den Schlüssel ab und warten Sie, bis alle beweglichen Teile zum Stillstand gekommen sind. Lassen Sie die Maschine abkühlen, bevor Sie diese einstellen, warten, reinigen oder einlagern.
Lagern Sie die Maschine oder den Benzinkanister nie an Orten mit offener Flamme, Funken oder Zündflamme, z. B. Warmwasserbereiter, oder anderen Geräten.
![]() |
Die Sicherheits- und Bedienungsaufkleber sind für den Bediener gut sichtbar und befinden sich in der Nähe der möglichen Gefahrenbereiche. Tauschen Sie beschädigte oder verloren gegangene Aufkleber aus. |














Siehe Begriffsdefinitionen für Beschreibungen der Betriebsarten auf dem Aufkleber 145-0345.

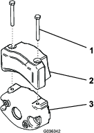
Für diesen Arbeitsschritt erforderliche Teile:
| Schneideinheit (separat bestellen; wenden Sie sich an Ihren Toro-Vertragshändler) | 3 |
| Elektrisches Gegengewicht | 3 |
| Kopfschraube | 6 |
| O-Ring | 3 |
Vorbereitung der Schneideinheiten für den Einbau; weitere Informationen finden Sie in der Bedienungsanleitung der Schneideinheit.
Schmieren Sie die inneren Keile der Antriebskupplung mit Fett ein.
Legen Sie einen O-Ring auf jeden Spindelmotor, wie in Bild 3 abgebildet.

Befestigen Sie das elektrische Gegengewicht mit zwei Kopfschrauben am vorhandenen Gegengewicht, wie in Bild 4 abgebildet.

Einbau der Schneideinheiten, siehe Montieren der Schneideinheiten.
Die Hauptstromanschlüsse anschließen; siehe Hauptstromanschlüsse.
Verwenden Sie zum Anpassen der Maschineneinstellungen das InfoCenter; siehe Verwenden Sie das InfoCenter zum Anpassen der Maschineneinstellungen.
Für diesen Arbeitsschritt erforderliche Teile:
| Herstellungsjahr-Aufkleber | 1 |
| CE-Warnaufkleber (Bestellnummer 139-8321) | 1 |
| CE/UKCA-Warnaufkleber (Bestellnummer 138-9470) | 1 |
Wenn Sie diese Maschine in einem Land verwenden, das die CE/UKCA-Standards erfüllt, bringen Sie die folgenden Aufkleber auf:
Herstellungsjahr-Aufkleber und CE/UKCA-Kennzeichnungsaufkleber: die Aufkleber am Rahmenrohr unter dem Sitz und dem Seriennummernschild aufbringen; siehe Bild 5.

CE-Warnaufkleber: Bringen Sie den CE-Warnaufkleber (Bestellnr. 139-8321) über den vorhandenen Warnaufkleber (Bestellnr. 139-8320) auf der Abdeckung des Lenkrads an, siehe Bild 6.

Die Reifen sind ab Werk für den Versand mit einem überhöhten Luftdruck aufgepumpt. Reduzieren Sie den Reifendruck auf den richtigen Wert, bevor Sie die Maschine starten, siehe Prüfen des Reifendrucks.
Vergewissern Sie sich, dass alle Benutzer der Maschine über myTurf-Zugangsdaten verfügen; siehe myTurf Software-Anleitung.
Fügen Sie die Maschine in myTurf als Ressource hinzu, siehe myTurf Softwareanleitung.
Techniker, die Zugang zu Toro-Materialien haben, finden Anweisungen zur Aktivierung oder Verlängerung eines Mobilfunkdienstes oder RTK-Plans im GeoLink Service Center.
Note: Beides ist erforderlich, damit die Maschine autonom arbeiten kann.
Suchen Sie nach dem Service Bulletin GeoLink Aktivierungsprozess“.
Befolgen Sie die Schritte im Service Bulletin und führen Sie diese aus.
Warten Sie, bis Toro die Mobilfunk- und RTK-Anmeldeinformationen gesendet hat, bevor Sie fortfahren.
Stecken Sie den Schlüssel ein und drehen Sie ihn in die Stellung EIN.
Verbinden Sie sich mit der Maschine über die GeoLink Mow Überwachungs-App.
Wählen Sie in der oberen Menüleiste die Schaltfläche EINSTELLUNGEN.
Legen Sie unter Lokaler Referenzpunkt die Koordinaten und die Höhe eines lokalen Referenzpunktes fest, den das Gerät für die GNSS-RTK-Lokalisierung verwenden soll.
Note: Verwenden Sie Dezimalgrade für die Koordinaten und Meter für die Höhe.
Geben Sie unter NTRIP-Korrekturen die Informationen für den NTRIP-Caster ein.
Geben Sie unter Anmeldedaten die Informationen für das RTK-Abonnement ein.
Note: Es wird empfohlen, diesen Test vor Ort auf dem Platz durchzuführen, wo die Maschine eingesetzt werden soll. So erhalten Sie eine genaue Vorstellung von der Signalstärke, das die Maschine im Normalbetrieb erreicht.
Stecken Sie den Schlüssel ein und drehen Sie ihn in die Stellung EIN.
Fahren Sie die Maschine in einen Außenbereich
Verbinden Sie sich mit der Maschine über die GeoLink Mow Überwachungs-App.
Wählen Sie in der oberen Menüleiste die Schaltfläche DIAGNOSTIK.
Stellen Sie unter Mobilfunknetz sicher, dass eine Mobilfunkverbindung zur Maschine besteht.
Bestätigen Sie unter Lokalisierung, dass eine RTK-Verbindung zur Maschine besteht.
Note: Es kann ein paar Minuten dauern, bis die Maschine eine Verbindung zu einem Mobilfunknetz oder einer RTK-Basisstation hergestellt hat.
Überprüfen Sie, ob die Sensoren für das Objekterkennungssystem ordnungsgemäß funktionieren, bevor Sie den autonomen Betrieb aktivieren, siehe Überprüfen des Objekterkennungssystems.
Stecken Sie den Schlüssel ein und drehen Sie ihn in die Stellung EIN.
Fahren Sie die Maschine in einen Außenbereich
Halten Sie den Schalter für den autonomen/manuellen Betrieb zwei Sekunden lang nach links gedrückt, um den autonomen Betrieb zu aktivieren, siehe Schalter für autonomen/manuellen Betrieb.
Verbinden Sie sich mit der Maschine über die GeoLink Mow Überwachungs-App.
Wählen Sie in der oberen Menüleiste die Schaltfläche DIAGNOSTIK.
Wählen Sie die Diagnosefelder aus, um die detaillierten Dropdown-Menüs zu öffnen. Stellen Sie sicher, dass das ACS ordnungsgemäß funktioniert.
Überprüfen Sie die Oberseite der Maschine auf verbogene Antennen.
Stecken Sie den Schlüssel ein und drehen Sie ihn in die Stellung EIN.
Fahren Sie die Maschine zum Mähbereich.
Richten Sie eine Test-CMA ein, siehe Kartierung des autonomen Arbeitsbereichs und Kartierung der zusammenhängenden Mähfläche.
Erstellen Sie eine Mission für den Mäher: Lassen Sie ihn als erste Aufgabe einen Reinigungsdurchgang im Uhrzeigersinn auf einem Fairway durchführen. Lassen Sie ihn dann auf derselben Fairway gegen den Uhrzeigersinn eine Reinigungsdurchgang durchführen, siehe Erstellen einer Mission und Erstellen eines benutzerdefinierten Mähmusters
Führen Sie die Mission aus, siehe Durchführung einer Mission.
Beobachten Sie die Maschine während des Einsatzes und achten Sie auf eine ungleichmäßige Pfadführung zwischen den Durchgängen im und gegen den Uhrzeigersinn.
Important: Wenn Sie Unterschiede feststellen, kann das daran liegen, dass die Antennen nicht zentriert sind - wenden Sie sich an den technischen Kundendienst.


Das Zündschloss hat 3 Stellungen: AUS, EIN und START (Bild 9).
Verwenden Sie den Schlüsselschalter zum Starten des Motors, Abschalten des Motors oder Fahren der Maschine ohne Motorleistung; siehe Anlassen des Motors, Abstellen des Motors und Fahren der Maschine ohne Motorleistung.

Der Funktionsschalter (Bild 8) weist 2 Fahrgeschwindigkeitsstellungen und eine LEERLAUFSTELLUNG auf.
Stellung NEUTRAL: Leerlauf und Läppen
Stellung MäHEN: Wird zum Mähen verwendet
Stellung TRANSPORT: Wird für den Transport verwendet
Sie können den Schalthebel von MäHEN auf TRANSPORT oder TRANSPORT auf MäHEN (nicht auf NEUTRAL), während Sie mit der Maschine fahren; dabei können keine Schäden auftreten
Sie können den Schalter von TRANSPORT oder MäHEN auf NEUTRAL schalten, damit die Maschine anhält. Wenn Sie versuchen, von NEUTRAL auf MäHEN oder TRANSPORT zu schalten, während das Pedal nicht in der Position NEUTRAL ist, tritt eine Meldung auf.
Mit dem Joystick für Anheben bzw. Absenken (Bild 8) können die Schneideinheiten angehoben oder abgesenkt werden. Mit dem Joystick können die Spindeln der Schneideinheit eingekuppelt oder ausgekuppelt werden, abhängig von der Stellung des Funktionsschalters:
Funktionsschalter in der Stellung NEUTRAL: Die Schneideinheiten werden angehoben und gesenkt, solange Sie den Joystick nach vorn oder hinten bewegen, aber die Spindeln werden nicht eingekoppelt, wenn die Maschine nicht im Läppmodus ist.
Funktionsschalter in der Stellung MäHEN: Bewegen Sie den Joystick während des Mähvorgangs nach vorn, um die Schneideinheiten abzusenken und die Spindeln zu starten. Ziehen Sie den Joystick nach hinten, um die Spindeln anzuhalten und die Schneideinheiten anzuheben.
Sie können die Spindeln durch kurzes Zurückziehen des Joysticks und anschließendes Loslassen abstellen, ohne dabei die Schneideinheiten anheben zu müssen. Bewegen Sie den Joystick wieder nach vorn, um die Spindeln zu starten, oder ziehen Sie ihn wieder nach hinten, um die Schneideinheiten anzuheben. Sie müssen diese Funktion im InfoCenter aktivieren; siehe Einstellen der Abschaltverzögerung.
Funktionsschalter in der Stellung TRANSPORT: Die Schneideinheiten können angehoben werden, die Spindeln kuppeln jedoch nicht ein. Eine Meldung erscheint im InfoCenter, wenn Sie versuchen, die Schneideinheiten abzusenken.
Das Fahrpedal (Bild 10) erfüllt drei Funktionen: Die Vorwärts- und die Rückwärtsbewegung und das Stoppen der Maschine. Treten Sie oben auf das Pedal, um vorwärts zu fahren. Drücken Sie unten auf das Pedal, um rückwärts zu fahren.
Lassen Sie das Pedal zum Anhalten in die NEUTRAL-Stellung gehen. Bringen Sie Ihre Ferse nicht auf die Stellung RüCKWäRTS auf dem Fahrpedal, während sich die Maschine nach vorn bewegt (Bild 11)


Sie können die maximale Fahrgeschwindigkeit für den manuellen Betrieb folgendermaßen konfigurieren:
4,8 bis 8 km/h Mähgeschwindigkeit vorwärts
8 bis 16 km/h Fahrgeschwindigkeit
3,2 bis 8 km/h Fahrgeschwindigkeit rückwärts
Treten Sie auf das Pedal (Bild 10) und heben Sie den Lenkarm für den Bedienerkomfort an oder senken ihn ab; nehmen Sie den Fuß vom Pedal, um den Arm zu arretieren.
Treten Sie auf das Bremspedal (Bild 12), um die Maschine anzuhalten.

Verwenden Sie die Feststellbremse (Bild 12), um zu verhindern, dass sich die Maschine bewegt. Treten Sie zum Aktivieren der Feststellbremse das Bremspedal durch und drücken Sie das Pedal oben nach vorne, sodass es einrastet. Treten Sie das Bremspedal durch, bis der Riegel der Feststellbremse zurückgeht, um die Feststellbremse zu lösen.
Neben der Stopptaste in der Überwachungs-App besteht eine weitere Möglichkeit, die Maschine anzuhalten, darin, den Not-Aus-Schalter an der Rückseite der Maschine zu betätigen.
Zum Entriegeln des Not-Aus-Schalters:
Ziehen Sie den Schalter nach außen.
Setzen Sie den Schalter für den autonomen/manuellen Modus zurück, um den autonomen Betrieb zu aktivieren.
Important: Der Not-Aus-Schalter funktioniert nur, wenn die Maschine im autonomen Betrieb betrieben wird. Die Aktivierung des Not-Aus-Schalters hat keinen Einfluss auf eine Maschine, die im manuellen Betrieb arbeitet.

Halten Sie den Schalter für den autonomen/manuellen Betrieb zwei Sekunden lang nach links gedrückt, um den AUTONOMEN Betrieb zu aktivieren.
Drücken Sie den Schalter nach rechts, um den MANUELLEN Betrieb zu aktivieren.

Die Statusleuchte autonomer Betrieb zeigt den aktuellen Status des autonomen Betriebs der Maschine an:
Dauerhaft weiß: ACS ist eingeschaltet und im manuellen Betrieb
Dauerhaft grün: Autonomer Betrieb - nicht annähern
Grün blinkend: Im autonomen Betrieb, aber Objekt ist in der Nähe
Dauerhaft rot: Sichere Annäherung - Maschine geparkt
Die GeoLink Mow Überwachungs-App ist das Werkzeug zum Einrichten und Bedienen einer Maschine für autonomes Mähen.
| Menüleistenelement | Beschreibung |
| HOME | Das Menü HOME ist der erste Bildschirm in der Web-App und enthält Verknüpfungen zu den Menüs DASHBOARD, MISSIONEN, KARTE und EINSTELLUNGEN sowie zu den Nutzungsbedingungen und rechtlichen Hinweisen. |
| DASHBOARD | Das Menü DASHBOARD listet die aktuellen Maschinen- und Missionszustände auf. Mit den Steuertasten am unteren Bildschirmrand kann die Maschine auch ferngesteuert werden. |
| MISSIONEN | Das Menü MISSIONEN enthält Bereiche zum Erstellen neuer Missionen sowie zum Anzeigen aktueller Missionen und des Missionsverlaufs. In diesem Menü können Sie benutzerdefinierte Mähmuster erstellen. |
| KARTE |
Das Menü KARTE zeigt eine Karte Ihres Grundstücks und alle kartierten Fairways an. Es enthält auch Bedienelemente für die Kartierung von Einsatzgebieten und andere autonome Funktionen. Während die Maschine in Betrieb ist, können diese zur Überwachung der Maschine während eines Einsatzes verwendet werden. |
| SETTINGS [Einstellungen] | Im Menü EINSTELLUNGEN können Sie RTK-Einstellungen und Anmeldeinformationen, allgemeine Betriebseinstellungen und persönliche Präferenzen für die Maschine ändern. |
| HILFE |
Über das Menü HILFE können Sie auf Kartendaten, Maschinenprotokolle, das Benutzerhandbuch, Leistungsdaten und Informationen zur Softwareversion zugreifen. |
| DIAGNOSTICS [Diagnostik] |
Das Menü DIAGNOSE listet den Status verschiedener Komponenten der Maschine auf, einschließlich Hardware, Sensoren sowie Lokalisierungs- und Konnektivitätsinformationen. Diese Informationen geben schnell Aufschluss darüber, welche Bedienelemente der Maschine aktiv oder deaktiviert sind oder Probleme verursachen, und können bei der Fehlersuche in der Maschine verwendet werden. |
| ABMELDEN |
Meldet Sie von Ihrem myTurf-Konto ab. |
| Menüelement | Beschreibung | |
| Lokaler Referenzpunkt | ||
| LATITUDE [Breitengrad] | Geben Sie den Breitengrad eines lokalen Referenzpunktes ein, den das Gerät für die GNSS-RTK-Lokalisierung verwendet. Verwenden Sie das Format Dezimalgrad. | |
| LONGITUDE [Längengrad] | Geben Sie den Längengrad eines lokalen Referenzpunktes ein, den das Gerät für die GNSS-RTK-Lokalisierung verwendet. Verwenden Sie das Format Dezimalgrad. | |
| HöHE | Legen Sie die Höhe (in Metern) eines lokalen Referenzpunktes fest, den das Gerät für die GNSS-RTK-Lokalisierung verwendet. | |
| NTRIP-Korrekturen | ||
| HOSTNAME | Legen Sie die URL des Verbindungsnamens für den NTRIP (RTK)-Caster fest. | |
| PORTNUMMER | Legen Sie die Portnummer für den Caster fest. | |
| MOUNT-PUNKT | Legen Sie einen Mount-Punkt-Namen für den vom Caster ausgehenden GNSS-Datenstrom fest. | |
| NMEA--GGA-Meldungen | ||
| ERFORDERLICH | Aktiviert oder deaktiviert NMEA-GGA-Meldungen. Erforderlich — ist standardmäßig aktiviert. | |
| AKTUALISIERUNGSZEITRAUM | Legen Sie die Häufigkeit der NMEA-GGA-Meldungen fest. 5 Sekunden ist die Standardeinstellung. | |
| Anmeldedaten | ||
| BENUTZERNAME | Geben Sie den Benutzernamen für das RTK-Abonnement ein. | |
| KENNWORT | Geben Sie das Kennwort für das RTK-Abonnement ein. | |
| Karte | ||
| KARTE SPERREN | Deaktiviert die Möglichkeit, kartierte Bereiche zu ändern, zu löschen oder neu zu erstellen. | |
| Mähen | ||
| ÜBERLAPPUNG | Stellen Sie den Überlappungsgrad bei Mähdurchgängen ein. | |
| Maschinengeschwindigkeiten | ||
| BASIS-MäHGESCHWINDIGKEIT | Stellt die maximal zulässige Fahrgeschwindigkeit der Maschine beim Mähen ein. | |
| PERIMETER-MäHGESCHWINDIGKEIT | Stellt die maximal zulässige Fahrgeschwindigkeit der Maschine während der Reinigungsdurchgänge ein. | |
| TRANSPORTGESCHWINDIGKEIT | Stellt die maximal zulässige Fahrgeschwindigkeit der Maschine ein, wenn sie nicht mäht. | |
| Informationen zur Maschine | ||
| BENUTZERFREUNDLICHER NAME | Geben Sie hier einen Namen für die Maschine ein. Dieser wird in Mitteilungen verwendet, die an das Smartphone der Aufsichtsperson gesendet werden. | |
| Benutzer-Informationen | ||
| LANGUAGE [Sprache] | Stellt die Sprache der Benutzeroberfläche ein. | |
| MAßEINHEITEN | Leget die Maßeinheiten für die App fest. | |
| EINSTELLUNGEN AUF WERKSEINSTELLUNGEN ZURüCKSETZEN | Wählen Sie diese Option, um die Werkseinstellungen wiederherzustellen. | |
Note: Nachdem Sie die Einstellungen geändert haben, wählen Sie Speichern, um Ihre Einstellungen zu speichern, und schalten Sie dann die Maschine aus und wieder ein, um die Einstellungen zu aktivieren.
| Menüelement |
| MOBILFUNKNETZ > NAME DES NETZBETREIBERS |
| MOBILFUNKNETZ > VERBINDUNGSTYP |
| MOBILFUNKNETZ > SIGNALQUALITäT |
| LOKALISIERUNG > GNSS-STATUS |
| LOKALISIERUNG > GNSS-GENAUIGKEIT |
| LOKALISIERUNG > GüLTIGE SATELLITEN |
| LOKALISIERUNG > ROVER-SATELLITEN |
| LOKALISIERUNG > BASIS-SATELLITEN |
| LOKALISIERUNG > RTK-VERBINDUNG |
| LOKALISIERUNG > LOKALISIERUNGSGENAUIGKEIT |
| NOT-AUS |
| SENSOREN > LIDAR-ABSTAND |
| SENSOREN > SONAR VORNE LINKS |
| SENSOREN > SONAR HINTEN LINKS |
| SENSOREN > SONAR HINTEN RECHTS |
| SENSOREN > SONAR VORNE RECHTS |
| SENSOREN > SONAR OBEN LINKS |
| SENSOREN > SONAR OBEN RECHTS |
| SENSOREN > NAHFELD-RADAR |
Note: Die Maschine kann anhalten, wenn die Felder SIGNALQUALITäT oder RTK-VERBINDUNGSCHLECHT anzeigen. Die Maschine verfügt nicht über eine ausreichend starke Verbindung zum Mobilfunknetz oder zur RTK-Basisstation, um ordnungsgemäß zu funktionieren.
| Menüelement | Beschreibung | |
| Maschinestaus | ||
| ZUSTAND | Zeigt den aktuellen Zustand der Maschine an. In Maschinenstatus finden Sie eine Liste der verschiedenen Maschinenzustände. | |
| GNSS | Zeigt die Qualität (Stärke) des GNSS-Signals an. 90 % oder mehr ist gut, 60 % oder weniger ist schlecht. Verwenden Sie das Menü DIAGNOSE und die Liste LOKALISIERUNG, um Probleme mit GNSS/Lokalisierung zu diagnostizieren. | |
| GESCHWINDIGKEIT | Zeigt die aktuelle Fahrgeschwindigkeit der Maschine an. | |
| Status der Mission | ||
| ZUSTAND | Zeigt den Status der aktuellen Mission, den Missionsfortschritt und die verbleibende Zeit bis zum Abschluss der Mission an. In Missionszustand finden Sie eine Liste der verschiedenen Missionszustände. Wenn keine Aufgabe ausgewählt ist, bleibt die Liste leer. | |
| AUFGABE | Zeigt die ID-Nummer für die ausgewählte Aufgabe an. | |
| FAIRWAYS | Zeigt die Fairways in der Warteschlange für die aktuelle Mission sowie einen Fortschrittsbalken für jedes Fairway an. | |
| MUSTER | Zeigt das Mähmuster für die aktuelle Mission an. Das Laden kann bis zu 10 Sekunden dauern. | |
| FORTSCHRITT | Zeigt den prozentualen Fortschritt der aktuellen Mission an. Das Laden kann bis zu 10 Sekunden dauern. | |
| VERBLEIBENDE ZEIT | Zeigt die geschätzte Zeit bis zur Beendigung der Mission an. | |
| WEITER | Die Schaltfläche erscheint 10 Minuten, bevor die Maschine das nächste Fairway der Mission mähen soll. Eine Textnachricht mit einem Link zum DASHBOARD wird an das mobile Gerät der Aufsichtsperson gesendet. Tippen Sie auf die Schaltfläche, lesen Sie die Nutzungsvereinbarung und wählen Sie Akzeptieren , damit die Maschine zum nächsten Fairway weiterfährt. | |
Die Bedeutung der Maschinenzustandsanzeige finden Sie in der folgenden Tabelle:
| Display [Anzeige] | Bedeutung | Lösung (falls zutreffend) |
| Unbekannt | Unbekannter Fehler | Schlüssel der Maschine aus-/einschalten. Note: Dies kann bis zu 5 Minuten dauern. |
| Setup | Die Einrichtung erfolgt. | Warten Sie und halten Sie Abstand zur Maschine. |
| Leerlauf | Die Maschine ist auf LEERLAUF eingestellt. | Stellen Sie die Betriebsart entweder auf MANUELL oder AUTO. |
| Manueller Betrieb | Die Maschine ist auf die Betriebsart MANUELL eingestellt. | |
| Setup | Die Maschine ist auf AUTO eingestellt. | Drücken Sie Go und bestätigen Sie den Hinweis. |
| Warte auf Benachrichtigung | Die App wartet darauf, dass Sie die Benachrichtigung akzeptieren. | Drücken Sie Go und bestätigen Sie den Hinweis. |
| Kalibrieren | Die Maschine startet den autonomen Betrieb. | Warten Sie mindestens drei Minuten und halten Sie Abstand zur Maschine. |
| In Bereitschaft (Stand-by) | Die Maschine befindet sich im autonomen Betrieb und im Leerlauf. | Planen Sie eine Mission und drücken Sie Go. |
| Ausführen | Die Maschine führt gerade eine Mission aus. | |
| Fährt zum Seitenstopp | Die Maschine parkt sich selbst an der Seite. | |
| Fährt zum Abholpunkt | Die Maschine fährt zum Abholpunkt. | |
| Fährt zu Punkt | Die Maschine fährt zu einem Punkt, den der Bediener auf der Karte ausgewählt hat. | |
| Geparkt | Die Maschine befindet sich im GEPARKTEN Betrieb. |
Note: Wenn die Lösung darin besteht, abzuwarten, sollten 30 Sekunden ausreichen, bis der Zustand in einen anderen übergeht. Funktioniert das nicht, schalten Sie die Maschine aus und wieder ein.
Die Bedeutung der Missionszustandsanzeige finden Sie in der folgenden Tabelle:
| Display [Anzeige] | Bedeutung | Lösung (falls zutreffend) |
| Fehler | Unbekannter Fehler | Schlüssel der Maschine aus-/einschalten. Note: Dies kann bis zu 5 Minuten dauern. |
| Setup | Einrichten | Warten. |
| Initialisieren | Initialisieren | Warten. |
| Wird geladen | Missionen laden | Warten. |
| Vorbereitung | Missionen laden | Warten. |
| Leerlauf | Keine Mission ausgewählt | Planen Sie eine Mission und drücken Sie Go. |
| Mähen | Mähen | |
| Pausiert | Die Aufgabe ist pausiert. | Drücken Sie Go, um die Aufgabe fortzusetzen. |
| Abgebrochen | Die Mission wurde abgebrochen. | Erstellen Sie eine Mission. |
| Abgeschlossen | Die Mission wurde abgeschlossen. | Planen Sie eine neue Mission und drücken Sie Go. |
| Warten |
Note: Wenn die Lösung darin besteht, abzuwarten, sollten drei Minuten ausreichen, bis der Zustand in einen anderen übergeht. Funktioniert das nicht, schalten Sie die Maschine aus und wieder ein.
Der Bildschirm DASHBOARD besitzt Schaltflächen zur Steuerung der Maschine während einer Mission.

Diagnosemeldungen erscheinen immer dann, wenn die Maschine eine wichtige Aktion durchführt oder eine Störung auftritt.
Note: Filtern Sie Benachrichtigungen nach dem Schweregrad, indem Sie mit den Schaltflächen oben rechts einen Schweregrad auswählen.
| Symbol | Bedeutung |
Info ![]() | Zusätzliche Informationen über wichtige Aktionen. |
Problem![]() | Es liegt ein Problem mit der Maschine vor, aber die Maschine kann weiter betrieben werden. |
Fehler![]() | Es gibt ein Problem mit der Maschine, das den Betrieb verhindert. |
| Display [Anzeige] | Bedeutung | Lösung (falls zutreffend) |
| Abgebrochene Mission ## | Die Mission wurde vom Bediener abgebrochen. | Planen Sie eine neue Mission und drücken Sie Go. |
| Abbruch der Mission ## | Die Mission wird vom Bediener abgebrochen. | Planen Sie eine neue Mission und drücken Sie Go. |
| Mission abgeschlossen ## | Die Mission ist abgeschlossen. | Planen Sie eine neue Mission und drücken Sie Go. |
| Fehler bei der Mission ## | Bei der Mission ist ein Fehler aufgetreten und die Maschine ist nicht betriebsbereit. |
|
| Ausführen der Mission ## | Die Mission wird ausgeführt. | |
| Initialisierung der Mission ## | Die Mission beginnt in Kürze. | |
| Mission laden ## | Mission lädt Missionsdetails. | |
| Mission pausieren ## | Die Mission wurde vom Bediener pausiert. | |
| Am Seitenhaltepunkt angekommen | Die Maschine istgemäß der Anweisung des Bedieners am Seitenhaltepunkt angekommen. | |
| Am Abholpunkt angekommen | Die Maschine ist gemäß der Anweisung des Bedieners am Abholpunkt angekommen. | |
| System gestartet | Der Maschinenschlüssel befindet sich in der EIN-Stellung und das ACS-System wird gestartet. | |
| Am angegebenen Punkt angekommen | Die Maschine ist gemäß der Anweisung des Bedieners am angegebenen Punkt angekommen. | |
| Vorbereiten der Mission nicht möglich | Bei der Verarbeitung der Missionsdetails ist ein Fehler aufgetreten. | |
| Schwierige Startposition. | Die Maschine befindet sich in einer schwierigen Startposition. | |
| Vorbereitung der Durchführung der Mission ## | Die Mission wird ausgeführt. | |
| Karte ist leer | Es fehlen alle Kartendaten in der Datenbank. |
| Menüelement | Definition |
| KARTENDATEN |
Herunterladen, Exportieren und Importieren von Kartendateien, die in der Maschine verwendet werden. Exportieren Sie Karten an andere Maschinen in einem Fuhrpark, oder importieren Sie zusätzliche Karten mit anderen Transitwegen in die Maschine, um Abschürfungen auf dem Rasen zu reduzieren, siehe Speichern und Exportieren von Kartendaten. |
| PROTOKOLLE |
In diesem Abschnitt können Sie Protokolle von der Maschine herunterladen. Es besteht die Möglichkeit, vollständige Protokolle oder nur den letzten Protokollbericht herunterzuladen. Sie können auch einen bestimmten Zeitraum protokollieren, indem Sie die Steuerelemente für die Vollständige Protokollierung von Stichproben verwenden. Note: Es wird nicht empfohlen, diese Dateien über eine Mobilfunkverbindung herunterzuladen, da die Dateien sehr groß sind. |
| MANUELL |
Wählen Sie diesen Link, um die Online-Bedienungsanleitung anzuzeigen. |
| ACS-LEISTUNGSZäHLER |
Anzeige von Daten über die Leistung und den Verlauf der autonom betriebenen Maschine. |
| SOFTWARE-INFORMATIONEN |
Anzeige der Softwareversionen für die verschiedenen autonomen Systeme. |
Das-Display des InfoCenters (Bild 16) zeigt Informationen über Ihre Maschine an, zum Beispiel Betriebszustand, unterschiedliche Diagnose-, und andere Maschineninformationen.

Note: Der Zweck jeder Taste hängt von den aktuellen Erfordernissen ab. Jede Taste ist mit einem Symbol beschriftet, das die aktuelle Funktion anzeigt.
Verwenden Sie die Navigationstasten, um zwischen verschiedenen Bildschirmen und Menüpunkten zu navigieren:
Startbildschirm: zeigt aktuelle Maschineninformationen für ein paar Sekunden an, nachdem Sie den Schlüssel in die Stellung EIN bewegt haben.
Hauptinformationsbildschirm (Bild 17): Zeigt aktuelle Maschineninformationen an, während der Schlüssel in der Stellung EIN ist.

eReel-Motorbildschirm (Bild 18): Zeigt die Geschwindigkeit und den Strom jedes Schneideinheitmotors an.

Fahrmotorbildschirm (Bild 19): Zeigt den aktuellen Lenkwinkel und den Amperewert für jeden Fahrmotor an.

Hauptmenü: siehe Erläuterung der Menüelemente im InfoCenter.
![]() | Betriebsstundenzähler |
![]() | Der Funktionsschalter ist in der Stellung NEUTRAL. |
![]() | Der Funktionsschalter ist in der Stellung TRANSPORT. |
![]() | Der Funktionsschalter ist in der Stellung MäHEN. |
![]() | Der Bediener muss im manuellen Betrieb auf dem Fahrersitz sitzen. |
![]() | Die Feststellbremse ist aktiviert. |
![]() | Die elektrische Feststellbremse ist aktiviert. |
![]() | Anlassen des Motors. |
![]() | Motor |
![]() | Die Zapfwelle ist eingekuppelt. |
![]() | Die Zapfwelle ist ausgekuppelt. |
![]() | Akku |
![]() | Leuchtet auf, wenn die Schneideinheiten angehoben werden. |
![]() | Leuchtet auf, wenn die Schneideinheiten abgesenkt werden. |
![]() | Aktiv |
![]() | Inaktiv |
![]() | Zurück |
![]() | Weiter |
![]() | Erhöhen |
![]() | Verringern |
![]() | Vorheriger Bildschirm |
![]() | Nächster Bildschirm |
![]() | Wert erhöhen |
![]() | Wert verringern |
![]() | Menü |
![]() | Hoch/runter scrollen |
![]() | Links/rechts scrollen |
Um das Hauptmenü aufzurufen, drücken Sie die Zurück/Beenden-Taste auf einem der Informationsbildschirme.
In den folgenden Tabellen finden Sie eine Beschreibung der Optionen, die in den Menüs verfügbar sind:
| Menüelement | Beschreibung |
| FAULTS [Fehler] | Das FEHLER-Menü enthält eine Liste der letzten Maschinendefekte. Weitere Informationen zum FEHLER-Menü finden Sie in der Wartungsanleitung oder wenden Sie sich an den offiziellen Toro-Vertragshändler. |
| WARTUNG | Das WARTUNGSMENü enthält Informationen zur Maschine, u. a. Betriebsstundenzähler und ähnliche Angaben. Sie können auch das Schneideinheit-Läppverfahren aktivieren. Siehe Tabelle Service. |
| DIAGNOSTIK | Im DIAGNOSTIK-Menü werden verschiedene aktuelle Maschinenzustände und Daten aufgelistet. Diese Informationen sind bei der Problembehebung nützlich, da Sie sofort sehen, welche Bedienelemente der Maschinen ein- oder ausgeschaltet sind und Steuerungslevel aufgelistet werden (z. B. Sensorwerte). Siehe Tabelle Diagnostik. |
| SETTINGS [Einstellungen] | Im Menü EINSTELLUNGEN können Sie die Einstellungen für die InfoCenter-Anzeige anpassen. Siehe Tabelle Einstellungen. |
| MASCHINENEINSTELLUNGEN | Über das Menü MASCHINENEINSTELLUNGEN können Sie die Maschineneinstellungen anpassen, z. B. die Spindeldrehzahl, die maximale Mähgeschwindigkeit und die maximale Transportgeschwindigkeit. Siehe Tabelle Maschineneinstellungen. |
| INFO | Im INFO-Menü wird die Modellnummer, Seriennummer und Softwareversion der Maschine aufgelistet. Siehe Tabelle About. |
AUTONOM![]() | Das Menü AUTONOM enthält Einstellungen zum Testen des autonomen Betriebs der Maschine. |
| Menüelement | Beschreibung |
| HOURS [Stunden] | Eine Liste mit der Gesamtstundenzahl, die der Schlüssel, der Motor, die Spindel und Läppen eingeschaltet waren, sowie die nächste fällige Wartung. |
| COUNTS [Zähler] | Liste der Anzahl der Startvorgänge, Mähvorgänge, Abschaltvorgänge, Läppvorgänge und Anzahl der Vorgänge, bei welchen der Motor länger als 30 Sekunden angelassen wurde. |
| BACKLAP | Aktiviert/deaktiviert den Läppvorgang der Schneideinheit (wenn Sie dieses Verfahren aktivieren, können Sie den Modus mit dieser Einstellung oder durch Drehen des Schlüssels in die Stellung AUS) deaktivieren). |
KALIBRIERUNG![]() | Ermöglicht eine Kalibrierung des Lenksystems, Fahrsystems und der Hubauslöser. Weitere Informationen zur Kalibrierung finden Sie in der Wartungsanleitung. |
| Menüelement | Beschreibung |
| MOTOR | Zeigt die Ein- und Ausgänge für das Anlassen des Motors an. |
| 48V AKTIVIERT | Zeigt die Ein- und Ausgänge des 48-Volt-Systems. |
| GENERATOR | Zeigt die Ein- und Ausgänge des Generators an. |
| TRACTION | Zeigt die Ein- und Ausgänge für das Antriebspedal an. |
| LENKUNG | Zeigt die Ein- und Ausgänge des Lenkungssystems an. |
| ANHEBEN/ABSENKEN | Zeigt die Ein- und Ausgänge für das Anheben und Absenken der Schneideinheiten an. |
| ZAPFWELLE | Zeigt die Ein- und Ausgänge für das Aktivieren der Zapfwelle an. |
CAN-STATISTIKEN![]() | Zeigt die Ein- und Ausgänge des CAN an. |
| 12V SYSTEM | Zeigt die Ein- und Ausgänge des 12-Volt-Systems. |
| AUTONOM | Zeigt die Ein- und Ausgänge des autonomen Systems an. |
| Menüelement | Beschreibung |
| PIN EINGEBEN | Ermöglicht einer Person (Vorarbeiter/Mechaniker), die von Ihrer Firma dazu berechtigt ist, mit dem PIN-Code auf die geschützten Menüs zuzugreifen |
| BACKLIGHT [Hintergrundbeleuchtung] | Steuert die Helligkeit des LCD-Displays. |
| LANGUAGE [Sprache] | Steuert die auf dem InfoCenter verwendete Sprache. |
| SCHRIFTGRößE | Ändert die Schriftgröße auf dem InfoCenter. |
| MAßEINHEITEN | Steuert die auf dem InfoCenter verwendeten Maßeinheiten. Die Menüauswahl zeigt imperiale oder metrische Maßangaben. |
PROTECT SETTINGS ![]() | Steuert die geschützten Menüs. |
STANDARDEINSTELLUNGEN WIEDERHERSTELLEN![]() | Setzt das InfoCenter auf die Standardeinstellungen zurück. |
| Menüelement | Beschreibung |
TAPOFF TIME ![]() | Steuert die Abschaltverzögerung. |
REEL SPEED ![]() | Steuert die Messerdrehzahl an den Schneideinheiten. |
ABSENKGESCHWINDIGKEIT![]() | Legt die Geschwindigkeit fest, mit der sich die Schneideinheiten zum Mähen auf den Boden absenken. |
LäPP-DREHZAHL ![]() | Steuert die Drehzahl für das Läppen. |
CLIP CONTROL ![]() | Schaltet die automatische Schnittsteuerung ein oder aus. |
BLADE COUNT ![]() | Stellt die Anzahl der Messer an der Spindel ein. Diese Einstellung ist nur erforderlich, wenn die SCHNITTSTEUERUNG auf EIN eingestellt ist. |
SCHNITTHöHE![]() | Einstellung der gewünschten Schnitthöhe. Diese Einstellung ist nur erforderlich, wenn die SCHNITTSTEUERUNG auf EIN eingestellt ist. |
MAX MOW ![]() | Stellt die maximale Maschinengeschwindigkeit beim Mähen ein. |
MAX TRANSPORT ![]() | Stellt die maximale Maschinengeschwindigkeit zum Fahren ein. |
MAX REVERSE ![]() | Stellt die maximale Maschinengeschwindigkeit für das Rückwärtsfahren der Maschine ein. |
SLOW & TURN ![]() | Aktiviert bzw. deaktiviert die Funktionen Langsam beim Wenden. |
DREIRADANTRIEB ![]() | Aktiviert oder deaktiviert den Dreiradantrieb. |
| Menüelement | Beschreibung |
| MODELL | Listet die Modellnummer der Maschine auf. |
| Seriennummer | Listet die Seriennummer der Maschine auf. |
| S/W REV | Listet die Softwarerevision des Hauptsteuergeräts auf. |
| S/W Rev ACS | Listet die Softwarerevision der ACS auf. |
XDM-2700 ![]() | Listet die Softwarerevision des InfoCenter auf. |
SCHNEIDEINHEIT 1![]() | Listet die Softwarerevision des mittleren Schneideinheitmotors auf. |
SCHNEIDEINHEIT 2![]() | Listet die Softwarerevision des vorderen linken Schneideinheitmotors auf. |
SCHNEIDEINHEIT 3![]() | Listet die Softwarerevision des vorderen rechten Schneideinheitmotors auf. |
GENERATOR![]() | Listet die Seriennummer des Generators auf. |
HEBEN SENKEN 1![]() | Auflistung der Softwarenummer und der Revisionsversion für die mittlere Schneideinheit. |
HEBEN SENKEN 2![]() | Auflistung der Softwarenummer und der Revisionsversion für die vordere linke Schneideinheit. |
HEBEN SENKEN 3![]() | Auflistung der Softwarenummer und der Revisionsversion für die vordere rechte Schneideinheit. |
TRACTION1![]() | Auflistung der Softwarenummer und der Revisionsversion für den vorderen rechten Fahrmotor. |
TRACTION2![]() | Auflistung der Softwarenummer und der Revisionsversion für den vorderen linken Fahrmotor. |
TRACTION3![]() | Auflistung der Softwarenummer und der Revisionsversion für den Dreiradantrieb (falls vorhanden). |
LENKUNG![]() | Auflistung der Softwarenummer und der Revisionsversion für den hinteren Lenkmotor. |
| Menüelement | Beschreibung |
| MäHVORGANG EMULIEREN | Das autonome Verhalten wird befolgt, aber die Schneideinheiten werden nicht eingeschaltet. |
| ACS ABSENKEN AUßER KRAFT SETZEN | Das autonome Verhalten wird befolgt, aber die Schneideinheiten senken sich nur so weit ab, wie es die UNTERE GRENZE erlaubt. |
| UNTERE GRENZE | Ein Prozentsatz der unteren Position, die vom ACS angeordnet wurde. 85 reicht aus, um zu beobachten, dass sich die Schneideinheiten absenken, ohne auf den Boden aufzusitzen. |
Note:
Geschützt
unter den geschützten Menüs – Nur durch die Eingabe
der PIN zugänglich; siehe Zugreifen auf die geschützten Menüs.
Note: Der werksseitige Standard für den PIN-Code für Ihre Maschine ist entweder 0000 oder 1234.Wenn Sie den PIN-Code geändert und vergessen haben, wenden Sie sich an den offiziellen Toro-Vertragshändler.
Blättern Sie vom HAUPTMENü zum Menü EINSTELLUNGEN und drücken Sie die Auswahltaste (Bild 20).

Blättern Sie im Menü EINSTELLUNGEN bis zu PIN EINGEBEN und drücken Sie die Auswahltaste (Bild 21A).

Drücken Sie für die Eingabe des PIN-Codes die auf/ab Navigationstasten Bild 21, bis die erste korrekte Ziffer angezeigt wird; drücken Sie dann die rechte Navigationstaste Bild 21, um auf die nächste Ziffer (B und C) zu gehen. Wiederholen Sie diesen Schritt, bis Sie die letzte Ziffer eingegeben haben.
Drücken Sie die Auswahltaste (Bild 21D).
Note: Wenn der PIN-Code im Display akzeptiert wird und das geschützte
Menü entsperrt ist, wird oben rechts auf dem Bildschirm
angezeigt.
Drehen Sie den Schlüsselschalter in die AUS-Stellung und dann in die EIN-Stellung, um das geschützte Menü zu sperren.
In EINSTELLUNGEN, scrollen Sie runter auf EINSTELLUNGEN SCHüTZEN.
Um die Einstellungen zu sehen und zu ändern,
ohne einen PIN-Code einzugeben, verwenden Sie die Auswahltaste, um
die EINSTELLUNGEN SCHüTZEN auf
(Aus) zu schalten.
Um die Einstellungen mit einem PIN-Code zu sehen und
zu ändern, verwenden Sie die Auswahltaste um die EINSTELLUNGEN SCHüTZEN auf
(Ein) zu schalten. Stellen
Sie den PIN-Code ein und stellen den Schlüssel im Zündschloss
in die AUS-Stellung und dann in die EIN-Stellung.

Blinkt rot - aktiver Fehler
Durchgehend rot - aktiver Hinweis
Durchgehend blau - Kalibrierung/Dialogmeldungen
Durchgehend grün - normaler Betrieb
Die LEDs Nr. 1 leuchten blau und die folgenden Meldungen können angezeigt werden, wenn sich die Maschine nicht im manuellen Betrieb befindet. Warten Sie oder folgen Sie den Anweisungen auf dem Display, um die Maschine zu bedienen:
MASCHINE NICHT BEREIT FüR AUTONOMEN BETRIEB
ACS NICHT BEREIT, BITTE WARTEN
FREIGABE FüR AUTONOMEN BETRIEB ZWEI (2) SEKUNDEN LANG HALTEN
AUTONOMER BETRIEB AKTIV, MASCHINE VERLASSEN UND DIE APP VERWENDEN
Bedienerhinweise werden automatisch auf dem InfoCenter-Bildschirm oder der Überwachungs-App angezeigt, wenn für eine Maschinenfunktion eine zusätzliche Aktion erforderlich ist. Beispiel: Wenn Sie auf das Fahrpedal treten und versuchen, den Motor anzulassen, wird ein Hinweis angezeigt, dass das Fahrpedal in der NEUTRAL-Stellung sein muss.
Für jeden aufgetretenen Hinweis gibt es einen Meldecode (Buchstabe und Nummer), ein Problem (erste Zeile der Meldung, z. B. Autonomer Betrieb verweigert, Autonomer Betrieb abgebrochen), eine Ursache (die Ursache der angezeigten Meldung) und eine Abhilfemaßnahme (zweite Textzeile).
Note: Hinweise werden nicht im Fehlerprotokoll aufgezeichnet.
In der folgenden Tabelle finden Sie alle InfoCenter-Hinweise:
Note: Sie können einen Hinweis auf dem InfoCenter-Display löschen, indem Sie eine der Tasten drücken.
| Code | Problem | Ursache | Abhilfe |
| B2900 | Autonomer Betrieb verweigert | Feststellbremse ist aktiviert | Feststellbremse lösen |
| B2901 | Autonomer Betrieb verweigert | Nicht im MäHBETRIEB | Bringen Sie den Funktionsschalter in die Stellung MäHEN. |
| B2902 | Autonomer Betrieb verweigert | Der Bediener befindet sich auf dem Fahrersitz. | Verlassen Sie den Fahrersitz. |
| B2903 | Autonomer Betrieb verweigert | Das Fahrpedal ist aktiviert. | Bringen Sie das Fahrpedal in die NEUTRAL-Stellung. |
| B2904 | Autonomer Betrieb verweigert | Joystickschalter ist aktiviert. | Joystickschalter ausschalten |
| B2905 | Autonomer Betrieb verweigert | Das Lenkrad bewegt sich. | Das Lenkrad nicht mehr bewegen. |
| B2906 | Autonomer Betrieb verweigert | Die Maschine ist nicht bereit. | Warten oder Fehler beheben |
| B2907 | Autonomer Betrieb verweigert | ACS nicht bereit | Warten oder Fehler beheben |
| B2908 | Autonomer Betrieb verweigert | Sonstiges | Konsultieren Sie die Überwachungs-App |
| B2910 | Abbruch autonomer Betrieb | Abbruch durch den Bediener | Setzen Sie den Schalter für den autonomen/manuellen Betrieb zurück. |
| B2911 | Abbruch autonomer Betrieb | Fehler aktiv | Wartung der Maschine erforderlich. Aktive(n) Fehler beheben |
| B2912 | Abbruch autonomer Betrieb | Bedieneranwesenheit erkannt | Setzen Sie den Schalter für den autonomen/manuellen Betrieb zurück. |
| B2913 | Abbruch autonomer Betrieb | Objekt erkannt | Setzen Sie den Schalter für den autonomen/manuellen Betrieb zurück. |
| B2914 | Abbruch autonomer Betrieb | Sonstiges | Konsultieren Sie die Überwachungs-App |
| B2940 | Autonomer Betrieb verschlechtert | Sonstiges | Konsultieren Sie die Überwachungs-App |
| B2950 | Autonomer Betrieb pausiert | Sonstiges | Konsultieren Sie die Überwachungs-App |
In der folgenden Tabelle finden Sie alle Hinweise der Überwachungs-App:
| Code | Problem | Ursache | Abhilfe |
| B2908-1 | Autonomer Betrieb verweigert | Maschine befindet sich außerhalb eines AOA. | Fahren Sie die Maschine in einen AOA. |
| B2908-2 | Autonomer Betrieb verweigert | Karte ist ungültig. |
|
| B2914-1 | Autonomer Betrieb abgebrochen | Die maximal zulässige Steigung wurde überschritten. |
|
| B2914-2 | Autonomer Betrieb abgebrochen | Maschine hat autonomen Betrieb verlassen. |
|
| B2914-3 | Autonomer Betrieb abgebrochen | IMU Störung, nicht funktionsfähig. |
|
| B2914-4 | Autonomer Betrieb abgebrochen | Not-Aus wurde ausgelöst. | Lassen Sie die Not-Aus-Taste los und setzen Sie den autonomen Betrieb zurück. |
| B2914-5 | Autonomer Betrieb abgebrochen | Vordere linkes Sonar wurde ausgelöst. |
|
| B2914-6 | Autonomer Betrieb abgebrochen | Hinteres linkes Sonar wurde ausgelöst. |
|
| B2914-7 | Autonomer Betrieb abgebrochen | Hinteres rechtes Sonar wurde ausgelöst. |
|
| B2914-8 | Autonomer Betrieb abgebrochen | Vordere rechtes Sonar wurde ausgelöst. |
|
| B2914-9 | Autonomer Betrieb abgebrochen | Nahfeld-Radar wurde ausgelöst. |
|
| B2914-10 | Autonomer Betrieb abgebrochen | Oberes linkes Sonar wurde ausgelöst. |
|
| B2914-11 | Autonomer Betrieb abgebrochen | Oberes rechtes Sonar wurde ausgelöst. |
|
| B2914-12 | Autonomer Betrieb abgebrochen | Der Schalter für den autonomen/manuellen Betrieb befindet sich im manuellen Betrieb. |
Setzen Sie den Schalter für den autonomen/manuellen Betrieb zurück. |
| B2940-1 | Verschlechterung der Leistung im autonomen Betrieb | Ein Hindernis in der Nähe der Maschine beeinträchtigt den Betrieb. |
|
| B2940-2 | Verschlechterung der Leistung im autonomen Betrieb | PC-Temperatur liegt außerhalb der Betriebsgrenzen | Die Leistung kann sich verschlechtern, obwohl das Gerät voll funktionsfähig ist.Wenn das Problem weiterhin besteht, wenden Sie sich an den technischen Support. |
| B2940-3 | Verschlechterung der Leistung im autonomen Betrieb | Die Räder rutschen durch. |
|
| B2940-4 | Verschlechterung der Leistung im autonomen Betrieb | IMU-Fehler liegt außerhalb der Betriebsgrenzen. | Die Leistung kann sich verschlechtern, obwohl das Gerät voll funktionsfähig ist.Wenn das Problem weiterhin besteht, wenden Sie sich an den technischen Support. |
| B2940-5 | Verschlechterung der Leistung im autonomen Betrieb | Entfernung zur Basisstation liegt außerhalb der Betriebsgrenzen. | Leistung kann sich verschlechtern, obwohl die Maschine voll funktionsfähig ist. |
| B2940-6 | Verschlechterung der Leistung im autonomen Betrieb | Keine Verbindung zum Mobilfunknetz |
|
| B2940-7 | Verschlechterung der Leistung im autonomen Betrieb | Die LiDAR-Temperatur liegt außerhalb der Betriebsgrenzen. |
|
| B2950-1 | Autonomer Betrieb pausiert | Die Distanz von der aktuellen Position zur letzten Position der Maschine liegt außerhalb der Betriebsgrenzen. |
|
| B2950-2 | Autonomer Betrieb pausiert | Navigationsfehler |
|
| B2950-3 | Autonomer Betrieb pausiert | Die PC-Reaktionszeit liegt außerhalb der Betriebsgrenzen. | Die Leistung kann sich verschlechtern, obwohl das Gerät voll funktionsfähig ist.Wenn das Problem weiterhin besteht, wenden Sie sich an den technischen Support. |
| B2950-4 | Autonomer Betrieb pausiert | Die Signalqualität der Basisstation liegt außerhalb der Betriebsgrenzen. |
|
| B2950-5 | Autonomer Betrieb pausiert | Schlechte GNSS-RTK-Qualität |
|
| B2950-6 | Autonomer Betrieb pausiert | Das Gerät ist mit einer anderen Basisstation verbunden als der, die für die Kartierung verwendet wurde. |
|
| B2950-7 | Autonomer Betrieb pausiert | Positionsgenauigkeit außerhalb der Betriebsgrenzen |
|
| B2950-8 | Autonomer Betrieb pausiert | Teilsystem Anheben/Absenken hat ein Problem |
|
| B2950-9 | Autonomer Betrieb pausiert | Teilsystem Zapfwelle hat ein Problem |
|
| B2950-10 | Autonomer Betrieb pausiert | Teilsystem Lenkung hat ein Problem |
|
| B2950-11 | Autonomer Betrieb pausiert | Teilsystem Antrieb hat ein Problem |
|
| B2950-12 | Autonomer Betrieb pausiert | Bei der Verarbeitung der Missionsdetails ist ein Fehler aufgetreten. |
|
| B2950-13 | Autonomer Betrieb pausiert | Schwierige Startposition |
Bringen Sie die Maschine in einen offenen Bereich, um den Betrieb zu beschleunigen. |
Vor der Ausführung von Arbeiten an der Maschine oder dem Einbau, dem Entfernen oder Arbeiten an den Schneideinheiten müssen Sie immer die Stromzufuhr zu der Maschine abtrennen, indem Sie die Hauptstromanschlüsse (Bild 23) abtrennen, die sich unten am Überrollbügel an der linken Seite der Zugmaschine befinden. Stecken Sie die Anschlüsse zusammen, bevor Sie die Maschine einsetzen.

Wenn Sie die Stromzufuhr zur Maschine nicht abtrennen, könnte die Maschine versehentlich angelassen werden und schwere Verletzungen verursachen.
Die Anschlüsse immer vor Aufnahme der Arbeiten an der Maschine trennen.
Verwenden Sie den Kraftstoffhahn, um den Kraftstofffluss zum Motor zu steuern. Der Kraftstoffhahn befindet sich unter der Motorhaube neben dem Aktivkohlefilter.
In Bild 24 ist der Kraftstoffhahn in der Stellung OFFEN dargestellt. Um den Kraftstoffhahn zu schließen, drehen Sie ihn im Uhrzeigersinn (Bild 24) in die Stellung GESCHLOSSEN.

Abmessungen und Gewicht finden Sie in Bild 25 und Tabelle der technischen Angaben.
Note: Änderungen der technischen Daten und des Designs sind vorbehalten.

| Schnittbreite | 151 cm |
| Radspur | 134 cm |
| Radstand | 127 cm |
| Gesamtlänge | 239 cm |
| Gesamtbreite | 185 cm |
| Gesamthöhe | 211 cm |
| Gewicht* | 841 kg |
| *Zugmaschine mit Schneideinheiten mit 8 Messern, ohne Kraftstoff, ohne Bediener und mit Standardsitz. | |
Ein Sortiment an Originalanbaugeräten und -zubehör von Toro wird für diese Maschine angeboten, um den Funktionsumfang des Geräts zu erhöhen und zu erweitern. Wenden Sie sich an einen offiziellen Toro-Vertragshändler oder navigieren Sie auf www.Toro.com für eine Liste der zugelassenen Anbaugeräte und des Zubehörs.
Verwenden Sie, um die optimale Leistung und Sicherheit zu gewährleisten, nur Originalersatzteile und -zubehörteile von Toro. Ersatzteile und Zubehör anderer Hersteller können gefährlich sein und eine Verwendung könnte die Garantie ungültig machen.
Die Aufsichtsperson ist dafür verantwortlich, die Maschine(n) vor dem Einsatz zu überprüfen, um sicherzustellen, dass sie zuverlässig funktionieren. Die Inspektionen umfassen unter anderem folgende Punkte:
Vergewissern Sie sich vor dem täglichen Einsatz, dass die Sensoren ordnungsgemäß funktionieren, frei von Staub und Verunreinigungen sind und in die richtige Richtung zeigen.
Gehen Sie die für die Maschine(n) erforderliche(n) Checkliste(n) für den täglichen Betrieb vor dem täglichen Einsatz durch. Die Zustimmung erfolgt über die App.
Die Maschine arbeitet erst dann autonom, wenn die Aufsichtsperson die in der Vereinbarung zur Überwachungs-App aufgeführten Kriterien akzeptiert hat.
Führen Sie alle zusätzlichen Wartungs- oder Bereitschaftskontrollen durch, die in der Schulung oder in den Anweisungen für die Maschine(n) beschrieben sind.
Tragen Sie das Mobilgerät, das über die App zur autonomen Steuerung mit der Maschine verbunden ist, immer bei sich.
Die Aufsichtsperson ist dafür verantwortlich, dass vor dem autonomen Betrieb alle Gefahren kartiert wurden. Die Einsatzbereiche müssen den Anforderungen in Kartierungsanforderungen entsprechen.
Die Aufsichtsperson ist dafür verantwortlich, den autonomen Betrieb der Maschine(n) von einem Bereitstellungsbereich innerhalb des autonomen Arbeitsbereichs aus einzuleiten. Die Maschine muss von einem qualifizierten Bediener im manuellen Betrieb zu diesem Bereitstellungsbereich und zurück zum Abstellbereich transportiert werden.
Vor und während des Maschinenbetriebs ist die Aufsichtsperson dafür verantwortlich, die Arbeitsbereiche (einschließlich, aber nicht beschränkt auf den autonomen Arbeitsbereich), den angrenzenden Mähbereich und die Durchgangswege zu inspizieren, um Gefahren zu erkennen und zu beseitigen, einschließlich, aber nicht beschränkt auf die folgenden:
Gegenstände im Arbeitsbereich, wie z. B. Äste, Steine, Müll, Golfausrüstungen, hochgefahrene Sprinkleranlagen und alle anderen Gegenstände, die nicht von den Messern geschnitten oder anderweitig gemäht werden sollen.
Umstehende und Kinder
Nicht mähbare Flächen, wie z. B. in Bearbeitung befindliche Flächen, stehendes Gewässer, beschädigte Rasenflächen usw.
Ein qualifizierter manueller Bediener muss unter Umständen mit der Maschine im manuellen Betrieb mähen, wenn der autonome Betrieb der Maschine unter anderem durch folgende Faktoren eingeschränkt ist:
Unzureichendes Funksignal (d. h. Mobilfunk, GNSS-Verbindung usw.)
Unzureichende GNSS-Genauigkeit und/oder RTK-Korrektur.
Einschränkung des Arbeitsbereichs für die Maschine(n) auf Basis der Standortbewertung und der darin enthaltenen Angaben.
Bereich zu nahe an der AOA-Grenze oder unbewegliche Hindernisse.
Vor dem Einsatz des Mähers für den autonomen Betrieb müssen die folgenden Bedingungen zutreffen:
Qualifikationen der Aufsichtsperson für die Maschine
Ich bin eine ausgebildeter und von Toro zugelassene Aufsichtsperson für autonome Rasenmäher.
Maschinenfunktion
Ich habe mich innerhalb der letzten 12 Stunden vergewissert, dass alle Objekterkennungssensoren sicher an der Maschine angebracht sind, ordnungsgemäß funktionieren und in die richtige Richtung ausgerichtet sind.
Note: Um zu überprüfen, ob die Sensoren ordnungsgemäß funktionieren, lesen Sie die Schritte in Überprüfen des Objekterkennungssystems und führen Sie diese durch.
Stellen Sie sicher, dass die Maschine eingeschaltet ist.
Stellen Sie sicher, dass die Überwachungs-App mit der Maschine verbunden ist.
Gehen Sie auf die Seite DIAGNOSE.
Klappen Sie die ListeSensoren auf.
Überprüfen Sie die Maschine von allen Seiten und vergewissern Sie sich, dass jede Leuchte rot leuchtet. Ignorieren Sie die vorderen, oberen Sensoren, da diese zur Absturzerkennung verwendet werden.
Ich habe mich vergewissert, dass sich die Mähspindeln in einem guten Mähzustand befinden und frei von Verschmutzungen und Verstopfungen sind, siehe Warten der Schneideinheit.
Vor-Ort-Kontrolle
Ich habe alle Fairways, die autonom gemäht werden sollen, inspiziert und kann Folgendes bestätigen:
Der Arbeitsbereich ist frei von allen Fremdkörpern, die den Betrieb der Maschine beeinträchtigen oder von der Maschine weggeschleudert werden könnten.
Stehende Gewässer, Äste, Gegenstände außerhalb des Rasens, Löcher, Auswaschungen usw. sind entweder repariert oder entfernt worden.
Alle Beregnungsköpfe sind vollständig in den Boden versenkt.
Alle zu erwartenden Hindernisse wurden aus dem autonomen Arbeitsbereich entfernt, einschließlich Bunkerharken, Kursmarkierungen, Schilder, Seilzäune, bewegliche Cartmarker, Pfosten und Pfähle.
Unbeteiligte und Kinder befinden sich außerhalb des autonomen Arbeitsbereichs.
Unmittelbar nach dem Starten der Maschine
Ich vergewissere mich, dass alle akustischen und optischen Warnhinweise an der Maschine ordnungsgemäß funktionieren:
Bevor sich die Maschine in Bewegung setzt, ertönt zwei (2) Sekunden lang ein Warnton.
Während des Betriebs im autonomen Betrieb blinken die gelben Leuchten an der Vorder- und Rückseite der Maschine kontinuierlich. Die Statusleuchte für den autonomen Betrieb leuchtet grün.
Wenn die Maschine nicht ordnungsgemäß funktioniert, werde ich sie sofort anhalten und das Problem bzw. die Probleme beheben, bevor ich den Betrieb wieder aufnehme.
Wenn Sie Fragen oder Bedenken zu einem der Punkte in dieser Checkliste haben, lesen Sie die Betriebsanleitung.
Fassungsvermögen des Kraftstofftanks: 18,5 Liter
Empfohlener Kraftstoff: Bleifreies Benzin mit einer Mindestoktanzahl von 87 ((R+M)/2) verwenden.
Ethanol: Kraftstoff, der mit 10 % Ethanol oder 15 % MTBE (Volumenanteil) angereichert ist, ist auch geeignet. Ethanol und MTBE sind nicht identisch. Benzin mit 15 % Ethanol (E15) per Volumenanteil kann nicht verwendet werden.
Verwenden Sie nie Benzin, das mehr als 10 % Ethanol (Volumenanteil) enthält, z. B. E15 (enthält 15 % Ethanol), E20 (enthält 20 % Ethanol) oder E85 (enthält bis zu 85 % Ethanol).
Verwenden Sie keinen methanolhaltigen Kraftstoff.
Lagern Sie keinen Kraftstoff im Kraftstofftank oder in Kraftstoffbehältern über den Winter, wenn Sie keinen Kraftstoffstabilisator verwenden.
Vermischen Sie nie Benzin mit Öl.
Die besten Ergebnisse erhalten Sie, wenn Sie nur sauberen, frischen Kraftstoff (höchstens 30 Tage alt) verwenden.
Die Verwendung von nicht zugelassenem Benzin kann zu Leistungsproblemen und/oder Motorschäden führen, die ggf. nicht von der Garantie abgedeckt sind.
Important: Verwenden Sie, abgesehen von Kraftstoffstabilisator, keine weiteren Kraftstoffzusätze. Verwenden Sie keine Kraftstoffstabilisatoren auf Alkoholbasis wie Ethanol, Methanol oder Isopropanol.
Aktivieren Sie die Feststellbremse, stellen den Motor ab, ziehen Sie den Schlüssel ab und warten Sie, bis alle Bewegungen zum Stillstand gekommen sind.
Reinigen Sie den Bereich um den Tankdeckel und nehmen Sie den Deckel ab (Bild 26).

Füllen Sie den vorgegebenen Kraftstoff in den Tank, bis der Stand 25 mm unter der Unterseite des Einfüllstutzens liegt. Dieser Platz im Tank ermöglicht es dem Kraftstoff, sich auszudehnen.
Important: Füllen Sie den Kraftstofftank nicht ganz auf.
Schrauben Sie den Deckel wieder auf.
Note: Sie hören einen Klick, wenn der Deckel einrastet.
Wischen Sie verschütteten Kraftstoff auf.
Das InfoCenter verwendet die Nummern 1, 2 und 3, um jede Schneideinheit zu identifizieren (z. B. CU1, CU2 und CU3 im Menü MEHR).
1 bezieht sich auf die mittlere Schneideinheit (Bild 27)
2 bezieht sich auf die vordere linke Schneideinheit (Bild 27)
3 bezieht sich auf die vordere rechte Schneideinheit (Bild 27)

Sie können das InfoCenter verwenden, um die folgenden Maschineneinstellungen anzupassen:
Abschaltverzögerung; siehe Einstellen der Abschaltverzögerung.
Spindeldrehzahl beim Mähen; siehe Einstellen der Spindeldrehzahl zum Mähen.
Spindeldrehzahl beim Läppen der Schneideinheiten; siehe Einstellen der Spindeldrehzahl zum Läppen.
Schnittsteuerung; siehe Einstellen der Funktion Schnittsteuerung.
Schnitthöhe (HOC); siehe Einstellen der Schnitthöhe.
Anzahl der Messer der Schneideinheit; siehe Einstellung der Messeranzahl der Schneideinheiten.
Maximale Mähgeschwindigkeit; siehe Einstellen der maximalen Mähgeschwindigkeit.
Absenkgeschwindigkeit der Schneideinheit; siehe Einstellen der Absenkgeschwindigkeit der Schneideinheit.
Maximale Fahrgeschwindigkeit; siehe Einstellen der maximalen Fahrgeschwindigkeit.
Maximale Rückwärtsfahrgeschwindigkeit; siehe Einstellen der maximalen Rückwärtsfahrgeschwindigkeit.
Verlangsamen beim Wenden; siehe Einstellen der Funktion Langsam beim Wenden.
Deaktivieren eines eingebauten Dreiradantriebs; siehe Deaktivieren eines eingebauten Dreiradantriebs.
Note: Jede Einstellung ist passwortgeschützt. Sie müssen möglicherweise ein Passwort eingeben, um die Einstellungen zu ändern.
Rufen Sie die Option ABSCHALTVERZöGERUNG auf, um sie einzustellen. Mit der Funktion Abschaltverzögerung können Schneideinheiten abgeschaltet werden, ohne dass sie angehoben werden. Die Verzögerungseinstellung stellt die Höchstdauer für den Joystick für das Anheben bzw. Absenken dar, die er in der hinteren Stellung bleibt, um diese Funktion zu aktivieren.
Die verfügbaren Verzögerungszeiten und ihre entsprechenden Schrittnummern sind in der Tabelle unten dargestellt:
| Schrittnummer | Verzögerungszeit (Sekunden) |
| 1 | Aus |
| 2 | 0,050 |
| 3 | 0,100 |
| 4 | 0,150 |
| 5 | 0,200 |
| 6 | 0,250 |
| 7 | 0,300 |
| 8 | 0,350 |
| 9 | 0,400 |
| 10 | 0,450 |
Note: Die Werkseinstellung ist 1, d. h. diese Funktion ist deaktiviert.
Rufen Sie die Option SPINDELDREHZAHL auf, um die Spindeldrehzahl beim Mähen anzupassen. Diese Einstellung kann angepasst werden, wenn die Schnittsteuerungseinstellung AUSist; siehe Einstellen der Schnittsteuerung.
Die verfügbaren Spindeldrehzahlen und ihre entsprechenden Schrittnummern sind in der Tabelle unten dargestellt:
| Schrittnummer | Spindeldrehzahl (U/min) |
| 1 | 800 |
| 2 | 950 |
| 3 | 1100 |
| 4 | 1250 |
| 5 | 1400 |
| 6 | 1550 |
| 7 | 1700 |
| 8 | 1850 |
| 9 | 2000 |
Note: Die Werkseinstellung ist 1550 U/min (Schrittnummer 6).
Navigieren Sie zur Option LOWER SPEED [Absenkgeschwindigkeit], um die Geschwindigkeit einzustellen, mit der sich die Schneideinheiten zum Mähen auf den Boden absenken. Sie können zwischen 1 (langsamste Geschwindigkeit) und 9 (schnellste Geschwindigkeit) wählen.
Testen Sie die Absenkgeschwindigkeit, bevor Sie mit den Mäharbeiten beginnen. Stellen Sie die Geschwindigkeit wie gewünscht ein.
Note: Die Werkseinstellung ist 5.
Rufen Sie die Option LäPPDREHZAHL auf, um die Spindeldrehzahl beim Durchführen eines Läppvorgangs einzustellen.
Die verfügbaren Spindeldrehzahlen und ihre entsprechenden Schrittnummern sind in der Tabelle unten dargestellt:
| Schrittnummer | Spindeldrehzahl (U/min) |
| 1 | 200 |
| 2 | 240 |
| 3 | 280 |
| 4 | 320 |
| 5 | 360 |
| 6 | 400 |
| 7 | 440 |
| 8 | 480 |
| 9 | 520 |
Note: Die Werkseinstellung ist 200 U/min (Schrittnummer 1).
Um einen gleichmäßigen, hochwertigen Schnitt und ein gleichmäßiges Schnittergebnis zu gewährleisten, ist die Maschine mit dem Radius Dependent Speed™ System (RDS) mit angemeldetem Patent ausgestattet. Das RDS-System ist eine Schnittsteuerung und unabhängige Raddrehzahlfunktion, die die Drehzahl jedes Spindelmotors und Fahrmotors anpasst, um beim Mähen ein gleichmäßiges Schnittergebnis und weniger Rasenabschürfungen in Kurven zu erzielen.
Wenn die Maschine beim Mähen gewendet wird (z. B. während der Nacharbeit), dreht sich die Spindel auf der Kurveninnenseite langsamer als die außen liegende. Die mittlere Spindel dreht sich mit der gemittelten Drehzahl der inneren und äußeren Spindel, sodass alle drei Schneideinheiten den gleichen Schnitt ermöglichen. Je schärfer die Kurve, desto größer der Unterschied der Spindelgeschwindigkeiten. Außerdem sorgt das RDS-System für eine Anpassung der Spindeldrehzahl, um einen gleichbleibenden Schnitt zu gewährleisten, wenn die Maschinendrehzahl während des Mähens geändert wird. Mit dieser Funktion wird ein Ausdünnen des Rasens an der inneren Spindel verhindert (im Vergleich zu anderen Aufsitzrasenmähern für Fairways), was das Entstehen eines Triplex-Rings“ beinahe ganz verhindert.
Das RDS-System passt bei einer Kurve auch die Drehzahl jedes Radmotors an, ähnlich wie die Drehzahlen der Spindelmotoren angepasst werden. Der innere Radmotor dreht sich mit einer geringeren Drehzahl als der äußere Radmotor. Dadurch wird das Reiben des Rads in der Kurve minimiert und der Triplex-Ring“ verhindert.
Rufen Sie die Option SCHNITTSTEUERUNG auf, um die RDS-Systemfunktion einzustellen.
Schnittsteuerung auf EIN: Die Maschine verwendet Ihre Einstellungen aus den Optionen SCHNITTHöHE und MESSERANZAHL UND DIE LINKE UND RECHTE RADDREHZAHL, UM DIE DREHZAHL JEDER SPINDEL FESTZULEGEN.
Die Schnittsteuerung ist AUS: Die Maschine verwendet Ihre Einstellung aus der Option SPINDELDREHZAHL.
Note: Die Werkseinstellung ist EIN.
Rufen Sie die Option SCHNITTHöHE auf, um die Schnitthöhe einzustellen. Die Schnittsteuerungsfunktion muss EIN sein, um diese Funktion nutzen zu können; siehe Einstellen der Schnittsteuerung.
Note: Die Werkseinstellung liegt bei 12,7 mm.
Rufen Sie die Option MESSERANZAHL auf, um die Anzahl der Messer der Schneideinheit einzustellen. Stellen Sie fest, wie viele Messer Ihre installierten Schneideinheiten aufweisen und wählen Sie den entsprechenden Wert (5, 8, 11 oder 14).
Note: Die Werkseinstellung ist 8.
Rufen Sie die Option MAX MOW auf, um die maximale Mähgeschwindigkeit einzustellen. Sie können die Geschwindigkeit von 4,8 km/h bis 8,0 km/h in Schritten von 0,3 km/h einstellen.
Note: Die Werkseinstellung liegt bei 6,1 km/h.
Rufen Sie die Option MAX TRANSPORT auf, um die maximale Fahrgeschwindigkeit einzustellen. Sie können die Geschwindigkeit von 8,0 km/h bis 16,0 km/h in Schritten von 0,8 km/h einstellen.
Note: Die Werkseinstellung liegt bei 16,0 km/h.
Rufen Sie die Option MAX REVERSE auf, um die maximale Rückwärtsfahrgeschwindigkeit einzustellen. Sie können die Geschwindigkeit von 3,2 km/h bis 8,0 km/h in Schritten von 0,8 km/h einstellen.
Note: Die Werkseinstellung liegt bei 4,0 km/h.
Note: Für die Maschinensoftware-Versionen A bis D beträgt die maximale Geschwindigkeit 4,8 km/h. Aktualisieren Sie die Maschinensoftware, um die maximale Geschwindigkeit auf 8,0 km/h einzustellen.
Rufen Sie die Option LANGSAM BEIM WENDEN auf, um die Funktion einzustellen. Die Funktion Langsam beim Wenden reduziert die Maschinengeschwindigkeit, während Sie die Maschine für einen weiteren Mähdurchlauf auf dem Grün wenden.
Note: Die Werkseinstellung ist AUS.
Rufen Sie die Option DREIRADANTRIEB auf, um den eingebauten Dreiradantrieb zu deaktivieren.
Note: Wenn Sie den Dreiradantrieb installiert haben, ist er automatisch aktiviert.
Bei der Kalibrierung der Maschine erscheinen Dialogmeldungen im InfoCenter. Diese Meldungen sollen Ihnen Anweisungen für den Kalibriervorgang geben.
Eine Liste jeder Dialogmeldung finden Sie in der Tabelle unten:
| Meldungsnummer | Text der Meldung im InfoCenter |
| 1 | Pedal in die Neutral-Stellung bewegen |
| 4 | Pedal ganz nach vorne gedrückt halten |
| 5 | Max Vorwärtskalibrierung bestanden |
| 9 | Max Vorwärtskalibrierung fehlgeschlagen. Spannung außerhalb der Vorgaben |
| 13 | Pedal ganz nach hinten gedrückt halten |
| 14 | Max Rückwärtskalibrierung bestanden |
| 16 | Max Rückwärtskalibrierung fehlgeschlagen. Spannung außerhalb der Vorgaben |
| 17 | Kalibrierung fehlgeschlagen. Pedalposition unbekannt |
| 18 | Pedal in die Neutral-Stellung bringen. Weiter? |
| 100 | Kalibrierung ist aktiviert |
| 101 | Kalibrierung ist abgeschlossen |
| 102 | Zündschloss aus- und einschalten |
| 110 | Kalibrierung blockieren. Komponente reagiert nicht |
| 111 | Kalibrierung blockieren. Komponente nicht bereit |
| 112 | Kalibrierung blockieren. Fehler aktiv |
| 113 | Kalibrierung blockieren. Sitz ist leer |
| 114 | Kalibrierung blockieren. Nicht in Leerlauf |
| 115 | Kalibrierung blockieren. In Leerlauf |
| 116 | Kalibrierung blockieren. Feststellbremse ist aktiviert |
| 300 | Pedal in die Neutral-Stellung bewegen |
| 301 | Lenkrad zentrieren Weiter? |
| 302 | Hinteres Rad manuell zentrieren. Weiter? |
| 303 | Hinteres Rad auf maximal links lenken. Weiter? |
| 304 | Hinteres Rad auf maximal rechts lenken. Weiter? |
| 305 | Hintere Radmitte außerhalb des Bereichs |
| 306 | Hinterer Radwinkel außerhalb des Bereichs |
| 400 | Achtung: Maschine muss auf Wagenhebern abgestützt werden. Weiter? |
| 401 | Kalibrierung blockieren. Schütz ist offen |
| 402 | Kalibrierung blockieren. Pedal in Leerlauf |
| 403 | Pedal in die Neutral-Stellung bewegen |
| 404 | Auf ein Anhalten der Räder warten |
| 405 | Pedal ganz nach vorne gedrückt halten |
| 406 | Kalibrierung aktiv. Pedal halten |
| 500 | Anheben/Absenken Verlängern aktiv |
| 501 | Anheben/Absenken Zurückziehen aktiv |
| 502 | Bringen Sie den Joystick in die Position Absenken |
| 503 | Bringen Sie den Joystick in die Position Anheben |
| 504 | Ist die Schneideinheit eingebaut? Weiter? |
| 1100 | Fahrdiagnosemeldungen aktiviert |
| 1101 | Lenkungsdiagnosemeldungen aktiviert |
| 1102 | Sicherheitsdiagnosemeldungen aktiviert |
Sie können das Lenkrad in eine komfortable Bedienposition neigen.
| Wartungsintervall | Wartungsmaßnahmen |
|---|---|
| Bei jeder Verwendung oder täglich |
|
Führen Sie die folgenden Maßnahmen durch, bevor Sie die Maschine täglich starten:
Prüfen Sie den Ölstand im Motor, siehe Prüfen des Motoröls.
Prüfen Sie die Einstellung der Spindel zum Untermesser; siehe Prüfen des Kontakts zwischen Spindel und Untermesser.
Prüfen Sie den Reifendruck, siehe Prüfen des Reifendrucks.
Prüfen Sie das Sicherheitsverriegelungssystem, siehe Funktion der Sicherheitsschalter.
Prüfen Sie den Kraftstoffstand und füllen Sie bei Bedarf mehr Kraftstoff nach; siehe Betanken.
Prüfen Sie die Funktion der Feststellbremse, indem Sie sie aktivieren und sicherstellen, dass sie angezogen wird; siehe Feststellbremse.
Prüfen und reinigen Sie die Sensoren (bei Bedarf), siehe Überprüfen der Sensoren und SensorhalterungenReinigen der Sensoren.
Weitere Angaben zum in der Einfahrzeit empfohlenen Ölwechsel und den Wartungsarbeiten finden Sie in der mit der Maschine ausgelieferten Motorbedienungsanleitung.
Die Einfahrzeit beträgt nur 8 Betriebsstunden.
Da die ersten Betriebsstunden für die zukünftige Zuverlässigkeit der Maschine sehr wichtig sind, überwachen Sie die Funktionen und die Leistung sorgfältig, damit Sie kleine Fehler, die zu großen Reparaturen führen können, erkennen und beheben. Prüfen Sie die Maschine in der Einfahrzeit oft auf Öllecks, lose Schrauben oder andere Fehlfunktionen.
Note: Kontrollieren Sie den Bereich unter den Schneideinheiten, dass dieser keine Fremdkörper aufweist.
Stecken Sie den Schlüssel ein und drehen Sie ihn in die Stellung EIN.
Warten Sie, bis der Startbildschirm im InfoCenter erscheint und bewegen Sie dann den Schlüssel in die Position START, bis der Motor startet.
Sobald der Motor läuft, lassen Sie den Schlüssel los. Er bewegt sich dann automatisch in die Position EIN.
Note: Wenn der Motor länger als 30 Sekunden angelassen wird, tritt ein Fehler auf.
Setzen Sie sich auf den Fahrersitz und schnallen Sie sich an.
Bringen Sie den Funktionsschalter in die Stellung MäHEN.
Lösen Sie die Feststellbremse.
Bewegen Sie den Joystick für Anheben bzw. Absenken kurz nach vorn.
Die Schneideinheiten sollten sich absenken und alle Spindeln sollten sich drehen.
Bewegen Sie den Joystick für Anheben bzw. Absenken kurz nach hinten.
Die Spindeln der Schneideinheit sollten stoppen, und die Schneideinheiten sollten zur vollständigen Transportstellung angehoben werden.
Fahren Sie die Maschine auf eine ebene Fläche.
Bringen Sie den Funktionsschalter in die Stellung NEUTRAL.
Aktivieren Sie die Feststellbremse.
Drehen Sie den Zündschlüssel in die AUS-Stellung, um den Motor abzustellen.
Ziehen Sie den Zündschlüssel ab.
| Wartungsintervall | Wartungsmaßnahmen |
|---|---|
| Bei jeder Verwendung oder täglich |
|
Wenn die Sicherheitsschalter abgeklemmt oder beschädigt werden, kann die Maschine auf eine unerwartete Weise funktionieren, was Verletzungen verursachen kann.
An den Sicherheitsschaltern dürfen keine Veränderungen vorgenommen werden.
Prüfen Sie deren Funktion täglich und tauschen Sie alle defekten Schalter vor der Inbetriebnahme der Maschine aus.
Die Sicherheitsschalter sollen den Betrieb der Maschine in Situationen verhindern, in denen Sie sich verletzen könnten oder die Maschine beschädigt werden könnte.
Die Sicherheitsschalter stellen sicher, dass die Maschine nur in den folgenden Situationen bewegt werden kann:
Die Feststellbremse ist deaktiviert.
Sie sitzen auf dem Fahrersitz (es sei denn, die Maschine arbeitet im autonomen Betrieb).
Der Funktionsschalter ist in der MäH- oder TRANSPORT-Stellung.
Außerdem verhindert das Sicherheits-Verriegelungssystem, dass sich die Spindeln bewegen, außer der Funktionsschalter ist in der Stellung MäHEN (außer, wenn die Maschine im Modus Läppen ist).
Aktivieren Sie den manuellen Betrieb und führen Sie die folgenden Schritte aus, um das Verriegelungssystem zu überprüfen:
Stehen Sie vom Sitz auf, lassen den Motor an, lösen Sie die Feststellbremse, bewegen den Funktionsschalter in die Stellung MäHEN oder TRANSPORT und aktivieren das Fahrpedal.
Die Maschine sollte sich nicht bewegen, da Sie nicht auf dem Sitz sitzen. Das bedeutet, dass das Verriegelungssystem ordnungsgemäß funktioniert. Beheben Sie das Problem, wenn die Sicherheitsschalter nicht einwandfrei funktionieren.
Setzen Sie sich auf den Sitz, lassen den Motor an, aktivieren Sie die Feststellbremse, bewegen den Funktionsschalter in die Stellung MäHEN oder TRANSPORT und aktivieren das Fahrpedal.
Die Maschine sollte sich nicht bewegen, da die Feststellbremse aktiviert ist. Das bedeutet, dass das Verriegelungssystem ordnungsgemäß funktioniert. Beheben Sie das Problem, wenn die Sicherheitsschalter nicht einwandfrei funktionieren.
Setzen Sie sich auf den Sitz, lassen den Motor an, lösen Sie die Feststellbremse, bewegen Sie den Funktionsschalter in die Stellung NEUTRAL und aktivieren Sie das Fahrpedal.
Die Maschine sollte sich nicht bewegen, da sich der Funktionsschalter in der Stellung NEUTRAL befindet. Das bedeutet, dass das Verriegelungssystem ordnungsgemäß funktioniert. Beheben Sie das Problem, wenn die Sicherheitsschalter nicht einwandfrei funktionieren.
Setzen Sie sich auf den Sitz, bewegen Sie das Fahrpedal in die Stellung NEUTRAL, bringen Sie den Funktionsschalter in die Stellung NEUTRAL, ziehen Sie die Feststellbremse an, starten den Motor und bewegen den Joystick für Anheben bzw. Absenken nach vorne, um die Schneideinheiten abzusenken.
Die Schneideinheiten sollten sich absenken, jedoch nicht drehen. Wenn sie sich drehen, funktionieren die Sicherheitsschalter nicht richtig; beheben Sie das Problem, bevor Sie die Maschine verwenden.
Stellen Sie sicher, dass die Schneideinheiten ganz angehoben sind.
Setzen Sie sich auf den Sitz, lösen Sie die Feststellbremse und bewegen den Funktionsschalter in die Position TRANSPORT, um die Maschine zu fahren ohne zu mähen.
Nähern Sie sich unebenen Bereichen immer mit verringerter Geschwindigkeit und durchqueren Sie hügelige Bereiche mit größter Vorsicht.
Machen Sie sich mit der Breite der Maschine vertraut. Versuchen Sie nicht, zwischen eng zusammenstehenden Objekten durchzufahren, um teure Beschädigungen und Ausfallzeiten zu vermeiden.
Die Verbindung mit der Maschine über die GeoLink Mow Überwachungs-App ermöglicht Ihnen die Programmierung, Überwachung und Fernsteuerung der Maschine.
Geben Sie die Seriennummer Ihrer Maschine in die URL ein, um eine Verbindung zur Maschine herzustellen.
Das
Format für die URL ist tacs
Melden Sie sich mit Ihren myTurf-Zugangsdaten bei der GeoLink Mow Überwachungs-App an.
Note: Wenn Sie keine Verbindung zur Maschine herstellen können, vergewissern Sie sich, dass die Maschine als Ressource in den Bestand Ihres Fuhrparks aufgenommen wurde, siehe myTurf Softwareanleitung.
Note: In Funktionen im Karten-Menü finden Sie eine Übersicht der Kartierungsfunktionen.
Die AOA-Grenze sollte nicht unter Bäumen oder anderen Hindernissen kartiert werden, da dies die GNSS-Kommunikation mit der Maschine behindern könnte (Bild 29).

AOAs und CMAs müssen im Uhrzeigersinn kartiert werden. Löcher und NOAs, müssen gegen den Uhrzeigersinn kartiert werden.
Wenn Sie AOA- oder CMA-Grenzen abbilden, beginnen und beenden Sie die Grenze auf einer geraden Linie.
Vergewissern Sie sich, dass die Maschine ein starkes GNSS-Signal empfängt, bevor Sie mit der Kartierung beginnen, siehe Statusfeld Genauigkeit auf der Seite KARTIERUNG oder in der Diagnostik-Menü.
Während des Kartierens oder kurz vor dem Kartieren sollte die Maschine nicht im Rückwärtsgang betrieben werden. Planen Sie Ihre Kartierungsroute sorgfältig, bevor Sie eine Kartierung durchführen.
| Punkt-zu-Punkt | Mindestabstand |
| Abstand zwischen einer CMA und einem AOA oder einem NOA | 1,5 m |
| CMA-Breite | 4,5 m |
Note: Um die beste Leistung zu erzielen, beträgt der empfohlene Abstand zwischen einem AOA und einer CMA5 m, da dies der Maschine genügend Raum gibt, um effiziente Wendemanöver durchzuführen und somit Missionen schneller zu beenden.

Befolgen Sie die folgenden Schritte, um Ihre Strecke für das autonome Mähen festzulegen:
Kartieren Sie den autonomen Arbeitsbereich (AOA), siehe Kartierung des autonomen Arbeitsbereichs.
Erstellen Sie eine Karte der zusammenhängenden Mähfläche (CMA), siehe Kartierung der zusammenhängenden Mähfläche.
Kartieren Sie gesperrte Arbeitsbereiche (NOAs, Löcher und Pfosten), siehe Kartierung von gesperrten Arbeitsbereichen und Pfosten erstellen.
Kartieren der Transitwege, siehe Kartierung von Transitwegen.
Erstellen von Abholpunkten, siehe Abholpunkte erstellen.
Bevor Sie den Mäher für den autonomen Betrieb einsetzen, müssen Sie die Grenzen des autonomen Arbeitsbereichs (AOA) durch Kartierung programmieren.
Important: Inspizieren Sie vor der Kartierung das Gelände und notieren Sie alle Hindernisse, damit der autonome Arbeitsbereich keine Hindernisse enthält oder zu nahe an Hindernissen liegt. Der autonome Arbeitsbereich darf keine Hindernisse enthalten, die die Maschine nicht erkennen kann, welche die Maschine beschädigen könnten oder die ein Sicherheitsrisiko darstellen.Es liegt in der Verantwortung der Aufsichtsperson, sicherzustellen, dass alle Objekte oder Hindernisse außerhalb des autonomen Arbeitsbereichs ordnungsgemäß kartiert werden, siehe Kartierung von gesperrten Arbeitsbereichen und Pfosten erstellen.Befindet sich ein Hindernis (z. B. eine feste Wand oder unwegsames Gelände) zwischen der Maschine und einer der in Sicherheitskriterien für den autonomen Arbeitsbereich (AOA) aufgeführten Gefahren, stellen Sie sicher, dass die Begrenzung des AOA mindestens 2 m von dem Hindernis entfernt ist.
Note: Es wird empfohlen, eine Ihrer Maschinen als primäre Kartierungsmaschine für den gesamten Kurs zu bestimmen. Dies wäre die einzige Maschine in Ihrem Fuhrpark, die neue kartierte Bereiche erstellt oder bestehende kartierte Bereiche ändert. Die anderen Maschinen des Fuhrparks würden die von der primären Kartierungsmaschine erstellte Kartendatei verwenden.Es liegt in der Verantwortung der Aufsichtsperson, sicherzustellen, dass die richtige Kartendatei auf jede Maschine einer Flotte geladen ist.
Verbinden Sie sich mit der Maschine über die GeoLink Mow Überwachungs-App.
Drücken Sie auf dem Startbildschirm die Menü-Taste in der oberen rechten Ecke und wählen Sie KARTE.
Fahren Sie die Maschine an die Stelle, an der Sie mit der Kartierung Ihres AOA beginnen möchten.
Note: Achten Sie auf die Farbe der Statusfelder unten rechts auf dem Bildschirm: Genauigkeit und Abstand. Wenn die Farbe rot ist, bedeutet dies, dass die Maschine eine schlechte Lokalisierungsgenauigkeit hat oder ein nahes Objekt erkennt. Die Maschine kann in diesem Bereich keine Karte erstellen. Bringen Sie die Maschine an einen anderen Startpunkt und versuchen Sie es erneut.
Note: Es wird empfohlen, mit der Kartierung des AOA in einem Gebiet mit erkennbaren Markierungen zu beginnen, z. B. mit Beregnungsfahnen oder anderen Geländemerkmalen.
Wählen Sie AOA aus dem Menü in der Seitenleiste oder der ausklappbaren roten Schaltfläche, gefolgt von Perimeter.
Verwenden Sie die vordere linke Ecke der linken Schneideinheit als Markierung, indem Sie die Maschine zunächst in einer geraden Linie fahren und dann den Umfang des AOA im Uhrzeigersinn abbilden.
Achten Sie während der Kartierung auf die Farbe der Statusfelder unten rechts auf dem Bildschirm: Geschwindigkeit, Genauigkeit und Abstand. Wenn die Farbe gelb oder rot ist, bedeutet dies, dass sich die Maschine zu schnell bewegt, eine schlechte Lokalisierungsgenauigkeit aufweist oder ein nahe gelegenes Objekt erkennt. Verringern Sie die Geschwindigkeit der Maschine, halten Sie an und warten Sie, oder fahren Sie an einen anderen Ort und versuchen Sie die Kartierung erneut.
Grün bedeutet, dass die Maschine innerhalb der idealen Kartierungsparameter liegt.
Gelb bedeutet, dass sich die Maschine den Grenzen der Kartierungsparameter nähert.
Rot bedeutet, dass die Maschine möglicherweise die Grenze nicht erfasst hat, eine schlechte Lokalisierungsgenauigkeit aufweist oder ein nahe gelegenes Objekt erkennt.
Sobald Sie sich am Anfang Ihrer AOA-Linie befinden, verlangsamen Sie die Maschine und wählen Sie Speichern.
Wählen Sie im Dialogfeld Ja.
Wählen Sie die Schaltfläche Speichern, um die Begrenzung zu speichern.
Aktualisieren Sie die Karte, um den abgeschlossenen AOA anzuzeigen.
Suchen Sie nach Kartierungsfehlern und beheben Sie diese gegebenenfalls.
Fahren Sie die Maschine zu einem Bereich innerhalb des AOA, in dem Sie mit der Kartierung Ihrer zusammenhängenden Mähgefläche (CMA) beginnen möchten.
Note: Für eine optimale Leistung sollte die CMA-Grenze mindestens 5 m von der AOA-Grenze entfernt sein. Dies führt zu einer guten Wendeeffizienz im autonomen Betrieb. Siehe Kartierungsanforderungen für die Mindestabstandsanforderungen, aber rechnen Sie mit einer geringeren Wendeeffizienz und längeren Missionszeiten.
Betätigen Sie die rote Schaltfläche in der unteren rechten Ecke des Bildschirms.
Wählen Sie CMA aus dem Menü, gefolgt von Perimeter.
Verwenden Sie die vordere linke Ecke der linken Schneideinheit als Markierung, indem Sie die Maschine zunächst in einer geraden Linie fahren und dann den Umfang der CMA im Uhrzeigersinn abbilden.
Note: Achten Sie auf die Farbe der Statusfelder unten rechts auf dem Bildschirm: Geschwindigkeit, Genauigkeit und Abstand. Wenn die Farbe gelb oder rot ist, bedeutet dies, dass sich die Maschine zu schnell bewegt, eine schlechte Lokalisierungsgenauigkeit aufweist oder ein nahe gelegenes Objekt erkennt. Verringern Sie die Geschwindigkeit der Maschine, halten Sie an und warten Sie, oder fahren Sie an einen anderen Ort und versuchen Sie die Kartierung erneut.
Grün bedeutet, dass die Maschine innerhalb der idealen Kartierungsparameter liegt.
Gelb bedeutet, dass sich die Maschine den Grenzen der Kartierungsparameter nähert.
Rot bedeutet, dass die Maschine möglicherweise die Grenze nicht erfasst hat, eine schlechte Lokalisierungsgenauigkeit aufweist oder ein nahe gelegenes Objekt erkennt.
Sobald Sie sich am Anfang Ihrer CMA-Linie befinden, verlangsamen Sie die Maschine und wählen Sie Speichern.
Wählen Sie im Dialogfeld Ja.
Wählen Sie die Schaltfläche Speichern, um die Begrenzung zu speichern.
Kartieren Sie das Fairway D.O.P (Spielrichtung):
Fahren Sie die Maschine zu einem beliebigen Startpunkt innerhalb der CMA.
Wählen Sie D.O.P und fahren Sie den Mäher 5 m in Spielrichtung.
Wählen Sie Speichern.
Kartieren der Mittellinie:
Fahren Sie die Maschine an einen Punkt, der 1 m von der CMA-Grenze an beiden Enden des Fairways entfernt ist.
Wählen Sie Mittellinie und fahren Sie die Maschine in der Mitte des Fairways entlang.
Note: Stellen Sie sicher, dass die Mittellinie an beiden Enden des Fairways 1 m über die CMA hinausragt.
Nachdem die Maschine das andere Ende der CMA passiert hat, wählen Sie Speichern.
Um einen Bereich zu erstellen, den die Maschine durchfahren, aber nicht mähen kann, wählen Sie Loch, fahren Sie gegen den Uhrzeigersinn um den Bereich und wählen Sie Speichern.
Wählen Sie erneut Speichern, um Ihre CMA zu speichern.
Suchen Sie nach Kartierungsfehlern und beheben Sie diese gegebenenfalls.
Wählen Sie den Fehler aus, um zusätzliche Informationen über den Fehler und den Ort des Fehlers anzuzeigen.
Important: Gesperrte Arbeitsbereiche sollten für die Kartierung von großen Objekten oder Hindernissen wie Bäumen, Bunkern, Beregnungskästen, oberirdischen Hindernissen usw. oder kleineren Hindernissen, welche die Maschine nicht erkennen kann, wie beispielsweise Kabel, verwendet werden, die sich in dem AOA befinden. Es liegt in der Verantwortung der Aufsichtsperson, sicherzustellen, dass alle Objekte oder Hindernisse vor dem autonomen Betrieb ordnungsgemäß kartiert werden. Beachten Sie die Anforderungen in Kartierungsanforderungen.NOAs können nicht direkt innerhalb einer CMA zugeordnet werden; erstellen Sie zuerst ein Loch innerhalb der CMA, bevor Sie den NOA zuordnen.
Um einen Bereich innerhalb eines Lochs in einer CMA zu erstellen, den die Maschine nie durchfahren wird, fahren Sie zum Loch, wählen Sie NOA, fahren Sie gegen den Uhrzeigersinn um den Bereich und wählen Sie Speichern.
Um einen Bereich innerhalb eines AOA, aber außerhalb der CMA zu erstellen, den die Maschine nie durchfahren wird, fahren Sie zu dem Bereich außerhalb der CMA, wählen Sie NOA, fahren Sie gegen den Uhrzeigersinn um den Bereich und wählen Sie Speichern.
Important: Pfosten sind NOAs mit kleinem Durchmesser (1 m), die verhindern, dass die Maschine durch AOA-Bereiche fährt, in denen sich ein kleines Objekt befindet, wie z. B. Pfosten, Abläufe oder Beregnungskästen. Mehrere Pfosten können nahe beieinander erstellt werden, um eine Barriere zu bilden.
Wählen Sie aus dem Menü KARTE die Option Pfosten.
Sobald sich die vordere linke Ecke der linken Schneideinheit in der Nähe des Hindernisses befindet, das Sie kartieren möchten, wählen Sie Punkt und Speichern.
Ein roter Kreis, der den Pfosten repräsentiert, erscheint auf Ihrer Karte.
Transitwege sind Wege, denen der Mäher folgt, wenn er sich zwischen den Arbeitsbereichen bewegt. Die Transitwege müssen mindestens 3,5 m breit sein.
Fahren Sie die Maschine an einen Punkt innerhalb eines AOA, an dem der Transitweg beginnen soll.
Note: Transitwege können überall innerhalb eines AOA beginnen, auch innerhalb einer CMA, aber für eine optimale Leistung wird empfohlen, den Pfad nahe der AOA-Grenze zu beginnen.
Wählen Sie aus dem Menü KARTE die Option Pfad.
Wenn Sie beginnen möchten, eine Karte zu erstellen, wählen Sie Pfad und fahren Sie die genaue Route, der die Maschine zwischen 2 AOAs folgen soll.
Wenn sich die Maschine innerhalb des anderen AOA befindet und Sie mit dem Pfad zufrieden sind, wählen Sie Speichern.
Auf Ihrer Karte erscheint eine orangefarbene Linie, die den Transitweg darstellt.
Abholpunkte sind Bereiche innerhalb von AOAs, an denen der Bediener die Maschine während des Mähens jederzeit verlassen/abholen kann. AOAs können speziell für Abholpunkte eingerichtet und über Transitwege mit einem Fairway verbunden werden. Über die Überwachungs-App kann der Bediener die Maschine jederzeit anweisen, zu diesem Punkt zurückzukehren.
Fahren Sie die Maschine zu einem Bereich innerhalb eines AOA, an dem Sie einen Abholpunkt erstellen möchten.
Wählen Sie Abholen, Punkt und Speichern.
Der Abholpunkt wird an der Position der vorderen linken Ecke der linken Schneideinheit erstellt.


Wählen Sie aus dem Menü KARTE die Schaltfläche Kartenebenen.
Die Optionen Zusammenfassung, Genauigkeitund Objekterkennung werden eingeblendet.
| Ebene | Beschreibung |
| Zusammenfassung | Zeigt Arbeitsbereiche, Transitwege, Abholpunkte und Pfosten an. Außerdem werden signifikante Probleme mit der Genauigkeit und der Objekterkennung angezeigt. |
| Genauigkeit | Zeigt die GNSS- und RTK-Genauigkeit für die kartierten Gebiete an. |
| Objekterkennung | Zeigt an, ob die Maschine nahe gelegene Objekte in den kartierten Bereichen erkannt hat. |
Wählen Sie die Kartenebene, die Sie anzeigen möchten.
Wählen Sie im Menü KARTE einen beliebigen Punkt auf dem CMA-Teil eines Fairways, um die Fenster Fairway und Eigenschaften, Mittellinie und Löcher zu öffnen.
Ändern Sie im Fenster Eigenschaften den Namen des Fairways oder den Winkel der Spielrichtung.
Wählen Sie Speichern.
Verwenden Sie die Funktion Glätten, um der Mittellinie mit einem Smoking-Mähmuster ein besseres Aussehen zu verleihen. Um den Pfad der Mittellinie anzupassen, entfernen Sie die Mittellinie und erstellen Sie eine neue.
Wählen Sie im Fenster MittellinieGlätten oder Entfernen.
Löschen Sie im Fenster Fairway alle kartierten Merkmale, indem Sie das Mülleimersymbol neben diesen auswählen.
Note: Stellen Sie sicher, dass diese Bereiche erneut kartiert und etwaige Fehler behoben werden, bevor Sie eine Mission beginnen.
Im Fenster Löcher können Sie alle kartierten Löcher anzeigen oder löschen.
Wählen Sie +Hinzufügen, um ein Loch zu erstellen.
Eine Mission ist eine Abfolge von Fairway-Aufgaben. Nachdem die Maschine eine Mission abgeschlossen hat, beginnt sie sofort mit der nächsten Mission. Wenn es keine weiteren Missionen mehr gibt, bewegt sie sich an den Rand des letzten Fairways, es sei denn, sie erhält vom Betreiber die Anweisung, an einen anderen Standort zu fahren.
Verbinden Sie sich mit der Maschine über die GeoLink Mow Überwachungs-App.
Wählen Sie auf dem Startbildschirm die Schaltfläche MISSIONEN.
Betätigen Sie die Schaltfläche + Neue Mission.
Wählen Sie das/die Fairways, die gemäht werden soll(en), aus Ihrer Liste der kartierten CMAs aus.
Note: Wählen Sie die Fairways in der Reihenfolge aus, in der sie gemäht werden sollen.
Note: Achten Sie darauf, dass alle CMAs in einer Mission über AOAs oder Transitpfade verbunden sind.
Wählen Sie ein Mähmuster aus Favoriten oder erstellen Sie ein neues Mähmuster unter Benutzerdefiniert.
Geben Sie die Telefonnummer der Aufsichtsperson ein und wählen Sie die Schaltfläche Speichern.
Note: Dadurch kann die Maschine Textbenachrichtigungen senden, wenn sie angehalten wurde und ein manuelles Eingreifen der Aufsichtsperson erforderlich ist.
Wählen Sie Speichern.
Befindet sich der Mäher während dieses Schritts im Leerlauf, beginnt der Mäher mit der Mission.
Note: Nachdem Sie eine Mission gespeichert haben, wird diese unter MISSIONEN angezeigt.
Betätigen Sie die Schaltfläche AUFGABEN.
Nachdem Sie Neue Mission ausgewählt haben, wählen Sie Benutzerdefiniert unter dem Abschnitt mit dem Titel Mähmusterauswahl aus.
Es erscheinen drei Musteroptionen: Stripes [Streifen], Tuxedo [Gleichmäßig] oder Cleanup [Reinigungsdurchgang].
Die Optionen für Stripes [Streifen] sind:
| Option | Definition |
| Relativ/Absolut | Gibt an, ob die Maschine die Spielrichtung oder absolute Gradzahlen als Bezugspunkt verwendet. |
| Richtungsart (-180 bis 180 oder 0 bis 360) | Abweichung in Grad zur oben gewählten Option. Wenn beispielsweise relativ ausgewählt ist, würde die Eingabe von 40 dazu führen, dass die Maschine in einem Winkel von 40° (im Uhrzeigersinn) zur Spielrichtung mäht. Bei negativen Werten mäht die Maschine entgegen dem Uhrzeigersinn zur Spielrichtung.Bei 40° als absoluten Grad würde die Maschine in einem Winkel von 40° vom geografischen Nordpol mähen. |
| Linien-Multiplikator | Steuert die Breite der Streifen. Kann bis zu fünf (5) Maschinenbreiten breit sein. |
| Umgekehrt | Steuert die Richtung der Mähdurchgänge |
| Cleanup [Reinigungsdurchgang] | Wenn Sie diese Einstellung aktivieren, führt die Maschine Reinigungsdurchgänge aus. |
| Optimieren der Wendevorgänge | Wenn Sie diese Einstellung aktivieren, führt die Maschine am Ende jedes Mähdurchgangs gleich große Wendevorgänge aus. |
Die Optionen für Tuxedo [Gleichmäßig] sind:
| Option | Definition |
| Richtung | Steuert, ob der Mäher das Fairway im oder gegen den Uhrzeigersinn mähen soll. |
| Cleanup [Reinigungsdurchgang] | Wenn Sie diese Einstellung aktivieren, führt die Maschine Reinigungsdurchgänge aus. |
Die Option für Cleanup [Reinigungsdurchgang] ist:
| Option | Definition |
| Richtung | Legt fest, ob der Mäher die Reinigungsdurchgänge im oder gegen den Uhrzeigersinn durchführt. |
Geben Sie eine Telefonnummer für das Mobilgerät der Aufsichtsperson ein und wählen Sie Speichern, um die Mission zu speichern.
Bevor der Mäher für den autonomen Betrieb eingesetzt wird, muss das Objekterkennungssystem überprüft werden, um sicherzustellen, dass es ordnungsgemäß funktioniert.
Stecken Sie den Schlüssel ein und drehen Sie ihn in die Stellung EIN.
Verbinden Sie sich mit der Maschine über die GeoLink Mow Überwachungs-App.
Wählen Sie die Schaltfläche DIAGNOSTIK.
Erweitern Sie Objekterkennung.
Gehen Sie zu jedem Sensor an der Maschine und vergewissern
Sie sich, dass der Kreis für jeden entsprechenden Sensor in der
Liste Objekterkennung auf dem Bildschirm rot
wird.
In Produktübersicht finden Sie eine vollständige Übersicht aller Sensoren.
Treten Sie ein wenig von der Vorderseite der Maschine
zurück, und die Anzeige Weitfeld-Radar sollte
gelb werden
.
Nachdem Sie die Funktion aller Sensoren überprüft
haben, entfernen Sie sich von der Maschine; alle Positionen in der
Liste Objekterkennung sollten grün werden
.
| Farbe | Bedeutung |
![]() | Keine Verbindung zur Maschine. |
![]() | Das System überträgt keine Daten. |
![]() | Die Systemleistung ist gut oder die Maschine erkennt keine Hindernisse in der Nähe. |
![]() | Die Systemleistung ist schlecht oder das Gerät erkennt Hindernisse in der Nähe, die Maschine ist jedoch betriebsbereit. |
![]() | Das System verhindert den Betrieb der Maschine; überprüfen Sie das defekte Teil, beheben Sie das Problem oder bringen Sie die Maschine an einen anderen Ort. |
Lösen Sie die Feststellbremse.
Stellen Sie den Funktionsschalter in die Stellung MäHEN.
Beheben Sie alle vorhandenen Maschinenstörungen.
Verlassen Sie den Fahrersitz und begeben Sie sich an den hinteren Bereich der Maschine; achten Sie darauf, dass Sie sich nicht im Gefahrenbereich des Mähers befinden.
Betätigen Sie den Schalter für den autonomen/manuellen Betrieb und halten Sie ihn zwei (2) Sekunden lang auf der Seite AUTONOMER BETRIEB gedrückt.
Warten Sie, bis die autonome Statusleuchte dauerhaft grün leuchtet und die Maschine zweimal einen Signalton abgibt. Dies zeigt an, dass der autonome Betrieb aktiv ist.
Die Maschine kann nun über die Überwachungs-App bedient werden.
Stellen Sie sicher, dass alle Sensoren ordnungsgemäß funktionieren, siehe Überprüfen des Objekterkennungssystems.
Fahren Sie die Maschine in einen AOA.
Aktivieren Sie den autonomen Betrieb, folgen Sie den Schritten in Aktivieren des autonomen Betriebs
Wählen Sie aus dem Menü DASHBOARD in der Überwachungs-App die Schaltfläche Go.
Important: Wenn Sie eine Mission zum ersten Mal auf einem Fairway durchführen, beobachten Sie die Maschine, um sicherzustellen, dass sie der Mission folgt, bevor Sie Ihre Aufmerksamkeit auf andere Aufgaben richten.
Akzeptieren Sie die Pop-up-Vereinbarung, um die Mission zu beginnen.
Wählen Sie die Schaltfläche MISSIONEN. Die erstellten Missionen werden auf der Seite angezeigt.
Aktive Missionen verfügen über einen Sanduhr-Timer und eine Zusammenfassung der Informationen für die Mission.
Wählen Sie eine der Missionen auf der Seite aus. Es werden zusätzliche Informationen über die ausgewählte Mission angezeigt.
| Display [Anzeige] | Bedeutung |
| Mission-Nr. | Zeigt die Nummer der Mission an. |
| Zustand | Siehe Dashboard — Missionszustände. |
| Startzeit | Uhrzeit, an der die Mission begonnen hat. |
| Endzeit | Uhrzeit, an der die Mission voraussichtlich abgeschlossen sein wird. |
| Gemähte Fläche | Gesamtfläche, die die Maschine bisher gemäht hat. |
| Zurückgelegte Entfernung | Entfernung, die die Maschine bis jetzt zurückgelegt hat. |
| Arbeitszeit | Zeit, wie lange die aktuelle Mission bereits aktiv ist. |
| Fortschritt | Zeigt den bereits abgeschlossenen Teil der Mission in Prozent an. |
| Muster | Zeigt den Namen des Musters für die aktuelle Mission an. |
| Eigenschaften | Zeigt die Eigenschaften des ausgewählten Mähmusters an, siehe Erstellen eines benutzerdefinierten Mähmusters |
Die Sensoren an der Maschine erkennen Hindernisse und veranlassen die Maschine automatisch zu verlangsamen oder anzuhalten, wenn sie aktiviert werden. Die Maschine überwacht drei Zonen: die Sicherheitszone, die Gefahrenzonen und die Absturzerkennung.

| Bild 33 Referenz | Wert |
| A | 8 m |
| B | 3 m |
Wenn die Maschine ein statisches Objekt innerhalb der Sicherheitszone der Maschine wahrnimmt, verlangsamt sich die Maschine und die gelben Lichter blinken mit höherer Frequenz. Sobald sich die Maschine dem Objekt genähert hat und das Objekt sich knapp außerhalb eines Gefahrenbereichs befindet, beginnt die Maschine im Leerlauf zu laufen, die Zapfwelle schaltet sich aus und die Maschine sendet nach einer Minute eine Textbenachrichtigung an das Mobilgerät der Aufsichtsperson. Nachdem die Aufsichtsperson das Objekt entfernt hat, kann sie die Mission aus der Ferne über ihr Mobilgerät fortsetzen.
Wenn die Maschine plötzlich ein Objekt im Gefahrenbereich erkennt, hält sie sofort an, die Zapfwelle kuppelt aus, der Motor schaltet ab, die Maschine geht in PARK über und sendet eine Textbenachrichtigung an die Aufsichtsperson. Die Aufsichtsperson muss dann das Objekt entfernen und den Schalter für den autonomen/manuellen Betrieb manuell betätigen, um die Mission fortzusetzen.
Die Absturzerkennung erkennt, wenn die Maschine auf einen gefährlichen Hang/Absatz trifft. Wenn die Maschine auf unsicheres Terrain stößt, geht sie sofort in PARK über und sendet eine Textbenachrichtigung an die Aufsichtsperson. Die Aufsichtsperson muss dann die Maschine manuell in einen sicheren Bereich fahren und den Schalter für den autonomen/manuellen Betrieb aus- und wieder einschalten, um die Mission fortzusetzen.
Important: Das Absturzerkennungssystem sollte niemals aktiviert werden, wenn Hindernisse von der Aufsichtsperson ordnungsgemäß kartiert werden.Führen Sie eine Testmission durch, um eventuelle Probleme mit Hängen/Absätzen zu beobachten. Erstellen Sie neue AOAs, CMAs oder NOAs, damit die Maschine diese Bereiche mit Gefälle vermeidet.
Die Überwachungs-App verfügt über eine Funktion zum Exportieren und Teilen von Kartendateien zwischen den Maschinen eines Fuhrparks.
Important: Es wird empfohlen, eine Ihrer Maschinen als primäre Kartierungsmaschine für den gesamten Kurs zu bestimmen. Dies sollte die einzige Maschine in Ihrem Fuhrpark sein, die neue kartierte Bereiche erstellt oder bestehende kartierte Bereiche ändert.Es liegt in der Verantwortung der Aufsichtsperson, sicherzustellen, dass die richtige Kartendatei auf jede Maschine einer Flotte geladen ist.
Stecken Sie den Schlüssel an der Maschine für die primäre Kartierung ein und drehen Sie ihn in die EIN-Stellung. Warten Sie zwei Minuten.
Verbinden Sie sich mit der Maschine über die GeoLink Mow Überwachungs-App.
Wählen Sie in der oberen Menüleiste die Schaltfläche HILFE.
Wählen Sie die Schaltfläche Kartendatenbank exportieren, um eine Kopie der Kartendatei zu erstellen und herunterzuladen.
Dadurch wird eine Kopie Ihrer Kartendatei im Download-Verzeichnis Ihres Mobilgeräts gespeichert.
Importieren der Kartendatei auf andere Maschinen in Ihrem Fuhrpark:
Stecken Sie den Schlüssel an jeder anderen Maschine ein, auf welche die Kartendaten übertragen werden sollen, und drehen Sie ihn in die EIN-Stellung.
Verbinden Sie sich mit jeder Maschine über die GeoLink Mow Überwachungs-App.
Wählen Sie in der oberen Menüleiste die Schaltfläche EINSTELLUNGEN.
Schalten Sie Karte sperren aus.
Wählen Sie in der oberen Menüleiste die Schaltfläche HILFE.
Wählen Sie die Schaltfläche ALLE Kartendaten löschen .
Note: Vergewissern Sie sich, dass es keine aktiven Missionen gibt, bevor Sie die Schaltfläche drücken.
Wählen Sie die Schaltfläche Datei wählen und öffnen Sie die Datei, die Sie zuvor auf Ihr Gerät heruntergeladen haben.
Wählen Sie die Schaltfläche Kartendatenbank importieren.
Schalten Sie im Menü EINSTELLUNGENKarte sperren ein.
Wiederholen Sie diese Schritte für alle anderen Maschinen des Fuhrparks.
Wenn das autonome Steuerungssystem nicht verfügbar ist oder nicht ordnungsgemäß funktioniert, kann es erforderlich sein, das System zu umgehen, um die Maschine manuell zu betreiben.
Entfernen Sie die rechte Abdeckung der elektrischen Anlage, siehe Ermitteln Sie die Lage der Sicherungen für das 12-V-System.
Suchen Sie den Stecker am Hauptkabelbaum der Maschine und installieren Sie den Loopback-Anschluss.

Bevor Sie Grüns mähen, sollten Sie in einem freien Bereich die grundlegenden Funktionen der Maschine üben (das Starten und Stoppen der Maschine, das Anheben und Absenken der Schneideinheiten, das Wenden der Maschine).
Prüfen Sie die Grüns auf Fremdkörper, entfernen Sie alles, was die Schneideinheiten beim Mähen beschädigen könnte, entfernen Sie die Flagge vom Becher und legen Sie die beste Mährichtung fest. Orientieren Sie sich dabei an der letzten Mährichtung. Immer in einem alternierenden Muster als beim vorherigen Mähvorgang mähen, damit die Grashalme sich nicht legen und eher geschnitten werden.
Fangen Sie an einer Kante des Grüns an, sodass Sie streifenweise mähen können.
Note: Die Bodenverdichtung wird dadurch auf ein Minimum gehalten, und Sie erhalten ein attraktives Muster auf den Grüns.
Bringen Sie den Funktionsschalter in die Stellung MäHEN.
Drücken Sie den Schalthebel für das Anheben bzw. Absenken des Mähers nach vorne, wenn die Vorderkanten der Schneideinheiten die äußere Kante des Grüns überquert haben.
Note: Die Schneideinheiten werden auf die Grünfläche abgesenkt, und die Spindeln starten.
Important: Die mittlere Schneideinheit wird etwas nach den vorderen Schneideinheiten angehoben bzw. abgesenkt; deshalb sollten Sie üben, das richtige Timing zu erhalten, um den Nacharbeitsaufwand so gering wie möglich zu halten und das Abmähen von Rändern zu vermeiden.Das Anheben und Absenken des mittleren Mähwerks basiert auf der Fahrgeschwindigkeit. Bei einer geringeren Fahrgeschwindigkeit wird die Verzögerung zum Anheben und Senken erhöht; eine höhere Geschwindigkeit senkt die Verzögerung zum Anheben und Senken. Die Maschine überwacht die Fahrgeschwindigkeit und passt dementsprechend die Verzögerung an, sodass alle drei Schneideinheiten in einer Linie abgesenkt werden.
Wenn Sie zurückfahren, sollte der neue Mähgang den vorherigen ein klein wenig überlappen.
Note: Damit Sie in einer möglichst geraden Linie über die Grüns fahren und einen gleichmäßigen Abstand zum zuvor gemähten Bereich einhalten, sollten Sie sich eine imaginäre Sichtlinie ungefähr 1,8 m bis 3 m vor der Maschine bis zum Rand des noch ungemähten Teil des Grüns vorstellen (Bild 36). Schließen Sie die äußere Kante des Lenkrads in die Sichtlinie mit ein, d. h. halten Sie die Kante des Lenkrads mit einer Stelle ausgefluchtet, die immer im gleichen Abstand von der Vorderseite der Maschine bleibt.
Ziehen Sie den Joystick für das Anheben bzw. Absenken des Mähers zurück, wenn die Vorderseite der Körbe die Kante des Grüns überqueren, und halten Sie den Hebel gedrückt, bis die Schneideinheiten angehoben sind. Die Spindeln werden gestoppt, und die Schneideinheiten werden angehoben.
Important: Dieser Schritt muss unbedingt zeitgenau ausgeführt werden, damit Sie nicht in die Kanten des Grüns schneiden, aber so viel wie möglich des Grüns schneiden, um die zu schneidende Grasmenge um die äußere Peripherie zu minimieren.
Verkürzen Sie die Betriebszeit und vereinfachen Sie das Ausrichten für den nächsten Durchgang, indem Sie die Maschine vorübergehend in die entgegengesetzte Richtung und dann in die Richtung des ungemähten Teils drehen. Führen Sie eine tränenförmige Wende durch (Bild 35), um die Maschine schnell für den nächsten Durchgang auszurichten.
Note: Wenn die Funktion Langsam beim Wenden aktiviert ist, wird die Maschine in der Kurve langsamer, ohne dass Sie den Druck auf das Fahrpedal verringern müssen.

Note: Die Wende sollte so kurz wie möglich ausfallen, außer in warmem Wetter, wenn ein größerer Kreis Abschürfungen der Grünfläche vermeidet.

Important: Halten Sie die Maschine niemals auf einem Grün an vor allem nicht, wenn die Schneideinheiten aktiviert sind, da der Rasen beschädigt werden kann. Wenn Sie die Maschine auf einem Grün anhalten, können die Räder Markierungen oder Abdrücke hinterlassen.
Schließen Sie das Mähen des Grüns durch Mähen der äußeren Peripherie ab. Achten Sie darauf, dass Sie die Schnittrichtung vom letzten Mähdurchgang ändern.
Siehe Mähen der Peripherie und Abschlussarbeiten, um das Schnittergebnis zu verbessern und den Triplex-Ring“ zu verringern.
Note: Berücksichtigen Sie immer das Wetter und den Zustand der Grünfläche und ändern Sie immer die Schneidrichtung vom letzten Mähen.
Wenn Sie mit dem Mähen der äußeren Peripherie fertig sind, ziehen Sie den Joystick zum Anheben bzw. Absenken kurz nach hinten, um die Spindeln anzuhalten (wenn die Funktion Abschaltverzögerung aktiviert ist) und fahren Sie vom Grün herunter. Wenn keine Schneideinheit mehr auf dem Grün ist, bewegen Sie den Joystick zum Anheben bzw. Absenken nach hinten, um die Schneideinheiten anzuheben.
Note: Dieser Schritt verringert die Anzahl der auf dem Grün zurückgelassenen Grasklumpen.
Stellen Sie das Fähnchen zurück.
| Wartungsintervall | Wartungsmaßnahmen |
|---|---|
| Bei jeder Verwendung oder täglich |
|
Waschen Sie die Maschine nach dem Mähen gründlich mit einem Gartenschlauch ohne Spritzdüse. Dadurch vermeiden Sie, dass ein zu hoher Wasserdruck zur Verunreinigung und Beschädigung der Dichtungen Lager und Elektronik führt. Waschen Sie einen warmen Motor oder elektrische Verbindungen niemals mit Wasser.
Important: Verwenden Sie zur Reinigung der Maschine kein salzhaltiges oder wiederaufbereitetes Wasser.
Important: Reinigen Sie die Maschine nicht mit einem Hochdruckreiniger. Hochdruckreiniger können die Elektroanlage beschädigen, wichtige Aufkleber lösen und das an den Reibungsstellen benötigte Fett wegspülen. Wasser kann in Dichtungen eindringen und das Öl oder Fett in Gehäusen verunreinigen. Vermeiden Sie den Einsatz von zu viel Wasser, insbesondere in der Nähe des Armaturenbretts, des Motors und der Batterie.
Important: Reinigen Sie die Maschine bei laufendem Motor nicht mit Wasser. Das Reinigen der Maschine mit Wasser bei laufendem Motor kann zu einer internen Motorbeschädigung führen.
Important: Lassen Sie kein Wasser in den Auspuff eindringen. Wasser im Auspuff kann zu inneren Maschinenschäden oder verringerter Motorleistung führen.
Prüfen Sie die Schneideinheiten auf Schärfe, nachdem Sie die Maschine gereinigt haben.
Gehen Sie beim Verladen und Abladen der Maschine auf einen/von einem Anhänger oder Pritschenwagen vorsichtig vor.
Verwenden Sie Rampe über die ganze Breite, wenn Sie die Maschine auf einen Anhänger oder Pritschenwagen laden.
Befestigen Sie die Maschine sicher mit Gurten, Ketten, Kabeln oder Seilen. Die vorderen und hinteren Gurte sollten nach unten und außerhalb der Maschine verlaufen (Bild 37).

Nachdem Sie die Maschine für den Transport gesichert haben, schließen Sie den Kraftstoffhahn.
Note: Weitere Informationen zu dieser Vorgehensweise finden Sie auf Bild 38.

Zum Abschleppen der Maschine den Bremsaktuator folgendermaßen lösen:
Aktivieren Sie die Feststellbremse.
Ziehen Sie den Zündschlüssel ab und trennen Sie die Hauptstromanschlüsse.
Important: Wenn die Hauptstromanschlüsse während dem Abschleppen verbunden bleiben, können elektrische Schäden auftreten.
Schließen Sie den Kraftstoffhahn.
Legen Sie Unterlegkeile unter beide Seiten der Vorderräder.
Lösen Sie die Spannung auf die Feder, indem Sie die Mutter lösen, mit der die Öse an der Federhalterung befestigt ist.
Die Feder entfernen.
Führen Sie eine Knarre (⅜") durch das Loch an der Armhalterung und drücken Sie die Aktuatorwelle nach innen.
Wenn der Aktuator von der Bremse gelöst wird, ist die Maschine im Freilauf. Personen in der Umgebung können durch eine Maschine im Freilauf verletzt werden.
Wenn die Maschine nicht abgeschleppt wird, ziehen Sie die Feststellbremse an.
Aktivieren Sie die Feststellbremse.
Entfernen Sie die Unterlegkeile von den Rädern.
Wenn der Dreiradantrieb installiert ist, trennen Sie die Steckverbinder des Kitkabelbaums vom Hauptkabelbaum.
Important: Wenn die Kit- und Hauptkabelbäume der Maschine beim Abschleppen verbunden sind, können elektrische Schäden auftreten.
Wenn die Maschine für den Abschleppvorgang bereit ist, lösen Sie die Feststellbremse.
Lassen Sie eine weitere Person auf dem Fahrersitz Platz nehmen, den Sicherheitsgurt anlegen und die Bremse betätigen, während Sie die Maschine abschleppen.
Note: Dadurch stellen Sie sicher, dass die Maschine unter Kontrolle bleibt, wenn Sie sie über Bodenwellen und Abhänge abschleppen.
Verwenden Sie die hintere Laufradgabel zum Abschleppen der Maschine (Bild 39).
Important: Schleppen Sie die Maschine höchstens mit 5 km/h ab. Sonst können Schäden an den elektrischen Bauteilen auftreten.

Nachdem Sie die Maschine zum gewünschten Ort geschleppt haben, Folgendes ausführen:
Aktivieren Sie die Feststellbremse.
Entfernen Sie das Abschleppseil von der Laufradgabel.
Bereiten Sie den Betrieb vor, indem Sie die Ösenmutter auf eine Federlänge von 11,4 cm festziehen, wenn sie installiert ist (Bild 38).
Sie können die Maschine mit Akkuleistung fahren. Diese Funktion ist für die folgenden Szenarien vorgesehen:
Fahren der Maschine innerhalb der Wartungswerkstatt.
Bei einem Motorausfall vom Grün herunterfahren.
Die Maschine kann nur gefahren werden; Sie können die Schneideinheiten nicht aktivieren. Diese Funktion funktioniert für eine Mutter; durch Ein- und Ausschalten des Zündschlosses wird die einminütige Transportzeit zurückgesetzt.
Setzen Sie sich auf den Fahrersitz und schnallen Sie sich an.
Drehen Sie den Schlüssel in die EIN-Stellung.
Bringen Sie den Funktionsschalter in die Stellung MäHEN oder TRANSPORT.
Lösen Sie die Feststellbremse.
Fahren Sie die Maschine mit dem Fahrpedal.
Note: Die Fahrgeschwindigkeit vorwärts ist auf 4,8 km/h beschränkt und die Fahrgeschwindigkeit rückwärts ist auf 4,0 km/h beschränkt.
Important: Eine übermäßige oder andauernde Verwendung dieser Funktion kann die Lebensdauer des Akkus beeinträchtigen.
| Wartungsintervall | Wartungsmaßnahmen |
|---|---|
| Nach acht Betriebsstunden |
|
| Nach 50 Betriebsstunden |
|
| Bei jeder Verwendung oder täglich |
|
| Alle 25 Betriebsstunden |
|
| Alle 50 Betriebsstunden |
|
| Alle 100 Betriebsstunden |
|
| Alle 200 Betriebsstunden |
|
| Alle 800 Betriebsstunden |
|
| Alle 1000 Betriebsstunden |
|
| Alle 2 Jahre |
|
Kopieren Sie diese Seite für regelmäßige Verwendung.
| Wartungsprüfpunkt | Für KW: | ||||||
|---|---|---|---|---|---|---|---|
| Mo | Di | Mi | Do | Fr | Sa | So | |
| Prüfen Sie die Funktion der Sicherheitsschalter. | |||||||
| Prüfen Sie die Funktion der Instrumente. | |||||||
| Prüfen Sie die Funktion der Bremsen. | |||||||
| Prüfen Sie den Motorölstand. | |||||||
| Prüfen Sie den Kraftstoffstand. | |||||||
| Reinigen Sie den Motor und die Kühlrippen. | |||||||
| Prüfen Sie den Vorreiniger des Luftfilters. | |||||||
| Achten Sie auf ein ungewöhnliches Motorgeräusch. | |||||||
| Prüfen Sie den Reifendruck. | |||||||
| Prüfen Sie die Einstellung der Spindel zum Untermesser. | |||||||
| Prüfen Sie die Schnitthöheneinstellung. | |||||||
| Bessern Sie alle Lackschäden aus. | |||||||
| Überprüfen Sie die Sensoren und Sensorhalterungen. | |||||||
| Waschen Sie die Maschine. | |||||||
| Aufzeichnungen irgendwelcher Probleme | ||
| Inspiziert durch: | ||
| Punkt | Datum | Informationen |
Mechanische oder hydraulische Wagenheber können u. U. ausfallen, was schwere Verletzungen zur Folge haben kann.
Stützen Sie die angehobene Maschine mit Achsständern ab.
Verwenden sie zum Anheben der Maschine nur hydraulische Achsständer.
Stellen Sie einen Achsständer unter den gewünschten Anhebepunkt (Bild 40):
Fußtritt auf der linken Seite der Maschine
Anhebepunkt auf der rechten Seite der Maschine
Laufradgabel hinten an der Maschine

Die Maschine nach dem Aufbocken an den folgenden Stellen mit Ständern sichern (Bild 41):
Akkufächer hinten an der Maschine
Drehbefestigungen der Schneideinheit vorn an der Maschine

| Wartungsintervall | Wartungsmaßnahmen |
|---|---|
| Alle 25 Betriebsstunden |
|
| Alle 100 Betriebsstunden |
|
| Alle 200 Betriebsstunden |
|
Prüfen Sie den Schaumstoff- und Papiereinsatz und wechseln Sie diese aus, wenn sie beschädigt oder stark verschmutzt sind.
Important: Ölen Sie den Schaumstoffeinsatz nicht ein.
Stellen Sie die Maschine auf einer ebenen Fläche ab, senken Sie die Schneideinheiten ab und aktivieren Sie die Feststellbremse.
Stellen Sie den Motor ab und ziehen Sie den Schlüssel ab.
Reinigen Sie den Bereich um den Luftfilter herum, um zu verhindern, dass Schmutz in den Motor fällt und Schäden verursacht (Bild 43).
Lockern Sie die Handräder der Abdeckung und nehmen die Luftfilterabdeckung ab (Bild 43).
Lösen Sie die Schlauchklemme und entfernen Sie den Luftfilter (Bild 43).
Ziehen Sie den Schaumstoffeinsatz vorsichtig vom Papiereinsatz (Bild 43) ab.

Waschen Sie den Schaumstoffeinsatz mit Flüssigseife und warmem Wasser. Spülen Sie den sauberen Einsatz gründlich.
Drücken Sie den Einsatz in einem sauberen Lappen aus, um ihn zu trocknen.
Important: Drehen Sie den Schaumstoffeinsatz nicht, da er reißen könnte.Tauschen Sie den Schaumstoffeinsatz aus, wenn er beschädigt oder angerissen ist.
Reinigen Sie den Papiereinsatz durch leichtes Klopfen, um Staub herauszurütteln. Wechseln Sie den Papiereinsatz aus, wenn er sehr schmutzig ist (Bild 43).
Untersuchen Sie den Einsatz auf Risse, einen öligen Film und Schäden an der Gummidichtung.
Ersetzen Sie den Papiereinsatz, wenn er beschädigt ist.
Important: Reinigen Sie nicht den Papierfilter.
Important: Lassen Sie den Motor zur Vermeidung von Motorschäden nie ohne eingesetzten Schaum- und Papierluftfilter laufen.
Der Motor wird ab Werk mit Öl im Kurbelgehäuse ausgeliefert. Überprüfen Sie jedoch den Ölstand vor und nach dem ersten Anlassen des Motors.
API-Ölwartungsklassifikation: SJ oder höher.
Ölviskosität: SAE 30
Note: Verwenden Sie nur waschaktives Öl guter Qualität.
| Wartungsintervall | Wartungsmaßnahmen |
|---|---|
| Bei jeder Verwendung oder täglich |
|
Im normalen Betrieb kann ein Motor extrem warm werden.
Lassen Sie den Motor erst abkühlen, bevor Sie den Ölstand prüfen bzw. Wartungsarbeiten am Motor durchführen.
Weitere Informationen zu dieser Vorgehensweise finden Sie auf Bild 44.
Parken Sie die Maschine auf einer ebenen Fläche, senken Sie die Schneideinheiten ab, aktivieren Sie die Feststellbremse, stellen Sie den Motor ab und ziehen Sie den Zündschlüssel ab.
Schrauben Sie den Peilstab auf, nehmen Sie ihn heraus und wischen Sie ihn mit einem sauberen Lappen ab.
Führen Sie den Peilstab in das Peilstabrohr.
Ziehen Sie den Peilstab aus dem Rohr und prüfen Sie den Ölstand.
Wenn der Ölstand niedrig ist, füllen Sie Öl durch das Füllstandrohr bis der Stand wieder die Markierung VOLL am Peilstab erreicht.
Gießen Sie Öl langsam ein und prüfen Sie den Ölstand häufig während des Füllens.
Important: Füllen Sie nicht zu viel Motoröl ein.
Führen Sie den Peilstab ein.


| Wartungsintervall | Wartungsmaßnahmen |
|---|---|
| Nach acht Betriebsstunden |
|
| Alle 100 Betriebsstunden |
|
Im normalen Betrieb kann ein Motor extrem warm werden.
Lassen Sie den Motor erst abkühlen, bevor Sie das Öl oder den Ölfilter tauschen bzw. Wartungsarbeiten am Motor durchführen.
Motorölmenge: 1,7 l mit Filter
Entfernen Sie die Ablassschraube (Bild 45) und lassen Sie das Öl in die Auffangwanne ab.

Reinigen Sie das Gewinde der Ölablassschraube und schrauben Sie die Ablassschraube wieder auf (Bild 45).
Entfernen Sie den Ölfilter (Bild 46).


Ölen Sie die neue Dichtung am Ölfilter leicht mit frischem Öl ein.
Drehen Sie den Filter per Hand ein, bis die Dichtung den Filteradapter berührt; ziehen Sie ihn dann um eine weitere Dreiviertel- bis ganze Umdrehung an. Ziehen Sie ihn nicht zu fest an.
Füllen Sie Öl in das Kurbelgehäuse, siehe Prüfen des Motoröls.
Entsorgen Sie den Ölfilter und das Altöl ordnungsgemäß.
| Wartungsintervall | Wartungsmaßnahmen |
|---|---|
| Alle 100 Betriebsstunden |
|
Im normalen Betrieb kann ein Motor extrem warm werden.
Lassen Sie den Motor erst abkühlen, bevor Sie die Zündkerze warten bzw. Wartungsarbeiten am Motor durchführen.
Achten Sie darauf, dass der Abstand zwischen der mittleren und der seitlichen Elektrode korrekt ist, bevor Sie die Zündkerze eindrehen. Verwenden Sie zum Aus- und Einbau der Zündkerze(n) einen Zündkerzenschlüssel und für die Kontrolle und Einstellung des Elektrodenabstands eine Fühlerlehre. Setzen Sie bei Bedarf eine neue Zündkerze ein.
Zündkerzentyp: NGK® BPR4ES oder Äquivalent
Elektrodenabstand: 0,75 mm
Stellen Sie die Maschine auf einer ebenen Fläche ab, senken Sie die Schneideinheiten ab und aktivieren Sie die Feststellbremse.
Stellen Sie den Motor ab und ziehen Sie den Schlüssel ab.
Finden Sie die Zündkerzenkappen.
Reinigen Sie den Bereich um die Zündkerzenkappen, sodass kein Schmutz in den Zylinder fallen kann.
Nehmen Sie die Zündkerzenkappen von der Zündkerzen ab (Bild 47).

Nehmen Sie die Zündkerzen aus dem Motor.
Important: Wechseln Sie die Zündkerze immer aus, wenn sie schwarz überzogen ist oder abgenutzte Elektroden, einen öligen Film oder Risse aufweist.
Reinigen Sie die Zündkerze mit einer Drahtbürste, um Verrußungen zu entfernen.
Verwenden Sie Vergaserreinigung zum Säubern der Zündkerze und stellen Sie sicher, dass Fremdkörper entfernt wurden.
Untersuchen Sie die Zündkerzen auf Risse, verschlissene Elektroden, schwarze Beschichtung oder einen Ölfilm bzw. anderen Verschleiß.
Wechseln Sie die Zündkerze bei Bedarf aus. Ersetzen Sie alle Zündkerzen, wenn nur eine ausgetauscht werden muss.
Prüfen Sie den Abstand der Zündkerzen und stellen Sie ihn bei Bedarf neu ein. Biegen Sie zum Ändern des Abstands nur die seitliche Elektrode mit einem Zündkerzenwerkzeug.
Stellen Sie den Abstand auf 0,75 mm ein.

Wenn der Kerzenstein hellbraun oder grau ist, ist der Motor richtig eingestellt. Eine schwarze Schicht am Kerzenstein weist normalerweise auf einen schmutzigen Luftfilter hin.
Weitere Informationen zu dieser Vorgehensweise finden Sie auf Bild 49.
Setzen Sie die Zündkerze in den Motor ein.
Ziehen Sie die Zündkerze bis auf 22 N∙m an.
Setzen Sie die Zündkerzenkappen wieder auf.

| Wartungsintervall | Wartungsmaßnahmen |
|---|---|
| Alle 1000 Betriebsstunden |
|
Der Leitungskraftstofffilter befindet sich zwischen dem Kraftstoffhahn und dem Motor.
Unter bestimmten Bedingungen ist Kraftstoff extrem leicht entflammbar und hochexplosiv. Feuer und Explosionen durch Kraftstoff können Verbrennungen und Sachschäden verursachen.
Lassen Sie den Kraftstoff aus dem Kraftstofftank ab, wenn der Motor kalt ist. Tun Sie das im Freien auf einem freien Platz. Wischen Sie verschütteten Kraftstoff auf.
Rauchen Sie nie beim Ablassen von Kraftstoff und halten diesen von offenen Flammen und aus Bereichen fern, in denen Benzindämpfe durch Funken entzündet werden könnten.
Schließen Sie den Kraftstoffhahn (Bild 50).

Legen Sie eine Ablaufwanne unter den Filter, lockern die Schlauchklemme an der Vergaserseite des Filters und ziehen die Kraftstoffleitung vom Filter ab (Bild 50).
Lösen Sie die andere Schlauchklemme und entfernen den Filter.
Prüfen Sie die Kraftstoffleitungen auf Risse, Verschlechterung oder Schäden und tauschen sie bei Bedarf aus.
Montieren Sie den neuen Filter so am Filterkörper, dass der Pfeil weg vom Kraftstofftank ausgerichtet ist.
Stellen Sie sicher, dass die Schläuche und Schlauchklemmen am Filter befestigt sind.
Öffnen Sie den Kraftstoffhahn und füllen Sie den Tank. Prüfen Sie die Kraftstoffleitungen auf Dichtheit oder lockere Anschlüsse.
| Wartungsintervall | Wartungsmaßnahmen |
|---|---|
| Alle 2 Jahre |
|
Prüfen Sie die Kraftstoffleitungen auf Verschleiß, Defekte oder lockere Anschlüsse.
Die Hauptstromanschlüsse versorgen die Maschine vom Akku mit der Maschine. Trennen Sie die Stromversorgung durch Trennen der Steckverbinder; verbinden Sie die Steckverbinder, um die Stromversorgung wieder herzustellen. Siehe Hauptstromanschlüsse.
Das unsachgemäße Verlegen der Akkukabel kann zu Schäden an der Maschine führen, und die Kabel können Funken erzeugen. Funken können zum Explodieren der Batteriegase führen, was Verletzungen zur Folge haben kann.
Trennen Sie immer das Minuskabel (Schwarz) ab, bevor Sie das Pluskabel (Rot) abtrennen.
Schließen Sie immer das Pluskabel (Rot) an, bevor Sie das Minuskabel (Schwarz) anschließen.
Der 12-V-AGM-(Mikroglasvlies) Akku (Bild 51) versorgt das InfoCenter, den Bremsaktuator, die Maschinensteuerung und das CAN-Isolationsmodul mit Strom.

Nehmen Sie die rechte Seitenabdeckung ab.
Entfernen Sie die Akkuabdeckung.
Klemmen Sie die Akkukabel von dem Akku ab.
Schließen Sie das Ladegerät an die Akkupole an und laden Sie den Akku auf.
Achten Sie auf die folgenden Informationen bezüglich Ihrem Ladegerät:
Stellen Sie sicher, dass die Anschlüsse des Akkuladegeräts sich nicht gegenseitig, oder den Maschinenrahmen nicht berühren. Es wird empfohlen, kleinere Steckverbinder zu verwenden.
Es wird empfohlen, ein Akkuladegerät mit einer AGM-Ladeeinstellung zu verwenden.
Maximaler Ladestrom: 2,4 A
Maximale Ladespannung: 14,3 V
Verbinden Sie die Akkukabel mit dem Akku, wenn der Ladevorgang abgeschlossen ist.
Setzen Sie die Akkuabdeckung auf den Akku.
Bringen Sie die rechte Seitenabdeckung wieder an.
Important: Ein Aufladen des 48-V-Akkusystems wird nicht empfohlen.
Das 48V-Batteriesystem besteht aus vier Batterien (12 V, AGM [Mikroglasvlies]). Die Batterien befinden sich unter Abdeckungen auf jeder Seite der Maschine; siehe Bild 52. Dieses System stellt Leistung für die Traktionsräder, Schneideinheitmotoren, Lenkmotoren und Hebeaktuatoren bereit.

Die Sicherungen des 48-V-Elektrosystems befinden sich unter dem Sitz (Bild 53).

Die Sicherungen für den Spindelantriebskreis befinden sich unter der Abdeckung auf der linken Seite der Maschine. Sie erhalten Zugang zum Sicherungskasten, indem Sie die linke Abdeckung und die Abdeckung des Sicherungskastens abnehmen (Bild 56).

Siehe Bild 57 für eine Beschreibung der einzelnen Sicherungen auf dem Sicherungskastenaufkleber:

Die Sicherungen für den Generator (100 A) und den rechten Radmotor (60 A) befinden sich unter dem Sitz (Bild 58).

Die Sicherung für den linken Radmotor (60 A) befindet sich unter der Abdeckung auf der linken Seite der Maschine, in der Nähe der Sicherungen des Spindelantriebskreises (Bild 59).

Die Sicherung für das elektrische System befindet sich unter den Hauptstromanschlüssen (Bild 60).

| Wartungsintervall | Wartungsmaßnahmen |
|---|---|
| Bei jeder Verwendung oder täglich |
|
Variieren Sie den Reifendruck für alle drei Räder, abhängig vom Zustand der Grünfläche zwischen einem Minimum von 0,83 bar bis zu einem Maximum von 1,10 bar.
Important: Stellen Sie sicher, dass alle Reifen den gleichen Druck haben. Wenn sich der Reifendruck der Räder unterscheidet, hat dies Auswirkungen auf die Leistung der Maschine.
| Wartungsintervall | Wartungsmaßnahmen |
|---|---|
| Nach acht Betriebsstunden |
|
| Alle 200 Betriebsstunden |
|
Wenn Sie die Radmuttern nicht fest genug ziehen, können Verletzungen daraus resultieren.
Ziehen Sie die Radmuttern in den angegebenen Intervallen bis auf den korrekten Drehmomentwert an.
Drehmoment der Radmuttern: 108-122 N∙m.
Zur Sicherstellung einer gleichmäßigen Verteilung, die Radmuttern in dem Muster wie in Bild 63 dargestellt anziehen.

| Wartungsintervall | Wartungsmaßnahmen |
|---|---|
| Nach acht Betriebsstunden |
|
| Alle 800 Betriebsstunden |
|
Flüssigkeitsspezifikation: SAE 80W90
Getriebeölkapazität: ca. 384 ml
Heben Sie die Maschine an, siehe Aufbocken der Maschine.
Important: Die Maschine muss gerade stehen, damit die richtige Menge Flüssigkeit in das Getriebe eingefüllt werden kann.Stellen Sie sicher, dass die Maschine gerade auf den Achsständern steht.
Zur Entfernung der Räder auf der linken und rechten Seite folgendermaßen vorgehen:
Lösen und entfernen Sie die Radmuttern (Bild 64).

Entfernen Sie das linke und rechte Rad.
Stellen Sie eine Auffangwanne unter die Radmotorbaugruppe (Bild 65).

Entfernen Sie den Stopfen aus der Ablauföffnung (Bild 65).
Note: Die Ablauföffnung befindet sich unten im Getriebe.
Note: Lassen Sie das Öl vollständig aus dem Getriebe ablaufen.
Reinigen Sie den Stopfen.
Stecken Sie den Stopfen in den Ablassanschluss (Bild 65).
Nehmen Sie den Entlüftungsschlauch und das Anschlussstück von der Oberseite des Getriebes ab (Bild 66).

Füllen Sie das Getriebe mit 384 ml der angegebenen Flüssigkeit durch den Füllanschuss.
Montieren Sie den Entlüftungsschlauch und das Anschlussstück an die Füllöffnung (Bild 66).
Gehen Sie zum Einbau der Räder folgendermaßen vor:
Schieben Sie das linke und rechte Rad auf die Radnaben.
Montieren Sie die Radmuttern (Bild 64).
Ziehen Sie die Radmutter auf das in Prüfen des Anzugs der Radmuttern angegebene Drehmoment fest.
Wenn die Bremsen die geparkte Maschine nicht mehr halten, können Sie die Bremsen einstellen; wenden Sie sich an den offiziellen Vertragshändler oder lesen Sie in der Wartungsanleitung nach.
Ein abgenutztes oder beschädigtes Messer oder Untermesser kann zerbrechen und Teile davon herausgeschleudert werden, und Sie oder Unbeteiligte treffen und schwere oder tödliche Verletzungen verursachen.
Prüfen Sie die Messer und Untermesser regelmäßig auf Abnutzung oder Beschädigungen.
Kontrollieren Sie die Messer vorsichtig. Lassen Sie bei der Wartung dieser Teile große Vorsicht walten, und tragen Sie Handschuhe. Die Spindeln und Untermesser sollten nur ersetzt oder geläppt werden; sie dürfen keinesfalls geglättet oder geschweißt werden.
Achten Sie bei Maschinen mit mehreren Schneideinheiten darauf, wenn Sie eine Schneideinheit drehen, dass sich dadurch die anderen Spindeln in den anderen Schneideinheiten mitdrehen können.
Note: Lagern Sie die Spindelmotoren der Schneideinheit immer in den Ablagestellen vorne an den Aufhängearmen, um Schäden zu verhindern, wenn die Schneideinheiten nicht an der Maschine befestigt sind.
Important: Heben Sie die Federung nicht auf die Transportstellung an, wenn sich die Spindelmotoren in den Haltern im Maschinenrahmen befinden. Die Motoren oder Schläuche könnten beschädigt werden.
Important: Wenn Sie die Schneideinheit kippen müssen, stützen Sie das Heck der Schneideinheit ab, um sicherzustellen, dass die Muttern an den Einstellschrauben des Untermesserträgers nicht auf der Arbeitsfläche aufliegen (Bild 67).

Kontakt mit dem heißen Motor oder dem Auspuff kann zu schweren Verletzungen führen.
Warten Sie, bis heiße Motoren oder der Auspuff abgekühlt sind, bevor Sie die Schneideinheiten einbauen.
Die Aufhängung muss abgesenkt werden, um die Schneideinheiten einzubauen. Gehen Sie zum Absenken der Aufhängung folgendermaßen vor:
Parken Sie die Maschine auf einer sauberen, ebenen Fläche.
Bringen Sie den Funktionsschalter in die Stellung NEUTRAL.
Lassen Sie den Motor an oder drehen Sie den Schlüssel in die Position EIN.
Senken Sie die Aufhängung mit dem Joystick für Anheben bzw. Absenken ab.
Aktivieren Sie die Feststellbremse, stellen Sie den Motor ab und ziehen Sie den Zündschlüssel ab.
Gehen Sie zum Einbau der Schneideinheiten folgendermaßen vor:
Trennen Sie die Hauptstromanschlüsse ab; siehe Hauptstromanschlüsse.
Wenn Sie die Stromzufuhr zu der Maschine nicht trennen, könnten die Schneideinheiten versehentlich eingeschaltet werden und schwere Hand- und Fußverletzungen verursachen.
Trennen Sie immer die Hauptstromanschlüsse, bevor Sie an den Schneideinheiten arbeiten.
Stellen Sie die Schneideinheit unter die Mitte des Aufhängearms.
Öffnen Sie die Verriegelungen an der Aufhängearmstange (Bild 68) und drücken Sie den Aufhängearm nach unten, damit die Stange über beide Neigungsarme an der Schneideinheit liegt und stellen Sie sicher, dass die Verriegelungen unter die Querstange der Schneideinheit greifen (Bild 69).


Drücken Sie die Riegel nach unten um die Schneideinheitsstange herum und arretieren sie (Bild 68).
Note: Wenn die Riegel ordnungsgemäß einrasten, können Sie einen Klick hören und fühlen.
Schmieren Sie die Keilwelle des Schneideinheitmotors mit sauberem Fett ein (Bild 70).
Setzen Sie den Motor in die linke Seite der Schneideinheit (aus Sicht der Bedienerstellung) und ziehen die Motorbefestigungsstange an der Schneideinheit zum Motor, bis Sie einen deutlichen Klick von beiden Seiten des Motors hören (Bild 70).

Wiederholen Sie diese Schritte für die anderen Schneideinheiten.
Die Hauptstromanschlüsse anschließen; siehe Hauptstromanschlüsse.
Kontakt mit dem heißen Motor oder dem Auspuff kann zu schweren Verletzungen führen.
Warten Sie, bis heiße Motoren oder der Auspuff abgekühlt sind, bevor Sie die Schneideinheiten einbauen.
Parken Sie die Maschine auf einer sauberen, ebenen Fläche, bringen Sie den Funktionsschalter in die NEUTRAL-Stellung und verwenden Sie den Joystick zum Anheben bzw. Absenken, um die Schneideinheiten abzusenken.
Aktivieren Sie die Feststellbremse, stellen Sie den Motor ab und ziehen Sie den Zündschlüssel ab.
Trennen Sie die Hauptstromanschlüsse ab; siehe Hauptstromanschlüsse.
Wenn Sie die Stromzufuhr zu der Maschine nicht trennen, könnten die Schneideinheiten versehentlich eingeschaltet werden und schwere Hand- und Fußverletzungen verursachen.
Trennen Sie immer die Stromunterbrecheranschlüsse ab, bevor Sie an den Schneideinheiten arbeiten.
Drücken Sie die Motorbefestigungsstange aus den Schlitzen am Motor zur Schneideinheit und nehmen den Motor von der Schneideinheit ab.

Legen Sie den Motor am Aufbewahrungsort vorne am Aufhängearm ab (Bild 72).

Note: Lagern Sie die Spindelmotoren der Schneideinheit immer in den Ablagestellen vorne an den Aufhängearmen, um sie beim Schärfen, Einstellen der Schnitthöhe und beim Durchführen von Wartungsarbeiten an den Schneideinheiten nicht zu beschädigen.
Important: Heben Sie die Federung nicht auf die Transportstellung an, wenn sich die Spindelmotoren in den Haltern im Maschinenrahmen befinden. Die Motoren oder Schläuche könnten beschädigt werden. Wenn Sie die Zugmaschine ohne montierte Schneideinheiten bewegen müssen, befestigen Sie sie mit Kabelbindern an den Aufhängearmen.
Öffnen Sie die Riegel an der Aufhängearmstange der Schneideinheit, die Sie entfernen möchten (Bild 68).
Lösen Sie die Riegel von der Schneideinheitstange.
Rollen Sie die Schneideinheit unter dem Aufhängearm heraus.
Wiederholen Sie bei Bedarf die Schritte 4 bis 8 für die anderen Schneideinheiten.
Die Hauptstromanschlüsse anschließen; siehe Hauptstromanschlüsse.
| Wartungsintervall | Wartungsmaßnahmen |
|---|---|
| Bei jeder Verwendung oder täglich |
|
Prüfen Sie täglich vor dem Einsatz der Maschine den Kontakt zwischen Spindel und Untermesser, unabhängig von der vorher erzielten Schnittqualität. Über die gesamte Länge der Spindel und des Untermessers muss es zu einem leichten Kontakt zwischen beiden kommen, siehe Bedienungsanleitung der Schneideinheit.
Vor dem Prüfen der Spindeln die Hauptstromanschlüsse trennen, siehe Hauptstromanschlüsse. Schließen Sie sie nach dem Prüfen wieder an.
Kontakt mit den Untermessern, Spindelmessern oder anderen beweglichen Teilen kann zu Verletzungen führen.
Halten Sie Ihre Finger, Hände und Bekleidung fern von den Untermessern, Spindelmessern oder anderen beweglichen Teilen.
Versuchen Sie nie, die Spindeln per Hand oder Fuß in Gang zu bringen, während der Motor läuft.
Stellen Sie die Maschine auf einer ebenen Fläche ab, senken Sie die Schneideinheiten ab, bringen Sie den Funktionsschalter in die Stellung NEUTRAL, aktivieren Sie die Feststellbremse, stellen Sie den Motor ab und ziehen Sie den Schlüssel ab.
Stellen Sie zuerst die Spindeln und Untermesser für das Läppen an allen Schneideinheiten ein, die Sie läppen möchten, siehe Bedienungsanleitung der Schneideinheit.
Stecken Sie den Schlüssel in das Zündschloss und lassen Sie den Motor an.
Klicken Sie im InfoCenter im Menü WARTUNG auf BACKLAP.
Stellen Sie BACKLAP auf EIN.
Öffnen Sie das Hauptmenü und navigieren Sie auf Einstellungen“.
Navigieren Sie im Menü EINSTELLUNGEN auf LäPPENDREHZAHL und wählen Sie die gewünschte Läppgeschwindigkeit mit der ±-Taste aus.
Stellen Sie den Funktionsschalter in die Stellung NEUTRAL und schieben den Joystick für Anheben bzw. Absenken nach vorne, um die ausgewählte Spindel zu läppen.
Tragen Sie Schleifpaste mit einer langstieligen Bürste auf. Verwenden Sie nie Bürsten mit kurzem Stiel.
Wenn die Spindeln beim Läppen anhalten oder ungleichmäßig laufen, erhöhen Sie die Spindeldrehzahl, bis sich die Geschwindigkeit stabilisiert.
Wenn Sie die Schneideinheiten beim Läppen einstellen möchten, schalten Sie die Spindeln ab, indem Sie den Joystick zum Anheben bzw. Absenken nach hinten ziehen und den Motor abstellen. Wiederholen Sie nach dem Abschluss der Einstellungen die Schritte 3 bis 9.
Wiederholen Sie diesen Vorgang für alle Schneideinheiten, die Sie läppen möchten.
Stellen Sie zum Abschluss im InfoCenter die Einstellung BACKLAP auf AUS oder drehen Sie den Schlüssel in die AUS-Stellung, um die Maschine wieder in die Betriebsart für das Vorwärtsmähen zu setzen.
Waschen Sie die Schleifpaste von den Schneideinheiten ab. Stellen Sie den Kontakt zwischen Spindel und Untermesser nach Bedarf ein. Stellen Sie den Spindeldrehzahlregler der Schneideinheit auf die gewünschte Mähstellung.
Important: Reinigen Sie die Schneideinheiten nicht mit einem Hochdruck-Wasserstrahl. Dies könnte Schäden an den Lagern und Dichtungen verursachen.
| Wartungsintervall | Wartungsmaßnahmen |
|---|---|
| Bei jeder Verwendung oder täglich |
|

Ein verbogener oder beschädigter Sensor oder Sensorhalter erhöht die Wahrscheinlichkeit einer Fehlfunktion des Objekterkennungssystems, was zu schweren Verletzungen oder zum Tod führen kann.
Wenn Sensoren oder Sensorhalterungen verbogen oder beschädigt sind, reparieren oder ersetzen Sie diese sofort.
Überprüfen Sie die Sensoren und Sensorhalterungen, bevor Sie die Maschine im autonomen Betrieb betreiben.
| Wartungsintervall | Wartungsmaßnahmen |
|---|---|
| Bei jeder Verwendung oder täglich |
|
Reinigen Sie die Sensoren immer dann, wenn Ablagerungen erkennbar sind oder sie nicht mehr funktionieren.
Vermeiden Sie eine übermäßige Reinigung der Sensoren, da dies den Sensor beschädigen könnte.
Die Lage der Sensoren finden Sie unter Bild 73.
Important: Verwenden Sie zum Reinigen der Sensoren keinen Hochdruckreiniger (Wasserstrahl).
Reinigen Sie die Sonar- oder Radarsensoren mit Simple Green® oder einer ähnlichen sanften Seife von allen Rückständen und Ablagerungen.
Note: Vermeiden Sie bei der Reinigung des LiDAR-Sensors die Verwendung von hartem (kalkhaltigem) Wasser.
Eruieren Sie die geeignete Methode zur Reinigung:
Suchen Sie die ersten fünf Zeichen der Seriennummer auf dem Sensor. Die Seriennummer befindet sich auf einem Etikett an der Unterseite des Sensors.
Wenn die ersten fünf Zeichen zwischen AE001-AE229 liegen, fahren Sie mit Schritt 2 fort.
Wenn die ersten fünf Zeichen AE230 oder höher sind, fahren Sie mit Schritt 3 oder 4 fort.
Mit milder Seifenlauge reinigen.
Verwenden Sie eine Sprühflasche mit sauberem, warmem Wasser, um Verschmutzungen von der Linse des Sensors zu entfernen.
Important: Wischen Sie Schmutz oder Ablagerungen nicht direkt vom Sensor ab. Dies könnte das Objektiv zerkratzen.
Wischen Sie den Sensor vorsichtig mit einem Mikrofasertuch und warmem, mildem Seifenwasser ab.
Note: Wischen Sie entlang der Rundung des Objektivs und nicht von oben nach unten über den Sensor.
Sprühen Sie den Sensor mit klarem Wasser ab, um alle Seifenreste abzuspülen, und trocknen Sie ihn dann mit einem sauberen Mikrofasertuch.
Mit Isopropylalkohol reinigen.
Verwenden Sie eine Sprühflasche mit sauberem, warmem Wasser, um Verschmutzungen von der Linse des Sensors zu entfernen.
Important: Wischen Sie Schmutz oder Ablagerungen nicht direkt vom Sensor ab. Dies könnte das Objektiv zerkratzen.
Reinigen Sie den Sensor mit Isopropylalkohol und einem sauberen Mikrofasertuch von jeglichem Schmutz und Ablagerungen.
Wischen Sie den Sensor vorsichtig mit einem Mikrofasertuch und warmem, mildem Seifenwasser ab.
Note: Wischen Sie entlang der Rundung des Objektivs und nicht von oben nach unten über den Sensor.
Sprühen Sie den Sensor mit klarem Wasser ab, um alle Seifenreste abzuspülen, und trocknen Sie ihn dann mit einem sauberen Mikrofasertuch.
Reinigen Sie mit NACL Optics Cleaner.
North American Coating Laboratories (NACL) hat eine Reinigungslösung für bestimmte optische Geräte entwickelt. Sie können diese direkt beim Hersteller unter Verwendung der folgenden Informationen bestellen:
NACL-Bestellnr.: 98-0020)
NACL-Bezeichnung: NACL Precision Optics Cleaner 6 oz
Sprühen Sie die NACL Precision Optics Cleaner-Lösung auf ein sauberes, trockenes Mikrofasertuch.
Wischen Sie den Sensor behutsam entlang der Rundung des Objektivs und nicht von oben nach unten.
Wenn Sie die Maschine längere Zeit einlagern möchten, sollten Sie die in Vorbereiten der Schneefräse für das Einlagern aufgeführten Schritte ausführen.
Lagern Sie die Maschine wo möglich an einem warmen, trockenen Ort ein.
Die Batterien müssen - unabhängig davon, ob sie in der Maschine verbaut oder ausgebaut sind - in einer geeigneten Umgebung gelagert werden:
Die empfohlene Lagertemperatur sollte zwischen 10°C und 25°C liegen.
Die Lagerung bei extremen Temperaturen führt zu einer beschleunigten Selbstentladung.
Wenn zu erwarten ist, dass die Temperaturen über einen längeren Zeitraum deutlich unter den Gefrierpunkt fallen, nehmen Sie die Batterien aus der Maschine heraus und lagern Sie sie in einer wärmeren Umgebung.
Trennen Sie die Hauptstromanschlüsse ab; siehe Hauptstromanschlüsse.
Entfernen Sie Schmutz- und Schnittgutrückstände. Schärfen Sie die Spindeln und Untermesser bei Bedarf, siehe Bedienungsanleitung des Mähwerks. Überziehen Sie die Untermesser und die Messer der Spindeln mit einem Rostschutzöl.
Der Kraftstofftank sollte vollständig geleert werden. Lassen Sie den Motor laufen, bis er abstellt. Tauschen Sie den Kraftstofffilter aus, siehe Austauschen des Kraftstofffilters.
Lassen Sie das Öl aus dem Kurbelgehäuse ablaufen, wenn der Motor warm gelaufen ist. Füllen Sie das Kurbelgehäuse mit frischem Öl auf; siehe Wechseln des Motoröls und -filters.
Entfernen Sie die Zündkerzen, gießen Sie 30 ml SAE 30-Öl in die Zylinder und drehen den Motor, um das Öl zu verteilen. Tauschen Sie die Zündkerzen aus, siehe Warten der Zündkerze.
Entfernen Sie Schmutz und Schnittgutrückstände vom Zylinder, den Zylinderkopfrippen und vom Gebläsegehäuse.
Klemmen Sie die Batteriekabel von der 12 V Batterie ab.
Stellen Sie sicher, dass die 12 V und 48 V Batterien vollständig geladen sind. Anweisungen zum Laden finden Sie im Servicehandbuch der Zugmaschine.
Prüfen Sie alle sechs Monate der Lagerung den Ladezustand der Batterie und laden Sie die Batterie bei Bedarf auf.
Heben Sie die Maschine an, um die Last auf die Räder zu vermindern (Plattstehen).