| Underhållsintervall | Underhållsförfarande |
|---|---|
| Varje användning eller dagligen |
|
Maskinen är en åkgräsklippare med en cylinderknivar som är avsedd att användas av yrkesförare som har anlitats för kommersiellt arbete. Den är huvudsakligen konstruerad för att klippa gräs på väl underhållna gräsområden. Det kan medföra fara för dig och kringstående om maskinen används i andra syften än vad som avsetts.
I autonomt läge är den här robotklipparen med cylinderknivar avsedd att användas av professionella, inhyrda arbetsledare för autonom grässkötsel i kommersiella tillämpningar. Den är främst utformad för att klippa gräs på väl underhållna gräsområden på fastigheter som uppfyller Toros krav som beskrivs i Platsbedömningskriterier för autonom drift. Det kan medföra fara för dig och kringstående om maskinen används i andra syften än vad som avsetts.
Läs den här informationen noga så att du lär dig att använda och underhålla produkten på rätt sätt och för att undvika person- och produktskador. Du är ansvarig för att produkten används på ett korrekt och säkert sätt.
Gå till www.Toro.com om du behöver mer information, inklusive säkerhetsråd, utbildningsmaterial, information om tillbehör, hjälp med att hitta en återförsäljare, eller om du vill registrera din produkt.
Kontakta en auktoriserad Toro-återförsäljare och ha produktens modell- och serienummer till hands när du behöver service, Toro-originaldelar eller ytterligare information. Figur 1 visar var på produkten modell- och serienumren sitter. Skriv numren i det tomma utrymmet.
Important: Skanna rutkoden på serienummerdekalen (i förekommande fall) med en mobil enhet för att få tillgång till information om garanti, reservdelar och annat.

Varningssymbolen (Figur 2) som visas i den här bruksanvisningen och på maskinen markerar viktiga säkerhetsmeddelanden som du måste följa för att förhindra olyckor.

Varningssymbolen visas ovanför information som varnar dig för farliga handlingar eller situationer och följs av orden FARA, VARNING eller VAR FÖRSIKTIG.
FARA anger en överhängande fara som, om den inte undviks, kommer att leda till dödsfall eller allvarliga personskador.
VARNING anger en potentiellt farlig situation som, om den inte undviks, kan leda till dödsfall eller allvarliga personskador.
VAR FÖRSIKTIG anger en potentiellt farlig situation som, om den inte undviks, skulle kunna leda till lindriga eller måttliga personskador.
Två andra beteckningar används för att markera information i denna bruksanvisning. Viktigt anger speciell teknisk information och Observera anger allmän information som är värd att notera.
Maskinen är konstruerad för användning i två driftlägen:
Manuellt läge: Läge för maskindrift där maskinens funktioner styrs av en förare.
Autonomt läge: Läge för maskindrift där en maskin utför funktioner relaterade till dess definierade uppgifter utan inblandning från en förare. Driften övervakas istället av en kvalificerad arbetsledare.
Följ dessa riktlinjer för att använda maskinen/maskinerna i autonomt läge på en godkänd plats.
En direkt väg är en väg som maskinen/maskinerna kan följa utan att stöta på hinder när de används i autonomt läge.
Ett hinder förhindrar maskinen/maskinerna från kontinuerlig drift i autonomt läge. Objektdetektorsystemet är utformat för att stoppa maskinen vid upptäckt av något av följande hinder:
Stängsel (t.ex. solid vägg eller gunnebostängsel. Rep och tillfälliga stängsel är inte tillräckliga hinder)
Stödmurar
Kontinuerliga rader av häckar eller vegetation som är högre än 1 m eller som saknar mellanrum som är större än maskinens bredd
Diken
Bäckar
Sjöar
Byggnader
Sluttningar som är för branta för att maskinen/maskinerna ska kunna köra tvärs över dem
All annan oframkomlig terräng som maskinen inte fysiskt kan korsa
Ett område för autonom drift (AOA) är ett område definierat av en arbetsledare där maskinen/maskinerna kan följa en direkt väg i autonomt läge.
Ett område ej avsett för drift (NOA) är ett område definierat av en arbetsledare där maskinen/maskinerna inte kan följa en direkt väg i autonomt läge.
En godkänd plats uppfyller alla kriterier i Säkerhetskriterier för platsen för autonom drift.
Innan du aktiverar maskinen för drift i autonomt läge ska du se till att gränsen för AOA är inställd på minst 10 m avstånd från någon av följande faror:
Note: Alternativt, om det finns ett hinder (t.ex. en solid vägg eller oframkomlig terräng) mellan maskinen och någon av följande faror, ska du se till att gränsen för AOA är inställd på minst 2 m avstånd från hindret.
En allmän väg är en väg där fordon (t.ex. bilar, terrängfordon och cyklar) är tillåtna, men inte fotgängare.
Om allmänna områden eller leder är stängda för allmänheten under autonom drift gäller inte gränsrestriktionerna för AOA som definieras ovan.
En allmän cykelled är en led som allmänheten kan använda när som helst och där det är tillåtet att använda lätta tvåhjuliga fordon (t.ex. cyklar och skotrar).
Om allmänna områden eller leder är stängda för allmänheten under autonom drift gäller inte gränsrestriktionerna för AOA som definieras ovan.
En allmän gångväg för fotgängare är en allmän gångväg som används av allmänheten och där fordonsanvändning inte är tillåten.
Om allmänna områden eller leder är stängda för allmänheten under autonom drift gäller inte gränsrestriktionerna för AOA som definieras ovan.
En djup bunker eller ett stup är en sandgrop eller fördjupning som är minst 1,5 m djup inom 1 m från gropens kant.
En underhållsanläggning omfattar byggnader och tillhörande utomhusområden som endast används av personal på plats för underhåll och förvaring av utrustning, inklusive maskinen/maskinerna. Allmänheten och annan personal på plats som inte utför underhåll på utrustning har inte tillträde till underhållsanläggningen eller relaterade utomhusområden.
Privat egendom är ett område där du inte har behörighet att vistas.
Important: Alltför branta sluttningar kan inkluderas inom ett AOA eller mindre än 10 m från en AOA-gräns, men det måste finnas en NOA-gräns runt dem.
Mät lutningsvinklarna med en träbräda på 1,25 m över den brantaste delen av sluttningen och placera en lutningsmätare på brädan.
Låt inte maskinen/maskinerna arbeta i autonomt läge på alltför branta sluttningar enligt följande:
Använd inte maskinen i sluttningar vars lutning överstiger eller är lika med 14 grader (25 % lutning) under ett horisontellt avstånd som överstiger 10 m.
Använd inte maskinen i sluttningar vars lutning överstiger 15 grader (27 % lutning).
Kvalificerad maskinarbetsledare (arbetsledare)
En eller flera personer som har ansvar för att övervaka driften av maskinen/maskinerna. En arbetsledare har uppvisat följande:
Tillräcklig maskinkontroll
En allmän förståelse för maskinens/maskinernas energi, kraftöverföringssystem och styrsystem
Har fått utbildning och har läst och förstått maskinens bruksanvisningar
Kvalificerad manuell förare (förare)
En eller flera kundmedarbetare som har ansvar för manuell drift av maskinen när den är i manuellt läge.
Nödstopp på produkten
En nödstoppsbrytare (nödstopp) som är placerad på och fäst på maskinen. Brytaren fungerar endast när maskinen är i autonomt läge.
Mobil enhet
En arbetsledares mobila enhet (t.ex. smartphone eller surfplatta) som ansluts till maskinen för programmering, styrning och övervakning av maskinen när den används i autonomt läge. Enheten fungerar som den fjärrstoppsanordning som arbetsledaren måste bära för att stoppa alla funktioner för maskinen/maskinerna på kommando vid behov.
Meddelande – ett meddelande som informerar användaren om ett förarfel eller något som kan få ett jobb att pausas eller stoppas och som kan kräva att användaren ingriper.
App – en förkortning för programvara. Ett datorprogram på en mobil enhet som utför en eller flera uppgifter. Kallas även applikation, mobilapp eller webbapp.
Autonomt styrsystem (ACS) – ett system som består av programvara och maskinvara som gör det möjligt för en maskin att utföra uppgifter utan mänsklig inblandning under långa perioder.
Autonomt läge – ett läge för maskindrift där en maskin utför funktioner relaterade till dess definierade uppgifter utan inblandning från en förare. Står i kontrast till manuellt läge.
Område för autonom drift (AOA) – område där autonom drift är tillåten. Inom detta område kan maskinen fritt avgöra vilka banor som ska utföras när den går från en plats till en annan. Detta är vanligtvis ett område med få fasta hinder. På en golfbana ingår åtminstone en del av en fairway eller en upphämtningsplats i området.
Basstation – i kontexten av lantmäteri är det en GNSS-mottagare på en exakt, känd fast plats som används för att härleda korrigeringsinformation för närliggande bärbara GNSS-mottagare. Se även Global Positioning System, GNSS-mottagare.
Gräns – något som indikerar eller fastställer en gräns eller omfattning. För en robot är det den yttre linjen (som inte får korsas) för ett verksamhetsområde, en väg eller ett skyddsområde. Kallas även perimeter. Se även Verksamhetsområde, Väg, Skyddsområde.
Mittlinje - en linje som sträcker sig längs mitten av hela fairway. För klippmönster i klassisk stil följer maskinen krökningen av denna linje medan den klipper.
Angränsande klippområde (CMA) – område där klippning utförs. Det representeras på kartan av den ljusare gröna linjen innanför ett AOA. Detta definierar det område som maskinen kommer att klippa. Det kan förekomma hål inom ett CMA men det är ett enda slutet område och måste vara helt inom ett enda AOA. På en golfbana motsvarar detta vanligtvis en fairway eller en del av en fairway om det finns fairways som delas i flera delar till följd av naturliga faror (t.ex. en sjö).
Spelriktning (D.o.P) – i golftermer är spelriktningen riktningen från utslagsplats till green. Under autonom klippning kan spelriktningen användas för att skapa anpassade klippmönster. Maskinen kan klippa med eller mot spelriktningen, eller så kan den programmeras att klippa i en vinkel ut från spelriktningen.
Skyddsområde – ett område som registrerats av föraren och som roboten inte får komma in på. Se Område ej avsett för drift (NOA).
Fel – resultatet av ett mekaniskt fel, sensorfel eller programvarufel som kräver service eller korrigering av maskinen, sensorn eller programkoden.
Global navigation satellite system (GNSS) – en allmän term som beskriver den globala uppsättningen konstellationer som används för satellitlokalisering. Se även Global Positioning System.
Global positioning system (GPS) – ett satellitkonstellationsbaserat navigationssystem, baserat i USA, som använder en digital signal från varje satellit för att skicka data till en mottagare. Denna mottagare kan sedan bestämma sitt ungefärliga avstånd till satelliten samt satellitens geografiska position (GP), vilket är platsen på jorden direkt under satelliten.
GNSS-antenn – en enhet som används för att ta emot och expandera radiosignaler som skickas av distinkta frekvenser som kommer från GNSS-satelliter. Se även Global Navigation Satellite System, Global Positioning System.
GNSS-mottagare – en enhet som kan ta emot information från GNSS-satelliter. Kallas även satellitnavigeringsenhet. Se även Global Navigation Satellite System.
Gå till upphämtningsplats – ett beteende som består av att maskinen autonomt återvänder till en fördefinierad plats på begäran av arbetsledaren.
Hål – en typ av område som registrerats av föraren inom ett CMA som roboten kan korsa men inte får klippa. Registrera ett NOA i hålet om maskinen inte får komma in på ett område medan den används autonomt. Se Område ej avsett för drift (NOA).
Vägar mellan AOA:er – vägar som maskinen kan ta för att köra mellan AOA:er. Dessa representeras på kartan av orange linjer. Dessa definierade vägar motsvarar vanligtvis vägar som människodrivna maskiner redan använder. Maskinen kommer att följa dessa vägar exakt eller mycket nära när den tar sig fram mellan AOA:er.
Lidar (avbildning, detektering och avståndsbedömning med laser) – se Sensortyper.
Lokalisering – processen att avgöra var en mobil robot befinner sig i förhållande till en global referensram. Lokalisering är en mycket grundläggande kompetens som krävs av robotar eftersom kunskapen om dess position är nödvändig för att fatta beslut om framtida åtgärder.
Manuellt läge: ett läge för maskindrift där maskinens funktioner styrs av en förare. Står i kontrast till autonomt läge.
Kartläggning – proceduren för att samla in plats och form för relevanta element i miljön och lagra dem med precision i en global referensram.
Uppdrag – en uppsättning uppgifter som ska utföras av maskinen.
Navigering – Robotens förmåga att avgöra den egna positionen i sin referensram och planera en väg mot ett mål.
Område ej avsett för drift (NOA) – område där autonom drift är förbjuden. Denna typ av område används för att indikera ett naturligt hinder eller en blockering, ett område inom ett AOA eller ett område inom ett CMA som maskinen aldrig bör komma in i när den används autonomt (t.ex. sjöar, sandbunkrar eller hål).
Objekt – ett hinder eller markförhållande som kan orsaka skada eller skadas om det kommer i kontakt med eller kolliderar med maskinen. Objekt kan ses av maskinens objektdetektorsystem. Se Objektdetektering.
Objektdetektering – processen att upptäcka objekt eller terrängtyper som hindrar en robots rörelse.
Hinder – en typ av terrängelement eller enhet som kan orsaka skada på eller hindra maskinens drift om den inte är programmerad för att undvika detta område.
Blockering – en typ av terrängelement eller enhet som är oframkomlig för maskinen. Exempel på blockeringar:
Staket
Byggnader
Stödmurar
Vattendrag
Bunkrar
Dräneringshål för bevattning
Upphöjda galler
Parkerat läge – ett läge för maskindrift där brytaren för autonomt/manuellt läge vrids till autonomt läge, men ACS-systemet är inte redo eller är avstängt. Parkerat läge är också resultatet av att en förare eller ett objekt i omgivningen avbryter den autonoma driften av maskinen och tvingar maskinen att parkera sig själv under tiden som problemet åtgärdas.
Väg – en autonom, användarprogrammerad rutt som en robot kan färdas på. Under ett uppdrag som innefattar flera fairways använder gräsklipparen vägar för att färdas autonomt mellan fairways. Kallas även för en transportväg.
Perimeter – se Gräns.
Upphämtningsplats – en plats inom ett AOA där föraren lämnar/hämtar maskinen före/efter klippning eller annan drift. Den representeras på kartan av ett blått P inuti en blå cirkel. Maskinen kan återgå till denna plats om den dirigeras dit av arbetsledaren.
Stolpe – en definierad punkt på kartan som maskinen behandlar som ett NOA. Dessa kartläggs individuellt, och en uppsättning stolpar kan användas för att finjustera områden som maskinen bör undvika. Det är användbart för att utesluta områden som maskinen bör undvika utan att kartlägga ett fullständigt NOA. Se område ej avsett för drift (NOA).
Avståndssensor – Se Sensortyper.
Radar – se Sensortyper.
Kinematik i realtid (RTK) – en realtidskorrigering av geografisk positionering (mindre än 3 cm under optimala förhållanden) med hjälp av satellitmeddelanden till en stationär och exakt placerad basstation. RTK-information kommuniceras sedan vanligtvis till maskinen via en mobilanslutning till internet.
Satellitnavigeringsenhet – se GNSS-mottagare.
Avkänning – återkopplingen från robotens miljö som gör det möjligt för roboten att reagera på sin omgivning. Sensorisk indata kan komma från olika typer av sensorer.
Sensor – en enhet som svarar på fysiska stimuli (till exempel, men inte begränsat till, värme, ljus, ljud, tryck, magnetism och rörelse) och överför resulterande signal eller data för att ge en mätning, styra en kontroll eller båda. En sensor kan till exempel beräkna tillståndet för en robot och dess miljö. Den här informationen skickas till en styrenhet för att möjliggöra korrekt beteende. En robot kräver omfattande information om sin omgivning för att fungera effektivt.
Sensortyper – sensorer ger indata på liknande sätt som mänskliga sinnen och kan övervaka andra fysiska element i miljön och omvandla denna information till digital form.
Positionssensorer – dessa sensorer känner av ett objekts position. De kan indikera objektets absoluta position (dess plats) eller dess relativa position (förflyttning) i termer av linjär rörelse, rotationsvinkel eller tredimensionellt utrymme.
Avståndssensorer – dessa sensorer upptäcker ett objekt utan att komma i kontakt med det.
Ultraljudsgivare
Lidar
Radar
Statusar – det här är uppsättningar av egenskaper för maskinen och dess status vid ett visst ögonblick.
Övervakningsapp – se App.
Uppgift – byggstenen i ett uppdrag. Uppgifter väljs av maskinföraren för att vara en del av ett givet uppdrag och representerar en arbetsenhet som ska utföras autonomt av maskinen.
Ultraljud – se Sensortyper.
Produkten uppfyller alla relevanta europeiska direktiv. Mer information finns i produktens separata försäkran om överensstämmelse.
Det är ett brott mot avsnitt 4442 eller 4443 i Kaliforniens Public Resource Code att använda eller köra motorn på skogs-, busk- eller grästäckt mark om motorn inte är utrustad med en gnistsläckare som är i fullgott skick, vilket anges i avsnitt 4442, eller utan att motorn är konstruerad, utrustad och underhållen för att förhindra brand.
Den bifogade bruksanvisningen till motorn tillhandahålls för information om den amerikanska miljömyndigheten EPA:s (US Environmental Protection Agency) och Kaliforniens lagstiftning om utsläppskontroll för emissionssystem, underhåll och garanti. Extra bruksanvisningar kan beställas från motortillverkaren.
Om du ska använda denna maskin på en höjd som är över 1 000 m över havet krävs ett höghöjdsmunstycke. Mer information finns i bruksanvisningen för Kawasaki-motorn.
|
Certifiering av elektromagnetisk kompatibilitet |
VarningFederal Communications Commission varnar för att ändringar eller modifieringar av radiomodulen i denna enhet som inte uttryckligen godkänts av The Toro Company kan ogiltigförklara användarens behörighet att använda utrustningen. Utrustningen har testats och befunnits överensstämma med gränserna för en digital enhet av klass A, i enlighet med del 15 i FCC-reglerna. Dessa gränser är utformade för att ge rimligt skydd mot skadlig störning när utrustningen används i en kommersiell miljö. Utrustningen genererar, använder och kan utsända radiofrekvensenergi och kan, om den inte monteras och används i enlighet med bruksanvisningen, orsaka skadlig störning av radiokommunikation. Användning av denna utrustning i ett bostadsområde kommer sannolikt att orsaka skadlig störning, i vilket fall användaren kommer att behöva korrigera störningen på egen bekostnad. |
|
Denna enhet överensstämmer med Industry Canadas licensbefriade RSS-standard(er). Följande två villkor ställs för driften: (1) Den här enheten får inte orsaka störningar och (2) enheten måste tåla alla eventuella störningar som den kan utsättas för, inklusive störningar som kan orsaka oavsiktlig användning av enheten. |
|
Le présent appareil est conforme aux CNR d'Industrie Canada applicables aux appareils radio exempts de licence. L'exploitation est autorisée aux deux conditions suivantes : (1) l'appareil ne doit pas produire de brouillage, et (2) l'utilisateur de l'appareil doit accepter tout brouillage radioélectrique subi, même si le brouillage est susceptible d'en compromettre le fonctionnement. |
|
Enligt Industry Canadas regler får denna radiosändare endast fungera med en antenn av en typ och maximal (eller mindre) förstärkning som godkänts för sändaren av Industry Canada. För att minska potentiell radiostörning för andra användare bör antenntypen och dess förstärkning väljas så att den ekvivalenta isotropa utstrålade effekten (e.i.r.p) inte överstiger det som krävs för framgångsrik kommunikation. |
|
Denna radiosändare IC: 26511-RUT956AF har godkänts av Industry Canada för att fungera med de antenntyper som listas nedan med den maximalt tillåtna förstärkningen och erforderlig antennimpedans för varje angiven antenntyp. Antenntyper som inte finns upptagna i den här listan och som har en förstärkning som är större än den maximala förstärkning som anges för den typen är strängt förbjudna att användas med den här enheten. |
|
Conformément à la réglementation d'Industrie Canada, le présent émetteur radio peut fonctionner avec une antenne d'un type et d'un gain maximal (ou inférieur) approuvé pour l'émetteur par Industrie Canada. Dans le but de réduire les risques de brouillage radioélectrique à l'intention des autres utilisateurs, il faut choisir le type d'antenne et son gain de sorte que la puissance isotrope rayonnée équivalente (p.i.r.e.) ne dépasse pas l'intensité nécessaire à l'établissement d'une communication satisfaisante. |
|
Le présent émetteur radio IC: 26511-RUT956AFa été approuvé par Industrie Canada pour fonctionner avec les types d'antenne énumérés ci-dessous et ayant un gain admissible maximal et l'impédance requise pour chaque type d'antenne. Les types d'antenne non inclus dans cette liste, ou dont le gain est supérieur au gain maximal indiqué, sont strictement interdits pour l'exploitation de l'émetteur. |
|
Antenn: The Toro Company, modell 145-0335, TAOGLAS, TLS.01.1F11, rundstrålande, maximal förstärkning 5,0 (dBi) |
KALIFORNIEN
Proposition 65 Varning
Motoravgaserna från denna produkt innehåller kemikalier som av den amerikanska delstaten Kalifornien anses orsaka cancer, fosterskador eller andra fortplantningsskador.
Batteripoler och kabelanslutningar med tillbehör innehåller bly och blyföreningar, kemikalier som den amerikanska delstaten Kalifornien anser kan orsaka cancer och fortplantningsskador. Tvätta händerna efter hantering.
Användning av produkten kan orsaka kemikalieexponering som av den amerikanska delstaten Kalifornien anses orsaka cancer, fosterskador och andra fortplantningsskador.
Maskinen kan slita av händer och fötter och kasta omkring föremål.
Läs och se till att du har förstått innehållet i den här bruksanvisningen innan du startar motorn.
Var fullt koncentrerad på maskinen när du använder den. Delta inte i aktiviteter som kan distrahera dig, eftersom personskador eller skador på egendom då kan uppstå.
Håll händer och fötter på avstånd från maskinens rörliga delar.
Kör endast maskinen om skydd och andra säkerhetsanordningar sitter på plats och fungerar.
Håll kringstående och barn borta från arbetsområdet. Låt aldrig barn använda maskinen.
Om du inte förbereder för användning av maskinen i autonomt läge ska du stänga av maskinen, ta ut nyckeln och vänta tills alla rörliga delar har stannat innan du kliver ur förarsätet. Låt maskinen svalna innan du utför service, justerar, rengör eller ställer den i förvar.
Felaktigt bruk eller underhåll av maskinen kan leda till
personskador. För att minska risken för skador ska du alltid
följa säkerhetsanvisningarna och uppmärksamma varningssymbolen
. Symbolen betyder
Var försiktig, Varning eller Fara – anvisning om personsäkerhet.
Underlåtenhet att följa anvisningarna kan leda till personskador
eller dödsfall.
Note: Säkerheten för autonomt läge gäller utöver den allmänna säkerheten/säkerheten för manuellt läge.
Arbetsledaren för maskinen som används i autonomt läge ansvarar för eventuella olyckor eller faror som uppstår för andra eller deras egendom.
Läs, förstå och följ alla dessa instruktioner och varningar innan du aktiverar maskinen för arbete i autonomt läge.
Felaktigt bruk eller underhåll av maskinen kan leda till allvarliga personskador och innebära livsfara. Följ alla säkerhetsföreskrifter för att minska riskerna.
Låt inte barn eller någon som inte har genomgått utbildning använda eller utföra service på maskinen. Maskinen ska endast användas av personer som är ansvariga, utbildade, införstådda med anvisningarna och fysiskt kapabla att använda eller utföra service på maskinen.
Låt aldrig barn eller någon som inte har fått utbildning använda eller utföra underhåll på maskinen. Lokala föreskrifter kan begränsa förarens ålder. Det är ägaren som ansvarar för att utbilda alla förare och mekaniker.
Lär dig hur du använder utrustningen på ett säkert sätt och bekanta dig med manöverorgan och säkerhetsskyltar.
Koppla in parkeringsbromsen, stäng av maskinen, ta ut nyckeln och vänta tills alla rörelser har stannat innan du lämnar förarsätet. Låt maskinen svalna innan du utför service, justerar, rengör eller ställer den i förvar.
Lär dig att stanna maskinen och att snabbt stänga av motorn.
Kontrollera att förarnärvaroreglage, säkerhetsbrytare och säkerhetsanordningar sitter fast och fungerar som de ska. Kör inte maskinen om dessa inte fungerar som de ska.
Före klippning ska du alltid kontrollera att klippenheterna är i gott fungerande skick.
Inspektera området där maskinen ska användas och ta bort föremål som maskinen kan slunga iväg.
Note: Säkerheten för autonomt läge gäller utöver den allmänna säkerheten/säkerheten för manuellt läge.
Inspektera området där maskinen ska användas och ta bort främmande föremål som maskinen kan slunga iväg.
Lär dig hur du använder utrustningen på ett säkert sätt och bekanta dig med manöverorgan och säkerhetsskyltar.
Lär dig hur du både stoppar maskinen och förhindrar att några delar rör sig.
Använd maskinen endast om skydd och andra säkerhetsanordningar sitter på plats och fungerar korrekt.
Håll kringstående och barn på säkert avstånd från området där autonom drift sker. Låt aldrig barn använda eller övervaka maskinen. Endast utbildad personal bör övervaka denna maskin när den används i autonomt läge.
Stå, sitt eller åk aldrig på maskinen och låt inte andra göra det när maskinen används i autonomt läge.
Inspektera regelbundet arbetsområdet för nya faror och åtgärda dem innan du använder maskinen.
Håll avstånd till rörliga delar om maskinen välter.
Var ytterst försiktig när du hanterar bränsle. Det är brandfarligt och dess ångor är explosiva.
Släck alla cigaretter, cigarrer, pipor och allt annat som brinner.
Använd endast en godkänd bränsledunk.
Ta inte bort tanklocket och fyll inte på bränsle i bränsletanken medan motorn är igång eller fortfarande är varm.
Fyll inte på eller tappa ut bränsle från maskinen i ett slutet utrymme.
Förvara inte maskinen eller bränslebehållaren i närheten av en öppen låga, gnista eller tändlåga, t.ex. nära en varmvattenberedare eller någon annan utrustning.
Om du spiller ut bränsle ska du inte försöka starta motorn. Undvik att skapa några gnistor tills bränsleångorna har skingrats.
Ägaren/operatören kan förebygga olyckor samt ansvarar för olyckor som kan ge upphov till personskador eller skador på egendom.
Använd lämpliga kläder, inklusive ögonskydd, långbyxor, rejäla och halkfria skor samt hörselskydd. Sätt upp långt hår och använd inte hängande smycken eller löst sittande kläder.
Kör inte maskinen om du är sjuk, trött eller påverkad av alkohol eller läkemedel.
Var fullt koncentrerad på maskinen när du använder den. Delta inte i aktiviteter som kan distrahera dig, eftersom personskador eller skador på egendom då kan uppstå.
Se till att alla drivenheter är i neutralläge, parkeringsbromsen är inkopplad och att du sitter i förarsätet innan du startar motorn.
Skjutsa inte passagerare på maskinen.
Håll kringstående och barn på säkert avstånd från arbetsområdet.
Använd endast maskinen om du har god sikt, så att du kan undvika gropar och dolda faror.
Undvik att klippa vått gräs. Försämrat grepp kan göra att maskinen glider.
Håll händer och fötter borta från klippenheterna.
Titta bakåt och nedåt innan du backar för att se till att vägen är fri.
Var försiktig när du närmar dig hörn med skymd sikt, buskage, träd eller andra objekt som kan försämra sikten.
Stoppa klippenheterna om du inte klipper.
Sakta ned och var försiktig när du svänger och korsar vägar och trottoarer med maskinen. Lämna alltid företräde.
Kör endast motorn i välventilerade utrymmen. Avgaser innehåller koloxid, vilket är dödligt om det andas in.
Lämna inte en maskin som är i gång utan uppsikt.
Om du inte förbereder maskinen för användning i autonomt läge gör följande innan du lämnar förarplatsen:
Parkera maskinen på ett plant underlag.
Sänk ned klippenheterna till marken och se till att de är frånkopplade.
Koppla in parkeringsbromsen.
Stäng av motorn och ta ut nyckeln.
Vänta tills alla rörliga delar har stannat.
Använd endast maskinen när sikten och väderförhållandena är goda. Använd inte maskinen när det finns risk för blixtnedslag.
Ta inte bort några vältskyddsdelar från maskinen.
Kontrollera att säkerhetsbältet är fastspänt och att du kan knäppa upp det snabbt i en nödsituation.
Använd alltid säkerhetsbältet.
Var mycket uppmärksam på hinder som kan finnas ovanför dig och vidrör dem inte.
Håll vältskyddet i säkert bruksskick genom att regelbundet inspektera det noga och kontrollera att det inte är skadat samt hålla alla fästelement åtdragna.
Byt ut alla skadade vältskyddsdelar. Reparera eller ändra dem inte.
Sluttningar är en betydande faktor vid olyckor som orsakas av att föraren förlorat kontrollen eller att maskinen välter, vilket kan innebära livsfara eller leda till allvarliga personskador. Du ansvarar för säker drift i sluttningar. Du måste vara extra försiktig när du kör maskinen i en sluttning.
Utvärdera förhållandena på platsen för att bedöma om sluttningen är säker för körning av maskinen, bland annat genom att undersöka hela arbetsplatsen. Använd alltid sunt förnuft och ett gott omdöme när du utför kontrollen.
Läs anvisningarna nedan innan du använder maskinen på en sluttning. Innan du använder maskinen ska du utvärdera förhållandena på arbetsplatsen för att fastställa om maskinen kan användas under sådana förhållanden. Förändringar i terrängen kan leda till att maskinens manövrering i sluttningar förändras.
Undvik att starta, stänga av eller svänga med maskinen i sluttningar. Undvik att göra plötsliga ändringar i hastighet eller riktning. Sväng långsamt och successivt.
Använd inte maskinen under förhållanden där det råder tvekan om dragkraft, styrning eller stabilitet.
Avlägsna eller märk ut hinder såsom diken, hål, fåror, gupp, stenar och andra dolda faror. Det kan finnas dolda hinder i högt gräs. Ojämn terräng kan göra att maskinen välter.
Observera att maskinen kan tappa drivkraft om maskinen körs på vått gräs, tvärs över sluttningar eller nedför en sluttning. Drivhjul som tappar drivkraft kan leda till att maskinen glider och att du förlorar kontrollen över bromsning och styrning.
Var mycket försiktig när du använder maskinen nära stup, diken, flodbäddar, vattendrag eller andra faror. Maskinen kan välta plötsligt om ett hjul kör över en kant eller kanten ger med sig. Håll ett säkert avstånd mellan maskinen och riskfyllda områden.
Identifiera faror nere vid slutet av sluttningen. Klipp sluttningen med en handgräsklippare om det finns faror.
Håll om möjligt klippenheterna nedsänkta mot marken när du kör i sluttningar. Maskinen kan bli ostadig om klippenheterna höjs vid körning i sluttningar.
Var mycket försiktig när du använder gräsuppsamlingssystem och andra redskap. De kan ändra maskinens stabilitet och leda till att du förlorar kontrollen.
Om du inte förbereder maskinen för användning i autonomt läge ska du koppla in parkeringsbromsen, stänga av motorn, ta ut nyckeln och vänta tills alla rörliga delar har stannat innan du kliver ur förarsätet. Låt maskinen svalna innan du utför service, justerar, rengör eller ställer den i förvar.
Rengör klipp- och drivenheterna från gräs och skräp för att förhindra bränder. Torka upp eventuellt olje- eller bränslespill.
Stäng av maskinens bränsletillförsel vid förvaring eller under transport.
Koppla ur redskapets drivning när du transporterar maskinen eller inte använder den.
Låt maskinen svalna innan du ställer undan maskinen i ett slutet utrymme.
Underhåll och rengör säkerhetsbälten vid behov.
Förvara inte maskinen eller bränslebehållaren i närheten av en öppen låga, gnista eller tändlåga, t.ex. nära en varmvattenberedare eller annan utrustning.
Bogsera endast om maskinen har en draganordning avsedd för bogsering. Anslut inte någon bogseringsutrustning annat än till draganordningen.
Följ tillverkarens rekommendationer rörande viktgränser för utrustning som bogseras samt bogsering i sluttningar. I sluttningar kan den bogserade utrustningens vikt göra att drivningen går förlorad och att du tappar kontrollen.
Låt aldrig någon åka i eller på den utrustning som bogseras.
Kör alltid långsamt och beräkna extra lång stoppsträcka vid bogsering.
Innan du kliver ur förarsätet ska du göra följande:
Ställ maskinen på ett plant underlag.
Koppla ur klippenheten/klippenheterna.
Koppla in parkeringsbromsen.
Stäng av motorn och ta ut nyckeln.
Vänta tills alla rörliga delar har stannat.
Låt maskinens komponenter svalna innan du utför något underhåll.
Utför om möjligt inget underhåll på maskinen medan motorn är igång. Håll dig på avstånd från rörliga delar.
Stötta upp maskinen med pallbockar när du arbetar under maskinen.
Lätta försiktigt på trycket i komponenter med lagrad energi.
Håll alla maskindelar i gott bruksskick och samtliga fästelement åtdragna.
Byt ut alla slitna eller skadade dekaler.
Använd endast originalreservdelar och tillbehör från Toro för att garantera en säker, optimal prestanda för maskinen. Det kan vara farligt att använda reservdelar från andra tillverkare och det kan göra produktgarantin ogiltig.
Note: Säkerheten för autonomt läge gäller utöver den allmänna säkerheten/säkerheten för manuellt läge.
Modifiera inte maskinen eller programvaran på något sätt.
Placera inte något på maskinen.
Ändra eller åsidosätt inte maskinens reglage eller säkerhetsanordningar.
Felaktigt underhåll eller bruk av denna maskin kan leda till personskador eller dödsfall.
Alla underhållsprocedurer bör utföras av en certifierad tekniker.
Använd endast originalreservdelar för autonom drift från Toro för att garantera säker, optimal prestanda för maskinen. Det kan medföra fara att använda reservdelar för autonom drift från andra tillverkare.
Stäng av motorn innan du kontrollerar oljenivån eller fyller på olja i vevhuset.
Ändra inte varvtalshållarens inställning och övervarva inte motorn.
Koppla bort huvudströmkontakterna innan reparation utförs på maskinen.
Ladda batteriet i ett öppet och välventilerat utrymme, på avstånd från gnistor och öppna lågor. Koppla ur laddaren innan batteriet ansluts eller kopplas bort. Använd skyddskläder och isolerade verktyg.
Stäng av maskinen, ta ut nyckeln och vänta tills alla rörliga delar har stannat innan du kliver ur förarsätet. Låt maskinen svalna innan du justerar, servar, rengör eller förvarar den.
Förvara inte maskinen eller bränslebehållaren i närheten av en öppen låga, gnista eller tändlåga, t.ex. nära en varmvattenberedare eller någon annan utrustning.
![]() |
Säkerhetsdekalerna och anvisningarna är fullt synliga för föraren och finns nära alla potentiella farozoner. Ersätt dekaler som har skadats eller saknas. |














Beskrivningar av lägena som anges på dekal 145-0345 finns i Definition av termer.

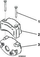
Delar som behövs till detta steg:
| Klippenhet (beställ separat, kontakta en auktoriserad Toro-återförsäljare) | 3 |
| Elektrisk motvikt | 3 |
| Huvudskruv | 6 |
| O-ring | 3 |
Förbered klippenheterna för montering enligt anvisningarna i bruksanvisningen för din klippenhet.
Smörj drivkopplingens inre spline med fett.
Montera en o-ring på varje cylindermotor enligt Figur 3.

Fäst den elektriska motvikten på den befintliga motvikten med två huvudskruvar enligt Figur 4.

Montera klippenheterna. Se Montera klippenheterna.
Anslut huvudströmkontakterna. Se Huvudströmkontakter.
Använd InfoCenter för att justera maskininställningarna. Se Justera maskininställningarna med InfoCenter..
Delar som behövs till detta steg:
| Dekal med uppgift om tillverkningsår | 1 |
| CE-varningsdekal (artikelnummer 139-8321) | 1 |
| CE-/UKCA-dekal (artikelnummer 138-9470) | 1 |
Om du använder den här maskinen i ett land som uppfyller CE-/UKCA-standarder ska du montera följande dekaler:
Däcken fylls med förhöjt tryck på fabriken före leverans. Låt trycket sjunka till rätt nivå innan du startar maskinen. Se Kontrollera däcktrycket.
Kontrollera att alla som använder maskinen har inloggningsuppgifter för myTurf. Se programhandboken för myTurf.
Lägg till maskinen som en resurs i myTurf. Se programhandboken för myTurf.
Tekniker som har tillgång till Toros material kan hitta instruktioner för att aktivera eller förnya en mobiltjänst eller ett RTK-abonnemang på GeoLinks servicecenter
Note: Båda krävs för att maskinen ska kunna användas autonomt.
Sök efter servicemeddelandet ”Process för GeoLink-aktivering”.
Följ och slutför stegen i servicemeddelandet.
Vänta tills Toro skickar mobil- och RTK-autentiseringsuppgifterna innan du fortsätter.
Sätt i och vrid nyckeln till det PåSLAGNA läget.
Anslut till maskinen med hjälp av övervakningsappen för GeoLink Mow.
I den översta menyraden trycker du på knappen INSTäLLNINGAR.
Under Lokal referenspunkt anger du koordinaterna och höjden för en lokal referenspunkt som maskinen ska använda för GNSS RTK-lokalisering.
Note: Använd decimalgrader för koordinaterna och meter för höjden.
Under NTRIP-korrigeringar anger du informationen för NTRIP-castern.
Under Autentiseringsuppgifter anger du informationen för RTK-abonnemanget.
Note: Det rekommenderas att utföra detta test på plats på den bana där maskinen kommer att användas. Detta kommer att ge en exakt uppfattning om styrkan på signalen till maskinen under normal drift.
Sätt i och vrid nyckeln till det PåSLAGNA läget.
Kör fram maskinen till utomhusområdet.
Anslut till maskinen med hjälp av övervakningsappen för GeoLink Mow.
I den översta menyraden trycker du på knappen DIAGNOSTIK.
Under Mobilt nätverk kontrollerar du att det finns en mobilanslutning till maskinen.
Under Lokalisering kontrollerar du att det finns en RTK-anslutning till maskinen.
Note: Det kan ta några minuter för maskinen att ansluta till ett mobilnät eller en RTK-basstation.
Validera att sensorerna för objektdetektorsystemet fungerar korrekt innan autonomt läge aktiveras. Se Verifiera objektdetektorsystemet.
Sätt i och vrid nyckeln till det PåSLAGNA läget.
Kör fram maskinen till utomhusområdet.
Håll brytaren för autonomt/manuellt läge åt vänster i två sekunder för att aktivera autonomt läge. Se Brytare för autonomt/manuellt läge.
Anslut till maskinen med hjälp av övervakningsappen för GeoLink Mow.
I den översta menyraden trycker du på knappen DIAGNOSTIK.
Välj diagnostikfälten för att öppna de detaljerade rullgardinsmenyerna. Se till att ACS fungerar som det ska.
Inspektera maskinens taklinje för eventuella böjda antenner.
Sätt i och vrid nyckeln till det PåSLAGNA läget.
Kör maskinen till ett klippområde.
Konfigurera ett test-CMA. Se Kartläggning av området för autonom drift och Kartläggning av det angränsande klippområdet.
Skapa ett uppdrag för gräsklipparen att utföra. Låt den utföra en finklippning medurs på en fairway som en första uppgift. Låt den sedan utföra en finklippning moturs på samma fairway. Se Skapa ett uppdrag och Skapa ett anpassat klippmönster.
Utför uppdraget. Se Utföra ett uppdrag.
Observera maskinen under uppdraget och var uppmärksam på inkonsekventa vägar mellan vändorna som går medurs och moturs.
Important: Om skillnader observeras kan det bero på att antennerna inte är centrerade. Kontakta teknisk support.


Tändningslåset har tre lägen: AV, På och START (Figur 9).
Använd tändningslåset för att starta eller stänga av motorn, eller för att köra maskinen utan motoreffekt. Se Starta motorn,Stänga av motorn och Köra maskinen utan motoreffekt.

Funktionsreglaget (Figur 8) har två körlägen och ett NEUTRALLäGE.
NEUTRALLäGE – neutral och slipning
KLIPPLäGE – används för klippning
TRANSPORTLäGE – används för transport
Du kan växla från KLIPPLäGE till TRANSPORTLäGE, eller från TRANSPORTLäGE till KLIPPLäGE (ej till NEUTRALLäGE), medan maskinen är i rörelse. Detta orsakar inga skador
Du kan flytta reglaget från TRANSPORTLäGE eller KLIPPLäGE till NEUTRALLäGE så att maskinen stannar. Om du försöker växla från NEUTRALLäGE till KLIPPLäGE eller TRANSPORTLäGE när pedalen inte är i NEUTRALLäGE visas ett meddelande.
Styrspaken för höjning/sänkning (Figur 8) höjer upp eller sänker ned klippenheterna. Styrspaken kan koppla in eller ur klippenhetscylindrarna beroende på funktionsreglagets position:
Funktionsreglaget i NEUTRALLäGET: klippenheterna höjs eller sänks så länge du för styrspaken framåt eller bakåt, men cylindrarna kopplas inte in om maskinen inte befinner sig i slipningsläge.
Funktionsreglaget i KLIPPLäGET: för styrspaken framåt under klippningen för att sänka klippenheterna och starta cylindrarna. Dra styrspaken bakåt för att stänga av cylindrarna och höja upp klippenheterna.
Du stänger av cylindrarna utan att höja upp klippenheterna genom att först dra styrspaken bakåt och sedan släppa den. Om du flyttar styrspaken framåt igen sätts cylindrarna igång, och om du drar tillbaka den igen höjs klippenheterna upp. Du måste aktivera den här funktionen i InfoCenter. Se Justera tap-off-fördröjningen.
Funktionsreglaget i TRANSPORTLäGET: klippenheterna kan höjas, men cylindrarna kommer inte att kopplas in. Ett meddelande visas i InfoCenter om du försöker sänka ned klippenheterna.
Gaspedalen (Figur 10) har 3 funktioner: köra maskinen framåt och bakåt och stoppa den. Tryck ned pedalens övre del för att köra framåt. Tryck på dess nedre del för att backa.
För pedalen till NEUTRALLäGET för att stanna maskinen. Vila inte hälen på gaspedalen i BACKNINGSLäGET när maskinen rör sig framåt (Figur 11).


Du kan konfigurera den maximala markhastigheten för drift i manuellt läge enligt följande:
Klipphastighet framåt: 4,8–8 km/h
Transporthastighet: 8–16 km/h
Backningshastighet: 3,2–8 km/h
Tryck ned pedalen (Figur 10) och höj upp eller sänk ned styrarmen så att höjden passar föraren och släpp sedan pedalen för att låsa armen på plats.
Trampa ner bromspedalen (Figur 12) för att stanna maskinen.

Använd parkeringsbromsen (Figur 12) för att förhindra att maskinen rör sig. Om du vill koppla in parkeringsbromsen ska du trampa ned bromspedalen och trycka den övre delen framåt för att spärra den. Koppla ur parkeringsbromsen genom att trampa ned bromspedalen tills parkeringsbromsspärren lossnar.
Utöver stoppknappen i övervakningsappen kan du stoppa maskinen genom att trycka ner nödstoppsbrytaren på maskinens baksida.
Så här kopplar du ur nödstoppet:
Dra brytaren utåt.
Återställ brytaren för autonomt/manuellt läge för att aktivera autonomt läge.
Important: Nödstoppsbrytaren fungerar endast när maskinen används i autonomt läge. Aktivering av nödstoppsbrytaren påverkar inte en maskin som används i manuellt läge.

Tryck och håll brytaren för autonomt/manuellt läge åt vänster i två sekunder för att aktivera AUTONOMT läge.
Tryck brytaren åt höger för att aktivera MANUELLT läge.

Statuslampan för autonom drift indikerar maskinens aktuella autonoma status:
Fast vitt sken – ACS är aktiverat och i manuellt läge
Fast grönt sken – utför autonomt läge. Närma dig inte
Blinkande grönt – i autonomt läge, men ett objekt är nära
Fast rött sken – säkert att närma sig. Maskinen parkerad
Övervakningsappen för GeoLink Mow är det verktyg som används för att ställa in och använda en maskin för autonom klippning.
| Alternativ i menyraden | Beskrivning |
| HEM | Menyn HEM är den första skärmen i webbappen och har genvägar till menyerna INSTRUMENTPANEL, UPPDRAG, KARTA och INSTäLLNINGAR samt användarvillkor och juridiska meddelanden. |
| INSTRUMENTPANEL | Menyn INSTRUMENTPANEL anger aktuell maskinstatus och uppdragsstatus. Kontrollknapparna längst ner på skärmen styr också maskinen på distans. |
| UPPDRAG | Menyn UPPDRAG har områden för att skapa nya uppdrag samt visa aktuella uppdrag och uppdragshistorik. Skapa anpassade klippmönster i den här menyn. |
| KARTA |
Menyn KARTA visar en karta över din fastighet och eventuella kartlagda fairways. Den innehåller också kontroller för att kartlägga driftområden och andra autonoma funktioner. När maskinen är i drift kan detta användas för att övervaka maskinen under ett uppdrag. |
| INSTäLLNINGAR | I menyn INSTäLLNINGAR kan du ändra inställningar och autentiseringsuppgifter för RTK, allmänna driftsinställningar och personliga inställningar för maskinen. |
| HJäLP |
I menyn HJäLP får du tillgång till kartdata, maskinloggar, bruksanvisningen, prestandadata och information om programvaruversioner. |
| DIAGNOSTIK |
I menyn DIAGNOSTIK anges status för olika delar av maskinen, inklusive maskinvara, sensorer samt lokaliserings- och anslutningsinformation. Den här informationen kan användas för att felsöka problem med maskinen eftersom den snabbt anger vilka maskinkontroller som är aktiva, inaktiverade eller har problem. |
| LOGGA UT |
Logga ut från ditt myTurf-konto. |
| Menyobjekt | Beskrivning | |
| Lokal referenspunkt | ||
| LATITUD | Ställ in latituden för en lokal referenspunkt som maskinen använder för GNSS RTK-lokalisering. Använd decimalgrader. | |
| LONGITUD | Ställ in longituden för en lokal referenspunkt som maskinen använder för GNSS RTK-lokalisering. Använd decimalgrader. | |
| HöJD | Ställ in höjden (i meter) för en lokal referenspunkt som maskinen använder för GNSS RTK-lokalisering. | |
| NTRIP-korrigeringar | ||
| VäRDNAMN | Ställ in anslutningsnamnets URL för NTRIP (RTK)-castern. | |
| PORTNUMMER | Ställ in portnumret för castern. | |
| MONTERINGSPUNKT | Ställ in ett namn för monteringspunkten för den utgående GNSS-dataströmmen från castern. | |
| NMEA GGA-meddelande | ||
| OBLIGATORISKT | Aktiverar eller inaktiverar NMEA GGA-meddelanden. Aktiverat som obligatoriskt som standard. | |
| UPPDATERINGSPERIOD | Ställ in frekvensen för NMEA GGA-meddelanden. Standardinställningen är fem sekunder. | |
| Autentiseringsuppgifter | ||
| ANVäNDARNAMN | Ange användarnamnet för RTK-abonnemanget. | |
| LöSENORD | Ange lösenordet för RTK-abonnemanget. | |
| Karta | ||
| LåS KARTA | Tar bort möjligheten att ändra, ta bort eller skapa nya kartlagda områden. | |
| Klippning | ||
| ÖVERLAPPA | Ställ in mängden överlappning under klippsträckor. | |
| Maskinhastigheter | ||
| HUVUDSAKLIG KLIPPHASTIGHET | Ställ in den högsta tillåtna hastigheten för maskinen under klippning. | |
| KLIPPHASTIGHET FöR PERIMETER | Ställ in den högsta tillåtna hastigheten för maskinen under finklippningssvep. | |
| TRANSPORTHASTIGHET | Ställ in den högsta tillåtna hastigheten för maskinen när den inte klipper. | |
| Maskininfo | ||
| EGET NAMN | Ange ett namn för maskinen. Det används i meddelanden som skickas till arbetsledarens telefon. | |
| Användarinfo | ||
| SPRåK | Ställ in språk för användargränssnittet. | |
| ENHETER | Ställ in måttenheterna för appen. | |
| ÅTERSTäLL INSTäLLNINGARNA TILL FABRIKSINSTäLLNINGAR | Välj för att återgå till fabriksinställningarna. | |
Note: När du har ändrat inställningarna väljer du Spara för att spara inställningarna och startar sedan om maskinen för att aktivera inställningarna.
| Menyobjekt |
| MOBILT NäTVERK > LEVERANTöRENS NAMN |
| MOBILT NäTVERK > ANSLUTNINGSTYP |
| MOBILT NäTVERK > SIGNALKVALITET |
| LOKALISERING > GNSS-STATUS |
| LOKALISERING > GNSS-EXAKTHET |
| LOKALISERING > GILTIGA SATELLITER |
| LOKALISERING > ROVER-SATELLITER |
| LOKALISERING > BASSATELLITER |
| LOKALISERING > RTK-ANSLUTNING |
| LOKALISERING > LOKALISERINGSEXAKTHET |
| NöDSTOPP |
| SENSORER > LIDAR-AVSTåND |
| SENSORER > FRäMRE VäNSTER SONAR |
| SENSORER > BAKRE VäNSTER SONAR |
| SENSORER > BAKRE HöGER SONAR |
| SENSORER > FRäMRE HöGER SONAR |
| SENSORER > öVRE VäNSTER SONAR |
| SENSORER > öVRE HöGER SONAR |
| SENSORER > RADARFäLT I NäRHETEN |
Note: Maskinen kan stanna om fälten SIGNALKVALITET eller RTK-ANSLUTNING visar DåLIG. Maskinen har inte en tillräckligt stark anslutning till det mobila nätverket eller RTK-basstationen för att kunna användas.
| Menyobjekt | Beskrivning | |
| Maskinstatus | ||
| STATUS | Visar maskinens aktuella status. Se Maskinstatusar för en lista över maskinstatusar. | |
| GNSS | Visar kvaliteten på GNSS-signalen. 90 % eller mer är bra. 60 % eller mindre är dåligt. Använd menyn DIAGNOSTIK och listan LOKALISERING för att diagnostisera problem med GNSS/lokalisering. | |
| HASTIGHET | Visar maskinens aktuella hastighet. | |
| Status för uppdraget | ||
| STATUS | Visar status för det aktuella uppdraget, uppdragets förlopp och återstående tid för att slutföra uppdraget. Se Status för uppdraget för en lista över uppdragsstatusar. Om ett uppdrag inte är valt kommer listan att vara tom. | |
| UPPDRAG | Visar ID-numret för det valda uppdraget. | |
| FAIRWAYS | Visar fairways i kön för det aktuella uppdraget samt en förloppsindikator för varje fairway. | |
| MöNSTER | Visar klippmönstret för det aktuella uppdraget. Det kan ta upp till 10 sekunder att ladda. | |
| FöRLOPP | Visar förlopp i procent för det aktuella uppdraget. Det kan ta upp till 10 sekunder att ladda. | |
| ÅTERSTåENDE TID | Visar den beräknade tiden tills uppdraget är slutfört. | |
| FORTSäTT | Knappen visas tio minuter innan maskinen är schemalagd att klippa nästa fairway i uppdraget. Ett textmeddelande skickas till arbetsledarens mobila enhet med en länk till INSTRUMENTPANELEN. Klicka på knappen, läs avtalet för godkännande och välj Godkänn för att låta maskinen fortsätta till nästa fairway. | |
Se följande tabell för innebörden av visningen av maskinstatus:
| Visar | Beskrivning | Lösning (i förekommande fall) |
| Okänt | Okänt fel | Starta om maskinen. Note: Det kan ta upp till fem minuter. |
| Konfiguration | Konfigurationen pågår. | Vänta och håll dig på avstånd från maskinen. |
| Tomgång | Maskinen är inställd på TOMGåNG. | Ställ in läget på antingen MANUELLT eller AUTOMATISKT. |
| Manuellt läge | Maskinen är inställd på MANUELLT läge. | |
| Montering | Maskinen är inställd på AUTOMATISKT läge. | Tryck på Kör och godkänn meddelandet. |
| Väntar på meddelande | Appen väntar på att du ska godkänna meddelandet. | Tryck på Kör och godkänn meddelandet. |
| Kalibrerar | Maskinen initierar autonomt läge. | Vänta i minst tre minuter och håll dig på avstånd från maskinen. |
| I vänteläge | Maskinen är i autonomt läge och går på tomgång. | Planera ett uppdrag och tryck på Kör. |
| Utför | Maskinen utför för närvarande ett uppdrag. | |
| Går till sidostopp | Maskinen parkerar sig själv på sidan av banan. | |
| Går till upphämtning | Maskinen är på väg till upphämtningsplatsen. | |
| Går till punkt | Maskinen är på väg till en punkt som föraren har valt på kartan. | |
| Parkerad | Maskinen är i PARKERAT läge. |
Note: Om lösningen är att vänta bör det räcka med att vänta 30 sekunder för att statusen ska ändras till en annan status. Om inte ska du starta om maskinen.
Se följande tabell för innebörden av visningen av uppdragsstatus:
| Visar | Beskrivning | Lösning (i förekommande fall) |
| Fel | Okänt fel | Starta om maskinen. Note: Det kan ta upp till fem minuter. |
| Montering | Konfigurerar | Vänta. |
| Initierar | Initierar | Vänta. |
| Laddar | Laddar uppdrag | Vänta. |
| Förbereder | Laddar uppdrag | Vänta. |
| Tomgång | Inget uppdrag har valts | Planera ett uppdrag och tryck på Kör. |
| Klippning | Klippning | |
| Pausat | Uppdraget är pausat. | Tryck på Kör för att återuppta uppdraget. |
| Avbrutet | Uppdraget avbröts. | Skapa ett uppdrag. |
| Slutfört | Uppdraget slutfördes. | Planera ett nytt uppdrag och tryck på Kör. |
| Väntar |
Note: Om lösningen är att vänta ska du vänta i tre minuter så att statusen kan ändra till en annan status. Om det inte ändrar ska du starta om maskinen.
Skärmen för INSTRUMENTPANELEN har knappar för att styra maskinen under ett uppdrag.

Diagnostikmeddelanden visas när maskinen genomgår en viktig åtgärd eller stöter på ett fel.
Note: Filtrera meddelanden efter allvarlighetsgrad genom att välja en allvarlighetsgrad med hjälp av knapparna längst upp till höger.
| Symbol | Beskrivning |
Information ![]() | Rådgivande information om viktiga åtgärder. |
Problem ![]() | Det finns ett problem med maskinen, men maskinen kommer att fortsätta köras. |
Fel ![]() | Det finns ett problem med maskinen som hindrar den från att köras. |
| Visar | Beskrivning | Lösning (i förekommande fall) |
| Avbrutet uppdrag ## | Uppdraget har avbrutits av föraren. | Planera ett nytt uppdrag och tryck på Kör. |
| Avbryter uppdrag ## | Uppdraget avbryts av föraren. | Planera ett nytt uppdrag och tryck på Kör. |
| Slutfört uppdrag ## | Uppdraget har slutförts. | Planera ett nytt uppdrag och tryck på Kör. |
| Fel i uppdrag ## | Ett fel uppstod för uppdraget och maskinen kan inte köras. |
|
| Utför uppdrag ## | Uppdraget håller på att utföras. | |
| Initierar uppdrag ## | Uppdraget är på väg att börja utföras. | |
| Laddar uppdrag ## | Uppdraget laddar uppdragsdetaljer. | |
| Pausat uppdrag ## | Uppdraget pausades av föraren. | |
| Anlände till punkten för sidostopp | Maskinen har anlänt till punkten för sidostopp som beordrats av föraren. | |
| Anlände till upphämtningsplatsen | Maskinen har anlänt till upphämtningsplatsen som beordrats av föraren. | |
| Systemet startade | Maskinens nyckel är i det PåSLAGNA läget och ACS-systemet startar. | |
| Anlände till angiven punkt | Maskinen har anlänt till den angivna punkten som valts av föraren. | |
| Kunde inte förbereda uppdraget | Ett fel uppstod för maskinen vid bearbetningen av uppdragsinformationen. | |
| Svårt startläge. | Maskinen befinner sig i ett svårt startläge. | |
| Förbereder genomförandet av uppdrag ## | Uppdraget håller på att bearbetas. | |
| Kartan är tom | All kartdata saknas i databasen. |
| Menyobjekt | Definition |
| KARTDATA |
Ladda ned, exportera och importera kartfiler som används på maskinen. Exportera kartor till andra maskiner i en maskinpark eller, för att förhindra att gräsmattan skrapas upp, importera ytterligare kartor med olika transportvägar till maskinen. Se. Spara och exportera kartdata |
| LOGGAR |
Använd det här avsnittet för att ladda ned loggar från datorn. Det finns alternativ för att ladda ned fullständiga loggar eller bara den senaste loggrapporten. Du kan också logga en viss tidsperiod med hjälp av kontrollerna för fullständig provloggning. Note: Det är inte rekommenderat att ladda ned dessa filer när du använder mobilanslutning eftersom filerna är stora. |
| BRUKSANVISNING |
Klicka på den här länken för att visa bruksanvisningen online. |
| RäKNARE FöR ACS-PRESTANDA |
Visa data relaterade till den autonoma maskinens prestanda och historik. |
| INFORMATION OM PROGRAMVARA |
Visa programvaruversioner för de olika autonoma systemen. |
På InfoCenter-skärmen (Figur 16) visas information om maskinen, till exempel driftstatus, diagnostik och övrig information om maskinen.

Note: Varje knapps funktion kan ändras beroende på vad tillfället kräver. Vid varje knapp visas en ikon som förklarar den aktuella funktionen.
Använd navigeringsknapparna för att navigera mellan flera skärmar och menyalternativ:
Startskärm: visar aktuell maskininformation i några sekunder efter att du har vridit nyckeln till det PåSLAGNA LäGET.
Huvudinformationsskärm (Figur 17): visar aktuell maskininformation när nyckeln är i det PåSLAGNA LäGET.

eReel-motorskärm (Figur 18): visar hastighet och ström för varje klippenhetsmotor.

Skärm för drivmotor (Figur 19): visar den aktuella styrvinkeln och strömstyrkan som tilldelas varje drivmotor.

Huvudmeny: se Förstå menyalternativen för InfoCenter.
![]() | Timmätare |
![]() | Funktionsreglaget är i NEUTRALLäGET. |
![]() | Funktionsreglaget är i TRANSPORTLäGET. |
![]() | Funktionsreglaget är i KLIPPLäGET. |
![]() | Föraren måste sitta på sätet vid drift i manuellt läge. |
![]() | Parkeringsbromsen är inkopplad. |
![]() | Den elektriska parkeringsbromsen är ilagd. |
![]() | Starta motorn. |
![]() | Motor |
![]() | Kraftuttaget är inkopplat. |
![]() | Kraftuttaget (PTO) är urkopplat. |
![]() | Batteri |
![]() | Anger när klippenheterna höjs upp. |
![]() | Anger när klippenheterna sänks ned. |
![]() | Aktiv |
![]() | Inaktiv |
![]() | Föregående |
![]() | Nästa |
![]() | Öka |
![]() | Minska |
![]() | Föregående skärm |
![]() | Nästa skärm |
![]() | Öka värdet |
![]() | Minska värdet |
![]() | Meny |
![]() | Bläddra uppåt/nedåt |
![]() | Bläddra åt vänster/höger |
Öppna huvudmenyn genom att trycka på bakåt-/avslutningsknappen på någon av informationsskärmarna.
Se följande tabeller för en beskrivning av vilka alternativ som finns tillgängliga från menyerna:
| Menyobjekt | Beskrivning |
| FEL | FELMENYN innehåller en lista med de senaste maskinfelen som uppstått. Se servicehandboken eller kontakta en auktoriserad Toro-återförsäljare för mer information om FELMENYN. |
| SERVICE | SERVICEMENYN innehåller information om maskinen såsom antal brukstimmar, beräkningar och kalibrering. Du kan även aktivera klippenhetens förfarande för slipning. Se tabellen för Service. |
| DIAGNOSTIK | DIAGNOSTIKMENYN innehåller en lista över aktuell maskininformation och status. Du kan använda den här informationen för att felsöka vissa problem eftersom den snabbt anger vilka maskinreglage som är på/av och visar kontrollnivåer (t.ex. sensorvärden). Se tabellen för Diagnostik. |
| INSTäLLNINGAR | I menyn INSTäLLNINGAR kan du ändra inställningarna för InfoCenter-skärmen. Se tabellen för Inställningar. |
| MASKININSTäLLNINGAR | I menyn MASKININSTäLLNINGAR kan du justera maskininställningarna, t.ex. cylinderhastighet, maximal klipphastighet och maximal transporthastighet. Se tabellen för Maskininställningar. |
| OM | I menyn OM visas maskinens modellnummer, artikelnummer och programvaruversion. Se tabellen för Om. |
AUTONOMT![]() | Menyn AUTONOMT anger inställningar för att testa maskinens autonoma drift. |
| Menyobjekt | Beskrivning |
| HOURS | Visar det totala antalet timmar som nyckeln, motorn, cylindrarna och slipning har varit påslagna, samt när det är dags för nästa service. |
| BERäKNINGAR | Visar antalet starter, klippningar, tap-off-avstängningar, slipningar och antalet gånger som motorn har dragit runt i längre än 30 sekunder. |
| SLIPNING | Aktiverar/avaktiverar klippenhetens förfarande för slipning (när du aktiverar det här förfarandet kan du avaktivera den här inställningens läge eller vrida nyckeln till det AVSTäNGDA LäGET). |
KALIBRERING ![]() | Möjliggör kalibrering av styrsystemet, drivsystemet och lyftdonen. Se servicehandboken för mer information om kalibrering. |
| Menyobjekt | Beskrivning |
| MOTOR | Anger indata och utdata för start av motorn. |
| 48 V-AKTIVERING | Anger indata och utdata för 48 V-systemet. |
| GENERATOR | Anger indata och utdata för generatorn. |
| HJULDRIVNING | Anger gaspedalens in- och utdata. |
| STYRNING | Anger indata och utdata för styrsystemet. |
| LYFT/SäNK | Anger indata och utdata för höjning och sänkning av klippenheterna. |
| KRAFTUTTAG (PTO) | Anger indata och utdata för aktivering av kraftuttagskretsen. |
CAN-STATISTIK![]() | Anger indata och utdata för CAN. |
| 12 V-SYSTEM | Anger indata och utdata för 12 V-systemet. |
| AUTONOMT | Anger indata och utdata för det autonoma systemet. |
| Menyobjekt | Beskrivning |
| ANGE PIN | Med en PIN-kod kan en person (arbetsledare/mekaniker) som har godkänts av företaget få åtkomst till låsta menyer. |
| BAKGRUNDSBELYSNING | Styr LCD-skärmens ljusstyrka. |
| SPRåK | Styr språken som används på InfoCenter. |
| TECKENSTORLEK | Styr storleken på teckensnittet på InfoCenter. |
| ENHETER | Styr enheterna som används på InfoCenter. Menyalternativen är brittiska standardenheter eller metriska. |
LåS INSTäLLN. ![]() | Styr de skyddade menyerna. |
ÅTERSTäLL STANDARDINSTäLLNINGAR![]() | Återställer InfoCenter till standardinställningarna. |
| Menyobjekt | Beskrivning |
TAP-OFF-AVSTäNGNINGSTID![]() | Styr tap-off-fördröjningen. |
CYLINDERHASTIGHET ![]() | Styr knivhastigheten på klippenheterna. |
LåG HASTIGHET![]() | Justerar hastigheten som sänker ned klippenheterna till marken för klippning. |
SLIPNINGSHASTIGHET ![]() | Styr slipningshastigheten. |
KLIPPSTYRNING ![]() | Slår på/av den automatiska klippstyrningsfunktionen. |
ANTAL KNIVAR ![]() | Ange antalet knivar i varje cylinder. Denna inställning behövs endast om KLIPPSTYRNING är PåSLAGET. |
KLIPPHöJD![]() | Ställ in den önskade klipphöjden. Denna inställning behövs endast om KLIPPSTYRNING är PåSLAGET. |
MAXKLIPPNING ![]() | Ställer in maximal maskinhastighet vid klippning. |
MAXTRANSPORT ![]() | Ställer in maximal maskinhastighet vid transport. |
MAXBACKNING ![]() | Ställer in maximal maskinhastighet när du backar maskinen. |
SAKTA OCH VäNDA ![]() | Aktiverar eller avaktiverar funktionen Sakta och vända. |
TREHJULSDRIFTSATS ![]() | Aktiverar eller avaktiverar trehjulsdrivsatsen. |
| Menyobjekt | Beskrivning |
| MODEL | Visar maskinens modellnummer. |
| Art.nr | Visar maskinens artikelnummer. |
| S/W REV | Visar versionsnumret för masterstyrenheten. |
| Prog.rev ACS | Visar versionsnumret för ACS |
XDM-2700 ![]() | Visar versionsnumret för InfoCenter. |
KLIPPENHET 1![]() | Visar mittklippenhetens programversion. |
KLIPPENHET 2![]() | Visar den främre vänstra klippenhetsmotorns programversion. |
KLIPPENHET 3![]() | Visar den främre högra klippenhetsmotorns programversion. |
GENERATOR![]() | Visar generatorns serienummer. |
HöJNING/SäNKNING 1![]() | Visar programvarans artikelnummer och mittklippenhetens revisionsversion. |
HöJNING/SäNKNING 2![]() | Visar programvarans artikelnummer och den främre vänstra klippenhetens revisionsversion. |
HöJNING/SäNKNING 3![]() | Visar programvarans artikelnummer och den främre högra klippenhetens revisionsversion. |
HJULDRIVNING1![]() | Visar programvarans artikelnummer och den främre högra drivmotorns revisionsversion. |
HJULDRIVNING2![]() | Visar programvarans artikelnummer och den främre vänstra drivmotorns revisionsversion. |
HJULDRIVNING![]() | Visar programvarans artikelnummer och trehjulsdrivsatsens (i förekommande fall) revisionsversion. |
STYRNING![]() | Visar programvarans artikelnummer och den bakre högra drivmotorns revisionsversion. |
| Menyobjekt | Beskrivning |
| EFTERLIKNA KLIPPNING | Autonomt beteende följs, men klippenheterna kopplas inte in. |
| ÅSIDOSäTT ACS-SäNKNING | Autonomt beteende följs, men klippenheterna sänks endast i den utsträckning som tillåts av den NEDRE GRäNSEN. |
| NEDRE GRäNS | Ett procenttal av den sänkta position som kommenderas av ACS. 85 räcker för att observera att klippenheterna kommer att sänkas, men de kommer inte att träffa marken. |
Note:
Låst
under Låsta menyer – endast tillgänglig med PIN-kod.
Se Åtkomst till låsta menyer.
Note: Den fabriksinställda PIN-koden för maskinen är antingen 0000 eller 1234.Om du har ändrat PIN-koden och därefter glömt den nya koden kan du kontakta en auktoriserad Toro-återförsäljare för att få hjälp.
Från HUVUDMENYN bläddrar du ner till menyn INSTäLLNINGAR och trycker på välja-knappen (Figur 20).

I menyn INSTäLLNINGAR bläddrar du till ANGE PIN och trycker på välja-knappen (Figur 21A).

Ange PIN-koden genom att trycka på navigeringsknapparna uppåt eller nedåt tills den rätta första siffran visas. Tryck sedan på höger navigeringsknapp för att gå till nästa siffra (Figur 21B och Figur 21C). Upprepa detta steg tills den sista siffran har angetts.
Tryck på välja-knappen (Figur 21D).
Note: Om PIN-koden accepteras på skärmen och den låsta
menyn låses upp visas
i skärmens övre högra hörn.
Spärra den låsta menyn genom att vrida tändningslåset till det AVSTäNGDA läget och sedan till det PåSLAGNA läget.
I SETTINGS (Inställningar) bläddrar du ner till PROTECT SETTINGS (Lås inställn).
Om du vill visa och ändra inställningarna
utan att ange en PIN-kod använder du välja-knappen och ändrar
inställningen för LåS INSTäLLN. till
(Av).
Om du vill visa och ändra inställningarna
med en PIN-kod använder du välja-knappen för att ändra LåS INSTäLLN. till
(På). Ställ sedan
in PIN-koden och vrid nyckeln i tändningslåset till läget AV och sedan till läget På.

Blinkande rött sken – aktivt fel
Fast rött sken – aktiv rekommendation
Fast blått sken – kalibrerings-/dialogmeddelanden
Fast grönt sken – normal drift
Lysdioderna #1 lyser med fast blått sken och följande meddelanden kan visas när maskinen inte är i manuellt läge. Vänta eller följ instruktionerna på displayen för att använda maskinen:
MASKINEN äR INTE REDO FöR AUTONOM DRIFT
ACS äR INTE REDO. VäNTA
HåLL KNAPPEN FöR AKTIVERING AV AUTONOM DRIFT INTRYCKT I TVå SEKUNDER
AUTONOM DRIFT äR AKTIV. LäMNA MASKINEN OCH ANVäND APPEN
När en maskinfunktion kräver en extra åtgärd visas automatiskt meddelanden till föraren på InfoCenter-skämen eller i övervakningsappen. Om du till exempel försöker starta motorn när gaspedalen är nedtryckt visas ett meddelande som anger att gaspedalen ska vara i NEUTRALLäGET.
För varje meddelande finns det en meddelandekod (bokstav och nummer), ett problem (första raden i meddelandet, t.ex. autonomt läge ej tillåtet, autonomt läge avbröts), en orsak (orsaken till meddelandet som visas) och en åtgärd (andra textraden).
Note: Meddelanden registreras inte i felloggen.
Se följande tabell för alla InfoCenter-meddelanden:
Note: Du raderar meddelanden från InfoCenter-skärmen genom att trycka på någon av knapparna.
| Kod | Problem | Orsak | Åtgärd |
| B2900 | Autonom drift ej tillåten | Parkeringsbromsen åtdragen | Frigör parkeringsbromsen |
| B2901 | Autonom drift ej tillåten | Ej i KLIPPLäGET | För funktionsreglaget till KLIPPLäGET |
| B2902 | Autonom drift ej tillåten | En förare sitter på sätet | Lämna förarsätet |
| B2903 | Autonom drift ej tillåten | Gaspedalen är nedtryckt | Återställ gaspedalen till NEUTRALLäGET |
| B2904 | Autonom drift ej tillåten | Styrspaksbrytaren inkopplad | Koppla ur styrspaksbrytaren |
| B2905 | Autonom drift ej tillåten | Det förekommer rörelse i ratten | Håll ratten stilla |
| B2906 | Autonom drift ej tillåten | Maskinen är inte redo | Vänta eller åtgärda felet |
| B2907 | Autonom drift ej tillåten | ACS är inte redo | Vänta eller åtgärda felet |
| B2908 | Autonom drift ej tillåten | Olika | Konsultera övervakningsappen |
| B2910 | Autonom drift avbröts | Föraren avbröt | Återställ brytaren för autonomt/manuellt läge |
| B2911 | Autonom drift avbröts | Aktivt/aktiva fel | Maskinservice krävs. Åtgärda aktivt/aktiva fel |
| B2912 | Autonom drift avbröts | Förarnärvaro upptäckt | Återställ brytaren för autonomt/manuellt läge |
| B2913 | Autonom drift avbröts | Objekt upptäckt | Återställ brytaren för autonomt/manuellt läge |
| B2914 | Autonom drift avbröts | Olika | Konsultera övervakningsappen |
| B2940 | Autonom drift försämrad | Olika | Konsultera övervakningsappen |
| B2950 | Autonom drift pausad | Olika | Konsultera övervakningsappen |
Se följande tabell för alla meddelanden i övervakningsappen:
| Kod | Problem | Orsak | Åtgärd |
| B2908-1 | Autonom drift nekad | Maskinen är utanför ett AOA | Flytta maskinen till ett AOA |
| B2908-2 | Autonom drift nekad | Kartan är inte giltig |
|
| B2914-1 | Autonom drift avbröts | Högsta tillåtna lutning har överskridits |
|
| B2914-2 | Autonom drift avbröts | Maskinen har lämnat autonom drift |
|
| B2914-3 | Autonom drift avbröts | IMU fungerar dåligt, kan inte köras |
|
| B2914-4 | Autonom drift avbröts | Nödstopp utlöstes | Släpp nödstoppsknappen och återställ autonom drift |
| B2914-5 | Autonom drift avbröts | Främre vänster sonar utlöstes |
|
| B2914-6 | Autonom drift avbröts | Bakre vänster sonar utlöstes |
|
| B2914-7 | Autonom drift avbröts | Bakre höger sonar utlöstes |
|
| B2914-8 | Autonom drift avbröts | Främre höger sonar utlöstes |
|
| B2914-9 | Autonom drift avbröts | Radarfält i närheten utlöstes |
|
| B2914-10 | Autonom drift avbröts | Övre vänster sonar utlöstes |
|
| B2914-11 | Autonom drift avbröts | Övre höger sonar utlöstes |
|
| B2914-12 | Autonom drift avbröts | Brytaren för autonomt/manuellt läge är i manuellt läge |
Återställ brytaren för autonomt/manuellt läge |
| B2940-1 | Prestanda för autonom drift försämrad | Ett hinder i närheten av maskinen påverkar driften |
|
| B2940-2 | Autonom driftprestanda försämrad | PC-temperaturen ligger utanför driftsgränserna | Prestandan kan vara försämrad men maskinen är fullt funktionsdugligKontakta teknisk support om problemet kvarstår |
| B2940-3 | Autonom driftprestanda försämrad | Hjulen slirar |
|
| B2940-4 | Autonom driftprestanda försämrad | IMU-felet ligger utanför driftsgränserna | Prestandan kan vara försämrad men maskinen är fullt funktionsdugligKontakta teknisk support om problemet kvarstår |
| B2940-5 | Autonom driftprestanda försämrad | Avståndet till basstationen ligger utanför driftsgränserna | Prestandan kan vara försämrad men maskinen är fullt funktionsduglig |
| B2940-6 | Autonom driftprestanda försämrad | Ingen anslutning till mobilnätet |
|
| B2940-7 | Autonom driftprestanda försämrad | Lidar-temperaturen ligger utanför driftsgränserna |
|
| B2950-1 | Autonom drift pausad | Avståndet från den aktuella positionen till den senaste positionen för maskinen ligger utanför driftsgränserna |
|
| B2950-2 | Autonom drift pausad | Fel vid navigering |
|
| B2950-3 | Autonom drift pausad | PC-svarstid ligger utanför driftsgränserna | Prestandan kan vara försämrad men maskinen är fullt funktionsdugligKontakta teknisk support om problemet kvarstår |
| B2950-4 | Autonom drift pausad | Basstationens signalkvalitet ligger utanför driftsgränserna |
|
| B2950-5 | Autonom drift pausad | Dålig GNSS RTK-kvalitet |
|
| B2950-6 | Autonom drift pausad | Maskinen är ansluten till en annan basstation än den som användes vid kartläggning |
|
| B2950-7 | Autonom drift pausad | Positionsexakthet utanför driftsgränserna |
|
| B2950-8 | Autonom drift pausad | Lyft/sänk-delsystemet har ett problem |
|
| B2950-9 | Autonom drift pausad | PTO-delsystemet har ett problem |
|
| B2950-10 | Autonom drift pausad | Styrningsdelsystemet har ett problem |
|
| B2950-11 | Autonom drift pausad | Drivningsdelsystemet har ett problem |
|
| B2950-12 | Autonom drift pausad | Ett fel uppstod för uppdraget vid bearbetningen av uppdragsinformationen |
|
| B2950-13 | Autonom drift pausad | Svårt startläge |
Flytta maskinen till ett öppet område för att påskynda driften |
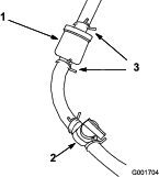
Innan du utför arbete på maskinen eller innan du monterar, avlägsnar eller utför arbete på klippenheterna måste du koppla bort maskinen från strömförsörjningen genom att separera huvudströmkontakterna (Figur 23) som sitter nära vältstångens bas på traktorenhetens vänstra sida. Anslut kontakterna innan du använder maskinen.

Om du inte kopplar bort strömmen till maskinen kan någon av misstag råka starta maskinen, vilket kan leda till allvarliga kroppsskador.
Separera alltid kontakterna innan du utför arbete på maskinen.
Se Figur 25 och Specifikationstabell för mått och vikt.
Note: Specifikationer och konstruktion kan komma att ändras utan föregående meddelande.

| Klippbredd | 151 cm |
| Hjulspår | 134 cm |
| Hjulbas | 127 cm |
| Total längd | 239 cm |
| Total bredd | 185 cm |
| Total höjd | 211 cm |
| Vikt* | 841 kg |
| * Traktorenhet utrustad med klippenheter med åtta knivar, inget bränsle, ingen förare och med standardsäte. | |
Det finns ett urval av godkända Toro-redskap och -tillbehör som du kan använda för att förbättra och utöka maskinens kapacitet. Kontakta en auktoriserad återförsäljare eller en auktoriserad Toro-återförsäljare. En lista över alla godkända redskap och tillbehör finns på www.Toro.com.
Använd endast originalreservdelar och tillbehör från Toro för att garantera optimal prestanda och fortlöpande säkerhet för produkten. Det kan vara farligt att använda reservdelar och tillbehör från andra tillverkare och det kan göra produktgarantin ogiltig.
Arbetsledaren ansvarar för att inspektera maskinen före användning för att säkerställa att den är redo för tillförlitlig drift. Inspektioner inkluderar, men är inte begränsade till, följande:
Kontrollera att sensorerna fungerar korrekt, är rena från damm och skräp och att de är riktade i rätt riktning före maskinen tas i bruk för dagen.
Utför normala driftchecklistor dagligen för maskinen efter behov, före den tas i bruk för dagen. Godkännande finns i appen.
Maskinen arbetar inte autonomt förrän arbetsledaren har godkänt de kriterier som anges i avtalet i övervakningsappen.
Utför eventuella ytterligare underhålls- eller beredskapskontroller som beskrivs i utbildningen eller instruktionerna för maskinen.
Bär alltid med dig den mobila enhet som är ansluten till maskinen via appen för kontroll av autonom drift.
Arbetsledaren ansvarar för att se till att alla faror har kartlagts före autonom drift. Driftområdena måste uppfylla kraven i Kartläggningskrav.
Arbetsledaren är ansvarig för att initiera autonom drift av maskinen från en samlingsplats inom området för autonom drift. Maskinen måste transporteras till samlingsplatsen och tillbaka till förvaringsområdet i manuellt läge av en kvalificerad förare.
Före och under maskindrift är arbetsledaren ansvarig för att inspektera driftområdena (inklusive men inte begränsat till området för autonom drift), det angränsande klippområdet och transportvägarna för att identifiera och avlägsna faror, inklusive, men inte begränsat till, följande:
Föremål inom driftområdet, som pinnar, stenar, skräp, golfutrustning, upphöjda spridare och andra objekt som inte är avsedda att skäras av knivar eller på annat sätt klippas
Kringstående och barn
Områden som inte är avsedda för gräsklippning, som områden under reparation, stillastående vatten, skadade gräsområden osv.
En kvalificerad manuell förare kan behöva klippa med maskinen i manuellt läge om autonom drift av den maskinen begränsas av bland annat följande:
Otillräcklig trådlös signal (t.ex. mobilnät, GNSS-anslutning osv.)
Otillräcklig GNSS-exakthet och/eller RTK-korrigering
Begränsning av driftområdet för maskinen baserat på och identifierat genom platsbedömningen
Område för nära AOA-gränsen eller hinder som inte kan flyttas
Innan du använder gräsklipparen för autonom drift måste följande påståenden vara sanna:
Kvalifikationer för maskinens arbetsledare
Jag är utbildad och Toro-godkänd arbetsledare för autonoma gräsklippare.
Maskinfunktion
Jag har, under de senaste 12 timmarna, verifierat att alla sensorer för objektdetektering är säkert monterade på maskinen, fungerar korrekt och är placerade i rätt riktning.
Note: Kontrollera att sensorerna fungerar som de ska genom att läsa och slutföra stegen i Verifiera objektdetektorsystemet.
Kontrollera att maskinen är på.
Kontrollera att övervakningsappen är ansluten till maskinen.
Gå till sidan DIAGNOSTIK.
Expandera listan Sensorer.
Gå runt maskinen och se till att all lampor blir röda. Bortse från de främre, övre sensorerna eftersom de används för identifiering av stup.
Jag har verifierat att klippcylindrarna är i gott skick för klippning och är fria från skräp och blockeringar. Se Underhålla klippenheten.
Inspektion av platsen i förväg
Jag har inspekterat alla fairways där autonom gräsklippning ska utföras och verifierar därför följande:
Driftområdet är fritt från skräp som kan störa maskinens funktion eller som maskinen kan slunga iväg.
Stillastående vatten, trädgrenar, föremål som inte är gräs, hål, erosion eller liknande har antingen åtgärdats eller tagits bort.
Alla bevattningshuvuden är helt indragna i marken.
Alla förväntade hinder har tagits bort från orådet för autonom drift, inklusive bunkerräfsor, banmarkeringar, skyltar, repstängsel, flyttbara golfbilsmarkeringar och stolpar.
Kringstående och barn befinner sig utanför området för autonom drift.
Omedelbart efter att maskinen har startats
Jag kommer att kontrollera att alla varnande ljudsignaler och visuella varningar på maskinen fungerar som de ska:
Innan maskinen rör sig kommer en summer att avge ett varningsljud i två sekunder.
Under drift i autonomt läge kommer de gula lamporna fram och bak på maskinen att blinka kontinuerligt. Statuslampan för autonom drift kommer att lysa grönt.
Om maskinen inte fungerar som den ska kommer jag att stoppa den omedelbart och åtgärda eventuella problem innan jag återupptar driften.
Om du har problem eller funderingar angående någon av punkterna i den här checklistan kan du läsa bruksanvisningen.
Bränsletankens kapacitet: 18,5 liter
Rekommenderat bränsle: blyfri bensin med oktantal 87 eller högre (klassificeringsmetod (R+M)/2)
Etanol: Bensin som innehåller upp till 10 % etanol (gasohol) eller 15 % MTBE (metyl-tertiär-butyleter) baserat på volym är godkänd. Etanol och MTBE är inte samma sak. Bensin med 15 % etanol (E15) baserat på volym får inte användas.
Använd inte bensin som innehåller mer än 10 % etanol baserat på volym, t.ex. E15 (innehåller 15 % etanol), E20 (innehåller 20 % etanol) eller E85 (innehåller upp till 85 % etanol).
Använd inte bränsle som innehåller metanol.
Förvara inte bränsle i bränsletanken eller i en bränsledunk under vintern om du inte använder en stabiliserare.
Tillför inte olja i bensinen.
Använd endast rent och färskt bränsle (mindre än 30 dagar gammalt) för bästa resultat.
Användning av ej godkänd bensin kan leda till prestandaproblem och/eller skador på motorn som eventuellt inte omfattas av garantin.
Important: Använd inga andra bränsletillsatser än sådana som är avsedda för stabilisering av bränslet. Använd inte alkoholbaserade stabiliserare med t.ex. etanol, metanol eller isopropanol.
Koppla in parkeringsbromsen, stanna motorn, ta ut nyckeln och vänta tills alla rörliga delar har stannat.
Gör rent runt tanklocket och ta bort det (Figur 26).

Fyll på specificerat bränsle i tanken tills det återstår 25 mm till påfyllningsrörets underkant. Det tomma utrymmet i tanken gör att bränslet kan expandera.
Important: Fyll inte tanken helt full.
Sätt tillbaka locket.
Note: Du hör ett klickljud när locket sitter på plats.
Torka upp all utspilld bensin.
Du kan justera följande maskininställningar med InfoCenter:
Tap-off-fördröjning. Se Justera tap-off-fördröjningen.
Cylinderhastighet vid klippning. Se Justera klippcylinderhastigheten.
Cylinderhastighet vid slipning av klippenheterna. Se Justera cylinderhastigheten under slipning.
Klippstyrning. Se Justera klippstyrningsfunktionen.
Klipphöjd. Se Justera klipphöjden.
Antal klippenhetsknivar. Se Justera antalet klippenhetsknivar.
Maximal klipphastighet. Se Justera maximal klipphastighet.
Klippenhet låg hastighet. Se Ställa in Klippenhet låg hastighet.
Maximal transporthastighet. Se Justera den maximala transporthastigheten.
Maximal backningshastighet. Se Justera dem maximala backningshastigheten.
Vänd sakta. Se Ställa in funktionen Vänd sakta.
Avaktivera en monterad sats för trehjulsdrift. Se Avaktivera en monterad sats för trehjulsdrift.
Note: Alla inställningar är lösenordsskyddade. Du kan behöva ange ett lösenord för att redigera inställningarna.
Gå till alternativet TAP-OFF-TID för att justera tap-off-fördröjningen. Funktionen tap-off-fördröjning gör att klippenheterna kan stängas av utan att höjas upp. Fördröjningsinställningen utgör den maxtid som styrspaken för höjning/sänkning ska vara i det bakåtvända läget för att aktivera den här funktionen.
I följande tabell anges tidsalternativen för fördröjning och motsvarande stegantal:
| Stegantal | Fördröjningstid (sekunder) |
| 1 | Av |
| 2 | 0,050 |
| 3 | 0,100 |
| 4 | 0,150 |
| 5 | 0,200 |
| 6 | 0,250 |
| 7 | 0,300 |
| 8 | 0,350 |
| 9 | 0,400 |
| 10 | 0,450 |
Note: Standardfabriksinställningen är 1, vilket inaktiverar denna funktion.
Gå till alternativet CYLINDERHASTIGHET om du vill justera cylinderhastigheten när du klipper. Denna inställning kan justeras när klippstyrningen är AVSTäNGD. Se Ställa in klippstyrningsfunktionen.
I följande tabell anges alternativ för cylinderhastighet och motsvarande stegantal:
| Stegantal | Cylinderhastighet (varv/min) |
| 1 | 800 |
| 2 | 950 |
| 3 | 1 100 |
| 4 | 1 250 |
| 5 | 1 400 |
| 6 | 1 550 |
| 7 | 1 700 |
| 8 | 1 850 |
| 9 | 2 000 |
Note: Standardfabriksinställningen är 1 550 varv/min (steg nummer 6).
Gå till alternativet för LåG HASTIGHET för att ställa in hastigheten som sänker ned klippenheterna till marken för klippning. Du kan växla mellan 1 (lägsta hastighet) och 9 (högsta hastighet).
Testa den lägre hastigheten innan du börjar klippa. Justera hastigheten efter behov.
Note: Standardfabriksinställningen är 5.
Gå till alternativet för SLIPNINGSVARVTAL för att justera cylinderhastigheten under slipning.
I följande tabell anges alternativ för cylinderhastighet och motsvarande stegantal:
| Stegantal | Cylinderhastighet (varv/min) |
| 1 | 200 |
| 2 | 240 |
| 3 | 280 |
| 4 | 320 |
| 5 | 360 |
| 6 | 400 |
| 7 | 440 |
| 8 | 480 |
| 9 | 520 |
Note: Standardfabriksinställningen är 200 varv/min (steg nummer 1).
Maskinen är utrustad med det patentsökta Radius Dependent Speed™-systemet (RDS) för en konsekvent, högkvalitativ klippkvalitet och ett enhetligt resultat. RDS-systemet är en klippstyrnings- och oberoende hjulhastighetsfunktion som varierar cylinder- och drivmotorernas hastighet för att bibehålla en jämn klippkvalitet och förhindra att gräsmattan skrapas upp i vändningar under klippning.
När du vänder maskinen under klippning (t. ex. under finklippningssvepet) roterar cylindern på insidan med ett långsammare varvtal/min i svängen än cylindern på utsidan. Mittcylindern delar upp skillnaden mellan den invändiga och utvändiga cylinderhastigheten så att alla tre klippenheterna klipper på samma sätt. Ju skarpare svängen är, desto större blir skillnaden mellan cylinderhastigheterna. Om maskinens hastighet dessutom ändras under klippningen justerar RDS-systemet cylinderhastigheten för att bibehålla en jämn klippkvalitet. Den här funktionen gör så att gräsmattan inte tunnas ut lika mycket vid cylindern på insidan (jämfört med andra åkgräsklippare för fairway), vilket praktiskt taget eliminerar ringskador i gräset.
RDS-systemet justerar också hjulmotorhastigheten vid vändningar på liknande sätt som cylindermotorhastigheten ändras i vändningar. Hjulmotorn på insidan vänder med ett lägre varvtal/min än hjulmotorn på utsidan. Detta minimerar hjulskrapning i vändningar och minskar ringskador i gräset.
Gå till alternativet KLIPPSTYRNING för att ställa in RDS-systemets funktion.
Klippstyrning PÅ: maskinen använder KLIPPHöJDSINSTäLLNINGARNA och alternativen för ANTAL KNIVAR samt vänster och höger hjulhastigheter för att fastställa varje cylinders hastighet.
Klippstyrning AV: maskinen använder inställningarna för CYLINDERHASTIGHET.
Note: Standardfabriksinställningen är PÅ.
Gå till alternativet justera KLIPPHöJDEN för att justera klipphöjden. Klippstyrningsfunktionen måste vara På för att den här funktionen ska kunna användas. Se Ställa in klippstyrningsfunktionen.
Note: Standardfabriksinställningen är 12,7 mm.
Gå till alternativet ANTAL KNIVAR för att justera antalet klippenhetsknivar. Bestäm antalet knivar i de utrustade klippenheterna och välj lämpligt värde (5, 8, 11 eller 14).
Note: Standardfabriksinställningen är 8.
Gå till alternativet MAXKLIPPNING för att justera den maximala klipphastigheten. Du kan justera hastigheten från 4,8 km/h till 8,0 km/h i steg om 0,3 km/h.
Note: Standardfabriksinställningen är 6,1 km/h.
Gå till alternativet MAXTRANSPORT för att justera den maximala transporthastigheten. Du kan justera hastigheten från 8,0 km/h till 16,0 km/h i steg om 0,8 km/h.
Note: Standardfabriksinställningen är 16,0 km/h.
Gå till alternativet MAXBACKNING för att justera den maximala backningshastigheten. Du kan justera hastigheten från 3,2 km/h till 8 km/h i steg om 0,8 km/h.
Note: Standardfabriksinställningen är 4,0 km/h.
Note: För maskinprogramvaruversionerna A till D är maxhastigheten 4,8 km/h. Uppdatera maskinprogramvaran för att möjliggöra en maxhastighet på 8,0 km/h.
Gå till alternativet SAKTA OCH VäNDA för att ställa in funktionen Vänd sakta. Funktionen för långsam i vändning minskar maskinens hastighet när du svänger med maskinen för att påbörja en ny klippningsomgång.
Note: Standardfabriksinställningen är AV.
Gå till alternativet TREHJULSDRIFTSATS för att avaktivera en monterad sats för trehjulsdrift.
Note: När du monterar satsen för trehjulsdrift aktiveras satsen automatiskt.
När maskinen kalibreras visas dialogmeddelanden i InfoCenter. Dessa meddelanden är avsedda att guida dig genom kalibreringsprocessen.
Följande tabell är en lista över dessa dialogmeddelanden:
| Meddelandenummer | Meddelandetext i InfoCenter |
| 1 | För tillbaka pedalen till neutralläget |
| 4 | För gaspedalen framåt till max och håll den nere |
| 5 | Maximal framåtkalibrering godkändes |
| 9 | Maximal framåtkalibrering misslyckades. Spänning utanför specifikationerna |
| 13 | För gaspedalen bakåt till max och håll den nere |
| 14 | Maximal backningskalibrering godkändes |
| 16 | Maximal backningskalibrering misslyckades. Spänning utanför specifikationerna |
| 17 | Kalibrering misslyckades. Pedalens position okänd |
| 18 | För tillbaka pedalen till neutralläget. Fortsätt? |
| 100 | Kalibrering aktiverad |
| 101 | Kalibrering slutförd |
| 102 | Vrid tändningslåset |
| 110 | Spärra kalibrering. Komponenten svarar ej |
| 111 | Spärra kalibrering. Komponent ej klar |
| 112 | Spärra kalibrering. Aktivt fel |
| 113 | Spärra kalibrering. Inte på plats |
| 114 | Spärra kalibrering. Ej i neutralläge |
| 115 | Spärra kalibrering. I neutralläge |
| 116 | Spärra kalibrering. Parkeringsbromsen är inkopplad |
| 300 | För tillbaka pedalen till neutralläget |
| 301 | Centrera ratten. Fortsätt? |
| 302 | Centrera bakhjulet manuellt. Fortsätt? |
| 303 | Styr bakhjulet maximalt till vänster. Fortsätt? |
| 304 | Styr bakhjulet maximalt till höger. Fortsätt? |
| 305 | Mittbakhjulet utom räckhåll |
| 306 | Bakhjulsvinkel utom räckhåll |
| 400 | Var försiktig: maskinen måste placeras på pallbockar. Fortsätt? |
| 401 | Spärra kalibrering. Kontaktor öppen |
| 402 | Spärra kalibrering. Pedal i neutralläge |
| 403 | För tillbaka pedalen till neutralläget |
| 404 | Vänta tills hjulen stannar |
| 405 | För gaspedalen framåt till max och håll den nere |
| 406 | Kalibrering aktiv. Håll nere pedal |
| 500 | Höjning/sänkning utöka aktiv |
| 501 | Höjning/sänkning dra tillbaka aktiv |
| 502 | För styrspaken till nedsänkt läge |
| 503 | För styrspaken till upphöjt läge |
| 504 | Är klippenheten monterad? Fortsätt? |
| 1100 | Diagnostiska meddelanden om hjuldrivning aktiverat |
| 1101 | Styr diagnostiska meddelanden aktiverat |
| 1102 | Diagnostikmeddelanden om säkerhet aktiverade |
| Underhållsintervall | Underhållsförfarande |
|---|---|
| Varje användning eller dagligen |
|
Innan du startar maskinen för dagen ska du göra följande:
Kontrollera motoroljenivån, se Kontrollera motoroljan.
Kontrollera kontakten mellan cylindern och understålet. Se Kontrollera kontakten mellan cylindern och understålet.
Kontrollera lufttrycket i däcken. Se Kontrollera däcktrycket.
Kontrollera säkerhetssystemet. Se Säkerhetssystemets funktioner.
Kontrollera bränslenivån och tillsätt mer bränsle vid behov. Se Fylla på bränsletanken.
Kontrollera parkeringsbromsens funktion genom att aktivera parkeringsbromsen och se till att den är inkopplad. Se Parkeringsbroms.
Inspektera och rengör sensorerna (vid behov). Se Inspektera sensorer och sensorfästenRengöra sensorerna.
Läs mer om hur du byter olja och om de olika underhållsrutiner som rekommenderas under inkörningsperioden i bruksanvisningen till motorn som levererades med maskinen.
Det tar bara åtta körtimmar att köra in maskinen.
De första körtimmarna är mycket viktiga för maskinens framtida driftssäkerhet, och maskinens funktioner och prestanda bör övervakas noga så att eventuella mindre problem, som kan leda till större problem, upptäcks och kan korrigeras. Inspektera maskinen ofta under inkörningen och leta efter tecken på oljeläckage, lösa fästanordningar och andra fel.
Note: Inspektera områdena under klippenheterna för att försäkra dig om att inget skräp har fastnat i dem.
Sätt i och vrid nyckeln till det PåSLAGNA LäGET.
Vänta tills startskärmen visas i InfoCenter och vrid sedan nyckeln till STARTLäGET tills motorn startar.
När motorn startar tar du bort handen från nyckeln. Nyckeln kommer automatiskt att vridas till det PåSLAGNA LäGET.
Note: Ett fel uppstår om motorn drar runt i mer än 30 sekunder.
Sätt dig i förarsätet och spänn fast säkerhetsbältet.
För funktionsreglaget till KLIPPLäGET.
Koppla ur parkeringsbromsen.
För styrspaken för höjning/sänkning tillfälligt framåt.
Klippenheterna ska i detta läge sänkas ned och alla cylindrar ska rotera.
För styrspaken för höjning/sänkning bakåt.
Klippcylindrarna ska då sluta rotera och klippenheterna ska höjas upp helt till transportläget.
Flytta maskinen till ett plant underlag.
För funktionsreglaget till NEUTRALLäGET.
Koppla in parkeringsbromsen.
Vrid nyckeln till det AVSTäNGDA LäGET för att stänga av motorn.
Ta ut nyckeln.
| Underhållsintervall | Underhållsförfarande |
|---|---|
| Varje användning eller dagligen |
|
Om säkerhetsbrytarna är frånkopplade eller skadade kan maskinen plötsligt aktiveras, vilket i sin tur kan leda till personskador.
Gör inga otillåtna ändringar på säkerhetsbrytarna.
Kontrollera säkerhetsbrytarnas funktion dagligen och byt ut eventuella skadade brytare innan du kör maskinen.
Syftet med säkerhetssystemet är att förhindra att maskinen används om det medför risk för skada på dig eller maskinen.
Säkerhetssystemet förhindrar att maskinen rör sig om inte:
Parkeringsbromsen är urkopplad.
Du sitter i förarsätet (såvida inte maskinen används i autonomt läge).
Funktionsreglaget är i KLIPPLäGET eller i TRANSPORTLäGET.
Dessutom förhindrar säkerhetssystemet cylindrarna från att fungera om funktionsreglaget inte är i KLIPPLäGET (förutom när maskinen befinner sig i slipningsläge).
Aktivera manuellt läge och utför följande steg för att kontrollera säkerhetssystemet:
Res dig ur sätet, starta motorn, koppla ur parkeringsbromsen, för funktionsreglaget till KLIPPLäGET eller TRANSPORTLäGET och trampa ned gaspedalen.
Maskinen ska inte sättas i rörelse eftersom du inte sitter i sätet. Detta indikerar att säkerhetssystemet fungerar korrekt. Åtgärda problemet om något inte fungerar korrekt.
Sätt dig i sätet, starta motorn, koppla in parkeringsbromsen, för funktionsreglaget till KLIPPLäGET eller TRANSPORTLäGET och trampa ned gaspedalen.
Maskinen ska inte sättas i rörelse eftersom parkeringsbromsen är inkopplad. Detta indikerar att säkerhetssystemet fungerar korrekt. Åtgärda problemet om något inte fungerar korrekt.
Sätt dig i sätet, starta motorn, koppla ur parkeringsbromsen, för funktionsreglaget till NEUTRALLäGET och trampa ned gaspedalen.
Maskinen ska inte röra på sig eftersom funktionsreglaget är i NEUTRALLäGET. Detta indikerar att säkerhetssystemet fungerar korrekt. Åtgärda problemet om något inte fungerar korrekt.
Sätt dig i sätet, för gaspedalen till NEUTRALLäGET, för funktionsreglaget till NEUTRALLäGET, koppla in parkeringsbromsen, starta motorn och för styrspaken för höjning/sänkning framåt för att sänka klippenheterna.
Klippenheterna bör sänkas, men ska inte börja rotera. Om de börjar rotera fungerar inte säkerhetssystemet som det ska. Rätta till problemet innan du använder maskinen.
Kontrollera att klippenheterna är i helt upphöjt läge.
Sätt dig i sätet, koppla ur parkeringsbromsen och för funktionsreglaget till TRANSPORTLäGET för att köra maskinen utan att klippa.
Närma dig alltid ojämna områden i låg hastighet, och var försiktig när du korsar vågformade bildningar i terrängen.
Lär dig hur bred maskinen är. Försöka inte att köra mellan två närliggande föremål – då slipper du kostsamma skador och driftstopp.
Genom att ansluta till maskinen via övervakningsappen för Geolink Mow kan du programmera, övervaka och fjärrstyra maskinen.
Ange maskinens serienummer i URL:en för att ansluta till maskinen.
Formatet för URL:en är tacs
Logga in i övervakningsappen för GeoLink Mow med dina inloggningsuppgifter för myTurf.
Note: Om du inte kan ansluta till maskinen ska du kontrollera att maskinen har lagts till i din klubbs inventarium som en resurs. Se programhandboken för myTurf.
Note: Se Förstå menyn Karta för en översikt över kartläggningsfunktioner.
AOA-gränsen bör inte kartläggas under träd eller andra hinder eftersom detta kan förhindra GNSS-kommunikation med maskinen (Figur 29).

AOA:er och CMA:er måste kartläggas medurs. Hål och NOA:er ska kartläggas moturs.
När du kartlägger AOA- eller CMA-gränser ska du påbörja och avsluta gränsen i en rak linje.
Se till att maskinen har en stark GNSS-signal innan du påbörjar en kartläggningsprocess. Se statusrutan för exakthet på sidan KARTA eller i Menyn Diagnostik.
Under kartläggning eller strax före kartläggning bör maskinen inte köras bakåt. Planera noggrant din kartläggningsrutt innan du utför någon kartläggning.
| Punkt-till-punkt | Minsta avstånd |
| Avstånd mellan ett CMA och ett AOA eller ett NOA | 1,5 m |
| CMA-bredd | 4,5 m |
Note: För bästa resultat är det rekommenderade avståndet mellan ett AOA och ett CMA5 m, eftersom detta ger maskinen tillräckligt med utrymme för att utföra effektiva svängar och därför slutföra uppdrag snabbare.

Följ stegen nedan för att kartlägga kursen för autonom klippning:
Kartlägg området för autonom drift (AOA). Se Kartläggning av området för autonom drift.
Kartlägg det angränsande klippområdet (CMA). Se Kartläggning av det angränsande klippområdet.
Kartlägg områden som inte är avsedda för drift (NOA, hål och stolpar). Se Kartläggning av områden som inte är avsedda för drift och Skapa stolpar.
Kartlägg transportvägar. Se Kartläggning av transportvägar.
Skapa upphämtningsplatser. Se Skapa upphämtningsplatser.
Innan du använder gräsklipparen för drift i autonomt läge måste du programmera gränserna för området för autonom drift (AOA) genom kartläggning.
Important: Innan kartläggningen påbörjas ska du inspektera fastigheten och notera eventuella hinder så att området för autonom drift inte innehåller några hinder eller ligger för nära några hinder. Inom området för autonom drift får det inte finnas hinder som maskinen inte kan upptäcka, som kan skada maskinen eller som kan skapa en säkerhetsrisk.Det är arbetsledarens ansvar att se till att alla objekt eller hinder är korrekt kartlagda utanför området för autonom drift. Se Kartläggning av områden som inte är avsedda för drift och Skapa stolpar.Om det finns ett hinder (t.ex. en solid vägg eller oframkomlig terräng) mellan maskinen och någon av farorna som anges i Säkerhetskriterier för platsen för autonom drift ska du se till att gränsen för AOA är inställd på minst 2 m avstånd från hindret.
Note: Vi rekommenderar att du anger en av dina maskiner som primär kartläggningsmaskin för hela banan. Detta skulle vara den enda maskinen i din maskinpark som skapar nya kartlagda områden eller ändrar befintliga kartlagda områden. De andra maskinerna i maskinparken skulle använda kartfilen som skapats av den primära kartläggningsmaskinen.Det är arbetsledarens ansvar att se till att rätt kartfil laddas till varje maskin i en maskinpark.
Anslut till maskinen med hjälp av övervakningsappen för GeoLink Mow.
Tryck på menyknappen i det övre högra hörnet på startskärmen och välj KARTA.
Kör maskinen till den plats där du vill börja kartlägga ditt AOA.
Note: Var uppmärksam på färgen på statusrutorna längst ned till höger på skärmen: Exakthet och Frigång. Om färgen är röd betyder det att maskinen har dålig lokaliseringsexakthet eller upptäcker ett närliggande objekt. Maskinen kan inte kartlägga i det här området. Flytta maskinen till en annan startplats och försök igen.
Note: Det är rekommenderat att börja kartlägga ditt AOA i ett område med igenkännbara markörer, såsom bevattningsflaggor eller andra terrängelement.
Välj AOA från menyn i sidofältet eller den expanderbara röda knappen och sedan Perimeter.
Använd det främre vänstra hörnet av den vänstra klippenheten som markör. Börja med att köra maskinen i en rak linje och kartlägg sedan perimetern för AOA medurs.
När du kartlägger ska du vara uppmärksam på färgen på statusrutorna längst ned till höger på skärmen: Hastighet, Exakthet och Frigång. Om färgen är gul eller röd betyder det att maskinen rör sig för snabbt, har dålig lokaliseringsexakthet eller upptäcker ett närliggande objekt. Sakta ner maskinen, stanna och vänta, eller flytta till en annan plats och försök kartlägga igen.
Grönt betyder att maskinen ligger inom de optimala kartläggningsparametrarna.
Gult betyder att maskinen närmar sig gränserna för kartläggningsparametrarna.
Rött innebär att maskinen eventuellt inte har registrerat gränsen, har dålig lokaliseringsexakthet eller upptäcker ett närliggande objekt.
När du är nära början av AOA-linjen ska du sakta ner maskinen och välja Spara.
Välj Ja i dialogrutan.
Tryck på knappen Spara för att spara gränsen.
Uppdatera kartan för att visa slutfört AOA.
Håll utkik efter eventuella kartläggningsfel och åtgärda efter behov.
Kör maskinen till ett område inom AOA där du vill börja kartlägga ditt angränsande klippområde (CMA).
Note: För optimal prestanda bör CMA-gränsen vara minst 5 m från AOA-gränsen. Detta kommer att leda till god effektivitet i svängar under autonom drift. Se Kartläggningskrav för minimikraven för avstånd, men förvänta dig lägre effektivitet i svängar och längre uppdragstider.
Tryck på den röda knappen längst ned till höger på skärmen.
Välj CMA i menyn och sedan Perimeter.
Använd det främre vänstra hörnet av den vänstra klippenheten som markör. Börja med att köra maskinen i en rak linje och kartlägg sedan perimetern för CMA medurs.
Note: Var uppmärksam på färgen på statusrutorna längst ned till höger på skärmen: Hastighet, Exakthet och Frigång. Om färgen är gul eller röd betyder det att maskinen rör sig för snabbt, har dålig lokaliseringsexakthet eller upptäcker ett närliggande objekt. Sakta ner maskinen, stanna och vänta, eller flytta till en annan plats och försök kartlägga igen.
Grönt betyder att maskinen ligger inom de optimala kartläggningsparametrarna.
Gult betyder att maskinen närmar sig gränserna för kartläggningsparametrarna.
Rött innebär att maskinen eventuellt inte har registrerat gränsen, har dålig lokaliseringsexakthet eller upptäcker ett närliggande objekt.
När du är nära början av CMA-linjen ska du sakta ner maskinen och välja Spara.
Välj Ja i dialogrutan.
Tryck på knappen Spara för att spara gränsen.
Kartlägg spelriktningen (D.O.P) för fairway:
Kör maskinen till en startpunkt var som helst inom CMA.
Välj D.O.P och kör gräsklipparen 5 m i spelriktningen.
Välj Spara.
Kartlägg mittlinjen:
Kör maskinen till en punkt som är 1 m från CMA-gränsen i någon ände av fairway.
Välj mittlinje och kör maskinen längs mitten av fairway.
Note: Se till att mittlinjen sträcker sig 1 m utanför CMA i båda ändarna av fairway.
När maskinen har passerat den andra änden av CMA väljer du Spara.
Om du vill skapa ett område där maskinen kan köra men inte klippa väljer du Hål, kör moturs runt området och väljer Spara.
Välj Spara igen för att spara ditt CMA.
Håll utkik efter eventuella kartläggningsfel och åtgärda efter behov.
Klicka på felet om du vill visa ytterligare information om felet och platsen för felet.
Important: Områden som inte är avsedda för drift bör användas för att kartlägga stora objekt eller hinder, såsom träd, bunkrar, bevattningsboxar, överliggande hinder osv, eller mindre hinder som maskinen inte kan upptäcka, såsom ledningar, som finns inom AOA. Det är arbetsledarens ansvar att se till att alla objekt eller hinder har kartlagts före autonom drift. Följ kraven i Kartläggningskrav.NOA:er kan inte kartläggas direkt inom ett CMA. Skapa ett hål i CMA först innan du kartlägger NOA.
För att skapa ett område i ett hål i ett CMA som maskinen aldrig kommer att passera ska du köra till hålet, välja NOA, köra moturs runt området och välja Spara.
För att skapa ett område i ett AOA men utanför CMA som maskinen aldrig kommer att passera ska du köra till området utanför CMA, välja NOA, köra moturs runt området och välja Spara.
Important: Stolpar är NOA:er med liten diameter (1 m) som hindrar maskinen från att passera genom AOA-områden som innehåller ett litet objekt, såsom stolpar, avlopp eller bevattningslådor. Flera stolpar kan skapas nära varandra för att bilda en barriär.
Från menyn KARTA väljer du Stolpe.
När det främre vänstra hörnet av den vänstra klippenheten är nära det hinder du vill kartlägga väljer du Punkt och Spara.
En röd cirkel som representerar stolpen visas på din karta.
Transportvägar är vägar som gräsklipparen följer när den rör sig mellan driftområden. Transportvägarna måste vara minst 3,5 m breda.
Kör maskinen till en punkt inom ett AOA där du vill att transportvägen ska börja.
Note: Transportvägar kan börja var som helst inom ett AOA, inklusive inuti ett CMA, men för bästa prestanda är det rekommenderat att du påbörjar vägen nära AOA-gränsen.
Från menyn KARTA väljer du Väg.
När du är redo att kartlägga väljer du Väg och kör den exakta rutten du vill att maskinen ska följa mellan två AOA:er.
När maskinen är inne i det andra AOA-området och du är nöjd med vägen väljer du Spara.
En orange linje som representerar transportvägen visas på kartan.
Upphämtningsplatser är områden inom AOA:er där föraren lämnar/hämtar maskinen när som helst under klippningen. AOA:er kan skapas specifikt för upphämtningsplatser och anslutas till en fairway med hjälp av transportvägar. Från övervakningsappen kan föraren instruera maskinen att när som helst återgå till denna plats.
Kör maskinen till ett område inom ett AOA där du vill skapa en upphämtningsplats.
Välj Hämta, Punkt ochSpara.
Upphämtningsplatsen kommer att skapas vid positionen för det främre vänstra hörnet av den vänstra klippenheten.


I menyn KARTA väljer du knappen Kartlager.
Alternativen Sammanfattning, Exakthet och Objektdetektering visas.
| Lager | Beskrivning |
| Sammanfattning | Visar driftområden, transportvägar, upphämtningsplatser och stolpar. Visar också betydande problem med exakthet och objektdetektering. |
| Exakthet | Visar GNSS- och RTK-exakthet för de kartlagda områdena. |
| Objektdetektering | Visar om maskinen har identifierat närliggande objekt i de kartlagda områdena. |
Välj det kartlager som du vill visa.
Från menyn KARTA väljer du en punkt på CMA-delen av en fairway för att öppna fönstren Fairway, Egenskaper, Mittlinje och Hål.
I fönstret Egenskaper ändrar du namnet på fairway eller spelriktningsvinkeln.
Välj Spara.
Använd funktionen jämna ut för att ge mittlinjen i en klassisk klippning ett bättre utseende. För att justera hur mittlinjen är dragen ska du ta bort mittlinjen och skapa en ny.
I fönstret Mittlinje väljer du Jämna ut eller Ta bort.
I fönstret Fairway tar du bort alla kartlagda funktioner genom att välja papperskorgsikonen bredvid dem.
Note: Se till att dessa områden kartläggs igen och att eventuella fel åtgärdas innan du påbörjar ett uppdrag.
I fönstret Hål kan du visa eller ta bort kartlagda hål.
Välj +Lägg till för att skapa ett hål.
Ett uppdrag är en sekvens av fairwayuppgifter. När maskinen har slutfört ett uppdrag kommer den omedelbart att påbörja nästa uppdrag. Om det inte finns några fler uppdrag kommer den att köra åt sidan på den sista fairwayen, såvida inte föraren instruerar den att flytta sig någon annanstans.
Anslut till maskinen med hjälp av övervakningsappen för GeoLink Mow.
På startskärmen trycker du på knappen UPPDRAG.
Välj knappen + Nytt uppdrag.
Välj den eller de fairways som du vill klippa från din lista över kartlagda CMA:er.
Note: Välj fairways i den ordning som du vill att de ska klippas.
Note: Se till att alla CMA:er i ett uppdrag är anslutna via AOA:er eller transportvägar.
Välj ett klippmönster från Favoriter eller skapa ett nytt klippmönster i Anpassa.
Ange en arbetsledares telefonnummer och välj knappen Spara.
Note: Detta gör att maskinen kan skicka varningar via textmeddelande om den stoppas och kräver manuell inblandning från arbetsledaren.
Välj Spara.
Om gräsklipparen går på tomgång under detta steg påbörjar gräsklipparen uppdraget.
Note: När du har sparat ett uppdrag kommer uppdraget att visas under UPPDRAG.
Tryck på knappen UPPDRAG.
När du har valt Nytt uppdrag väljer du Anpassa under avsnittet Val av klippmönster.
Tre mönsteralternativ visas: Ränder, klassisk eller finklippning.
Alternativen för ränder är:
| Alternativ | Definition |
| Relativ/absolut | Om maskinen använder spelriktningen eller absoluta grader som referenspunkt |
| Riktningstyp (-180 till 180 eller 0 till 360) | Gradskillnad jämfört med det alternativ som valts ovan. Till exempel, när relativ är vald, skulle inmatning av 40 få maskinen att klippa i en vinkel på 40 ° (medurs) bort från spelriktningen. Negativa värden gör att maskinen klipper i en riktning moturs mot spelriktningen.40 ° i absoluta grader skulle få maskinen att klippa i en vinkel på 40 ° från geografisk nord. |
| Flera rader | Styr bredden på ränderna. Kan vara upp till fem maskinbredder bred |
| Inverterad | Styr riktningen på klippsträckorna |
| Finklippning | Om du aktiverar den här inställningen kommer maskinen att utföra finklippningssvep |
| Optimera svängar | Om du aktiverar den här inställningen kommer maskinen att utföra svängar av liknande storlek i slutet av varje klippsträcka |
Alternativen för klassisk är:
| Alternativ | Definition |
| Riktning | Styr om gräsklipparen ska klippa fairway medurs eller moturs |
| Rensning | Om du aktiverar den här inställningen kommer maskinen att utföra finklippningssvep |
Alternativet för finklippning är:
| Alternativ | Definition |
| Riktning | Styr om gräsklipparen ska utföra finklippningssvep medurs eller moturs |
Ange ett telefonnummer till arbetsledarens mobila enhet och välj Spara för att spara uppdraget.
Innan gräsklipparen används för drift i autonomt läge måste objektdetektorsystemet kontrolleras för att säkerställa att det fungerar korrekt.
Sätt i och vrid nyckeln till det PåSLAGNA läget.
Anslut till maskinen med hjälp av övervakningsappen för GeoLink Mow.
Tryck på knappen DIAGNOSTIK.
Expandera Objektdetektering.
Gå runt till varje sensor på maskinen
och se till att cirkeln för varje motsvarande sensor i objektdetektorlistan blir röd
på skärmen.
Se Produktöversikt för en fullständig översikt över alla sensorer.
Om du kliver en bit bort från maskinens framsida
ska Radarfält långt borta bli gult
.
När du har verifierat att alla sensorer fungerar
ska du flytta dig bort från maskinen. Alla positioner i objektdetektorlistan ska bli gröna
.
| Färg | Beskrivning |
![]() | Ingen anslutning till enheten. |
![]() | Systemet överför inte data. |
![]() | Systemets prestanda är bra eller så upptäcker maskinen inga hinder i närheten. |
![]() | Systemets prestanda är dålig eller så upptäcker maskinen hinder i närheten, men maskinen kan användas. |
![]() | Systemet hindrar maskinens drift. Inspektera den felaktiga delen, åtgärda problemet eller flytta maskinen till en annan plats. |
Koppla ur parkeringsbromsen.
Ställ in funktionsreglaget på KLIPPLäGET
Lös eventuella aktiva maskinfel.
Lämna förarsätet och flytta dig till baksidan av maskinen. Se till att du befinner dig utanför riskområdet för klippning.
Tryck och håll brytaren för autonomt/manuellt läge i detAUTONOMA läget i två sekunder.
Vänta tills statuslampan för autonom drift lyser med fast grönt sken och maskinen piper två gånger. Detta indikerar att autonomt läge är aktivt.
Maskinen kan nu användas med hjälp av övervakningsappen.
Se till att alla sensorer fungerar korrekt. Se Verifiera objektdetektorsystemet.
Flytta maskinen till ett AOA.
Aktivera autonomt läge. Följ stegen i Aktivera autonomt läge
Från menyn INSTRUMENTPANEL i övervakningsappen trycker du på knappen Kör.
Important: Om du utför ett uppdrag på en fairway för första gången ska du observera maskinen för att säkerställa att den följer uppdraget innan du fokuserar på andra uppgifter.
Godkänn avtalet som visas för att påbörja uppdraget.
Tryck på knappen UPPDRAG. Skapade uppdrag kommer att visas på sidan.
Aktiva uppdrag har en timer i form av ett timglas och en sammanfattning av informationen för uppdraget.
Välj ett av uppdragen på sidan. Ytterligare information om det valda uppdraget visas.
| Visar | Beskrivning |
| Uppdrag # | Visar numret för uppdraget |
| Status | Se Instrumentpanel – Uppdragsstatusar |
| Starttid | När uppdraget påbörjades |
| Sluttid | När uppdraget förväntas vara slutfört |
| Klippt område | Total yta som maskinen har klippt hittills |
| Tillryggalagd sträcka | Sträcka som maskinen har kört hittills |
| Arbetstid | Hur länge det aktuella uppdraget har varit aktivt |
| Förlopp | Visar slutförda uppdrag i procent |
| Mönster | Visar namnet på mönstret för det aktuella uppdraget |
| Egenskaper | Visar egenskaper för det valda klippmönstret. Se Skapa ett anpassat klippmönster |
Sensorerna på maskinen upptäcker hinder och får automatiskt maskinen att sakta ner eller stanna om de aktiveras. Maskinen övervakar tre zoner: det framförliggande området, riskzoner och identifiering av stup.

| Figur 33referens | Mått |
| A | 8 m |
| B | 3 m |
Om maskinen känner av ett statiskt objekt inom det framförliggande området kommer maskinen att börja sakta ner och de gula lamporna börjar blinka med högre frekvens. När maskinen har närmat sig objektet och det befinner sig precis utanför en riskzon, börjar maskinen gå på tomgång, kraftuttaget (PTO) kopplas ur och maskinen skickar ett textmeddelande till arbetsledarens mobila enhet efter en minut. När arbetsledaren har tagit bort objektet kan han eller hon återuppta uppdraget på distans med hjälp av sin mobila enhet.
Om maskinen plötsligt känner av ett objekt inom ett riskområde stannar maskinen omedelbart, kraftuttaget kopplas ur, motorn stängs av och maskinen övergår till PARKERAT läge och skickar ett textmeddelande till arbetsledaren. Arbetsledaren måste sedan ta bort objektet och manuellt vrida på brytaren för autonomt/manuellt läge för att återuppta uppdraget.
Identifiering av stup upptäcker om maskinen stöter på ett farligt stup. Om maskinen stöter på osäker terräng kommer den omedelbart att övergå till PARKERAT läge och skicka ett textmeddelande till arbetsledaren. Arbetsledaren måste sedan manuellt köra maskinen till ett säkert område och vrida på brytaren för autonomt/manuellt läge för att återuppta uppdraget.
Important: Systemet för identifiering av stup bör aldrig aktiveras om hinder är korrekt kartlagda av arbetsledaren.Kör ett testuppdrag för att observera eventuella problem med stup. Skapa nya AOA:er, CMA:er eller NOA:er så att maskinen undviker dessa områden med stup.
Övervakningsappen har en funktion för att exportera och dela kartfiler mellan maskiner i en maskinpark.
Important: Vi rekommenderar att du anger en av dina maskiner som primär kartläggningsmaskin för banan. Detta bör vara den enda maskinen i din maskinpark som skapar nya kartlagda områden eller ändrar befintliga kartlagda områden.Det är arbetsledarens ansvar att se till att rätt kartfil laddas till varje maskin i en maskinpark.
Sätt i och vrid nyckeln till det PåSLAGNA läget på den primära kartläggningsmaskinen. Vänta två minuter.
Anslut till maskinen med hjälp av övervakningsappen för GeoLink Mow.
I den översta menyraden trycker du på knappen HJäLP.
Tryck på knappen Exportera kartdatabas för att skapa och ladda ned en kopia av kartfilen.
På så vis sparas en kopia av kartfilen till nedladdningar på din enhet.
Importera kartfilen till andra maskiner i din maskinpark:
Sätt i och vrid nyckeln till det PåSLAGNA läget för varje icke-primär maskin.
Anslut till varje maskin med hjälp av övervakningsappen för GeoLink Mow.
I den översta menyraden trycker du på knappen INSTäLLNINGAR.
Stäng av Lås karta.
I den översta menyraden trycker du på knappen HJäLP.
Tryck på knappen Ta bort ALLA kartdata.
Note: Se till att det inte finns några aktiva uppdrag innan du trycker på knappen.
Tryck på knappen Välj fil och öppna filen du tidigare laddade ner till din enhet.
Tryck på knappen Importera kartdatabas.
I menyn INSTäLLNINGAR aktiverar du Lås karta.
Upprepa de här stegen för alla maskiner i maskinparken.
Om det autonoma styrsystemet inte är tillgängligt eller inte fungerar som det ska, kan det vara nödvändigt att kringgå systemet för att manuellt kunna manövrera maskinen.
Ta bort den högra kåpan för det elektriska systemet. Se Hitta säkringarna för 12 V-systemet.
Lokalisera kontakten på huvudmaskinkablaget och montera loopback-anslutningen.

Innan du använder maskinen för att klippa gräs ska du öva på grundläggande maskinfunktioner (t.ex. starta och stanna maskinen, höja och sänka klippenheterna och svänga) i ett öppet område.
Inspektera området, leta efter skräp och avlägsna allt som skulle kunna skada klippenheterna under klippning. Avlägsna flaggan från koppen och avgör i vilken riktning det är bäst att klippa. Utgå från föregående klippriktning när du bestämmer ny klippriktning. Klipp alltid ett annat mönster än det du klippte senast eftersom det minskar grässtrånas benägenhet att lägga sig ned, och ökar chanserna att de blir klippta.
Starta i ena kanten av greenen, så att du kan använda bandklippningsproceduren.
Note: Den ger minimal komprimering och efterlämnar ett snyggt och prydligt mönster på greenen.
För funktionsreglaget till KLIPPLäGET.
För styrspaken för höjning/sänkning av klippenheterna framåt när klippenheternas främre kanter korsar gräsmattans ytterkant.
Note: Då släpps klippenheterna ned på gräset och cylindrarna startas.
Important: Eftersom den mittersta klippenheten sänks och höjs något efter att de främre klippenheterna sänks/höjs bör du öva dig på att uppnå en bra tajming som gör att du slipper klippa rester i efterhand.Höjning och sänkning av mittklippenheten baseras på markhastighet. En långsammare markhastighet ökar fördröjning av höjning eller sänkning, och en snabbare hastighet minskar fördröjning av höjning eller sänkning. Maskinen övervakar markhastigheten och uppdaterar fördröjningen så att alla tre klippenheterna sänks ned på rad.
Överlappa den tidigare klippremsan så lite som möjligt under nästkommande vända.
Note: Etablera en tänkt siktlinje ca 1,8 till 3 m framför maskinen till kanten av den oklippta delen av greenen så att du klipper i en rak linje och håller maskinen på ett jämnt avstånd till förra klippvändans kant (Figur 36). Inkludera rattens ytterkant i siktlinjen, dvs. håll rattkanten i linje med en punkt som alltid är på samma avstånd från maskinens framkant.
När gräskorgarnas främre del går över gräsmattans ytterkant drar du styrspaken för höjning/sänkning bakåt och håller kvar den i det läget tills klippenheterna är upphöjda. Då stannar cylindrarna och klippenheterna höjs upp.
Important: Tajma den här proceduren rätt för att undvika att klipparna klipper i puttgreenområdet, men samtidigt klipper så mycket som möjligt av greenen för att minimera den mängd gräs som lämnas runt det yttre gränsområdet.
Du kan förkorta arbetstiden och underlätta uppställningen inför nästa klippvända genom att tillfälligt vända maskinen i motsatt riktning och sedan vända den i riktning mot den oklippta delen. Den här rörelsen utgör en droppformad sväng (Figur 35) som snabbt placerar dig i läge för nästa klippsträcka.
Note: Om funktionen Vänd sakta är aktiverad saktar maskinen ned under vändningen utan att du behöver släppa på trycket mot gaspedalen.

Note: Försök att göra så små svängar som möjligt. I varmt väder är det dock bra att göra en större sväng för att minimera skador på gräsytan.

Important: Stanna aldrig maskinen på en gräsmatta, särskilt inte när klippenheterna är igång – det kan skada gräsytan. Om du stannar maskinen på en våt gräsmatta kan hjulen lämna märken eller fördjupningar i gräset efter sig.
Avsluta greenklippningen med att klippa det yttre gränsområdet. Byt klippriktning i förhållande till den föregående klippningen.
Se Klippa det yttre gränsområdet och avsluta arbetet för att förbättra slutresultatet och minska ringskador.
Note: Anpassa alltid klippningen efter väder- och gräsförhållanden, och var noga med att byta klippriktning i förhållande till den föregående klippningen.
När du har klippt klart det yttre gränsområdet ska du föra styrspaken för höjning/sänkning bakåt för att stoppa cylindrarna (om tap-off-fördröjningsfunktionen är aktiverad) och sedan köra till gräsmattan. När samtliga klippenheter befinner sig utanför klippområdet för du styrspaken för höjning/sänkning bakåt för att höja upp klippenheterna.
Note: Detta minimerar mängden gräsklumpar på greenen.
Sätt tillbaka flaggan.
| Underhållsintervall | Underhållsförfarande |
|---|---|
| Varje användning eller dagligen |
|
Tvätta maskinen ordentligt efter klippning med en trädgårdsslang utan munstycke, så att det höga vattentrycket inte orsakar föroreningar eller skadar på tätningar, lager eller elektronik. Tvätta aldrig en varm motor eller elanslutningarna med vatten.
Important: Använd inte bräckt eller återvunnet vatten (gråvatten) när du gör rent maskinen.
Important: Tvätta inte maskinen med högtryckstvätt. Högtryckstvättar kan skada elsystemet, viktiga dekaler kan lossna eller fett som behövs vid friktionspunkterna kan tvättas bort. Vattnet kan då ta sig in under tätningar och förorena olja eller höljen med fettinnehåll. Undvik att använda alltför mycket vatten nära kontrollpanelen, motorn och batteriet.
Important: Tvätta inte maskinen medan motorn är i gång. Om du tvättar maskinen medan motorn är i gång kan interna skador uppstå i motorn.
Important: För inte in vatten i ljuddämparen. Vatten inuti ljuddämparen kan leda till interna motorskador eller att motorns prestanda minskar.
Inspektera klippenheterna så att de är skarpa efter att du har rengjort maskinen.
Var försiktig när du lastar på eller av maskinen från en släpvagn eller lastbil.
Använd en ramp i fullbredd när du lastar maskinen på en släpvagn eller lastbil.
Bind fast maskinen så att den sitter säkert med spännband, kedjor, vajrar eller rep. Både den främre och den bakre spännremmen ska riktas nedåt och ut från maskinen (Figur 37).

Stäng bränslekranen när maskinen har säkrats för transport.
Note: Detta förfarande beskrivs i Figur 38.

Du måste utföra följande förfarande för att bogsera maskinen och frigöra bromscylindern:
Koppla in parkeringsbromsen.
Ta ut nyckeln och koppla ur huvudströmkontakterna.
Important: Om huvudströmkontakterna är anslutna under bogsering kan elektriska skador uppstå.
Stäng bränslekranen.
Blockera framdäckens båda sidor med klossar.
Frigör spänning från fjädern genom att lossa muttern som fäster öglebulten på fjäderfästet.
Ta bort fjädern.
För in en spärr (â…œ tum) genom hålet i armfästet och tryck in manövreringsaxeln.
När manöverdonet frigörs från bromsen kan maskinens hjul rotera fritt. En maskin i frihjulsläge kan orsaka allvarliga personskador bland kringstående.
Koppla in parkeringsbromsen om maskinen inte bogseras.
Koppla in parkeringsbromsen.
Ta bort blockeringen från hjulen.
Om trehjulsdrivsatsen finns monterad ska du koppla loss satskablagekontakterna från huvudkablaget.
Important: Om satsen och maskinkablagen är anslutna under bogsering kan elskador uppstå.
Koppla ur parkeringsbromsen när maskinen är redo att bogseras.
Se till att någon sitter i sätet, spänn fast säkerhetsbältet och använd bromsen när du bogserar maskinen.
Note: Detta säkerställer att maskinen är under kontroll när du bogserar den över ojämnheter och sluttningar.
Använd den bakre hjulgaffeln för att bogsera maskinen (Figur 39).
Important: Överskrid inte 5 km/h när du bogserar maskinen. Skador på elektriska komponenter kan uppstå.

När du har bogserat maskinen till slutdestinationen ska du utföra följande steg:
Koppla in parkeringsbromsen.
Ta bort dragremmen från hjulgaffeln.
Förbered för drift genom att dra åt öglebultmuttern så att fjäderlängden är 11,4 cm när den är monterad (Figur 38).
Du kan köra maskinen med hjälp av maskinens batteri. Den här funktionen kan användas i följande scenarier:
Flytta maskinen inne i verkstaden.
Flytta maskinen från gräsmattan om motorn slutar fungera.
Maskinen kan endast transporteras – det går inte att aktivera klippenheterna. Den här funktionen varar i 1 minut. Du kan vrida tändningslåset för att ställa om transporttiden.
Sätt dig i förarsätet och spänn fast säkerhetsbältet.
Vrid nyckeln till det PåSLAGNA LäGET.
För funktionsreglaget till KLIPPLäGET eller TRANSPORTLäGET.
Koppla ur parkeringsbromsen.
Använd gaspedalen för att transportera maskinen.
Note: Den framåtriktade markhastigheten är begränsad till 4,8 km/h och backningshastigheten är begränsad till 4,0 km/h.
Important: Överdriven eller långvarig användning av denna funktion kan minska batteriernas livslängd.
| Underhållsintervall | Underhållsförfarande |
|---|---|
| Efter de första 8 timmarna |
|
| Efter de första 50 timmarna |
|
| Varje användning eller dagligen |
|
| Var 25:e timme |
|
| Var 50:e timme |
|
| Var 100:e timme |
|
| Var 200:e timme |
|
| Var 800:e timme |
|
| Var 1000:e timme |
|
| Vartannat år |
|
Kopiera sidan och använd den regelbundet.
| Kontrollpunkt | Vecka: | ||||||
|---|---|---|---|---|---|---|---|
| Mån. | Tis. | Ons. | Tors. | Fre. | Lör. | Sön. | |
| Kontrollera att säkerhetssystemet fungerar. | |||||||
| Kontrollera instrumentfunktionen. | |||||||
| Kontrollera bromsens funktion. | |||||||
| Kontrollera oljenivån i motorn. | |||||||
| Kontrollera bränslenivån. | |||||||
| Rengör motorkylflänsarna. | |||||||
| Inspektera luftfiltrets förrenare. | |||||||
| Kontrollera ovanliga motorljud. | |||||||
| Kontrollera däcktrycket. | |||||||
| Kontrollera justeringen av cylinder mot understål. | |||||||
| Kontrollera klipphöjdsinställningen. | |||||||
| Bättra på skadad lack. | |||||||
| Inspektera sensorerna och sensorfästena. | |||||||
| Tvätta maskinen. | |||||||
| Anteckningar om särskilda problem | ||
| Kontrollen utförd av: | ||
| Artikel | Datum | Information |
Mekaniska eller hydrauliska domkrafter kan eventuellt inte stötta upp maskinen, vilket kan resultera i allvarliga personskador.
Stötta upp maskinen med pallbockar.
Använd endast mekaniska eller hydrauliska domkrafter för att höja upp maskinen.
Placera en domkraft vid önskad domkraftspunkt (Figur 40):
Fotsteg på maskinens vänstra sida
Domkraftsfäste på maskinens högra sida
Hjulgaffel på maskinens bakre del

När du har höjt maskinen ska du använda en lämplig pallbock under följande delar för att stötta upp maskinen (Figur 41):
Batterilådor på maskinens bakre del
Klippenhetens ledfästen på maskinens främre del

| Underhållsintervall | Underhållsförfarande |
|---|---|
| Var 25:e timme |
|
| Var 100:e timme |
|
| Var 200:e timme |
|
Kontrollera skumplast- och pappersinsatserna, och byt ut dem om de är skadade eller väldigt smutsiga.
Important: Olja inte in skumplast- eller pappersinsatsen.
Parkera maskinen på ett plant underlag, sänk ned klippenheterna och koppla in parkeringsbromsen.
Stäng av motorn och ta ut nyckeln.
Gör rent omkring luftrenaren så att inte smuts faller ned i motorn och orsakar skador (Figur 43).
Lossa på kåpans vred och ta bort luftrenarkåpan (Figur 43).
Lossa på slangklämman och ta bort luftrenarenheten (Figur 43).
Dra försiktigt loss skumplastinsatsen från pappersinsatsen (Figur 43).

Tvätta skumplastinsatsen med flytande tvål och varmt vatten. Skölj ordentligt när den är ren.
Torka insatsen genom att krama den i en ren trasa.
Important: Vrid inte skumplastinsatsen, då kan den gå sönder.Byt ut skumplastinsatsen om den är trasig eller sliten.
Rengör pappersinsatsen genom att knacka försiktigt på den för att få bort damm. Om pappersinsatsen är mycket smutsig bör den bytas ut (Figur 43).
Inspektera och leta efter sprickor, oljebeläggning eller skador på gummitätningen.
Byt ut pappersinsatsen om den är skadad.
Important: Rengör inte pappersfiltret.
Important: Kör alltid motorn med både skumplast- och pappersinsatserna monterade för att undvika skador på motorn.
Motorn levereras med olja i vevhuset. Du måste dock kontrollera oljenivån innan motorn startas första gången och även efteråt.
API-klassificering för oljeservice: SJ eller högre
Oljeviskositet: SAE 30
Note: Du kan använda alla typer av högkvalitativa, renande oljor.
| Underhållsintervall | Underhållsförfarande |
|---|---|
| Varje användning eller dagligen |
|
Motorer kan bli extremt varma vid normal drift.
Låt motorn svalna innan du kontrollerar oljan eller utför något motorunderhåll.
Detta förfarande beskrivs i Figur 44.
Parkera maskinen på ett plant underlag, sänk ned klippenheterna, koppla in parkeringsbromsen, stäng av motorn och ta ut nyckeln.
Skruva ut oljestickan och torka av den med en ren trasa.
Sätt tillbaka oljestickan i oljesticksröret.
Dra ut oljestickan ur röret och kontrollera oljenivån.
Om oljenivån är låg ska du fylla på med olja i motorn genom oljesticksröret tills oljenivån når upp till FULLMARKERINGEN på oljestickan.
Fyll sakta på oljan och kontrollera nivån med jämna mellanrum.
Important: Fyll inte på för mycket olja i motorn.
Sätt i oljestickan.


| Underhållsintervall | Underhållsförfarande |
|---|---|
| Efter de första 8 timmarna |
|
| Var 100:e timme |
|
Motorer kan bli extremt varma vid normal drift.
Låt motorn svalna innan du byter olja eller oljefilter, eller innan du utför något motorunderhåll.
Oljevolym i motorn: 1,7 liter med filter
Ta bort avtappningspluggen (Figur 45) och låt oljan rinna ned i ett avtappningskärl.

Rengör avtappningspluggens gängor och sätt i avtappningspluggen (Figur 45).
Avlägsna oljefiltret (Figur 46).


Stryk på ett tunt lager ren olja på den nya filterpackningen.
Skruva på filtret för hand tills packningen nuddar vid oljefilteradaptern, och dra sedan åt det ytterligare 3/4–1 varv. Dra inte åt för hårt.
Fyll på olja i vevhuset, se Kontrollera motoroljan.
Kassera oljefiltret och oljan på korrekt sätt.
| Underhållsintervall | Underhållsförfarande |
|---|---|
| Var 100:e timme |
|
Motorer kan bli extremt varma vid normal drift.
Låt motorn svalna innan du utför service på tändstiftet eller utför något motorunderhåll.
Se till att mellanrummet mellan mitt- och sidoelektroderna är korrekt innan tändstiftet monteras. Använd en tändstiftsnyckel vid demontering och montering och ett bladmått för kontroll och justering av mellanrummet. Montera vid behov nya tändstift.
Typ av tändstift: NGK® BPR4ES eller motsvarande
Luftgap: 0,75 mm
Parkera maskinen på ett plant underlag, sänk ned klippenheterna och koppla in parkeringsbromsen.
Stäng av motorn och ta ut nyckeln.
Lokalisera tändstiftslocken.
Rengör området runt tändstiftslocken så att inte främmande partiklar faller ned i cylindern.
Lossa tändstiftslocken från tändstiften (Figur 47).

Ta bort tändstiften från motorn.
Important: Byt alltid ut tändstiftet om det har en svart beläggning, slitna elektroder, en oljefilm eller sprickor.
Rengör tändstiftet med en stålborste för att avlägsna eventuella kolrester.
Använd förgasarrengöringsmedel för att tvätta kontakten och se till att alla främmande föremål har avlägsnats.
Kontrollera att tändstiften inte har några sprickor, slitna elektroder, svart beläggning eller oljiga filmer eller andra slitage eller skador.
Byt vid behov ut tändstiftet. Byt ut alla tändstift även om endast ett av dem behöver bytas ut.
Kontrollera tändstiftets luftgap och korrigera vid behov. För att ändra gapet ska du endast böja sidoelektroden med hjälp av ett tändstiftsverktyg.
Ställ in gapet till 0,75 mm.

Om isolatorn är ljust brun eller grå fungerar motorn korrekt. En svart beläggning på isolatorn betyder vanligen att luftrenaren är smutsig.
Detta förfarande beskrivs i Figur 49.
Montera tändstiftet i motorn.
Dra åt tändstiftet till 22 Nm.
Sätt tillbaka tändstiftslocken.

| Underhållsintervall | Underhållsförfarande |
|---|---|
| Var 1000:e timme |
|
Inline-bränslefiltret är beläget mellan bränslekranen och motorn.
Under vissa förhållanden är bränsle extremt brandfarligt och mycket explosivt. Brand eller explosion i bränsle kan orsaka brännskador på dig och andra och materiella skador.
Töm bränsletanken på bränsle när motorn är kall. Gör det utomhus på en öppen plats. Torka upp eventuellt utspillt bränsle.
Rök aldrig när du tömmer ut bränsle och håll dig borta från öppen eld eller platser där ångorna kan antändas av gnistor.
Stäng bränslekranen (Figur 50).

Placera ett avtappningskärl under filtret, lossa slangklämman på filtrets förgasarsida och ta bort bränsleslangen från filtret (Figur 50).
Lossa den andra slangklämman och ta bort filtret.
Kontrollerar att bränsleslangarna inte har några sprickor, försämringar eller skador och byt ut dem vid behov.
Montera det nya filtret så att pilen på filterstommen pekar bort från bränsletanken.
Säkerställ att slangarna och slangklämmorna är fästa på filtret.
Öppna bränslekranen och fyll på tanken. Kontrollera att bränsleslangarna inte har några läckor eller lösa anslutningar.
| Underhållsintervall | Underhållsförfarande |
|---|---|
| Vartannat år |
|
Kontrollera om bränsleledningarna har skadats eller försämrats på något annat sätt, eller om det finns lösa anslutningar.
Huvudströmkontakterna förser maskinen med ström från batterierna. Koppla bort strömmen genom att separera kontakterna. Anslut strömmen genom att montera ihop kontakterna. Se Huvudströmkontakter.
Felaktig dragning av batterikablarna kan skada maskinen och kablarna samt orsaka gnistor. Gnistor kan få batterigaserna att explodera, vilket kan leda till personskador.
Lossa alltid batteriets minuskabel (svart) innan du lossar pluskabeln (röd).
Anslut alltid pluskabeln (röd) innan du ansluter minuskabeln (svart).
12 V-AGM-batteriet (Absorbed Glass Mat) (Figur 51) driver InfoCenter, bromscylindern, maskinens styrenhet och CAN-isoleringsmodulen.

Avlägsna den högra sidokåpan.
Ta bort batterikåpan.
Koppla bort batterikablarna från batterierna.
Anslut laddaren till batteripolerna och ladda batteriet.
Observera följande information om batteriladdaren:
Säkerställ att batteriladdarens kontakter inte kommer i kontakt med varandra eller med maskinramen. Vi rekommenderar att du använder små kontakter.
En batteriladdare med en AGM-laddningsinställning är att föredra.
Maximal laddningsström: 2,4 A
Maximal laddningsspänning: 14,3 V
Anslut batterikablarna till batteriet när laddningen är klar.
Montera batterikåpan över batteriet.
Montera den högra sidokåpan.
Important: 48 V-batterisystemet bör ej laddas.
48 V-batterisystemet består av fyra batterier (12 V, AGM [absorberad glasmatta]). Batterierna är placerade under kåpor på vardera sidan av maskinen. Se Figur 52. Det här systemet förser drivhjulen, klippenhetsmotorerna, styrmotorn och lyftdonen med ström.

Säkringarna i elsystemet på 48 V sitter under sätet (Figur 53).

| Underhållsintervall | Underhållsförfarande |
|---|---|
| Varje användning eller dagligen |
|
Justera däcktrycket på alla tre hjul till lägst 0,83 bar och högst 1,10 bar, beroende på underlaget.
Important: Säkerställ att däcktrycket är identiskt för varje däck. Om däckens däcktryck skiljer sig åt påverkas maskinens prestanda.
| Underhållsintervall | Underhållsförfarande |
|---|---|
| Efter de första 8 timmarna |
|
| Var 200:e timme |
|
Om hjulmuttrarna inte dras åt ordentligt kan det leda till personskada.
Dra åt hjulmuttrarna till angivet moment och med angivna intervall.
Momentspecifikation för hjulmutter: 108 till 122 Nm
Säkerställ jämn fördelning genom att dra åt hjulmuttrarna enligt mönstret i Figur 63.

| Underhållsintervall | Underhållsförfarande |
|---|---|
| Efter de första 8 timmarna |
|
| Var 800:e timme |
|
Vätskespecifikation: SAE 80W90
Växellådans oljekapacitet: cirka 384 ml
Höj upp maskinen. Se Höja upp maskinen.
Important: Maskinen måste stå plant så att rätt mängd vätska kan fyllas på i växellådan.Säkerställ att maskinen står plant på pallbockarna.
Utför följande steg för att ta bort vänster och höger däck:
Lossa och ta bort hjulmuttrarna (Figur 64).

Ta bort vänster och höger däck.
Placera ett avtappningskärl under hjulmotorn (Figur 65).

Ta bort pluggen från avtappningsöppningen (Figur 65).
Note: Avtappningsöppningen sitter på växellådans undersida.
Note: Töm ut all olja från växellådan.
Rengör pluggen.
Montera avtappningspluggen i avtappningsöppningen (Figur 65).
Ta bort luftningsslangen och nippeln från växellådans ovansida (Figur 66).

Fyll växellådan med 384 ml av den angivna vätskan i påfyllningsöppningen.
Montera luftningsslangen och nippeln i påfyllningsöppningen (Figur 66).
Montera däcken genom att utföra följande steg:
Skjut på vänster och höger däck på hjulnaven.
Montera hjulmuttrarna (Figur 64).
Dra åt hjulmuttrarna till det åtdragningsmoment som anges i Kontrollera hjulmuttrarnas åtdragning.
Om bromsen inte kan hålla maskinen på plats när den är parkerad kan du justera bromsarna. Kontakta en auktoriserad Toro-återförsäljare eller se servicehandboken för mer information.
En sliten eller skadad kniv eller understål kan gå sönder, och den trasiga delen kan slungas ut mot dig eller någon kringstående, vilket kan leda till allvarliga personskador eller innebära livsfara.
Kontrollera regelbundet att knivarna och understålen inte är utslitna eller skadade.
Var försiktig när du kontrollerar knivarna. Använd skyddshandskar och var försiktig när du underhåller cylindrarna. Knivarna och understålen får endast bytas ut eller slipas – de ska aldrig rätas ut eller svetsas.
Var försiktig när du roterar en klippenhet i maskiner med flera klippenheter, så att inte cylindrarna i de övriga klippenheterna också börjar rotera.
Note: När klippenheterna inte är anslutna till maskinen ska klippenheternas cylindermotorer förvaras i förvaringsutrymmet framför upphängningsarmarna för att förhindra att de skadas.
Important: Höj inte upp fjädringen till transportläget när cylindermotorerna sitter i hållarna på maskinens ram. Underlåtenhet att följa detta råd kan leda till skador på motorerna eller slangarna.
Important: Om du behöver tippa klippenheten ska du stötta upp klippenhetens bakdel så att muttrarna på underknivsstångens justerskruvar inte vilar mot arbetsytan (Figur 67).

Om du vidrör en varm motor eller ljuddämpare kan du få allvarliga brännskador.
Låt en varm motor eller ljuddämpare svalna innan du monterar klippenheterna.
Fjädringen måste sänkas för att klippenheterna ska kunna monteras. Utför följande steg för att sänka ned fjädringen:
Parkera maskinen på en ren och plan yta.
Placera funktionsreglaget i NEUTRALLäGET.
Starta motorn eller vrid nyckeln till det PåSLAGNA LäGET.
Sänk ned fjädringen med hjälp av styrspaken för höjning/sänkning.
Koppla in parkeringsbromsen, stäng av motorn och ta ut nyckeln.
Montera klippenheterna genom att utföra följande steg:
Koppla loss huvudströmkontakterna. Se Huvudströmkontakter.
Om du inte kopplar bort strömmen till maskinen kan någon av misstag starta klippenheterna och orsaka allvarliga hand- och fotskador.
Koppla alltid bort huvudströmkontakterna innan du utför arbete på klippenheterna.
Placera klippenheten under mittupphängningsarmen.
Öppna spärrarna på upphängningsarmstången (Figur 68) och tryck ned upphängningsarmen så att stången passar över klippenhetens båda lyftarmar, och se till så att spärrarna går under klippenhetens tvärslå (Figur 69).


Fäll spärrarna nedåt och runt klippenhetsstången och lås dem på plats (Figur 68).
Note: Du kommer att höra ett klick och känna när spärrarna har låsts på plats.
Stryk på rent fett på klippenhetsmotorns räfflade axel (Figur 70).
För in motorn på vänster sida av klippenheten (sett från förarsätet) och dra motorfäststaget på klippenheten mot motorn tills du hör ett klickljud från båda sidorna av motorn (Figur 70).

Upprepa denna procedur på de övriga klippenheterna.
Anslut huvudströmkontakterna. Se Huvudströmkontakter.
Om du vidrör en varm motor eller ljuddämpare kan du få allvarliga brännskador.
Låt en varm motor eller ljuddämpare svalna innan du monterar klippenheterna.
Parkera maskinen på en ren, plan yta, placera funktionsreglaget i NEUTRALLäGET och sänk ned klippenheterna med styrspaken för höjning/sänkning.
Koppla in parkeringsbromsen, stäng av motorn och ta ut nyckeln.
Koppla loss huvudströmkontakterna. Se Huvudströmkontakter.
Om du inte kopplar bort strömmen till maskinen kan någon av misstag starta klippenheterna och orsaka allvarliga hand- och fotskador.
Separera och koppla alltid loss huvudströmkontakterna innan du utför arbete på klippenheterna.
Tryck ut motorfäststaget från motorns skåror och mot klippenheten. Ta bort motorn från klippenheten.

Flytta motorn till förvaringsutrymmet framför upphängningsarmen (Figur 72).

Note: Förvara klippenheternas cylindermotorer i förvaringsutrymmet framför upphängningsarmarna när du slipar knivarna, ställer in klipphöjden eller utför andra underhållsprocedurer på klippenheterna, så att de inte tar skada.
Important: Höj inte upp fjädringen till transportläget när cylindermotorerna sitter i hållarna på maskinens ram. Underlåtenhet att följa detta råd kan leda till skador på motorerna eller slangarna. Om du måste flytta traktorenheten när klippenheterna inte är monterade fäster du dem på upphängningsarmarna med kabelband.
Öppna spärrarna på upphängningsarmstången på den klippenhet som du tar bort (Figur 68).
Lossa spärrarna från klippenhetsstången.
Rulla ut klippenheten under upphängningsarmen.
Upprepa steg 4 till 8 för de övriga klippenheterna vid behov.
Anslut huvudströmkontakterna. Se Huvudströmkontakter.
| Underhållsintervall | Underhållsförfarande |
|---|---|
| Varje användning eller dagligen |
|
Kontrollera kontakten mellan cylindern och understålet dagligen innan du använder maskinen, även om klippkvaliteten har varit acceptabel. Det måste finnas lätt kontakt mellan hela cylindern och understålets fulla längd. Se klippenhetens bruksanvisning.
Innan du kontrollerar cylindrarna ska du koppla loss huvudströmkontakterna. Se Huvudströmkontakter. Anslut dem när du är klar.
Det kan resultera i personskador att vidröra understålen, cylinderknivarna eller andra rörliga delar.
Håll fingrarna, händerna och kläderna på avstånd från understålen, cylinderknivarna eller rörliga delar.
Försök aldrig att vrida cylindrarna för hand eller med fötterna när motorn är igång.
Parkera maskinen på ett plant underlag, sänk ned klippenheterna, för funktionsreglaget till NEUTRALLäGET, koppla in parkeringsbromsen, stäng av motorn och ta ut nyckeln.
Utför de första justeringarna av cylinder mot understål som är nödvändiga inför slipning på samtliga klippenheter som du vill slipa. Se klippenhetens bruksanvisning.
Sätt i nyckeln i tändningslåset och starta motorn.
På InfoCenter öppnar du menyn SERVICE och väljer SLIPNING.
Ställ in SLIPNING till På.
Öppna huvudmenyn och bläddra ned till inställningarna.
I INSTäLLNINGSMENYN bläddrar du till SLIPNINGSVARVTAL och använder ±-knappen för att välja önskat slipningsvarvtal.
För funktionsreglaget till NEUTRALLäGET och för styrspaken för höjning/sänkning framåt för att påbörja slipning av utvalda cylindrar.
Stryk på slippasta med en långskaftad borste. Använd aldrig en borste med kort skaft.
Om cylindrarna stannar eller går ojämnt vid slipning kan du välja en högre hastighetsinställning tills hastigheten stabiliseras.
Om du vill justera klippenheterna under slipning stänger du av cylindrarna genom att föra styrspaken för höjning/sänkning bakåt och stänga av motorn. Upprepa steg 3 till 9 när du är klar med justeringarna.
Upprepa proceduren för alla klippenheter som ska slipas.
När du är klar ändrar du tillbaka inställningen förSLIPNING i InfoCenter till det AVSTäNGDA LäGET, eller vrider nyckeln till det AVSTäNGDA LäGET för att göra maskinen redo för att klippa framåt igen.
Tvätta av all slippasta från klippenheterna. Justera klippenhetscylindern mot understålet efter behov. För klippenhetens cylinderhastighetsreglage till önskat klippläge.
Important: Använd inte högtrycksvatten för att rengöra klippenheterna. Det kan skada lager och tätningar.
| Underhållsintervall | Underhållsförfarande |
|---|---|
| Varje användning eller dagligen |
|

Sensorer eller sensorfästen som är böjda eller trasiga ökar risken för ett felaktigt objektdetektorsystem, vilket kan orsaka allvarliga skador eller dödsfall.
Om sensorer eller sensorfästen är böjda eller trasiga ska du reparera eller byta ut dem omedelbart.
Inspektera sensorerna och sensorfästena före autonom användning av maskinen.
| Underhållsintervall | Underhållsförfarande |
|---|---|
| Varje användning eller dagligen |
|
Rengör sensorerna när det finns märkbara ansamlingar av skräp eller när de inte fungerar.
Undvik att rengöra sensorerna i onödan eftersom det kan skada sensorn.
Se Figur 73 för sensorernas placering.
Important: Använd inte högtrycksvatten när du rengör någon av sensorerna.
Använd Simple Green®-rengöringsmedel eller annan liknande mild tvål för att rengöra sonar- eller radarsensorerna från eventuella rester eller skräp.
Note: Undvik att använda hårt vatten när du rengör LiDAR-sensorn.
Avgör lämplig rengöringsmetod:
Leta efter de första fem tecknen i serienumret på sensorn. Serienumret finns på en dekal på undersidan av sensorn.
Om de första fem tecknen är mellan AE001 och AE229 fortsätter du till steg 2.
Om de första fem tecknen är AE230 eller högre fortsätter du till steg 3 eller 4.
Rengör med tvålvatten.
Använd en sprayflaska med rent, varmt vatten och lossa skräp från sensorns lins.
Important: Torka inte direkt bort smuts eller skräp från sensorn. Detta kan repa linsen.
Torka försiktigt av sensorn med en mikrofiberduk med varmt, milt tvålvatten.
Note: Torka längs linsens kurva i stället för upp och ner på sensorn.
Spraya sensorn med rent vatten för att skölja bort eventuell kvarvarande tvål och torka sedan med en ren mikrofiberduk.
Rengör med isopropylalkohol.
Använd en sprayflaska med rent, varmt vatten och lossa skräp från sensorns lins.
Important: Torka inte direkt bort smuts eller skräp från sensorn. Detta kan repa linsen.
Använd isopropylalkohol och en ren mikrofiberduk för att torka bort eventuell kvarvarande smuts eller skräp från sensorn.
Torka försiktigt av sensorn med en mikrofiberduk med varmt, milt tvålvatten.
Note: Torka längs linsens kurva i stället för upp och ner på sensorn.
Spraya sensorn med rent vatten för att skölja bort eventuell kvarvarande tvål och torka sedan med en ren mikrofiberduk.
Rengör med optikrengöring från NACL.
North American Coating Laboratories (NACL) har tagit fram en rengöringslösning för särskilda optiska enheter. Den kan beställas direkt från dem med hjälp av följande information:
NACL-artikelnummer: 98-0020
NACL-beskrivning: NACL Precision Optics Cleaner, 180 ml
Spraya lösningen NACL Precision Optics Cleaner på en ren och torr mikrofiberduk.
Torka försiktigt av sensorn längs linsens kurva istället för upp och ner.
Om du planerar att ställa maskinen i förvar under en längre tidsperiod ska du först utföra stegen i Förbereda maskinen för förvaring.
Förvara om möjligt maskinen på en torr och varm plats.
Batterierna – vare sig de är installerade eller borttagna från maskinen – måste förvaras i en lämplig miljö:
Rekommenderad förvaringstemperatur är mellan 10 och 25 °C.
Lagring vid extrema temperaturer leder till accelererad självurladdning.
Om temperaturen förväntas sjunka långt under fryspunkten under en längre tid ska du ta ut batterierna ur maskinen och förvara dem i en varmare miljö.
Koppla loss huvudströmkontakterna. Se Huvudströmkontakter.
Ta bort smuts och gammalt gräsklipp som har ansamlats. Slipa vid behov cylindrarna och understålen. Se bruksanvisningen till klippenheterna. Smörj in understålen och cylinderknivarna med rostskyddsmedel.
Töm bränsletanken på allt bränsle. Kör motorn tills den stannar. Byt ut bränslefiltret. Se Byta ut bränslefiltret.
Töm oljan i vevhuset medan motorn fortfarande är varm. Fyll det med färsk olja. Se Byta motoroljan och filtret.
Ta bort tändstiften, häll 30 ml olja av typen SAE 30 i cylindrarna och dra runt motorn så att oljan fördelas. Byt ut tändstiften. Se Utföra service på tändstiftet.
Tvätta bort smuts och beläggningar från cylindern, kylflänsarna och utblåsarhöljet.
Koppla bort batterikablarna från 12 V-batteriet.
Säkerställ att 12 V-och 48 V-batterierna är fulladdade. Du hittar anvisningar för batteriladdning i servicehandboken för traktorenheten.
Kontrollera batteriladdningsnivån samt ladda batterierna var sjätte månad vid förvaring.
Höj och palla upp maskinen så att dess vikt inte vilar mot däcken.