| Huoltoväli | Huoltotoimenpide |
|---|---|
| Aina ennen käyttöä tai päivittäin |
|
Tämä kone on ajettava kelateräruohonleikkuri, joka on tarkoitettu ammattimaiseen kaupalliseen käyttöön. Se on tarkoitettu pääasiassa nurmikkoalueiden ruohonleikkuuseen. Tuotteen käyttäminen muuhun kuin sen aiottuun käyttötarkoitukseen voi olla vaarallista käyttäjälle ja sivullisille.
Autonomisessa tilassa tätä robottikelateräruohonleikkuria on tarkoitus käyttää kaupallisissa kohteissa ammattimaisten työnvalvojien ohjaamaan autonomiseen nurmenhoitoon kaupallisessa käytössä. Se on suunniteltu ensisijaisesti ruohon leikkaamiseen viheralueilta kiinteistöissä, jotka täyttävät kohdassa Autonomiseen käyttöön soveltuvan alueen arviointikriteerit kuvatut Toron vaatimukset. Tuotteen käyttäminen muuhun kuin sen aiottuun käyttötarkoitukseen voi olla vaarallista käyttäjälle ja sivullisille.
Lue nämä tiedot huolellisesti, jotta oppisit käyttämään ja huoltamaan laitetta asianmukaisesti sekä välttämään tapaturmia ja tuotevaurioita. Olet itse vastuussa tuotteen asianmukaisesta ja turvallisesta käytöstä.
Osoitteessa www.Toro.com on lisätietoja, jos tarvitset esimerkiksi turvallisuuteen liittyviä vinkkejä, käyttökoulutukseen liittyviä materiaaleja, tietoja lisävarusteista tai lähimmästä jälleenmyyjästä tai jos haluat rekisteröidä tuotteesi.
Aina kun tarvitset huoltoa, alkuperäisiä Toro-varaosia tai lisätietoja, ota yhteys valtuutettuun Toro-jälleenmyyjään. Ota tällöin tuotteesi malli- ja sarjanumerot valmiiksi esiin. Kuva 1 näyttää laitteen malli ja sarjanumeron sijainnin. Kirjoita numerot annettuun tilaan.
Important: Skannaa sarjanumerokilvessä (jos varusteena) oleva QR-koodi mobiililaitteella, niin saat tuotetietoja sekä takuu- ja varaosatietoja.

Tässä oppaassa ja koneessa käytettävä varoitusmerkintä (Kuva 2) huomauttaa tärkeistä turvallisuuteen liittyvistä tiedoista, joita on noudatettava onnettomuuksien estämiseksi.

Varoitusmerkintä sijaitsee vaarallisista toimista tai tilanteista varoittavien tietojen yläpuolella, ja sitä seuraa sana VAARA, VAROITUS tai HUOMIO.
VAARA ilmaisee välittömän vaaratilanteen, joka johtaa kuolemaan tai vakavaan loukkaantumiseen, jos sitä ei vältetä.
VAROITUS ilmaisee mahdollisesti vaarallisen tilanteen, joka voi johtaa kuolemaan tai vakavaan loukkaantumiseen, jos sitä ei vältetä.
HUOMIO ilmaisee mahdollisesti vaarallisen tilanteen, joka saattaa johtaa vähäiseen tai kohtalaiseen loukkaantumiseen, jos sitä ei vältetä.
Lisäksi tässä käyttöoppaassa käytetään kahta seuraavaa termiä tietojen korostamiseksi. Tärkeää kiinnittää huomiota mekaanisiin erikoistietoihin ja Huomautus korostaa erityishuomion ansaitsevia yleistietoja.
Tämä kone on suunniteltu toimimaan kahdessa toimintatilassa:
Manuaalinen tila: Koneen käyttötila, jossa käyttäjä ohjaa koneen toimintoja.
Autonominen tila: Koneen toimintatoimintatila, jossa se suorittaa sille määritettyihin tehtäviin liittyviä toimintoja ilman käyttäjän toimia. Sen sijaan toimintaa valvoo pätevä työnvalvoja.
Noudata näitä ohjeita, kun konetta (koneita) käytetään soveltuvassa paikassa autonomisessa tilassa.
Suora reitti on reitti, jota kone tai koneet voivat seurata ilman esteitä autonomisessa tilassa toimiessaan.
Este estää konetta tai koneita toimimasta jatkuvasti autonomisessa tilassa. Esineiden tunnistusjärjestelmä on tarkoitettu pysäyttämään kone, kun se havaitsee jonkin seuraavista esteistä:
Aidat (kuten umpinainen seinä tai verkkoaita, köysiaidat ja väliaikaiset aidat eivät ole riittäviä esteitä)
Tukimuurit
Yhtenäiset pensasaidat tai kasvillisuusrivit, joiden korkeus on yli 1 m tai joissa ei ole koneen leveyttä suurempia aukkoja
Ojat
Purot
Järvet
Rakennukset
Koneille liian jyrkät rinteet
Mikä tahansa muu kulkukelvoton maasto, jossa kone ei voi fyysisesti liikkua
Autonominen käyttöalue (AOA) on työnvalvojan määrittelemä alue, jolla kone tai koneet voivat seurata suoraa reittiä toimiessaan autonomisessa tilassa.
Kielletty käyttöalue (NOA) on työnvalvojan määrittelemä alue, jossa kone tai koneet eivät saa seurata suoraa reittiä toimiessaan autonomisessa tilassa.
Hyväksyttävä alue täyttää kaikki edellytykset, jotka on esitetty kohdassa Autonomisen käyttöalueen turvallisuusedellytykset.
Ennen kuin annat koneen toimia autonomisessa tilassa, varmista, että AOA:n raja on määritetty vähintään 10 metrin päähän seuraavista vaaroista:
Note: Vaihtoehtoisesti, jos koneen ja jonkin seuraavan vaaran välillä on este (kuten kiinteä seinä tai kulkukelvoton maasto), varmista, että AOA:n raja on asetettu vähintään 2 metrin päähän esteestä.
Yleinen tie on tie, jolla ajoneuvot (kuten autot, mönkijät ja polkupyörät) saavat liikkua, mutta jalankulkijat eivät.
Jos julkiset alueet tai polut on suljettu yleisöltä autonomisen toiminnan aikana, yllä määriteltyjä AOA-alueen rajoituksia ei sovelleta.
Julkinen pyörätie on kaikkien käytettävissä oleva reitti, jolla voi liikkua kevyillä kaksipyöräisillä kulkuneuvoilla (kuten polkupyörillä ja potkulaudoilla) milloin tahansa.
Jos julkiset alueet tai polut on suljettu yleisöltä autonomisen toiminnan aikana, yllä määriteltyjä AOA-alueen rajoituksia ei sovelleta.
Yleinen jalankulkureitti on kaikille avoin yleinen reitti, jolla ajoneuvot eivät ole sallittuja.
Jos julkiset alueet tai polut on suljettu yleisöltä autonomisen toiminnan aikana, yllä määriteltyjä AOA-alueen rajoituksia ei sovelleta.
Syvä hiekkaeste tai jyrkkä penger on hiekkakuoppa tai syvennys, jonka syvyys on vähintään 1,5 m ja joka sijaitsee enintään 1,0 m etäisyydellä kuopan reunasta.
Huoltotiloihin kuuluvat rakennukset ja niihin liittyvät ulkoalueet, joilla vain alueen henkilökunta huoltaa ja varastoi laitteita ja koneita. Huoltotiloihin tai niihin liittyviin ulkotiloihin ei ole pääsyä yleisöllä eikä alueen henkilöstöllä, joka ei osallistu laitteiden huoltoon.
Yksityisalue on mikä tahansa alue, johon sinulla ei ole pääsyä.
Important: Liian jyrkkiä rinteitä voidaan sisällyttää AOA:n sisäpuolelle tai alle 10 metrin päähän AOA:n rajasta, mutta niiden ympärillä on oltava NOA-raja.
Mittaa kaltevuuskulmat asettamalla 1,25 m pitkä lauta rinteen jyrkimmän kohdan päälle ja asettamalla sitten kaltevuusmittari laudan päälle.
Älä anna koneen/koneiden toimia autonomisessa tilassa tässä määritellyillä liian jyrkillä rinteillä,
Älä käytä konetta rinteissä, joiden jyrkkyys on vähintään 14° (kaltevuus 25 %), jos rinne jatkuu vaakasuunnassa yli 10 metrin matkan.
Älä käytä konetta rinteissä, joiden jyrkkyys on yli 15° (kaltevuus 27 %).
Pätevä koneen valvoja (työnvalvoja)
Yksi tai useampi henkilö, jonka vastuulla on koneen tai koneiden toiminnan valvonta. Työnvalvojalta edellytetään:
riittävää koneen hallintaa
yleistä käsitystä koneen tai koneiden energia-, voimansiirto- ja ohjausjärjestelmistä
koulutuksen suorittamista sekä koneen käyttöoppaiden lukemista ja ymmärtämistä
Pätevä manuaalinen käyttäjä (käyttäjä)
Yksi tai useampi asiakkaan työntekijä, joka on vastuussa koneen ajamisesta sen ollessa manuaalisessa tilassa.
Laitteen hätäpysäytyslaite
Koneeseen asennettu hätäpysäytyskytkin. Kytkin toimii vain koneen ollessa autonomisessa tilassa.
Mobiililaite
Työnvalvojan mobiililaite (esim. älypuhelin tai tabletti), joka muodostaa yhteyden koneeseen koneen ohjelmointia, ohjausta ja valvontaa varten sen toimiessa autonomisessa tilassa. Laite toimii etäpysäyttimenä, jota valvojan on pidettävä mukanaan voidakseen tarvittaessa antaa käskyn pysäyttää koneen tai koneiden kaikki toiminnot.
Ilmoitus – viesti, joka ilmoittaa käyttäjälle käyttövirheestä tai mistä tahansa seikasta, joka voi aiheuttaa työn keskeytymisen tai pysähtymisen ja saattaa vaatia käyttäjää puuttumaan asiaan.
Sovellus – mobiililaitteessa toimiva tietokoneohjelma, joka suorittaa yhden tai useampia tehtäviä. Kutsutaan myös apiksi, mobiilisovellukseksi tai verkkosovellukseksi.
Autonominen ohjausjärjestelmä (ACS) – ohjelmistoista ja laitteistosta koostuva järjestelmä, jonka avulla kone voi suorittaa tehtäviä pitkään ilman ihmisen toimenpiteitä.
Autonominen tila – koneen toimintatila, jossa se suorittaa määriteltyihin tehtäviinsä liittyviä toimintoja ilman käyttäjän toimenpiteitä. Päinvastainen kuin manuaalinen tila.
Autonominen käyttöalue (AOA) – alue, jolla itsenäinen toiminta on sallittu. Tällä alueella kone voi vapaasti päättää, mitä liikeratoja se käyttää siirtyessään paikasta toiseen. Tämä on yleensä alue, jolla on vähän kiinteitä esteitä. Golfkenttäympäristössä alueella on vähintään osa väylää tai noutopaikka.
Tukiasema – ulkoisen maanmittauksen yhteydessä se on tarkasti tunnetussa, kiinteässä paikassa sijaitseva GNSS-vastaanotin, jota käytetään läheisten kannettavien GNSS-vastaanottimien korjaustietojen johtamiseen. Katso myös Global Positioning System, GNSS-vastaanotin.
Raja – jokin, joka osoittaa tai vahvistaa rajan tai laajuuden. Robotille se tarkoittaa käyttöalueen, kulkureitin tai sulkualueen ulommaista rajaa, jota ei saa ylittää. Sitä kutsutaan myös ulkorajaksi. Katso myös käyttöalue, reitti, sulkualue.
Keskiviiva – viiva, joka kulkee väylän keskellä koko pituudeltaan. Keskiviivan suhteen symmetrisissä leikkuukuvioissa kone seuraa tämän viivan kaarta leikkuun aikana.
Yhtenäinen leikkuualue (CMA) – alue, jolla leikkuu suoritetaan. Se on merkitty kartalla AOA:n sisällä olevalla vaaleammalla vihreällä viivalla. Tämä määrittää koneen leikkuualueen. CMA:ssa voi olla reikiä, mutta se on yksittäinen, suljettu alue, ja sen on oltava kokonaan yhden AOA:n sisällä. Golfkentällä tämä vastaa yleensä väylää tai väyläosuutta, jos väylät on jaettu useisiin osiin luonnosta johtuvien esteiden (esim. järven) vuoksi.
Pelisuunta (D.O.P) – golftermein pelisuunta on suunta tiiltä viheriölle. Autonomisen leikkuun aikana pelisuuntaa voidaan käyttää, kun luodaan mukautettuja leikkuukuvioita. Kone voi leikata pelisuuntaan tai sitä vastaan, tai se voidaan ohjelmoida leikkaamaan tietyssä kulmassa pelisuuntaan nähden.
Sulkualue – käyttäjän tallentama alue, jolle robotti ei saa mennä. Katso kielletty käyttöalue (NOA).
Vika – mekaniikkaan, anturiin tai ohjelmistoon liittyvän virheen seuraus, joka vaatii koneen, anturin tai ohjelmistokoodin huoltoa tai korjaamista.
Satelliittipaikannusjärjestelmä (GNSS) – yleisnimitys paikannukseen käytettäville maailmanlaajuisille satelliittijärjestelmille. Katso myös Global Positioning System.
Global Positioning System (GPS) – Yhdysvaltalainen satelliittipaikannusjärjestelmä, joka käyttää jokaisesta satelliitista lähetettävää digitaalista signaalia tiedon välittämiseen vastaanottimeen. Tämä vastaanotin voi sitten määrittää sen likimääräisen etäisyyden satelliittiin sekä satelliitin maantieteellisen sijainnin (GP), joka vastaa maanpäällistä sijaintia suoraan satelliitin alapuolella.
GNSS-antenni – laite, jota käytetään GNSS-satelliiteista tulevien eri taajuuksilla lähetettävien radiosignaalien vastaanottamiseen ja laajentamiseen. Katso myös Satelliittipaikannusjärjestelmä, Global Positioning System.
GNSS-vastaanotin – laite, joka voi vastaanottaa tietoa GNSS-satelliiteista. Kutsutaan myös satelliittinavigointilaitteeksi. Katso myös Maailmanlaajuinen satelliittinavigointijärjestelmä.
Siirry noutopisteeseen – toimintamalli, jossa kone palaa itsenäisesti ennalta määritettyyn pisteeseen valvojan pyynnöstä.
Reikä – tietynlainen CMA:n sisällä sijaitseva käyttäjän tallentama alue, jolla robotti voi kulkea, mutta ei leikata. Tallenna reiän sisälle NOA, jos kone ei koskaan saa mennä alueelle toimiessaan autonomisesti. Katso kielletty käyttöalue (NOA).
AOA:n väliset reitit – reitit, joita kone voi kulkea AOA-alueiden välillä. Nämä on merkitty karttaan oransseilla viivoilla. Nämä määritetyt reitit vastaavat yleensä reittejä, joita ihmisen ohjaamat koneet jo käyttävät. Kone seuraa näitä reittejä tarkasti tai hyvin läheltä ajaessaan AOA-alueiden välillä.
LiDAR (lasersäteisiin perustuva etäisyydenmittaus- ja kuvantamistekniikka)– katso Anturityypit.
Paikannus – prosessi, jossa määritetään mobiilirobotin sijainti suhteessa globaaliin viitejärjestelmään. Paikannus on yksi robotin olennaisimmista kyvyistä, sillä tieto omasta sijainnista on välttämätön tulevia toimia koskevien päätösten tekemiseksi.
Manuaalinen tila – koneen toimintatila, jossa käyttäjä ohjaa koneen toimintoja. Se on vastakkainen autonomiselle tilalle.
Kartoitus – menettely, jossa kerätään ympäristön olennaisten kohteiden sijainti ja muoto ja tallennetaan ne tarkasti globaaliin viitejärjestelmään.
Tehtäväkokonaisuus – joukko tehtäviä, jotka kone suorittaa.
Navigointi – robotin kyky määrittää oma sijaintinsa viitejärjestelmässään ja suunnitella reitti kohti tiettyä tavoitesijaintia.
Kielletty käyttöalue (NOA) – alue, jolla autonominen toiminta on kielletty. Tämän tyyppistä aluetta käytetään osoittamaan luonnollisia esteitä tai muita AOA:n tai CMA:n sisällä sijaitsevia alueita, joille kone ei saa koskaan mennä toimiessaan autonomisessa tilassa (esim. järvet, hiekkaesteet tai reiät).
Esine – este tai maaperän piirre, joka voi aiheuttaa vahinkoa tai vahingoittuu, jos kone koskettaa sitä tai törmää siihen. Esineet voidaan havaita koneen esineen tunnistusjärjestelmällä. Katso Esineen tunnistus.
Esineen tunnistus – prosessi, jossa havaitaan robotin liikettä estäviä esineitä tai maastotyyppejä.
Este – maaston ominaisuus tai kokonaisuus, joka voi vahingoittaa konetta tai estää sen toimintaa, jos sitä ei ole ohjelmoitu välttämään tätä aluetta.
Ylittämätön este – maaston ominaisuus tai kokonaisuus, jota kone ei voi läpäistä. Esimerkkejä ylittämättömistä esteistä:
Aidat
Rakennukset
Tukimuurit
Vesistöt
Hiekkaesteet
Kastelun tyhjennysreiät
Korotetut ritilät
Pysäköity tila – koneen toimintatila, jossa autonominen/manuaalinen-kytkin on käännetty autonomiseen tilaan, mutta ACS-järjestelmä ei ole valmis tai se on sammutettu. Pysäköity tila johtuu myös siitä, että käyttäjä tai ympäristössä oleva esine keskeyttää koneen autonomisen toiminnan ja pakottaa koneen pysäköimään itsensä ongelman ratkaisemisen ajaksi.
Reitti – autonominen, käyttäjän ohjelmoima reitti, jota robotti voi kulkea. Useita väyliä sisältävän tehtäväkokonaisuuden aikana leikkuri liikkuu autonomisesti reittejä pitkin. Tunnetaan myös nimellä kauttakulkureitti.
Ulkoraja – katso raja.
Noutopiste – AOA:n sisällä oleva piste, jossa käyttäjä poistuu/noutaa koneen ennen leikkuuta tai muita toimintoja. Sitä edustaa kartalla sininen P-kirjain sinisen ympyrän sisällä. Kone voi palata tähän pisteeseen koneen työnvalvojan ohjeiden mukaan.
Napa – kartalla oleva määritelty piste, jota kone käsittelee NOA:na. Nämä kartoitetaan yksitellen, ja napojen sarjaa voidaan käyttää sulkemaan tarkasti pois alueet, joita koneen tulisi välttää. Se on hyödyllinen suljettaessa pois alueita, joita koneen tulisi välttää ilman täydellistä NOA:n kartoittamista. Katso kielletty käyttöalue (NOA).
Lähestymisanturit – katso Anturityypit.
Tutka – katso Anturityypit.
Reaaliaikainen kinematiikka (RTK) – maantieteellisen sijainnin reaaliaikainen korjaus (alle 3 cm optimaalisissa olosuhteissa) käyttämällä satelliittiviestejä paikallaan olevaan ja tarkasti sijoitettuun tukiasemaan. RTK-tiedot välitetään sitten tyypillisesti koneelle matkapuhelin-internetyhteyden kautta.
Satelliittinavigointilaite – katso GNSS-vastaanotin.
Tunnistus – robotin ympäristöstä saatu palaute, jonka avulla robotti voi reagoida ympäristöönsä. Aistinvaraiset syötteet voivat tulla useista eri anturityypeistä.
Anturi – laite, joka reagoi fyysisiin ärsykkeisiin (mukaan lukien lämpöön, valoon, ääneen, paineeseen, magnetismiin ja liikkeeseen, mutta ei niihin rajoittuen) ja lähettää tuloksena olevan signaalin tai datan mittausta, ohjauksen käyttöä tai molempia varten. Anturi voi esimerkiksi arvioida robotin ja sen ympäristön kunnon. Nämä tiedot lähetetään ohjaimelle asianmukaisen toiminnan mahdollistamiseksi. Robotti tarvitsee laajasti tietoa ympäristöstään toimiakseen tehokkaasti.
Anturityypit – anturit tarjoavat ihmisen aistien kaltaisia syötteitä ja voivat seurata muita ympäristön fyysisiä ominaisuuksia muuttaen nämä tiedot digitaaliseen muotoon.
Sijaintianturit – nämä anturit havaitsevat kohteen sijainnin. Ne voivat osoittaa kohteen absoluuttisen sijainnin tai sen suhteellisen sijainnin (siirtymän) lineaariliikkeeseen, kiertokulmaan tai kolmiulotteiseen tilaan nähden.
Lähestymisanturit – nämä anturit havaitsevat kohteen koskettamatta sitä.
Ultraäänianturi
LiDAR
Tutka
Tilat – nämä ovat koneen ominaisuuksista ja sen tilasta koostuvia sarjoja tiettynä ajankohtana.
Valvontasovellus – katso Sovellus.
Tehtävä – tehtäväkokonaisuuden rakennuspalikka. Koneen käyttäjä valitsee tehtävät osaksi tiettyä tehtäväkokonaisuutta. Ne edustavat työstä muodostuvaa yksikköä, joka koneen on suoritettava autonomisesti.
Ultraääni – katso Anturityypit.
Tämä tuote on asiaankuuluvien eurooppalaisten direktiivien mukainen. Lisätietoja on erillisessä tuotekohtaisessa vaatimustenmukaisuusvakuutuksessa.
Kalifornian lain (California Public Resource Code) pykälät 4442 ja 4443 kieltävät tämän moottorin käytön metsä-, pensaikko- tai ruohopeitteisillä mailla, jos moottoria ei ole varustettu pykälässä 4442 mainitulla hyvässä käyttökunnossa pidetyllä kipinänsammuttimella tai jos moottoria ei ole suojattu, varustettu ja huollettu palovaaran ehkäisemiseksi.
Mukana toimitettavassa moottorin käyttöoppaassa on Yhdysvaltojen ympäristönsuojeluelimeen EPA:han (Environmental Protection Agency) ja Kalifornian päästöjärjestelmien päästöjen valvontasääntöihin sekä kunnossapitoon ja takuuseen liittyviä tietoja. Käyttöoppaita voi tilata moottorin valmistajalta.
Jos tätä konetta käytetään yli 1 000 metriä merenpinnan yläpuolella, on hankittava korkean ilmanalan suutin. Lisätietoja on Kawasaki-moottorin käyttöoppaassa.
|
Sähkömagneettisen yhteensopivuuden sertifiointi |
VaaraFederal Communications Commission varoittaa, että tämän laitteen radiomoduulin muutokset, joita Toro-yhtiö ei ole nimenomaisesti hyväksynyt, voivat mitätöidä käyttäjän oikeuden käyttää laitetta. Tämä laite on testattu, ja sen on todettu täyttävän FCC-sääntöjen osan 15 mukaiset luokan A digitaalisen laitteen raja-arvot. Nämä rajat on suunniteltu tarjoamaan kohtuullinen suoja haitallisia häiriöitä vastaan, kun laitetta käytetään kaupallisessa ympäristössä. Tämä laite tuottaa, käyttää ja voi säteillä radiotaajuusenergiaa, ja jos sitä ei asenneta ja käytetä käyttöoppaan mukaisesti, se voi aiheuttaa haitallisia häiriöitä radioviestinnälle. Tämän laitteen käyttö asuinalueella aiheuttaa todennäköisesti haitallisia häiriöitä, jolloin käyttäjän on korjattava häiriöt omalla kustannuksellaan. |
|
Tämä laite on Industry Canadan lisenssivapaiden RSS-standardien mukainen. Käyttöön liittyvät seuraavat kaksi ehtoa: (1) tämä laite ei saa aiheuttaa häiriöitä ja (2) tämän laitteen täytyy pystyä käsittelemään kaikki häiriöt, mukaan lukien häiriöt, jotka saattavat aiheuttaa laitteen ei-toivottua toimintaa. |
|
Le présent appareil est conforme aux CNR d'Industrie Canada applicables aux appareils radio exempts de licence. L'exploitation est autorisée aux deux conditions suivantes : (1) l'appareil ne doit pas produire de brouillage, et (2) l'utilisateur de l'appareil doit accepter tout brouillage radioélectrique subi, même si le brouillage est susceptible d'en compromettre le fonctionnement. |
|
Industry Canadan määräysten mukaan tämä radiolähetin saa toimia vain käyttämällä antennia, jonka tyyppi ja suurin (tai pienempi) vahvistus on Industry Canadan lähettimelle hyväksymä. Muille käyttäjille aiheutuvien mahdollisten radiohäiriöiden vähentämiseksi antennityyppi ja sen vahvistus tulee valita siten, että vastaava isotrooppinen säteilyteho (e.i.r.p.) ei ole onnistuneen viestinnän edellyttämää suurempi. |
|
Industry Canada on hyväksynyt tämän radiolähettimen IC: 26511-RUT956AF toimimaan alla lueteltujen antennityyppien kanssa suurimmalla sallitulla vahvistuksella ja vaaditulla antenni-impedanssilla kullekin ilmoitetulle antennityypille. Antennityyppien, jotka eivät sisälly tähän luetteloon ja joiden vahvistus on suurempi kuin tälle tyypille ilmoitettu enimmäisvahvistus, käyttö tämän laitteen kanssa on ehdottomasti kielletty. |
|
Conformément à la réglementation d'Industrie Canada, le présent émetteur radio peut fonctionner avec une antenne d'un type et d'un gain maximal (ou inférieur) approuvé pour l'émetteur par Industrie Canada. Dans le but de réduire les risques de brouillage radioélectrique à l'intention des autres utilisateurs, il faut choisir le type d'antenne et son gain de sorte que la puissance isotrope rayonnée équivalente (p.i.r.e.) ne dépasse pas l'intensité nécessaire à l'établissement d'une communication satisfaisante. |
|
Le présent émetteur radio IC: 26511-RUT956AFa été approuvé par Industrie Canada pour fonctionner avec les types d'antenne énumérés ci-dessous et ayant un gain admissible maximal et l'impédance requise pour chaque type d'antenne. Les types d'antenne non inclus dans cette liste, ou dont le gain est supérieur au gain maximal indiqué, sont strictement interdits pour l'exploitation de l'émetteur. |
|
Antenni: Toro Company, malli 145-0335, TAOGLAS, TLS.01.1F11, ympärisäteilevä, huippuvahvistusteho 5,0 (dBi) |
KALIFORNIA
Lakiesityksen 65 mukainen varoitus
Tämän tuotteen moottorin tuottamat pakokaasut sisältävät kemikaaleja, jotka Kalifornian osavaltion tietojen mukaan aiheuttavat syöpää, synnynnäisiä epämuodostumia tai muuta lisääntymiseen liittyvää haittaa.
Akun liitännät, navat ja niihin liittyvät lisävarusteet sisältävät lyijyä ja lyijy-yhdisteitä, joiden tiedetään aiheuttavan syöpää ja haittaavan lisääntymistä. Pese kädet, kun olet käsitellyt näitä osia.
Tämän tuotteen käyttäminen voi altistaa kemikaaleille, jotka Kalifornian osavaltion tietojen mukaan aiheuttavat syöpää, synnynnäisiä epämuodostumia tai muuta lisääntymiseen liittyvää haittaa.
Tämä tuote voi katkaista jalan tai käden sekä singota esineitä.
Lue ja sisäistä tämän käyttöoppaan sisältö ennen moottorin käynnistämistä.
Koneen käyttö vaatii käyttäjän täyden huomion. Jos käyttäjän huomio keskittyy muualle, saattaa seurata henkilö- tai omaisuusvahinko.
Älä laita käsiä tai jalkoja koneen liikkuvien osien lähelle.
Älä käytä konetta ilman paikallaan olevia ja asianmukaisesti toimivia suojuksia ja muita suojalaitteita.
Älä päästä sivullisia ja lapsia käyttöalueelle. Älä anna lasten käyttää konetta.
Ellet aio käyttää konetta autonomisessa tilassa, sammuta kone, irrota virta-avain ja odota, että kaikki liikkeet pysähtyvät, ennen kuin poistut käyttäjän paikalta. Anna koneen jäähtyä ennen sen säätöä, huoltoa, puhdistusta tai varastointia.
Laitteen asiaton käyttö tai huolto voi aiheuttaa tapaturman.
Vähennä loukkaantumisriskiä noudattamalla näitä
turvallisuusohjeita ja huomioimalla aina varoitusmerkki
, joka tarkoittaa
varoitusta, vaaraa tai hengenvaaraa – henkilöturvallisuusohjeet.
Ohjeiden laiminlyönti saattaa johtaa henkilövahinkoon tai
kuolemaan.
Note: Autonomisen tilan turvallisuusvaatimukset täydentävät yleisiä / manuaalisen tilan turvallisuusvaatimuksia.
Autonomisessa tilassa toimivan koneen työnvalvoja vastaa kaikista muille ihmisille tai heidän omaisuudelleen aiheutuneista vahingoista.
Kaikki nämä ohjeet ja varoitukset on ymmärrettävä ennen kun koneen annetaan toimia autonomisessa tilassa.
Koneen virheellinen käyttö tai huolto voi aiheuttaa vakavan tapaturman tai kuoleman. Vähennä tapaturmariskiä noudattamalla kaikkia turvaohjeita.
Älä anna lasten tai kouluttamattomien henkilöiden käyttää tai huoltaa tätä konetta. Anna vain vastuullisten, koulutettujen, ohjeisiin perehtyneiden ja fyysisesti konetta käyttämään kykenevien henkilöiden käyttää tai huoltaa konetta.
Älä anna lasten tai kouluttamattomien henkilöiden käyttää tai huoltaa laitetta. Paikalliset säännökset saattavat asettaa rajoituksia käyttäjän iälle. Omistaja vastaa käyttäjien ja mekaanikkojen koulutuksesta.
Tutustu laitteen turvallisen käytön ohjeisiin, ohjauslaitteisiin ja turvamerkintöihin.
Kytke seisontajarru, sammuta kone, irrota virta-avain ja odota, että kaikki liikkuvat osat pysähtyvät, ennen kuin poistut käyttäjän paikalta. Anna koneen jäähtyä ennen säätöä, huoltoa, puhdistusta tai varastointia.
Selvitä, miten kone voidaan pysäyttää ja moottori sammuttaa nopeasti.
Tarkista, että käyttäjän pitokytkimet, turvakytkimet ja suojalaitteet ovat paikoillaan ja toimivat oikein. Älä käytä konetta, mikäli ne eivät toimi kunnolla.
Tarkasta aina ennen leikkaamista, että leikkuuyksiköt ovat hyvässä käyttökunnossa.
Tarkasta koneen käyttöalue ja poista siltä kaikki esineet, joita kone voi singota.
Note: Autonomisen tilan turvallisuusvaatimukset täydentävät yleisiä / manuaalisen tilan turvallisuusvaatimuksia.
Tarkasta koneen käyttöalue ja poista siltä kaikki vierasesineet, joita kone voi singota.
Tutustu laitteen turvallisen käytön ohjeisiin, ohjauslaitteisiin ja turvamerkintöihin.
Sinun täytyy osata pysäyttää kone ja estää kaikkien osien liikkuminen.
Älä käytä konetta ilman paikallaan olevia ja asianmukaisesti toimivia suojuksia ja muita suojalaitteita.
Älä päästä sivullisia ja lapsia käyttöalueelle. Älä anna koskaan lasten käyttää tai valvoa konetta. Vain koulutettu henkilöstö saa valvoa tätä konetta sen toimiessa autonomisessa tilassa.
Älä seiso, istu tai kulje koneen päällä äläkä anna muiden tehdä niin koneen toimiessa autonomisessa tilassa.
Tarkasta käyttöalue säännöllisesti uusien vaaratekijöiden varalta ja poista ne ennen koneen käyttämistä.
Jos kone kaatuu, pysy kaukana liikkuvista osista.
Käsittele polttoainetta erittäin varovasti. Se on tulenarkaa, ja höyryt räjähtävät herkästi.
Sammuta savukkeet, sikarit, piiput ja muut sytytyslähteet.
Käytä vain hyväksyttyä polttoaineastiaa.
Älä irrota polttoainesäiliön korkkia tai täytä polttoainesäiliötä moottorin ollessa käynnissä tai kuuma.
Älä lisää tai tyhjennä polttoainetta suljetussa tilassa.
Älä säilytä konetta tai polttoainesäiliötä tilassa, jossa on avotuli, kipinöitä tai varmistusliekki (esimerkiksi vedenlämmitin tai muu vastaava laite).
Jos polttoainetta roiskuu, älä yritä käynnistää moottoria. Vältä luomasta minkäänlaisia kipinälähteitä, ennen kuin polttoainehöyryt ovat hälvenneet.
Omistaja ja käyttäjä voivat estää loukkaantumisia tai omaisuusvahinkoja aiheuttavat tapaturmat ja ovat siksi vastuussa niistä.
Pukeudu asianmukaisesti. Käytä silmäsuojaimia, pitkiä housuja, tukevia liukastumisen estäviä kenkiä ja kuulosuojaimia. Sido pitkät hiukset. Älä käytä löysiä vaatteita tai riippuvia koruja.
Älä käytä konetta sairaana, väsyneenä tai alkoholin tai huumaavien aineiden vaikutuksen alaisena.
Koneen käyttö vaatii käyttäjän täyden huomion. Jos käyttäjän huomio keskittyy muualle, saattaa seurata henkilö- tai omaisuusvahinko.
Varmista ennen moottorin käynnistämistä, että kaikki käytöt ovat vapaalla ja että seisontajarru on kytketty. Käynnistä moottori ollessasi käyttäjän paikalla.
Älä kuljeta koneessa matkustajia.
Älä päästä sivullisia ja lapsia käyttöalueelle.
Käytä konetta vain, kun näkyvyys on hyvä, jotta vältät kuopat ja piilevät vaarat.
Vältä märän ruohon leikkuuta. Heikentynyt pito voi aiheuttaa koneen luisumisen.
Pidä kädet ja jalat etäällä leikkuuyksiköistä.
Varmista ennen peruuttamista, että reitti on vapaa, katsomalla taakse ja alas.
Ole varovainen lähestyessäsi kulmia, joissa on huono näkyvyys, pensaita, puita tai muita näköesteitä.
Pysäytä leikkuuyksiköt aina, kun et leikkaa ruohoa.
Hidasta ja ole varovainen kääntyessäsi koneella ja ylittäessäsi teitä ja jalkakäytäviä. Anna muille aina etuajo-oikeus.
Käytä moottoria vain tiloissa, joissa on hyvä ilmanvaihto. Pakokaasut sisältävät hiilimonoksidia, joka on hengenvaarallinen hengitettäessä.
Älä jätä käynnissä olevaa konetta ilman valvontaa.
Ellet ole valmistelemassa konetta toimimaan autonomisessa tilassa, toimi seuraavasti ennen kuin poistut käyttöasennosta:
Pysäköi kone tasaiselle alustalle.
Laske leikkuuyksiköt maahan ja varmista, että ne on kytketty pois.
Kytke seisontajarru.
Sammuta moottori ja irrota virta-avain.
Odota, että kaikki liikkuvat osat ovat pysähtyneet.
Käytä laitetta vain, kun näkyvyys on hyvä ja kun sääolosuhteet ovat hyvät. Älä käytä konetta ukonilman aikana.
Älä irrota mitään kaatumissuojausjärjestelmän osia koneesta.
Varmista, että turvavyö on kiinnitetty ja nopeasti avattavissa hätätilanteessa.
Käytä aina turvavyötä.
Tarkista vapaa alikulkukorkeus ja varo osumasta esteisiin.
Pidä kaatumissuojausjärjestelmä turvallisessa käyttökunnossa tarkistamalla se vaurioiden varalta säännöllisesti ja pitämällä kaikki kiinnittimet tiukalla.
Vaihda kaikki vaurioituneet kaatumissuojausjärjestelmän osat. Älä korjaa tai muuta niitä.
Rinteissä on huomattava koneen hallinnan menettämisen ja kaatumisen vaara. Tällaiset onnettomuudet voivat aiheuttaa vakavan tapaturman tai kuoleman. Käyttäjä on vastuussa turvallisesta käytöstä rinteissä. Koneen käyttö rinteissä edellyttää erityistä huolellisuutta.
Käyttäjän on arvioitava leikkuupaikan olosuhteet ja tarkastettava käyttöpaikka ja määritettävä niiden perusteella, onko rinne turvallinen koneen käyttöön. Tämä tarkastus on tehtävä huolellisesti ja harkiten.
Kun käytät konetta rinteissä, tarkista alla olevat ohjeet. Ennen kuin aloitat koneen käytön, tarkista työskentelyalueen olosuhteet ja arvioi, voitko käyttää konetta kyseisellä paikalla ja vallitsevissa olosuhteissa. Maaston muutokset voivat vaikuttaa koneen käyttöön rinteissä.
Vältä koneen käynnistämistä, pysäyttämistä tai kääntämistä rinteissä. Vältä nopeuden tai suunnan äkillistä muuttamista. Käänny hitaasti ja vähän kerrallaan.
Älä käytä konetta olosuhteissa, joissa pito, ohjaus tai vakaus ovat kyseenalaisia.
Poista tai merkitse esteet, kuten ojat, kuopat, urat, töyssyt, kivet tai muut piilevät vaarat. Korkea ruoho voi peittää esteet. Maaston epätasaisuudet voivat kaataa koneen.
Huomaa, että koneen käyttö märässä ruohossa, poikittain rinteissä tai alamäessä saattaa johtaa koneen pidon menettämiseen. Pidon menetys vetopyörissä saattaa aiheuttaa luisumisen ja jarrujen ja ohjauksen hallinnan menetyksen.
Käytä konetta erityisen varovasti pudotusten, ojien, vallien, vesiesteiden tai muiden vaarojen lähellä. Kone voi kaatua yllättäen, jos pyörä menee reunan yli tai jos reuna sortuu. Määritä suoja-alue koneen ja mahdollisen vaaran välille.
Tunnista vaarat rinteen juurella. Jos vaaroja on, leikkaa rinne kävellen ohjattavalla ruohonleikkurilla.
Jos mahdollista, pidä koneen leikkuuyksiköt laskettuina alas, kun käytät konetta rinteissä. Leikkuuyksiköiden nostaminen rinteissä käytön aikana voi heikentää koneen vakautta.
Ole erittäin varovainen käyttäessäsi ruohonkeräysjärjestelmiä tai muita lisälaitteita. Ne voivat vaikuttaa koneen vakauteen ja aiheuttaa hallinnan menetyksen.
Ellet ole valmistelemassa konetta toimimaan autonomisessa tilassa, kytke seisontajarru, sammuta moottori, irrota virta-avain ja odota, että kaikki liikkuvat osat pysähtyvät, ennen kuin poistut käyttäjän paikalta. Anna koneen jäähtyä ennen sen säätöä, huoltoa, puhdistusta tai varastointia.
Ehkäise tulipalovaaraa poistamalla ruoho ja roskat leikkuuyksiköistä ja käytöistä. Puhdista öljy- ja polttoaineroiskeet.
Sulje polttoaineen sulkuventtiili koneen varastoinnin tai kuljetuksen ajaksi.
Kytke lisälaitteen käyttö pois aina, kun kuljetat konetta tai kun sitä ei käytetä.
Anna moottorin jäähtyä ennen koneen varastointia suljettuun tilaan.
Huolla ja puhdista turvavyöt tarpeen mukaan.
Älä säilytä konetta tai polttoainesäiliötä tilassa, jossa on avotuli, kipinöitä tai varmistusliekki (esimerkiksi vedenlämmitin tai muu vastaava laite).
Hinaa ainoastaan koneella, jossa on hinausta varten suunniteltu vetoaisa. Älä kiinnitä hinattavaa laitetta muualle koneeseen kuin vetokoukkuun.
Noudata valmistajan suosituksia, jotka koskevat hinattavien laitteiden painoa ja rinteissä vetämistä. Rinteissä hinattavan laitteen paino voi johtaa pidon menetykseen ja ajoneuvon hallinnan menetykseen.
Älä koskaan anna lasten tai muiden henkilöiden olla hinattavan laitteen sisällä tai päällä.
Aja hinattaessa hitaasti ja varaa pysähtymiseen normaalia enemmän etäisyyttä.
Suorita seuraavat toimenpiteet ennen käyttäjän paikalta poistumista:
Pysäköi kone tasaiselle alustalle.
Vapauta leikkuuyksiköt.
Kytke seisontajarru.
Sammuta moottori ja irrota virta-avain.
Odota, että kaikki liikkuvat osat ovat pysähtyneet.
Anna koneen osien jäähtyä ennen huollon suorittamista.
Jos mahdollista, älä huolla konetta moottorin ollessa käynnissä. Pysy etäällä liikkuvista osista.
Tue kone pukeilla, kun työskentelet koneen alla.
Vapauta paine varovasti osista, joihin on varastoitunut energiaa.
Pidä kaikki koneen osat hyvässä kunnossa ja kaikki kiinnitystarvikkeet tiukalla.
Vaihda kaikki kuluneet tai vaurioituneet tarrat.
Käytä vain Toro-alkuperäisvaraosia, jotta kone toimii turvallisesti ja parhaalla mahdollisella tavalla. Muiden valmistajien varaosat voivat osoittautua vaarallisiksi, ja niiden käyttö voi johtaa tuotteen takuun raukeamiseen.
Note: Autonomisen tilan turvallisuusvaatimukset täydentävät yleisiä / manuaalisen tilan turvallisuusvaatimuksia.
Älä muuta konetta tai ohjelmistoa millään tavalla.
Älä laita mitään koneen päälle.
Älä muokkaa tai ohita koneen hallintalaitteita tai turvalaitteita.
Laitteen epäasianmukainen huolto tai käyttö voi aiheuttaa tapaturman tai kuoleman.
Valtuutetun teknikon tulee suorittaa kaikki huoltotoimenpiteet.
Käytä vain Toro-alkuperäisvaraosia, jotta kone toimii turvallisesti ja parhaalla mahdollisella tavalla. Muiden valmistajien valmistamat autonomisen käytön varaosat voivat olla vaarallisia.
Moottori on sammutettava ennen öljyn tarkistusta tai lisäystä kampikammioon.
Älä muuta kierrosnopeussäätimen nopeutta tai käytä moottoria ylikierroksilla.
Irrota päävirtaliittimet ennen kuin korjaat konetta.
Lataa akku avoimessa tilassa, jossa on hyvä ilmanvaihto, kaukana kipinöistä ja avotulesta. Irrota laturin virtajohto ennen kuin kytket laturin akkuun tai irrotat sen akusta. Käytä suojavaatetusta ja eristettyjä työkaluja.
Sammuta kone, irrota virta-avain ja odota, että kaikki liikkuvat osat pysähtyvät, ennen kuin poistut käyttäjän paikalta. Anna koneen jäähtyä ennen säätöä, huoltoa, puhdistusta tai varastointia.
Älä säilytä konetta tai polttoainesäiliötä tilassa, jossa on avotuli, kipinöitä tai varmistusliekki (esimerkiksi vedenlämmitin tai muu vastaava laite).
![]() |
Turva- ja ohjetarrat on sijoitettu hyvin näkyville paikoille mahdollisten vaara-alueiden lähettyville. Korvaa vioittuneet tai kadonneet tarrat uusilla. |














Katso kohdasta Termien määritelmät tarrassa 145-0345 lueteltujen tilojen kuvaukset.

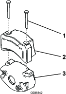
Vaiheeseen tarvittavat osat:
| Leikkuuyksikkö (tilattava erikseen; ota yhteys valtuutettuun Toro-jälleenmyyjään) | 3 |
| Sähköinen vastapaino | 3 |
| Kantaruuvi | 6 |
| O-rengas | 3 |
Valmistele leikkuuyksiköt asennusta varten. Katso ohjeet leikkuuyksikön käyttöoppaasta.
Levitä rasvaa käytön kytkentäkappaleen sisäuraan.
Asenna O-rengas kumpaankin kelamoottoriin kuvan mukaisesti (Kuva 3).

Kiinnitä sähköinen vastapaino nykyiseen vastapainoon kahdella kantaruuvilla kuvan mukaisesti (Kuva 4).

Asenna leikkuuyksiköt. Katso kohta Leikkuuyksiköiden asennus.
Kytke päävirtaliittimet. Katso kohta Päävirtaliittimet.
Koneen asetuksia voi muuttaa tietokeskuksessa. Katso kohta Koneen asetusten säätäminen tietokeskuksessa.
Vaiheeseen tarvittavat osat:
| Valmistusvuoden tarra | 1 |
| CE-varoitustarra (osanumero 139-8321) | 1 |
| CE-/UKCA-tarra (osanumero 138-9470) | 1 |
Jos konetta käytetään maassa, jossa noudatetaan CE-/UKCA-vaatimuksia, asenna seuraavat tarrat:
Renkaat on ylitäytetty tehtaalla kuljetusta varten. Vähennä paine sopivaksi ennen koneen käynnistämistä. Katso kohta Rengaspaineen tarkistus.
Varmista, että kaikilla koneen käyttäjillä on myTurf-tunnistetiedot. Katso myTurf-ohjelmisto-opas.
Lisää kone myTurfissa resurssina; katso myTurf-ohjelmisto-opas.
Teknikot, joilla on pääsy Toro-materiaaleihin, voivat löytää ohjeet matkapuhelinpalvelun tai RTK-liittymän aktivointiin tai uusimiseen GeoLink-palvelukeskuksesta.
Note: Molempia tarvitaan, jotta konetta voidaan käyttää autonomisesti.
Etsi ”GeoLinkin aktivointiprosessi” -huoltotiedote.
Noudata huoltotiedotteen vaiheita ja suorita ne.
Odota, että Toro lähettää matkapuhelin- ja RTK-palveluiden tunnistetiedot, ennen kuin jatkat.
Työnnä avain virtalukkoon ja käännä se KäYNNISSä-asentoon.
Yhdistä koneeseen GeoLink Mow -valvontasovelluksella.
Valitse ylävalikkoriviltä painike ASETUKSET.
Aseta Paikallinen referenssipiste -kohdassa sen paikallisen viitepisteen koordinaatit ja korkeus, jota laite käyttää GNSS RTK -paikannukseen.
Note: Anna koordinaatit asteina ja desimaaleina ja korkeus metreinä.
Syötä NTRIP-lähettimen tiedot kohdassa NTRIP-korjaukset.
Kirjoita RTK-tilauksen tiedot kohtaan Tunnistetiedot.
Note: On suositeltavaa suorittaa tämä testi paikan päällä kentällä, jolla kone toimii. Tämä antaa tarkan käsityksen koneen signaalin voimakkuudesta normaalin käytön aikana.
Työnnä avain virtalukkoon ja käännä se KäYNNISSä-asentoon.
Aja kone ulkoalueelle.
Yhdistä koneeseen GeoLink Mow -valvontasovelluksella.
Valitse ylävalikkoriviltä painike DIAGNOSTIIKKA.
Varmista kohdassa Mobiiliverkko, että laitteeseen on matkapuhelinyhteys.
Varmista kohdassa Lokalisointi, että laitteeseen on RTK-yhteys.
Note: Voi kestää muutaman minuutin, ennen kuin laite muodostaa yhteyden matkapuhelinverkkoon tai RTK-tukiasemaan.
Varmista, että esineen tunnistusjärjestelmän anturit toimivat oikein ennen autonomisen tilan aktivoimista. Katso Esineen tunnistusjärjestelmän tarkistaminen.
Työnnä avain virtalukkoon ja käännä se KäYNNISSä-asentoon.
Aja kone ulkoalueelle.
Aktivoi autonominen tila pitämällä autonomisen/manuaalisen tilan kytkintä vasemmalla 2 sekunnin ajan. Katso Autonomisen/manuaalisen tilan kytkin.
Yhdistä koneeseen GeoLink Mow -valvontasovelluksella.
Valitse ylävalikkoriviltä painike DIAGNOSTIIKKA.
Avaa yksityiskohtaiset avattavat valikot valitsemalla diagnostiikkakentät. Varmista, että ACS toimii oikein.
Tarkasta koneen kattolinja taipuneiden antennien varalta.
Työnnä avain virtalukkoon ja käännä se KäYNNISSä-asentoon.
Aja kone leikkuualueelle.
Määritä testi-CMA. Katso Autonomisen käyttöalueen kartoitus ja Yhtenäisen leikkuualueen kartoitus.
Luo leikkurille tehtäväkokonaisuus: määritä ensimmäiseksi tehtäväksi väylän siistimisajo myötäpäivään. Määritä seuraavaksi tehtäväksi saman väylän siistimisajo vastapäivään. KatsoTehtäväkokonaisuuden luominen ja Mukautetun leikkuukuvion luominen
Suorita tehtäväkokonaisuus. Katso Tehtäväkokonaisuuden suorittaminen.
Tarkkaile konetta tehtäväkokonaisuuden aikana ja kiinnitä huomiota epäjohdonmukaisiin reitteihin myötä- ja vastapäivään suoritettavien ajojen välillä.
Important: Jos eroja havaitaan, se voi johtua siitä, että antenneja ei ole keskitetty. Ota yhteyttä tekniseen tukeen.


Avainkytkimessä on kolme asentoa: PYSäYTYS, KäYNNISSä ja KäYNNISTYS (Kuva 9).
Käytä avainkytkintä moottorin käynnistämiseen ja sammuttamiseen tai koneen ajamiseen ilman moottorivirtaa. Katso kohdat Moottorin käynnistys, Moottorin sammutus ja Koneen ajaminen ilman moottorivirtaa.

Toiminnonohjauskytkimellä (Kuva 8) voidaan valita kaksi erilaista ajotoimintoa ja VAPAA-asento.
VAPAA-asento – vapaa ja läppäys
LEIKKUU-asento – leikkuu
KULJETUS-asento – kuljetus
Voit vaihtaa LEIKKUUSTAKULJETUKSELLE ja KULJETUKSESTALEIKKUULLE (ei VAPAALLE) koneen liikkuessa, eikä tästä seuraa vahinkoa.
Voit siirtää kytkimen KULJETUKSESTA tai LEIKKUUSTAVAPAALLE, ja kone pysähtyy. Jos yrität vaihtaa VAPAALTALEIKKUULLE tai KULJETUKSELLE, kun poljin ei ole VAPAA-asennossa, näyttöön tulee ilmoitus.
Nosto-/lasku-hallintavivulla (Kuva 8) nostetaan tai lasketaan leikkuuyksiköitä. Hallintavivulla leikkuuyksikön kelat voidaan kytkeä käyttöön tai pois käytöstä toiminnonohjauskytkimen asennon mukaan:
Toiminnonohjauskytkin VAPAA-asennossa: leikkuuyksiköt nousevat tai laskeutuvat, kun hallintavipu siirretään eteen tai taakse, mutta kelat eivät kytkeydy käyttöön, ellei kone ole läppäystilassa.
Toiminnonohjauskytkin LEIKKUU-asennossa: voit laskea leikkuuyksiköt ja käynnistää kelat siirtämällä hallintavivun eteen leikkuun aikana. Kun haluat pysäyttää kelat ja nostaa leikkuuyksiköt, vedä hallintavipu taakse.
Voit pysäyttää kelat nostamatta leikkuuyksiköitä vetämällä hallintavivun hetkeksi taakse ja päästämällä sen sitten irti. Hallintavivun siirtäminen uudelleen eteen käynnistää kelat, ja sen vetäminen uudelleen taakse nostaa leikkuuyksiköt. Tämä toiminto on otettava käyttöön tietokeskuksessa. Katso kohta Kelojen pysäytyksen viiveen säätö.
Toiminnonohjauskytkin KULJETUS-asennossa: leikkuuyksiköt voidaan nostaa, mutta kelat eivät kytkeydy käyttöön. Jos leikkuuyksiköitä yritetään laskea, tietokeskuksessa näkyy ilmoitus.
Ajopolkimella (Kuva 10) on kolme toimintoa: eteenpäin ajo, peruutus ja koneen pysäytys. Polkimen yläosaa painamalla kone liikkuu eteenpäin ja polkimen alaosaa painamalla taaksepäin.
Kun haluat koneen pysähtyvän, päästä poljin VAPAA-asentoon. Älä pidä kantapäätäsi ajopolkimella PERUUTUS-asennossa koneen liikkuessa eteenpäin (Kuva 11).


Voit määrittää enimmäisajonopeuden manuaalitilaa varten seuraavasti:
leikkuunopeus eteenpäin 4,8–8 km/h
kuljetusnopeus 8–16 km/h
peruutusnopeus 3,2–8 km/h
Paina poljinta (Kuva 10) ja nosta tai laske ohjausvarsi sopivalle korkeudelle. Lukitse varsi paikalleen vapauttamalla poljin.
Pysäytä kone painamalla jarrupoljinta (Kuva 12).

Estä koneen liikkuminen käyttämällä seisontajarrua (Kuva 12). Kytke seisontajarru painamalla jarrupoljinta alas ja painamalla sen yläosaa eteenpäin, jolloin salpa lukittuu. Kun haluat vapauttaa seisontajarrun, paina jarrupoljinta, kunnes seisontajarrun salpa palautuu.
Valvontasovelluksen pysäytyspainikkeen lisäksi toinen tapa pysäyttää kone on painaa koneen takana oleva hätäpysäytyskytkin alas.
Hätäpysäytyksen vapauttaminen:
Vedä kytkintä ulospäin.
Ota autonominen tila käyttöön nollaamalla autonomisen/manuaalisen tilan kytkin.
Important: Hätäpysäytyskytkin toimii vain, kun kone on autonomisessa tilassa. Hätäpysäytyskytkimen aktivointi ei vaikuta koneeseen, joka toimii manuaalisessa tilassa.

Kytke AUTONOMINEN tila painamalla autonomisen/manuaalisen tilan kytkintä vasemmalle ja pitämällä sitä painettuna 2 sekunnin ajan.
Kytke MANUAALINEN tila painamalla kytkintä oikealle.

Autonomisen tilan merkkivalo ilmaisee koneen nykyisen autonomisen tilan:
Tasainen valkoinen – ACS päällä ja manuaalisessa tilassa
Tasainen vihreä – toimii autonomisessa tilassa, älä lähesty
Vilkkuu vihreänä – autonomisessa tilassa, mutta esine on lähellä
Tasainen punainen – lähestyminen turvallista. Kone pysäköity
GeoLink Mow Supervisory App on työkalu, jota käytetään koneen säätämiseen ja käyttämiseen autonomista leikkuuta varten.
| Valikkorivin kohta | Kuvaus |
| KOTI | KOTI-valikko on verkkosovelluksen aloitusnäkymä. Siinä on pikanäppäimet valikoihin HALLINTAPANEELI, TEHTäVäKOKONAISUUDET, KARTTAja ASETUKSET sekä käyttöehtoihin ja oikeudellisiin huomautuksiin. |
| HALLINTAPANEELI | HALLINTAPANEELI-valikossa luetellaan nykyiset koneen tilat ja tehtäväkokonaisuuksien tilat. Näytön alareunan ohjauspainikkeet myös ohjaavat konetta etänä. |
| TEHTäVäKOKONAISUUDET | TEHTäVäKOKONAISUUDET-valikossa on alueita uusien tehtäväkokonaisuuksien luomiseen sekä nykyisten tehtäväkokonaisuuksien ja tehtäväkokonaisuushistorian tarkasteluun. Luo tässä valikossa mukautettuja leikkuukuvioita. |
| KARTTA |
KARTTA-valikossa näkyy kartta alueesta ja mahdollisista kartoitetuista väylistä. Se sisältää myös ohjaimia käyttöalueiden ja muiden autonomisten ominaisuuksien kartoittamiseen. Kun kone on käynnissä, sitä voidaan käyttää koneen valvontaan tehtäväkokonaisuuden aikana. |
| ASETUKSET | ASETUKSET-valikossa voit muuttaa koneen RTK-asetuksia ja -tunnistetietoja, yleisiä käyttöasetuksia ja henkilökohtaisia asetuksia. |
| OHJE |
OHJE-valikon avulla voit käyttää karttatietoja, koneen lokeja, käyttöopasta, suorituskykytietoja ja ohjelmistoversiotietoja. |
| DIAGNOSTIIKKA |
DIAGNOSTIIKKA-valikossa on lueteltu laitteen eri osien tilat, mukaan lukien laitteisto, anturit sekä paikannus- ja yhteystiedot. Näitä tietoja voidaan käyttää laitteen ongelmien vianmääritykseen, koska ne voivat nopeasti kertoa, mitkä laitteen ohjaimet ovat aktiivisia, käytöstä poistettuja tai joissa on ongelmia. |
| ULOSKIRJAUTUMINEN |
Kirjaudu ulos myTurf-tililtäsi. |
| Valikon kohta | Kuvaus | |
| Paikallinen referenssipiste | ||
| LEVEYSASTE | Määritä paikallisen referenssipisteen leveysaste, jota laite käyttää GNSS RTK -paikannukseen. Käytä asteiden desimaalimuotoa. | |
| PITUUSASTE | Määritä paikallisen referenssipisteen pituusaste, jota laite käyttää GNSS RTK -paikannukseen. Käytä asteiden desimaalimuotoa. | |
| KORKEUS | Määritä paikallisen referenssipisteen korkeus (metreinä), jota laite käyttää GNSS RTK -paikannukseen. | |
| NTRIP-korjaukset | ||
| ISäNTäNIMI | Aseta yhteyden nimen URL NTRIP (RTK) -lähettimelle. | |
| PORTTINUMERO | Aseta lähettimen portin numero. | |
| ASENNUSKOHTA | Aseta liitoskohdan nimi lähettimestä lähtevälle GNSS-tietovirralle. | |
| NMEA GGA -viesti | ||
| VAADITAAN | Ottaa käyttöön tai poistaa käytöstä NMEA GGA -viestit. Vaaditaan-kohta on oletusarvoisesti aktivoitu. | |
| PäIVITYSJAKSO | Aseta NMEA GGA -viestien tiheys. Oletusasetus on 5 sekuntia. | |
| Tunnistetiedot | ||
| KäYTTäJäNIMI | Kirjoita RTK-tilauksen käyttäjänimi. | |
| SALASANA | Syötä RTK-tilauksen salasana. | |
| Kartta | ||
| LUKITSE KARTTA | Poistaa mahdollisuuden muokata, poistaa tai luoda uusia kartoitettuja alueita. | |
| Leikkuu | ||
| PääLLEKKäISYYS | Aseta päällekkäisyyden määrä leikkuuajojen aikana. | |
| Koneen nopeudet | ||
| PääLEIKKUUNOPEUS | Aseta koneen suurin sallittu nopeus leikkuun aikana. | |
| ULKORAJAN LEIKKUUNOPEUS | Aseta koneen suurin sallittu nopeus siistimisajon aikana. | |
| KULJETUSNOPEUS | Aseta koneen suurin sallittu nopeus silloin kun se ei leikkaa. | |
| Koneen tiedot | ||
| KUTSUMANIMI | Aseta koneelle nimi. Sitä käytetään viesteissä, jotka lähetetään työnvalvojan puhelimeen. | |
| Käyttäjän tiedot | ||
| KIELI | Aseta käyttöliittymän kieli. | |
| YKSIKöT | Aseta sovelluksen mittayksiköt. | |
| PALAUTA ASETUKSET TEHDASASETUKSIIN | Valitse palauttaaksesi tehdasasetukset. | |
Note: Kun olet muuttanut asetuksia, tallenna asetukset valitsemalla Tallenna ja tee sen jälkeen virran katkaisu ja kytkentä, jotta asetukset tulevat voimaan.
| Valikkokohta |
| MATKAPUHELINVERKKO > OPERAATTORIN NIMI |
| MATKAPUHELINVERKKO > YHTEYSTYYPPI |
| MATKAPUHELINVERKON > SIGNAALIN LAATU |
| PAIKANNUS > GNSS:N TILA |
| PAIKANNUS > GNSS:N TARKKUUS |
| PAIKANNUS > KELVOLLISET SATELLIITIT |
| PAIKANNUS > ROVER-SATELLIITIT |
| PAIKANNUS > PERUSSATELLIITIT |
| PAIKANNUS > RTK-YHTEYS |
| PAIKANNUS > PAIKANNUSTARKKUUS |
| HäTäPYSäYTYS |
| ANTURIT > LIDAR-ETäISYYS |
| ANTURIT > ETUVASEN ääNIANTURI |
| ANTURIT > TAKAVASEN ääNIANTURI |
| ANTURIT > TAKAOIKEA ääNIANTURI |
| ANTURIT > ETUOIKEA ääNIANTURI |
| ANTURIT > YLäVASEN ääNIANTURI |
| ANTURIT > YLäOIKEA ääNIANTURI |
| ANTURIT > TUTKAKENTTä LäHELLä |
Note: Kone voi pysähtyä, jos SIGNAALIN LAATU- tai RTK-YHTEYSkentissä näkyy HUONO. Laitteella ei ole toimintaa varten riittävän vahvaa yhteyttä matkapuhelinverkkoon tai RTK-tukiasemaan.
| Valikon kohta | Kuvaus | |
| Koneen tila | ||
| TILA | Näyttää koneen nykyisen tilan. Katso täydellinen luettelo koneen tiloista kohdasta Koneen tila. | |
| GNSS | Näyttää GNSS-signaalin laadun. 90 % tai suurempi on hyvä, 60 % tai alhaisempi on huono. Käytä DIAGNOSTIIKKA-valikkoa ja PAIKANNUS-luetteloa apuna GNSS:n/paikannuksen ongelmien diagnosoimiseen. | |
| NOPEUS | Näyttää koneen nykyisen nopeuden. | |
| Tehtäväkokonaisuuden tila | ||
| TILA | Näyttää nykyisen tehtäväkokonaisuuden tilan, tehtäväkokonaisuuden edistymisen ja tehtäväkokonaisuuden suorittamisen jäljellä olevan ajan. Katso luettelo tehtäväkokonaisuuksien tiloista kohdasta Tehtäväkokonaisuuden tila. Jos tehtäväkokonaisuutta ei valita, luettelo on tyhjä. | |
| TEHTäVäKOKONAISUUS | Näyttää valitun tehtäväkokonaisuuden tunnusnumeron. | |
| VäYLäT | Näyttää nykyisen tehtäväkokonaisuuden jonossa olevat väylät sekä kunkin väylän edistymispalkin. | |
| KUVIO | Näyttää nykyisen tehtäväkokonaisuuden leikkuukuvion. Tämän lataaminen voi kestää jopa 10 sekuntia. | |
| ETENEMINEN | Näyttää nykyisen tehtäväkokonaisuuden edistymisprosentin. Tämän lataaminen voi kestää jopa 10 sekuntia. | |
| JäLJELLä OLEVA AIKA | Näyttää arvioidun tehtäväkokonaisuuden suorittamiseen kuluvan ajan. | |
| JATKA | Painike tulee näkyviin 10 minuuttia ennen kuin koneen on määrä leikata tehtäväkokonaisuuden seuraava väylä. Työnvalvojan mobiililaitteeseen lähetetään tekstiviesti, jossa on linkki HALLINTAPANEELIIN. Valitse painike, lue hyväksyntäsopimus ja valitse Hyväksy, jotta kone voi jatkaa seuraavalle väylälle. | |
Katso seuraavasta taulukosta koneen tilanäytön merkitys:
| Näyttö | Merkitys | Ratkaisu (tarvittaessa) |
| Tuntematon | Tuntematon virhe | Katkaise koneen virta ja kytke se uudelleen. Note: Tämä voi kestää jopa 5 minuuttia. |
| Asetukset | Säätö on käynnissä. | Odota ja pysy kaukana koneesta. |
| Joutokäynti | Kone on asetettu JOUTOKäYNNILLE. | Aseta tilaksi joko MANUAALINEN tai AUTOMAATTINEN. |
| Manuaalinen tila | Laite on asetettu MANUAALISEEN tilaan. | |
| Käyttöönotto | Laite on asetettu AUTOMAATTITILAAN. | Paina Go ja hyväksy ilmoitus. |
| Odottaa ilmoitusta | Sovellus odottaa, että hyväksyt ilmoituksen. | Paina Go ja hyväksy ilmoitus. |
| Säädetään | Kone käynnistää autonomisen tilan. | Odota vähintään 3 minuuttia ja pysy kaukana koneesta. |
| Valmiustilassa | Kone on autonomisessa tilassa ja joutokäynnillä. | Suunnittele tehtäväkokonaisuus ja paina Go. |
| Suoritetaan | Kone suorittaa parhaillaan tehtäväkokonaisuutta. | |
| Menossa sivupysähdyspaikalle | Kone pysäköi itsensä sivuun. | |
| Menossa noutoon | Kone on menossa noutopisteeseen. | |
| Menossa pisteeseen | Kone on menossa pisteeseen, jonka käyttäjä on valinnut kartalta. | |
| Pysäköity | Laite on PYSäKöITY-tilassa. |
Note: Jos ratkaisu on odottaminen, 30 sekunnin odottamisen pitäisi riittää, jotta tila voi edetä toiseen tilaan. Jos ei, katkaise koneen virta ja kytke se uudelleen.
Katso seuraavasta taulukosta tehtäväkokonaisuuksien tilan näytön merkitys:
| Näyttö | Merkitys | Ratkaisu (tarvittaessa) |
| Virhe | Tuntematon virhe | Katkaise koneen virta ja kytke se uudelleen. Note: Tämä voi kestää jopa 5 minuuttia. |
| Käyttöönotto | Asetus | Odota. |
| Alustetaan | Alustetaan | Odota. |
| Lataus | Tehtäväkokonaisuuksien lataaminen | Odota. |
| Valmistellaan | Tehtäväkokonaisuuksien lataaminen | Odota. |
| Paikallaan | Tehtäväkokonaisuutta ei ole valittu | Suunnittele tehtäväkokonaisuus ja paina Go. |
| Leikkuu | Leikkuu | |
| Keskeytetty | Tehtäväkokonaisuus keskeytetään. | Jatka tehtäväkokonaisuutta painamalla Go. |
| Peruutettu | Tehtäväkokonaisuus peruttiin. | Luo tehtäväkokonaisuus. |
| Valmis | Tehtäväkokonaisuus oli suoritettu. | Suunnittele uusi tehtäväkokonaisuus ja paina Go. |
| Odottaa |
Note: Jos ratkaisu on odottaa, odota 3 minuuttia, jotta tila voi siirtyä toiseen tilaan. Jos se ei etene, katkaise koneen virta ja kytke se uudelleen.
HALLINTAPANEELIN näytössä on painikkeet koneen ohjaamiseen tehtäväkokonaisuuden aikana.

Diagnostiikkaviestejä tulee näkyviin aina, kun koneessa on käynnissä tärkeä toimenpide tai siinä on vika.
Note: Suodata viestit vakavuustason mukaan valitsemalla vakavuustaso oikeassa yläkulmassa olevilla painikkeilla.
| Kuvake | Merkitys |
Tietoja ![]() | Tärkeitä toimia koskevia ilmoitustietoja. |
Ongelma ![]() | Koneessa on ongelma, mutta kone jatkaa toimintaansa. |
Virhe ![]() | Koneessa on ongelma, joka estää sitä toimimasta. |
| Näyttö | Merkitys | Ratkaisu (tarvittaessa) |
| Peruutettu tehtävä ## | Käyttäjä on peruuttanut tehtäväkokonaisuuden. | Suunnittele uusi tehtäväkokonaisuus ja paina Go. |
| Tehtäväkokonaisuuden ## peruuttaminen | Käyttäjä peruuttaa tehtäväkokonaisuuden. | Suunnittele uusi tehtäväkokonaisuus ja paina Go. |
| Suoritettu tehtäväkokonaisuus ## | Tehtäväkokonaisuus on valmis. | Suunnittele uusi tehtäväkokonaisuus ja paina Go. |
| Virhe tehtäväkokonaisuudessa ## | Tehtäväkokonaisuus havaitsi virheen, eikä kone pysty toimimaan. |
|
| Tehtäväkokonaisuuden ## suorittaminen | Tehtäväkokonaisuutta suoritetaan. | |
| Tehtäväkokonaisuuden ## alustaminen | Tehtäväkokonaisuus on alkamassa. | |
| Ladataan tehtäväkokonaisuutta ## | Tehtäväkokonaisuus lataa tehtäväkokonaisuuden tietoja. | |
| Keskeytä tehtäväkokonaisuus ## | Käyttäjä keskeytti tehtäväkokonaisuuden. | |
| Saapui sivupysäytyspisteeseen | Kone on saapunut sivupysäytyspisteeseen käyttäjän määräyksestä. | |
| Saapui noutopisteeseen | Kone on saapunut noutopisteeseen käyttäjän määräyksestä. | |
| Järjestelmä käynnistetty | Koneen avain on KäYNNISSä-asennossa ja ACS-järjestelmä käynnistyy. | |
| Saapui määritettyyn pisteeseen | Kone on saapunut käyttäjän valitsemaan määritettyyn pisteeseen. | |
| Ei pysty valmistelemaan tehtäväkokonaisuutta | Kone havaitsi virheen käsitellessään tehtäväkokonaisuuden tietoja. | |
| Vaikea lähtöasento. | Kone on vaikeassa lähtöasennossa. | |
| Tehtäväkokonaisuuden ## toteuttamisen valmistelu | Tehtäväkokonaisuutta käsitellään. | |
| Kartta on tyhjä | Kaikki karttatiedot puuttuvat tietokannasta. |
| Valikkokohta | Määritelmä |
| KARTTATIEDOT |
Lataa, vie ja tuo koneessa käytettäviä karttatiedostoja. Vie karttoja kaluston muihin koneisiin tai tuo koneeseen lisäkarttoja, joissa on eri kauttakulkureittejä nurmen kulumisen vähentämiseksi. Katso Karttatietojen tallentaminen ja vieminen. |
| LOKIT |
Tämän osion avulla voit ladata lokit koneesta. Vaihtoehtoisesti voit ladata täydelliset lokit tai vain viimeisimmän lokiraportin. Voit myös kirjata tietyn ajanjakson käyttämällä Koko näytteen kirjaaminen -ohjausobjekteja. Note: Näitä tiedostoja ei suositella lataamaan matkapuhelinyhteydellä, koska tiedostot ovat suuria. |
| MANUAALINEN |
Valitse tämä linkki, kun haluat tarkastella online-käyttöopasta. |
| ACS:N SUORITUSKYKYLASKURIT |
Tarkastele autonomisen koneen suorituskykyyn ja historiaan liittyviä tietoja. |
| OHJELMISTON TIEDOT |
Katso eri autonomisten järjestelmien ohjelmistoversiot. |
Tietokeskuksen näytössä (Kuva 16) on tietoja koneen käyttötilasta, diagnostiikkatietoja ja muita koneeseen liittyviä tietoja.

Note: Kunkin painikkeen käynnistämä toiminto vaihtelee tilanteen mukaan. Jokaisessa painikkeessa näkyy kuvake, joka ilmaisee painikkeen sillä hetkellä käytössä olevan toiminnon.
Navigointipainikkeilla voit selata useita näyttöjä ja valikon kohtia:
Odotusnäyttö: näyttää koneen senhetkiset tiedot muutaman sekunnin ajan, kun virta-avain on siirretty KäYNNISSä-asentoon.
Päätietonäyttö (Kuva 17): näyttää koneen senhetkiset tiedot, kun virta-avain on KäYNNISSä-asennossa.

eReel-moottorinäyttö (Kuva 18): näyttää kunkin leikkuuyksikön moottorin nopeuden ja virran.

Vetomoottorinäyttö (Kuva 19): näyttää senhetkisen ohjauskulman ja kullekin vetomoottorille kohdennetun ampeeriluvun.

Päävalikko: katso kohta Tietoja tietokeskuksen valikkokohdista.
![]() | Tuntilaskuri |
![]() | Toiminnonohjauskytkin on VAPAA-asennossa. |
![]() | Toiminnonohjauskytkin on KULJETUS-asennossa. |
![]() | Toiminnonohjauskytkin on LEIKKUU-asennossa. |
![]() | Käyttäjän on oltava istuimella koneen ollessa manuaalisessa tilassa. |
![]() | Seisontajarru on kytketty. |
![]() | Sähköinen seisontajarru on kytketty. |
![]() | Käynnistä moottori. |
![]() | Moottori |
![]() | Voimanulosotto on käytössä. |
![]() | Voimanulosotto on vapautettu. |
![]() | Akku |
![]() | Leikkuuyksiköitä nostetaan. |
![]() | Leikkuuyksiköitä lasketaan. |
![]() | Aktiivinen |
![]() | Ei aktiivinen |
![]() | Edellinen |
![]() | Seuraava |
![]() | Lisää |
![]() | Vähennä |
![]() | Edellinen näyttö |
![]() | Seuraava näyttö |
![]() | Nosta arvoa |
![]() | Laske arvoa |
![]() | Valikko |
![]() | Vieritä ylös/alas |
![]() | Vieritä vasemmalle/oikealle |
Pääset päävalikkoon painamalla Paluu-/poistumispainiketta missä tahansa tietonäytössä.
Valikkojen toiminnot on kuvailtu seuraavissa taulukoissa:
| Valikon kohta | Kuvaus |
| FAULTS | VIAT-valikossa on lueteltu koneen viimeaikaiset viat. Lisätietoja VIAT-valikosta saa huolto-oppaasta tai valtuutetulta Toro-jälleenmyyjältä. |
| SERVICE | HUOLTO-valikossa on koneeseen liittyviä tietoja, kuten käyttötunnit, lukemat ja kalibrointi. Voit myös ottaa käyttöön leikkuuyksikön läppäystoiminnon. Katso taulukko Huolto. |
| DIAGNOSTICS | DIAGNOSTIIKKA-valikossa on lueteltu koneen senhetkiset tilat ja tiedot. Tietoa voi käyttää joidenkin ongelmien vianmääritykseen, koska siitä näkee nopeasti, mitkä koneen ohjaimet ovat käytössä ja mitkä pois käytöstä, sekä ohjaustasot (esim. anturiarvot). Katso taulukko Diagnostics (Diagnostiikka). |
| ASETUKSET | ASETUKSET-valikossa voi muokata tietokeskuksen näytön asetuksia. Katso taulukko Asetukset. |
| KONEEN ASETUKSET | KONEEN ASETUKSET ‑valikossa voi säätää koneen asetuksia, kuten kelanopeutta, enimmäisleikkuunopeutta ja enimmäiskuljetusnopeutta. Katso taulukko Koneen asetukset. |
| ABOUT | TIETOJA-valikossa on mainittu koneen mallinumero, sarjanumero ja ohjelmiston versio. Katso taulukko Tietoja. |
AUTONOMINEN![]() | AUTONOMINEN-valikossa on asetukset koneen autonomisen toiminnan testaamiseksi. |
| Valikon kohta | Kuvaus |
| HOURS (Tunnit) | Näyttää niiden tuntien kokonaismäärän, joina avain, moottori, kelat ja läppäys ovat olleet käynnissä, sekä seuraavan huollon ajankohdan. |
| COUNTS (Lukemat) | Näyttää käynnistysten, leikkuiden, kelojen pysäytyksen viiveiden ja läppäysten lukumäärän sekä moottorin yli 30 sekuntia kestäneiden käynnistysten lukumäärän. |
| BACKLAP (Läppäys) | Käynnistää/keskeyttää leikkuuyksikön läppäystoiminnon (kun tämä toimenpide otetaan käyttöön, voit keskeyttää tilan tällä asetuksella tai siirtämällä avaimen PYSäYTYS-asentoon). |
CALIBRATION ![]() | Ohjausjärjestelmän, vetojärjestelmän ja noston toimilaitteiden kalibrointi. Lisätietoja kalibroinnista on huolto-oppaassa. |
| Valikon kohta | Kuvaus |
| MOOTTORI | Osoittaa moottorin käynnistyksen aikana käytössä olevat sisään- ja ulostulot. |
| 48 V KYTKENTä | Osoittaa 48 V -järjestelmän tulot ja lähdöt. |
| LATURI | Osoittaa generaattorin sisään- ja -ulostulot. |
| VETO | Osoittaa ajopolkimen sisään- ja ulostulot. |
| OHJAUS | Osoittaa ohjausjärjestelmän tulot ja lähdöt. |
| NOSTO/LASKU | Osoittaa leikkuuyksiköiden nostamisessa ja laskemisessa käytetyt sisään- ja ulostulot. |
| VOIMANULOSOTTO | Osoittaa voimanulosoton käytön mahdollistavat sisään- ja ulostulot. |
CAN-TILASTOT![]() | Osoittaa CAN-sisään- ja -ulostulot. |
| 12 V:N JäRJESTELMä | Osoittaa 12 V -järjestelmän tulot ja lähdöt. |
| AUTONOMINEN | Osoittaa autonomisen järjestelmän tulot ja lähdöt. |
| Valikon kohta | Kuvaus |
| ANNA PIN-KOODI | Antaa käyttäjän (viheriön hoitaja / mekaanikko), jolle tämän yritys on antanut PIN-koodin, käyttää suojattuja valikoita. |
| BACKLIGHT | LCD-näytön kirkkauden säätö |
| LANGUAGE | Tietokeskuksessa käyttävien kielten kontrollointi |
| FONTTIKOKO | Määrittää fontin koon tietokeskuksessa. |
| UNITS | Kontrolloi tietokeskuksen yksiköitä. Valikon vaihtoehdot ovat englantilainen (brittiläiset mitat) tai metrinen (metrijärjestelmä). |
PROTECT SETTINGS ![]() | Suojattujen valikoiden kontrollointi. |
OLETUSASETUSTEN NOLLAUS![]() | Tietokeskuksen oletusasetusten palautus. |
| Valikon kohta | Kuvaus |
TAPOFF TIME ![]() | Kelojen pysäytyksen viiveen kontrollointi. |
REEL SPEED ![]() | Säätää terän nopeutta leikkuuyksiköissä. |
LOWER SPEED![]() | Asettaa nopeuden, jolla leikkuuyksiköt laskeutuvat maahan leikkuuta varten. |
BACKLAP SPEED ![]() | Läppäyksen nopeuden kontrollointi. |
CLIP CONTROL ![]() | Automaattisen leikkuusäätötoiminnon kytkeminen päälle tai pois. |
BLADE COUNT ![]() | Kelojen terien lukumäärän valinta Tämä asetus on tarpeellinen ainoastaan, jos CLIP CONTROL (Leikkuun säätö) on PääLLä. |
BACKLAP SPEED ![]() | Halutun leikkuukorkeuden asetus. Tämä asetus on tarpeellinen ainoastaan, jos LEIKKUUN SääTö on PääLLä. |
MAX MOW ![]() | Koneen enimmäisnopeuden asetus leikkuun aikana. |
MAX TRANSPORT ![]() | Koneen enimmäisnopeuden asetus kuljetuksen aikana. |
MAX REVERSE ![]() | Koneen enimmäisnopeuden asetus koneen peruuttamisen aikana. |
SLOW & TURN ![]() | Hidastus- ja kääntötoiminnon käyttöönotto ja käytöstäpoisto. |
3WD KIT (3-PYöRäVETOSARJA) ![]() | Kolmipyörävetosarjan käyttöönotto ja käytöstäpoisto. |
| Valikon kohta | Kuvaus |
| MODEL | Näyttää koneen mallinumeron. |
| SN | Näyttää koneen sarjanumeron. |
| S/W REV | Näyttää pääohjaimen ohjelmiston version. |
| ACS:n ohjelmistoversio | Näyttää ACS:n ohjelmiston version. |
XDM-2700 ![]() | Näyttää tietokeskuksen ohjelmiston version. |
CUTTING UNIT 1![]() | Näyttää keskimmäisen leikkuuyksikön moottorin ohjelmistoversion. |
CUTTING UNIT 2![]() | Näyttää vasemmanpuoleisen etuleikkuuyksikön moottorin ohjelmistoversion. |
CUTTING UNIT 3![]() | Näyttää oikeanpuoleisen etuleikkuuyksikön moottorin ohjelmistoversion. |
GENERATOR (Laturi) ![]() | Näyttää laturin sarjanumeron. |
LIFT LOWER 1![]() | Näyttää keskimmäisen leikkuuyksikön ohjelmisto-osanumeron ja version. |
LIFT LOWER 2![]() | Näyttää vasemmanpuoleisen etuleikkuuyksikön ohjelmiston osanumeron ja version. |
LIFT LOWER 3![]() | Näyttää oikeanpuoleisen etuleikkuuyksikön ohjelmisto-osanumeron ja version. |
TRACTION1 (Veto1) ![]() | Näyttää oikeanpuoleisen etummaisen vetomoottorin ohjelmisto-osanumeron ja version. |
TRACTION2![]() | Näyttää vasemmanpuoleisen etummaisen vetomoottorin ohjelmisto-osanumeron ja version. |
TRACTION3![]() | Näyttää kolmipyörävetosarjan (jos varusteena) ohjelmisto-osanumeron ja version. |
STEERING![]() | Näyttää takaohjausmoottorin ohjelmisto-osanumeron ja version. |
| Valikon kohta | Kuvaus |
| JäLJITTELE LEIKKUUTA | Autonomista käyttäytymistä noudatetaan, mutta leikkuuyksiköt eivät kytkeydy päälle. |
| OHITA ACS:N LASKU | Autonomista käyttäytymistä noudatetaan, mutta leikkuuyksiköt laskevat vain ALARAJAN sallimissa rajoissa. |
| ALARAJA | Prosenttiosuus ACS:n määräämästä alemmasta asennosta. 85 riittää sen havaitsemiseen, että leikkuuyksiköt laskeutuvat, mutta eivät osu maahan. |
Note:
Suojatuissa
valikoissa – pääsy vain PIN-koodilla. Katso kohta Suojattujen valikoiden käyttö.
Note: Koneen oletus-PIN on joko 0000 tai 1234.Jos vaihdoit PIN-koodin ja unohdit uuden koodin, ota yhteys valtuutettuun Toro-jälleenmyyjään.
Etsi PääVALIKOSTAASETUKSET-valikko ja paina valintapainiketta (Kuva 20).

Etsi ASETUKSET-valikosta ANNA PIN-KOODI ja paina valintapainiketta (Kuva 21A).

PIN-koodi syötetään painamalla navigointipainikkeita ylös/alas, kunnes oikea ensimmäinen numero tulee näkyviin, ja siirtymällä sitten toiseen numeroon painamalla oikeanpuoleista navigointipainiketta (Kuva 21B ja Kuva 21C). Toista, kunnes kaikki numerot on annettu.
Paina valintapainiketta (Kuva 21D).
Note: Jos näyttö hyväksyy PIN-koodin ja suojattu valikko
avataan, näytön oikeassa yläkulmassa näkyy
.
Voit lukita suojatun valikon kääntämällä avainkytkimen PYSäYTYS-asentoon ja sitten KäYNNISSä-asentoon.
Vieritä kohdassa SETTINGS (Asetukset) kohtaan PROTECT SETTINGS (Suojaa asetukset).
SUOJAA ASETUKSET voidaan
vaihtaa
(Pois)
‑tilaan valintapainikkeella. Tällöin asetuksia voidaan tarkastella
ja muuttaa ilman PIN-koodia.
Näytä ja muuta asetuksia PIN-koodilla vaihtamalla SUOJAA ASETUKSET ‑kohta
(Päällä)
‑tilaan valintapainikkeella, asettamalla PIN-koodi ja kääntämällä
avain virtalukossa PYSäYTYS-asentoon
ja sitten KäYNNISSä-asentoon.

Valo vilkkuu punaisena: aktiivinen vika
Jatkuva punainen: aktiivinen ilmoitus
Jatkuva sininen: kalibrointi-/valintaikkunaviestit
Jatkuva vihreä: normaali toiminta
LED-valot 1 palavat tasaisen sinisenä ja seuraavat viestit saattavat näkyä, kun kone ei ole manuaalisessa tilassa. Odota tai noudata näytön ohjeita käyttääksesi konetta:
KONE EI OLE VALMIS AUTONOMISEEN TOIMINTAAN
ACS EI OLE VALMIS, ODOTA
PIDä AUTONOMISEN TILAN KYTKENTäPAINIKETTA PAINETTUNA 2 SEKUNTIA
AUTONOMINEN TOIMINTA AKTIIVINEN, POISTU KONEESTA JA KäYTä SOVELLUSTA
Kun koneen toiminto vaatii toimenpiteitä, käyttäjän ilmoitukset näkyvät automaattisesti tietokeskuksen näytössä. Jos esimerkiksi yrität käynnistää moottorin painaen samalla ajopoljinta, näytölle ilmestyy ilmoitus, joka kertoo, että ajopolkimen on oltava VAPAA-asennossa.
Jokaiseen ilmoitukseen sisältyy ohjekoodi (kirjain ja numero), ongelma (viestin ensimmäinen rivi, esim. autonominen toiminta ei sallittu, autonomisen toiminnan keskeytys), syy (näytettävän ilmoituksen syy) ja korjaustoimenpide (toinen tekstirivi).
Note: Ilmoitukset eivät tallennu vikalokiin.
Seuraavassa taulukossa luetellaan kaikki tietokeskuksen ilmoitukset:
Note: Ilmoituksen voi poistaa näytöstä painamalla mitä tahansa tietokeskuksen painiketta.
| Koodi | Ongelma | Syy | Korjaus |
| B2900 | Autonominen toiminta ei sallittu | Seisontajarru kytketty | Vapauta seisontajarru |
| B2901 | Autonominen toiminta ei sallittu | Ei LEIKKUUSSA | Siirrä toiminnonohjauskytkin LEIKKUU-asentoon |
| B2902 | Autonominen toiminta ei sallittu | Käyttäjä istuu istuimella | Poistu käyttäjän istuimelta |
| B2903 | Autonominen toiminta ei sallittu | Ajopoljin on kytkettynä | Palauta ajopoljin VAPAA-asentoon |
| B2904 | Autonominen toiminta ei sallittu | Hallintavivun kytkin kytketty | Vapauta hallintavivun kytkin |
| B2905 | Autonominen toiminta ei sallittu | Ohjauspyörässä on liikettä | Lopeta ohjauspyörän liikuttaminen |
| B2906 | Autonominen toiminta ei sallittu | Kone ei ole valmis | Odota tai korjaa vika |
| B2907 | Autonominen toiminta ei sallittu | ACS ei ole valmis | Odota tai korjaa vika |
| B2908 | Autonominen toiminta ei sallittu | Erilaisia | Katso tietoja valvontasovelluksesta |
| B2910 | Autonomisen tilan keskeytys | Käyttäjä keskeyttänyt | Nollaa autonomisen/manuaalisen tilan kytkin |
| B2911 | Autonomisen tilan keskeytys | Aktiiviset viat | Kone on huollettava. Ratkaise aktiivinen vika (aktiiviset viat) |
| B2912 | Autonomisen tilan keskeytys | Käyttäjän läsnäolo havaittu | Nollaa autonomisen/manuaalisen tilan kytkin |
| B2913 | Autonomisen tilan keskeytys | Esine havaittu | Nollaa autonomisen/manuaalisen tilan kytkin |
| B2914 | Autonomisen tilan keskeytys | Erilaisia | Katso tietoja valvontasovelluksesta |
| B2940 | Autonominen toiminta heikentynyt | Erilaisia | Katso tietoja valvontasovelluksesta |
| B2950 | Autonominen toiminta keskeytetty | Erilaisia | Katso tietoja valvontasovelluksesta |
Katso seuraavasta taulukosta kaikki valvontasovellusten ilmoitukset:
| Koodi | Ongelma | Syy | Korjaus |
| B2908-1 | Autonominen toiminta ei sallittu | Kone on AOA:n ulkopuolella | Siirrä kone AOA-alueelle |
| B2908-2 | Autonominen toiminta ei sallittu | Kartta ei ole kelvollinen |
|
| B2914-1 | Autonominen toiminta keskeytettiin | Suurin sallittu kaltevuus ylitettiin |
|
| B2914-2 | Autonominen toiminta keskeytettiin | Kone poistui autonomisesta toiminnasta |
|
| B2914-3 | Autonominen toiminta keskeytettiin | IMU ei ole kunnossa, toiminta ei ole mahdollista |
|
| B2914-4 | Autonominen toiminta keskeytettiin | Hätäpysäytys aktivoitui | Vapauta hätäpysäytyspainike ja nollaa autonominen toiminta |
| B2914-5 | Autonominen toiminta keskeytettiin | Etuvasen äänianturi aktivoitui |
|
| B2914-6 | Autonominen toiminta keskeytettiin | Takavasen äänianturi aktivoitui |
|
| B2914-7 | Autonominen toiminta keskeytettiin | Takaoikea äänianturi aktivoitui |
|
| B2914-8 | Autonominen toiminta keskeytettiin | Etuoikea äänianturi aktivoitui |
|
| B2914-9 | Autonominen toiminta keskeytettiin | Tutkan lähikenttä aktivoitui |
|
| B2914-10 | Autonominen toiminta keskeytettiin | Ylävasen äänianturi aktivoitui |
|
| B2914-11 | Autonominen toiminta keskeytettiin | Yläoikea äänianturi aktivoitui |
|
| B2914-12 | Autonominen toiminta keskeytettiin | Autonomisen/manuaalisen tilan kytkin on manuaalisessa tilassa |
Nollaa autonomisen/manuaalisen tilan kytkin |
| B2940-1 | Autonomisen toiminnan suorituskyky heikentynyt | Koneen lähellä oleva este vaikuttaa toimintaan |
|
| B2940-2 | Autonomisen toiminnan suorituskyky heikentynyt | PC:n lämpötila ei ole sallittujen toimintarajojen mukainen | Suorituskyky voi heikentyä, mutta kone on täysin toimintakunnossaJos ongelma jatkuu, ota yhteyttä tekniseen tukeen |
| B2940-3 | Autonomisen toiminnan suorituskyky heikentynyt | Pyörät luistavat |
|
| B2940-4 | Autonomisen toiminnan suorituskyky heikentynyt | IMU-virhe on toimintarajojen ulkopuolella | Suorituskyky voi heikentyä, mutta kone on täysin toimintakunnossaJos ongelma jatkuu, ota yhteyttä tekniseen tukeen |
| B2940-5 | Autonomisen toiminnan suorituskyky heikentynyt | Etäisyys tukiasemaan on toimintarajojen ulkopuolella | Suorituskyky voi heikentyä, mutta kone on täysin toimintakunnossa |
| B2940-6 | Autonomisen toiminnan suorituskyky heikentynyt | Ei yhteyttä matkapuhelinverkkoon |
|
| B2940-7 | Autonomisen toiminnan suorituskyky heikentynyt | LiDARin lämpötila on toimintarajojen ulkopuolella |
|
| B2950-1 | Autonominen toiminta keskeytetty | Etäisyys koneen nykyisestä sijainnista koneen viimeiseen sijaintiin on toimintarajojen ulkopuolella |
|
| B2950-2 | Autonominen toiminta keskeytetty | Navigointivirhe |
|
| B2950-3 | Autonominen toiminta keskeytetty | Tietokoneen vasteaika on toimintarajojen ulkopuolella | Suorituskyky voi heikentyä, mutta kone on täysin toimintakunnossaJos ongelma jatkuu, ota yhteyttä tekniseen tukeen |
| B2950-4 | Autonominen toiminta keskeytetty | Tukiaseman signaalin laatu on toimintarajojen ulkopuolella |
|
| B2950-5 | Autonominen toiminta keskeytetty | Huono GNSS RTK -laatu |
|
| B2950-6 | Autonominen toiminta keskeytetty | Laite on yhdistetty eri tukiasemaan kuin siihen, jota käytettiin kartoituksen aikana |
|
| B2950-7 | Autonominen toiminta keskeytetty | Sijainnin tarkkuus toimintarajojen ulkopuolella |
|
| B2950-8 | Autonominen toiminta keskeytetty | Noston/laskun alijärjestelmässä on ongelma |
|
| B2950-9 | Autonominen toiminta keskeytetty | Voimanulosoton alijärjestelmässä on ongelma |
|
| B2950-10 | Autonominen toiminta keskeytetty | Ohjauksen alijärjestelmässä on ongelma |
|
| B2950-11 | Autonominen toiminta keskeytetty | Veto-alijärjestelmässä on ongelma |
|
| B2950-12 | Autonominen toiminta keskeytetty | Tehtäväkokonaisuus havaitsi virheen tehtäväkokonaisuuden tietojen käsittelyssä |
|
| B2950-13 | Autonominen toiminta keskeytetty | Vaikea lähtöasema |
Siirrä kone avoimelle alueelle toiminnan nopeuttamiseksi |
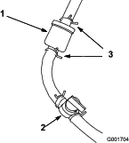
Ennen kuin työskentelet koneella tai asennat, irrotat tai huollat leikkuuyksiköitä, katkaise koneen virransyöttö irrottamalla päävirtaliittimet toisistaan (Kuva 23). Ne sijaitsevat turvakaaren jalustassa ajoyksikön vasemmalla puolella. Kytke liittimet ennen koneen käyttöä.

Jos koneen virransyöttöä ei katkaista, joku saattaa vahingossa käynnistää koneen, mikä voi johtaa vakaviin ruumiinvammoihin.
Irrota liittimet aina ennen kuin työskentelet koneella.
Katso mitat ja painot kohdista Kuva 25 ja Teknisten tietojen taulukko.
Note: Ominaisuuksia ja rakennetta voidaan muuttaa ilmoittamatta.

| Leikkuuleveys | 151 cm |
| Ajoura | 134 cm |
| Akseliväli | 127 cm |
| Kokonaispituus | 239 cm |
| Kokonaisleveys | 185 cm |
| Kokonaiskorkeus | 211 cm |
| Paino* | 841 kg |
| * Ajoyksikkö, jossa on 8â—„lehtiset leikkuuyksiköt ja vakioistuin, ilman polttoainetta ja käyttäjää. | |
Koneeseen on saatavana valikoima Toron hyväksymiä lisälaitteita ja -varusteita, joiden avulla voidaan parantaa ja laajentaa sen ominaisuuksia. Ota yhteys valtuutettuun huoltoliikkeeseen tai valtuutettuun Toro-jälleenmyyjään tai siirry osoitteeseen www.Toro.com, jossa on luettelo kaikista hyväksytyistä lisälaitteista ja -varusteista.
Käytä vain aitoja Toro-varaosia ja -lisävarusteita, jotta kone toimisi parhaalla mahdollisella tavalla ja sen turvasertifiointi pysyisi voimassa. Muiden valmistajien varaosat ja lisävarusteet voivat osoittautua vaarallisiksi, ja niiden käyttö voi johtaa tuotteen takuun raukeamiseen.
Työnvalvoja on vastuussa koneen (koneiden) tarkastamisesta ennen käyttöä luotettavan käyttövalmiuden varmistamiseksi. Tarkastuksiin kuuluvat muun muassa seuraavat:
Varmista ennen päivittäistä käyttöönottoa, että anturit toimivat oikein, niissä ei ole pölyä ja roskia ja että ne osoittavat oikeaan suuntaan.
Suorita normaalit päivittäisen käytön tarkistuslista(t) koneen (koneiden) edellyttämällä tavalla ennen päivittäistä käyttöönottoa. Hyväksyntä suoritetaan sovelluksessa.
Kone ei toimi autonomisesti ennen kuin työnvalvoja hyväksyy valvontasovellussopimuksessa luetellut kriteerit.
Suorita kaikki muut huoltoon tai käyttökuntoon liittyvät tarkistukset koneen tai koneiden koulutusmateriaalissa tai ohjeissa annettujen ohjeiden mukaisesti.
Pidä aina mukana mobiililaitetta, joka on yhdistetty koneeseen autonomisen ohjauksen sovelluksen kautta.
Työnvalvoja vastaa siitä, että kaikki vaarat on kartoitettu ennen autonomista käyttöä. Käyttöalueiden on oltava kohdassa Kartoitusta koskevat vaatimukset esitettyjen vaatimusten mukaisia.
Työnvalvoja vastaa koneen tai koneiden autonomisen toiminnan käynnistämisestä lähtöalueelta, joka sijaitsee autonomisen käyttöalueen sisällä. Pätevän käyttäjän on kuljetettava kone kyseiselle lähtöalueelle ja takaisin varastointialueelle manuaalisessa tilassa.
Ennen koneen käyttöä ja sen aikana työnvalvoja on vastuussa siitä, että hän tarkastaa käyttöalueet (muun muassa autonominen käyttöalue), yhtenäisen leikkuualueen ja kauttakulkureitit muun muassa seuraavien vaarojen tunnistamiseksi ja poistamiseksi:
Käyttöalueella olevat esineet, kuten mailat, kivet, roskat, golfvarusteet, korotetut sprinklerit ja kaikki muut esineet, joita ei ole tarkoitettu leikattavaksi terillä tai muulla tavalla
Sivulliset ja lapset
Alueet, joilla ei voi leikata, kuten kunnostettavat alueet, seisova vesi, vaurioitunut nurmi jne.
Pätevä manuaalinen käyttäjä saattaa joutua leikkaamaan koneella manuaalisessa tilassa, jos koneen autonomista käyttöä rajoittavat muun muassa seuraavat seikat:
Riittämätön langaton signaali (esim. matkapuhelin, GNSS-yhteys jne.)
Riittämätön GNSS-tarkkuus ja/tai RTK-korjaus
Koneen (koneiden) käyttöalueen rajoittaminen kohdearvioinnin perusteella
Liian lähellä AOA:n rajaa tai kiinteitä esteitä oleva alue
Ennen kuin leikkuria käytetään autonomisesti, seuraavien väittämien täytyy toteutua:
Koneen työnvalvojan pätevyys
Olen koulutettu ja Toron hyväksymä autonomisen ruohonleikkurin työnvalvoja.
Koneen toiminta
Olen varmistanut viimeisen 12 tunnin aikana, että kaikki esineen tunnistusanturit on asennettu tukevasti koneeseen, ne toimivat oikein ja ne on suunnattu oikeaan suuntaan.
Note: Varmista, että anturit toimivat oikein lukemalla ja suorittamalla vaiheet, jotka on esitetty kohdassa Esineen tunnistusjärjestelmän tarkistaminen.
Varmista, että kone on kytketty päälle.
Varmista, että valvontasovellus on yhteydessä koneeseen.
Siirry DIAGNOSTIIKKA-sivulle.
Laajenna anturien luettelo.
Kävele koneen ympäri ja varmista, että jokainen valo muuttuu punaiseksi. Jätä etuosan yläanturit huomioimatta, koska niitä käytetään pudotuksen havaitsemiseen.
Olen varmistanut, että leikkuukelat ovat hyvässä leikkuukunnossa ja niissä ei ole roskia ja tukoksia. Katso Leikkuuyksikön huolto.
Työalueen ennakkotarkastus
Olen tarkastanut kaikki väylät autonomista leikkuuta varten ja varmistanut sitä varten seuraavat seikat:
Käyttöalueella ei ole mitään roskia, jotka voivat häiritä koneen toimintaa tai joita kone saattaa singota.
Seisova vesi, puiden oksat, nurmelle kuulumattomat esineet, reiät tai eroosiouomat jne. on joko korjattu tai poistettu.
Kaikki kastelupäät on vedetty kokonaan maahan.
Kaikki tiedossa olevat esteet, kuten hiekkaesteharavat, ratamerkit, kyltit, köysiaidat, siirrettävät kärrymerkit, pylväät ja paalut on poistettu autonomiselta käyttöalueelta.
Sivullisia ja lapsia ei oleskele autonomisella käyttöalueella.
Välittömästi koneen käynnistämisen jälkeen
Vahvistan, että kaikki koneen ääni- ja valomerkit toimivat oikein:
Ennen koneen liikkeellelähtöä summeri antaa varoitusäänen 2 sekunnin ajan.
Autonomisessa tilassa koneen etu- ja takaosassa olevat keltaiset valot vilkkuvat jatkuvasti. Autonomisen tilan merkkivalo palaa vihreänä.
Jos kone ei toimi kunnolla, pysäytän sen välittömästi ja korjaan ongelman (ongelmat) ennen käytön jatkamista.
Jos sinulla on ongelmia tai huolenaiheita, jotka liittyvät johonkin tämän tarkistuslistan kohtaan, lue käyttöopas.
Polttoainesäiliön tilavuus: 18,5 litraa
Suositeltu polttoaine: Lyijytön bensiini, jonka tieoktaaniluku (pumppuoktaaniluku) on vähintään 87 (RON + MON / 2).
Etanoli: Enintään 10 % etanolia (bensiinin ja etanolin seosta) tai 15 % MTBE:tä (metyyli-tertiääri-butyylieetteriä) sisältävää polttoainetta voidaan käyttää. Etanoli ja MTBE eivät ole sama asia. Bensiiniä, jonka tilavuudesta enemmän kuin 15 % (E15) on etanolia, ei ole hyväksytty käyttöön.
Älä käytä bensiiniä, jonka tilavuudesta enemmän kuin 10 % on etanolia (kuten 15 % etanolia sisältävä E15, 20 % etanolia sisältävä E20 tai enintään 85 % etanolia sisältävä E85).
Älä käytä polttoainetta, joka sisältää metanolia.
Älä säilytä polttoainetta talven yli polttoainesäiliössä tai -astioissa, ellei polttoaineeseen ole lisätty stabilointiainetta.
Bensiiniin ei saa lisätä öljyä.
Moottori toimii parhaiten, kun käytetään vain puhdasta ja uutta, korkeintaan 30 päivää vanhaa polttoainetta.
Muun kuin hyväksytyn bensiinin käyttö voi aiheuttaa toimintaongelmia ja/tai moottorivaurioita, joita takuu ei välttämättä kata.
Important: Älä käytä muita polttoaineen lisäaineita kuin stabilointiainetta tai varastointia parantavaa ainetta. Älä käytä alkoholipohjaisia stabilointiaineita, kuten etanolia, metanolia tai isopropanolia.
Kytke seisontajarru, sammuta moottori, irrota virta-avain ja odota, että kaikki liikkuvat osat pysähtyvät.
Puhdista polttoainesäiliön korkin ympäristö ja irrota korkki (Kuva 26).

Lisää määritettyä polttoainetta polttoainesäiliöön, kunnes pinta on 25 mm täyttökaulan alareunan alapuolella. Säiliöön jäävä tila sallii polttoaineen laajenemisen.
Important: Polttoainesäiliötä ei saa täyttää aivan täyteen.
Asenna korkki.
Note: Kun korkki on paikoillaan, kuuluu naksahdus.
Pyyhi läikkynyt polttoaine pois.
Seuraavia koneen asetuksia voi säätää tietokeskuksessa:
Kelojen pysäytyksen viive; katso kohta Kelojen pysäytyksen viiveen säätö.
Kelanopeus leikkuun aikana; katso kohta Leikkuun kelanopeuden säätö.
Kelanopeus leikkuuyksiköiden läppäyksen aikana; katso kohta Läppäyksen kelanopeuden säätö.
Leikkuun säätö; katso kohta Leikkuusäätötoiminnon säätö.
Leikkuukorkeus; katso kohta Leikkuukorkeuden säätö.
Leikkuuyksikön terien lukumäärä; katso kohta Leikkuuyksikön terien lukumäärän säätö.
Suurin leikkuunopeus; katso kohta Enimmäisleikkuunopeuden säätö.
Leikkuuyksikön laskunopeus; katso kohta Leikkuuyksikön laskunopeuden asetus.
Enimmäiskuljetusnopeus, katso kohta Enimmäiskuljetusnopeuden säätö
Enimmäisperuutusnopeus; katso kohta Enimmäisperuutusnopeuden säätö.
Hidastus ja kääntö; katso kohta Hidastus- ja kääntötoiminnon asettaminen.
Asennetun kolmipyörävetosarjan poistaminen käytöstä; katso kohta Asennetun kolmipyörävetosarjan poistaminen käytöstä.
Note: Kukin asetus on suojattu salasanalla. Asetusten muokkaamista varten on ehkä syötettävä salasana.
Siirry TAPOFF TIME (Kelojen pysäytysaika) -asetukseen kelojen pysäytyksen viiveen säätöä varten. Kelojen pysäytyksen viive -toiminnon avulla leikkuuyksiköt voidaan sammuttaa niitä nostamatta. Viiveasetus merkitsee enimmäisaikaa, jonka nosto-/lasku-hallintavipu pysyy taka-asennossa toiminnon käynnistämiseksi.
Seuraavassa taulukossa on viiveaika-asetukset ja vastaavat kierrosnumerot:
| Kierrosnumero | Viiveaika (sekuntia) |
| 1 | Pois |
| 2 | 0,050 |
| 3 | 0,100 |
| 4 | 0,150 |
| 5 | 0,200 |
| 6 | 0,250 |
| 7 | 0,300 |
| 8 | 0,350 |
| 9 | 0,400 |
| 10 | 0,450 |
Note: Tehtaan oletusasetus on 1, jolla toiminto kytketään pois käytöstä.
Siirry REEL SPEED (Kelanopeus) -asetukseen kelanopeuden säätöä varten leikkuun aikana. Tätä asetusta voidaan säätää, kun leikkuun säädön asetus on POIS. Katso kohta Leikkuusäätötoiminnon säätö.
Seuraavassa taulukossa on kelanopeusasetukset ja vastaavat kierrosnumerot:
| Kierrosnumero | Kelanopeus (kierr./min) |
| 1 | 800 |
| 2 | 950 |
| 3 | 1 100 |
| 4 | 1 250 |
| 5 | 1 400 |
| 6 | 1 550 |
| 7 | 1 700 |
| 8 | 1 850 |
| 9 | 2 000 |
Note: Tehtaan oletusasetus on 1 550 kierr./min (kierrosnumero 6).
Siirry LOWER SPEED (Laskunopeus) -asetukseen, kun haluat asettaa nopeuden, jolla leikkuuyksiköt laskeutuvat maahan leikkuuta varten. Voit vaihtaa nopeuksien 1 (hitain) ja 9 (nopein) välillä.
Testaa laskunopeus ennen leikkuuta. Säädä haluttu nopeus.
Note: Tehtaan oletusasetus on 5.
Siirry BACKLAP RPM (Läppäyksen käyntinopeus) -asetukseen kelanopeuden säätämiseksi läppäystoiminnon aikana.
Seuraavassa taulukossa on kelanopeusasetukset ja vastaavat kierrosnumerot:
| Kierrosnumero | Kelanopeus (kierr./min) |
| 1 | 200 |
| 2 | 240 |
| 3 | 280 |
| 4 | 320 |
| 5 | 360 |
| 6 | 400 |
| 7 | 440 |
| 8 | 480 |
| 9 | 520 |
Note: Tehtaan oletusasetus on 200 kierr./min (kierrosnumero 1).
Jotta saavutettaisiin tasainen, korkealuokkainen leikkuulaatu ja leikkuujälki, kone on varustettu Radius Dependent Speed™ (RDS) -järjestelmällä, jolle on haettu patenttia. RDS-järjestelmä on leikkuun säädön ja itsenäisen pyöränopeuden toiminto, joka vaihtelee jokaisen kelamoottorin ja jokaisen vetomoottorin nopeutta tasaisen leikkuujäljen ylläpitämiseksi ja nurmen hankautumisen vähentämiseksi käännöksissä leikkuun aikana.
Kun konetta käännetään leikkuun aikana (esim. puhdistuskierroksella), käännöksen sisäpuolella oleva kela pyörii hitaammalla kierrosnopeudella kuin käännöksen ulkopuolella oleva kela. Keskimmäinen kela jakaa sisä- ja ulkokelan nopeuksien eron niin, että leikkuu on sama kaikissa kolmessa leikkuuyksikössä. Mitä jyrkempi käännös on, sitä suurempi on kelanopeuden ero. Lisäksi jos koneen nopeus muuttuu leikkuun aikana, RDS-järjestelmä säätää kelanopeutta tasaisen leikkuun ylläpitämiseksi. Tämä toiminto vähentää nurmen ohentumista sisäkelan kohdalla (verrattuna muihin ajettaviin väyläruohonleikkureihin) ja käytännössä eliminoi kolmoisrenkaan muodostumisen.
RDS-järjestelmä myös säätää kunkin napamoottorin nopeutta käännöksen aikana samaan tapaan kuin kelamoottorin nopeudet muuttuvat käännöksessä. Sisäpuolella oleva napamoottori pyörii hitaammalla kierrosluvulla kuin ulkopuolella oleva. Tämä minimoi pyörien hankautumisen käännyttäessä ja voi vähentää kolmoisrenkaan muodostumista.
Siirry CLIP CONTROL (Leikkuun säätö) -asetukseen RDS-järjestelmätoiminnon asettamista varten.
Leikkuun säätö on asetettu ON-tilaan: kunkin kelan nopeus määräytyy käyttäjän valitsemien HEIGHT OF CUT (HOC) (Leikkuukorkeus)- ja BLADE COUNT (Terien määrä) -asetusten sekä vasemman- ja oikeanpuoleisten pyörien nopeuden perusteella.
Leikkuun säätö on asetettu POIS-tilaan: kone käyttää käyttäjän valitsemaa REEL SPEED (Kelanopeus) -asetusta.
Note: Tehtaan oletusasetus on ON.
Siirry HEIGHT OF CUT (HOC) (Leikkuukorkeuden säätö) -asetukseen leikkuukorkeuden säätöä varten. Tämän ominaisuuden käyttäminen edellyttää, että leikkuun säädön asetuksena on PääLLä. Katso kohta Leikkuusäätötoiminnon säätö.
Note: Tehtaan oletusasetus on 12,7 mm.
Siirry BLADE COUNT (Terien määrä) -asetukseen leikkuuyksikön terien määrän asettamista varten. Määritä varustettujen leikkuuyksikköjen terien lukumäärä ja valitse oikea arvo (5, 8, 11 tai 14).
Note: Tehtaan oletusasetus on 8.
Siirry MAX MOW (Suurin leikkuu) -asetukseen enimmäisleikkuunopeuden säätöä varten. Nopeudeksi voi määrittää 4,8–8,0 km/h (0,3 km/h:n välein).
Note: Tehtaan oletusasetus on 6,1 km/h.
Siirry MAX TRANSPORT (Suurin kuljetus) -asetukseen enimmäiskuljetusnopeuden säätöä varten. Nopeudeksi voi määrittää 8,0–16,0 km/h (0,8 km/h:n välein).
Note: Tehtaan oletusasetus on 16,0 km/h.
Siirry MAX REVERSE (Suurin peruutus) -asetukseen enimmäisperuutusnopeuden säätöä varten. Nopeudeksi voi määrittää 3,2–8,0 km/h (0,8 km/h:n välein).
Note: Tehtaan oletusasetus on 4,0 km/h.
Note: Koneen ohjelmistoversioissa A–D enimmäisnopeus on 4,8 km/h. Päivitä koneen ohjelmisto, jotta enimmäisnopeudeksi voidaan asettaa 8,0 km/h.
Siirry SLOW & TURN (Hidasta ja käännä) -asetukseen hidastus- ja kääntötoiminnon asettamista varten. Hidastus- ja kääntötoiminto hidastaa koneen nopeutta, kun kone käännetään toiselle leikkuukaistalle viheriöllä.
Note: Tehtaan oletusasetus on POIS.
Siirry 3WD KIT (3-pyörävetosarja) -asetukseen, jos haluat poistaa asennetun kolmipyörävetosarjan käytöstä.
Note: Kun kolmipyörävetosarja asennetaan, sarja otetaan käyttöön automaattisesti.
Kun konetta kalibroidaan, tietokeskuksessa näkyy valintaikkunaviestejä. Viestien tarkoituksena on opastaa käyttäjää kalibrointimenettelyn aikana.
Seuraavassa taulukossa on luettelo valintaikkunaviesteistä:
| Viestin numero | Tietokeskuksen viestin teksti |
| 1 | Palauta poljin vapaalle |
| 4 | Move pedal to max forward and hold (paina ajopoljin etuasentoon ja pidä sitä paikallaan) |
| 5 | Etuasennon kalibrointi onnistui |
| 9 | Etuasennon kalibrointi epäonnistui. Jännite sallitun alueen ulkopuolella |
| 13 | Siirrä poljin taka-asentoon ja pidä paikallaan |
| 14 | Taka-asennon kalibrointi onnistui |
| 16 | Taka-asennon kalibrointi epäonnistui. Jännite sallitun alueen ulkopuolella |
| 17 | Kalibrointi epäonnistui. Polkimen asento tuntematon |
| 18 | Palauta poljin vapaalle. Jatka? |
| 100 | Kalibrointi on kytketty |
| 101 | Kalibrointi on valmis |
| 102 | Käytä avainta avainkytkimessä |
| 110 | Estä kalibrointi. Komponentti ei vastaa |
| 111 | Estä kalibrointi. Komponentti ei valmis |
| 112 | Estä kalibrointi. Vika aktiivinen |
| 113 | Estä kalibrointi. Ei istuimella |
| 114 | Estä kalibrointi. Ei vapaalla |
| 115 | Estä kalibrointi. Vapaalla |
| 116 | Estä kalibrointi. Seisontajarru on kytketty |
| 300 | Palauta poljin vapaalle |
| 301 | Keskitä ohjauspyörä. Jatka? |
| 302 | Keskitä takapyörä käsin. Jatka? |
| 303 | Ohjaa takapyörä ääriasentoon vasemmalle. Jatka? |
| 304 | Ohjaa takapyörä ääriasentoon oikealle. Jatka? |
| 305 | Takapyörän keskikohta sallitun alueen ulkopuolella |
| 306 | Takapyörän kulma sallitun alueen ulkopuolella |
| 400 | Varoitus: Koneen on oltava akselipukkien varassa. Jatka? |
| 401 | Estä kalibrointi. Avoin kontaktori |
| 402 | Estä kalibrointi. Poljin vapaalla |
| 403 | Palauta poljin vapaalle |
| 404 | Odota, että pyörät pysähtyvät |
| 405 | Move pedal to max forward and hold (paina ajopoljin etuasentoon ja pidä sitä paikallaan) |
| 406 | Kalibrointi aktiivinen. Pidä poljinta |
| 500 | Nosto/lasku ulos on aktiivinen |
| 501 | Nosto/lasku sisään on aktiivinen |
| 502 | Siirrä hallintavipu laskuasentoon |
| 503 | Siirrä hallintavipu nostoasentoon |
| 504 | Onko leikkuuyksikkö asennettu? Jatka? |
| 1 100 | Vedon diagnostiikkaviestit käytössä |
| 1101 | Ohjauksen diagnostiikkaviestit käytössä |
| 1102 | Turvallisuuteen liittyvät diagnostiikkaviestit käytössä |
| Huoltoväli | Huoltotoimenpide |
|---|---|
| Aina ennen käyttöä tai päivittäin |
|
Suorita seuraavat toimet ennen koneen käynnistystä päivittäin:
Tarkista moottoriöljyn määrä. Katso kohta Moottoriöljyn tarkistus.
Tarkista kelan ja kiinteän terän kosketus. Katso kohta Kelan ja kiinteän terän kosketuksen tarkistus.
Tarkista rengaspaineet. Katso kohta Rengaspaineen tarkistus.
Tarkista turvakytkinjärjestelmä. Katso kohta Tietoa turvajärjestelmästä.
Tarkista polttoaineen määrä ja lisää polttoainetta tarvittaessa. Katso kohta Polttoainesäiliön täyttö.
Tarkista seisontajarrun toiminta kytkemällä seisontajarru ja varmistamalla, että se lukittuu. Katso kohta Seisontajarru.
Tarkasta ja puhdista anturit (tarvittaessa). Katso Antureiden ja anturin kiinnikkeiden tarkastusAnturien puhdistus.
Katso sisäänajojakson suositellut öljynvaihto- ja huolto-ohjeet koneen mukana toimitetusta moottorin käyttöoppaasta.
Sisäänajoon tarvitaan vain kahdeksan käyttötuntia.
Koska ensimmäiset käyttötunnit ovat erittäin tärkeitä koneen tulevan luotettavuuden kannalta, seuraa sen toimintoja ja toimintaa tarkkaavaisesti, jotta mahdolliset pienet viat voidaan korjata, ennen kuin ne pahenevat. Tarkasta kone usein sisäänajon aikana öljynvuodon merkkien, löysien kiinnittimien tai muiden vikojen varalta.
Note: Varmista, että leikkuuyksiköiden alla olevalla alueella ei ole roskia.
Työnnä avain virtalukkoon ja käännä se KäYNNISSä-asentoon.
Odota, että odotusnäyttö tulee näkyviin tietokeskuksessa, ja käännä avain sitten KäYNNISTYS-asentoon, kunnes moottori käynnistyy.
Kun moottori käynnistyy, ota kätesi pois avaimelta, jolloin se siirtyy automaattisesti KäYNNISSä-asentoon.
Note: Vikatilanne ilmenee, jos moottoria käynnistetään yli 30 sekunnin ajan.
Istu käyttäjän istuimelle ja kiinnitä turvavyö.
Siirrä toiminnonohjauskytkin LEIKKUU-asentoon.
Vapauta seisontajarru.
Siirrä nosto-/lasku-hallintavipu hetkellisesti eteen.
Leikkuuyksiköiden tulee laskeutua alas ja kaikkien kelojen kääntyä.
Siirrä nosto-/lasku-hallintavipu taakse.
Leikkuukelojen tulee pysähtyä ja leikkuuyksiköiden nousta kokonaan kuljetusasentoon.
Siirrä kone tasaiselle alustalle.
Siirrä toiminnonohjauskytkin VAPAA-asentoon.
Kytke seisontajarru.
Sammuta moottori kääntämällä virta-avain PYSäYTYS-asentoon.
Irrota avain.
| Huoltoväli | Huoltotoimenpide |
|---|---|
| Aina ennen käyttöä tai päivittäin |
|
Jos turvakytkimet ovat irronneet tai vaurioituneet, laite saattaa toimia odottamattomalla tavalla ja aiheuttaa henkilövahinkoja.
Älä kajoa turvakytkimiin.
Tarkista turvakytkimien toimivuus päivittäin ja vaihda mahdolliset vaurioituneet kytkimet ennen koneen käyttämistä.
Turvajärjestelmän tarkoituksena on estää koneen käyttö silloin, kun koneen käyttäjä altistuisi tapaturmalle tai laitteelle aiheutuisi vahinkoa.
Turvajärjestelmä huolehtii siitä, että kone liikkuu vain, kun:
Seisontajarru on vapautettuna.
Istut käyttäjän istuimella (ellei kone toimi autonomisessa tilassa).
Toiminnonohjauskytkin on LEIKKUU- tai KULJETUS-asennossa.
Turvajärjestelmä myös estää kelojen toiminnan, ellei toiminnonohjauskytkin ole LEIKKUU-asennossa (paitsi silloin, kun kone on läppäystilassa).
Kytke käyttöön manuaalinen tila ja tarkista turvajärjestelmä seuraavasti:
Nouse istuimelta, käynnistä moottori, vapauta seisontajarru, siirrä toiminnonohjauskytkin LEIKKUU- tai KULJETUS-asentoon ja paina ajopoljinta.
Kone ei saa liikkua, koska käyttäjä ei istu istuimella. Tämä ilmaisee, että turvajärjestelmä toimii oikein. Korjaa ongelma, jos kone ei toimi asianmukaisesti.
Istu istuimelle, käynnistä moottori, kytke seisontajarru, siirrä toiminnonohjauskytkin LEIKKUU- tai KULJETUS-asentoon ja paina ajopoljinta.
Kone ei saa liikkua, koska seisontajarru on kytkettynä. Tämä ilmaisee, että turvajärjestelmä toimii oikein. Korjaa ongelma, jos kone ei toimi asianmukaisesti.
Istu istuimelle, käynnistä moottori, vapauta seisontajarru, siirrä toiminnonohjauskytkin VAPAA-asentoon ja paina ajopoljinta.
Kone ei saa liikkua, koska toiminnonohjauskytkin on VAPAA-asennossa. Tämä ilmaisee, että turvajärjestelmä toimii oikein. Korjaa ongelma, jos kone ei toimi asianmukaisesti.
Istu istuimelle, siirrä ajopoljin VAPAA-asentoon, siirrä toiminnonohjausvipu VAPAA-asentoon, kytke seisontajarru, käynnistä moottori ja laske leikkuuyksiköt alas siirtämällä nosto-/lasku-hallintavipu eteen.
Leikkuuyksiköiden tulisi laskeutua, mutta ne eivät saa alkaa pyöriä. Jos ne alkavat pyöriä, turvajärjestelmä ei toimi oikein. Ongelma on korjattava ennen koneen käyttöä.
Varmista, että leikkuuyksiköt on nostettu kokonaan.
Istu istuimelle, vapauta seisontajarru ja siirrä toiminnonohjauskytkin KULJETUS-asentoon koneen ajamiseksi ilman ruohonleikkuuta.
Hidasta aina epätasaisia alueita lähestyessäsi ja ylitä kummut varovaisesti.
Opettele tuntemaan koneen leveys. Älä yritä ajaa lähellä toisiaan olevien kohteiden välistä, jottet aiheuttaisi kalliita vaurioita ja työn viivästymistä.
Kun muodostat yhteyden koneeseen Geolink Mow -valvontasovelluksen kautta, voit ohjelmoida, valvoa ja etäohjata konetta.
Muodosta yhteys koneeseen kirjoittamalla koneen sarjanumero URL-osoitteeseen.
URL-osoitteen muoto on tacs
Kirjaudu sisään GeoLink Mow -valvontasovellukseen myTurf-tunnuksillasi.
Note: Jos et voi muodostaa yhteyttä koneeseen, varmista, että kone on lisätty golfkerhosi inventaarioon resurssina. Katso myTurf-ohjelmisto-opas.
Note: Katso kartoitusominaisuuksien yleiskuvaus kohdasta Tietoja Kartta-valikosta.
AOA -rajaa ei tule kartoittaa puiden tai muiden esteiden alle, koska tämä saattaa estää GNSS-tiedonsiirron koneen kanssa (Kuva 29).

AOA:t ja CMA:t on kartoitettava myötäpäivään. Reiät ja NOA:t on kartoitettava vastapäivään.
Kun kartoitat AOA- tai CMA-rajoja, aloita ja päätä raja suoralla linjalla.
Varmista, että koneella on voimakas GNSS-signaali ennen minkään kartoitusprosessin aloittamista. Seuraa tarkkuuden tilakenttää KARTTA-sivulla tai kohdassa Diagnostiikka-valikko.
Kartoituksen aikana tai juuri ennen kartoitusta konetta ei saa ajaa taaksepäin. Suunnittele kartoitusreitti huolellisesti ennen kartoituksen suorittamista.
| Pisteestä pisteeseen | Minimietäisyys |
| CMA:n ja AOA:n tai NOA:n välinen etäisyys | 1,5 m |
| CMA:n leveys | 4,5 m |
Note: Parhaan suorituskyvyn saavuttamiseksi suositeltu etäisyys AOA:n ja CMA:n välillä on 5 m, koska tämä antaa koneelle tarpeeksi tilaa tehokkaiden käännösten suorittamiseen ja siten tehtäväkokonaisuuksien suorittamiseen nopeammin.

Kartoita väylä autonomista leikkuuta varten seuraavien vaiheiden mukaisesti:
Kartoita autonominen käyttöalue (AOA). Katso Autonomisen käyttöalueen kartoitus.
Kartoita yhtenäinen leikkuualue (CMA). Katso Yhtenäisen leikkuualueen kartoitus.
Kartoita kielletyt toiminta-alueet (NOA:t, reiät ja navat). Katso Kiellettyjen alueiden kartoitus ja Napojen luominen.
Kartoita kauttakulkureitit. Katso Kauttakulkureittien kartoitus.
Luo noutopisteitä. Katso Noutopisteiden luominen.
Ennen kuin otat leikkurin käyttöön autonomisessa tilassa, sinun on ohjelmoitava autonomisen käyttöalueen (AOA) rajat kartoittamalla.
Important: Tarkasta alue ennen kartoitusta ja kirjaa mahdolliset esteet, jotta autonominen käyttöalue ei sisällä esteitä eikä sijaitse liian lähellä niitä. Autonomisella käyttöalueella ei saa olla esteitä, joita kone ei pysty havaitsemaan, jotka voivat vahingoittaa konetta tai aiheuttaa turvallisuusriskin.Valvojan vastuulla on varmistaa, että kaikki esineet tai esteet on kartoitettu asianmukaisesti autonomisen käyttöalueen ulkopuolella. Katso Kiellettyjen alueiden kartoitus ja Napojen luominen.Jos koneen ja minkä tahansa kohdassa Autonomisen käyttöalueen turvallisuusedellytykset luetellun vaaran välillä on este (esim. kiinteä seinä tai kulkukelvoton maasto), varmista, että AOA:n raja on asetettu vähintään 2 metrin etäisyydelle esteestä.
Note: On suositeltavaa nimetä yksi koneistasi koko kentän ensisijaiseksi kartoituskoneeksi. Tämä on kalustosi ainoa kone, joka luo uusia kartoitettuja alueita tai muokkaa olemassa olevia kartoitettuja alueita. Kaluston muut koneet käyttäisivät ensisijaisen kartoituskoneen luomaa karttatiedostoa.Työnvalvojan vastuulla on varmistaa, että kaluston jokaiseen koneeseen ladataan oikea karttatiedosto.
Yhdistä koneeseen GeoLink Mow -valvontasovelluksella.
Paina aloitusnäytössä oikeassa yläkulmassa olevaa valikkopainiketta ja valitse KARTTA.
Aja kone paikkaan, josta haluat aloittaa AOA:n kartoittamisen.
Note: Kiinnitä huomiota näytön alareunassa oikealla olevien tilakenttien väreihin: Tarkkuus ja vapaatila. Punainen väri tarkoittaa, että laitteen paikannustarkkuus on huono tai se havaitsee lähellä olevan esineen. Kone ei voi kartoittaa tällä alueella, joten siirrä kone toiseen aloituspaikkaan ja yritä uudelleen.
Note: On suositeltavaa aloittaa AOA:n kartoittaminen alueella, jossa on tunnistettavia merkkejä, kuten kastelulippuja tai muita maaston ominaisuuksia.
Valitse sivupalkin valikosta tai laajennettavasta punaisesta painikkeesta AOA ja sen jälkeen Ulkoraja.
Käytä vasemman leikkuuyksikön vasenta etukulmaa merkkinä, aloita ajamalla konetta suorassa linjassa ja kartoita sitten AOA:n kehä myötäpäivään.
Kiinnitä kartoituksen aikana huomiota näytön alareunassa oikealla olevien tilakenttien väreihin: Nopeus, tarkkuus, ja vapaatila. Jos väri on keltainen tai punainen, se tarkoittaa, että kone liikkuu liian nopeasti, sen paikannustarkkuus on huono tai se havaitsee lähellä olevan esineen. Hidasta konetta, pysähdy ja odota tai siirry toiseen paikkaan ja yritä kartoitusta uudelleen.
Vihreä tarkoittaa, että koneen kartoitusparametrit ovat ihanteelliset.
Keltainen tarkoittaa, että kone lähestyy kartoitusparametrien rajoja.
Punainen tarkoittaa, että kone ei mahdollisesti ole tallentanut rajaa, sen paikannustarkkuus on huono tai se havaitsee lähellä olevan esineen.
Kun olet lähellä AOA-linjan alkua, hidasta konetta ja valitse Tallenna.
Valitse valintaikkunassa Kyllä.
Tallenna raja valitsemalla Tallenna-painike.
Tarkastele valmista AOA:ta päivittämällä kartta.
Etsi mahdolliset kartoitusvirheet ja korjaa ne tarvittaessa.
Aja kone sen AOA:n alueelle, josta haluat aloittaa yhtenäisen leikkuualueen (CMA) kartoituksen.
Note: Optimaalista suorituskykyä varten CMA-rajan tulee olla vähintään 5 metrin päässä AOA-rajasta. Tämän ansiosta kääntötehokkuus on hyvä autonomisen käytön aikana. Katso kohdasta Kartoitusta koskevat vaatimukset vähimmäisetäisyysvaatimukset, mutta tämä saattaa aiheuttaa alhaisempaa kääntötehokkuutta ja pidempiä tehtäväkokonaisuuden aikoja.
Valitse punainen painike näytön oikeassa alakulmassa.
Valitse valikosta CMA ja sen jälkeen Ulkoraja.
Käytä vasemman leikkuuyksikön vasenta etukulmaa merkkinä: aloita ajamalla konetta suorassa linjassa ja kartoita sitten CMA:n kehä myötäpäivään.
Note: Kiinnitä huomiota näytön alareunassa oikealla olevien tilakenttien väreihin: Nopeus, tarkkuus, ja vapaatila. Jos väri on keltainen tai punainen, se tarkoittaa, että kone liikkuu liian nopeasti, sen paikannustarkkuus on huono tai se havaitsee lähellä olevan esineen. Hidasta konetta, pysähdy ja odota tai siirry toiseen paikkaan ja yritä kartoitusta uudelleen.
Vihreä tarkoittaa, että koneen kartoitusparametrit ovat ihanteelliset.
Keltainen tarkoittaa, että kone lähestyy kartoitusparametrien rajoja.
Punainen tarkoittaa, että kone ei mahdollisesti ole tallentanut rajaa, sen paikannustarkkuus on huono tai se havaitsee lähellä olevan esineen.
Kun olet lähellä CMA-linjan alkua, hidasta konetta ja valitse Tallenna.
Valitse valintaikkunassa Kyllä.
Tallenna raja valitsemalla Tallenna-painike.
Kartoita väylän D.O.P (pelisuunta):
Aja kone aloituspisteeseen missä tahansa CMA:ssa.
Valitse D.O.P ja aja leikkuria 5 m pelisuuntaan.
Valitse Tallenna.
Kartoita keskiviiva:
Aja kone pisteeseen, joka on 1 m päässä CMA-rajasta väylän molemmissa päissä.
Valitse Keskiviiva ja aja kone väylän keskiviivaa pitkin.
Note: Varmista, että keskiviiva ulottuu 1 m CMA:n ulkopuolelle väylän molemmissa päissä.
Kun kone on ohittanut CMA:n toisen pään, valitse Tallenna.
Jos haluat luoda alueen, jolla kone voi kulkea, mutta ei leikkaa, valitse Reikä , aja vastapäivään alueen ympäri ja valitse Tallenna.
Valitse Tallenna uudelleen tallentaaksesi CMA:n.
Etsi mahdolliset kartoitusvirheet ja korjaa ne tarvittaessa.
Valitse virhe, jos haluat tarkastella lisätietoja virheestä ja virheen sijainnista.
Important: Kiellettyjä käyttöalueita tulisi käyttää suurten esineiden tai esteiden, kuten puiden, hiekkaesteiden, kastelulaatikoiden ja yläpuolisten esteiden, kartoittamiseen, sekä sellaisten pienempien esteiden merkitsemiseen AOA-alueella, joita kone ei pysty havaitsemaan, kuten johdot. Valvojan vastuulla on varmistaa, että kaikki esineet tai esteet on kartoitettu ennen autonomista käyttöä. Noudata kohdan Kartoitusta koskevat vaatimukset vaatimuksia.NOA-alueita ei voida kartoittaa suoraan CMA:n sisällä. Luo CMA:n sisälleReikä ennen NOA:n kartoittamista.
Jos haluat luoda CMA:n sisällä olevaan reikään alueen, jonka kautta kone ei koskaan kulje, aja reiän kohdalle, valitse NOA, aja alueen ympäri vastapäivään ja valitse Tallenna.
Jos haluat luoda AOA:n sisälle mutta CMA:n ulkopuolelle alueen, jonka kautta kone ei koskaan kulje, aja CMA:n ulkopuolella olevalle alueelle, valitse NOA, aja alueen ympäri vastapäivään ja valitse Tallenna.
Important: Navat ovat halkaisijaltaan pieniä (1 m) NOA-kohteita, jotka estävät konetta kulkemasta sellaisten AOA-alueiden kautta, joilla on pieniä esineitä, kuten tolppia, viemäreitä tai kastelulaatikoita. Useita napoja voidaan luoda lähelle toisiaan esteen muodostamiseksi.
Valitse valikosta KARTTA kohta Napa.
Kun vasemman leikkuuyksikön vasen etukulma on lähellä estettä, jonka haluat kartoittaa, valitse Osoita ja Tallenna.
Napaa edustava punainen ympyrä tulee näkyviin karttaasi.
Kauttakulkureitit ovat reittejä, joita leikkuri seuraa liikkuessaan käyttöalueiden välillä. Kauttakulkureittien tulee olla vähintään. 3,5 m leveitä.
Aja kone AOA:n sisällä olevaan pisteeseen, josta haluat kauttakulkureitin alkavan.
Note: Kauttakulkureitit voivat alkaa mistä tahansa AOA:n sisältä, myös CMA:n sisältä, mutta parhaan suorituskyvyn saavuttamiseksi on suositeltavaa aloittaa reitti AOA:n rajan läheltä.
Valitse KARTTA-valikosta Reitti.
Kun olet valmis kartoittamaan, valitse Reitti ja aja tarkka reitti, jota haluat koneen kulkevan kahden AOA:n välillä.
Kun kone on toisen AOA:n sisällä ja olet tyytyväinen reittiin, valitse Tallenna.
Kauttakulkureittiä edustava oranssi viiva tulee näkyviin kartallesi.
Noutopisteet ovat AOA:n sisällä olevia alueita, joissa käyttäjä poistuu / noutaa koneen milloin tahansa leikkuun aikana. AOA:t voidaan luoda erityisesti noutopisteitä varten ja liittää väylään kauttakulkureittien avulla. Valvontasovelluksesta käyttäjä voi ohjeistaa konetta palaamaan tähän pisteeseen milloin tahansa.
Aja koneella AOA:n sisällä olevalle alueelle, jonne haluat luoda noutopisteen.
Valitse Nouto, Piste, ja Tallenna.
Poimintapiste luodaan vasemman leikkuuyksikön vasemman etukulman kohtaan.


Valitse KARTTA-valikosta Karttakerrokset-painike.
Näkyviin tulevat vaihtoehdot Yhteenveto, Tarkkuus ja esineiden tunnistus.
| Kerros | Kuvaus |
| Yhteenveto | Näyttää käyttöalueet, kauttakulkureitit, noutopisteet ja navat. Näyttää myös merkittäviä tarkkuus- ja esineen tunnistusongelmia. |
| Tarkkuus | Näyttää kartoitettujen alueiden GNSS- ja RTK-tarkkuuden. |
| Esineen tunnistus | Näyttää, onko laite havainnut lähellä olevia esineitä kartoitetuilla alueilla. |
Valitse karttataso, jota haluat tarkastella.
Valitse KARTTA-valikosta mikä tahansa väylän CMA-osuuteen kuuluva piste avataksesi Väylä- ja Ominaisuudet-, Keskiviiva- sekä Reiät-ikkunat.
Muuta väylän nimeä tai pelisuunnan kulmaa Ominaisuudet-ikkunassa.
Valitse Tallenna.
Käytä Smooth-ominaisuutta keskiviivan suhteen symmetrisen leikkuun ulkonäön parantamiseen. Säädä keskiviivan reittiä poistamalla keskiviiva ja luomalla uusi.
Valitse Keskiviiva-ikkunassa Smooth tai Poista.
Poista Väylä-ikkunasta kaikki kartoitetut kohteet valitsemalla niiden vieressä oleva roskakorikuvake.
Note: Varmista, että nämä alueet kartoitetaan uudelleen ja mahdolliset virheet korjataan ennen tehtäväkokonaisuuden aloittamista.
Reiät-ikkunassa voit tarkastella tai poistaa kartoitettuja reikiä.
Valitse +Lisää luodaksesi reiän.
Tehtäväkokonaisuus on väylätehtävien sarja. Kun kone on suorittanut tehtäväkokonaisuuden, se käynnistyy välittömästi seuraavaan tehtäväkokonaisuuteen. Jos tehtäväkokonaisuuksia ei enää ole, se siirtyy viimeisen väylän reunaan, ellei käyttäjä kehota sitä siirtymään jonnekin muualle.
Yhdistä koneeseen GeoLink Mow -valvontasovelluksella.
Valitse aloitusnäytöstä painike. TEHTäVäKOKONAISUUDET.
Valitse painike + Uusi tehtäväkokonaisuus.
Valitse kartoitettujen CMA:iden luettelosta väylä(t), jotka haluat leikata.
Note: Valitse väylät siinä järjestyksessä, jossa haluat leikata ne.
Note: Varmista, että kaikki tehtäväkokonaisuuden CMA:t on yhdistetty AOA:n tai kauttakulkureittien kautta.
Valitse leikkuukuvio kohdasta Suosikit tai luo uusi leikkuukuvio kohdassa Mukautettu.
Syötä työnvalvojan puhelinnumero ja valitse painike Tallenna.
Note: Näin laite voi lähettää tekstiviestihälytyksiä, jos se pysähtyy ja edellyttää työnvalvojalta manuaalisia toimenpiteitä.
Valitse Tallenna.
Jos leikkuri on käyttämättömänä tämän vaiheen aikana, leikkuri aloittaa tehtäväkokonaisuuden.
Note: Kun olet tallentanut tehtäväkokonaisuuden, tehtäväkokonaisuus näkyy kohdassa TEHTäVäKOKONAISUUDET.
Valitse painike TEHTäVäKOKONAISUUDET.
Kun olet valinnut kohdan Uusi tehtäväkokonaisuus, valitse Mukautettu-osiosta Leikkuukuvion valinta.
Näkyviin tulee kolme kuviovaihtoehtoa: Raidat, Keskiviivan suhteen symmetrinen tai Siistiminen.
Vaihtoehdot Raidat-valinnalle ovat:
| Vaihtoehto | Määritelmä |
| Suhteellinen/absoluuttinen | Käyttääkö kone referenssipisteenä pelisuuntaa vai absoluuttisia asteita |
| Suunnan tyyppi (-180 ... 180 tai 0 ... 360) | Aste-ero yllä valittuun vaihtoehtoon. Jos esimerkiksi suhteellinen on valittuna ja syötetään 40, kone leikkaa kulmassa 40° (myötäpäivään) pelisuunnasta poispäin. Negatiiviset arvot saavat koneen leikkaamaan vastapäivään pelisuuntaan nähden.40° absoluuttisina asteina saisi koneen leikkaamaan kulmassa 40° tosi pohjoiseen nähden. |
| Moninkertainen linja | Ohjaa raitojen leveyttä. Voi olla jopa 5 koneen leveyttä leveä |
| Käänteinen | Ohjaa leikkuuajojen suuntaa |
| Siistiminen | Tämän asetuksen ottaminen käyttöön saa laitteen suorittamaan siistimisajoja |
| Optimoi käännökset | Tämän asetuksen ottaminen käyttöön saa koneen suorittamaan samankokoisia käännöksiä jokaisen leikkuukerran lopussa |
Vaihtoehdot keskiviivan suhteen symmetriselle leikkuulle ovat:
| Vaihtoehto | Määritelmä |
| Suunta | Ohjaa, leikkaako leikkuri väylän myötä- vai vastapäivään |
| Siistiminen | Tämän asetuksen ottaminen käyttöön saa koneen suorittamaan siistimisajoja |
Vaihtoehto Siistimiselle on:
| Vaihtoehto | Määritelmä |
| Pyörintäsuunta | Määrittää, suorittaako leikkuri siistimisajot myötä- vai vastapäivään |
Kirjoita työnvalvojan mobiililaitteen puhelinnumero ja tallenna tehtäväkokonaisuus valitsemalla Tallenna.
Ennen kuin leikkuri otetaan käyttöön autonomisessa tilassa, esineen tunnistusjärjestelmä on tarkistettava sen oikean toiminnan varmistamiseksi.
Työnnä avain virtalukkoon ja käännä se KäYNNISSä-asentoon.
Yhdistä koneeseen GeoLink Mow -valvontasovelluksella.
Valitse DIAGNOSTIIKKA-painike.
Laajenna Esineen tunnistus.
Kävele koneen jokaisen anturin luo ja varmista,
että kunkin vastaavan anturin ympyrä Esineen tunnistus -luettelossa muuttuu punaiseksi
näytöllä.
Katso kaikkien antureiden täydellinen yleiskatsaus kohdasta Laitteen yleiskatsaus.
Astu lyhyen matkan päähän koneen etuosasta
ja Kaukaisen tutkakentän pitäisi muuttua
keltaiseksi
.
Kun olet tarkistanut kaikkien antureiden toiminnan,
siirry pois koneen luota. Kaikkien Esineen tunnistus -luettelon kohtien tulee muuttua vihreiksi
.
| Väri | Merkitys |
![]() | Ei yhteyttä laitteeseen. |
![]() | Järjestelmä ei lähetä tietoja. |
![]() | Järjestelmän suorituskyky on hyvä tai kone ei havaitse lähellä olevia esteitä. |
![]() | Järjestelmän suorituskyky on heikko tai kone havaitsee lähellä olevia esteitä, mutta kone pystyy toimimaan. |
![]() | Järjestelmä estää koneen toiminnan. Tarkasta viallinen osa, korjaa ongelma tai siirrä kone toiseen paikkaan. |
Vapauta seisontajarru.
Aseta toiminnonohjauskytkin asentoon LEIKKAA.
Korjaa kaikki aktiiviset koneviat.
Poistu käyttäjän istuimelta ja siirry koneen takaosaan. Varmista, että et ole leikkuun vaara-alueella.
Pidä autonomisen/manuaalisen tilan kytkimen AUTONOMINEN-puolta painettuna 2 sekunnin ajan.
Odota, kunnes autonomisen tilan merkkivalo palaa jatkuvasti vihreänä ja kone piippaa kahdesti. Tämä ilmaisee autonomisen tilan olevan aktiivinen.
Konetta voidaan nyt käyttää valvontasovelluksella.
Varmista, että kaikki anturit toimivat oikein. Katso Esineen tunnistusjärjestelmän tarkistaminen.
Siirrä kone AOA-alueelle.
Ota autonominen tila käyttöön. Noudata kohdan Autonomisen tilan kytkentä ohjeita
Valitse valvontasovelluksen HALLINTAPANEELI-valikosta painike Aloita.
Important: Jos suoritat tehtäväkokonaisuutta väylällä ensimmäistä kertaa, tarkkaile konetta varmistaaksesi, että se seuraa tehtäväkokonaisuutta, ennen kuin kiinnität huomiota muihin tehtäviin.
Hyväksy ponnahdusikkunan sopimus aloittaaksesi tehtäväkokonaisuuden.
Valitse painike TEHTäVäKOKONAISUUDET. Luodut tehtäväkokonaisuudet näkyvät sivulla.
Aktiivisten tehtäväkokonaisuuksien kohdalla on tiimalasiajastin ja yhteenveto tehtäväkokonaisuuden tiedoista.
Valitse yksi sivulla olevista tehtäväkokonaisuuksista. Lisätietoja valituista tehtäväkokonaisuusnäytöistä.
| Näyttö | Merkitys |
| Tehtäväkokonaisuus # | Näyttää tehtäväkokonaisuuden numeron |
| Tila | Katso Koontinäyttö – tehtäväkokonaisuuksien tilat |
| Aloitusaika | Milloin tehtäväkokonaisuus aloitettiin |
| Lopetusaika | Milloin tehtäväkokonaisuuden odotetaan valmistuvan |
| Leikattu alue | Koneen tähän mennessä leikkaama kokonaispinta-ala |
| Kuljettu matka | Matka, jonka kone on kulkenut tähän mennessä |
| Työaika | Kuinka kauan nykyinen tehtäväkokonaisuus on ollut aktiivinen |
| Eteneminen | Näyttää tehtäväkokonaisuuden suoritusprosentin |
| Kuvio | Näyttää nykyisen tehtäväkokonaisuuden kuvion nimen |
| Ominaisuudet | Näyttää valitun leikkuukuvion ominaisuudet. Katso Mukautetun leikkuukuvion luominen |
Koneen anturit havaitsevat esteet. Jos ne aktivoituvat, ne hidastavat konetta tai pysäyttävät sen automaattisesti. Kone valvoo kolmea vyöhykettä: varoaluetta, vaara-alueita ja pudotuksen havaitsemista.

| Kuva 33 viite | Mitat |
| A | 8 m |
| B | 3 m |
Jos kone havaitsee paikallaan olevan esineen varoalueellaan, se alkaa hidastaa vauhtia ja merkkivalot alkavat vilkkua tiheämmin. Kun kone on lähestynyt esinettä ja esine on juuri vaaravyöhykkeen ulkopuolella, kone siirtyy joutokäynnille, voimanulosotto kytkeytyy pois päältä ja kone lähettää yhden minuutin kuluttua tekstiviestin työnvalvojan mobiililaitteeseen. Kun työnvalvoja on poistanut esineen, hän voi jatkaa tehtäväkokonaisuutta etänä mobiililaitteellaan.
Jos kone havaitsee äkillisesti esineen vaara-alueella, kone pysähtyy välittömästi, voimanulosotto kytkeytyy pois päältä, moottori sammuu ja kone siirtyy PYSäKöINTIVAIHTEELLE ja lähettää tekstiviestin työnvalvojalle. Työnvalvojan on sitten poistettava esine ja manuaalisesti vaihdettava autonominen/manuaalinen tilan kytkimen asentoa tehtäväkokonaisuuden jatkamiseksi.
Pudotuksen tunnistus havaitsee, jos kone kohtaa vaarallisen pudotuksen. Jos kone kohtaa vaarallisen maaston, se siirtyy välittömästi PYSäKöINTITILAAN ja lähettää tekstiviestin valvojalle. Työnvalvojan on sitten ajettava kone manuaalisesti turvalliselle alueelle ja vaihdettava autonomisen/manuaalisen tilan kytkimen asentoa voidakseen jatkaa tehtäväkokonaisuutta.
Important: Pudotuksen tunnistusjärjestelmää ei saa koskaan aktivoida, jos työnvalvoja on kartoittanut esteet oikein.Suorita testitehtäväkokonaisuus havaitaksesi mahdolliset pudotuksiin liittyvät ongelmat. Luo uusia AOA-, CMA- tai NOA-alueita, jotta kone välttää tällaiset alueet, joissa on pudotuksia.
Valvontasovelluksessa sisältää toiminnon karttatiedostojen viemiseen ja jakamiseen kaluston koneiden välillä.
Important: On suositeltavaa nimetä yksi koneistasi kentän ensisijaiseksi kartoituskoneeksi. Tämän tulisi olla kalustosi ainoa kone, joka luo uusia kartoitettuja alueita tai muokkaa olemassa olevia kartoitettuja alueita.Työnvalvojan vastuulla on varmistaa, että kaluston jokaiseen koneeseen ladataan oikea karttatiedosto.
Aseta ja kierrä ensisijaisen kartoituslaitteen avain KäYNNISSä-asentoon. Odota 2 minuuttia.
Yhdistä koneeseen GeoLink Mow -valvontasovelluksella.
Valitse ylävalikkoriviltä painike OHJE.
Valitse Vie karttatietokanta -painike, jos haluat luoda ja ladata kopion karttatiedostosta.
Tämä tallentaa kopion karttatiedostostasi laitteesi lataushakemistoon.
Tuo karttatiedosto muihin kalustosi koneisiin:
Työnnä avain virtalukkoon ja käännä se KäYNNISSä-asentoon jokaisessa ei-ensisijaisessa koneessa.
Yhdistä jokaiseen koneeseen GeoLink Mow -valvontasovelluksella.
Valitse ylävalikkoriviltä painike ASETUKSET.
Poista käytöstä Lukitse kartta.
Valitse ylävalikkoriviltä painike OHJE.
Valitse Poista KAIKKI karttatiedot -painike.
Note: Varmista, että aktiivisia tehtäväkokonaisuuksia ei ole, ennen kuin valitset painikkeen.
Valitse Valitse tiedosto -painike ja avaa aiemmin laitteellesi lataamasi tiedosto.
Valitse Tuo karttatietokanta -painike.
Kytke ASETUKSET-valikossa päälle toiminto Lukitse kartta.
Toista nämä vaiheet kaikille muille kaluston koneille.
Jos autonominen ohjausjärjestelmä ei ole käytettävissä tai se ei toimi kunnolla, saattaa olla tarpeen ohittaa järjestelmä, jotta konetta voidaan käyttää manuaalisesti.
Irrota sähköjärjestelmän oikeanpuoleinen kansi. Katso 12 V:n järjestelmän sulakkeiden sijainti.
Etsi liitin pääkoneen johdinsarjasta ja asenna ohitusliitin.

Ennen viheriön leikkuuta kannattaa koneen perustoimintoja (kuten käynnistämistä ja pysäyttämistä, leikkuuyksiköiden nostamista ja laskemista ja kääntymistä) harjoitella esteettömällä alueella.
Tarkista, ettei viheriöillä ole jätteitä, poista mahdolliset leikkuuyksiköitä leikkuun aikana vahingoittavat esineet, irrota lippu reiästä ja määrittele paras ruohonleikkaussuunta. Valitse suunta edellisen leikkaussuunnan perusteella. Leikkaa ruoho aina edellisen leikkausmallin vastaisesti. Näin ruohonkorret eivät niin helposti taivu alas ja niiden leikatuksi tulemisen todennäköisyys kasvaa.
Aloita viheriön yhdeltä reunalta, jotta leikkuussa voidaan käyttää nauhamenetelmää.
Note: Näin ruoho tiivistyy vähemmän ja leikkuukuviosta tulee siisti.
Siirrä toiminnonohjauskytkin LEIKKUU-asentoon.
Työnnä nosto-/lasku-leikkuunohjausvipu eteen, kun leikkuuyksiköiden etureunat ylittävät viheriön ulkoreunan.
Note: Tämä laskee leikkuuyksiköt nurmelle ja käynnistää kelat.
Important: Keskimmäinen leikkuuyksikkö nousee tai laskeutuu hieman etuleikkuuyksiköiden jälkeen. Harjoittele tämän vuoksi ajoitusta, jotta leikkuuta ei tarvitse siistiä jälkikäteen ja jotta reuna ei leikkaudu paljaaksi.Keskimmäinen leikkuuyksikkö nostetaan ja lasketaan ajonopeuden perusteella. Pienempi ajonopeus lisää noston tai laskun viivettä, ja suurempi nopeus vähentää sitä. Kone seuraa ajonopeutta ja päivittää viiveen niin, että kaikki kolme leikkuuyksikköä laskeutuvat linjassa.
Kun leikkaat edellisen leikkuukaistan vierestä, leikkaa hieman myös edellistä kaistaa.
Note: Jotta suora linja ja yhdenmukainen etäisyys edellisen leikkuukaistan reunasta olisi helpompi säilyttää, kuvittele kiintopiste noin 1,8–3 metrin päähän koneen eteen leikkaamattoman viheriön reunaan (Kuva 36). Käytä myös ohjauspyörän ulkoreunaa kiintopisteen määrittämisessä: kohdista ohjauspyörän reuna kiintopisteeseen, jota pidät aina samalla etäisyydellä koneen etuosasta.
Kun keräimien etureuna ylittää viheriön reunan, vedä nosto-/lasku-hallintavipu taakse ja vapauta se vasta, kun kaikki leikkuuyksiköt ovat nousseet. Tämä pysäyttää kelat ja nostaa leikkuuyksiköt.
Important: Ajoita tämä vaihe oikein, jotta reuna-aluetta ei leikata. Viheriöstä kannattaa kuitenkin leikata mahdollisimman suuri osa, jotta ulkolaidalle jää mahdollisimman vähän ruohoa leikattavaksi.
Lyhennä työaikaa ja helpota leikkuukaistojen kohdistamista ohjaamalla kone hetkeksi vastakkaiseen suuntaan ja kääntymällä sitten leikkaamattoman alueen suuntaan. Tästä muodostuu pisaranmuotoinen käännös (Kuva 35), jolla kone on helppo kohdistaa nopeasti seuraavaa ajoa varten.
Note: Jos hidastus- ja kääntötoiminto on kytkettynä, kone hidastuu käännöksen aikana ilman, että käyttäjän tarvitsisi keventää painetta ajopolkimelta.

Note: Käännökset on hyvä pitää mahdollisimman lyhyinä paitsi jos sää on lämmin, jolloin suurempi kaari vähentää nurmen vahingoittumisen mahdollisuutta.

Important: Älä koskaan pysäytä konetta viheriölle erityisesti leikkuuyksiköiden ollessa käynnissä, koska tämä voi vahingoittaa nurmea. Koneen pysäyttäminen nurmelle voi aiheuttaa jälkiä tai painumia.
Leikkaa lopuksi viheriön ulkolaita. Leikkaa edelliseen leikkuuseen nähden vastakkaiseen suuntaan.
Katso kohdasta Ulkolaidan leikkuu ja työn viimeistely, miten voidaan parantaa leikkuujälkeä ja vähentää kolmoisrenkaan muodostumista.
Note: Huomioi aina sää ja nurmiolosuhteet, ja muista leikata edelliseen leikkuuseen nähden vastakkaiseen suuntaan.
Kun olet leikannut viheriön ulkolaidan, pysäytä kelat napauttamalla nosto-/lasku-hallintavipua taaksepäin (jos kelojen pysäytyksen viivetoiminto on käytössä) ja aja pois viheriöltä. Kun kaikki leikkuuyksiköt ovat poissa viheriöltä, nosta ne siirtämällä nosto-/lasku-hallintavipu taakse.
Note: Näin viheriölle jää mahdollisimman vähän ruohopaakkuja.
Aseta lippu takaisin reikään.
| Huoltoväli | Huoltotoimenpide |
|---|---|
| Aina ennen käyttöä tai päivittäin |
|
Pese kone leikkuun jälkeen huolellisesti puutarhaletkun avulla mutta ilman suutinta, jottei liiallinen vedenpaine aiheuta veden pääsyä laitteen sisälle tai vaurioita tiivisteitä, laakereita ja sähköosia. Älä pese lämmintä moottoria tai sähköliitäntöjä vedellä.
Important: Älä puhdista konetta suolapitoisella tai kierrätetyllä vedellä.
Important: Älä pese konetta painepesurilla. Painepesu voi vahingoittaa sähköjärjestelmää, irrottaa tärkeitä tarroja tai huuhtoa pois tarpeellisen rasvan kitkakohdista. Vettä voi tunkeutua tiivisteiden alle, ja öljyä tai rasvaa sisältävät kotelot voivat saastua. Älä käytä liian paljon vettä kojetaulun, moottorin ja akun läheisyydessä.
Important: Älä pese konetta moottorin ollessa käynnissä. Koneen peseminen moottorin käydessä voi vaurioittaa moottorin sisäosia.
Important: Älä suuntaa vettä äänenvaimentimen sisään. Äänenvaimentimen sisään päässyt vesi voi aiheuttaa sisäisiä moottorivaurioita tai moottorin tehon heikentymistä.
Tarkasta leikkuuyksikköjen terävyys koneen puhdistamisen jälkeen.
Ole varovainen lastatessasi konetta perävaunuun tai kuorma-autoon.
Käytä täysleveää ramppia lastatessasi konetta perävaunuun tai kuorma-autoon.
Kiinnitä kone tiukasti hihnoilla, ketjuilla, kaapeleilla tai köysillä. Etu- ja takahihna on suunnattava alas- ja ulospäin koneesta (Kuva 37).

Kun kone on kiinnitetty kuljetusta varten, sulje polttoaineen sulkuventtiili.
Note: Katso Kuva 38 tätä toimenpidettä varten.

Ennen kuin konetta hinataan, jarrun toimilaite on vapautettava seuraavasti:
Kytke seisontajarru.
Irrota avain ja kytke päävirtaliittimet irti.
Important: Jos päävirtaliittimet ovat kytkettyinä hinauksen aikana, sähköosille voi aiheutua vaurioita.
Sulje polttoaineen sulkuventtiili.
Kiilaa eturenkaat molemmilta puolilta.
Vapauta jousen jännite löysäämällä mutteria, jolla silmukkapultti on kiinnitetty jousikannattimeen.
Irrota jousi.
Vie räikkä (â…œ tuumaa) varren kannattimessa olevan reiän läpi ja työnnä toimilaitteen akseli räikkään.
Kun toimilaite vapautuu jarrusta, koneen pyörät pääsevät rullaamaan vapaasti. Vapaasti rullaava kone voi aiheuttaa vakavia vammoja sivullisille.
Jos konetta ei hinata, kytke seisontajarru.
Kytke seisontajarru.
Poista kiilat renkaista.
Jos kolmipyörävetosarja on asennettu, irrota sarjan johdinsarjan liittimet pääjohdinsarjasta.
Important: Jos sarjan ja koneen johdinsarjat ovat kytkettyinä hinauksen aikana, sähköosille voi aiheutua vaurioita.
Kun kone on valmis hinattavaksi, vapauta seisontajarru.
Avustajan on istuttava istuimella, kiinnitettävä turvavyö ja käytettävä jarrua, kun hinaat konetta.
Note: Siten kone pysyy hallinnassa, kun sitä hinataan vaihtelevassa maastossa ja rinteissä.
Käytä koneen hinaamiseen takakääntöpyörän haarukkaa (Kuva 39).
Important: Koneen hinaamisnopeus saa olla enintään 5 km/h. Sähkökomponenteille voi aiheutua vaurioita.

Kun kone on hinattu haluttuun kohteeseen, toimi seuraavasti:
Kytke seisontajarru.
Irrota vetohihna kääntöpyörän haarukasta.
Valmistele käyttö kiristämällä silmukkapultin mutteri niin, että jousen pituus on asennettuna 11,4 cm (Kuva 38).
Konetta voi ajaa käyttämällä koneen akkuvirtaa. Tätä ominaisuutta voi käyttää seuraavissa tilanteissa:
Koneen siirtäminen huoltoliikkeeseen.
Koneen siirtäminen pois viheriöltä, jos moottori sammuu.
Konetta voidaan vain kuljettaa; leikkuuyksiköitä ei voida käynnistää. Toiminto kestää yhden minuutin, ja kuljetusajan voi nollata takaisin yhteen minuuttiin kääntämällä avainta avainkytkimessä.
Istu käyttäjän istuimelle ja kiinnitä turvavyö.
Siirrä avain KäYNNISSä-asentoon.
Siirrä toiminnonohjauskytkin LEIKKUU- tai KULJETUS-asentoon.
Vapauta seisontajarru.
Siirrä konetta ajopolkimella.
Note: Eteenpäinajonopeuden rajoitus on 4,8 km/h, ja peruutusnopeuden rajoitus on 4,0 km/h.
Important: Tämän ominaisuuden liiallinen tai pitkittynyt käyttö voi heikentää akkujen käyttöikää.
| Huoltoväli | Huoltotoimenpide |
|---|---|
| 8 ensimmäisen käyttötunnin jälkeen |
|
| 50 ensimmäisen käyttötunnin jälkeen |
|
| Aina ennen käyttöä tai päivittäin |
|
| 25 käyttötunnin välein |
|
| 50 käyttötunnin välein |
|
| 100 käyttötunnin välein |
|
| 200 käyttötunnin välein |
|
| 800 käyttötunnin välein |
|
| 1000 käyttötunnin välein |
|
| Kahden vuoden välein |
|
Ota tästä sivusta kopioita.
| Tarkistettavat kohdat | Viikolle: | ||||||
|---|---|---|---|---|---|---|---|
| Ma | Ti | Ke | To | Pe | La | Su | |
| Tarkista turvajärjestelmän toiminta. | |||||||
| Tarkista mittareiden toiminta. | |||||||
| Tarkista jarrujen toiminta. | |||||||
| Tarkista moottoriöljyn määrä. | |||||||
| Tarkista polttoaineen määrä. | |||||||
| Puhdista moottorin jäähdytysrivat. | |||||||
| Tarkista ilmasuodattimen esipuhdistin. | |||||||
| Tarkista, kuuluuko moottorista epätavallisia ääniä. | |||||||
| Tarkista rengaspaine. | |||||||
| Tarkista kelan ja kiinteän terän kohdistus. | |||||||
| Tarkista leikkuukorkeussäätö. | |||||||
| Korjaa maalipinnan vauriot. | |||||||
| Tarkasta anturit ja anturin kiinnikkeet. | |||||||
| Pese kone. | |||||||
| Todetut viat | ||
| Tarkastuksen suoritti: | ||
| Vika | Päivämäärä | Huomio |
Mekaaniset tai hydrauliset tunkit saattavat pettää ja aiheuttaa vakavan loukkaantumisen.
Tue nostettu kone pukeilla.
Nosta konetta vain mekaanisilla tai hydraulisilla tunkeilla.
Aseta tunkki haluttuun nostokohtaan (Kuva 40):
Askelma koneen vasemmalla puolella
Tunkin kannatin koneen oikealla puolella
Kääntöpyörän haarukka koneen takaosassa

Kun kone on nostettu, käytä sopivaa pukkia koneen tukemiseen seuraavista kohdista (Kuva 41):
Akkualustat koneen takaosassa
Leikkuuyksiköiden kääntökannattimet koneen etuosassa

| Huoltoväli | Huoltotoimenpide |
|---|---|
| 25 käyttötunnin välein |
|
| 100 käyttötunnin välein |
|
| 200 käyttötunnin välein |
|
Tarkasta vaahtomuovi- ja paperipanokset ja vaihda ne, jos ne ovat vaurioituneet tai hyvin likaiset.
Important: Älä öljyä vaahtomuovi- tai paperipanosta.
Pysäköi kone tasaiselle alustalle, laske leikkuuyksiköt alas ja kytke seisontajarru.
Sammuta moottori ja irrota virta-avain.
Puhdista ilmanpuhdistimen ympäristö, jotta likaa ei pääse moottoriin aiheuttamaan vahinkoa (Kuva 43).
Löysää suojuksen nupit ja irrota ilmanpuhdistimen suojus (Kuva 43).
Löysää letkunkiristin ja irrota ilmanpuhdistinjärjestelmä (Kuva 43).
Vedä vaahtomuovipanos varovasti irti paperipanoksesta (Kuva 43).

Pese vaahtomuovipanos nestesaippualla ja lämpimällä vedellä. Kun panos on puhdas, huuhtele se perusteellisesti.
Kuivaa panos puristamalla sitä puhtaaseen riepuun.
Important: Älä väännä vaahtomuovipanosta, koska se voi revetä.Vaihda vaahtomuovipanos, jos se on repeytynyt tai kulunut.
Puhdista paperipanos pölystä napauttamalla sitä kevyesti. Jos paperipanos on hyvin likainen, vaihda se (Kuva 43).
Tarkista, ettei panos ole repeytynyt, ettei siinä ole öljykalvoa tai ettei kumitiiviste ole vaurioitunut.
Vaihda paperipanos, jos se on vaurioitunut.
Important: Älä puhdista paperisuodatinta.
Important: Moottoria tulee käyttää vain silloin, kun ilmanpuhdistimen vaahtomuovi- ja paperipanokset on kunnolla asennettu, jotta moottori ei pääse vaurioitumaan.
Moottori toimitetaan kampikammio öljyllä täytettynä. Öljymäärä on kuitenkin tarkistettava ennen moottorin ensimmäistä käynnistystä ja sen jälkeen.
API-huoltoluokitus: SJ tai korkeampi
Öljyn viskositeetti: SAE 30
Note: Käytä mitä tahansa korkealaatuista puhdistavaa öljyä.
| Huoltoväli | Huoltotoimenpide |
|---|---|
| Aina ennen käyttöä tai päivittäin |
|
Moottori voi kuumeta erittäin voimakkaasti normaalissa käytössä.
Anna moottorin jäähtyä ennen kuin tarkistat öljyn tai suoritat moottorin huoltotoimia.
Katso Kuva 44 tätä toimenpidettä varten.
Pysäköi kone tasaiselle alustalle, laske leikkuuyksiköt, kytke seisontajarru, sammuta moottori ja irrota virta-avain.
Kierrä mittatikku irti ja pyyhi se puhtaalla liinalla.
Asenna mittatikku mittatikun putkeen.
Irrota mittatikku putkesta ja tarkista öljyn määrä.
Jos öljyä on vähän, lisää öljyä mittatikun putken kautta moottoriin, kunnes öljyä on mittatikun FULL-merkkiin saakka.
Lisää öljyä hitaasti ja tarkista määrä useamman kerran täyttämisen aikana.
Important: Älä täytä moottoria liian täyteen öljyä.
Asenna mittatikku.


| Huoltoväli | Huoltotoimenpide |
|---|---|
| 8 ensimmäisen käyttötunnin jälkeen |
|
| 100 käyttötunnin välein |
|
Moottori voi kuumeta erittäin voimakkaasti normaalissa käytössä.
Anna moottorin jäähtyä ennen kuin vaihdat öljyn tai öljynsuodattimen tai suoritat moottorin huoltotoimia.
Moottoriöljyn määrä: 1,7 l suodattimen kanssa
Irrota tyhjennystulppa (Kuva 45) ja anna öljyn valua tyhjennysastiaan.

Puhdista tyhjennystulpan kierteet ja asenna tyhjennystulppa (Kuva 45).
Irrota öljynsuodatin (Kuva 46).


Levitä ohut kerros puhdasta öljyä uuden suodattimen tiivisteeseen.
Kierrä suodatin käsin paikoilleen, kunnes tiiviste koskettaa suodattimen istukkaa. Kiristä sitten vielä ¾–1 kierros. Älä kiristä liikaa.
Lisää öljyä kampikammioon. Katso Moottoriöljyn tarkistus.
Hävitä öljynsuodatin ja öljy asianmukaisesti.
| Huoltoväli | Huoltotoimenpide |
|---|---|
| 100 käyttötunnin välein |
|
Moottori voi kuumeta erittäin voimakkaasti normaalissa käytössä.
Anna moottorin jäähtyä ennen kuin huollat sytytystulpan tai suoritat moottorin huoltotoimia.
Varmista, että keski- ja sivuelektrodien kärkiväli on oikea, ennen kuin asennat sytytystulpan. Irrota ja asenna sytytystulppa käyttäen apuna sytytystulpan avainta ja tarkista ja säädä kärkiväli kärkivälin työkalulla/rakotulkilla. Asenna tarvittaessa uudet sytytystulpat.
Sytytystulpan tyyppi: NGK® BPR4ES tai vastaava
Kärkiväli: 0,75 mm
Pysäköi kone tasaiselle alustalle, laske leikkuuyksiköt alas ja kytke seisontajarru.
Sammuta moottori ja irrota virta-avain.
Paikanna sytytystulppien suojukset.
Puhdista sytytystulppien suojusten ympäristö, jotta sylinteriin ei pääse epäpuhtauksia.
Irrota suojukset sytytystulpista (Kuva 47).

Irrota sytytystulpat moottorista.
Important: Sytytystulppa tulee vaihtaa aina, kun eriste on mustunut, kun elektrodit ovat kuluneet tai kun tulpassa on öljykalvo tai murtumia.
Puhdista sytytystulppa teräsharjalla hiilijäämien poistamiseksi.
Pese tulppa kaasuttimen puhdistusaineella ja varmista, että kaikki vierasaineet ovat poistuneet.
Tarkasta, onko sytytystulpissa murtumia, kuluneita elektrodeja, mustunutta eristettä, öljykalvoa tai muita kulumia tai vaurioita.
Vaihda sytytystulppa tarvittaessa. Vaihda kaikki sytytystulpat, vaikka vain yksi edellyttäisi vaihtoa.
Tarkista sytytystulpan kärkiväli ja muuta sitä tarvittaessa. Jos muutat kärkiväliä, taivuta vain sivuelektrodia ja käytä sytytystulpille tarkoitettua työkalua.
Säädä kärkiväliksi 0,75 mm.

Jos näet eristeessä vaaleanruskeata tai harmaata, moottori toimii moitteettomasti. Jos eriste on mustunut, ilmanpuhdistin on yleensä likainen.
Katso Kuva 49 tätä toimenpidettä varten.
Asenna sytytystulppa moottoriin.
Kiristä sytytystulppa momenttiin 22 N·m.
Kiinnitä sytytystulppien suojukset takaisin.

| Huoltoväli | Huoltotoimenpide |
|---|---|
| 1000 käyttötunnin välein |
|
Polttoaineputken suodatin on polttoaineen sulkuventtiilin ja moottorin välissä.
Tietyissä oloissa polttoaine on hyvin tulenarkaa ja räjähdysherkkää. Polttoaineen aiheuttama tulipalo tai räjähdys voi aiheuttaa palovammoja ja omaisuusvahinkoja.
Polttoainesäiliön tyhjennys tulee suorittaa silloin, kun moottori on kylmä. Tyhjennys tulee suorittaa ulkona avoimessa tilassa. Pyyhi läikkynyt polttoaine pois.
Polttoainesäiliötä tyhjennettäessä ei saa tupakoida, ja tyhjennys tulee suorittaa kaukana avotulesta tai paikoista, joissa kipinä voi sytyttää höyryt.
Sulje polttoaineen sulkuventtiili (Kuva 50).

Aseta tyhjennysastia suodattimen alle, löysää kaasuttimen puolella olevaa suodattimen letkunkiristintä ja irrota polttoaineletku suodattimesta (Kuva 50).
Löysää toista letkunkiristintä ja irrota suodatin.
Tarkasta polttoaineletkut halkeamien, haurastumien ja vaurioiden varalta ja vaihda tarvittaessa.
Asenna uusi suodatin siten, että suodattimessa oleva nuoli osoittaa pois polttoainesäiliöstä.
Varmista, että letkut ja letkunkiristimet ovat tukevasti kiinni suodattimessa.
Avaa polttoaineen sulkuventtiili ja täytä säiliö. Tarkista, että polttoaineputkissa ei ole vuotoja tai löysiä liitäntöjä.
| Huoltoväli | Huoltotoimenpide |
|---|---|
| Kahden vuoden välein |
|
Tarkista, että polttoaineputkissa ei ole haurastumia, vaurioita tai löysiä liitäntöjä.
Päävirtaliittimet antavat virtaa koneeseen akuista. Katkaise virta erottamalla liittimet. Kytke virta kytkemällä liittimet yhteen. Katso kohta Päävirtaliittimet.
Akun kaapeleiden virheellinen asennus voi vahingoittaa konetta ja kaapeleita aiheuttaen kipinöitä. Kipinät voivat saada akun kaasut räjähtämään ja aiheuttaa siten henkilövahingon.
Irrota aina akun miinuskaapeli (musta) ennen pluskaapelin (punainen) irrottamista.
Kytke aina akun pluskaapeli (punainen) ennen miinuskaapelia (musta).
12 V:n AGM-akku (lasikuitumattoakku) (Kuva 51) antaa virtaa tietokeskukseen, jarrun toimilaitteeseen, koneohjaimeen ja CAN-eristysmoduuliin.

Irrota oikean sivun suojus.
Irrota akun suojus.
Irrota akkukaapelit akuista.
Kytke laturi akkukenkiin ja lataa akku.
Huomioi seuraavat akkulaturin tiedot:
Varmista, että akkulaturin liittimet eivät kosketa toisiaan tai koneen runkoa. Suosittelemme käyttämään pienempiä liittimiä.
Paras vaihtoehto on akkulaturi, jossa on AGM-latausasetus.
Enimmäislatausvirta: 2,4 A
Enimmäislatausjännite: 14,3 V
Kytke akkukaapelit akkuun, kun lataus on valmis.
Asenna akun suojus akun päälle.
Asenna oikean sivun suojus.
Important: Emme suosittele 48 V:n akkujärjestelmän lataamista.
48 V:n akkujärjestelmä koostuu neljästä akusta (12 V, AGM [lasikuitumatto]). Akut sijaitsevat koneen kummallakin puolella olevien suojusten alla. Katso kuva (Kuva 52). Järjestelmä antaa tehoa vetopyöriin, leikkuuyksikön moottoreihin, ohjausmoottoriin ja noston toimilaitteisiin.

Koneen 48 V:n sähköjärjestelmän sulakkeet sijaitsevat istuimen alla (Kuva 53).

Generaattorin (100 A) ja oikeanpuoleisen napamoottorin (60 A) sulakkeet sijaitsevat istuimen alla (Kuva 58).

Vasemmanpuoleisen napamoottorin sulake (60 A) sijaitsee koneen vasemmalla puolella olevan suojuksen alla kelojen käyttöpiirin sulakkeiden lähellä (Kuva 59).

Sähköjärjestelmän sulake sijaitsee päävirtaliittimien alla (Kuva 60).

| Huoltoväli | Huoltotoimenpide |
|---|---|
| Aina ennen käyttöä tai päivittäin |
|
Vaihtele kaikkien kolmen renkaan painetta nurmiolojen mukaan välillä 0,83 bar – 1,10 bar.
Important: Varmista, että kaikilla renkailla on sama rengaspaine. Jos renkailla on eri rengaspaineet, se vaikuttaa koneen suorituskykyyn.
| Huoltoväli | Huoltotoimenpide |
|---|---|
| 8 ensimmäisen käyttötunnin jälkeen |
|
| 200 käyttötunnin välein |
|
Pyöränmuttereiden väärä kireys saattaa johtaa henkilövahinkoihin.
Kiristä pyöränmutterit ilmoitettuun momenttiin ohjeistetuin aikavälein.
Pyöränmutterien kiristysmomentti: 108–122 N·m
Jotta kireys jakautuu tasaisesti, kiristä pyöränmutterit kuvassa (Kuva 63) näkyvässä järjestyksessä.

| Huoltoväli | Huoltotoimenpide |
|---|---|
| 8 ensimmäisen käyttötunnin jälkeen |
|
| 800 käyttötunnin välein |
|
Nesteen tiedot: SAE 80W90
Vaihteiston öljytilavuus: noin 384 ml
Nosta kone. Katso kohta Koneen nosto.
Important: Koneen on oltava vaakatasossa, jotta vaihteistoon voidaan lisätä oikea määrä nestettä.Varmista, että kone on vaakatasossa pukkien päällä.
Irrota vasemman- ja oikeanpuoleiset renkaat seuraavasti:
Löysää pyöränmutterit ja irrota ne (Kuva 64).

Irrota vasemman- ja oikeanpuoleiset renkaat.
Aseta tyhjennysastia napamoottorikokoonpanon alle (Kuva 65).

Irrota tulppa tyhjennysaukosta (Kuva 65).
Note: Tyhjennysaukko sijaitsee vaihteiston pohjassa.
Note: Anna öljyn valua kokonaan pois vaihteistosta.
Puhdista tulppa.
Asenna tyhjennystulppa tyhjennysaukkoon (Kuva 65).
Irrota ilmaletku ja liitin vaihteiston yläosasta (Kuva 66).

Lisää vaihteiston täyttöaukkoon 384 ml määrityksen mukaista nestettä.
Asenna ilmaletku ja liitin täyttöaukkoon (Kuva 66).
Asenna renkaat seuraavasti:
Liu’uta vasemman- ja oikeanpuoleiset renkaat pyörännavoille.
Asenna pyöränmutterit (Kuva 64).
Kiristä pyöränmutterit kohdassa Pyöränmuttereiden kireyden tarkistus ilmoitettuun momenttiin.
Jos jarru ei pidä konetta paikallaan pysäköinnin aikana, jarruja voidaan säätää. Ota yhteys valtuutettuun Toro-jälleenmyyjään tai katso lisätietoja huolto-oppaasta.
Kulunut tai vaurioitunut terä tai kiinteä terä voi rikkoutua ja pala voi sinkoutua käyttäjää tai ohikulkijaa päin, mikä voi aiheuttaa vakavan henkilövahingon tai kuoleman.
Terät ja kiinteät terät on tarkistettava säännöllisesti liiallisen kulumisen ja vaurioiden varalta.
Ole varovainen, kun tarkastat teriä. Käytä käsineitä ja noudata varovaisuutta keloja huoltaessasi. Terät ja kiinteät terät saa ainoastaan vaihtaa tai läpätä. Niitä ei saa suoristaa eikä hitsata.
Ole varovainen käsitellessäsi monen leikkuuyksikön koneita, sillä yhden leikkuuyksikön kääntäminen saattaa kääntää muiden leikkuuyksiköiden keloja.
Note: Kun leikkuuyksikköjä ei ole kytketty koneeseen, suojaa leikkuuyksiköiden kelamoottorit vaurioilta asettamalla ne tukivarsien edessä olevaan säilytyspaikkaan.
Important: Älä nosta ripustusta kuljetusasentoon, kun kelamoottorit ovat kannattimissa koneen rungossa. Tämä voi vaurioittaa moottoreita tai letkuja.
Important: Jos leikkuuyksikköä on kallistettava, nosta leikkuuyksikön takaosa siten, että runkopalkin säätöruuvien mutterit eivät nojaa työpintaan (Kuva 67).

Kuuman moottorin tai äänenvaimentimen koskettaminen voi aiheuttaa vakavia palovammoja.
Odota ennen leikkuuyksiköiden asentamista, että kuuma moottori tai äänenvaimennin jäähtyy.
Ripustus on laskettava alas, jotta leikkuuyksiköt voidaan asentaa. Laske ripustus alas seuraavasti:
Pysäköi kone puhtaalle, tasaiselle alustalle.
Aseta toiminnonohjauskytkin VAPAA-asentoon.
Käynnistä moottori tai käännä avain KäYNNISSä-asentoon.
Laske ripustus alas nosto-/lasku-hallintavivulla.
Kytke seisontajarru, sammuta moottori ja irrota virta-avain.
Asenna leikkuuyksiköt seuraavasti:
Irrota päävirtaliittimet. Katso kohta Päävirtaliittimet.
Jos koneen virransyöttöä ei katkaista, joku saattaa vahingossa käynnistää leikkuuyksiköt, mikä voi johtaa käsien ja jalkojen vakavaan loukkaantumiseen.
Irrota aina päävirtaliittimet ennen leikkuuyksiköiden huoltoa.
Aseta leikkuuyksikkö keskimmäisen tukivarren alle.
Avaa tukivarren tangon salvat (Kuva 68) ja paina tukivartta alas niin, että tanko osuu kohdakkain leikkuuyksikön molempien kallistusvarsien kanssa, ja varmista, että salvat menevät leikkuuyksikön poikkitangon alle (Kuva 69).


Paina salvat kiinni leikkuuyksikön tangon ympäri ja lukitse ne paikalleen (Kuva 68).
Note: Salvat napsahtavat ja tunnet, kun ne lukittuvat paikalleen oikein.
Päällystä leikkuuyksikön moottorin ura-akseli puhtaalla rasvalla (Kuva 70).
Aseta moottori leikkuuyksikön vasemmalle puolelle (käyttäjän paikalta katsottuna) ja vedä leikkuuyksikössä olevaa moottorin kiinnitystankoa moottoria kohti, kunnes moottorin kummaltakin puolelta kuuluu napsahdus (Kuva 70).

Toista toimenpide muille leikkuuyksiköille.
Kytke päävirtaliittimet. Katso kohta Päävirtaliittimet.
Kuuman moottorin tai äänenvaimentimen koskettaminen voi aiheuttaa vakavia palovammoja.
Odota ennen leikkuuyksiköiden asentamista, että kuuma moottori tai äänenvaimennin jäähtyy.
Pysäköi kone puhtaalle, tasaiselle alustalle, aseta toiminnonohjauskytkin VAPAA-asentoon ja laske leikkuuyksiköt alas nosto-/lasku-hallintavivulla.
Kytke seisontajarru, sammuta moottori ja irrota virta-avain.
Irrota päävirtaliittimet. Katso kohta Päävirtaliittimet.
Jos koneen virransyöttöä ei katkaista, joku saattaa vahingossa käynnistää leikkuuyksiköt, mikä voi johtaa käsien ja jalkojen vakavaan loukkaantumiseen.
Erota aina päävirtaliittimet toisistaan ennen leikkuuyksiköiden huoltoa.
Paina moottorin kiinnitystanko ulos moottorin urista kohti leikkuuyksikköä ja irrota moottori leikkuuyksiköstä.

Siirrä moottori tukivarren edessä olevaan säilytyspaikkaan (Kuva 72).

Note: Kun teroitat teriä, säädät leikkuukorkeutta tai muuten huollat leikkuuyksikköjä, suojaa leikkuuyksiköiden kelamoottorit vaurioilta asettamalla ne tukivarsien edessä olevaan säilytyspaikkaan.
Important: Älä nosta ripustusta kuljetusasentoon, kun kelamoottorit ovat kannattimissa koneen rungossa. Tämä voi vaurioittaa moottoreita tai letkuja. Jos ajoyksikköä on siirrettävä ilman, että leikkuuyksiköt ovat asennettuina, kiinnitä ne tukivarsiin nippusiteillä.
Avaa salvat irrotettavan leikkuuyksikön tukivarren tangolta (Kuva 68).
Irrota salvat leikkuuyksikön tangolta.
Vieritä leikkuuyksikkö pois tukivarren alta.
Toista vaiheet 4–8 muiden leikkuuyksiköiden kohdalla tarvittaessa.
Kytke päävirtaliittimet. Katso kohta Päävirtaliittimet.
| Huoltoväli | Huoltotoimenpide |
|---|---|
| Aina ennen käyttöä tai päivittäin |
|
Tarkista kelan ja kiinteän terän kosketus joka päivä ennen koneen käyttöä, vaikka leikkuun laatu olisikin täysin hyväksyttävää. Kelan ja kiinteän terän on kosketettava toisiaan kevyesti koko pituudeltaan. Katso lisätietoja leikkuuyksikön käyttöoppaasta.
Irrota päävirtaliittimet ennen kelojen tarkistusta. Katso kohta Päävirtaliittimet. Kytke lopuksi liittimet yhteen.
Kiinteiden terien, kelaterien tai muiden liikkuvien osien koskettaminen saattaa johtaa loukkaantumiseen.
Pidä sormet, kädet ja vaatteet etäällä kiinteistä teristä, kelateristä ja muista liikkuvista osista.
Älä yritä kääntää keloja kädellä tai jalalla moottorin käydessä.
Pysäköi kone tasaiselle alustalle, laske leikkuuyksiköt alas, siirrä toiminnonohjauskytkin VAPAA-asentoon, kytke seisontajarru, sammuta moottori ja irrota virta-avain.
Tee kaikille läpättäville leikkuuyksiköille asianmukaiset kelan ja kiinteän terän kohdistukset läppäystä varten. Katso leikkuuyksikön käyttöopas.
Työnnä avain avainkytkimeen ja käynnistä moottori.
Valitse tietokeskuksen ohjaustaulussa HUOLTO-valikosta kohta BACKLAP (läppäys).
Valitse kohdassa BACKLAP (läppäys) vaihtoehto PääLLä.
Avaa päävalikko ja etsi kohta Asetukset.
Etsi ASETUKSET-valikosta kohta LäPPäYKSEN KäYNTINOPEUS ja aseta haluttu läppäysnopeus käyttämällä painiketta ±.
Kun toiminnonohjausvipu on VAPAA-asennossa, aloita määritettyjen kelojen läppäys siirtämällä nosto-/lasku-hallintavipua eteenpäin.
Levitä läppäysainetta pitkävartisella harjalla. Älä käytä lyhytvartista harjaa.
Jos kelat pysähtyvät tai toimivat epäsäännöllisesti läppäyksen aikana, valitse suurempi kelanopeus, kunnes nopeus vakaantuu.
Jos haluat säätää leikkuuyksikköjä läppäyksen aikana, pysäytä kelat siirtämällä nosto-/lasku-hallintavipua taaksepäin ja sammuta moottori. Kun säädöt on tehty, toista vaiheet 3–9.
Toista toimenpiteet kaikille läpättäville leikkuuyksiköille.
Kun olet valmis, valitse tietokeskuksen BACKLAP (Läppäys) -asetukseksi POIS tai käännä virta-avain PYSäYTYS-asentoon, jolloin kone alkaa jälleen leikata eteenpäin.
Pese läppäysaine kokonaan pois leikkuuyksiköistä. Kohdista leikkuuyksikön kela ja kiinteä terä tarvittaessa. Siirrä leikkuuyksikön kelanopeuden säädin haluttuun leikkuuasentoon.
Important: Älä pese leikkuuyksikköjä korkeapaineisella vedellä. Laakereille ja tiivisteille voi aiheutua vaurioita.
| Huoltoväli | Huoltotoimenpide |
|---|---|
| Aina ennen käyttöä tai päivittäin |
|

Taipunut tai rikkoutunut anturi tai anturin kiinnike lisää esineen tunnistusjärjestelmän vikaantumisen mahdollisuutta. Tästä voi seurata vakava vamma tai kuolema.
Jos jokin antureista tai anturin kiinnikkeistä on taipunut tai rikkoutunut, korjaa tai vaihda ne välittömästi.
Tarkasta anturit ja anturin kiinnikkeet ennen koneen autonomista käyttöä.
| Huoltoväli | Huoltotoimenpide |
|---|---|
| Aina ennen käyttöä tai päivittäin |
|
Puhdista anturit aina, kun niihin on kertynyt näkyvästi roskia tai ne eivät toimi.
Vältä antureiden liiallista puhdistamista, koska se voi vahingoittaa anturia.
Katso anturien sijainnit kuvasta Kuva 73.
Important: Älä käytä korkeapaineista vettä minkään anturin puhdistamiseen.
Puhdista ääni- tai tutka-antureista kaikki jäämät ja roskat Simple Green® -puhdistusaineella tai muulla vastaavalla miedolla saippualla.
Note: Vältä kovan veden käyttöä puhdistaessasi LiDAR-anturia.
Määritä sopiva puhdistusmenetelmä:
Etsi sarjanumeron ensimmäiset 5 merkkiä anturista. Sarjanumero on anturin alapuolella olevassa tarrassa.
Jos ensimmäiset 5 merkkiä ovat välillä AE001–AE229, siirry vaiheeseen 2.
Jos ensimmäiset 5 merkkiä ovat AE230 tai suurempia, siirry vaiheeseen 3 tai 4.
Puhdista saippuavedellä.
Irrota roskat anturin linssistä käyttäen suihkepulloa, jossa on puhdasta lämmintä vettä.
Important: Älä pyyhi likaa tai roskia suoraan anturista. Se saattaa naarmuttaa linssiä.
Pyyhi anturi varovasti mikrokuituliinalla lämpimällä, miedolla saippuavedellä.
Note: Pyyhi linssin kaaren suuntaisesti äläkä ylös ja alas anturin pinnalla.
Huuhtele jäljellä oleva saippua pois suihkuttamalla anturiin puhdasta vettä ja kuivaa sitten puhtaalla mikrokuituliinalla.
Puhdista isopropyylialkoholilla.
Irrota roskat anturin linssistä käyttäen suihkepulloa, jossa on puhdasta lämmintä vettä.
Important: Älä pyyhi likaa tai roskia suoraan anturista. Se saattaa naarmuttaa linssiä.
Puhdista anturista jäljellä oleva lika tai roskat isopropyylialkoholilla ja puhtaalla mikrokuituliinalla.
Pyyhi anturi varovasti mikrokuituliinalla lämpimällä, miedolla saippuavedellä.
Note: Pyyhi linssin kaaren suuntaisesti äläkä ylös ja alas anturin pinnalla.
Huuhtele jäljellä oleva saippua pois suihkuttamalla anturiin puhdasta vettä ja kuivaa sitten puhtaalla mikrokuituliinalla.
Puhdista NACL Optics Cleaner -puhdistusaineella.
North American Coating Laboratories (NACL) on kehittänyt puhdistusliuoksen tietyille optisille laitteille. Sitä voi tilata yrityksestä suoraan seuraavilla tiedoilla:
NACL-tuotenumero: 98-0020
NACL:n kuvaus: NACL Precision Optics Cleaner 6 oz
Suihkuta NACL Precision Optics Cleaner -liuosta puhtaalle, kuivalle mikrokuituliinalle.
Pyyhi anturia varoen linssin kaaren suuntaisesti äläkä pinnalta ylös ja alas.
Jos haluat varastoida koneen pidemmäksi aikaa, toimi sitä ennen kohdassa Laitteen valmistelu varastointia varten olevien ohjeiden mukaan.
Jos mahdollista, varastoi kone lämpimässä, kuivassa paikassa.
Riippumatta siitä, onko akut asennettu koneeseen vai poistettu koneesta, ne on varastoitava asianmukaisessa ympäristössä:
Suositeltu varastointilämpötila on 10–25 °C.
Varastointi äärimmäisissä lämpötiloissa nopeuttaa akun tyhjenemistä itsekseen.
Jos lämpötilan odotetaan laskevan pitkäksi aikaa reilusti alle nollan, poista akut koneesta ja varastoi ne lämpimämmässä ympäristössä.
Irrota päävirtaliittimet. Katso kohta Päävirtaliittimet.
Poista kerääntynyt lika ja vanhat leikkuujätteet. Teroita kelat ja kiinteät terät tarvittaessa. Katso ohjeet leikkuuyksikön käyttöoppaasta. Voitele kiinteät terät ja kelaterät ruosteenestoaineella.
Tyhjennä polttoainesäiliö kokonaan. Käytä moottoria, kunnes se sammuu. Vaihda polttoainesuodatin. Katso Polttoainesuodattimen vaihto.
Kun moottori on vielä lämmin, tyhjennä öljy kampikammiosta. Täytä uudelleen tuoreella öljyllä. Katso Moottoriöljyn ja öljynsuodattimen vaihto.
Irrota sytytystulpat, kaada 30 ml SAE 30 -öljyä sylintereihin ja pyöritä moottoria, jotta öljy leviää. Vaihda sytytystulpat. Katso Sytytystulpan huolto.
Puhdista lika ja roskat sylinteristä, sylinterinkannen rivoista ja tuulettimen kotelosta.
Irrota akun kaapelit 12 V:n akusta.
Varmista, että 12 V:n ja 48 V:n akut ovat täyteen ladattuja. Katso latausohjeet ajoyksikön huolto-oppaasta.
Tarkista akun varaustaso ja lataa akku kuuden kuukauden varastointiajan välein.
Nosta ja tue kone niin, että sen paino on pois pyöriltä.