| Onderhoudsinterval | Onderhoudsprocedure |
|---|---|
| Bij elk gebruik of dagelijks |
|
Deze machine is een zitmaaier met messenkooimes die bedoeld is voor professionele bestuurders in commerciële toepassingen. Ze is voornamelijk ontworpen voor het maaien van goed onderhouden grasmatten. Dit product gebruiken voor andere doeleinden dan het bedoelde gebruik kan gevaarlijk zijn voor u of voor omstanders.
De autonome modus van deze geautomatiseerde messenkooimaaier is voorbehouden voor professionele supervisors in geautomatiseerd gazononderhoud bij commerciële toepassingen. De machine is voornamelijk ontworpen voor het maaien van goed onderhouden grasmatten op terreinen die voldoen aan de normen van Toro, die u hier kunt vinden: Beoordelingscriteria van sites geschikt voor autonoom werk. Dit product gebruiken voor andere doeleinden dan het bedoelde gebruik kan gevaarlijk zijn voor u of voor omstanders.
Lees deze informatie zorgvuldig door, zodat u weet hoe u de machine op de juiste wijze moet gebruiken en onderhouden en om schade aan de machine en letsel te voorkomen. U bent verantwoordelijk voor het juiste en veilige gebruik van de machine.
Ga naar www.toro.com voor meer informatie, inclusief veiligheidstips, instructiemateriaal, informatie over accessoires, hulp bij het vinden van een dealer of om uw product te registreren.
Als u service, originele Toro-onderdelen of aanvullende informatie nodig hebt, kunt u contact opnemen met een erkende Toro dealer. U dient hierbij altijd het modelnummer en het serienummer van het product te vermelden. De locatie van het plaatje met het modelnummer en het serienummer van het product is aangegeven op Figuur 1. U kunt de nummers noteren in de ruimte hieronder.
Important: U kunt met uw mobiel apparaat de QR-code op het plaatje met het serienummer (indien aanwezig) scannen om toegang te krijgen tot de garantie, onderdelen en andere productinformatie.

Het waarschuwingssymbool (Figuur 2) in deze handleiding en op de machine geeft belangrijke veiligheidsinformatie aan die u moet opvolgen om ongelukken te voorkomen.

Het waarschuwingssymbool staat boven informatie die u waarschuwt voor onveilige acties of situaties en wordt gevolgd door het woord GEVAAR, WAARSCHUWING, of VOORZICHTIG.
GEVAAR: een direct gevaarlijke situatie die, als deze niet wordt voorkomen, altijd zal leiden tot de dood of ernstig letsel.
WAARSCHUWING: een mogelijk gevaarlijke situatie die, als deze niet wordt voorkomen, kan leiden tot de dood of ernstig letsel.
VOORZICHTIG: een mogelijk gevaarlijke situatie die, als deze niet wordt voorkomen, kan leiden tot licht of middelmatig letsel.
Er worden in deze handleiding nog twee woorden gebruikt om uw aandacht op bijzondere informatie te vestigen. Belangrijk attendeert u op bijzondere technische informatie en Opmerking duidt algemene informatie aan die bijzondere aandacht verdient.
Deze machine is ontworpen voor twee bedieningsmodi:
Manuele modus: In deze bedrijfsmodus bedient een bestuurder de functies van de machine.
Autonome modus: In deze bedrijfsmodus voert de machine functies uit die verband houden met de bedoelde taken ervan zonder de tussenkomst van een bestuurder; hierbij houdt een gekwalificeerde supervisor toezicht op het werk.
Gebruik deze richtlijnen om na te gaan of een site geschikt is om de machine(s) in autonome modus te gebruiken.
Een direct pad is een pad dat machine(s) in autonome modus kan/kunnen volgen zonder obstructies tegen te komen.
Een obstructie verhindert dat machine(s) ononderbroken in autonome modus kunnen werken. Het objectdetectiesysteem stelt de machine in staat te stoppen wanneer het een van de volgende obstructies detecteert:
Hekken (bijv. volle muur of gaas; touw en tijdelijke hekken worden niet beschouwd als obstructies)
Keermuren
Ononderbroken rijen heggen of beplanting van meer dan 1 meter hoog zonder openingen die breder zijn dan de machine
Greppels
Rivieren
Meren
Gebouwen
Hellingen die te steil zijn voor de machine(s)
Enig ander ondoordringbaar terrein dat de machine fysiek de doorgang belemmert
Een autonoom werkgebied (Autonomous Operating Area of AOA) is een zone die de supervisor heeft bepaald en waar de machine(s) in autonome modus een direct pad kan/kunnen volgen.
Een niet-werkgebied (Non-Operating Area of NOA) is een zone die de supervisor heeft bepaald en waar de machine(s) in autonome modus geen direct pad kan/kunnen volgen.
Een geschikte site voldoet aan alle Siteveiligheidscriteria voor autonome werkgebieden.
Voordat u de autonome modus van de machine inschakelt, moet u nagaan of de grens van de AOA ten minste 10 meter verwijderd is van al de volgende gevaren:
Note: Of als er een obstructie is (bijv. een volle muur of ondoordringbaar terrein) tussen de machine en een van de volgende gevaren, zorg dan dat de grens van de AOA zich ten minste 2 meter van de obstructie bevindt.
Een openbare weg is een weg die voertuigen (zoals auto’s, terreinwagens en fietsen) mogen gebruiken, maar voetgangers niet.
Als openbare zones of paden tijdens het werk in de autonome modus gesloten zijn voor het publiek, dan zijn de bovenstaande restricties voor AOA-grenzen niet van toepassing.
Een openbaar fietspad is een pad dat dagelijks de hele dag toegankelijk is voor gebruikers van lichte tweewielers (bijv. fietsen en scooters).
Als openbare zones of paden tijdens het werk in de autonome modus gesloten zijn voor het publiek, dan zijn de bovenstaande restricties voor AOA-grenzen niet van toepassing.
Een openbaar voetpad is een openbaar pad dat voor ieder toegankelijk is en waar het gebruik van voertuigen niet toegelaten is.
Als openbare zones of paden tijdens het werk in de autonome modus gesloten zijn voor het publiek, dan zijn de bovenstaande restricties voor AOA-grenzen niet van toepassing.
Een diepe bunker of afgrond is een zandbak of verlaging die minstens 1,5 meter diep is binnen 1,0 meter van de rand van de bak.
Een onderhoudsfaciliteit omvat de gebouwen en gerelateerde buitenzones die enkel het terreinpersoneel gebruikt voor het onderhoud en de opslag van toebehoren zoals de machine(s). Andere mensen en overig terreinpersoneel dat het toebehoren niet onderhoudt, hebben geen toegang tot de onderhoudsfaciliteit of de gerelateerde buitenzones.
Privé-eigendom is elk gebied waar u geen toegang toe hebt.
Important: Er mogen zich erg steile hellingen bevinden in een AOA of op minder dan 10 meter van de grens van een AOA, maar ze moeten omgeven zijn door een NOA-grens.
Meet de hellingshoeken door een plank van 1,25 meter lang op het steilste stuk van de helling te leggen en een hellingmeter op de plank te plaatsen.
U mag geen machine(s) in autonome modus gebruiken op te steile hellingen, zoals hier gedefinieerd;
Gebruik de machine niet op hellingen van 14° (25%) of meer voor een horizontale afstand van meer dan 10 meter.
Gebruik de machine niet op hellingen steiler dan 15° (27%).
Gekwalificeerde machinesupervisor (supervisor)
Eén of meerdere personen die verantwoordelijk zijn voor het toezicht op de machine(s). Een supervisor moet blijk geven van het volgende:
Bekwaamheid om de machine te besturen
Algemene kennis van de aandrijving en het inschakel- en besturingssysteem van de machine(s)
Opgeleid te zijn en de gebruikershandleidingen van de machine te hebben gelezen en deze te begrijpen
Gekwalificeerde manuele bestuurder (bestuurder)
Eén of meerdere werknemers van de klant die verantwoordelijk zijn voor het manueel besturen van de machine in manuele modus.
Ingebouwde noodstop
Een noodstopschakelaar (e-stop) die op de machine zit en eraan bevestigd is. De schakelaar werkt uitsluitend wanneer de machine in autonome modus geschakeld is.
Mobiel apparaat
Het mobiele apparaat van een supervisor (bijv. smartphone of tablet) die aan de machine kan worden gekoppeld voor het programmeren en besturen van, en het toezicht houden op, de machine wanneer deze in autonome modus werkt. Het apparaat dient als afstandsbediening die de supervisor bij zich moet dragen om indien nodig de opdracht te geven alle functies van de machine(s) te stoppen.
Melding - Een bericht dat de gebruiker in kennis stelt van een gebruikersfout of iets anders dat het werk kan onderbreken en mogelijk de tussenkomst van de gebruiker vergt.
App - Een afkorting voor ‘softwareapplicatie’. Een computerprogramma op een mobiel apparaat dat een of meerdere taken uitvoert. Synoniemen zijn applicatie, mobiele app of webapp.
Autonoom besturingssysteem (Autonomous Control System of ACS) - Een systeem dat software en hardware omvat waarmee een machine lange tijd taken kan uitvoeren zonder menselijke tussenkomst.
Autonome modus - In deze bedrijfsmodus voert de machine functies uit die verband houden met de bedoelde taken ervan zonder de tussenkomst van een bestuurder. Het tegenovergestelde van manuele modus.
Autonoom werkgebied (Autonomous Operating Area of AOA) - Een gebied waar autonoom werken toegestaan is. Binnen dit gebied kan de machine vrij kiezen welk traject het neemt om van de ene plaats naar de andere te gaan. Meestal zijn dit gebieden met weinig vaste obstakels. In de context van een golfterrein omvat dit gebied ten minste een deel van een fairway of oppiklocatie.
Basisstation - In het kader van externe landmeetkunde is dit een GNSS-ontvanger op een nauwkeurig gekende, vaste locatie die dient om corrigerende informatie af te leiden voor draagbare GNSS-ontvangers in de buurt. Zie ook Global Positioning System (gps); GNSS-ontvanger.
Grens - Iets dat een limiet of bereik aanduidt of vaststelt. Voor een automatisch systeem is het de buitenste lijn van een toegelaten werkgebied, een pad of een uitgesloten gebied. Ook wel de omtrek genoemd. Zie ook Werkgebied; Pad; Uitgesloten gebied.
Middenlijn - Een lijn die over het midden van de gehele fairway loopt. Voor gekruiste maaipatronen volgt de machine tijdens het maaien de kromming van deze lijn.
Aaneengesloten maaigebied (Contiguous Mowing Area of CMA) - Het gebied waarbinnen wordt gemaaid. Op de kaart wordt dit aangeduid met de lichtere groene lijn binnen een AOA. Deze bepaalt het gebied dat de machine zal maaien. Een CMA kan openingen bevatten maar is toch één gesloten gebied dat zich volledig binnen één AOA bevindt. Op een golfterrein is dit doorgaans een (deel van een) fairway in het geval van fairways die door natuurlijke obstakels in verschillende delen zijn verdeeld (bijv. een meer).
Speelrichting (Direction of Play of D.o.P.) - In golf is de speelrichting de richting van tee naar green. Bij autonoom maaien kan men de speelrichting gebruiken om aangepaste maaipatronen te creëren. De machine kan met de speelrichting mee of ertegenin maaien, of ze kan ingesteld worden om ten opzichte van de speelrichting een bepaalde hoek aan te houden.
Uitgesloten gebied - Een door de gebruiker aangeduid gebied waar de machine niet mag komen. Zie Niet-werkgebied (NOA).
Storing - Het gevolg van een mechanische, sensor- of softwarefout die onderhoud of reparatie van de machine, sensor of softwarecode vereist.
Global Navigation Satellite System (GNSS) - Een algemene term waarmee men alle systemen aanduidt die men gebruikt voor locatiebepaling met satellieten. Zie ook Global Positioning System.
Global positioning system (gps) - Een in de Verenigde Staten gebaseerd, constellatiegebaseerd navigatiesysteem dat een digitaal signaal van elke satelliet gebruikt om data te verzenden naar een ontvanger. Deze ontvanger kan dan de afstand tot de satelliet schatten, evenals de geografische positie (GP) van de satelliet (de locatie op aarde die zich direct onder de satelliet bevindt).
GNSS-antenne - Een apparaat dat dient om radiosignalen te ontvangen en te versterken die via verschillende frequenties werden verzonden vanaf GNSS-satellieten. Zie ook Global Navigation Satellite System; Global Positioning System.
GNSS-ontvanger - Een apparaat dat gegevens kan ontvangen van GNSS-satellieten. Ook wel satellietnavigatiesysteem genoemd. Zie ook Global Navigation Satellite System.
Ga naar oppiklocatie - Een handeling waarbij de machine op vraag van de supervisor zelfstandig terugkeert naar een vooraf bepaalde locatie.
Opening - Een zone binnen een CMA waar de operator de machine toegang toe geeft, ook al mag ze hier niet maaien. Creëer een NOA binnen de opening voor gebieden die een machine nooit mag binnengaan tijdens autonome modus; zie Niet-werkgebied (NOA).
Inter-AOA-paden - Paden die de machine kan gebruiken om van de ene AOA naar de andere te rijden. Dit zijn de oranje lijnen op de kaart. Deze ingestelde paden vallen meestal samen met paden die door mensen bestuurde machines reeds gebruiken. Bij het rijden van de ene AOA naar de andere zal de machine deze paden precies volgen of minstens zeer goed benaderen.
LiDAR (laser imaging, detection, and ranging) - Zie Sensortyopes.
Lokalisering - Het proces waarbij de locatie van een mobiele machine wordt bepaald ten opzichte van een globaal referentiekader. Lokalisering is een fundamentele vaardigheid voor machines omdat gegevens over de locatie ervan nodig zijn om beslissingen te maken over toekomstige handelingen.
Manuele modus - In deze bedrijfsmodus bedient een bestuurder de functies van de machine. Het tegenovergestelde van autonome modus.
Mapping (in kaart brengen) - Hierbij worden de locatie en vorm van de relevante omgevingselementen verzameld om ze nauwkeurig op te slaan in een globaal referentiekader.
Opdracht - Een reeks taken die de machine moet uitvoeren.
Navigatie - Het vermogen van een machine om haar eigen positie binnen een referentiekader te bepalen en een pad te plannen naar een bepaalde doellocatie.
Niet-werkgebied (Non-Operating Area of NOA) - Een gebied waarbinnen de machine niet autonoom mag werken. Zulke zones dienen om natuurlijke obstakels of obstructies aan te duiden, een gebied binnen een AOA, of een zone binnen een CMA die de machine nooit mag inrijden wanneer ze autonoom werkt (bijv. meren, zandbunkers of openingen).
Object - Een obstakel of terreinelement dat schade kan veroorzaken of beschadigd kan worden als het in contact komt of botst met een machine. Objecten kunnen gezien worden door het objectdetectiesysteem van de machine; zie Objectdetectie.
Objectdetectie - Hierbij worden objecten of terreintypes gedetecteerd die de voortgang van een machine verhinderen.
Obstakel - Een soort terreinelement of -lichaam dat de machine kan verhinderen te werken of er schade aan kan toebrengen als ze niet is ingesteld om deze zone te vermijden.
Obstructie - Een soort terreinelement of -lichaam dat ondoordringbaar is voor de machine. Voorbeelden van obstructies zijn:
Hekken
Gebouwen
Keermuren
Waterpartijen
Bunkers
Beregenings- of afvoerputten
Verhoogde roosters
Geparkeerde modus - In deze modus staat de schakelaar autonoom/manueel van de machine in de autonome modus, maar het ACS-systeem is niet klaar of het is uitgeschakeld. Geparkeerde modus wordt ook geactiveerd als een gebruiker of object in de omgeving de autonome modus van de machine onderbreekt en deze dwingt tot parkeren tot het probleem is opgelost.
Pad - Een autonome, door de gebruiker ingestelde route die een machine kan gebruiken om op te rijden. Bij een opdracht op diverse fairways gebruikt de maaier paden om zelfstandig van de ene fairway naar de andere te rijden. Ook wel Doorgangspad genoemd.
Omtrek - Zie Grens.
Oppikpunt - Een punt binnen een AOA waar de bestuurder de machine achterlaat of oppikt voor/na maai- of ander werk. Deze wordt op de kaart aangeduid met een blauwe P in een blauwe cirkel. De machine kan naar dit punt terugkeren als de supervisor van de machine hiertoe de opdracht geeft.
Paal - Een bepaald punt op de kaart die de machine als NOA aanziet. Deze worden afzonderlijk in kaart gebracht, en een reeks palen kan gebruikt worden om zones die de machine hoort te vermijden precies uit te sluiten. Dit is nuttig om zones uit te sluiten die de machine moet vermijden zonder een gehele NOA in kaart te brengen. Zie Niet-werkgebied (NOA).
Afstandssensoren - Zie Sensortypes.
Radar - Zie Sensortypes.
Real-Time Kinematica (RTK) - Een onvertraagde correctie van de geografische positionering (nauwkeuriger dan 3 cm in optimale omstandigheden) door middel van satellietberichten aan een stationair en precies gelokaliseerd basisstation. RTK-gegevens worden dan meestal aan de machine doorgegeven via draadloze communicatie met het internet.
Satellietnavigatietoestel - Zie GNSS-ontvanger
Sensing - De feedback van de omgeving van de machine, die deze in staat stelt om op de omgeving te reageren. Sensorinput kan afkomstig zijn van diverse sensortypes.
Sensor - Een apparaat dat reageert op fysieke stimuli (zoals warmte, licht, geluid, druk, magnetisme of beweging) en het signaal of de gegevens die gemeten werden doorgeeft, wat resulteert in een meting, de bediening van een besturingselement of beide. Zo kan een sensor de toestand van een machine en haar omgeving inschatten. Deze informatie wordt naar een besturingselement gestuurd, dat dan kan reageren met het gepaste gedrag. Een machine heeft uitvoerige gegevens nodig om doeltreffend te werken.
Sensortypes - Sensoren leveren input op een vergelijkbare manier als de menselijke zintuigen, en kunnen diverse fysieke kenmerken van de omgeving controleren en deze informatie digitaliseren.
Positiesensoren - Deze sensoren detecteren de positie van een object. Ze kunnen de absolute positie van het object aangeven (de locatie) of de relatieve positie (verplaatsing) in de zin van lineaire verplaatsing, rotatiehoek of driedimensionale ruimte.
Nabijheidssensoren - Deze sensoren detecteren een object zonder het te raken.
Ultrasone sensor
LiDAR
Radar
Staten - Reeksen eigenschappen van de machine en de status ervan op een bepaald moment.
Supervisor-app - Zie App.
Taak - De bouwsteen van een opdracht. De gebruiker van de machine kan taken kiezen voor een opdracht en aangeven of de machine een werkeenheid autonoom moet uitvoeren.
Ultrasoon - Zie Sensortypes.
Dit product voldoet aan alle relevante Europese richtlijnen; zie voor details de aparte productspecifieke conformiteitsverklaring.
Als de machine zonder goed werkende vonkenvanger of goed onderhouden brandveilige motor wordt gebruikt in een bosgebied of op een met dicht struikgewas of gras begroeid terrein, handelt de bestuurder in strijd met de bepalingen van sectie 4442 of 4443 van de Wet op de Openbare Hulpbronnen (Public Resources Code) van de Staat Californië.
De bijgevoegde gebruikershandleiding van de motor biedt informatie over het Amerikaanse Environmental Protection Agency (EPA) en het Californische controlesysteem voor emissies, onderhoud en garantie. U kunt vervangingsonderdelen bestellen via de fabrikant van de motor.
Als u deze machine gebruikt op een hoogte boven 1000 meter boven de zeespiegel, moet u de sproeier voor grote hoogte aanschaffen. Raadpleeg de gebruikershandleiding van uw Kawasaki motor voor meer informatie.
|
Certificaat elektromagnetische compatibiliteit |
WaarschuwingDe Federal Communications Commission in de Verenigde Staten waarschuwt dat wijzigingen of aanpassingen van de radiomodule in dit apparaat die niet uitdrukkelijk goedgekeurd zijn door The Toro Company het recht van de gebruiker om de apparatuur te bedienen kunnen doen vervallen. Dit apparaat is getest en voldoet aan de limieten voor een digitaal apparaat van klasse A volgens Part 15 van de FCC-regelgeving. Deze limieten zijn bedoeld als redelijke bescherming tegen schadelijke interferentie wanneer het apparaat wordt gebruikt in een commerciële omgeving. Dit apparaat genereert en gebruikt radio-frequentie-energie en kan deze uitstralen en, als het niet geïnstalleerd en gebruikt wordt volgens de gebruikshandleiding, schadelijke interferentie veroorzaken aan radiocommunicatie. Gebruik van deze apparatuur in een residentiële omgeving resulteert waarschijnlijk in schadelijke interferentie, die de gebruiker op diens kosten zal moeten verhelpen. |
|
Dit apparaat voldoet aan de RSS-norm(en) van Industry Canada voor licentievrijstelling. Het gebruik is onderworpen aan de volgende voorwaarden: (1) Dit apparaat mag geen interferentie veroorzaken en (2) dit apparaat moet interferentie accepteren, waaronder interferentie die ongewenste werking van het apparaat kan veroorzaken. |
|
Le présent appareil est conforme aux CNR d'Industrie Canada applicables aux appareils radio exempts de licence. L'exploitation est autorisée aux deux conditions suivantes : (1) l'appareil ne doit pas produire de brouillage, et (2) l'utilisateur de l'appareil doit accepter tout brouillage radioélectrique subi, même si le brouillage est susceptible d'en compromettre le fonctionnement. |
|
In overeenstemming met de normen van Industry Canada mag deze radiozender enkel gebruikt worden met een antenne van een type en maximale versterking die Industry Canada heeft goedgekeurd voor de zender. Om mogelijke radio-interferentie met andere gebruikers te reduceren, moet het type antenne en de versterking ervan zodanig gekozen worden dat het effectief isotroop uitgestraald vermogen (E.I.R.P.) niet meer is dan noodzakelijk voor succesvolle communicatie. |
|
Industry Canada heeft deze radiozender IC: 26511-RUT956AF goedgekeurd voor gebruik met de hieronder vermelde antennetypes; de maximale toegelaten versterking en vereiste antenne-impedantie worden voor elk type aangeduid. Antennetypes die niet in deze lijst staan en die een grotere versterking hebben dan de maximale versterking vermeld voor dat type, mogen in geen geval gebruikt worden met dit apparaat. |
|
Conformément à la réglementation d'Industrie Canada, le présent émetteur radio peut fonctionner avec une antenne d'un type et d'un gain maximal (ou inférieur) approuvé pour l'émetteur par Industrie Canada. Dans le but de réduire les risques de brouillage radioélectrique à l'intention des autres utilisateurs, il faut choisir le type d'antenne et son gain de sorte que la puissance isotrope rayonnée équivalente (p.i.r.e.) ne dépasse pas l'intensité nécessaire à l'établissement d'une communication satisfaisante. |
|
Le présent émetteur radio IC: 26511-RUT956AFa été approuvé par Industrie Canada pour fonctionner avec les types d'antenne énumérés ci-dessous et ayant un gain admissible maximal et l'impédance requise pour chaque type d'antenne. Les types d'antenne non inclus dans cette liste, ou dont le gain est supérieur au gain maximal indiqué, sont strictement interdits pour l'exploitation de l'émetteur. |
|
Antenne: The Toro Company, model 145-0335, TAOGLAS, TLS.01.1F11, omnidirectioneel, piekversterking 5,0 (dBi) |
CALIFORNIË
Proposition 65 Waarschuwing
De uitlaatgassen van de motor van dit product bevatten chemische stoffen waarvan bekend is dat ze kanker, geboorteafwijkingen of andere schade aan de voortplantingsorganen kunnen veroorzaken.
Accuklemmen, accupolen en dergelijke onderdelen bevatten lood en loodverbindingen. Van deze stoffen is bekend dat ze kanker en schade aan de voortplantingsorganen veroorzaken. Was altijd uw handen nadat u met deze onderdelen in aanraking bent geweest.
Gebruik van dit product kan leiden tot blootstelling aan chemische stoffen waarvan de Staat Californië weet dat ze kanker, geboorteafwijkingen en andere schade aan het voortplantingssysteem veroorzaken.
Dit product kan handen of voeten afsnijden en voorwerpen uitwerpen.
Lees deze Gebruikershandleiding en zorg ervoor dat u deze begrijpt voordat u de motor start.
Geef uw volledige aandacht als u de machine gebruikt. Zorg ervoor dat u met niets anders bezig bent waardoor u kunt worden afgeleid, anders kunt u verwondingen oplopen of kan eigendom worden beschadigd.
Houd handen en voeten uit de buurt van de bewegende onderdelen van de machine.
Gebruik de machine niet als er schermen of andere beveiligingsmiddelen ontbreken of als deze niet naar behoren werken.
Houd omstanders en kinderen uit de buurt van het werkgebied. Hou omstanders en kinderen uit de buurt van het werkgebied. Laat kinderen nooit de machine bedienen.
Tenzij u de machine voorbereidt om in autonome modus te werken, schakelt u de machine uit, verwijdert u het contactsleuteltje en wacht u totdat alle bewegende onderdelen tot stilstand zijn gekomen voordat u de bestuurderspositie verlaat. Laat de machine afkoelen voordat u deze afstelt, reinigt, stalt of er onderhoudswerkzaamheden aan verricht.
Onjuist gebruik of onderhoud van deze machine kan letsel tot
gevolg hebben. Om het risico op letsel te verkleinen, dient u zich
aan de volgende veiligheidsinstructies te houden en altijd op het
veiligheidssymbool
te letten, dat betekent Voorzichtig,
Waarschuwing of Gevaar – instructie voor persoonlijke veiligheid.
Niet-naleving van deze instructies kan leiden tot lichamelijk of dodelijk
letsel.
Note: De veiligheisdrichtlijnen voor autonome modus zijn aanvullend op de algemene veiligheidsrichtlijnen en die voor de manuele modus.
Als een machine in autonome modus werkt, is de supervisor verantwoordelijk voor ongevallen of schade aan andere personen of hun eigendommen.
Zorg dat u al deze instructies en waarschuwingen gelezen hebt, begrijpt en opvolgt voordat u de machine in autonome modus schakelt.
Onjuist gebruik of onderhoud van de machine kan lichamelijk of dodelijk letsel veroorzaken. Om dit risico te verminderen, moet u al de veiligheidsinstructies opvolgen.
Laat kinderen of personen die hiervoor niet opgeleid zijn deze machine niet gebruiken of er onderhoudswerkzaamheden aan verrichten. Laat enkel mensen die verantwoordelijk en getraind zijn en die bovendien vertrouwd zijn met de instructies en fysiek ertoe in staat zijn de machine bedienen of er onderhoudswerkzaamheden aan verrichten.
Laat kinderen of personen die geen instructie hebben ontvangen, de machine nooit gebruiken of onderhoudswerkzaamheden daaraan verrichten. Plaatselijke voorschriften kunnen nadere eisen stellen aan de leeftijd van degene die met de machine werkt. Plaatselijke voorschriften kunnen nadere eisen stellen aan de leeftijd van degene die met de machine werkt. De eigenaar is verantwoordelijk voor de instructie van alle bestuurders en technici.
Zorg ervoor dat u vertrouwd raakt met de bedieningsorganen en de veiligheidssymbolen, en weet hoe u de machine veilig kunt gebruiken.
Schakel de parkeerrem in, schakel de machine uit, verwijder het contactsleuteltje, en wacht totdat alle bewegende onderdelen tot stilstand zijn gekomen voordat u de bestuurderspositie verlaat. Laat de machine afkoelen voordat u deze afstelt, reinigt, stalt of er onderhoudswerkzaamheden aan verricht.
Zorg ervoor dat u weet hoe u de machine snel kunt stoppen.
Controleer de aanwezigheid en goede werking van de dodemansinrichtingen, veiligheidsschakelaars en beveiligingsmiddelen. Gebruik de machine uitsluitend als deze naar behoren werkt.
Controleer voordat u begint te maaien altijd de machine om zeker te zijn dat de maai-eenheden in goede staat zijn.
Inspecteer het terrein waarop u de machine gaat gebruiken en verwijder voorwerpen die de machine kan uitwerpen.
Note: De veiligheisdrichtlijnen voor autonome modus zijn aanvullend op de algemene veiligheidsrichtlijnen en die voor de manuele modus.
Inspecteer het terrein waarop u de machine gaat gebruiken en verwijder voorwerpen die er niet thuishoren en die de machine kan uitwerpen.
Zorg ervoor dat u vertrouwd raakt met de bedieningsorganen en de veiligheidssymbolen, en weet hoe u de machine veilig kunt gebruiken.
Zorg dat u weet hoe u de machine moet uitschakelen en kunt voorkomen dat er onderdelen bewegen.
Gebruik de machine niet als er schermen of andere beveiligingsmiddelen ontbreken of als deze niet naar behoren werken.
Hou omstanders en kinderen uit de buurt van het autonome werkgebied. Laat de bediening of supervisie van de machine nooit over aan kinderen. Enkel opgeleid personeel mag toezicht houden op deze machine wanneer ze in autonome modus werkt.
Ga niet op een machine in autonome modus staan, zitten of ermee rijden, en voorkom dat andere personen dit doen.
Inspecteer het werkgebied geregeld op nieuwe gevaren en pak deze aan voordat u de machine bedient.
Als de machine omkantelt, blijf dan uit de buurt van bewegende onderdelen.
Wees uiterst voorzichtig bij het omgaan met brandstof. Brandstof is ontvlambaar en de dampen kunnen tot ontploffing komen.
Doof alle sigaretten, sigaren, pijpen en andere ontstekingsbronnen.
Gebruik uitsluitend een goedgekeurd vat of blik voor de brandstof.
Wanneer de motor loopt of heet is, mag u de brandstofdop niet verwijderen of geen brandstof toevoegen.
Geen brandstof bijvullen of aftappen in een afgesloten ruimte.
Bewaar de machine en het brandstofvat niet op plaatsen waar open vlammen, vonken of waakvlammen (bv. van een boiler of een ander toestel) aanwezig kunnen zijn.
Probeer de motor niet te starten als u brandstof hebt gemorst; voorkom elke vorm van open vuur of vonken totdat de brandstofdampen volledig zijn verdwenen.
De eigenaar/gebruiker is verantwoordelijk voor ongelukken die persoonlijk letsel of materiële schade kunnen veroorzaken, en hij dient zulke ongelukken te voorkomen.
Draag geschikte kleding en uitrusting, zoals oogbescherming, een lange broek, stevige schoenen met een gripvaste zool en gehoorbescherming. Draag lang haar niet los en draag geen losse kleding of juwelen.
Gebruik de machine niet als u ziek, moe of onder de invloed van alcohol of drugs bent.
Geef uw volledige aandacht als u de machine gebruikt. Zorg ervoor dat u met niets anders bezig bent waardoor u kunt worden afgeleid, anders kunnen er letsels ontstaan of kan eigendom worden beschadigd.
Voordat u de motor start: zorg dat alle aandrijvingen in de neutraalstand staan, de parkeerrem in werking is gesteld en u zich in de bestuurderspositie bevindt.
Vervoer geen passagiers op de machine.
Hou omstanders en kinderen uit de buurt van het werkgebied.
Gebruik de machine uitsluitend bij een goede zichtbaarheid zodat u kuilen en verborgen gevaren kunt vermijden.
Gebruik de machine niet op nat gras. Als de wielen hun grip verliezen, kan de machine gaan glijden.
Houd uw handen en voeten uit de buurt van de maai-eenheden.
Kijk achterom en omlaag voordat u achteruitrijdt om er zeker van te zijn dat de weg vrij is.
Wees voorzichtig bij het naderen van blinde hoeken, struiken, bomen, en andere objecten die uw zicht kunnen belemmeren.
Schakel de maai-eenheden uit wanneer u niet maait.
Verminder uw snelheid en wees voorzichtig als u een bocht maakt of wegen en voetpaden oversteekt met de machine. Verleen altijd voorrang.
Laat de motor enkel draaien in goed verluchte omgevingen. Uitlaatgassen bevatten koolstofmonoxide, dat dodelijk is bij inademing.
Laat een machine met draaiende motor niet onbeheerd achter.
Tenzij u de machine klaarmaakt voor de autonome modus, moet u het volgende doen alvorens de bestuurderspositie te verlaten:
Parkeer de machine op een horizontaal oppervlak.
Laat de maai-eenheden neer op de grond en zorg ervoor dat ze uitgeschakeld zijn.
Haal de parkeerrem aan.
Zet de motor af en verwijder het sleuteltje.
Wacht totdat alle bewegende onderdelen tot stilstand zijn gekomen.
Gebruik de machine uitsluitend als het zicht goed is en bij geschikte weersomstandigheden. Gebruik de machine niet als er kans op bliksem is.
Verwijder geen onderdelen van de rolbeugel van de machine.
Zorg dat u de veiligheidsgordel draagt en deze in een noodgeval snel kunt losmaken.
Doe altijd de veiligheidsgordel om.
Controleer aandachtig of er obstakels zijn waar u onderdoor moet rijden, en zorg dat u ze niet raakt.
Houd de rolbeugel in deugdelijke staat door deze regelmatig grondig te controleren op beschadiging, en zorg dat alle bevestigingsmateriaal stevig is vastgedraaid.
Vervang alle beschadigde onderdelen van de rolbeugel. U mag deze niet repareren of aanpassen.
Het maaien op hellingen is een belangrijke factor bij ongelukken waarbij de controle over de machine wordt verloren of deze omkantelt. Dit kan ernstig of dodelijk letsel veroorzaken. U bent verantwoordelijk voor een veilig gebruik van de machine op hellingen. Gebruik van de machine op hellingen vereist altijd extra voorzichtigheid.
Onderzoek de toestand van het werkgebied om te bepalen of de machine veilig kan worden gebruikt op de helling. Gebruik altijd uw gezond verstand en uw beoordelingsvermogen wanneer u dit onderzoek uitvoert.
Neem de onderstaande instructies door voor gebruik van de machine op hellingen. Beoordeel de omstandigheden van het terrein alvorens de machine te gebruiken om na te gaan of u de machine op een bepaalde dag op dit terrein kunt gebruiken. Veranderingen in het terrein kunnen tot gevolg hebben dat de machine anders reageert op hellingen.
Vermijd starten, stoppen of bochten maken op hellingen. Vermijd plotse veranderingen van snelheid of richting. Draai langzaam en geleidelijk.
Gebruik een machine nooit in omstandigheden waarbij u twijfelt over tractie, sturen of stabiliteit.
Verwijder of markeer obstakels zoals greppels, putten, geulen, hobbels, stenen en andere verborgen gevaren. In hoog gras zijn obstakels niet altijd zichtbaar. De machine kan omslaan op oneffenheden in het terrein.
Denk eraan dat de machine tractie kan verliezen doordat u bergafwaarts, op nat gras of dwars op een helling maait. Als de aandrijfwielen tractie verliezen, kunnen ze gaan slippen en kunt u niet meer remmen of sturen.
Rij zeer voorzichtig als u de machine gebruikt in de buurt van steile hellingen, greppels, dijken, waterpartijen en andere gevaarlijke punten. De machine kan plotseling omslaan als een wiel over de rand komt, of als de rand instort. Zorg voor een veilige afstand tussen de machine en een gevarenzone.
Spoor gevaren onderaan de helling op. Indien er gevaren zijn, maait u de helling met een loopmaaimachine.
Laat de maai-eenheden indien mogelijk neer op de grond wanneer u werkt op hellingen. Als u de maai-eenheden omhoog brengt op hellingen, kan de machine onstabiel worden.
Wees uiterst voorzichtig met grasopvangsystemen of andere werktuigen. Deze kunnen de machine minder stabiel maken, waardoor u de controle over de machine kunt verliezen.
Tenzij u de machine voorbereidt om in autonome modus te werken, moet u de parkeerrem inschakelen, de motor uitschakelen, het contactsleuteltje verwijderen en wachten totdat alle bewegende onderdelen tot stilstand zijn gekomen voordat u de bestuurderspositie verlaat. Laat de machine afkoelen voordat u deze afstelt, reinigt, stalt of er onderhoudswerkzaamheden aan verricht.
Verwijder gras en vuil van de maai-eenheden en de aandrijvingen, om brand te voorkomen. Veeg gemorste olie en brandstof op.
Zorg ervoor dat de brandstofafsluitklep is gesloten als u de machine stalt of sleept.
Schakel de aandrijving van het werktuig uit als u de machine sleept of niet gebruikt.
Laat de machine afkoelen voordat u de machine binnen stalt.
Onderhoud en reinig de veiligheidsgordel(s) indien nodig.
Sla de machine en de brandstofhouder niet op plaatsen waar open vlammen, vonken of waakvlammen (bv. van een boiler of andere toestellen) aanwezig kunnen zijn.
Sleep uitsluitend met een machine die is voorzien van een trekhaak. Bevestig materiaal dat wordt gesleept, uitsluitend aan het sleeppunt.
Volg de aanwijzing van de fabrikant op met betrekking tot de gewichtslimiet voor sleepwerktuigen en slepen op hellingen. Op een helling kan het gewicht van een gesleept werktuig ertoe leiden dat de wielen hun grip verliezen en de bestuurder de controle over de machine verliest.
Laat kinderen of andere personen nooit plaatsnemen in of op gesleepte werktuigen.
Rij langzaam en zorg voor voldoende afstand om te stoppen wanneer u de machine sleept.
Doe het volgende voordat u de bestuurdersstoel verlaat:
Parkeer de machine op een horizontaal oppervlak.
Schakel de maai-eenheid/maai-eenheden uit.
Haal de parkeerrem aan.
Zet de motor af en verwijder het sleuteltje.
Wacht totdat alle bewegende onderdelen tot stilstand zijn gekomen.
Laat de onderdelen van de machine afkoelen voordat u onderhoudswerkzaamheden uitvoert.
Voer indien mogelijk geen onderhoudswerkzaamheden uit als de motor draait. Blijf uit de buurt van bewegende onderdelen.
Ondersteun de machine met assteunen als u onder de machine werkt.
Haal voorzichtig de druk van onderdelen met opgeslagen energie.
Zorg ervoor dat alle onderdelen van de machine in goede staat verkeren en al het bevestigingsmateriaal stevig vastzit.
Vervang versleten of beschadigde stickers.
Om veilige en optimale prestaties van de machine te verkrijgen, moet u ter vervanging alleen originele Toro onderdelen gebruiken. Gebruik ter vervanging nooit onderdelen van andere fabrikanten, omdat dit gevaarlijk kan zijn en de productgarantie hierdoor kan vervallen.
Note: De veiligheisdrichtlijnen voor autonome modus zijn aanvullend op de algemene veiligheidsrichtlijnen en die voor de manuele modus.
Pas de machine of software op geen enkele manier aan.
Zet niets op de machine.
Pas de bedieningselementen of veiligheidsvoorzieningen van de machine niet aan, en probeer niet om deze te omzeilen.
Onjuist onderhoud of gebruik van de machine kan lichamelijk of zelfs dodelijk letsel veroorzaken.
Laat onderhoudsprocedures steeds uitvoeren door een gecertificeerde monteur.
Om veilige en optimale prestaties van de machine te verkrijgen, mag u ter vervanging alleen originele en losse Toro onderdelen gebruiken. Gebruik ter vervanging nooit losse onderdelen van andere fabrikanten, omdat dit gevaarlijk kan zijn.
U moet de motor afzetten voordat u het oliepeil controleert of het carter bijvult met olie.
Verander de snelheid van de toerenregelaar niet en laat de motor het maximale toerental niet overschrijden.
Koppel de hoofdstroomaansluitingen los voordat u de machine repareert.
Laad de accu op in een open, goed geventileerde ruimte, uit de buurt van vonken en open vuur. Haal de oplader uit het stopcontact voordat u de accu aan- of loskoppelt. Draag beschermende kleding en gebruik geïsoleerd gereedschap.
Zet de machine af, verwijder het contactsleuteltje en wacht totdat alle bewegende onderdelen tot stilstand zijn gekomen voordat u de bestuurderspositie verlaat. Laat de machine afkoelen voordat u deze afstelt, reinigt, stalt of er onderhoudswerkzaamheden aan verricht.
Bewaar de machine en het brandstofvat niet op plaatsen waar open vlammen, vonken of waakvlammen (bv. van een boiler of een ander toestel) aanwezig kunnen zijn.
![]() |
Informatieve en veiligheidsstickers zijn gemakkelijk zichtbaar voor de bestuurder en bevinden zich bij plaatsen waar gevaar kan ontstaan. Vervang alle beschadigde of verdwenen stickers. |














Raadpleeg Definitie van begrippen voor beschrijvingen van de modi beschreven op sticker 145-0345.

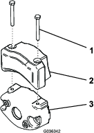
Benodigde onderdelen voor deze stap:
| Maai-eenheid (afzonderlijk bestellen; neem contact op met uw erkende Toro-distributeur) | 3 |
| Elektrisch contragewicht | 3 |
| Inbusbout | 6 |
| O-ring | 3 |
Bereid de maai-eenheden voor op installatie; zie de Gebruikershandleiding van de maai-eenheden.
Breng smeer aan op de binnensleuf van de aandrijfkoppeling.
Monteer een O-ring op elke messenkooimotor zoals getoond in Figuur 3.

Bevestig het elektrische contragewicht aan het bestaande contragewicht; gebruik hierbij 2 inbusbouten zoals getoond in Figuur 4.

Monteer de maai-eenheden; zie De maai-eenheden monteren.
Sluit de hoofdstroomaansluitingen aan; zie Hoofdstroomaansluitingen.
Gebruik InfoCenter om de machine-instellingen aan te passen; zie Het InfoCenter gebruiken om de machine-instellingen aan te passen.
Benodigde onderdelen voor deze stap:
| Sticker productiejaar | 1 |
| CE-waarschuwingssticker (onderdeelnummer 139-8321) | 1 |
| CE/UKCA-sticker (onderdeelnummer 138-9470) | 1 |
Als u deze machine gebruikt in een land dat de CE/UKCA-normen naleeft, moet u de volgende stickers aanbrengen:
Sticker productiejaar en sticker CE/UKCA-markering: breng de stickers aan op de framebuis onder de stoel en het plaatje met het serienummer; zie Figuur 5.

CE-waarschuwingssticker: Breng de CE-waarschuwingssticker (onderdeelnummer 139-8321) aan over de aanwezige waarschuwingssticker (onderdeelnummer 139-8320) op de kap van het stuur; zie Figuur 6.

De banden worden in de fabriek t.b.v. de verzending opzettelijk te hard opgepompt. Verklein de druk in de banden volgens de aanbevelingen alvorens de machine te starten; zie De bandenspanning controleren.
Controleer of alle gebruikers van de machine inloggegevens hebben voor myTurf; raadpleeg de softwaregids van myTurf.
Voeg in myTurf de machine toe als activum; raadpleeg de softwaregids van myTurf.
Technici die toegang hebben tot Toro materialen kunnen het GeoLink servicecentrum raadplegen voor instructies over het activeren of vernieuwen van een mobiele service of RTK-plan.
Note: De beide zijn nodig om de machine in autonome modus te kunnen gebruiken.
Zoek het onderhoudsbulletin 'GeoLink activeringsprocedure'.
Volg en voltooi de stappen in het onderhoudsbulletin.
Wacht tot Toro de mobiele en RTK-inloggegevens gestuurd heeft om verder te gaan.
Steek het sleuteltje in het contact en draai het op de stand AAN.
Verbind met de machine via de GeoLink Mow supervisor-app.
Klik in de bovenste balk op de knop SETTINGS (instellingen).
Stel bij Local Reference Point (lokaal referentiepunt) de coördinaten en hoogte in van een lokaal referentiepunt dat de machine zal gebruiken voor GNSS RTK-lokalisering.
Note: Gebruik decimale graden voor de coördinaten en meters voor de hoogte.
Voer bij NTRIP Corrections (NTRIP-correcties) de gegevens in voor de NTRIP-zender.
Voer bij Credentials (inloggegevens) de gegevens in van het RTK-account
Note: Het is raadzaam deze test uit te voeren op het terrein waar de machine gebruikt zal worden. Dit geeft u een goed beeld van de sterkte van het signaal dat de machine tijdens normaal bedrijf zal ontvangen.
Steek het sleuteltje in het contact en draai het op de stand AAN.
Rij de machine naar een niet-overdekte plaats.
Verbind met de machine via de GeoLink Mow supervisor-app.
Klik in de bovenste balk op de knop DIAGNOSTICS (diagnostiek).
Controleer bij Mobile network (mobiel netwerk) of er mobiele verbinding is met de machine.
Controleer bij Localization (lokalisering) of er RTK-verbinding is met de machine.
Note: Mogelijk heeft de machine enkele minuten nodig om verbinding te maken met een mobiel netwerk of een RTK-basisstation.
Controleer of de sensoren van het objectdetectiesysteem naar behoren werken voordat u de autonome modus inschakelt; zie Het objectdetectiesysteem controleren.
Steek het sleuteltje in het contact en draai het op de stand AAN.
Rij de machine naar een niet-overdekte plaats.
Hou de modusschakelaar autonoom/manueel 2 seconden lang naar links om de autonome modus te activeren; zie Modusschakelaar autonoom/manueel.
Verbind met de machine via de GeoLink Mow supervisor-app.
Klik in de bovenste balk op de knop DIAGNOSTIEK (diagnostiek).
Klik op de diagnostische velden om de gedetailleerde vervolgkeuzemenu's te openen. Controleer of de ACS juist werkt.
Controleer het dak van de machine op gebogen antennes.
Steek het sleuteltje in het contact en draai het op de stand AAN.
Rijd de machine naar een maaigebied.
Stel een test-CMA in; zie Het autonome werkgebied in kaart brengen en Het aaneengesloten maaigebied in kaart brengen.
Maak een opdracht aan voor de maaier: laat hem als eerste taak een onderhoudswerkgang op een fairway uitvoeren (waarbij de machine rechtsom rijdt). Laat de machine vervolgens een onderhoudswerkgang doen op dezelfde fairway maar in de tegenovergestelde richting (linksom); zie Een opdracht aanmaken en Een aangepast maaipatroon creëren.
Activeer de opdracht; zie Een opdracht uitvoeren.
Observeer de machine tijdens de opdracht en controleer of de paden van de twee werkgangen samenvallen.
Important: Merkt u een afwijking, dan zijn de antennes mogelijk niet gecentreerd; neem contact op met de technische ondersteuning.


De contactschakelaar heeft 3 standen: UIT, AAN en START (Figuur 9).
Gebruik de contactschakelaar om de motor te starten, de motor uit te schakelen of met de machine te rijden zonder motorvermogen; zie Starten van de motor, De motor afzetten en Met de machine rijden zonder motorvermogen.

De functiebedieningsschakelaar (Figuur 8) heeft 2 tractiestanden plus een NEUTRAALSTAND.
NEUTRAALSTAND – neutraal en wetten
MAAISTAND – maaien
TRANSPORTSTAND – transport
U kunt van MAAIEN naar TRANSPORT en van TRANSPORT naar MAAIEN schakelen (niet naar de NEUTRAALSTAND) als de machine in beweging is; hierdoor wordt de machine niet beschadigd.
U kunt schakelen van TRANSPORT of MAAIEN naar de NEUTRAALSTAND en de machine zal tot stilstand komen. Als u probeert te schakelen van de NEUTRAALSTAND naar MAAIEN of TRANSPORT terwijl het pedaal niet in de NEUTRAALSTAND staat, verschijnt er een melding.
Met de joystick voor omhoog-/omlaagbrengen(Figuur 8) kunt u de maai-eenheden omhoog- en omlaagbrengen. De joystick kan de messenkooien van de maai-eenheid in- of uitschakelen afhankelijk van de positie van de functiebedieningsschakelaar:
Functiebedieningsschakelaar in de NEUTRAALSTAND: de maai-eenheden zullen omhoog of omlaag worden gebracht zo lang u de joystick naar voren of naar achteren beweegt, maar de messenkooien zullen niet worden ingeschakeld tenzij de machine in wetmodus staat.
Functiebedieningsschakelaar in de stand MAAIEN: beweeg de joystick naar voren tijdens het maaien om de maai-eenheden te laten zakken en de messenkooien te starten. Om de messenkooien tot stilstand te brengen en de maai-eenheden omhoog te brengen, moet u de joystick naar achteren trekken.
Om de messenkooien tot stilstand te brengen zonder de maai-eenheden omhoog te brengen, moet u de joystick eventjes naar achteren trekken en dan loslaten. Als u de joystick opnieuw naar voren beweegt, starten de messenkooien. Als u hem opnieuw naar achteren trekt, worden de maai-eenheden omhooggebracht. U moet deze functie inschakelen in InfoCenter; zie De tap-offvertraging instellen.
Functiebedieningsschakelaar in de stand TRANSPORT: de maai-eenheden kunnen omhoog worden gebracht, maar de messenkooien zullen niet worden ingeschakeld. Er verschijnt een melding in InfoCenter als u de maai-eenheden probeert omlaag te brengen.
Het tractiepedaal (Figuur 10) heeft 3 functies: de machine vooruit en achteruit laten rijden en tot stilstand brengen. Om vooruit te rijden, moet u de bovenkant van het pedaal intrappen; om achteruit te rijden de onderkant van het pedaal.
Stoppen van de machine: laat het pedaal naar de NEUTRAALSTAND bewegen. Laat uw hiel niet op het tractiepedaal in de ACHTERUITSTAND rusten als u vooruitrijdt (Figuur 11).


U kunt als volgt de maximale rijsnelheid in de manuele modus instellen:
Maaisnelheid vooruit: 4,8 tot 8 km/u
Transportsnelheid: 8 tot 16 km/u
Maaisnelheid achteruit: 3,2 tot 8 km/u
Druk het pedaal in (Figuur 10) en breng de stuurarm omhoog of omlaag tot een comfortabele positie en laat het pedaal los om de arm te vergrendelen.
Trap het rempedaal in (Figuur 12) om de machine te stoppen.

Gebruik de parkeerrem (Figuur 12) om te voorkomen dat de machine beweegt. Om de parkeerrem in werking te stellen, moet u het rempedaal intrappen en de bovenkant naar voren drukken om dit vast te zetten. Om de parkeerrem uit te schakelen, trapt u het rempedaal in totdat de vergrendeling van de parkeerrem wordt ingetrokken.
Naast de stopknop in de supervisor-app kunt de machine ook stoppen door de noodstopknop achteraan de machine in te drukken.
Om de noodstopknop uit te schakelen:
De schakelaar naar buiten trekken.
De modusschakelaar autonoom/manueel resetten om de autonome modus in te schakelen.
Important: De e-stopschakelaar werkt uitsluitend wanneer de machine in autonome modus geschakeld is. De e-stopschakelaar activeren heeft geen invloed op een machine die in manuele modus werkt.

Hou de modusschakelaar autonoom/manueel 2 seconden naar links ingedrukt om de AUTONOME modus in te schakelen.
Druk de schakelaar naar rechts om de MANUELE modus in te schakelen.

Het statuslampje autonomie geeft de huidige autonomiestatus van de machine weer:
Ononderbroken wit - ACS ingeschakeld en in manuele modus
Ononderbroken groen - werkt in autonome modus; uit de buurt blijven
Knippert groen - in autonome modus, maar in de buurt van een object
Ononderbroken rood - het is veilig om naar de machine toe te stappen; de machine is geparkeerd
De GeoLink Mow supervisor-app dient om een machine in te stellen en te gebruiken voor autonoom maaien.
| Optie in menubalk | Beschrijving |
| HOME | Het HOME-menu is het eerste scherm in de webapp en bevat koppelingen naar de menu’s DASHBOARD, MISSIONS, MAP en SETTINGS, evenals naar de gebruiksvoorwaarden en juridische verklaringen. |
| DASHBOARD | Het menu DASHBOARD geeft een overzicht van de huidige machine- en opdrachtstatussen. De bedieningsknoppen onderaan het scherm dienen tevens om de machine op afstand te besturen. |
| MISSIONS (opdrachten) | Het menu MISSIONS (opdrachten) omvat zones voor het aanmaken van nieuwe opdrachten en voor het bekijken van huidige opdrachten en de opdrachtgeschiedenis. In dit menu kunt u aangepaste maaipatronen aanmaken. |
| MAP (kaart) |
Het menu MAP (kaart) laat een kaart zien van uw terrein en eventuele fairways die in kaart zijn gebracht. Het bevat ook bedieningselementen om werkgebieden in kaart te brengen en andere autonome functies. Tijdens het bedrijf van de machine kunt u het gebruiken om erop toe te zien hoe ze een opdracht uitvoert. |
| SETTINGS (instellingen) | In het menu SETTINGS (instellingen) kunt u de RTK-instellingen en -aanmeldgegevens, algemene bedieningsinstellingen en persoonlijke machinevoorkeuren wijzigen. |
| HELP |
Het menu HELP geeft u toegang tot kaartgegevens, machineloggegevens, de gebruikershandleiding, prestatiegegevens en informatie over de softwareversie. |
| DIAGNOSTICS (diagnostiek) |
Het menu DIAGNOSTICS (diagnostiek) biedt een overzicht van de statussen van de diverse onderdelen van de machine, zoals hardware, sensoren, en lokalisering- en connectiviteitsgegevens. Deze informatie is nuttig om problemen met de machine op te lossen, want ze geeft u snel een overzicht van welke bedieningselementen van de machine actief zijn, welke uitgeschakeld zijn en welke problemen ondervinden. |
| LOGOUT (afmelden) |
Afmelden van uw myTurf-account. |
| Menuoptie | Beschrijving | |
| Lokaal referentiepunt | ||
| LATITUDE (breedtegraad) | Stel hier de breedtegraad in van een lokaal referentiepunt dat de machine gebruikt voor GNSS-RTK-lokalisering. Gebruik een indeling in decimale graden. | |
| LONGITUDE (lengtegraad) | Stel hier de lengtegraad in van een lokaal referentiepunt dat de machine gebruikt voor GNSS-RTK-lokalisering. Gebruik een indeling in decimale graden. | |
| HEIGHT (hoogte) | Stel hier de hoogte (in meters) in van een lokaal referentiepunt dat de machine gebruikt voor GNSS-RTK-lokalisering. | |
| NTRIP-correcties | ||
| HOSTNAME (hostnaam) | Stel de URL in van de naam voor de verbinding met de NTRIP-zender (RTK). | |
| PORT NUMBER (poortnummer) | Stel het poortnummer in voor de zender. | |
| MOUNT POINT (mountpoint) | Stel een naam in voor het mountpoint van de uitgaande GNSS-datastroom van de zender. | |
| NMEA GGA-bericht | ||
| REQUIRED (vereist) | Om NMEA GGA-berichten in en uit te schakelen. Standaard staat dit ingesteld op vereist. | |
| UPDATE PERIOD (updatefrequentie) | Stel hier de frequentie in van NMEA GGA-berichten. De standaardinstelling is 5 seconden. | |
| Aanmeldgegevens | ||
| USERNAME (gebruikersnaam) | Voer de gebruikersnaam in voor het RTK-account. | |
| PASSWORD (wachtwoord) | Voer het wachtwoord in voor het RTK-account. | |
| Kaart | ||
| LOCK MAP (kaart vergrendelen) | Maakt het onmogelijk om kaartgebieden te wijzigen of te verwijderen of er nieuwe aan te maken. | |
| Maaien | ||
| OVERLAP | Stel de hoeveelheid overlap in tussen maaiwerkgangen. | |
| Snelheid van de machine | ||
| MAIN MOWING SPEED (hoofdmaaisnelheid) | Bepaal de maximale toegelaten snelheid van de machine tijdens het maaien. | |
| PERIMETER MOWING SPEED (maaisnelheid omtrek) | Bepaal de maximale toegelaten snelheid van de machine tijdens onderhoudswerkgangen. | |
| TRANSPORT SPEED (transportsnelheid) | Bepaal de maximale toegelaten snelheid van de machine wanneer deze niet aan het maaien is. | |
| Machine-info | ||
| FRIENDLY NAME (bijnaam) | Stel een naam in voor de machine. Deze wordt gebruikt in berichten die naar de telefoon van de supervisor worden gestuurd. | |
| Gebruikersinformatie | ||
| LANGUAGE (taal) | Stel de taal voor de gebruikersinterface in. | |
| UNITS (eenheden) | Stel de maateenheden in voor de app. | |
| RESET SETTINGS TO FACTORY (fabrieksinstellingen herstellen) | Selecteer dit om de fabrieksinstellingen te herstellen. | |
Note: Hebt u de instellingen gewijzigd, klik dan op Save (bewaren) om uw instellingen op te slaan en draai het contactsleuteltje van de machine naar in en uit om de instellingen te activeren.
| Menuoptie |
| MOBILE NETWORK > CARRIER NAME (mobiel netwerk > naam provider) |
| MOBILE NETWORK > CONNECTION TYPE (mobiel netwerk > verbindingstype) |
| MOBILE NETWORK > SIGNAL QUALITY (mobiel netwerk > signaalkwaliteit) |
| LOCALIZATION > GNSS STATUS (lokalisering > GNSS-status) |
| LOCALIZATION > GNSS ACCURACY (lokalisering > GNSS-nauwkeurigheid) |
| LOCALIZATION > VALID SATELLITES (lokalisering > geldige satellieten) |
| LOCALIZATION > VALID SATELLITES (lokalisering > roversatellieten) |
| LOCALIZATION > BASE SATELLITES (lokalisering > basissatellieten) |
| LOCALIZATION > RTK CONNECTION (lokalisering > RTK-verbinding) |
| LOCALIZATION > LOCALIZATION ACCURACY (lokalisering > lokaliseringsnauwkeurigheid) |
| EMERGENCY STOP (noodstop) |
| SENSORS > LIDAR DISTANCE (sensoren > afstand LiDAR) |
| SENSORS > SONAR FRONT LEFT (sensoren > sonar links voor) |
| SENSORS > SONAR REAR LEFT (sensoren > sonar links achter) |
| SENSORS > SONAR REAR RIGHT (sensoren > sensor rechts achter) |
| SENSORS > SONAR FRONT RIGHT (sensoren > sonar rechts voor) |
| SENSORS > SONAR TOP LEFT (sensoren > sonar links boven) |
| SENSORS > SONAR TOP RIGHT (sensoren > sonar rechts boven) |
| SENSORS > RADAR FIELD NEAR (sensoren > radar near field) |
Note: De machine kan stoppen als de velden SIGNAALKWALITEIT of RTK-VERBINDINGBAD (slecht) aangeven. De verbinding tussen de machine en het mobiele netwerk of het RTK-basisstation is onvoldoende sterk.
| Menuoptie | Beschrijving | |
| Machinestatus | ||
| STATE (status) | De huidige status van de machine. Raadpleeg Machinestatus voor een lijst van machinestatussen. | |
| GNSS | De kwaliteit van het GNSS-signaal. 90% of meer is goed; 60% of minder is slecht. Gebruik het menu DIAGNOSTICS en de lijst LOCALIZATION om problemen met GNSS/lokalisering te diagnosticeren. | |
| SPEED (snelheid) | De huidige snelheid van de machine. | |
| Opdrachtstatus | ||
| STATE (status) | De status en voortgang van de huidige opdracht, en de resterende tijd tot voltooiing. Raadpleeg Opdrachtstatus voor een lijst van opdrachtstatussen. Als er geen opdracht geselecteerd is, is de lijst leeg. | |
| MISSION (opdracht) | Het identificatienummer van de gekozen opdracht. | |
| FAIRWAYS | De fairways die in de wachtrij staan van de huidige opdracht, evenals een voortgangsbalk voor elk van de fairways. | |
| PATTERN (patroon) | Het maaipatroon voor de huidige opdracht. Het kan tot 10 seconden duren voor dit geladen is. | |
| PROGRESS (voortgang) | Het voortgangspercentage van de huidige opdracht. Het kan tot 10 seconden duren voor dit geladen is. | |
| TIME REMAINING (resterende tijd) | De geschatte tijd tot de opdracht voltooid is. | |
| CONTINUE (verdergaan) | Deze knop verschijnt 10 minuten voordat de machine volgens het schema de volgende fairway in de opdracht moet maaien. Het mobiele apparaat van de supervisor ontvangt een tekstbericht met een link naar het DASHBOARD. Klik op de knop, lees het toestemmingsbericht en klik op Accept (aanvaarden) om de machine naar de volgende fairway te laten gaan. | |
In de onderstaande tabel vindt u meer informatie over de verschillende machinestatussen:
| Weergegeven tekst | Betekenis | Oplossing (indien van toepassing) |
| Unknown | Onbekende fout | Laat de machine een aan-uitcyclus doorlopen met het contactsleuteltje. Note: Dit kan tot 5 minuten duren. |
| Setup | Aan het configureren. | Wacht en blijf uit de buurt van de machine. |
| Idle | De machine staat in IDLE (stationair). | Schakel naar MANUAL of AUTO (manuele of automatische modus). |
| Manual mode | De machine staat in MANUAL (manuele modus). | |
| Setup | De machine is klaar voor AUTO (automatische modus). | Druk op Go en bevestig het bericht. |
| Awaiting notice | De app wacht tot u het bericht bevestigt. | Druk op Go en bevestig het bericht. |
| Calibrating | De machine start de autonome modus. | Wacht ten minste 3 minuten en blijf uit de buurt van de machine. |
| On standby | De machine staat in autonome modus en loopt stationair. | Plan een opdracht en druk op Go. |
| Executing | De machine voert een opdracht uit. | |
| Going to sidestop | De machine parkeert zichzelf aan de rand. | |
| Going to pickup | De machine rijdt naar het oppikpunt. | |
| Going to point | De machine rijdt naar een locatie die de bestuurder gekozen heeft op de kaart. | |
| Parked | De machine staat in PARKED (geparkeerde modus). |
Note: Als de oplossing erin bestaat te wachten, dan heeft de machine niet meer dan 30 seconden nodig om naar de volgende status te gaan. In andere gevallen laat u de machine een aan-uitcyclus doorlopen met het contactsleuteltje.
In de onderstaande tabel vindt u meer informatie over de verschillende opdrachtstatussen:
| Weergegeven tekst | Betekenis | Oplossing (indien van toepassing) |
| Error | Onbekende fout | Laat de machine een aan-uitcyclus doorlopen met het contactsleuteltje. Note: Dit kan tot 5 minuten duren. |
| Setup | Aan het configureren | Wachten. |
| Initializing | Aan het initialiseren | Wachten. |
| Loading | Opdrachten aan het laden | Wachten. |
| Preparing | Opdrachten aan het laden | Wachten. |
| Idle | Geen opdracht geselecteerd | Plan een opdracht en druk op Go. |
| Mowing | Maaien | |
| Paused | De opdracht is gepauzeerd. | Druk op Go om verder te gaan met de opdracht. |
| Canceled | De opdracht werd geannuleerd. | Maak een opdracht aan. |
| Completed | De opdracht werd voltooid. | Plan een nieuwe opdracht en druk op Go. |
| Waiting |
Note: Als de oplossing erin bestaat te wachten, geef de machine dan 3 minuten om naar de volgende status over te gaan. Gaat ze echter niet naar de volgende status, laat de machine dan een aan-uitcyclus doorlopen met het contactsleuteltje.
Het scherm DASHBOARD bevat enkele knoppen waarmee u de machine tijdens een opdracht kunt bedienen.

Diagnostische berichten verschijnen wanneer de machine een belangrijke handeling ondergaat of als er zich een fout voordoet.
Note: U kunt de berichten filteren naar de graad van ernst door met de knoppen rechts bovenaan een niveau te kiezen.
| Pictogram | Betekenis |
Info ![]() | Informatie over belangrijke handelingen. |
Probleem ![]() | Er is een probleem met de machine, maar deze blijft ondertussen gewoon werken. |
Storing ![]() | Er doet zich een probleem voor met de machine en dit zorgt ervoor dat het werk onderbroken wordt. |
| Weergegeven tekst | Betekenis | Oplossing (indien van toepassing) |
| Canceled mission ## | De bestuurder heeft de opdracht geannuleerd. | Plan een nieuwe opdracht en druk op Go. |
| Canceling mission ## | De bestuurder is de opdracht aan het annuleren. | Plan een nieuwe opdracht en druk op Go. |
| Completed mission ## | De opdracht is voltooid. | Plan een nieuwe opdracht en druk op Go. |
| Error in mission ## | Er heeft zich een fout voorgedaan met de opdracht en de machine kan het werk niet voortzetten. |
|
| Executing mission ## | De opdracht wordt uitgevoerd. | |
| Initializing mission ## | De opdracht wordt gestart. | |
| Loading mission ## | Gedetailleerde informatie over de opdracht wordt geladen. | |
| Pause mission ## | De bestuurder heeft de opdracht gepauzeerd. | |
| Arrived at side stop point | De machine is in navolging van de opdracht van de bestuurder aangekomen op de eindlocatie aan de rand. | |
| Arrived at pickup point | De machine is in navolging van de opdracht van de bestuurder aangekomen op het oppikpunt. | |
| System started | Het contactsleuteltje van de machine staat op ON en het ACS-systeem wordt gestart. | |
| Arrived at specified point | De machine is aangekomen op het punt dat de bestuurder gekozen heeft. | |
| Unable to prepare mission | Er heeft zich een fout voorgedaan terwijl de machine de details van de opdracht verwerkte. | |
| Difficult start position. | De machine bevindt zich op een moeilijke startlocatie. | |
| Preparing execution of mission ## | De opdracht wordt verwerkt. | |
| Map is empty | De database bevat geen kaartgegevens. |
| Menuoptie | Definitie |
| MAP DATA |
Download, exporteer en importeer kaartbestanden die op de machine gebruikt worden. Exporteer kaarten naar andere machines in een machinepark of, om te voorkomen dat de grasmat afgeschaafd wordt, importeert u aanvullende kaarten met andere doorgangspaden naar de machine; zie Kaartgegevens opslaan en exporteren. |
| LOGS |
Gebruik dit onderdeel om logs te downloaden van de machine. U kunt kiezen om volledige logs te downloaden of enkel het laatste lograpport. U kunt ook een specifiek tijdsbestek loggen met behulp van de bedieningselementen Full Sample Logging (volledige monsters loggen). Note: Het is niet raadzaam om deze bestanden te downloaden via een mobiele verbinding aangezien het om grote bestanden gaat. |
| MANUAL |
Klik op deze link om de online gebruikershandleiding te raadplegen. |
| ACS PERFORMANCE COUNTERS |
Bekijk gegevens over de prestaties en geschiedenis van de machine in autonome modus. |
| SOFTWARE INFORMATION |
Bekijk de softwareversies van de diverse autonome systemen. |
Het InfoCenter display (Figuur 16) toont informatie zoals de bedrijfsmodus en diverse diagnostieken en andere informatie over de machine.

Note: De knoppen kunnen verschillende functies vervullen afhankelijk van wat op dat moment nodig is. Voor elke knop is er een pictogram dat de huidige functie weergeeft.
Gebruik de navigatieknoppen om te navigeren tussen verschillende schermen en menu-items:
Welkomscherm: toont de huidige informatie over de machine gedurende een aantal seconden nadat u het sleuteltje op AAN hebt gezet.
Hoofdscherm (Figuur 17): toont huidige informatie over de machine terwijl het sleuteltje op AAN staat.

Scherm over de eReel motor (Figuur 18): toont de snelheid en stroom van elke motor van de maai-eenheid.

Tractiemotorscherm Figuur 19: toont de huidige stuurhoek en de stroomsterkte toegewezen aan elke tractiemotor.

Hoofdmenu: zie De menu-opties van het InfoCenter.
![]() | Urenteller |
![]() | Functiebedieningsschakelaar is in de NEUTRAALSTAND. |
![]() | Functiebedieningsschakelaar is in de stand TRANSPORT. |
![]() | Functiebedieningsschakelaar is in de stand MAAIEN. |
![]() | De bestuurder moet op de stoel zitten wanneer de machine in manuele modus staat. |
![]() | De parkeerrem is in werking gesteld. |
![]() | De elektrische parkeerrem is in werking gesteld. |
![]() | Start de motor. |
![]() | Motor |
![]() | De aftakas is ingeschakeld. |
![]() | De aftakas is uitgeschakeld. |
![]() | Accu |
![]() | De maai-eenheden worden omhoog gebracht. |
![]() | De maai-eenheden worden omlaag gebracht. |
![]() | Actief |
![]() | Inactief |
![]() | Vorige |
![]() | Volgende |
![]() | Verhogen |
![]() | Verlagen |
![]() | Vorig scherm |
![]() | Volgend scherm |
![]() | Waarde verhogen |
![]() | Waarde verlagen |
![]() | Menu |
![]() | Omhoog/omlaag scrollen |
![]() | Naar links/rechts scrollen |
Om naar het hoofdmenu te gaan, drukt u op de knop terug/afsluiten terwijl u in één van de informatieschermen bent.
Raadpleeg de volgende tabellen voor een omschrijving van de opties die u hebt in de menu's:
| Menuoptie | Beschrijving |
| STORINGEN | Het menu STORINGEN bevat een lijst met de recente machinestoringen. Raadpleeg de Onderhoudshandleiding of een erkende Toro-distributeur voor meer informatie over het menu STORINGEN. |
| ONDERHOUD | Het menu ONDERHOUD bevat informatie over de machine, zoals bedrijfsuren, tellers en kalibratie. U kunt ook de wetprocedure van de maai-eenheid inschakelen. Raadpleeg de tabel Onderhoud. |
| DIAGNOSTIEK | Het menu DIAGNOSTIEK geeft de verschillende huidige statussen en gegevens van de machine weer. U kunt deze informatie gebruiken om bepaalde problemen op te lossen, omdat het menu snel laat zien welke bedieningsorganen van de machine aan/uit zijn en controleniveaus weergeeft (bv. sensorwaarden). Raadpleeg de tabel Diagnostiek. |
| INSTELLINGEN | In het menu INSTELLINGEN kunt u de instellingen voor het InfoCenter display wijzigen. Raadpleeg de tabel Instellingen. |
| MACHINE-INSTELLINGEN - MACHINE SETTINGS | In het menu MACHINE-INSTELLINGEN kunt u de machine-instellingen aanpassen, zoals het messenkooitoerental, de maximale maaisnelheid en de maximale transportsnelheid. Raadpleeg de tabel Machine-instellingen. |
| MACHINE | In het menu MACHINE ziet u het modelnummer, het serienummer en de versie van de software op uw machine. Raadpleeg de tabel Machine. |
AUTONOMOUS![]() | Het menu AUTONOMOUS (autonoom) bevat instellingen waarmee u de machine kunt testen in autonoom bedrijf. |
| Menuoptie | Beschrijving |
| UREN | Geeft het totaal aantal uren weer dat het sleuteltje op aan stond en de motor, de messenkooien en wetten ingeschakeld waren, alsook het volgende noodzakelijke onderhoud. |
| COUNTS | Geeft het aantal starts, maaibeurten, tap-offs, wetbeurten en aantal keren weer dat de motor voor langer dan 30 seconden werd gestart. |
| WETTEN | Schakelt de wetprocedure van de maai-eenheid in of uit (als u deze procedure inschakelt, kunt u de modus uitschakelen met deze instelling of door het sleuteltje op UIT te draaien). |
KALIBRATIE ![]() | Hiermee kunt u het besturingssysteem, het tractiesysteem en de hefactuatoren kalibreren. Raadpleeg de Onderhoudshandleiding voor meer informatie over kalibratie. |
| Menuoptie | Beschrijving |
| MOTOR | Geeft de invoer en uitvoer voor het inschakelen van de motor aan. |
| 48V INSCHAKELEN | Geeft de invoer en uitvoer van het 48V-systeem weer. |
| GENERATOR | Geeft de invoer en uitvoer voor de generator aan. |
| TRACTIE | Geeft de invoer en uitvoer van het tractiepedaal weer. |
| STUURSYSTEEM | Geeft de invoer en uitvoer voor het stuursysteem weer. |
| HEFFEN/NEERLATEN | Geeft de invoer en uitvoer voor het optillen en neerlaten van de maai-eenheden aan. |
| AFTAKAS | Geeft de invoer en uitvoer voor het inschakelen van het aftakascircuit aan. |
CAN STATISTIEKEN![]() | Geeft de invoer en uitvoer voor het CAN weer. |
| 12V-SYSTEEM | Geeft de invoer en uitvoer van het 12V-systeem weer. |
| AUTONOMOUS | Geeft de invoer en uitvoer van het autonome systeem weer. |
| Menuoptie | Beschrijving |
| PINCODE INVOEREN | Geeft een door uw bedrijf geautoriseerde persoon (toezichthouder/mecanicien) toegang tot de beveiligde menu's met een pincode. |
| ACHTERGRONDVERLICHTING | De helderheid van het lcd. |
| TAAL | Bepaalt de taal die gebruikt wordt in het InfoCenter. |
| LETTERGROOTTE | Bepaalt de lettergrootte op het InfoCenter. |
| EENHEDEN | Bepaalt de eenheden die gebruikt worden in het InfoCenter. De opties zijn Engels of metrisch. |
BEVEILIGDE INSTELLINGEN ![]() | Configureert de beveiligde menu's. |
STANDAARDWAARDEN HERSTELLEN![]() | Herstelt de standaardwaarden van het InfoCenter. |
| Menuoptie | Beschrijving |
TAP-OFFTIJD ![]() | Bepaalt de tap-offvertraging. |
TOERENTAL MESSENKOOI ![]() | Regelt de maaimessnelheid op de maaidekken. |
ZAKSNELHEID![]() | Stelt de snelheid in waarmee de maai-eenheden worden omlaaggebracht naar de grond om te maaien. |
BACKLAPSNELHEID ![]() | Regelt het toerental voor het wetten. |
CLIP-CONTROL ![]() | Schakelt de automatische Clip-Control functie aan of uit. |
AANTAL MESSEN ![]() | Instellen van het aantal messen van elke kooi. Deze instelling is alleen nodig indien CLIP-CONTROL is ingesteld op AAN. |
MAAIHOOGTE![]() | Stelt de gewenste maaihoogte in. Deze instelling is alleen nodig indien CLIP-CONTROL is ingesteld op AAN. |
MAX. MAAIEN ![]() | Stelt de maximumsnelheid van de machine in tijdens het maaien. |
MAX. TRANSPORT ![]() | Stelt de maximumsnelheid van de machine in tijdens het transport. |
MAX. ACHTERUIT ![]() | Stelt de maximumsnelheid in waarmee de machine achteruitrijdt. |
VERTRAGEN & BOCHTEN NEMEN ![]() | Schakelt de functie Vertragen in bochten in of uit. |
DRIEWIELAANDRIJVING ![]() | Schakelt de driewielaandrijving in of uit. |
| Menuoptie | Beschrijving |
| MODEL | Het modelnummer van de machine. |
| Serienummer | Het serienummer van de machine. |
| SOFTWARE REVISIE | De softwareversie van de hoofdbedieningseenheid. |
| Software revisie ACS | De softwareversie van het ACS. |
XDM-2700 ![]() | De softwareversie van het InfoCenter. |
MAAI-EENHEID 1![]() | De softwareversie van de motor van de middelste maai-eenheid. |
MAAI-EENHEID 2![]() | De softwareversie van de motor van de voorste maai-eenheid links. |
MAAI-EENHEID 3![]() | De softwareversie van de motor van de voorste maai-eenheid rechts. |
GENERATOR![]() | Het serienummer van de generator. |
OMHOOG OMLAAG 1![]() | Het onderdeelnummer van de software en de revisieversie voor de middelste maai-eenheid. |
OMHOOG OMLAAG 2![]() | Het onderdeelnummer van de software en de revisieversie voor de voorste maai-eenheid links. |
OMHOOG OMLAAG 3![]() | Het onderdeelnummer van de software en de revisieversie voor de voorste maai-eenheid rechts. |
TRACTION1![]() | Het onderdeelnummer van de software en de revisieversie voor de tractiemotor vooraan rechts. |
TRACTION2![]() | Het onderdeelnummer van de software en de revisieversie voor de tractiemotor vooraan links. |
TRACTION3![]() | Het onderdeelnummer van de software en de revisieversie voor de driewielaandrijving (indien aanwezig). |
STUURSYSTEEM![]() | Het onderdeelnummer van de software en de revisieversie voor de achterste stuurmotor. |
| Menuoptie | Beschrijving |
| EMULATE MOWING | De machine gedraagt zich autonoom maar de maai-eenheden worden niet ingeschakeld. |
| OVERRIDE ACS LOWER | De machine gedraagt zich autonoom, maar de maai-eenheden worden slechts neergelaten tot de LOWER LIMIT (ondergrens). |
| LOWER LIMIT | Een percentage van de onderste stand zoals bepaald door het ACS. 85 is voldoende om ervoor te zorgen dat de maai-eenheden neergelaten worden maar toch de grond niet raken. |
Note:
Beveiligd
menu – enkel toegankelijk met de pincode; zie Toegang tot de beveiligde menu's.
Note: De standaard pincode van de machine is 0000 of 1234.Als u de pincode heeft gewijzigd en vergeten bent, neem dan contact op met uw erkende Toro distributeur voor hulp.
Scrol in het HOOFDMENU naar beneden tot het menu INSTELLINGEN en druk op de selectieknop (Figuur 20).

Scrol in het menu INSTELLINGEN naar PINCODE INVOEREN en druk op de selectieknop (Figuur 21A).

Om de pincode in te voeren, drukt u op de navigatieknoppen omhoog/omlaag tot het eerste gewenste cijfer verschijnt. Druk dan op de rechter navigatieknop om naar het volgende cijfer te gaan (Figuur 21B en Figuur 21C). Herhaal deze stap tot het laatste cijfer ingevoerd is.
Druk op de selectieknop (Figuur 21D).
Note: Als het display de pincode accepteert en het beveiligde menu
opent, dan verschijnt
in de rechter bovenhoek van het scherm.
Om het beveiligd menu weer te vergrendelen, draait u de contactschakelaar naar UIT-stand en dan naar de AAN-stand.
Scrol in INSTELLINGEN naar beneden naar INSTELLINGEN BEVEILIGEN.
Om de instellingen te bekijken en te veranderen zonder
een pincode in te voeren, zet u met de selectieknop INSTELLINGEN
BEVEILIGEN op
(Uit).
Om de instellingen te bekijken en te veranderen met
een pincode, stelt u met de selectieknop INSTELLINGEN
BEVEILIGEN in op
(Aan). Stel vervolgens de pincode in, en draai
het contactsleuteltje UIT en daarna weer AAN.

Knipperend rood - actieve fout
Ononderbroken rood - actieve melding
Ononderbroken blauw - kalibratie-/dialoogberichten
Ononderbroken groen - normale werking
De nr. 1 ledlampjes blijven blauw branden en de volgende berichten kunnen verschijnen wanneer de machine niet in de manuele modus staat. Wacht of volg de instructies op het scherm om de machine te bedienen:
MACHINE NOT READY FOR AUTONOMOUS (machine niet klaar voor autonome modus)
ACS NOT READY, PLEASE WAIT (ACS niet klaar, gelieve te wachten)
HOLD AUTONOMOUS ENGAGE FOR 2 SECONDS (schakelaar autonome modus 2 seconden indrukken)
AUTONOMOUS ACTIVE, LEAVE MACHINE AND USE THE APP (autonome modus actief; verlaat de machine en gebruik de app)
Meldingen voor de bestuurder verschijnen automatisch op het InfoCenter-scherm of de supervisor-app wanneer een machinefunctie bijkomende handelingen vereist. Bijvoorbeeld, als u probeert de motor te starten terwijl u het tractiepedaal indrukt, wordt de melding weergegeven dat het tractiepedaal in NEUTRAAL moet staan.
Elke melding heeft een meldingscode (letter en cijfers), een probleem (eerste lijn van het bericht, bijv. “autonomous denied” of “autonomous abort”), een oorzaak (de reden waarom de melding verschijnt) en een oplossing (tweede tekstlijn).
Note: Meldingen worden niet bewaard in het storingslog.
Raadpleeg de onderstaande tabel voor alle InfoCenter-meldingen:
Note: U kunt een melding van het InfoCenter-weergavescherm verwijderen door een van de toetsen in te drukken.
| Code | Probleem | Oorzaak | Oplossing |
| B2900 | Autonomous Denied (autonome modus geweigerd) | Parkeerrem ingeschakeld | Schakel de parkeerrem uit |
| B2901 | Autonomous Denied (autonome modus geweigerd) | Niet in MOW (maaistand) | Zet de functiebedieningsschakelaar in MOW (maaistand) |
| B2902 | Autonomous Denied (autonome modus geweigerd) | De bestuurder zit op de stoel | Verlaat de bestuurdersstoel |
| B2903 | Autonomous Denied (autonome modus geweigerd) | Het tractiepedaal is ingedrukt | Laat het tractiepedaal terugkeren naar de NEUTRAALSTAND |
| B2904 | Autonomous Denied (autonome modus geweigerd) | Joystickschakelaar ingeschakeld | Zet de joystickschakelaar uit |
| B2905 | Autonomous Denied (autonome modus geweigerd) | Het stuurwiel beweegt | Stop met het stuurwiel te bewegen |
| B2906 | Autonomous Denied (autonome modus geweigerd) | De machine is niet klaar | Wacht of los het probleem op |
| B2907 | Autonomous Denied (autonome modus geweigerd) | ACS is niet klaar | Wacht of los het probleem op |
| B2908 | Autonomous Denied (autonome modus geweigerd) | Diverse | Raadpleeg de supervisor-app |
| B2910 | Autonomous Abort (autonome modus stopgezet) | De bestuurder heeft de autonome modus stopgezet | Stel de schakelaar autonoom/manueel opnieuw in |
| B2911 | Autonomous Abort (autonome modus stopgezet) | Fout(en) actief | Machine-onderhoud vereist. Los actieve fout(en) op |
| B2912 | Autonomous Abort (autonome modus stopgezet) | Aanwezigheid van bestuurder gedetecteerd | Stel de schakelaar autonoom/manueel opnieuw in |
| B2913 | Autonomous Abort (autonome modus stopgezet) | Object gedetecteerd | Stel de schakelaar autonoom/manueel opnieuw in |
| B2914 | Autonomous Abort (autonome modus stopgezet) | Diverse | Raadpleeg de supervisor-app |
| B2940 | Autonomous Degraded (autonome modus beperkt) | Diverse | Raadpleeg de supervisor-app |
| B2950 | Autonomous Paused (autonome modus gepauzeerd) | Diverse | Raadpleeg de supervisor-app |
Raadpleeg de onderstaande tabel voor alle meldingen in de supervisor-app:
| Code | Probleem | Oorzaak | Oplossing |
| B2908-1 | Autonomous operation denied (autonome modus geweigerd) | De machine bevindt zich buiten een AOA | Verplaats de machine naar een AOA |
| B2908-2 | Autonomous operation denied (autonome modus geweigerd) | De kaart is niet geldig |
|
| B2914-1 | Autonomous operation aborted (autonome modus stopgezet) | De maximale toegelaten hellingshoek is overschreden |
|
| B2914-2 | Autonomous operation aborted (autonome modus stopgezet) | De machine heeft de autonome modus verlaten |
|
| B2914-3 | Autonomous operation aborted (autonome modus stopgezet) | Probleem met IMU; kan het werk niet voortzetten |
|
| B2914-4 | Autonomous operation aborted (autonome modus stopgezet) | De noodstop is geactiveerd | Schakel de noodstopknop uit en stel de autonome modus opnieuw in |
| B2914-5 | Autonomous operation aborted (autonome modus stopgezet) | De sonar links vóór werd geactiveerd |
|
| B2914-6 | Autonomous operation aborted (autonome modus stopgezet) | De sonar links achter werd geactiveerd |
|
| B2914-7 | Autonomous operation aborted (autonome modus stopgezet) | De sonar rechts achter werd geactiveerd |
|
| B2914-8 | Autonomous operation aborted (autonome modus stopgezet) | De sonar rechts vóór werd geactiveerd |
|
| B2914-9 | Autonomous operation aborted (autonome modus stopgezet) | Het near field van de radar werd geactiveerd |
|
| B2914-10 | Autonomous operation aborted (autonome modus stopgezet) | De sonar links boven werd geactiveerd |
|
| B2914-11 | Autonomous operation aborted (autonome modus stopgezet) | De sonar rechts boven werd geactiveerd |
|
| B2914-12 | Autonomous operation aborted (autonome modus stopgezet) | De schakelaar autonoom/manueel staat in manuele modus |
Stel de schakelaar autonoom/manueel opnieuw in |
| B2940-1 | Autonomous operation performance degraded (prestaties autonome modus beperkt) | Een obstakel in de buurt van de machine belemmert de werking |
|
| B2940-2 | Autonomous operation performance degraded (prestaties autonome modus beperkt) | De temperatuur van de pc valt buiten de bedrijfslimieten | De prestaties kunnen beperkt worden maar de machine blijft volledig operationeelAls het probleem zich blijft voordoen, neem dan contact op met de technische ondersteuning |
| B2940-3 | Autonomous operation performance degraded (prestaties autonome modus beperkt) | De wielen slippen door |
|
| B2940-4 | Autonomous operation performance degraded (prestaties autonome modus beperkt) | IMU-fout: buiten de bedrijfslimieten | De prestaties kunnen beperkt worden maar de machine blijft volledig operationeelAls het probleem zich blijft voordoen, neem dan contact op met de technische ondersteuning |
| B2940-5 | Autonomous operation performance degraded (prestaties autonome modus beperkt) | De afstand tot het basisstation valt buiten de bedrijfslimieten | De prestaties kunnen beperkt worden maar de machine blijft volledig operationeel |
| B2940-6 | Autonomous operation performance degraded (prestaties autonome modus beperkt) | Geen verbinding met mobiel netwerk |
|
| B2940-7 | Autonomous operation performance degraded (prestaties autonome modus beperkt) | De temperatuur van de LiDAR valt buiten de bedrijfslimieten |
|
| B2950-1 | Autonomous operation paused (autonome modus gepauzeerd) | De afstand van de huidige machinelocatie tot de vorige ligt buiten de bedrijfslimieten |
|
| B2950-2 | Autonomous operation paused (autonome modus gepauzeerd) | Navigatiefout |
|
| B2950-3 | Autonomous operation paused (autonome modus gepauzeerd) | De reactietijd van de pc valt buiten de bedrijfslimieten | De prestaties kunnen beperkt worden maar de machine blijft volledig operationeelAls het probleem zich blijft voordoen, neem dan contact op met de technische ondersteuning |
| B2950-4 | Autonomous operation paused (autonome modus gepauzeerd) | De signaalkwaliteit van het basisstation valt buiten de bedrijfslimieten |
|
| B2950-5 | Autonomous operation paused (autonome modus gepauzeerd) | Slechte GNSS RTK-kwaliteit |
|
| B2950-6 | Autonomous operation paused (autonome modus gepauzeerd) | De machine is verbonden met een ander basisstation dan hetgeen gebruikt werd om het gebied in kaart te brengen |
|
| B2950-7 | Autonomous operation paused (autonome modus gepauzeerd) | Locatienauwkeurigheid buiten de bedrijfslimieten |
|
| B2950-8 | Autonomous operation paused (autonome modus gepauzeerd) | Probleem met het subsysteem voor heffen/neerlaten |
|
| B2950-9 | Autonomous operation paused (autonome modus gepauzeerd) | Er is een probleem met het subsysteem van de aftakas |
|
| B2950-10 | Autonomous operation paused (autonome modus gepauzeerd) | Er is een probleem met het subsysteem van de besturing |
|
| B2950-11 | Autonomous operation paused (autonome modus gepauzeerd) | Er is een probleem met het subsysteem van de tractie |
|
| B2950-12 | Autonomous operation paused (autonome modus gepauzeerd) | Er heeft zich een fout voorgedaan met de opdracht terwijl de details van de opdracht verwerkt werden |
|
| B2950-13 | Autonomous operation paused (autonome modus gepauzeerd) | Moeilijke startpositie |
Verplaats de machine naar een open gebied om het werk te versnellen |
Voordat u werkt aan de machine of voor het plaatsen van, verwijderen van of werken aan de maai-eenheden, moet u altijd de machine loskoppelen van de voedingsbron door de hoofdstroomaansluitingen los te maken (Figuur 23). Deze vindt u onderaan de rolbeugel aan de linkerkant van de tractie-eenheid. Sluit de snelkoppelingen weer aan voordat u de machine gaat bedienen.

Als u de voeding naar de machine niet onderbreekt, bestaat de kans dat iemand de machine per ongeluk start. Hierdoor kan ernstig lichamelijk letsel worden veroorzaakt.
Koppel altijd de aansluitingen los voordat u werkzaamheden aan de machine gaat verrichten.
Zie Figuur 25 en Specificatietabel voor de afmetingen en het gewicht.
Note: Specificaties en ontwerp kunnen zonder voorafgaande kennisgeving worden gewijzigd.

| Maaibreedte | 151 cm |
| Spoorbreedte | 134 cm |
| Wielbasis | 127 cm |
| Totale lengte | 239 cm |
| Totale breedte | 185 cm |
| Totale hoogte | 211 cm |
| Gewicht* | 841 kg (1.855 lb) |
| *Tractie-eenheid uitgerust met maai-eenheden met 8 messen, zonder brandstof, zonder bestuurder en met de standaard stoel. | |
Een selectie van door Toro goedgekeurde werktuigen en accessoires is verkrijgbaar voor gebruik met de machine om de mogelijkheden daarvan te verbeteren en uit te breiden. Neem contact op met een erkende servicedealer of Toro-distributeur of ga naar www.Toro.com voor een lijst van alle goedgekeurde werktuigen en accessoires.
Om de beste prestaties te verkrijgen en er zeker van te zijn dat de machine altijd veilig kan worden gebruikt, moet u ter vervanging uitsluitend originele Toro-onderdelen en accessoires gebruiken. Gebruik ter vervanging nooit onderdelen en accessoires van andere fabrikanten, omdat dit gevaarlijk kan zijn. Dit kan ertoe leiden dat de garantie op het product komt te vervallen.
De supervisor is ervoor verantwoordelijk de machine(s) voorafgaand aan gebruik te inspecteren en zo na te gaan of ze op betrouwbare wijze gebruikt kan worden. Inspecties omvatten onder andere het volgende:
Dagelijks vóór het werk controleren of de sensoren naar behoren werken, vrij zijn van stof en vuil, en juist gericht zijn.
Dagelijks vóór het werk de gebruikelijke controlelijst(en) afgaan zoals vereist voor de machine(s). De goedkeuring gebeurt via de app.
De machine kan pas autonoom werken als de supervisor de criteria in de overeenkomst in de supervisor-app heeft aanvaard.
Eventuele bijkomende onderhouds- of gereedheidscontroles uitvoeren zoals aangegeven in de training of instructies die bij de machine(s) geleverd werden.
Te allen tijde het mobiele apparaat dragen dat met de machine is verbonden via de app voor autonome bediening.
Het is de verantwoordelijkheid van de supervisor om na te gaan of alle gevaren in kaart zijn gebracht voordat de machine in autonome modus wordt gebruikt. De werkgebieden moeten voldoen aan de voorwaarden in Verplichte criteria voor kaarten.
Het is de verantwoordelijkheid van de supervisor om de autonome modus van de machine(s) in te schakelen vanaf een verzamelplaats in het autonome werkgebied. Een gekwalificeerde bestuurder dient de machine in manuele modus naar die verzamelplaats en terug naar de opslaglocatie te voeren.
Voor en tijdens het gebruik van de machine is de supervisor ervoor verantwoordelijk de werkgebieden (zoals het autonome werkgebied), het aaneengesloten maaigebied en de doorgangpaden te inspecteren om gevaren op te sporen en te verwijderen. Deze gevaren kunnen onder andere de volgende zijn:
Voorwerpen in het werkgebied zoals takken, stenen, vuil, golfaccessoires, uitstekende sprinklers en om het even welke andere objecten die niet door messen of anderszins gemaaid mogen worden
Omstanders en kinderen
Niet-maaibare gebieden zoals zones die hersteld worden, ondergelopen zijn of beschadigd gras bevatten enz.
Mogelijk moet een bekwame manuele bestuurder met de machine in manuele modus maaien als de machine autonoom gebruiken onmogelijk is omwille van de volgende redenen (niet-uitputtende lijst):
Onvoldoende sterk draadloos signaal (bijv. mobiel, GNSS-connectiviteit enz.)
Onvoldoende nauwkeurige GNSS en/of RTK-correctie
Beperking van het werkgebied van de machine(s) op basis van de evaluatie van het terrein
Het gebied is te dicht bij een AOA-grens of vaste obstakels
Voordat de maaier in autonome modus mag worden gebruikt, moet aan de volgende criteria zijn voldaan:
Kwalificaties van de supervisor van de machine
Ik ben opgeleid tot supervisor van autonome maaimachines en heb hiervoor een kwalificatie gekregen van Toro.
Werking van de machine
Ik heb in de afgelopen 12 uur gecontroleerd of alle sensoren voor objectdetectie stevig bevestigd zijn op de machine, naar behoren functioneren en juist gericht zijn.
Note: Om na te gaan of de sensoren goed werken, moet u de stappen in Het objectdetectiesysteem controleren lezen en vervolledigen.
Zorg ervoor dat de machine ingeschakeld is.
Zorg ervoor dat de supervisor-app verbinding heeft met de machine.
Ga naar de DIAGNOSTICS-pagina.
Vouw de lijst met Sensoren uit.
Loop rond de machine en controleer of alle lichten rood oplichten. Negeer de bovenste sensoren vooraan; deze dienen om steile hellingen te detecteren.
Ik heb gecontroleerd of de messenkooien in goede staat zijn om te maaien en vrij zijn van vuil en obstructies; zie Onderhoud van de maai-eenheid.
Voorafgaande inspectie van het terrein
Ik heb alle fairways die autonoom gemaaid moeten worden geïnspecteerd en bevestig het volgende:
Het werkgebied is vrij van vuil dat de werking van de machine kan hinderen of dat de machine kan uitwerpen.
Stilstaand water, dikke takken, vreemde voorwerpen op de grasmat, gaten of erosie zijn gerepareerd of weggenomen.
Alle beregeningskoppen zijn gelijk met de grond ingetrokken.
Alle te verwachten obstakels zijn uit het autonome werkgebied verwijderd, zoals bunkerharken, terreinmarkeerders, borden, afscheidingstouwen, losse golfkarmarkeringen, masten en stokken.
Het autonome werkgebied is vrij van omstanders en kinderen.
Onmiddellijk nadat de machine gestart is
Ik controleer of alle auditieve en visuele waarschuwingssignalen op de machine goed werken:
Voordat de machine in beweging komt, klinkt er gedurende 2 seconden een zoemtoon.
Tijdens autonoom bedrijf knipperen de oranje lichten voor- en achteraan de machine. Het lampje van de autonome modus is groen.
Als de machine niet naar behoren werkt, breng ik deze onmiddellijk tot stilstand en los ik problemen op alvorens door te gaan met werken.
Hebt u problemen of vragen over een item in deze controlelijst, raadpleeg dan de Gebruikershandleiding.
Inhoud brandstoftank: 18,5 liter
Aanbevolen brandstof: loodvrije benzine met een octaangetal van 87 of hoger (indelingsmethode (R+M)/2)
Ethanol: benzine met maximaal 10 vol.% ethanol of 15 vol.% MTBE (methyl tertiaire butylether) is geschikt. Ethanol en MTBE zijn verschillende stoffen. Benzine met 15% ethanol (E15) per volume is niet goedgekeurd voor gebruik.
Gebruik nooit benzine met meer dan 10 vol.% ethanol, zoals E15 (bevat 15% ethanol), E20 (bevat 20% ethanol), of E85 (bevat tot 85% ethanol).
Geen brandstof gebruiken die methanol bevat.
Tijdens de winter geen brandstof bewaren in de brandstoftank of in vaten, tenzij u een brandstofstabilisator gebruikt.
Meng nooit olie door benzine.
Gebruik voor de beste resultaten uitsluitend schone, verse brandstof (minder dan 30 dagen oud).
Ongeschikte benzine gebruiken kan leiden tot verminderde prestaties en/of motorschade die mogelijk niet gedekt wordt door de garantie.
Important: Gebruik nooit andere brandstofadditieven dan een brandstofstabilisator/conditioner. Gebruik geen stabilizers op basis van alcohol zoals ethanol, methanol, of isopropanol.
Stel de parkeerrem in werking, zet de motor uit, verwijder het contactsleuteltje en wacht totdat alle bewegende onderdelen tot stilstand zijn gekomen.
Reinig de omgeving van de dop van de brandstoftank en verwijder de dop (Figuur 26).

Giet de aanbevolen brandstof in de brandstoftank tot 25 mm vanaf de onderkant van de vulbuis. Dit geeft de brandstof in de tank ruimte om uit te zetten.
Important: Vul de brandstoftank niet helemaal.
Plaats daarna de dop terug.
Note: U hoort een klik als de dop goed bevestigd is.
Neem eventueel gemorste brandstof op.
U kunt het InfoCenter gebruiken om de volgende machine-instellingen aan te passen:
Tap-offvertraging; zie De tap-offvertraging instellen.
Messenkooitoerental terwijl u maait; zie Het messenkooitoerental voor het maaien instellen.
Messenkooitoerental terwijl u de maai-eenheden wet; zie Het messenkooitoerental voor het wetten instellen.
Clip-Control; zie De Clip-Control functie instellen.
Maaihoogte; zie De maaihoogte instellen.
Aantal messen van de maai-eenheid; zie Het aantal messen van de maai-eenheid instellen.
Maximale maaisnelheid; zie De maximale maaisnelheid instellen.
Zaksnelheid maai-eenheid; zie De zaksnelheid van de maai-eenheid instellen.
Maximale transportsnelheid; zie De maximale transportsnelheid instellen.
Maximale snelheid achteruit; zie De maximale snelheid achteruit instellen.
Vertragen in bochten; zie De functie Vertragen in bochten instellen.
Een uitgeruste set met driewielaandrijving uitschakelen; zie Een uitgeruste set met driewielaandrijving uitschakelen.
Note: Elke instelling is beveiligd met een code. U moet misschien een code invoeren om de instellingen te bewerken.
Ga naar de optie TAP-OFFTIJD om de tap-offvertraging aan te passen. Met de functie tap-offvertraging kunt u de maai-eenheden uitschakelen zonder ze omhoog te brengen. De vertragingsinstelling is de maximale tijd gedurende dewelke de joystick voor omhoog-/omlaagbrengen in de achterste stand mag blijven om deze functie te activeren.
Raadpleeg de volgende tabel voor de vertragingsopties en hun overeenkomstige stappen:
| Stap | Vertragingstijd (seconden) |
| 1 | Uit |
| 2 | 0,050 |
| 3 | 0,100 |
| 4 | 0,150 |
| 5 | 0,200 |
| 6 | 0,250 |
| 7 | 0,300 |
| 8 | 0,350 |
| 9 | 0,400 |
| 10 | 0,450 |
Note: De standaardwaarde is 1 (de functie is niet geactiveerd).
Ga naar de optie MESSENKOOITOERENTAL om het messenkooitoerental tijdens het maaien in te stellen. Deze instelling kan worden aangepast als de Clip-Control instelling UIT staat; zie De Clip-Control functie instellen.
Raadpleeg de volgende tabel voor de opties van het messenkooitoerental en hun overeenkomstige stappen:
| Stap | Messenkooitoerental (tpm) |
| 1 | 800 |
| 2 | 950 |
| 3 | 1100 |
| 4 | 1250 |
| 5 | 1400 |
| 6 | 1550 |
| 7 | 1700 |
| 8 | 1850 |
| 9 | 2000 |
Note: De standaardwaarde is 1550 tpm (stap nummer 6).
Ga naar de optie ZAKSNELHEID om de snelheid in te stellen waarmee de maai-eenheden worden omlaaggebracht naar de grond om te maaien. U kunt schakelen tussen 1 (laagste snelheid)en 9 (hoogste snelheid).
Test de zaksnelheid voordat u gaat maaien. Stel de snelheid af naar wens.
Note: De standaardinstelling is 5.
Ga naar de optie TOERENTAL VOOR WETTEN om het messenkooitoerental tijdens het wetten af te stellen.
Raadpleeg de volgende tabel voor de opties van het messenkooitoerental en hun overeenkomstige stappen:
| Stap | Messenkooitoerental (tpm) |
| 1 | 200 |
| 2 | 240 |
| 3 | 280 |
| 4 | 320 |
| 5 | 360 |
| 6 | 400 |
| 7 | 440 |
| 8 | 480 |
| 9 | 520 |
Note: De standaardwaarde is 200 tpm (stap nummer 1).
Om een consistente, hoge maaikwaliteit en een uniform maairesultaat te verkrijgen, is de machine uitgerust met het Radius Dependent Speed™ (RDS) systeem, waarvoor een patent in aanvraag is. Het RDS-systeem is een Clip-Control functie die onafhankelijk is van de wielsnelheid en die de snelheid van elke messenkooimotor en tractiemotor aanpast om een constante maaibewerking te verkrijgen en om afschaven van het gazon tijdens het maaien in bochten tegen te gaan.
Wanneer de machine een bocht maakt tijdens het maaien (bv. tijdens de schoonmaakwerkgang), zal de messenkooi aan de binnenkant van de bocht met een trager toerental draaien dan de messenkooi aan de buitenkant van de bocht. De middelste messenkooi draait met het gemiddelde toerental van de buitenste en binnenste messenkooi zodat de drie maai-eenheden dezelfde maaifrequentie hebben. Hoe scherper de bocht, hoe groter het verschil tussen het toerental van de messenkooien. Bovendien zal het RDS-systeem het messenkooitoerental afstellen voor een constante maaifrequentie als de snelheid van de machine verandert terwijl u aan het maaien bent. Deze functie zorgt dat de grasmat aan de binnenste messenkooi minder verdunt dan bij andere fairwaymaaiers, zodat 'triplex ring’ haast geëlimineerd wordt.
Het RDS-systeem past ook het toerental van de wielmotoren aan tijdens een bocht, gelijkaardig met het toerental van de messenkooimotoren die veranderen tijdens een bocht. De binnenste wielmotor zal met een lager toerental draaien dan de buitenste wielmotor. Dit beperkt het afschaven van het wiel in de bocht tot een minimum en kan 'triplex ring' tegengaan.
Ga naar de optie CLIP-CONTROL om de functie RDS-systeem in te stellen.
Clip-Control ingesteld op AAN: De machine gebruikt uw instellingen van de opties MAAIHOOGTE en AANTAL MESSEN en de snelheden van het linker- en rechterwiel om de snelheid van elke messenkooi te bepalen.
Clip-Control ingesteld op UIT: De machine gebruikt uw instelling van de optie MESSENKOOITOERENTAL.
Note: De standaardinstelling is AAN.
Ga naar de optie MAAIHOOGTE om de maaihoogte in te stellen. De functie Clip-Control moet ingesteld zijn op AAN om deze functie te gebruiken; zie De Clip-Control functie instellen.
Note: De standaardinstelling is 12,7 mm.
Ga naar de optie AANTAL MESSEN om het aantal messen van de maai-eenheid in te stellen. Bepaal het aantal messen in uw uitgeruste maai-eenheden en selecteer de gepaste waarde (5, 8, 11, of 14).
Note: De standaardinstelling is 8.
Ga naar de optie MAX. MAAIEN om de maximale maaisnelheid in te stellen. U kunt de snelheid instellen van 4,5 km/u tot 8 km/u in stappen van 0,3 km/u.
Note: De standaardinstelling is 6,1 km/u.
Ga naar de optie MAX. TRANSPORT om de maximale transportsnelheid in te stellen. U kunt de snelheid instellen van 8 km/u tot 16 km/u in stappen van 0,8 km/u.
Note: De standaardinstelling is 16 km/u.
Ga naar de optie MAX. ACHTERUIT om de maximale snelheid achteruit in te stellen. U kunt de snelheid instellen van 3,2 km/u tot 8,0 km/u in stappen van 0,8 km/u.
Note: De standaardinstelling is 4 km/u.
Note: Voor machinesoftwareversies A tot en met D is de maximale snelheid 4,8 km/u. Werk de machinesoftware bij voor de mogelijkheid om de maximale snelheid in te stellen tot 8,0 km/u.
Ga naar de optie VERTRAGEN & BOCHTEN NEMEN om de functie Vertragen in bochten in te stellen. De functie Vertragen in bochten vertraagt de machine terwijl u een bocht neemt voor een nieuwe werkgang op de green.
Note: De standaardinstelling is UIT.
Ga naar de optie DRIEWIELAANDRIJVING om een uitgeruste set met driewielaandrijving uit te schakelen.
Note: Wanneer u de set met driewielaandrijving monteert, is de set automatisch geactiveerd.
Wanneer de machine wordt gekalibreerd, verschijnen dialoogberichten in het InfoCenter. Deze berichten zijn bedoeld om u instructies te geven tijdens het kalibratieproces.
Raadpleeg de volgende tabel voor een lijst met alle dialoogberichten:
| Berichtnummer | Tekst van het bericht in InfoCenter |
| 1 | Beweeg pedaal terug naar neutraal |
| 4 | Houd pedaal maximaal voorwaarts |
| 5 | Kalibratie maximaal voorwaarts voltooid |
| 9 | Kalibratie maximaal voorwaarts mislukt. Spanning buiten aanbevolen bereik |
| 13 | Houd pedaal maximaal achteruit |
| 14 | Kalibratie maximaal achteruit voltooid |
| 16 | Kalibratie maximaal achteruit mislukt. Spanning buiten aanbevolen bereik |
| 17 | Kalibratie mislukt. Pedaalstand onbekend |
| 18 | Beweeg pedaal terug naar neutraal. Verdergaan? |
| 100 | Kalibratie geactiveerd |
| 101 | Kalibratie voltooid |
| 102 | Draai het contactsleuteltje één keer op aan en uit |
| 110 | Kalibratie voorkomen. Component reageert niet |
| 111 | Kalibratie voorkomen. Component niet klaar |
| 112 | Kalibratie voorkomen. Fout actief |
| 113 | Kalibratie voorkomen. Niet op stoel |
| 114 | Kalibratie voorkomen. Niet in neutraal |
| 115 | Kalibratie voorkomen. In neutraal |
| 116 | Kalibratie voorkomen. Parkeerrem ingeschakeld |
| 300 | Beweeg pedaal terug naar neutraal |
| 301 | Stuurwiel centreren. Verdergaan? |
| 302 | Stuurwiel handmatig centreren. Verdergaan? |
| 303 | Stuur achterwiel uiterst links. Verdergaan? |
| 304 | Stuur achterwiel uiterst rechts. Verdergaan? |
| 305 | Midden achterwiel buiten bereik |
| 306 | Hoek achterwiel buiten bereik |
| 400 | Opgelet: machine moet op kriksteunen staan. Verdergaan? |
| 401 | Kalibratie voorkomen. Schakelaar open |
| 402 | Kalibratie voorkomen. Pedaal in neutraal |
| 403 | Beweeg pedaal terug naar neutraal |
| 404 | Wacht tot wielen tot stilstand zijn gekomen |
| 405 | Houd pedaal maximaal voorwaarts |
| 406 | Kalibratie actief. Pedaal inhouden |
| 500 | Omhoog/omlaag uitgaande slag actief |
| 501 | Omhoog/omlaag ingaande slag actief |
| 502 | Beweeg joystick naar stand omlaag |
| 503 | Beweeg joystick naar stand omhoog |
| 504 | Is de maai-eenheid gemonteerd? Verdergaan? |
| 1100 | Diagnostische berichten over de tractie actief |
| 1101 | Diagnostische berichten over de besturing actief |
| 1102 | Diagnostische veiligheidsberichten actief |
| Onderhoudsinterval | Onderhoudsprocedure |
|---|---|
| Bij elk gebruik of dagelijks |
|
Ga elke dag als volgt te werk voordat u de machine start:
Controleer het oliepeil in de motor; zie Motoroliepeil controleren..
Controleer de afstelling van het contact tussen ondermes en messenkooi; zie Afstelling van contact tussen ondermes en messenkooi controleren.
Controleer de bandenspanning; zie De bandenspanning controleren.
Controleer het veiligheidssysteem; zie Werking van het veiligheidssysteem.
Controleer het brandstofpeil en vul bij met brandstof indien nodig; zie Brandstoftank vullen.
Controleer de werking van de parkeerrem door de parkeerrem te activeren en te controleren of deze ingeschakeld wordt; zie Parkeerrem.
Controleer en reinig de sensoren (indien nodig); zie De sensoren en sensorbeugels controlerenDe sensoren schoonmaken.
Raadpleeg de bijgeleverde Gebruikershandleiding van de motor voor informatie over olieverversingsbeurten en aanbevolen onderhoudsprocedures tijdens de inrijperiode.
Voor de inrijperiode is 8 uur genoeg.
Aangezien de eerste bedrijfsuren van cruciaal belang zijn voor de betrouwbaarheid van de machine in de toekomst, moet u de werking en de prestaties van de machine scherp in het oog houden zodat kleine gebreken die later grote problemen kunnen veroorzaken, worden opgemerkt en verholpen. Controleer de machine tijdens de inrijperiode veelvuldig op olielekken, losse bevestigingen of andere gebreken.
Note: Kijk onder de maai-eenheden om te controleren of deze schoon zijn.
Steek het sleuteltje in het contact en draai het op de stand AAN.
Wacht tot het welkomscherm verschijnt op het InfoCenter en draai dan het sleuteltje naar de stand START tot de motor start.
Zodra de motor start, laat u het sleuteltje los; het zal automatisch naar de stand AAN bewegen.
Note: Er doet zich een fout voor als de motor langer dan 30 seconden wordt gestart.
Ga op de bestuurdersstoel zitten en bevestig uw veiligheidsgordel.
Zet de functiebedieningsschakelaar naar de stand MAAIEN.
Zet de parkeerrem vrij.
Beweeg de joystick voor omhoog-/omlaagbrengen kort naar voren.
De maai-eenheden moeten zakken en alle messenkooien moeten draaien.
Beweeg de joystick voor omhoog-/omlaagbrengen naar achteren.
De messenkooien moeten stoppen met draaien en de maai-eenheden moeten omhoogkomen in de volledige transportstand.
Rijd de machine naar een horizontaal oppervlak.
Zet de functiebedieningsschakelaar naar de NEUTRAALSTAND.
Stel de parkeerrem in werking.
Draai het sleuteltje op UIT om de motor af te zetten.
Verwijder het sleuteltje.
| Onderhoudsinterval | Onderhoudsprocedure |
|---|---|
| Bij elk gebruik of dagelijks |
|
Niet-aangesloten of beschadigde interlockschakelaars kunnen onverwachte gevolgen hebben op de werking van de machine. Dit kan lichamelijk letsel veroorzaken.
Laat de interlockschakelaars ongemoeid.
Controleer elke dag de werking van de interlockschakelaars en vervang beschadigde schakelaars voordat u de machine weer in gebruik neemt.
De interlockschakelaars dienen voor de beveiliging en zorgen dat de machine niet in werking kan treden als dit u zou kunnen verwonden of de machine beschadigen.
Het veiligheidssysteem zorgt ervoor dat de motor uitsluitend in beweging komt wanneer:
De parkeerrem is uitgeschakeld.
U op de bestuurdersstoel zit (tenzij de machine in autonome modus werkt).
De functiebedieningsschakelaar in de stand MAAIEN ofTRANSPORT staat.
Bovendien verhindert het veiligheidssysteem dat de messenkooien worden gebruikt tenzij de functiebedieningsschakelaar in de stand MAAIEN staat (behalve wanneer de machine zich in Wetmodus bevindt).
Schakel de manuele modus in en voer de volgende stappen uit om het veiligheidssysteem te controleren:
Ga van de stoel af, start de motor, schakel de parkeerrem uit, zet de functiebedieningsschakelaar in de stand MAAIEN of TRANSPORT, en stel het tractiepedaal in werking.
De machine mag niet bewegen aangezien u niet in de stoel zit. Dit geeft aan dat het veiligheidssysteem naar behoren functioneert. Verhelp het probleem als het systeem niet naar behoren werkt.
Ga zitten in de stoel, start de motor, schakel de parkeerrem in, zet de functiebedieningsschakelaar in de stand MAAIEN of TRANSPORT, en stel het tractiepedaal in werking.
De machine mag niet bewegen, aangezien de parkeerrem ingeschakeld is. Dit geeft aan dat het veiligheidssysteem naar behoren functioneert. Verhelp het probleem als het systeem niet naar behoren werkt.
Ga zitten in de stoel, start de motor, schakel de parkeerrem uit, zet de functiebedieningsschakelaar in de NEUTRAALSTAND, en stel het tractiepedaal in werking.
De machine mag niet bewegen, aangezien de functiebedieningsschakelaar in de NEUTRAALSTAND staat. Dit geeft aan dat het veiligheidssysteem naar behoren functioneert. Verhelp het probleem als het systeem niet naar behoren werkt.
Ga zitten op de stoel, zet het tractiepedaal in de NEUTRAALSTAND, beweeg de functiebedieningsschakelaar naar de NEUTRAALSTAND, stel de parkeerrem in werking, start de motor en beweeg de joystick voor omhoog-/omlaagbrengen naar voren om de maai-eenheden omlaag te brengen.
De maai-eenheden moeten omlaag bewegen, maar mogen niet gaan draaien. Als ze beginnen te draaien werkt het veiligheidssysteem niet naar behoren; verhelp het probleem voordat u de machine gebruikt.
Verzeker dat de maai-eenheden volledig omhooggebracht zijn.
Ga zitten in de stoel, schakel de parkeerrem uit en zet de functiebedieningsschakelaar in de stand TRANSPORT om met de machine te rijden zonder te maaien.
Verminder altijd uw snelheid als u oneffen terrein nadert en rij voorzichtig in sterk glooiend gebied.
Zorg ervoor dat u vertrouwd raakt met de breedte van het voertuig. Probeer niet tussen objecten te rijden die dicht bij elkaar staan, teneinde dure schade en uitvaltijd te voorkomen.
Maak verbinding met de Geolink Mow supervisor-app om de machine te programmeren, monitoren en van afstand te bedienen.
Voer het serienummer van uw machine in de url-balk om verbinding te maken met de machine.
De indeling van
de url is tacs
Meld u aan op de GeoLink Mow supervisor-app met uw myTurf-inloggegevens.
Note: Als het niet lukt om verbinding te maken met de machine, controleer dan of deze als activum is toegevoegd aan het inventaris van uw club; zie de softwaregids van myTurf.
Note: Raadpleeg Over het menu Map (kaart) voor een overzicht van mapfuncties.
De grens van een AOA mag niet onder bomen of andere obstakels getekend worden, omdat anders de GNSS-communicatie met de machine belemmerd kan worden (Figuur 29).

AOA’s en CMA’s moeten rechtsom in kaart gebracht worden. Openingen en NOA’s moet u linksom tekenen.
Brengt u de grenzen van een AOA of CMA in kaart, begin en eindig de grens dan steeds met een rechte lijn.
Zorg dat de machine een sterk GNSS-signaal heeft voordat u de fairway in kaart begint te brengen; raadpleeg het statusvak Accuracy (nauwkeurigheid) op de pagina MAP (kaart) of in het Diagnostiekmenu.
Tijdens of net voorafgaand aan het in kaart brengen mag de machine niet in achteruit worden gebruikt. Bereid uw kaartroute nauwgezet voor alvorens de fairway in kaart te brengen.
| Punt-naar-punt | Minimale afstand |
| Afstand tussen een CMA en een AOA of een NOA | 1,5 m |
| Breedte van een CMA | 4,5 m |
Note: Voor de beste prestaties is het raadzaam tussen een AOA en een CMA een afstand van 5 meter aan te houden: dit geeft de machine voldoende ruimte om efficiënt te keren en zo opdrachten sneller uit te voeren.

Voer de onderstaande stappen uit om uw terrein in kaart te brengen voor autonoom maaiwerk:
Breng het autonome werkgebied (AOA) in kaart; zie Het autonome werkgebied in kaart brengen.
Breng het aaneengesloten maaigebied (CMA) in kaart; zie Het aaneengesloten maaigebied in kaart brengen.
Breng niet-werkgebieden (NOA’s, openingen en palen) in kaart; zie Niet-werkgebieden in kaart brengen en Palen creëren.
Breng de doorgangpaden in kaart; zie Doorgangpaden in kaart brengen.
Creëer oppikpunten; zie Oppikpunten aanmaken.
Voordat u de maaier in autonome modus gebruikt, moet u de grenzen van het autonome werkgebied (AOA) programmeren door deze in kaart te brengen.
Important: Voordat u het terrein in kaart brengt, moet u het inspecteren. Let hierbij op obstakels en zorg ervoor dat het autonome werkgebied geen obstakels bevat en erbij uit de buurt blijft. Het autonome werkgebied mag geen obstakels bevatten die de machine niet kan detecteren, die de machine kunnen beschadigen, of die de veiligheid in het gedrang kunnen brengen.Het is de verantwoordelijkheid van de supervisor om ervoor te zorgen dat alle objecten of obstructies goed in kaart zijn gebracht buiten het autonome werkgebied; zie Niet-werkgebieden in kaart brengen en Palen creëren.Als er een obstructie is (bijv. een volle muur of ondoordringbaar terrein) tussen de machine en een van de gevaren vermeld in Siteveiligheidscriteria voor autonome werkgebieden, zorg dan dat de grens van de AOA zich ten minste 2 meter van de obstructie bevindt.
Note: Het wordt aanbevolen om één van uw machines te kiezen als de standaardmachine voor het in kaart brengen van het hele terrein. Deze wordt dan de enige machine in uw machinepark die nieuwe kaartgebieden aanmaakt of bestaande kaartgebieden wijzigt. De andere machines in het machinepark gebruiken het kaartbestand dat de standaardmachine heeft aangemaakt.Het is de verantwoordelijkheid van de supervisor om ervoor te zorgen dat het juiste kaartbestand op elk van de machines wordt geladen.
Verbind met de machine via de GeoLink Mow supervisor-app.
Druk in het hoofdscherm op de menuknop in de rechterbovenhoek en selecteer MAP (kaart).
Rij de machine naar het gewenste begin van uw AOA.
Note: Let op de kleur van de statusvakken rechts onderaan het scherm: Accuracy (nauwkeurigheid) en Clearance (tussenruimte). Zijn deze rood, dan is de locatie van de machine weinig nauwkeurig of detecteert ze een object in de buurt. De machine kan geen kaart aanmaken in dit gebied; rij de machine naar een andere startlocatie en probeer het opnieuw.
Note: Het is raadzaam uw AOA in kaart te beginnen brengen in een zone met herkenbare referentiepunten zoals beregeningsvlaggen of andere terreinkenmerken.
Selecteer AOA in het menu in de zijbalk of de uitvouwbare rode knop, en vervolgens Perimeter (omtrek).
Gebruik de linkervoorhoek van de linker maai-eenheid als referentiepunt en rij met de machine in een rechte lijn om de omtrek van de AOA in kaart te brengen. Ga hierbij rechtsom.
Let tijdens de procedure op de kleurstatusvakken onderaan rechts op het scherm: Speed (snelheid), Accuracy (nauwkeurigheid) en Clearance (tussenruimte). Zijn deze geel of rood, dan rijdt de machine te snel, of de locatie van de machine is weinig nauwkeurig of ze detecteert een object in de buurt. Vertraag, breng de machine tot stilstand en wacht, of ga naar een andere locatie en probeer door te gaan met de procedure.
Groen betekent dat de machine zich binnen de ideale parameters bevindt om de fairway in kaart te brengen.
Geel betekent dat de machine de ingestelde grenswaarden van de parameters nadert.
Rood wijst erop dat de machine de grens mogelijk niet heeft geregistreerd, dat de locatie weinig nauwkeurig is of dat ze een object in de buurt detecteert.
Nadert u het begin van uw AOA-lijn, vertraag dan en selecteer Save (opslaan).
Selecteer Yes (ja) in het dialoogvenster.
Selecteer de knop Save (opslaan) om de grens te bewaren.
Vernieuw de map om de voltooide AOA te bekijken.
Zoek eventuele kaartfouten en corrigeer deze indien nodig.
Rij de machine naar een zone binnen de AOA waar u uw aaneengesloten maaigebied (CMA) wilt starten.
Note: Voor de beste prestaties moet de grens van de CMA zich minstens 5 meter van de grens van de AOA bevinden. Op die manier kan de machine efficiënt keren tijdens het autonome maaiwerk. In Verplichte criteria voor kaarten vindt u de minimale vereiste afstanden; als u deze gebruikt, zal de machine evenwel minder efficiënt omkeren en meer tijd nodig hebben om een opdracht uit te voeren.
Selecteer de rode knop rechts onderaan het scherm.
Selecteer CMA in het menu en vervolgens Perimeter (omtrek).
Gebruik de linkervoorhoek van de linker maai-eenheid als referentiepunt en rij met de machine in een rechte lijn om de omtrek van de CMA in kaart te brengen. Ga hierbij rechtsom.
Note: Let op de kleurstatusvakken onderaan rechts op het scherm: Speed (snelheid), Accuracy (nauwkeurigheid) en Clearance (tussenruimte). Zijn deze geel of rood, dan rijdt de machine te snel, of de locatie van de machine is weinig nauwkeurig of ze detecteert een object in de buurt. Vertraag, breng de machine tot stilstand en wacht, of ga naar een andere locatie en probeer door te gaan met de procedure.
Groen betekent dat de machine zich binnen de ideale parameters bevindt om de fairway in kaart te brengen.
Geel betekent dat de machine de ingestelde grenswaarden van de parameters nadert.
Rood wijst erop dat de machine de grens mogelijk niet heeft geregistreerd, dat de locatie weinig nauwkeurig is of dat ze een object in de buurt detecteert.
Nadert u het begin van uw CMA-lijn, vertraag dan en selecteer Save (opslaan).
Selecteer Yes (ja) in het dialoogvenster.
Selecteer de knop Save (opslaan) om de grens te bewaren.
Breng de D.O.P (speelrichting) van de fairway in kaart:
Rij de machine naar een startpunt om het even waar in de CMA.
Selecteer D.O.P en rij de maaier 5 meter in de speelrichting.
Selecteer Save (bewaren).
Breng de middellijn in kaart:
Rij de machine naar een punt aan een van de uiteinden van de fairway, op 1 meter van de grens van de CMA.
Selecteer Centerline (middellijn) en rij de machine langs het midden van de fairway.
Note: Zorg dat de middellijn aan weerszijden van de fairway 1 meter buiten de CMA uitkomt.
Is de machine voorbij het tegenoverliggende uiteinde van de CMA, selecteer dan Save (bewaren).
Om een zone te creëren die de machine mag inrijden maar niet maaien, selecteert u Hole (opening), rijdt u linksom rond de zone, en selecteert u Save (bewaren).
Selecteer nogmaals Save om uw CMA te bewaren.
Zoek eventuele kaartfouten en corrigeer deze indien nodig.
Selecteer de fout om extra informatie over de fout te zien alsook de locatie.
Important: Niet-werkgebieden dienen voor het in kaart brengen van grote objecten of obstructies in de AOA zoals bomen, bunkers, beregeningskasten, overhangende obstakels enz. Denk ook aan kleinere obstakels die de machine niet kan detecteren zoals kabels. Het is de verantwoordelijkheid van de supervisor om ervoor te zorgen dat alle objecten of obstructies in kaart zijn gebracht alvorens de machine te gebruiken in autonome modus. Neem de vereisten in Verplichte criteria voor kaarten in acht.U kunt NOA’s niet direct binnen een CMA tekenen; creëer eerst een opening binnenin de CMA voordat u de NOA in kaart brengt.
Om binnenin een CMA in een opening een zone te creëren die de machine nooit mag inrijden, rijdt u naar de opening, selecteert u NOA, rijdt u linksom rond de zone, en selecteert u Save (bewaren).
Om binnenin een AOA maar buiten de CMA een zone te creëren die de machine nooit mag inrijden, rijdt u naar de zone buiten de CMA, selecteert u NOA, rijdt u linksom rond de zone, en selecteert u Save (bewaren).
Important: Palen zijn NOA's met een kleine diameter (1 meter) die de machine verhinderen om door AOA-gebieden te rijden die een klein object bevatten, zoals masten, afvoerbuizen of beregeningskasten. U kunt een barrière maken van meerdere palen vlak bij elkaar.
In het menu MAP (kaart) selecteert u Pole (paal).
Zodra de linkervoorhoek van de linker maai-eenheid zich in de buurt van het obstakel bevindt dat u in kaart wilt brengen, selecteert u Point (punt) en vervolgens Save (bewaren).
Op de plaats van de paal verschijnt er een rode cirkel op uw kaart.
Doorgangpaden zijn paden die de maaier volgt om van het ene werkgebied naar het andere te rijden. De doorgangpaden moeten minstens 3,5 meter breed zijn.
Rij de machine naar een punt binnen een AOA waar u het doorgangpad wilt beginnen.
Note: Doorgangpaden kunnen om het even waar in een AOA beginnen, ook binnen een CMA. Voor de beste prestaties raden we evenwel aan om het pad te beginnen nabij de grens van de AOA
In het menu MAP (kaart) selecteert u Path (pad).
Bent u klaar om het doorgangpad in kaart te brengen, selecteer dan Path en rij precies de route die de machine tussen 2 AOA’s moet volgen.
Is de machine de andere AOA ingereden en bent u tevreden over het pad, selecteer dan Save (bewaren).
Op uw kaart verschijnt een oranje lijn waar het doorgangpad loopt.
Oppikpunten zijn zones in AOA's waar de bestuurder om het even wanneer tijdens het maaien de machine kan achterlaten/oppikken. AOA’s kunnen specifiek voor oppikpunten gecreëerd worden en via doorgangpaden verbonden met een fairway. Via de supervisor-app kan de bestuurder de machine te allen tijde opdragen terug te keren naar dit punt.
Rij de machine naar een punt binnen een AOA waar u een oppikpunt wilt creëren.
Selecteer Pickup Point (oppikpunt) en vervolgensSave (bewaren).
Het oppikpunt wordt aangemaakt op de locatie van de linkervoorhoek van de linker maai-eenheid.


Selecteer in het menu MAP (kaart) de knop Map Layers (kaartlagen).
U ziet nu de opties Summary (overzicht), Accuracy (nauwkeurigheid) en Object Detection (objectdetectie).
| Laag | Beschrijving |
| Summary (overzicht) | Werkgebieden, doorgangpaden, oppikpunten en palen weergeven. Ook belangrijke problemen met nauwkeurigheid en objectdetectie worden weergegeven. |
| Accuracy (nauwkeurigheid) | GNSS- en RTK-nauwkeurigheid voor de in kaart gebrachte gebieden weergeven. |
| Object Detection (objectdetectie) | Weergeven of de machine in de kaartgebieden objecten in de buurt heeft gedetecteerd. |
Selecteer de kaartlaag die u wilt zien.
Selecteer in het menu MAP (kaart) een punt in het CMA-gedeelte van een fairway om de Fairway te openen en de vensters Properties (eigenschappen) Centerline (middellijn) en Holes (openingen).
Verander in het venster Properties (eigenschappen) de naam van de fairway of de hoek van de speelrichting.
Selecteer Save (bewaren).
Gebruik de functie Smooth (vloeiend maken) om het aanzien van de middenstreep in een gekruist maaipatroon te verbeteren. Om de loop van de middellijn aan te passen, verwijdert u deze en maakt u er een nieuwe.
Selecteer in het venster Centerline (middellijn) Smooth (vloeiend maken) of Remove (verwijderen).
In het venster Fairway kunt u in kaart gebrachte elementen verwijderen door de prullenbak ernaast te selecteren.
Note: Zorg dat zo'n gebied opnieuw in kaart wordt gebracht en eventuele fouten gecorrigeerd voordat u een opdracht start.
In het venster Holes (openingen) kunt u in kaart gebrachte openingen bekijken en verwijderen.
Selecteer +Add (toevoegen) om een opening aan te maken.
Een opdracht is een reeks taken op de fairway. Wanneer de machine een opdracht voltooit, zal ze onmiddellijk starten met de volgende opdracht. Zijn er geen opdrachten meer, dan zal de machine naar de zijlijn van de laatste fairway rijden, tenzij de bestuurder opdracht geeft elders naartoe te rijden.
Verbind met de machine via de GeoLink Mow supervisor-app.
Selecteer in het hoofdscherm de knop MISSIONS (opdrachten).
Selecteer de knop + New mission (nieuwe opdracht).
Kies uit uw lijst met in kaart gebrachte CMA's de fairway(s) die u wilt maaien.
Note: Selecteer de fairways in de volgorde waarin u ze wilt maaien.
Note: Controleer of alle CMA's in de opdracht via AOA's of doorgangpaden met elkaar zijn verbonden.
Kies een maaipatroon in Favorites (favorieten) of maak een nieuw patroon aan in Custom (aangepast).
Voer het telefoonnummer van een supervisor in en selecteer de knop Save (bewaren).
Note: Zo kan de machine via een tekstbericht meldingen sturen als ze gestopt is en een manuele actie van de supervisor vereist.
Selecteer Save (bewaren).
Als de maaier tijdens deze stap niet in gebruik is, dan start hij met de opdracht.
Note: Hebt u een opdracht bewaard, dan verschijnt ze onder MISSIONS (opdrachten).
Selecteer de knop MISSIONS (opdrachten).
Selecteer New mission (nieuwe opdracht) en vervolgens Custom (aangepast) in het gedeelte genaamd Mowing Pattern Selection (selectie maaipatroon).
Er verschijnen drie patronen: Stripes (strepen), Tuxedo (gekruist) of Cleanup (onderhoudswerkgang).
De opties voor Stripes zijn:
| Optie | Definitie |
| Relative/Absolute (relatief/absoluut) | Of de machine de speelrichting of absolute graden gebruikt als referentiepunt |
| Richtingstype (-180 tot 180 of 0 tot 360) | Graden verschil met de hierboven gekozen optie. Bijvoorbeeld: als u ‘Relative’ hebt gekozen, kunt u 40 invoeren om de machine te laten maaien in een hoek van 40° (rechtsom) ten opzichte van de speelrichting Negatieve waarden doen de machine maaien in een richting linksom ten opzichte van de speelrichting.40° in absolute graden doet de machine maaien in een hoek van 40° ten opzichte van het noorden. |
| Line multiple (meerdere lijnen) | Bepaalt de breedte van de strepen. Dit kan tot 5 keer de breedte van de machine zijn |
| Inverted (omgekeerd) | Bepaalt de richting van de maaiwerkgangen |
| Cleanup (onderhoudswerkgang) | Schakel deze instelling in om de machine onderhoudswerkgangen te laten uitvoeren |
| Optimize turns (bochten optimaliseren) | Schakel deze instelling in om de machine aan het eind van een werkgang steeds een gelijke bocht te laten nemen |
De opties voor Tuxedo (gekruist) zijn:
| Optie | Definitie |
| Direction (richting) | Bepaalt of de maaier de fairway links- of rechtsom zal maaien |
| Cleanup (onderhoudswerkgang) | Schakel deze instelling in om de machine onderhoudswerkgangen te laten uitvoeren |
De optie voor Cleanup (onderhoudswerkgang) is:
| Optie | Definitie |
| Direction (richting) | Bepaalt of de maaier de onderhoudswerkgangen links- of rechtsom zal uitvoeren |
Voer het mobieletelefoonnummer van de supervisor in en selecteer Save om de opdracht te bewaren.
Voordat u de maaier in autonome modus gaat gebruiken, moet u controleren of het objectdetectiesysteem naar behoren werkt.
Steek het sleuteltje in het contact en draai het op de stand AAN.
Verbind met de machine via de GeoLink Mow supervisor-app.
Selecteer de knop DIAGNOSTICS (diagnostiek).
Vouw Object Detection (objectdetectie) uit.
Loop rond de machine en controleer of de cirkel voor
alle overeenstemmende sensoren in de lijst Object Detection (objectdetectie) rood
wordt op het scherm.
Zie Algemeen overzicht van de machine voor een volledig overzicht van alle sensoren.
Ga een eindje voor de machine staan; Radar
Field Far moet geel
worden.
Hebt u gecontroleerd of al de sensoren werken, ga
dan bij de machine vandaan; alle posities in de lijst Object
Detection moeten groen
worden.
| Kleur | Betekenis |
![]() | Geen verbinding met het apparaat. |
![]() | Het systeem verzendt geen data. |
![]() | Het systeem presteert goed of de machine detecteert geen obstakels in de buurt. |
![]() | Het systeem presteert slecht of de machine detecteert obstakels in de buurt maar kan wel werken. |
![]() | Het systeem verhindert dat de machine werkt; controleer het onderdeel waar de storing zich voordoet of verplaats de machine. |
Zet de parkeerrem vrij.
Zet de functiebedieningsschakelaar in MOW (maaistand).
Los eventuele actieve machinefouten op.
Sta op uit de bestuurdersstoel en ga achter de machine staan; zorg dat u niet in de maaigevaarzone staat.
Hou de modusschakelaar autonoom/manueel 2 seconden in AUTONOMOUS.
Wacht tot het statuslampje van de autonome modus ononderbroken groen brandt en de machine twee bieptonen maakt. Dit betekent dat de autonome modus actief is.
U kunt nu de machine bedienen via de supervisor-app.
Zorg dat alle sensoren naar behoren werken; raadpleeg Het objectdetectiesysteem controleren.
Verplaats de machine naar een AOA.
Schakel de autonome modus in; volg de stappen in Autonome modus inschakelen
Selecteer in het menu DASHBOARD van de supervisor-app de knop Go.
Important: Als u een opdracht voor het eerst uitvoert op een bepaalde fairway, hou de machine dan in de gaten en controleer of het de opdracht goed uitvoert voordat u zich aan andere taken wijdt.
Accepteer de overeenkomst in het pop-upvenster om de opdracht te beginnen.
Selecteer de knop MISSIONS (opdrachten). Alle aangemaakte opdrachten verschijnen op het scherm.
Actieve opdrachten hebben een zandloper en een overzicht van de gegevens over de opdracht.
Kies een van de opdrachten op de pagina. Er verschijnt extra info over de opdracht die u selecteerde.
| Weergegeven tekst | Betekenis |
| Mission # | Het nummer van de opdracht |
| State | Zie Dashboard—Opdrachtstatussen. |
| Start time | Wanneer de opdracht van start is gegaan |
| Finish time | De verwachte eindtijd van de opdracht |
| Mowed area | De totale oppervlakte die de machine tot nu heeft gemaaid |
| Distance covered | De afstand die de machine tot nu heeft afgelegd |
| Work time | Hoe lang de huidige opdracht al actief is |
| Progress | De voortgang van de opdracht in een percentage |
| Pattern | De naam van het patroon voor de huidige opdracht |
| Properties | De eigenschappen van het geselecteerde maaipatroon; zie Een aangepast maaipatroon creëren |
De sensoren op de machine detecteren obstakels en doen de machine automatisch vertragen of stoppen als ze geactiveerd worden. De machine houdt 3 zones in de gaten: de veiligheidszone, de gevarenzone en steile hellingen.

| Figuur 33 referentie | Afstand |
| A | 8 meter |
| B | 3 meter |
Als de machine een vast object detecteert in de veiligheidszone van de machine, dan begint ze te vertragen en de oranje lichten gaan sneller knipperen. Wanneer de machine het object genaderd is en dit zich net buiten een gevarenzone bevindt, dan gaat de machine stationair lopen, de aftakas wordt uitgeschakeld en na 1 minuut stuurt de machine een tekstbericht naar het mobiele apparaat van de supervisor. Heeft de supervisor het object verwijderd, dan kan die de opdracht via het mobiele apparaat op afstand laten doorgaan.
Als de machine plots een object detecteert binnen een gevarenzone, dan stopt ze onmiddellijk, de aftakas en motor worden uitgeschakeld, en de machine schakelt in de GEPARKEERDE modus, waarbij ze een bericht stuurt naar de supervisor. De supervisor moet het object verwijderen en de autonome modus handmatig uit- en opnieuw inschakelen om de opdracht voort te zetten.
Het detectiesysteem voor steile hellingen detecteert gevaarlijke en steile hellingen die de machine nadert. Als de machine onveilig terrein nadert, gaat ze onmiddellijk in GEPARKEERDE modus, waarbij de supervisor een bericht ontvangt. De supervisor moet de machine dan handmatig naar een veilig gebied rijden en de autonome modus uit- en opnieuw inschakelen om de opdracht voort te zetten.
Important: Het detectiesysteem voor steile hellingen zou nooit geactiveerd mogen worden als de supervisor obstructies goed in kaart heeft gebracht.Voer een testopdracht uit om na te gaan of er problemen zijn in verband met steile hellingen. Maak nieuwe AOA's, CMA's of NOA's aan zodat de machine deze zones met steile hellingen vermijdt.
De supervisor-app heeft een functie om kaartbestanden te exporteren en delen met verschillende machines in een park.
Important: Het wordt aanbevolen om één van uw machines te kiezen als de standaardmachine voor het in kaart brengen van het terrein. Deze wordt dan de enige machine in uw machinepark die nieuwe kaartgebieden aanmaakt of bestaande kaartgebieden wijzigt.Het is de verantwoordelijkheid van de supervisor om ervoor te zorgen dat het juiste kaartbestand op elk van de machines wordt geladen.
Steek het sleuteltje in het contact van de standaardmachine en draai het naar AAN. Wacht 2 minuten.
Verbind met de machine via de GeoLink Mow supervisor-app.
Klik in de bovenste menubalk op de knop HELP.
Selecteer de knop Export map database (kaartdatabase exporteren) om een kopie van het kaartbestand te maken en te downloaden.
Zo bewaart u een kopie van uw kaartbestand in de map ‘downloads’ van uw apparaat.
Importeer het kaartbestand naar andere machines in uw park:
U moet op elke niet-standaardmachine het sleuteltje in het contact steken en het naar AAN draaien.
Maak verbinding met elk van de machines via de GeoLink Mow supervisor-app.
Klik in de bovenste balk op de knop SETTINGS (instellingen).
Schakel Lock map (kaart vergrendelen) uit.
Klik in de bovenste menubalk op de knop HELP.
Selecteer de knop Delete ALL map data (ALLE kaartgegevens verwijderen).
Note: Voordat u de knop selecteert, moet u zeker zijn dat er geen actieve opdrachten zijn.
Selecteer de knop Choose File (bestand kiezen) en open het bestand dat u eerder op uw apparaat hebt gedownload.
Selecteer de knop Import map database (kaartdatabase importeren).
Zet in het menu SETTINGS (instellingen) Lock map (kaart vergrendelen) aan.
Herhaal deze stappen voor al de andere machines in het park.
Als het systeem voor autonome besturing niet beschikbaar is of niet goed werkt, moet u het systeem mogelijk omzeilen om de machine handmatig te besturen.
Verwijder de rechterkap van het elektrische systeem (zie De zekeringen vinden voor het 12V systeem).
Zoek de connector op de hoofdkabelboom van de machine en breng de kringloopstekker aan.

Voordat u greens gaat maaien, moet u een open ruimte zoeken om de basisbediening van de machine onder de knie te krijgen (bv. de machine starten en stoppen, de maai-eenheden omhoog en omlaag brengen en bochten nemen).
Controleer of er vuil op de greens ligt, verwijder alles dat de maai-eenheden tijdens het maaien kan beschadigen, verwijder de vlag van de cup en bepaal in welke richting u het beste kunt maaien. Ga hierbij uit van de voorgaande maairichting. Maai altijd in een ander maaipatroon dan de vorige maaibeurt zodat de grassprieten minder snel plat gaan liggen en dus meer kans maken om te worden gemaaid.
Begin aan 1 rand van de green zodat u kunt maaien in banen.
Note: Dit beperkt de verdichting tot een minimum en zorgt voor een verzorgd en aantrekkelijk maaipatroon op de greens.
Zet de functiebedieningsschakelaar in de stand MAAIEN.
Druk de bedieningshendel van de hefinrichting naar voren op het moment dat de voorste randen van de maai-eenheden over de buitenrand van de green komen.
Note: Hiermee laat u de maai-eenheden neer op de grasmat en start u de messenkooien.
Important: De middelste maai-eenheid komt iets later omhoog en omlaag dan de voorste maai-eenheden; daarom moet u zich de timing eigen maken die nodig is om het maaien van overgebleven gras tot een minimum te beperken en om het scalperen van de boord tegen te gaan.Het omhoog- en omlaagbrengen van de middelste maai-eenheid is gebaseerd op de rijsnelheid. Een lagere rijsnelheid vergroot de vertraging van het omhoog- of omlaagbrengen, terwijl een hogere rijsnelheid de vertraging vermindert. De machine controleert de rijsnelheid en werkt deze vertraging bij zodat de 3 maai-eenheden in één lijn worden omlaaggebracht.
Zorg ervoor dat een nieuwe maaibaan de vorige maaibaan zo weinig mogelijk overlapt.
Note: Om ervoor te zorgen dat u de green in een rechte lijn maait en de machine op een gelijke afstand van de rand van de vorige maaibaan blijft, moet u uitgaan van een denkbeeldige zichtlijn, ongeveer 1,8 tot 3 m vóór de machine tot de rand van het ongemaaide deel van de green (Figuur 36). Laat de buitenrand van het stuurwiel deel uitmaken van de zichtlijn; d.w.z. houd de rand van het stuurwiel in een rechte lijn ten opzichte van een punt dat altijd op dezelfde afstand van de voorkant van de machine blijft.
Als de voorste randen van de grasmanden over de rand van de green komen, moet u de joystick voor omhoog-/omlaagbrengen naar achteren houden tot alle maai-eenheden opgetild zijn. Hiermee brengt u de messenkooien tot stilstand en brengt u de maai-eenheden omhoog.
Important: Doe deze stap op het juiste moment zodat u de boord niet maait maar wel zo veel mogelijk gazon maait. Zo moet u later minder gras rond de buitenste rand maaien.
U kunt de werktijd bekorten en de machine eenvoudiger voor de volgende maaibaan opstellen door de machine een ogenblik in de tegenovergestelde richting te draaien en daarna in de richting van het ongemaaide deel. Met zo'n druppelvormige bocht (Figuur 35) kunt u de machine snel in positie brengen voor uw volgende maaibaan.
Note: Als de functie Vertragen in bochten ingeschakeld is, vertraagt de machine tijdens de bocht zonder dat u minder druk moet uitoefenen op het tractiepedaal.

Note: Probeer zo kort mogelijk te draaien, behalve bij warmer weer. Dan minimaliseert een bredere bocht de beschadiging van het gazon.

Important: U mag de machine nooit tot stilstand brengen op een green, vooral niet terwijl de maai-eenheden ingeschakeld zijn omdat hierdoor het gras kan worden beschadigd. Laat de machine ook niet stoppen op een green omdat de wielen van de machine dan sporen of afdrukken kunnen achterlaten.
Maak het werk af door de buitenste rand van de green te maaien. Maai in een andere richting dan de voorgaande keer.
Zie De buitenste rand maaien en het werk voltooien om het maairesultaat te verbeteren en ‘triplex ring’ tegen te gaan.
Note: Let altijd op het weer en de gazonomstandigheden en zorg ervoor dat u in een andere richting maait dan de voorgaande keer.
Als u klaar bent met het maaien van de buitenste rand, moet u de joystick voor omhoog-/omlaagbrengen naar achteren zetten om de messenkooien te stoppen (als de functie tap-offvertraging is ingeschakeld) en dan van de green rijden. Wanneer alle maai-eenheden van de green zijn, zet u de joystick voor omhoog-/omlaagbrengen naar achteren om de maai-eenheden omhoog te brengen.
Note: Zo worden graskluiten op de green tot een minimum beperkt.
Plaats de vlag terug.
| Onderhoudsinterval | Onderhoudsprocedure |
|---|---|
| Bij elk gebruik of dagelijks |
|
Reinig de machine na het maaien grondig met een tuinslang zonder spuitmond zodat bij een te hoge waterdruk de afdichtingen, lagers en elektronica niet worden beschadigd of verontreinigd raken. Was een hete motor of elektrische aansluitingen niet met water.
Important: Gebruik geen brak of teruggewonnen water om de machine schoon te maken.
Important: Gebruik nooit een hogedrukreiniger om de machine schoon te maken. Hogedrukreinigers kunnen het elektrische systeem beschadigen, belangrijke stickers losweken en noodzakelijk vet op wrijvingspunten wegspoelen. Er kan water terechtkomen onder afdichtingen, waardoor behuizingen die olie of smeer bevatten verontreinigd kunnen raken. Gebruik niet te veel water in de buurt van het bedieningspaneel, de motor en de accu.
Important: Reinig de machine niet terwijl de motor loopt. De machine reinigen terwijl de motor loopt kan interne motorschade veroorzaken.
Important: Zorg ervoor dat er geen water in de geluidsdemper terechtkomt. Water in de geluidsdemper kan leiden tot interne schade aan de motor of verminderde prestaties van de motor.
Controleer of de maai-eenheden scherp genoeg zijn nadat u de machine hebt gereinigd.
Wees voorzichtig als u de machine inlaadt op een aanhanger of een vrachtwagen of uitlaadt.
Gebruik een oprijplaat van volledige breedte bij het laden van de machine op een aanhanger of vrachtwagen.
Zet de machine goed vast met spanbanden, kettingen, kabels of touwen. Zowel de voorste als de achterste spanband moet naar beneden en naar de buitenkant van de machine lopen (Figuur 37).

Sluit de brandstofafsluitklep nadat de machine is bevestigd voor transport.
Note: Raadpleeg Figuur 38 voor deze procedure.

Om de machine te slepen, moet u de volgende procedure uitvoeren om de remactuator vrij te zetten:
Stel de parkeerrem in werking.
Verwijder het sleuteltje en koppel de hoofdstroomaansluitingen los.
Important: Als de hoofdstroomaansluitingen aangesloten zijn terwijl de machine wordt gesleept, kan dit elektrische schade veroorzaken.
Sluit de brandstofklep.
Blokkeer beide zijden van de voorwielen.
Verwijder spanning op de veer door de moer los te draaien waarmee de oogbout is bevestigd aan de veerbeugel.
Verwijder de veer.
Steek een momentsleutel (⅜") door de opening van de armbeugel en duw de actuatoras naar binnen.
Wanneer de actuator van de rem wordt gehaald, kan de machine in vrijloop staan. Een machine in vrijloop kan ernstig letsel veroorzaken aan omstanders.
Als de machine niet wordt gesleept, moet u de parkeerrem in werking stellen.
Stel de parkeerrem in werking.
Verwijder de blokken onder de wielen.
Als de set met driewielaandrijving is gemonteerd, moet u de aansluitingen van de kabelboom van de set loskoppelen van de hoofdkabelboom.
Important: Als de kabelboom van de set en de machinekabelboom aangesloten zijn terwijl de machine wordt gesleept, kan dit elektrische schade tot gevolg hebben.
Wanneer de machine klaar is om te worden gesleept, schakelt u de parkeerrem uit.
Laat iemand anders in de stoel zitten, de veiligheidsgordel bevestigen en de rem gebruiken terwijl u de machine sleept.
Note: Dit zorgt ervoor dat de machine onder controle is wanneer u de machine sleept over glooiend terrein en hellingen.
Gebruik de achterste zwenkwielvork om de machine te slepen (Figuur 39).
Important: Ga niet sneller dan 5 km/u terwijl u de machine sleept. Elektrische onderdelen kunnen worden beschadigd.

Voer de volgende stappen uit nadat u de machine hebt gesleept naar uw bestemming:
Stel de parkeerrem in werking.
Verwijder de sleepband van de zwenkwielvork.
Maak de machine klaar voor gebruik door de moer van de oogbout vast te draaien zodat de veerlengte 11,4 cm is wanneer deze gemonteerd is (Figuur 38).
U kunt met de machine rijden door het vermogen van de accu van de machine te gebruiken. Deze functie kan worden gebruikt voor de volgende scenario's:
De machine naar de werkplaats rijden.
De machine van de green rijden als de motor afslaat.
De machine kan enkel worden getransporteerd; u kunt de maai-eenheden niet inschakelen. Deze functie kunt u gedurende 1 minuut gebruiken, en u kunt het contactsleuteltje op aan en uit draaien om de minuut transporttijd te resetten.
Ga op de bestuurdersstoel zitten en bevestig uw veiligheidsgordel.
Zet het contactsleuteltje op AAN.
Zet de functiebedieningsschakelaar naar de stand MAAIEN of TRANSPORT.
Zet de parkeerrem vrij.
Gebruik het tractiepedaal om de machine te transporteren.
Note: De rijsnelheid vooruit is beperkt tot 4,8 km/u en de rijsnelheid achteruit tot 4 km/u.
Important: Overmatig of langdurig gebruik van deze functie kan de levensduur van de accu's verminderen.
| Onderhoudsinterval | Onderhoudsprocedure |
|---|---|
| Na de eerste 8 bedrijfsuren |
|
| Na de eerste 50 bedrijfsuren |
|
| Bij elk gebruik of dagelijks |
|
| Om de 25 bedrijfsuren |
|
| Om de 50 bedrijfsuren |
|
| Om de 100 bedrijfsuren |
|
| Om de 200 bedrijfsuren |
|
| Om de 800 bedrijfsuren |
|
| Om de 1000 bedrijfsuren |
|
| Om de 2 jaar |
|
Gelieve deze pagina te kopiëren ten behoeve van gebruik bij routinecontroles.
| Gecontroleerd item | Voor week van: | ||||||
|---|---|---|---|---|---|---|---|
| Ma. | Di. | Wo. | Do. | Vr. | Za. | Zo. | |
| Werking van interlockschakelaars controleren. | |||||||
| Werking van instrumenten controleren. | |||||||
| Werking van de remmen controleren. | |||||||
| Motoroliepeil controleren. | |||||||
| Brandstofpeil controleren. | |||||||
| Reinig de luchtkoelvinnen van de motor. | |||||||
| Controleer het voorfilter. | |||||||
| Controleren of motor ongewone geluiden maakt. | |||||||
| De bandenspanning controleren. | |||||||
| Afstelling van contact tussen ondermes en messenkooi controleren. | |||||||
| Maaihoogte-instelling controleren. | |||||||
| Beschadigde lak bijwerken. | |||||||
| De sensoren en sensorbeugels controleren | |||||||
| Was de machine. | |||||||
| Aantekening voor speciale aandachtsgebieden | ||
| Controle uitgevoerd door: | ||
| Item | Datum | Informatie |
Een mechanische of hydraulische krik kan een machine niet altijd dragen. Als de machine dan valt, kan dit ernstig letsel veroorzaken.
Ondersteun de opgekrikte machine met assteunen.
Gebruik enkel mechanische of hydraulische assteunen om de machine op te krikken.
Plaats een assteun onder het gewenste opkrikpunt (Figuur 40):
Voettrede aan de linkerkant van de machine
Assteunbeugel aan de rechterkant van de machine
Zwenkwielvork aan de achterkant van de machine

Wanneer u de machine opgekrikt hebt, plaatst u een geschikte assteun onder de volgende zones om de machine te ondersteunen (Figuur 41):
Accubakken aan de achterkant van de machine
Draaibeugels van de maai-eenheid aan de voorkant van de machine

| Onderhoudsinterval | Onderhoudsprocedure |
|---|---|
| Om de 25 bedrijfsuren |
|
| Om de 100 bedrijfsuren |
|
| Om de 200 bedrijfsuren |
|
Controleer beide elementen en vervang ze indien ze schade hebben opgelopen of buitengewoon vuil zijn.
Important: Geen olie op het schuimelement smeren.
Plaats de machine op een horizontaal vlak, laat de maai-eenheden neer en stel de parkeerrem in werking.
Zet de motor af en verwijder het sleuteltje.
Maak de omgeving van het luchtfilter schoon om te voorkomen dat vuil in de motor komt en schade veroorzaakt (Figuur 43).
Maak de dekselknoppen los en verwijder het luchtfilterdeksel (Figuur 43).
Maak de slangklem los en verwijder het luchtfilter (Figuur 43).
Trek het schuimelement voorzichtig van het papierelement af (Figuur 43).

Was het schuimfilter in warm water met vloeibare zeep. Als het element schoon is, moet u het grondig uitspoelen.
Schuimfilter in een schone doek wikkelen en droogknijpen.
Important: Wring het schuimelement niet uit, want het kan scheuren.Vervang het schuimelement als het gescheurd of versleten is.
Reinig het papierelement door er voorzichtig op te kloppen en het stof te verwijderen. Als het papierelement zeer vuil is, vervang het dan (Figuur 43).
Controleer het filter op scheuren, een vettig oppervlak of beschadiging van de rubberen afdichting.
Vervang het papierelement als het is beschadigd.
Important: U mag het papierfilter niet reinigen.
Important: Motor nooit laten lopen zonder dat het complete luchtfilter gemonteerd is, daar anders de motor kan worden beschadigd.
Het carter van de motor is in de fabriek gevuld met olie; u moet het oliepeil echter controleren voor- en nadat u de motor voor de eerste keer start.
API olieclassificatie: SJ of hoger
Olieviscositeit: SAE 30
Note: Gebruik een hoogwaardige reinigingsolie.
| Onderhoudsinterval | Onderhoudsprocedure |
|---|---|
| Bij elk gebruik of dagelijks |
|
Motoren kunnen extreem heet worden tijdens normaal gebruik.
Laat de motor afkoelen voordat u de olie controleert of onderhoudswerkzaamheden aan de motor uitvoert.
Raadpleeg Figuur 44 voor deze procedure.
Plaats de machine op een horizontaal oppervlak, laat de maai-eenheden zakken, stel de parkeerrem in werking, zet de motor af en verwijder het sleuteltje.
Schroef de peilstok los, neem hem eruit en veeg hem af met een schone doek.
Steek de peilstok in de peilstokbuis.
Haal de peilstok uit de buis en controleer het oliepeil.
Als het oliepeil te laag is, vul dan olie bij langs de peilstokbuis in de motor tot de olie de VOL-markering op de peilstok bereikt.
Vul de olie langzaam bij en controleer daarbij veelvuldig het peil.
Important: Giet niet te veel olie in de motor.
Plaats de peilstok.


| Onderhoudsinterval | Onderhoudsprocedure |
|---|---|
| Na de eerste 8 bedrijfsuren |
|
| Om de 100 bedrijfsuren |
|
Motoren kunnen extreem heet worden tijdens normaal gebruik.
Laat de motor afkoelen voordat u de olie ververst of het oliefilter vervangt of onderhoudswerkzaamheden aan de motor uitvoert.
Hoeveelheid olie in de motor: 1,7 liter met filter
Verwijder de aftapplug (Figuur 45) en laat de olie in een opvangbak lopen.

Maak de schroefdraad van de aftapplug schoon en monteer de aftapplug (Figuur 45).
Verwijder het oliefilter (Figuur 46).


Smeer een dun laagje schone olie op de pakking van het filter.
Draai het filter met de hand vast totdat de pakking contact maakt met het filtertussenstuk. Draai het filter vervolgens nog eens een ¾ tot 1 slag. Niet te vast draaien.
Vul het carter met olie; zie Motoroliepeil controleren..
U moet het oliefilter en de gebruikte olie op de juiste wijze afvoeren.
| Onderhoudsinterval | Onderhoudsprocedure |
|---|---|
| Om de 100 bedrijfsuren |
|
Motoren kunnen extreem heet worden tijdens normaal gebruik.
Laat de motor afkoelen voordat u onderhoud uitvoert aan de bougie of onderhoudswerkzaamheden aan de motor uitvoert.
Controleer of de elektrodenafstand tussen de centrale elektrode- en de massa-elektrode correct is voordat u de bougie monteert. Gebruik een bougiesleutel voor het (de)monteren van de bougie(s) en een voelermaat voor het meten en afstellen van de elektrodenafstand. Monteer indien nodig nieuwe bougies.
Type bougie: NGK® BPR4ES of gelijkwaardig
Elektrodenafstand: 0,75 mm
Plaats de machine op een horizontaal vlak, laat de maai-eenheden neer en stel de parkeerrem in werking.
Zet de motor af en verwijder het sleuteltje.
Zoek de doppen van de bougies.
Maak de omgeving van de doppen van de bougies schoon zodat er geen vuil in de cilinder kan terechtkomen.
Maak de doppen van de bougies los van de bougies (Figuur 47).

Verwijder de bougies van de motor.
Important: Verwijder een bougie altijd als deze een zwarte laag heeft, als de elektroden versleten zijn, als er een vettige laag op ligt of als de bougie scheuren vertoont.
Reinig de bougie met een staalborstel om koolstofaanslag te verwijderen.
Gebruik caburateurreiniger om de bougie schoon te maken en zorg ervoor dat al het vuil is verwijderd.
Controleer de bougies op scheuren, versleten elektrodes, een zwarte laag, een vettige laag of andere slijtage of beschadiging.
Vervang de bougie indien nodig. Vervang alle bougies als er slechts één moet worden vervangen.
Meet de elektrodenafstand en stel deze opnieuw in indien nodig. Om de afstand te veranderen, mag u enkel de massa-elektrode verbuigen met bougiegereedschap.
Stel de afstand in op 0,75 mm.

Als de isolator lichtbruin of grijs is, werkt de motor naar behoren. Een zwarte laag op de isolator duidt meestal op een vuil luchtfilter.
Raadpleeg Figuur 49 voor deze procedure.
Monteer de bougie op de motor.
Draai de bougie aan met 22 N∙m.
Sluit de doppen van de bougies terug aan.

| Onderhoudsinterval | Onderhoudsprocedure |
|---|---|
| Om de 1000 bedrijfsuren |
|
Het brandstofleidingfilter bevindt zich tussen de brandstofafsluitklep en de motor.
In bepaalde omstandigheden is brandstof uiterst ontvlambaar en zeer explosief. Brand of explosie van brandstof kan brandwonden bij u of anderen en materiële schade veroorzaken.
Tap de brandstof af uit de brandstoftank wanneer de motor koud is. Doe dit buiten op een open terrein. Eventueel gemorste brandstof opnemen.
Rook nooit als u brandstof aftapt en blijf uit de buurt van open vuur of als de kans bestaat dat benzinedampen door een vonk kunnen ontbranden.
Sluit de brandstofklep (Figuur 50).

Zet een opvangbak onder het filter, maak de slangklem op het filter aan de kant van de carburateur los en verwijder de brandstofslang van het filter (Figuur 50).
Zet de andere slangklem los en verwijder het filter.
Controleer de brandstofleidingen op barsten, slijtage of schade en vervang deze indien nodig.
Monteer het nieuwe filter. Let erop dat de pijl op de filterbehuizing van de brandstoftank af wijst.
Zorg ervoor dat de slangen en slangklemmen stevig vastzitten op het filter.
Open de brandstofafsluitklep en vul de tank. Inspecteer de brandstofleidingen op lekken of loszittende verbindingen.
| Onderhoudsinterval | Onderhoudsprocedure |
|---|---|
| Om de 2 jaar |
|
Inspecteer de brandstofleidingen op slijtage, beschadigingen of loszittende verbindingen.
De hoofdstroomaansluitingen leveren stroom van de accu's naar de machine. Onderbreek de stroomtoevoer door de aansluitingen los te koppelen; voorzie de machine van stroom door de aansluitingen aaneen te koppelen. Zie Hoofdstroomaansluitingen.
Als de accukabels verkeerd worden verbonden, kan dit schade aan de machine en de kabels tot gevolg hebben en vonken veroorzaken. Hierdoor kunnen accugassen tot ontploffing komen en lichamelijk letsel veroorzaken.
Maak altijd de minkabel (zwart) van de accu los voordat u de pluskabel (rood) losmaakt.
Sluit altijd de pluskabel (rood) van de accu aan voordat u de minkabel (zwart) aansluit.
De 12V AGM (absorbed glass mat of geabsorbeerde glasmat) accu Figuur 51 voorziet het InfoCenter, de remactuator, de machinecontroller en de CAN-isolatiemodule van stroom.

Verwijder de rechterkap.
Verwijder het accudeksel.
Koppel de accukabels los van de accu's.
Sluit de acculader aan op de accupolen en laad de accu op.
Hou rekening met de volgende informatie over uw acculader:
Zorg ervoor dat de aansluitingen van de acculader elkaar of het machineframe niet raken. Het is aan bevolen om kleinere aansluitingen te gebruiken.
Gebruik bij voorkeur een acculader met een AGM-laadinstelling.
Maximale laadstroom: 2,4 A
Maximale laadspanning: 14,3 V
Sluit de accukabels aan op de accu wanneer de accu opgeladen is.
Plaats het accudeksel over de accu.
Plaats de rechterkap.
Important: Het is niet aanbevolen om het 48V accusysteem op te laden.
Het 48 V accusysteem bestaat uit 4 accu’s (12V, AGM [absorbed glass mat of geabsorbeerde glasmat]). De accu’s bevinden zich onder deksels aan elke kant van de machine; zie Figuur 52. Het systeem levert stroom aan de tractiewielen, de motoren van de maai-eenheden, de stuurmotor en de hefactuatoren.

De zekeringen van het 48 V elektrische systeem bevinden zich onder de bestuurdersstoel (Figuur 53).

De zekeringen van het circuit voor de messenkooiaandrijving bevinden zich onder de kap aan de linkerzijde van de machine. Verkrijg toegang tot de zekeringhouder door de linkerkap en het deksel van de zekeringhouder te verwijderen (Figuur 56).

Zie Figuur 57 voor een beschrijving van de zekeringen op de sticker van de zekeringhouder:

De zekeringen voor de generator (100 A) en de rechter wielmotor (60 A) bevinden zich onder de stoel (Figuur 58).

De zekering voor de linker wielmotor (60 A) bevindt zich onder de kap aan de linkerkant van de machine, dicht bij de zekeringen van het circuit voor de messenkooiaandrijving (Figuur 59).

De zekering voor het elektrische systeem bevindt zich onder de hoofdstroomaansluitingen (Figuur 60).

| Onderhoudsinterval | Onderhoudsprocedure |
|---|---|
| Bij elk gebruik of dagelijks |
|
Afhankelijk van de gazonomstandigheden moeten alle drie de wielen een spanning van minimaal 0,83 tot maximaal 1,10 bar hebben.
Important: Zorg ervoor dat de bandenspanning van alle banden gelijk is. Als de bandenspanning niet overal identiek is, heeft dat een nadelige invloed op de prestaties van de machine.
| Onderhoudsinterval | Onderhoudsprocedure |
|---|---|
| Na de eerste 8 bedrijfsuren |
|
| Om de 200 bedrijfsuren |
|
Als de wielmoeren niet steeds de juiste torsie hebben, kan dit leiden tot lichamelijk letsel.
Haal de wielmoeren volgens de aanbevolen onderhoudsintervallen aan met de aanbevolen torsie.
Aantrekkoppel van de wielmoeren: 108 tot 122 N·m
Om een gelijke verdeling te verkrijgen, dient u de wielmoeren aan te halen in het patroon getoond in Figuur 63.

| Onderhoudsinterval | Onderhoudsprocedure |
|---|---|
| Na de eerste 8 bedrijfsuren |
|
| Om de 800 bedrijfsuren |
|
Vloeistofspecificatie: SAE 80W90
Hoeveelheid olie tandwielkast: ongeveer 384 ml
Krik de machine op; zie De machine opkrikken.
Important: De machine moet horizontaal staan zodat de juiste hoeveelheid vloeistof kan worden toegevoegd aan de tandwielkast.Zorg ervoor dat de machine horizontaal staat op de assteunen.
Voer de volgende stappen uit om de linker- en rechterbanden te verwijderen:
Maak de wielmoeren los en verwijder ze (Figuur 64).

Verwijder de linker- en rechterbanden.
Plaats een opvangbak onder de wielmotor (Figuur 65).

Haal de plug uit de aftapopening (Figuur 65).
Note: De aftapopening bevindt zich aan de onderkant van de tandwielkast.
Note: Laat al de olie uit de tandwielkast lopen.
Maak de plug schoon.
Monteer de aftapplug in de aftapopening (Figuur 65).
Verwijder de ontluchtingsslang en fitting van de bovenkant van de tandwielkast (Figuur 66).

Vul de tandwielkast langs de vulopening met 384 ml van de aanbevolen vloeistof.
Monteer de ontluchtingsslang en fitting in de vulopening (Figuur 66).
Voer de volgende stappen uit om de banden te plaatsen:
Schuif de linker- en rechterbanden op de wielnaven.
Monteer de wielmoeren (Figuur 64).
Draai de wielmoeren vast met de in Torsie van wielmoeren controlerengespecificeerde torsie.
Als de rem de machine niet kan houden als deze geparkeerd staat, kunt u de remmen afstellen; neem contact op met een erkende Toro distributeur of raadpleeg de Onderhoudshandleiding voor meer informatie.
Versleten of beschadigde messen of ondermessen kunnen breken en een stuk ervan kan naar u of naar omstanders worden uitgeworpen en zo ernstig lichamelijk of dodelijk letsel toebrengen.
Controleer op gezette tijden de maaimessen en ondermessen op overmatige slijtage en beschadigingen.
Wees voorzichtig als u de messen controleert. Draag handschoenen en wees voorzichtig als u onderhoudswerkzaamheden uitvoert aan de messenkooien. De maaimessen en ondermessen mogen alleen worden vervangen of gewet; probeer ze nooit te rechten of eraan te lassen.
Let op bij machines met meerdere maai-eenheden: als u één maai-eenheid draait, kunnen de messenkooien in de andere maai-eenheden ook in beweging komen.
Note: Wanneer de maai-eenheden niet aan de machine zijn bevestigd, moet u de motoren van de messenkooien van de maai-eenheid in de opbergruimte op de voorkant van de ophangarmen plaatsen om beschadiging te voorkomen.
Important: Breng de ophanging niet omhoog in de transportstand als de messenkooimotoren zich in de houders in het frame van de machine bevinden. Dit kan schade aan de motoren of slangen tot gevolg hebben.
Important: Als u de maai-eenheid moet kantelen, ondersteun de achterkant van de maai-eenheid dan om te verzekeren dat de moeren van de instelschroeven van de snijbalk niet op het werkvlak rusten (Figuur 67).

Als u een hete motor of geluidsdemper aanraakt, kan dit ernstige brandwonden veroorzaken.
Wacht totdat de hete motor of geluidsdemper is afgekoeld voordat u de maai-eenheden monteert.
De ophanging moet omlaag worden gebracht om de maai-eenheden te kunnen monteren. Voer de volgende stappen uit om de ophanging omlaag te brengen:
Parkeer de machine op een schoon, horizontaal oppervlak.
Zet de functiebedieningsschakelaar naar de NEUTRAALSTAND.
Start de motor of draai het sleuteltje naar de stand AAN.
Breng de ophanging omlaag met de joystick voor omhoog-/omlaagbrengen.
Stel de parkeerrem in werking, zet de motor af en verwijder het sleuteltje.
Voer de volgende stappen uit om de maai-eenheden te monteren:
Koppel de hoofdstroomaansluitingen los; zie Hoofdstroomaansluitingen.
Als u de voeding naar de machine niet onderbreekt, bestaat de kans dat iemand de maai-eenheden per ongeluk start. Hierdoor kan ernstig letsel aan handen en voeten ontstaan.
Koppel altijd de hoofdstroomaansluitingen los voordat u werkzaamheden aan de maai-eenheden gaat uitvoeren.
Plaats de maai-eenheid onder de middelste ophangarm.
Open de vergrendelingen op de stang van de ophangarm (Figuur 68) en duw de ophangarm naar beneden zodat de stang over beide bevestigingsarmen op de maai-eenheid past en zorg ervoor dat de vergrendelingen onder de dwarsstang van de maai-eenheid gaan (Figuur 69).


Sluit de vergrendelingen rond de stang van de maai-eenheid en vergrendel ze (Figuur 68).
Note: U zult een klik horen en voelen wanneer de vergrendelingen goed gesloten zijn.
Smeer schoon vet op de sleufas van de motor van de maai-eenheid (Figuur 70).
Steek de motor in de linkerkant van de maai-eenheid (gezien vanuit de bestuurdersstoel) en trek de motorbevestigingsstang op de maai-eenheid in de richting van de motor totdat u aan beide kanten een klik hoort (Figuur 70).

Herhaal deze procedure bij de andere maai-eenheden.
Sluit de hoofdstroomaansluitingen aan; zie Hoofdstroomaansluitingen.
Als u een hete motor of geluidsdemper aanraakt, kan dit ernstige brandwonden veroorzaken.
Wacht totdat de hete motor of geluidsdemper is afgekoeld voordat u de maai-eenheden monteert.
Parkeer de machine op een schoon, horizontaal oppervlak, zet de functiebedieningsschakelaar naar de NEUTRAALSTAND en gebruik de joystick voor omhoog-/omlaagbrengen om de maai-eenheden omlaag te brengen.
Stel de parkeerrem in werking, zet de motor af en verwijder het sleuteltje.
Koppel de hoofdstroomaansluitingen los; zie Hoofdstroomaansluitingen.
Als u de voeding naar de machine niet onderbreekt, bestaat de kans dat iemand de maai-eenheden per ongeluk start. Hierdoor kan ernstig letsel aan handen en voeten ontstaan.
Koppel altijd de hoofdstroomaansluitingen los voordat u werkzaamheden aan de maai-eenheden gaat uitvoeren.
Duw de motorbevestigingsstang uit de sleuven op de motor in de richting van de maai-eenheid en verwijder de motor uit de maai-eenheid.

Zet de motor in de opbergruimte op de voorkant van de ophangarm (Figuur 72).

Note: Als u de maaimessen slijpt, de maaihoogte instelt of onderhoudswerkzaamheden aan een maai-eenheid verricht, moet u de motoren van de messenkooien van de maai-eenheid in de opbergruimte op de voorkant van de ophangarmen plaatsen om beschadiging te voorkomen.
Important: Breng de ophanging niet omhoog in de transportstand als de messenkooimotoren zich in de houders in het frame van de machine bevinden. Dit kan schade aan de motoren of slangen tot gevolg hebben. Als u de tractie-eenheid moet verplaatsen terwijl de maai-eenheden niet gemonteerd zijn, bevestig deze dan met kabelklembanden aan de ophangarmen.
Open de vergrendelingen op de stang van de ophangarm van de maai-eenheid dat u wilt verwijderen (Figuur 68).
Maak de vergrendelingen van de stang van de maai-eenheid los.
Rol de maai-eenheid onder de ophangarm vandaan.
Herhaal indien nodig stap 4 tot en met 8 voor de andere maai-eenheden.
Sluit de hoofdstroomaansluitingen aan; zie Hoofdstroomaansluitingen.
| Onderhoudsinterval | Onderhoudsprocedure |
|---|---|
| Bij elk gebruik of dagelijks |
|
Elke dag voordat u gaat maaien moet u het contact tussen het ondermes en de messenkooi controleren, ongeacht of de maaikwaliteit bij een eerdere maaibeurt aanvaardbaar was. Er moet een licht contact zijn over de volledige lengte van de messenkooi en het ondermes; zie de Gebruikershandleiding van de maai-eenheid.
Koppel de hoofdstroomaansluitingen los voordat u de messenkooien controleert; zie Hoofdstroomaansluitingen. Sluit deze weer aan nadat u klaar bent met de werkzaamheden.
Contact met de ondermessen, de messen van de messenkooi of andere bewegende onderdelen kan lichamelijk letsel veroorzaken.
Houd vingers, handen en kleding uit de buurt van de ondermessen, messen van de messenkooi of andere bewegende onderdelen.
Probeer de messenkooien nooit met uw handen of voeten te draaien of aan te raken terwijl de motor draait.
Parkeer de machine op een horizontaal oppervlak, laat de maai-eenheden neer, zet de functiebedieningsschakelaar naar de NEUTRAALSTAND, stel de parkeerrem in werking, zet de motor af en verwijder het sleuteltje.
Doe de aanvankelijke instelling van het ondermes en messenkooi voor het wetten op alle maai-eenheden die moeten worden gewet. Zie de Gebruikershandleiding van de maai-eenheid.
Steek het sleuteltje in het contact en start de motor.
Met het InfoCenter, in het menu ONDERHOUD, kiest u WETTEN.
Zet WETTEN op AAN.
Ga naar het Hoofdmenu en dan naar beneden tot Instellingen.
IN HET MENU INSTELLINGEN gaat u naar beneden tot WETTEN-TOERENTAL en kiest u het toerental voor het wetten met de ± knop.
Zet de functiebedieningsschakelaar in de NEUTRAALSTAND en zet dan de joystick voor omhoog-/omlaagbrengen naar voren om het wetten van de gekozen messenkooien te beginnen.
Breng de wetpasta aan met een borstel met een lange steel. Gebruik nooit een borstel met een korte steel.
Als de messenkooien vast komen te zitten of onregelmatig worden tijdens het wetten, verhoogt u het toerental tot dit gestabiliseerd wordt.
Als u de maai-eenheden tijdens het wetten wilt afstellen, schakelt u de messenkooien uit door de joystick voor omhoog-/omlaagbrengen naar achteren te bewegen en de motor af te zetten. Na de afstelling herhaalt u stappen3 tot en met 9.
Herhaal de procedure bij alle maai-eenheden die u wilt wetten.
Na voltooiing van het wetten: ga naar het InfoCenter, WETTEN, stel dit in op UIT, of draai het contactsleuteltje op UIT om de machine terug te schakelen naar maaien in de vooruitstand.
Spoel alle wetpasta van de maai-eenheden. Stel indien nodig het contact tussen de messenkooi en het ondermes af. Zet de instelling van de messenkooisnelheid op de gewenste maaistand.
Important: Gebruik geen hogedrukreiniger om de maai-eenheden schoon te maken. De lagers en afdichtingen kunnen beschadigd worden.
| Onderhoudsinterval | Onderhoudsprocedure |
|---|---|
| Bij elk gebruik of dagelijks |
|

Een gebogen of kapotte sensor of sensorbeugel verhoogt de kans dat het objectdetectiesysteem niet goed werkt, wat ernstig of zelfs dodelijk letsel tot gevolg kan hebben.
Als sensoren of sensorbeugels gebogen of kapot zijn, moet u deze onmiddellijk repareren of vervangen.
Inspecteer de sensoren en sensorbeugels voordat u de machine in autonome modus gebruikt.
| Onderhoudsinterval | Onderhoudsprocedure |
|---|---|
| Bij elk gebruik of dagelijks |
|
Maak de sensoren schoon als u vuilopstapeling merkt of als ze niet goed werken.
Maak de sensoren niet te veel schoon, want hierbij kunnen ze schade oplopen.
Zie Figuur 73 voor de locatie van de sensoren.
Important: Gebruik geen hogedrukreiniger om de sensoren schoon te maken.
Gebruik Simple Green® schoonmaakmiddel of een soortgelijke milde zeep om opgehoopt vuil van de sonar en radarsensoren te halen.
Note: Gebruik voor het schoonmaken van de LiDAR-sensor geen hard water.
Bepaal welke schoonmaakmethode gepast is:
Kijk naar de eerste 5 tekens van het serienummer van de sensor. Het serienummer bevindt zich op een etiket aan de onderzijde van de sensor.
Als de eerste 5 tekens in het bereik AE001-AE229 liggen, ga dan naar stap 2.
Zijn de eerste vijf tekens AE230 of hoger, ga dan naar stap 3 of 4.
Schoonmaken met zeepwater.
Gebruik een spuitbus met schoon, warm water om vuil van de lens van de sensor te halen.
Important: Veeg het vuil niet direct van de sensor. Dat zou de lens kunnen beschadigen.
Veeg de sensor zachtjes af met een microvezeldoek en warm water met milde zeep.
Note: Veeg mee met de kromming van de lens in plaats van op en neer over de sensor.
Spuit schoon water op de sensor om achtergebleven zeep weg te spoelen, en droog af met een schone microvezeldoek.
Schoonmaken met isopropylalcohol.
Gebruik een spuitbus met schoon, warm water om vuil van de lens van de sensor te halen.
Important: Veeg het vuil niet direct van de sensor. Dat zou de lens kunnen beschadigen.
Gebruik isopropylalcohol en een schone microvezeldoek om achtergebleven vuil van de sensor te halen.
Veeg de sensor zachtjes af met een microvezeldoek en warm water met milde zeep.
Note: Veeg mee met de kromming van de lens in plaats van op en neer over de sensor.
Spuit schoon water op de sensor om achtergebleven zeep weg te spoelen, en droog af met een schone microvezeldoek.
Schoonmaken met Optics Cleaner van NACL.
North American Coating Laboratories (NACL) heeft een oplossing geformuleerd voor het schoonmaken van bepaalde optische apparaten. U kunt deze rechtstreeks bij hen bestellen met de volgende gegevens:
NACL onderdeelnr.: 98-0020
NACL beschrijving: NACL Precision Optics Cleaner 6 oz
Spuit de NACL Precision Optics Cleaner-oplossing op een schone, droge microvezeldoek.
Veeg voorzichtig mee met de kromming van de lens in plaats van op en neer over de sensor.
Als u de machine voor een lange tijd wilt stallen, moet u de stappen in Voorbereidingen voor stalling uitvoeren.
Indien mogelijk moet u de accu opslaan op een warme, droge plaats.
De accu's - of ze nu gemonteerd zijn of verwijderd uit de machine - moeten worden opgeslagen in de juiste omgeving.
De aanbevolen opslagtemperatuur moet zich tussen 10 °C tot 25 °C bevinden.
Opslag in extreme temperaturen zal leiden tot een versnelde zelfontladingssnelheid.
Als wordt voorspeld dat de temperaturen voor een langere periode tot onder het vriespunt zullen dalen, moet u de accu's verwijderen uit de machine en opslaan in een warmere omgeving.
Koppel de hoofdstroomaansluitingen los; zie Hoofdstroomaansluitingen.
Aangekoekt vuil en achtergebleven maaisel verwijderen. Indien nodig: slijp de kooien en snijplaten, zie de Gebruikershandleiding van de maai-eenheid. Breng een roestwerend middel aan op de ondermessen en messenkooien.
Alle brandstof aftappen uit de brandstoftank. Laat de motor draaien totdat deze afslaat. Brandstoffilterbus vervangen Brandstoffilter vervangen.
Tap de olie uit het carter af terwijl de motor nog warm is. Bijvullen met verse olie; zie Motorolie verversen en filter vervangen.
Verwijder de bougies, giet ongeveer 30 ml SAE 30 olie in de cilinders en laat de motor draaien om de olie over de cilinderwand te verspreiden. Bougies vervangen, zie Onderhoud van de bougie.
Vuil en maaisel verwijderen van de cilinder, de koelribben van de cilinderkop en de ventilatorbehuizing.
Koppel de accukabels los van de 12V accu.
Zorg ervoor dat de 12V en 48V accu’s volledig opgeladen zijn; raadpleeg de Onderhoudshandleiding van de tractie-eenheid voor oplaadinstructies.
Elke 6 maanden dat de accu is opgeslagen, moet u het laadniveau van de accu controleren en de accu opladen.
Til de machine op en ondersteun ze zodat de wielen onbelast zijn.