Entretien
Note: Vous pouvez télécharger gratuitement un schéma hydraulique ou électrique en vous rendant sur www.Toro.com et en cherchant votre machine sous le lien Manuels sur la page d'accueil.
Note: Les côtés gauche et droit de la machine sont déterminés d'après la position d'utilisation normale.
Consignes de sécurité pendant l'entretien
Prudence
Si vous laissez la clé dans le commutateur d'allumage, quelqu'un pourrait mettre le moteur en marche accidentellement et vous blesser gravement, ainsi que toute personne à proximité.
Avant tout entretien, retirez la clé du commutateur d'allumage.
-
Garez la machine sur une surface plane et horizontale, débrayez les commandes hydrauliques auxiliaires, abaissez l'outil, serrez le frein de stationnement (selon l'équipement), coupez le moteur et enlevez la clé. Attendez l'arrêt complet de tout mouvement et laissez refroidir la machine avant de la régler, la nettoyer, la remiser ou la réparer.
-
Nettoyez les coulées éventuelles d'huile ou de carburant.
-
Ne confiez pas l'entretien de la machine à des personnes non qualifiées.
-
Utilisez des chandelles pour soutenir les composants au besoin.
-
Libérez la pression emmagasinée dans les composants avec précaution; voir Évacuer la pression hydraulique.
-
Débranchez la batterie avant d'entreprendre des réparations; voir Utilisation du coupe-batterie.
-
N'approchez jamais les mains ou les pieds des pièces mobiles. Dans la mesure du possible, évitez d'effectuer des réglages sur la machine quand le moteur est en marche.
-
Maintenez toutes les pièces en bon état de marche et toutes les fixations bien serrées. Remplacez tous les autocollants usés ou endommagés.
-
Ne modifiez pas les dispositifs de sécurité.
-
Les outils peuvent modifier la stabilité et les caractéristiques de fonctionnement de la machine.
-
Utilisez exclusivement des pièces de rechange Toro d'origine.
-
Si un entretien ou une réparation exige que les bras de chargeuse soient levés, bloquez-les en position levée à l'aide des dispositifs de blocage des vérins hydrauliques.
-
Reportez-vous à la réglementation locale concernant la sécurité d'entretien de la machine et apposez une étiquette d'avertissement sur le panneau de commande pour informer les autres utilisateurs de l'entretien en cours.
Programme d'entretien recommandé
| Périodicité d'entretien | Procédure d'entretien |
|---|---|
| Après les 8 premières heures de fonctionnement |
|
| Après les 50 premières heures de fonctionnement |
|
| À chaque utilisation ou une fois par jour |
|
| Toutes les 25 heures |
|
| Toutes les 50 heures |
|
| Toutes les 100 heures |
|
| Toutes les 400 heures |
|
| Toutes les 500 heures |
|
| Toutes les 800 heures |
|
| Toutes les 1000 heures |
|
| Toutes les 1500 heures |
|
| Une fois par an |
|
| Une fois par an ou avant le remisage |
|
| Tous les 2 ans |
|
Important: Reportez-vous au manuel du propriétaire du moteur pour toutes procédures d'entretien supplémentaires.
Procédures avant l'entretien
Utilisation des dispositifs de blocage des vérins
Attention
Lorsqu'ils sont levés, les bras de chargeuse peuvent s'abaisser accidentellement et écraser quelqu'un dans leur chute.
Pour cette raison, installez toujours le ou les dispositifs de blocage de vérin avant tout entretien exigeant d'élever les bras de chargeuse.
Installation des dispositifs de blocage des vérins
-
Retirez l'outil.
-
Levez les bras de chargeuse au maximum.
-
Coupez le moteur et enlevez la clé.
-
Enlevez les 2 goupilles qui fixent le dispositif de blocage de vérin aux montants de chaque côté de la machine.
-
Glissez le dispositif de blocage de vérin sur la tige du vérin (Figure 32).

-
Répétez les opérations 4 et 5 de l'autre côté de la machine.
-
Abaissez lentement les bras de chargeuse jusqu'à ce que les dispositifs de blocage rencontrent le corps du vérin et l'extrémité de la tige.
Dépose et rangement des dispositifs de blocage de vérin
Important: Retirez les dispositifs de blocage des tiges et rangez-les correctement avant d'utiliser la machine.
-
Démarrez le moteur.
-
Levez les bras de chargeuse au maximum.
-
Coupez le moteur et enlevez la clé.
-
Enlevez les goupilles qui fixent les dispositifs de blocage.
-
Placez les dispositifs de blocage sur les montants de chaque côté de la machine et fixez-les en position à l'aide des goupilles.
-
Abaissez les bras de chargeuse.
Accès aux composants internes
Attention
L'ouverture ou la dépose des couvercles, capots et écrans pendant que le moteur tourne peut vous exposer à des pièces mobiles et vous blesser gravement.
Avant d'ouvrir une quelconque protection (couvercles, capots ou écrans), coupez le moteur, enlevez la clé du commutateur d'allumage et faites refroidir le moteur.
Ouverture du capot
Fermeture du capot
-
Baissez le capot et maintenez-le en position pendant que vous fermez les loquets.
-
Resserrez la vis de verrouillage du capot (Figure 33).
-
Retirez les dispositifs de verrouillage des vérins, puis abaissez les bras de la chargeuse.
Ouverture du couvercle d'accès arrière
Dépose du panneau de protection arrière
-
Ouvrez le capot d'accès arrière; voir Ouverture du couvercle d'accès arrière.
-
Desserrez les 2 boulons qui fixent le bas du panneau de protection (Figure 36).
-
Desserrez les 2 boutons sur le panneau de protection (Figure 36).

-
Soulevez le panneau de protection et déposez-le (Figure 36).
Dépose de la plaque inférieure
-
Retirez les 2 boulons de fixation de la plaque inférieure (Figure 37).

-
Déposez la plaque inférieure.
Dépose du couvercle avant
-
Levez les bras de la chargeuse et bloquez-les avec les dispositifs de blocage de vérin.
-
Desserrez les 2 boulons qui fixent le couvercle avant à la machine (Figure 38).

-
Déposez le couvercle de la machine.
-
Quand vous montez le couvercle, serrez les boulons à 41 N·m (30 pi-lb).
Lubrification
Graissage de la machine
| Périodicité d'entretien | Procédure d'entretien |
|---|---|
| À chaque utilisation ou une fois par jour |
|
| Toutes les 100 heures |
|
Type de graisse : universelle.
-
Garez la machine sur une surface plane et horizontale, serrez le frein de stationnement et abaissez les bras de chargeuse.
-
Coupez le moteur et enlevez la clé.
-
Nettoyez les graisseurs avec un chiffon.
-
Raccordez un pistolet de graissage à chaque graisseur (Figure 40, Figure 41 et Figure 42).
Note: Levez les bras de chargeuse avant de graisser les graisseurs; voir la Figure 42.



-
Injectez de la graisse dans les graisseurs jusqu'à ce qu'elle commence à ressortir des roulements (environ 3 injections).
-
Essuyez tout excès de graisse.
-
Graissez les tringleries d'attache rapide avec un lubrifiant en aérosol (Figure 43).

Entretien du moteur
Consignes de sécurité concernant le moteur
-
Coupez le moteur avant de contrôler le niveau d'huile ou d'ajouter de l'huile dans le carter.
-
Ne modifiez pas le réglage du régulateur et ne faites pas tourner le moteur à un régime excessif.
-
Gardez les mains, les pieds, le visage et toute autre partie du corps, ainsi que les vêtements à l'écart du silencieux et autres surfaces brûlantes.
Entretien du filtre à air
| Périodicité d'entretien | Procédure d'entretien |
|---|---|
| À chaque utilisation ou une fois par jour |
|
| Toutes les 100 heures |
|
| Une fois par an |
|
Recherchez sur le boîtier du filtre à air des dommages susceptibles d'occasionner des fuites d'air. Remplacez le boîtier s'il est endommagé. Vérifiez que le système d'admission ne présente pas de fuites, de dommages ou de colliers de flexible desserrés.
Faites l'entretien du filtre à air uniquement quand l'indicateur de colmatage (Figure 44) indique que cela est nécessaire. Ne remplacez pas le filtre à air plus fréquemment que nécessaire; cela ne fait qu'accroître le risque de contamination du moteur par des impuretés quand le filtre est déposé.

Important: Le couvercle doit être parfaitement ajusté sur le boîtier du filtre à air.
-
Remplacez le filtre à air (Figure 45).

Note: Ne nettoyez pas un élément filtrant usagé au risque d'endommager le matériau du filtre.
Important: N'essayez jamais de nettoyer l'élément de sécurité (Figure 46). Remplacez l'élément filtrant de sécurité une fois sur trois, quand vous effectuez l'entretien du préfiltre.

-
Réarmez l'indicateur de colmatage (Figure 44) s'il est rouge.
Contrôle du niveau, vidange de l'huile moteur et remplacement du filtre à huile
| Périodicité d'entretien | Procédure d'entretien |
|---|---|
| Après les 50 premières heures de fonctionnement |
|
| À chaque utilisation ou une fois par jour |
|
| Toutes les 400 heures |
|
Spécifications de l’huile moteur
Type d'huile : Huile détergente pour moteur diesel (classe de service API CH-4 ou mieux).
Capacité du carter : 7 litres (1,85 gallon américain) avec filtre
Viscosité : voir le tableau ci-dessous.

Contrôle du niveau d'huile moteur
-
Garez la machine sur une surface plane et horizontale, serrez le frein de stationnement et abaissez les bras de chargeuse.
-
Coupez le moteur, enlevez la clé de contact et laissez refroidir le moteur.
-
Ouvrez le capot.
-
Nettoyez la surface autour de la jauge d'huile et enlevez le bouchon de remplissage (Figure 48).

-
Contrôlez le niveau d'huile moteur et faites l'appoint au besoin (Figure 49).
Important: Ne remplissez pas excessivement le carter d'huile; si le niveau d'huile est trop élevé, vous risquez d'endommager le moteur.

-
Fermez le capot.
Vidange de l'huile moteur et remplacement du filtre à huile
-
Démarrez le moteur et laissez-le tourner pendant 5 minutes.
Note: Cela permet de réchauffer l'huile, qui s'écoule alors plus facilement.
-
Garez la machine sur une surface plane et horizontale.
-
Levez les bras de chargeuse et bloquez-les avec les dispositifs de blocage de vérin; voir Installation des dispositifs de blocage des vérins.
-
Serrez le frein de stationnement, coupez le moteur et retirez la clé.
-
Vidangez l'huile sous la plate-forme (Figure 50).
Prudence
Les composants sont très chauds si la machine vient de fonctionner Vous risquez de vous brûler à leur contact.
Prenez garde à ne pas toucher les composants chauds quand vous faites la vidange d'huile et/ou que vous remplacez le filtre à huile.


-
Serrez le bouchon de vidange à un couple de 46 à 56 N·m (34 à 42 pi-lb).
-
Ouvrez le capot et bloquez-le avec la béquille (le cas échéant).
-
Déposez l'ensemble couvercle avant; voir Dépose de l'ensemble couvercle avant
-
Placez un bac de vidange peu profond ou un chiffon sous le filtre pour récupérer l'huile.
-
Remplacez le filtre à huile (Figure 51).

-
Enlevez le bouchon de remplissage et versez lentement environ 80 % de la quantité d'huile spécifiée dans le couvre-culasse.
-
Contrôlez le niveau d'huile.
-
Faites l'appoint d'huile avec précaution pour faire monter le niveau jusqu'au trou supérieur de la jauge.
-
Remettez le bouchon de remplissage.
-
Posez l'ensemble couvercle avant.
-
Fermez le capot.
Note: Débarrassez-vous de l'huile usagée dans un centre de recyclage agréé.
Entretien du système d'alimentation
Danger
Dans certaines circonstances, le carburant est extrêmement inflammable et hautement explosif. Un incendie ou une explosion causé(e) par du carburant peut vous brûler, ainsi que toute personne à proximité, et causer des dommages matériels.
Vous trouverez une liste complète des consignes de sécurité liées au carburant sous Consignes de sécurité concernant le carburant.
Vidange du séparateur d'eau
| Périodicité d'entretien | Procédure d'entretien |
|---|---|
| Toutes les 50 heures |
|
-
Garez la machine sur une surface plane et horizontale, serrez le frein de stationnement et abaissez les bras de chargeuse.
-
Coupez le moteur et enlevez la clé.
-
Ouvrez le capot d'accès arrière; voir Ouverture du couvercle d'accès arrière.
-
Déposez le panneau de protection arrière; voir Dépose du panneau de protection arrière.
-
Placez un bac de vidange sous le séparateur d'eau.
-
Débranchez le faisceau de câblage du séparateur d'eau (Figure 52).

-
Dévissez le contacteur au fond de la cartouche du filtre et vidangez l'eau (Figure 52).
-
Installez le contacteur (Figure 52).
-
Branchez le faisceau de câblage au contacteur (Figure 52).
-
Installez le panneau de protection arrière et fixez-le en place en serrant les boutons et les boulons.
-
Refermez le capot d'accès arrière et sécurisez-le avec la fixation.
-
Purgez le système d'alimentation; voir Purge du système d'alimentation.
Remplacement du filtre du séparateur d'eau
| Périodicité d'entretien | Procédure d'entretien |
|---|---|
| Toutes les 500 heures |
|
-
Garez la machine sur une surface plane et horizontale, serrez le frein de stationnement et abaissez les bras de chargeuse.
-
Coupez le moteur et enlevez la clé.
-
Ouvrez le capot d'accès arrière; voir Ouverture du couvercle d'accès arrière.
-
Déposez le panneau de protection arrière; voir Dépose du panneau de protection arrière.
-
Débranchez le faisceau de câblage du séparateur d'eau.
-
Dévissez le contacteur et vidangez le séparateur d'eau (Figure 52).
-
Nettoyez la surface autour du filtre.
-
Déposez le filtre et nettoyez la surface de montage.
-
Lubrifiez le joint du filtre avec de l'huile propre.
-
Installez le filtre à la main jusqu'à ce que le joint touche la surface de montage, puis serrez-le encore d'un demi-tour.
-
Montez le contacteur sur le filtre.
-
Branchez le faisceau de câblage au contacteur.
-
Reposez le panneau de protection arrière et serrez les boutons et les boulons.
-
Refermez le capot d'accès arrière et installez la fixation.
Remplacement de la cartouche du filtre à carburant
| Périodicité d'entretien | Procédure d'entretien |
|---|---|
| Toutes les 400 heures |
|
-
Garez la machine sur une surface plane et horizontale, serrez le frein de stationnement et abaissez les bras de chargeuse.
-
Coupez le moteur et enlevez la clé.
-
Ouvrez le capot d'accès arrière; voir Ouverture du couvercle d'accès arrière.
-
Déposez le panneau de protection arrière; voir Dépose du panneau de protection arrière.
-
Placez un bac de vidange propre sous la cartouche du filtre à carburant (Figure 53).

-
Déposez la cartouche et nettoyez la surface de montage.
-
Lubrifiez le joint de la cartouche neuve avec de l'huile propre.
-
Remplissez la cartouche de carburant.
-
Installez la cartouche à la main jusqu'à ce que le joint touche la surface de montage. Serrez ensuite la cartouche d'un demi tour supplémentaire.
-
Installez le panneau de protection arrière et fixez-le en place en serrant les boutons et les boulons.
-
Refermez le capot d'accès arrière et sécurisez-le avec la fixation.
Contrôle des conduites et raccords d'alimentation
| Périodicité d'entretien | Procédure d'entretien |
|---|---|
| Toutes les 400 heures |
|
Vérifiez que les conduites et les raccords de carburant ne sont pas détériorés, endommagés ou desserrés. Serrez les raccords desserrés et demandez à un dépositaire-réparateur agréé de réparer les conduites de carburant endommagées.
Purge du système d'alimentation
Vous devez purger le système d'alimentation avant de démarrer le moteur dans les cas suivants :
-
Lors du tout premier démarrage d'une machine neuve.
-
Après un arrêt du moteur dû à une panne de carburant.
-
Après l'entretien des composants du système d'alimentation (remplacement du filtre, etc.).
Utilisez la pompe manuelle du séparateur d'eau pour purger l'air du circuit de carburant.

Vidange des réservoirs de carburant
| Périodicité d'entretien | Procédure d'entretien |
|---|---|
| Toutes les 500 heures |
|
Demandez à un dépositaire-réparateur agréé de vidanger et nettoyer les réservoirs de carburant.
Entretien du système électrique
Consignes de sécurité concernant le système électrique
-
Débranchez la batterie avant d'entreprendre des réparations; voir Utilisation du coupe-batterie.
-
Chargez la batterie dans un endroit dégagé et bien aéré, à l'écart des flammes ou sources d'étincelles. Débranchez le chargeur avant de brancher ou de débrancher la batterie. Portez des vêtements de protection et utilisez des outils isolés.
-
L'acide de la batterie est toxique et peut causer des brûlures. Évitez tout contact avec la peau, les yeux et les vêtements. Protégez-vous le visage, les yeux et les vêtements quand vous manipulez la batterie.
-
Les gaz de la batterie sont explosifs. Éloignez cigarettes, étincelles et flammes de la batterie.
Utilisation du coupe-batterie
-
Garez la machine sur une surface plane et horizontale, serrez le frein de stationnement et abaissez les bras de chargeuse.
-
Coupez le moteur et enlevez la clé.
-
Ouvrez le couvercle d'accès arrière.
-
Tournez le coupe-batterie à la position SOUS TENSION ou HORS TENSION pour effectuer ce qui suit :
-
Pour mettre la machine sous tension, tournez le coupe-batterie dans le sens horaire à la position SOUS TENSION (Figure 55).
-
Pour mettre la machine hors tension, tournez le coupe-batterie dans le sens antihoraire à la position HORS TENSION (Figure 55).

-
Entretien de la batterie
| Périodicité d'entretien | Procédure d'entretien |
|---|---|
| Toutes les 50 heures |
|
Retrait de la batterie
Attention
S'ils sont mal acheminés, les câbles de la batterie peuvent subir des dommages ou endommager la machine et produire des étincelles. Les étincelles peuvent provoquer l'explosion des gaz de la batterie et vous blesser.
Débranchez toujours le câble négatif (noir) de la batterie avant le câble positif (rouge).
-
Garez la machine sur une surface plane et horizontale, serrez le frein de stationnement et abaissez les bras de chargeuse.
-
Coupez le moteur et enlevez la clé.
-
Déposez le panneau de protection arrière; voir Dépose du panneau de protection arrière.
-
Débranchez le câble négatif (noir) de mise à la masse de la borne de la batterie (Figure 56). Conservez les fixations.

-
Repoussez le capuchon en caoutchouc pour l’ôter du câble positif (rouge).
-
Débranchez le câble positif (rouge) de la borne de la batterie (Figure 56). Conservez les fixations.
-
Desserrez les 3 boulons de fixation du support de batterie et déposez le support avec la batterie (Figure 56).
-
Retirez l'écrou à oreilles et la tige.
-
Retirez la batterie.
Charge de la batterie
Attention
La batterie en charge produit des gaz susceptibles d'exploser.
Ne fumez jamais à côté de la batterie et tenez-la à l'écart de toutes flammes ou sources d'étincelles.
Important: Gardez toujours la batterie chargée au maximum (densité 1,265). Cela est particulièrement important pour prévenir la dégradation de la batterie si la température tombe en dessous de 0 °C (32 °F).
-
Déposez la batterie de la machine; voir Retrait de la batterie.
-
Chargez la batterie pendant 4 à 8 heures à un régime de 3 à 4 A (Figure 57). Ne chargez pas la batterie excessivement.

-
Quand la batterie est chargée au maximum, débranchez le chargeur de la prise, puis débranchez les fils du chargeur des bornes de la batterie (Figure 57).
Nettoyage de la batterie
Note: Maintenez propres les bornes et le bac de la batterie pour prolonger la vie de la batterie.
-
Garez la machine sur une surface plane et horizontale, serrez le frein de stationnement (selon l'équipement) et abaissez les bras de chargeuse.
-
Coupez le moteur et enlevez la clé.
-
Retirez la batterie de la machine; Retrait de la batterie.
-
Lavez le bac complet avec un mélange d'eau et de bicarbonate de soude.
-
Rincez la batterie à l'eau claire.
-
Pour prévenir la corrosion, enduisez les bornes de la batterie et les connecteurs des câbles de graisse Grafo 112X (Skin-Over) ou de vaseline.
-
Mettez la batterie en place; voir Mise en place de la batterie.
Mise en place de la batterie
Attention
S'ils sont mal acheminés, les câbles de la batterie peuvent subir des dommages ou endommager la machine et produire des étincelles. Les étincelles peuvent provoquer l'explosion des gaz de la batterie et vous blesser.
Connectez toujours le câble positif (rouge) de la batterie avant le câble négatif (noir).
-
Placez la batterie sur son support et fixez-la en place avec l'écrou à oreilles et la tige (Figure 56).
-
Montez le support de batterie sur la machine et fixez-le en place avec les 3 boulons (Figure 56). Serrez les boulons à 41 N·m (30 pi-lb).
-
En vous servant des fixations retirées précédemment, branchez le câble positif (rouge) de la batterie à la borne positive (+) (Figure 56).
-
Placez le capuchon rouge sur la borne positive de la batterie.
-
En vous servant des fixations retirées précédemment, branchez le câble négatif (noir) à la borne négative (-) de la batterie (Figure 56).
-
Reposez le panneau de protection arrière.
Entretien d’une batterie de rechange
La batterie d'origine ne nécessite aucun entretien. Pour l'entretien d'une batterie de rechange, reportez-vous aux instructions du fabricant de la batterie.
Démarrage du moteur à l'aide d'une batterie de secours
Attention
Le démarrage du moteur avec une batterie de secours peut produire des gaz susceptibles d'exploser.
Ne fumez pas et n'approchez pas d'étincelles ni de flammes de la batterie.
-
Ouvrez le capot d'accès arrière; voir Ouverture du couvercle d'accès arrière.
-
Déposez le panneau de protection arrière; voir Dépose du panneau de protection arrière.
-
Contrôlez et nettoyez la corrosion sur les bornes de la batterie avant de démarrer la machine avec une batterie de secours. Vérifiez que les connexions sont bien serrées.
Prudence
La corrosion ou des connexions desserrées peuvent provoquer des pointes de tension indésirables à tout moment pendant la procédure de démarrage avec une batterie de secours.
N'essayez pas de démarrer la machine avec une batterie de secours si les bornes de la batterie de la machine sont desserrées ou corrodées au risque d'endommager le moteur.
Danger
L'utilisation d'une batterie de secours alors que la batterie à plat est fissurée, gelée, ne contient pas assez d'électrolyte ou présente un élément ouvert ou en court-circuit peut provoquer une explosion et de graves blessures.
N'utilisez pas de batterie de secours si ces conditions existent.
-
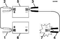
Vérifiez que la batterie de secours est une batterie au plomb en bon état, chargée au maximum à 12,6 V ou plus.
Note: Utilisez des câbles de démarrage du bon calibre et assez courts pour réduire la chute de tension entre les systèmes. Assurez-vous que la couleur et l'étiquetage des câbles correspondent à la polarité.
Attention
Les batteries contiennent de l'acide et produisent des gaz explosifs.
-
Protégez-vous toujours les yeux et le visage lorsque vous vous trouvez près des batteries.
-
Ne vous penchez pas au-dessus des batteries.
Note: Vérifiez que les bouchons d'aération sont bien serrés et de niveau. Placez un chiffon humide, si vous en avez un, sur l'un des bouchons d'aération sur les deux batteries. Les deux machines ne doivent pas se toucher et les deux systèmes électriques doivent être hors tension et avoir la même tension nominale. Ces instructions ne concernent que les systèmes à masse négative.
-
-
Connectez le câble positif (+) à la borne positive (+) de la batterie à plat qui est reliée au démarreur ou au solénoïde, comme montré à la Figure 58.

-
Connectez l'autre extrémité du câble de démarrage positif (+) à la borne positive de la batterie de l'autre machine.
-
Connectez une extrémité du câble de démarrage négatif (-) à la borne négative de la batterie de l'autre machine.
-
Branchez l'autre extrémité du câble de démarrage négatif (-) à un point de masse, tel un boulon non peint ou un élément du châssis.
-
Démarrer le moteur de l'autre machine. Laissez-le tourner pendant quelques minutes puis démarrez le moteur de votre machine.
-
Retirez les câbles dans l'ordre inverse de leur connexion.
-
Remettez le capuchon sur la borne positive de la batterie de votre machine.
Entretien des fusibles
Le système électrique est protégé par des fusibles. Il ne nécessite donc aucun entretien. Toutefois, si un fusible grille, vérifiez l'état de la pièce ou du circuit et assurez-vous qu'il n'y a pas de court-circuit. La Figure 59 indique l'emplacement du porte-fusibles.

| 1 | 2 | 3 | 4 | 5 | 6 | 7 | 8 | 9 | 10 | 11 | 12 | |
| A | (Relais) | (Relais) | (Relais) | - | - | - | ||||||
| B | - | - | - | |||||||||
| C |
Moteur (25 A) |
(5 A) |
Affichage (10 A) |
Connexion auxiliaire (10 A) |
Alimentation TEC (7,5 A) | - | - | |||||
| D |
Logique TEC (2 A) |
Solénoïde de démarreur (20 A) |
Avertisseur sonore (10 A) |
Connexion auxiliaire (10 A) |
Alimentation TEC (7,5 A) | - | - | |||||
| E |
Télématique (2 A) |
Prise d'alimentation (10 A) |
Connexion auxiliaire (10 A) |
Alimentation TEC (7,5 A) |
Alimentation TEC (7,5 A) | - | - | |||||
Note: Si la machine refuse de démarrer, il se peut que le fusible du panneau de commande/relais ou du circuit principal soit grillé.
Entretien du système d'entraînement
Vidange de l'huile du train planétaire du moteur d'entraînement
| Périodicité d'entretien | Procédure d'entretien |
|---|---|
| Toutes les 1000 heures |
|
Type d'huile : huile pour engrenages SAE 85W-140
Capacité : 0,9 litre (30 oz liq.)
-
Démarrez le moteur et conduisez la machine pendant 5 minutes.
Note: Cela permet de réchauffer l'huile, qui s'écoule alors plus facilement.
-
Garez la machine sur une surface plane et horizontale en plaçant le bouchon de vidange à la position 6 heures (Figure 60), serrez le frein de stationnement et abaissez les bras de la chargeuse.
-
Coupez le moteur et enlevez la clé.
-
Placez un bac de vidange sous le moteur d'entraînement.
-
Enlevez le bouchon de contrôle et le bouchon de vidange, et vidangez l'huile pour engrenages (Figure 60).

-
Remettez le bouchon de vidange en place (Figure 60).
-
Versez de d'huile pour engrenages dans le moteur d'entraînement par l'orifice de contrôle jusqu'à ce que le niveau atteigne la base de l'orifice.

-
Remettez le bouchon de contrôle en place.
-
Répétez cette procédure pour l'autre moteur d'entraînement.
-
Démarrez le moteur et conduisez la machine pendant quelques minutes.
-
Garez la machine sur une surface plane et horizontale, serrez le frein de stationnement, coupez le moteur et enlevez la clé.
-
Enlevez les bouchons de contrôle et vérifiez que le niveau d'huile atteint bien la base de l'orifice de contrôle du niveau. Faites l'appoint d'huile au besoin.
-
Remettez les bouchons de contrôle en place. Serrez les bouchons de contrôle et de vidange à un couple de 30 à 40 N·m (22 à 30 pi-lb).
Entretien des chenilles
| Périodicité d'entretien | Procédure d'entretien |
|---|---|
| Après les 8 premières heures de fonctionnement |
|
| Après les 50 premières heures de fonctionnement |
|
| À chaque utilisation ou une fois par jour |
|
| Toutes les 50 heures |
|
Nettoyage des chenilles
-
Garez la machine sur une surface plane et horizontale et serrez le frein de stationnement.
-
Le godet étant monté et basculé vers le bas, abaissez-le au sol afin que l'avant du groupe de déplacement se soulève de quelques centimètres (pouces).
-
Coupez le moteur et retirez la clé.
-
Nettoyez les chenilles au tuyau d'arrosage ou au jet haute pression.
Important: Le jet haute pression ne doit servir qu'au nettoyage des chenilles. Ne l'utilisez jamais pour nettoyer le reste de la machine. N'utilisez pas de jet d'eau haute pression entre le pignon d'entraînement et le groupe de déplacement, cela pourrait endommager les joints du moteur. Le lavage au jet d'eau haute pression peut endommager le système électrique et les vannes hydrauliques, ou enlever la graisse.
Important: Nettoyez soigneusement les galets de roulement, la roue avant et le pignon d'entraînement (Figure 62). Les galets de roulement doivent tourner librement lorsqu'ils sont propres.

Contrôle de la tension des chenilles
-
Garez la machine sur une surface plane et horizontale et serrez le frein de stationnement.
-
Le godet étant monté et basculé vers le bas, abaissez-le au sol afin que l'avant du groupe de déplacement se soulève de quelques centimètres (pouces).
Note: Si vous n'avez de godet, levez la machine et soutenez-la avec des chandelles capables d'en supporter le poids; voir Caractéristiques techniques.

-
Coupez le moteur et retirez la clé.
-
Vérifiez qu'un espace de 20 mm (0,8 po) existe entre le deuxième galet de roulement à partir de l'arrière et la chenille, comme montré à la Figure 63. Si un réglage est nécessaire, voir Réglage de la tension des chenilles.
Réglage de la tension des chenilles
-
Garez la machine sur une surface plane et horizontale et serrez le frein de stationnement.
-
Placez un bloc de 15 x 15 cm (6 x 6 po) sous le cadre arrière de la machine, juste derrière la chenille qu'il faut tendre.
-
Le godet étant monté et basculé vers le bas, abaissez-le au sol afin que l'avant du groupe de déplacement se soulève de quelques centimètres (pouces) et que la machine bascule en arrière sur le bloc jusqu'à ce que la chenille soit complètement décollée du sol.
Note: Si vous n'avez de godet, levez la machine et soutenez-la avec des chandelles capables d'en supporter le poids; voir Caractéristiques techniques.
-
Coupez le moteur et retirez la clé.
-
Desserrez les 2 boulons et ouvrez le capot d'accès (Figure 64).

-
Enlevez le boulon de blocage, l'entretoise et l'écrou (Figure 65).

-
Avec une clé à cliquet de ½ pouce, tournez la vis de tension jusqu'à obtention d'un espace de 20 mm (0,79 po) entre le galet de roulement et la chenille, comme montré à la Figure 63.
Note: Tournez la vis dans le sens antihoraire pour tendre la chenille et dans le sens horaire pour la détendre.
-
Alignez l'encoche dans la vis de tension et le trou du boulon de blocage le plus proche, et fixez la vis avec le boulon de blocage, l'entretoise et l'écrou (Figure 65.
-
Répétez la procédure pour l'autre chenille si nécessaire.
Remplacement des chenilles
Dépose des chenilles
-
Retirez les outils éventuellement présents.
-
Garez la machine sur une surface plane et horizontale en vérifiant qu'un segment du pignon n'est pas engagé sur la chenille.

-
Abaissez les bras de chargeuse.
-
Coupez le moteur et retirez la clé.
-
Soulevez la machine du sol de telle manière que le bas de la chenille soit à 10,2 cm (4 po) au moins au-dessus du sol. Soutenez la machine avec des chandelles.
Note: Utilisez des chandelles capables de supporter le poids de la machine.
Attention
Les crics mécaniques ou hydrauliques peuvent céder sous le poids de la machine et causer des blessures graves.
Utilisez des chandelles pour soutenir la machine.
-
Enlevez le boulon de blocage, l'entretoise et l'écrou (Figure 65).
-
À l'aide d'une clé à cliquet de ½ pouce, tournez la vis de tension dans le sens horaire pour détendre la transmission (Figure 65 et Figure 67).

-
Déposez le segment du pignon d'entraînement qui n'est pas engagé dans la chenille.
Important: Si vous ne déposez pas le segment du pignon, vous risque d'avoir des difficultés à installer une chenille neuve sans l'endommager.

-
Démarrez la machine et desserrez le frein de stationnement.
-
Poussez la commande de déplacement en avant jusqu'à ce qu'un deuxième segment du pignon soit dégagé de la chenille.
-
Coupez le moteur et retirez la clé.
-
Déposez le segment du pignon (Figure 68).
-
Démarrez la machine et desserrez le frein de stationnement.
-
Poussez la commande de déplacement en avant jusqu'à ce que le dernier segment du pignon soit dégagé de la chenille.
Note: Il n'est pas nécessaire de retirer ce segment.
-
Déposez la chenille de son cadre.
Pose des chenilles
-
Enroulez la chenille neuve sur la roue avant (Figure 67).
-
Poussez la chenille sous et entre les galets de roulement, puis enroulez-la autour de la roue de tension (Figure 67).
-
Montez les sabots de la chenille sur le carter du train planétaire en faisant levier.
-
Démarrez le moteur et desserrez le frein de stationnement.
-
Poussez la commande de déplacement en avant jusqu'à ce que le segment du pignon d'entraînement s'engage sur la chenille (Figure 69).

-
Coupez le moteur et retirez la clé.
-
Appliquez du frein-filet sur les boulons du segment du pignon d'entraînement que vous avez déposé et posez le segment (Figure 68). Serrez les boulons à un couple de 247 à 301 N·m (182 à 222 pi-lb).
-
Démarrez le moteur et desserrez le frein de stationnement.
-
Poussez la commande de déplacement en avant jusqu'à ce que les deux segments du pignon d'entraînement s'engagent sur la chenille.
-
Appliquez du frein-filet sur les boulons du segment de l'autre segment du pignon d'entraînement que vous avez déposé et posez le segment (Figure 69). Serrez les boulons à un couple de 247 à 301 N·m (182 à 222 pi-lb).
Note: Montez le pignon en orientant les numéros moulés vers l'extérieur.
-
Avec une clé à cliquet de ½ pouce, tournez la vis de tension dans le sens antihoraire jusqu'à obtention d'un espace de 20 mm (0,79 po) entre le galet de roulement et la chenille, comme montré à la Figure 63.
-
Alignez l'encoche dans la vis de tension et le trou du boulon de blocage le plus proche, et fixez la vis avec le boulon de blocage, l'entretoise et l'écrou. Serrez le boulon de blocage à 11,30 N·m (100 po-lb).
-
Abaissez la machine au sol.
-
Répétez la procédure pour remplacer l'autre chenille.
-
Refermez le capot d'accès et serrez les boulons (Figure 64). Serrez les boulons à 41 N·m (30 pi-lb).
Entretien du système de refroidissement
Consignes de sécurité concernant le circuit de refroidissement
-
L'ingestion de liquide de refroidissement moteur peut être toxique; rangez-le hors de la portée des enfants et des animaux.
-
Les projections de liquide de refroidissement brûlant sous pression ou le contact avec le radiateur brûlant et les pièces qui l'entourent peuvent causer des brûlures graves.
-
Laissez toujours refroidir le moteur pendant au moins 15 minutes avant d'enlever le bouchon de radiateur.
-
Servez-vous d'un chiffon pour ouvrir le bouchon du radiateur et desserrez-le lentement pour permettre à la vapeur de s'échapper.
-
Entretien du circuit de refroidissement
| Périodicité d'entretien | Procédure d'entretien |
|---|---|
| À chaque utilisation ou une fois par jour |
|
| Toutes les 100 heures |
|
Nettoyage de la grille du radiateur
| Périodicité d'entretien | Procédure d'entretien |
|---|---|
| À chaque utilisation ou une fois par jour |
|
Enlevez à l'air comprimé l'herbe, les saletés et autres débris accumulés sur la grille de radiateur.
Contrôle du niveau de liquide de refroidissement moteur
Le circuit de refroidissement contient un mélange 50/50 d'eau et d'antigel à l'éthylène glycol permanent.
-
Garez la machine sur une surface plane et horizontale, abaissez les bras de chargeuse, serrez le frein de stationnement et coupez le moteur.
-
Enlevez la clé du commutateur d'allumage et laissez refroidir le moteur.
-
Ouvrez le capot.
-
Contrôlez le niveau de liquide de refroidissement dans le vase d'expansion (Figure 70).
Note: Il doit se situer au même niveau ou au-dessus du repère qui figure sur le côté du vase d'expansion.

-
Si le niveau de liquide de refroidissement est trop bas, retirez le bouchon du vase d'expansion et ajoutez un mélange 50/50 d'eau et d'antigel permanent à l'éthylène glycol.
Important: Ne remplissez pas le vase d'expansion excessivement.
-
Revissez le bouchon du vase d'expansion.
Vidange du liquide de refroidissement moteur
| Périodicité d'entretien | Procédure d'entretien |
|---|---|
| Toutes les 800 heures |
|
Demandez à un dépositaire-réparateur agréé d'effectuer la vidange du liquide de refroidissement une fois par an.
S'il est nécessaire d'ajouter du liquide de refroidissement, voir Contrôle du niveau de liquide de refroidissement moteur.
Entretien des courroies
Contrôle et réglage de la tension de la courroie d'alternateur
| Périodicité d'entretien | Procédure d'entretien |
|---|---|
| À chaque utilisation ou une fois par jour |
|
| Toutes les 100 heures |
|
| Toutes les 500 heures |
|
-
Garez la machine sur une surface plane et horizontale, serrez le frein de stationnement et abaissez les bras de chargeuse.
-
Coupez le moteur et retirez la clé.
-
Ouvrez le capot.
-
Appliquez une force de 30 N (22 po-lb) sur la courroie d'alternateur, à mi-chemin entre les poulies (Figure 71).

-
Si vous n'obtenez pas une flèche de 11 mm (7/16 po), tendez la courroie en procédant comme suit :
-
Desserrez le boulon qui fixe l'alternateur au moteur et le boulon qui fixe le renfort à l'alternateur.
-
Insérez un levier entre l'alternateur et le moteur pour extraire l'alternateur.
-
Lorsque la tension est correcte, resserrez les boulons de l'alternateur et du renfort pour fixer le réglage.
-
Entretien des commandes
Réglage des commandes
Les commandes sont réglées en usine avant l'expédition de la machine. Toutefois, après de nombreuses heures d'utilisation, vous devrez éventuellement ajuster l'alignement, la position POINT MORT et le centrage de la commande de déplacement quand elle est à la position avant maximale.
Demandez à votre dépositaire-réparateur agréé de régler les commandes de votre machine.
Entretien du système hydraulique
Consignes de sécurité concernant le système hydraulique
-
Consultez immédiatement un médecin si du liquide est injecté sous la peau. Toute injection de liquide hydraulique sous la peau doit être éliminée dans les quelques heures qui suivent par une intervention chirurgicale réalisée par un médecin.
-
Vérifiez l'état de tous les flexibles et conduits hydrauliques, ainsi que le serrage de tous les raccords et branchements avant de mettre le système hydraulique sous pression.
-
N'approchez pas les mains ni aucune autre partie du corps des fuites en trou d'épingle ou des gicleurs d'où sort du liquide hydraulique sous haute pression.
-
Utilisez un morceau de papier ou de carton pour détecter les fuites.
-
Dépressurisez avec précaution le système hydraulique avant toute intervention sur le système.
Évacuer la pression hydraulique
Pour évacuer la pression hydraulique quand le moteur tourne, désengagez les commandes hydrauliques auxiliaires, puis abaissez complètement et rétractez les bras de la chargeuse.
Pour évacuer la pression quand le moteur est arrêté, faites passer le levier par les différentes positions avant pour abaisser les bras de la chargeuse (Figure 72).

Spécifications du liquide hydraulique
| Périodicité d'entretien | Procédure d'entretien |
|---|---|
| Toutes les 100 heures |
|
| Toutes les 400 heures |
|
| Toutes les 1000 heures |
|
| Toutes les 1500 heures |
|
| Tous les 2 ans |
|
Capacité du réservoir hydraulique : 57,7 litres (15,25 gallons américains)
Utilisez exclusivement l'un des liquides suivants dans le système hydraulique :
-
Liquide hydraulique/de transmission de première qualité Toro (pour plus de renseignements, adressez-vous à votre dépositaire-réparateur agréé)
-
Liquide hydraulique longue durée Toro PX (pour plus de renseignements, adressez-vous à votre dépositaire-réparateur agréé)
-
Si aucun des liquides Toro ci-dessus n'est disponible, vous pouvez utiliser un autre liquide hydraulique universel pour tracteur (UTHF), à condition que ce soit un produit traditionnel à base de pétrole. Les spécifications doivent rester dans la plage indiquée pour toutes les propriétés physiques suivantes, et le liquide doit satisfaire aux normes industrielles indiquées. Vérifiez auprès de votre fournisseur que le liquide hydraulique est conforme à ces spécifications.
Note: Toro décline toute responsabilité en cas de dommage causé par l'utilisation d'huiles de remplacement inadéquates. Utilisez uniquement des produits provenant de fabricants réputés qui répondent de leurs recommandations.
Propriétés physiques Viscosité, ASTM D445 cSt à 40 °C (104 °F) : 55 à 62 cSt à 100 °C (212 °F) : 9,1 à 9,8 Indice de viscosité, ASTM D2270 140 à 152 Point d'écoulement, ASTM D97 -37 à -43 °C (-35 à -46 °F) Normes industrielles API GL-4, AGCO Powerfluid 821 XL, Ford New Holland FNHA-2-C-201.00, Kubota UDT, John Deere J20C, Vickers 35VQ25 et Volvo WB-101/BM Note: De nombreux liquides hydrauliques sont presque incolores, ce qui rend difficile la détection des fuites. Un additif colorant rouge pour système hydraulique est disponible en bouteilles de 20 ml (⅔ oz liq). Une bouteille suffit pour 15 à 22 litres (4 à 6 gallons américains) de liquide hydraulique. Vous pouvez commander ces bouteilles auprès de votre dépositaire Toro agréé (réf. 44-2500).
Contrôle du niveau de liquide hydraulique
| Périodicité d'entretien | Procédure d'entretien |
|---|---|
| Toutes les 25 heures |
|
Important: Utilisez toujours le type correct de liquide hydraulique. L'utilisation de liquides non spécifiés endommagera le système hydraulique. Voir Spécifications du liquide hydraulique.
-
Retirez les outils éventuellement présents.
-
Garez la machine sur une surface plane et horizontale et serrez le frein de stationnement.
-
Levez les bras de chargeuse et installez les dispositifs de blocage de vérins.
-
Coupez le moteur et retirez la clé.
-
Déposez le couvercle avant; voir Dépose du couvercle avant
-
Nettoyez la surface autour du goulot de remplissage du réservoir hydraulique (Figure 73).

-
Enlevez le bouchon du goulot de remplissage et vérifiez le niveau de liquide sur la jauge (Figure 74).
Note: Le niveau de liquide doit se situer entre les 2 crans sur la jauge quand les bras sont abaissés ou atteindre le cran inférieur quand les bras sont levés.

-
Si le niveau est trop bas, ajoutez une quantité d'huile hydraulique suffisante pour le rectifier.
-
Remettez en place le bouchon du goulot de remplissage.
-
Reposez le couvercle avant.
Remplacement des filtres hydrauliques
Important: N'utilisez pas de filtre à huile de type automobile en remplacement au risque d'endommager gravement le système hydraulique.
-
Garez la machine sur une surface plane et horizontale, serrez le frein de stationnement et abaissez les bras de chargeuse.
-
Coupez le moteur et retirez la clé.
-
Levez les bras de chargeuse et installez les dispositifs de blocage de vérins.
-
Déposez le couvercle avant; voir Dépose du couvercle avant
-
Placez un bac de vidange sous le filtre avant et remplacez le filtre (Figure 75).

-
Essuyez le liquide éventuellement répandu.
-
Ouvrez le capot d'accès arrière; voir Ouverture du couvercle d'accès arrière.
-
Déposez le panneau de protection arrière; voir Dépose du panneau de protection arrière.
-
Placez un bac de vidange sous le filtre arrière et remplacez le filtre (Figure 76).

-
Essuyez le liquide éventuellement répandu.
-
Mettez le moteur en marche et laissez-le tourner environ 2 minutes pour purger l'air du circuit.
-
Coupez le moteur et recherchez des fuites éventuelles.
-
Vérifiez le niveau de liquide dans le réservoir hydraulique (voir Contrôle du niveau de liquide hydraulique) et faites l'appoint pour amener le niveau au repère sur la jauge.
Important: Ne remplissez pas excessivement le réservoir de carburant.
-
Reposez le couvercle avant.
-
Installez le panneau de protection arrière et fixez-le en place en serrant les boutons et les boulons.
-
Refermez le capot d'accès arrière et sécurisez-le avec la fixation.
-
Retirez et rangez les dispositifs de blocage des vérins, puis abaissez les bras de chargeuse.
Vidange du liquide hydraulique
-
Garez la machine sur une surface plane et horizontale.
-
Levez les bras de chargeuse et installez les dispositifs de blocage de vérins.
-
Coupez le moteur, enlevez la clé de contact et laissez refroidir le moteur.
-
Déposez le couvercle avant; voir Dépose du couvercle avant
-
Enlevez le bouchon et la jauge du réservoir hydraulique (Figure 77).

-
Placer un grand bac de vidange (d'au moins 57 litres [15 gallons US] de capacité) sous le bouchon de vidange à l'avant de la machine (Figure 78).

-
Retirez le bouchon de vidange pour permettre à l'huile de s'écouler dans le bac de vidange (Figure 78).
-
Remettez et serrez le bouchon quand la vidange est terminée.
Note: Débarrassez-vous de l'huile usagée dans un centre de recyclage agréé.
-
Remplissez le réservoir de liquide hydraulique; voir Spécifications du liquide hydraulique.
-
Démarrez le moteur et laissez-le tourner quelques minutes.
-
Coupez le moteur et retirez la clé.
-
Contrôlez le niveau de liquide hydraulique et faites l'appoint au besoin; voir Contrôle du niveau de liquide hydraulique.
-
Reposez le couvercle avant.
Entretien de la chargeuse
Serrage des vis de réglage des bras de la chargeuse
| Périodicité d'entretien | Procédure d'entretien |
|---|---|
| Toutes les 25 heures |
|
Contrôlez le serrage chaque fois que les bras inférieurs cliquettent.
-
Garez la machine sur une surface plane et horizontale.
-
Coupez le moteur, enlevez la clé de contact et laissez refroidir le moteur.
-
Sur chaque bras de la chargeuse, desserrez la vis de maintien sur les 4 vis de réglage (Figure 79).

-
Serrez les vis de réglage à 27 N·m (20 pi-lb).
-
Vérifiez que les vis de réglage dépassent de la même longueur de chaque côté des bras.
-
Appliquez du frein-filet moyenne résistance sur les vis de maintien et serrez-les jusqu'à ce qu'elles touchent à peine les vis de réglage.
Important: Ne serrez pas excessivement les vis de maintien au risque d'endommager le filetage des vis de réglage.
Nettoyage
Nettoyage
| Périodicité d'entretien | Procédure d'entretien |
|---|---|
| À chaque utilisation ou une fois par jour |
|
Important: Le moteur peut surchauffer et être endommagé si vous utilisez la machine alors que les déflecteurs sont obstrués et/ou les carénages de refroidissement sont déposés.
-
Garez la machine sur une surface plane et horizontale et abaissez les bras de chargeuse.
-
Coupez le moteur, enlevez la clé de contact et laissez refroidir le moteur.
-
Ouvrez le capot et bloquez-le en position avec la béquille.
-
Enlevez les débris éventuellement accumulés sur les déflecteurs avant et latéraux.
-
Essuyez le filtre à air pour enlever les débris.
-
À l'aide d'une brosse ou d'air comprimé, enlevez les débris accumulés sur le moteur et les ailettes du refroidisseur d'huile.
Important: Le moteur peut surchauffer et être endommagé si vous utilisez la machine alors que les déflecteurs sont obstrués et/ou les carénages de refroidissement sont déposés.
-
Enlevez les débris déposés sur l'ouverture du capot, le silencieux, les écrans pare-chaleur et la grille du radiateur (le cas échéant).
-
Fermez le capot.
Nettoyage du châssis
| Périodicité d'entretien | Procédure d'entretien |
|---|---|
| Toutes les 100 heures |
|
Avec le temps, le châssis s'encrasse sous le moteur et doit être nettoyé. Pour cette raison, ouvrez régulièrement le capot et inspectez la zone au-dessous du moteur à l'aide d'une torche électrique. Si des débris sont déposés sur plus de 2,5 à 5 cm (1 à 2 po) d'épaisseur, nettoyez le châssis.
-
Garez la machine sur une surface plane et horizontale et abaissez les bras de chargeuse.
-
Soulevez l'avant de la machine pour l'incliner en arrière.
-
Coupez le moteur et retirez la clé.
-
Déposez la plaque inférieure; voir Dépose de la plaque inférieure.
-
Déposez l'ensemble couvercle avant; voir Dépose de l'ensemble couvercle avant
-
Pulvérisez de l'eau dans le châssis pour nettoyer la saleté et les débris.
Note: L'eau s'écoulera à l'arrière de la machine.
Important: Ne pulvérisez pas d'eau dans le moteur.
-
Graissez la machine; voir Graissage de la machine.
-
Posez la plaque inférieure (Figure 37).
-
Posez l'ensemble couvercle avant.
-
Abaissez la machine.


) et la mention Prudence,
Attention ou Danger. Le non respect de ces instructions peut entraîner
des blessures graves voire mortelles.
















































































