Il prodotto è conforme a tutte le direttive europee pertinenti. Per maggiori dettagli, consultare la Dichiarazione di incorporazione sul retro della presente pubblicazione.

Note: Stabilite i lati sinistro e destro della macchina dalla normale posizione di guida.

Preparazione

Preparazione della macchina

  1. Parcheggiate la macchina su terreno pianeggiante.

  2. Abbassate gli attrezzi.

  3. Inserite il freno di stazionamento.

  4. Spegnete il motore e togliete la chiave.

Rimozione delle coperture

  1. Sollevate la parte posteriore della macchina e collocate i martinetti sotto i telai di sostegno del motore sulla ruota posteriore.

  2. Rimuovete la ruota posteriore destra.

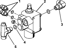
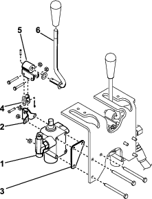
  3. Rimuovete le 4 rondelle e i bulloni di fissaggio del quadro di comando sulla consolle (Figura 1).

  4. Scollegate il cavo dal contaore.

  5. Rimuovete il quadro di comando (Figura 1).

  6. Rimuovete i 3 bulloni di fissaggio della consolle al telaio (Figura 1). Rimuovete la consolle sollevando delicatamente il bordo inferiore della consolle attorno alla staffa di supporto e facendola scorrere verso l’alto oltre la maniglia del freno.

    g003660
  7. Rimuovete i 4 bulloni che bloccano la copertura della ruota destra al telaio e rimuovete la copertura (Figura 2).

    g003661
  8. Scollegate e rimuovete la copertura centrale dal telaio (Figura 3).

    g003662

Preparazione all’installazione dei componenti idraulici

Parti necessarie per questa operazione:

Coperchietto di montaggio1
O-ring(ORFS-6)2
O-ring(ORB-6)1
  1. Localizzate il tubo idraulico che va dal radiatore dell’olio alla valvola di sollevamento esistente (Figura 4).

  2. Rimuovete i dispositivi di fissaggio e il morsetto dei tubi che fissa i tubi idraulici al telaio.

  3. Scollegate e rimuovete il tubo idraulico dal radiatore dell’olio e dalla valvola di sollevamento (Figura 4 e Figura 6).

    Note: Potrete eliminare questo tubo idraulico.

    Note: Per ridurre al minimo la perdita d’olio durante la rimozione del tubo idraulico, tenete pronto il flessibile di ricambio o chiudete il raccordo sul radiatore utilizzando uno dei tappi protettivi rimossi dal gruppo tubo, n. cat. 108-8447 (Figura 20).

    g003671
  4. Fissate il tubo idraulico rimanente al telaio con il morsetto e i dispositivi di fissaggio precedentemente rimossi.

  5. Se state installando questo kit su una macchina modello 08745, fate quanto segue:

    1. Rimuovete i 3 bulloni e i dadi che fissano la valvola di sollevamento esistente al telaio, e separatela dal telaio per consentire la rimozione del raccordo a T (340-94) come illustrato nella Figura 5.

    2. Scollegate il tubo idraulico (108-8415) dal raccordo a 90° (340-77) sul lato sinistro della valvola di sollevamento esistente.

    3. Scollegate il flessibile idraulico (144-1367) dal raccordo a T (340-94) come illustrato nella Figura 6.

    4. Allentate il raccordo a T (340-94) sul lato destro della valvola di sollevamento esistente.

    5. Rimuovete il raccordo a T (340-94) dalla valvola esistente e conservatelo per la successiva installazione.

      g362552
      g362543
    6. Sostituite gli O-ring del raccordo a T con dei nuovi O-ring, come illustrato nella Figura 7.

      g527544

Installazione della valvola di sollevamento

Solo per il modello 08705

Parti necessarie per questa operazione:

Raccordo idraulico diritto con O-ring2
Raccordo idraulico a 90° con O-ring2
Valvola di sollevamento1
Piastra valvola1
Bullone (¼" x 3")3
Dado di bloccaggio (¼")3
Bullone (n. 10 x 1¼")2
Dado di bloccaggio (n. 10)2
Leva di sollevamento1
  1. Infilate entrambi i raccordi a 90° e i 2 raccordi idraulici diritti nella nuova valvola di sollevamento come illustrato nella Figura 8.

    Important: Non serrate i raccordi a 90° in questa fase. Assicuratevi che tutti gli O-ring siano lubrificati e posizionati correttamente sui raccordi prima dell’installazione.

    g003663
  2. Montate il gruppo valvola, la staffa orientabile e la piastra della valvola sul telaio con 3 bulloni (¼" x 3") e 3 dadi di bloccaggio (Figura 9). Durante il montaggio posizionate la piastra della valvola sulla parte anteriore del longherone del telaio e serrate i dispositivi di fissaggio a una coppia compresa tra 10 e 12 N·m.

    Note: L’installazione della valvola è molto simile a quella della valvola esistente già installata.

  3. Senza stringere eccessivamente, montate il gruppo leva del perno sulla bobina della valvola e sulla maglia falsa con 2 bulloni (#10 x 1¼") e 2 dadi di bloccaggio (Figura 9).

    Note: Non serrate i fermi in questa fase.

    Note: Montate la maglia falsa sul foro posteriore del perno.

    g516725

Installazione della valvola di sollevamento

Solo per il modello 08745

Parti necessarie per questa operazione:

Raccordo idraulico diritto con O-ring2
Raccordo idraulico a 90° con O-ring2
Valvola di sollevamento1
Piastra valvola1
Bullone (¼" x 3")3
Dado di bloccaggio (¼")3
Bullone (n. 10 x 1¼")2
Dado di bloccaggio (n. 10)2
Leva di sollevamento1
  1. Infilate un raccordo a 90° nella valvola di sollevamento esistente laddove era stato rimosso il raccordo a T.

    Important: Serrate solo i raccordi diritti in questa fase. Assicuratevi che tutti gli O-ring siano lubrificati e posizionati correttamente sui raccordi prima dell’installazione.

    g527545
  2. Installate la valvola di sollevamento esistente con la bulloneria rimossa in precedenza e serrate i dispositivi di fissaggio a una coppia compresa tra 10 e 12 N·m.

  3. Infilate un raccordo a 90°, i 2 raccordi idraulici diritti e il raccordo a T rimosso dalla valvola esistente Preparazione all’installazione dei componenti idraulici nella nuova valvola di sollevamento come illustrato nella Figura 10.

    Important: Assicuratevi che tutti gli O-ring del raccordo a T vengano sostituiti con dei nuovi O-ring, come illustrato nella Preparazione all’installazione dei componenti idraulici.

  4. Montate il gruppo valvola, la staffa orientabile e la piastra della valvola sul telaio con 3 bulloni (¼" x 3") e 3 dadi di bloccaggio (Figura 11). Durante il montaggio posizionate la piastra della valvola sulla parte anteriore del longherone del telaio e serrate i dispositivi di fissaggio a una coppia compresa tra 10 e 12 N·m.

    Note: L’installazione della valvola è molto simile alla valvola attualmente installata.

  5. Senza stringere eccessivamente, montate il gruppo leva del perno sulla bobina della valvola e sulla maglia falsa con 2 bulloni (#10 x 1¼") e 2 dadi di bloccaggio (Figura 11).

    Note: Non serrate i fermi in questa fase.

    Note: Montate la maglia falsa sul foro posteriore del perno.

    g516724

Installazione delle piastre dell’aratro

Parti necessarie per questa operazione:

Piastra aratro destra1
Piastra aratro sinistra1
Bullone (½" x 2")4
Dado di bloccaggio (½")4
Staffa telaio attacco di traino1
Bullone (½ x 1¾")2
  1. Montate la piastra dell’aratro destra senza stringere sul lato destro della forcella con 2 bulloni (½" x 2") e dadi di bloccaggio come indicato nella Figura 12.

    Note: Non serrate i dispositivi di fissaggio in questa fase.

  2. Ripetete la procedura anche per la piastra dell’aratro sinistra (Figura 12).

  3. Sollevate con un martinetto la parte anteriore della macchina fino a staccare la ruota anteriore dal terreno.

  4. Rimuovete ed eliminate i 2 bulloni che fissano la parte anteriore del perno dello sterzo sulla parte superiore della forcella (Figura 12).

  5. Utilizzate la forcella e i fori di montaggio del perno dello sterzo per montare la staffa del telaio dell’attacco di traino alla parte inferiore della forcella con 2 bulloni (½" x 1¾"); fate riferimento alla Figura 12.

    Note: Potrebbe essere necessario sgonfiare parzialmente lo pneumatico per guadagnare spazio. Il flessibile idraulico del motore della ruota non deve poggiare sull’estremità superiore della staffa del telaio dell’attacco di traino.

    g003665

Installazione dei bracci di spinta e del telaio dell’attacco di traino

Parti necessarie per questa operazione:

Telaio dell’attacco di traino 1
Bullone (3/8" x 2")2
Dado (ā…œ")2
Vite a testa cilindrica (3/8" x 1½")2
Dado di bloccaggio (ā…œ")2
Perno cilindrico2
Pezzo di connessione1
Tubo del braccio di spinta1
Gruppo perno2
Vite autofilettante2
Bullone (5/8" x 1½")2
Rondella (1,68" diametro esterno x 0,65" diametro interno)2
Tubo1
Perno con testa1
Coppiglia1
  1. Abbassate la macchina in modo che la ruota anteriore appoggi sul terreno.

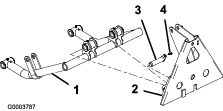
  2. Fissate il tubo del braccio di spinta alla piastra dell'adattatore con 2 gruppi perno e fissate questi gruppi alle piastre dell'adattatore con 2 viti autofilettanti.

    Note: Collocate i componenti come illustrato nella Figura 13.

    g003787
  3. Inserite un perno cilindrico in ciascun tubo del braccio di spinta come indicato nella Figura 14.

  4. Inserite i tubi del braccio di spinta sulle piastre di destra e sinistra allineando le guide del perno cilindrico con i fori delle piastre dell’aratro (Figura 14).

    Note: Qualora non sia possibile far passare i tubi del braccio di spinta attorno alle piastre dell’aratro, allentate i dadi di fissaggio delle piastre dell’aratro sulla forcella.

  5. Montate i perni cilindrici sulle piastre dell’aratro con un bullone (5/8" x 1½) e una rondella (1,68" diam. est. x 0,65" diam. int.) come indicato nella Figura 14.

    Note: Serrate i bulloni a 203 N·m.

    g003666
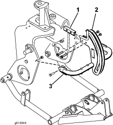
  6. Montate la parte superiore del telaio dell’attacco di traino sulla rispettiva staffa con 2 bulloni (3/8" x 2") e dadi (Figura 15).

  7. Montate i tubi del telaio dell’attacco di traino sulle piastre dell’aratro con bulloni (3/8" x 1½") e dadi (Figura 15), poi serrate i dispositivi di fissaggio.

    g018349
  8. Fissate l’adattatore del telaio al telaio dell’attacco di traino con un tubo, un perno con testa e una coppiglia (Figura 16).

    g018307
    g028340

    Important: Accertatevi che i flessibili preesistenti siano disposti sopra la guida, come illustrato nella Figura 17.

Installazione del cilindro idraulico

Parti necessarie per questa operazione:

Raccordo idraulico a 45° con O-ring1
Cilindro idraulico1
Raccordo idraulico a 90° con O-ring1
Anello di ritenuta piccolo1
Spina1
Anello di ritenuta grande2
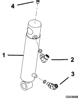
  1. Infilate un raccordo a 90° nell’apertura superiore del cilindro idraulico. Collocate il raccordo come illustrato nella Figura 18.

    Note: Assicuratevi che tutti gli O-ring siano lubrificati e posizionati correttamente sui raccordi prima del montaggio.

    Note: Per evitare la contaminazione dei raccordi o dei tubi idraulici, non rimuovete i tappi dai raccordi o dai tubi prima che siano installati.

  2. Infilate un raccordo a 45° nell’apertura inferiore del cilindro idraulico. Collocate il raccordo come illustrato nella Figura 18.

    g003669
  3. Montate l’estremità superiore della canna del cilindro idraulico sul perno della piastra destra dell'aratro con un anello di ritenuta (Figura 19).

    Note: Collocate le aperture del cilindro idraulico in avanti.

    g028342
  4. Montate l’asta del cilindro sulle cinghie del braccio di spinta con un perno e 2 anelli di ritenuta (Figura 19).

Installazione dei flessibili idraulici

Solo per il modello 08705

Parti necessarie per questa operazione:

Gruppo tubi1
Flessibile idraulico (N. cat. 108-8449)1
Flessibile idraulico (n. cat. 108-8453)1
Flessibile idraulico (n. cat. 108-8454)1
Supporto tubo1
Vite autofilettante (5/16" x ¾")2
Fascetta per cavi in plastica3
O-ring(ORFS-6)1
O-ring(ORFS-8)1
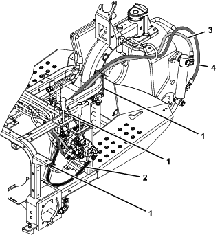
  1. Collegate il gruppo tubi (n. cat. 108-8447) al raccordo a 90° sul lato sinistro della nuova valvola e il raccordo vuoto sulla valvola di sollevamento esistente (Figura 20).

    Important: Sostituite l'O-ring tra il gruppo tubi e la valvola esistente con un nuovo O-ring (ORFS-6).

  2. Collegate l’estremità del raccordo a 45° del flessibile idraulico (n. cat. 108-8449) al raccordo a 90° sul lato destro della valvola e l’estremità diritta del flessibile al raccordo del radiatore dell’olio vuoto (Figura 20). Ved. Figura 21 e Figura 22 per la posa dei tubi.

    Important: Sostituite l'O-ring tra il raccordo diritto e il raccordo del radiatore dell'olio vuoto con un nuovo O-ring (ORFS-8).

  3. Montate il supporto del tubo sul tubo del telaio sinistro con 2 viti autofilettanti (5/16” x ¾”); fate riferimento a Figura 20.

  4. Collegate l’estremità corta del raccordo a 90° del flessibile idraulico (n. cat. 108-8453) al raccordo diritto superiore sul retro della valvola. Posate il tubo facendolo passare attraverso il supporto e collegate l’estremità diritta del flessibile al raccordo del cilindro idraulico superiore (Figura 20). Ved. Figura 21 e Figura 22 per la posa dei tubi.

  5. Collegate l’estremità lunga del raccordo a 90° del flessibile idraulico (n. cat. 108-8454) al raccordo diritto inferiore sul retro della valvola. Posate il tubo facendolo passare attraverso il supporto e collegate l’estremità diritta del flessibile al raccordo del cilindro idraulico inferiore (Figura 20). Ved. Figura 21 e Figura 22 per la posa dei tubi.

    Important: Accertatevi che i flessibili siano posati lontano da componenti appuntiti, caldi o mobili.

  6. Serrate tutti i dispositivi di fissaggio e i raccordi.

  7. Utilizzate fascette per cavi per fissare i flessibili alla macchina nei punti indicati nella Figura 21 e Figura 22.

    g527878
    g218466
    g218467

Installazione dei flessibili idraulici

Solo per il modello 08745

Parti necessarie per questa operazione:

Gruppo tubi1
Flessibile idraulico (N. cat. 108-8449)1
Flessibile idraulico (n. cat. 108-8453)1
Flessibile idraulico (n. cat. 108-8454)1
Supporto tubo1
Vite autofilettante (5/16" x ¾")2
Fascetta per cavi in plastica3
O-ring(ORFS-6)1
O-ring(ORFS-8)1
  1. Collegate il gruppo tubi (n. cat. 108-8447) al raccordo a 90° sul lato sinistro della nuova valvola e il raccordo a 90° recentemente installato sulla valvola di sollevamento esistente (Figura 23).

    Important: Sostituite l'O-ring tra il gruppo tubi e la valvola esistente con un nuovo O-ring (ORFS-6).

  2. Collegate il raccordo a T con l’estremità a 45° del flessibile idraulico (n. cat. 108-8449) al lato aperto del raccordo a T sul lato destro della valvola e l’estremità diritta del flessibile al raccordo del radiatore dell’olio vuoto (Figura 23). Ved. Figura 24 e Figura 25 per la posa dei tubi.

    Important: Sostituite l'O-ring tra il raccordo diritto e il raccordo del radiatore dell'olio vuoto con un nuovo O-ring (ORFS-8).

  3. Montate il supporto del tubo sul tubo del telaio sinistro con 2 viti autofilettanti (5/16” x ¾”); fate riferimento a Figura 23.

  4. Collegate l’estremità corta del raccordo a 90° del flessibile idraulico (n. cat. 108-8453) al raccordo diritto superiore sul retro della valvola. Posate il tubo facendolo passare attraverso il supporto e collegate l’estremità diritta del flessibile al raccordo del cilindro idraulico superiore (Figura 23). Ved. Figura 24 e Figura 25 per la posa dei tubi.

  5. Collegate l’estremità lunga del raccordo a 90° del flessibile idraulico (n. cat. 108-8454) al raccordo diritto inferiore sul retro della valvola. Posate il tubo facendolo passare attraverso il supporto e collegate l’estremità diritta del flessibile al raccordo del cilindro idraulico inferiore (Figura 23). Ved. Figura 24 e Figura 25 per la posa dei tubi.

  6. Collegate il flessibile idraulico (n. cat. 144-1367) sulla parte superiore del raccordo a T recentemente installato (n. cat. 340-94) sul lato destro della nuova valvola di sollevamento.

    Important: Sostituite l'O-ring tra il gruppo tubi e la valvola esistente con un nuovo O-ring (ORFS-6).

    Important: Assicuratevi che tutti gli O-ring del raccordo a T vengano sostituiti con dei nuovi O-ring, come illustrato nella Preparazione all’installazione dei componenti idraulici.

    Important: Accertatevi che i flessibili siano posati lontano da componenti appuntiti, caldi o mobili.

  7. Serrate tutti i dispositivi di fissaggio e i raccordi.

  8. Utilizzate fascette per cavi per fissare i flessibili alla macchina nei punti indicati nella Figura 24 e Figura 25.

    g527910
    g218466
    g362591

Installazione del quadro di comando e della piastra di guida della leva

Parti necessarie per questa operazione:

Piastra di guida della leva1
Vite a testa flangiata2
Rondella2
Adesivo quadro di comando1
Quadro di comando1
Manopola1
Fascetta per cavi in plastica3
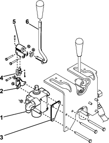
  1. Inserite la piastra di guida della leva sulla leva di sollevamento e fissatela al telaio senza stringere eccessivamente con 2 viti a testa flangiata e rondelle (Figura 26).

    g003675
  2. Controllate il livello del fluido idraulico e rabboccate secondo necessità.

    Avvertenza

    Se il fluido idraulico fuoriesce sotto pressione, può penetrare la pelle e causare infortuni.

    • Se il fluido idraulico penetra accidentalmente nella pelle è necessario farlo asportare entro poche ore da un medico che abbia dimestichezza con questo tipo di infortunio, diversamente subentrerà la cancrena.

    • Tenete corpo e mani lontano da perdite filiformi o da ugelli che eiettano fluido idraulico pressurizzato.

    • Usate cartone o carta per cercare le perdite di fluido idraulico.

    • Eliminate con sicurezza la pressione dall'intero impianto idraulico prima di eseguire qualsiasi intervento sull'impianto.

    • Assicuratevi che tutti i flessibili e i tubi del fluido idraulico siano in buone condizioni e che tutti i collegamenti e i raccordi idraulici siano serrati prima di mettere l'impianto idraulico sotto pressione.

  3. Avviate il motore del trattore e controllate i raccordi.

  4. Montate la copertura della ruota, la copertura centrale e la consolle.

    Note: Non installate il quadro di comando in questa fase. Accertatevi che le coperture non interferiscano con i flessibili. Posate i flessibili secondo necessità. Eseguite la procedura di installazione della copertura della fase 1 al contrario.

  5. Installate la ruota posteriore e rimuovete i blocchi dalla parte inferiore del retro della macchina.

  6. Serrate i dadi ad alette applicando una coppia compresa tra 61 e 75 Nāˆ™m.

  7. Mentre il motore gira e la leva di sollevamento si trova in posizione di Flottazione, spostate la piastra di guida della leva finché non è possibile estendere e retrarre a mano il cilindro di sollevamento (Figura 26).

    Avvertenza

    Il motore deve girare per consentire la messa a punto finale della regolazione della piastra di fermo della leva di sollevamento. Il contatto con parti in movimento o superfici calde può causare infortuni.

    Tenete mani, piedi, viso ed altre parti del corpo lontano da parti in movimento, marmitta ed altre superfici calde.

  8. Serrate entrambe le viti di montaggio della piastra di guida della leva di sollevamento per mantenere la regolazione (Figura 26).

  9. Rimuovete il contaore dal vecchio quadro di comando e installatelo nel nuovo quadro di comando.

  10. Installate il nuovo quadro di comando e inserite il cavo nel contaore.

  11. Fissate il quadro di comando in posizione con i dispositivi di fissaggio precedentemente rimossi (Figura 27).

    g003676
  12. Installate la manopola sulla leva di sollevamento (Figura 27).

  13. Ingrassate il telaio di sollevamento anteriore; fate riferimento a Ingrassaggio del telaio di sollevamento

  14. Controllate il livello del fluido idraulico e rabboccate secondo necessità.

Consultazione/conservazione della documentazione

Parti necessarie per questa operazione:

Manuale dell'operatore1
  1. Leggete la documentazione.

  2. Conservate i documenti in un luogo sicuro.

Funzionamento

Specifiche

Peso netto38,5 kg

Attrezzi/accessori

È disponibile una gamma di attrezzi ed accessori approvati da Toro per l'impiego con la macchina, per ottimizzare ed ampliare le sue applicazioni. Richiedete la lista degli attrezzi ed accessori approvati ad un Centro Assistenza Toro o ad un Distributore, oppure visitate www.Toro.com.

Suggerimenti

  • Il telaio di sollevamento anteriore è ideato in modo da essere compatibile solo con certi tipi di accessori. Non tentate di montare un accessorio per il montaggio posteriore nel telaio di sollevamento anteriore, poiché si possono provocare danni alla macchina.

  • Per abbassare il telaio di sollevamento anteriore, spingete in avanti la leva di sollevamento.

  • Per consentire la flottazione del telaio di sollevamento anteriore, spingete la leva di sollevamento in avanti e lateralmente nel fermo.

  • Per sollevare il telaio di sollevamento anteriore, tirate la leva di sollevamento indietro.

  • Acquisite familiarità con il corretto funzionamento dell’apparecchiatura, dei comandi dell’operatore e degli adesivi di sicurezza.

  • Tenete mani e piedi distanti dalle parti mobili e dalle superfici calde.

Manutenzione

Note: Per avere uno schema elettrico o uno schema idraulico della vostra macchina, visitate il sito www.toro.com.

Ingrassaggio del telaio di sollevamento

Il telaio di sollevamento anteriore è dotato di 5 raccordi per ingrassaggio (Figura 28) che devono essere lubrificati a intervalli regolari con grasso universale n. 2 al litio. Se utilizzate la macchina in condizioni normali, lubrificate tutti i cuscinetti e le boccole ogni 100 ore di servizio. Lubrificate cuscinetti e boccole immediatamente dopo ogni lavaggio, a prescindere dalla cadenza indicata.

g003677