| Intervalo de mantenimiento y servicio | Procedimiento de mantenimiento |
|---|---|
| Cada vez que se utilice o diariamente |
|
Este cortacésped dirigido de cuchillas rotativas está diseñado para ser usado por usuarios domésticos o por operadores profesionales contratados. Está diseñado principalmente para segar césped bien mantenido en zonas verdes residenciales o comerciales. No está diseñado para cortar maleza o para aplicaciones agrícolas.
Lea este manual detenidamente para aprender a utilizar y mantener correctamente su producto, y para evitar lesiones y daños al producto. Usted es el responsable de utilizar el producto de forma correcta y segura.
Usted puede ponerse en contacto directamente con Toro en www.Toro.com si desea información sobre productos y accesorios, o si necesita localizar un distribuidor o registrar su producto.
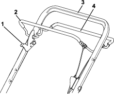
Cuando necesite asistencia técnica, piezas genuinas Toro o información adicional, póngase en contacto con un Servicio Técnico Autorizado o con Asistencia al Cliente Toro, y tenga a mano los números de modelo y serie de su producto. Figura 1 identifica la ubicación de los números de modelo y serie en el producto. Escriba los números en el espacio provisto.
Important: Con su dispositivo móvil, puede escanear el código QR de la pegatina del número de serie (en su caso) para acceder a información sobre la garantía, las piezas, y otra información sobre el producto.

Este manual identifica peligros potenciales y contiene mensajes de seguridad identificados por el símbolo de alerta de seguridad (Figura 2), que señala un peligro que puede causar lesiones graves o la muerte si usted no sigue las precauciones recomendadas.

Este manual utiliza 2 palabras para resaltar información. Importante llama la atención sobre información mecánica especial, y Nota resalta información general que merece una atención especial.
El uso o la operación del motor en cualquier terreno forestal, de monte o cubierto de hierba a menos que el motor esté equipado con parachispas (conforme a la definición de la sección 4442) mantenido en buenas condiciones de funcionamiento, o que el motor haya sido fabricado, equipado y mantenido para la prevención de incendios, constituye una infracción de la legislación de California (California Public Resource Code Section 4442 o 4443).
El manual del propietario del motor adjunto ofrece información sobre las normas de la Agencia de protección ambiental de EUA (U.S. Environmental Protection Agency/EPA) y de la Norma de control de emisiones de California (California Emission Control Regulation) sobre sistemas de emisiones, mantenimiento y garantía. Puede solicitarse un manual nuevo al fabricante del motor.
Par bruto o neto: el par bruto o neto de este motor fue calculada por el fabricante del motor con arreglo a lo estipulado en el documento J1940 o J2723 de la Society of Automotive Engineers (Sociedad de Ingenieros del Automóvil – SAE). Debido a que el motor está configurado para cumplir los requisitos de seguridad, emisiones y operación, su potencia real en este tipo de cortacésped será significativamente menor. Consulte la información del fabricante del motor incluida con la máquina.
CALIFORNIA
Advertencia de la Propuesta 65
Los gases de escape de este producto contienen productos químicos que el Estado de California sabe que causan cáncer, defectos congénitos u otros peligros para la reproducción.
El uso de este producto puede provocar la exposición a sustancias químicas que el Estado de California considera causantes de cáncer, defectos congénitos u otros trastornos del sistema reproductor.
Este producto es capaz de amputar manos y pies y de lanzar objetos al aire. Siga siempre todas las instrucciones de seguridad con el fin de evitar lesiones personales graves o la muerte.
Antes de arrancar el motor, lea, comprenda y siga las instrucciones y advertencias de este Manual del operador y las que están colocadas en la máquina y en los accesorios.
No coloque las manos o los pies cerca de piezas móviles o debajo de la máquina. No se acerque a los orificios de descarga.
No haga funcionar la máquina si no están colocados y funcionando todos los protectores y dispositivos de seguridad de la máquina.
Mantenga a transeúntes y niños alejados de la zona de trabajo. No permita que la máquina sea utilizada por niños. Sólo permita que manejen la máquina personas responsables, formadas, familiarizadas con las instrucciones y físicamente capaces de utilizar la máquina.
Pare la máquina, apague el motor y espere a que se detengan todas las piezas en movimiento antes de realizar tareas de mantenimiento, repostar o eliminar obstrucciones en la máquina.
El uso o mantenimiento incorrecto de esta máquina puede
causar lesiones. Para reducir el peligro de lesiones, cumpla estas
instrucciones de seguridad y preste atención siempre al símbolo
de alerta de seguridad
, que significa: Cuidado, Advertencia o Peligro
– instrucción relativa a la seguridad personal. El incumplimiento
de estas instrucciones puede dar lugar a lesiones personales o la
muerte.
![]() |
Las pegatinas de seguridad e instrucciones están a la vista del operador y están ubicadas cerca de cualquier zona de peligro potencial. Sustituya cualquier pegatina que esté dañada o que falte. |







Important: Retire y deseche la hoja protectora de plástico que cubre el motor, y cualquier otro plástico o envoltura de la máquina.



Important: Si el nivel de aceite del motor es demasiado bajo o demasiado alto y usted arranca el motor, puede dañar el motor.


Important: Es necesario ajustar el cable del sistema de autopropulsión antes de usar la máquina por primera vez. Consulte Ajuste de la transmisión autopropulsada.



| Modelo | Peso | Longitud | Anchura | Altura |
| 22298 | 56 kg | 155 cm | 56 cm | 94 cm |
| (124 libras) | (61") | (22") | (37") |
Está disponible una selección de aperos y accesorios homologados por Toro que pueden utilizarse con la máquina a fin de potenciar y aumentar sus prestaciones. Póngase en contacto con su Servicio Técnico Autorizado o distribuidor autorizado Toro o visite www.Toro.com para obtener una lista de todos los aperos y accesorios homologados.
Para asegurar un rendimiento óptimo y mantener la certificación de seguridad de la máquina, utilice solamente piezas y accesorios genuinos Toro. Las piezas de recambio y accesorios de otros fabricantes podrían ser peligrosos, y su uso podría invalidar la garantía del producto.
Note: Los lados derecho e izquierdo de la máquina se determinan desde la posición normal del operador.
Siempre apague la máquina, espere a que se detengan todas las piezas en movimiento, y deje que la máquina se enfríe antes de hacer trabajos de ajuste, revisión, limpieza o almacenamiento.
Familiarícese con la operación segura del equipo, los controles del operador y las señales de seguridad.
Compruebe que todos los protectores y dispositivos de seguridad, como por ejemplo deflectores y/o recogedores, están colocados y que funcionan correctamente.
Inspeccione siempre la máquina para asegurarse de que las cuchillas y los pernos de las cuchillas no están desgastados o dañados.
Inspeccione el área donde se va a utilizar la máquina, y retire cualquier objeto que pudiera interferir con el funcionamiento de la máquina o que pudiera ser arrojado por la máquina.
Un contacto con la cuchilla en movimiento causará lesiones graves. No ponga los dedos debajo de la carcasa.
El combustible es extremadamente inflamable y altamente explosivo. Un incendio o una explosión provocados por el combustible puede causarle quemaduras a usted y a otras personas así como daños materiales.
Para evitar que una carga estática incendie el combustible, coloque el recipiente y/o la máquina directamente sobre el suelo antes de repostar, no en un vehículo o sobre otro objeto.
Llene el depósito de combustible en el exterior, en una zona abierta y con el motor frío. Limpie cualquier combustible derramado.
No maneje combustible si está fumando, ni cerca de una llama desnuda o chispas.
No retire el tapón de combustible ni añada combustible al depósito si el motor está caliente o en marcha.
Si se derrama combustible, no intente arrancar el motor. Evite crear una fuente de ignición hasta que los vapores del combustible se hayan disipado.
Almacene el combustible en un recipiente homologado y manténgalo fuera del alcance de los niños.
El combustible es dañino o mortal si es ingerido. La exposición a largo plazo a los vapores puede causar lesiones y enfermedades graves.
Evite la respiración prolongada de los vapores.
Mantenga las manos y la cara alejadas de la boquilla y de la abertura del depósito de combustible.
Mantenga alejado el combustible de los ojos y la piel.
La gasolina es altamente inflamable y explosiva. Un incendio o una explosión provocado(a) por la gasolina puede causarle quemaduras a usted y a otras personas.
Para evitar que una carga estática incendie la gasolina, coloque el recipiente y/o la máquina directamente sobre el suelo antes de repostar, no en un vehículo o sobre otro objeto.
Llene el depósito en el exterior cuando el motor esté frío. Limpie cualquier derrame.
No maneje gasolina si está fumando, ni cerca de una llama desnuda o chispas.
Almacene la gasolina en un recipiente homologado y manténgala fuera del alcance de los niños.
Para obtener los mejores resultados, utilice solamente gasolina fresca (comprada hace menos de 30 días), sin plomo, de 87 o más octanos (método de cálculo (R+M)/2).
Son aceptables los combustibles oxigenados con hasta el 10 % de etanol o el 15 % de MTBE por volumen.
Etanol: Es aceptable el uso de gasolina con hasta el 10 % de etanol (gasohol) o el 15 % de MTBE (éter metil tert-butílico) por volumen. El etanol y el MTBE no son lo mismo. No está autorizado el uso de gasolina con el 15 % de etanol (E15) por volumen. No utilice nunca gasolina que contenga más del 10 % de etanol por volumen, como por ejemplo la E15 (contiene el 15 % de etanol), la E20 (contiene el 20 % de etanol) o la E85 (contiene hasta el 85 % de etanol). El uso de gasolina no autorizada puede causar problemas de rendimiento o daños en el motor que pueden no estar cubiertos bajo la garantía.
No utilice gasolina que contenga metanol.
No guarde combustible en el depósito de combustible o en recipientes de combustible durante el invierno a menos que haya añadido un estabilizador.
No añada aceite a la gasolina.
Important: Para reducir los problemas de arranque, agregue estabilizador/acondicionador a combustible fresco, siguiendo las indicaciones del fabricante del estabilizador de combustible.
Note: La capacidad del depósito de combustible es de 3.76 litros (0.99 galón US).

| Intervalo de mantenimiento y servicio | Procedimiento de mantenimiento |
|---|---|
| Cada vez que se utilice o diariamente |
|
Important: Si el nivel de aceite del motor es demasiado bajo o demasiado alto y usted arranca el motor, puede dañar el motor.

Usted puede elevar o bajar el manillar en 1 de 3 posiciones que le sea más cómoda (Figura 13).

Retire los dos pernos del manillar y las tuercas correspondientes.
Mueva el manillar a la altura deseada.
Sujete el manillar con los pernos y las tuercas correspondientes que retiró anteriormente.
Si el motor ha estado en marcha, el silenciador estará muy caliente y puede causarle quemaduras.
Manténgase alejado del silenciador si éste está caliente.
Ajuste la altura de corte según desee. Ajuste las cuatro ruedas a la misma altura de corte (Figura 14).

Lleve ropa adecuada, incluyendo protección ocular, pantalón largo, calzado resistente y antideslizante, y protección auricular. Si tiene el pelo largo, recójaselo, y no lleve joyas o prendas sueltas.
Dedique toda su atención al manejo de la máquina. No realice ninguna actividad que pudiera distraerle; de lo contrario, podrían producirse lesiones o daños materiales.
No utilice la máquina si está enfermo, cansado, o bajo la influencia de alcohol o drogas.
La cuchilla está muy afilada; cualquier contacto con la cuchilla puede causar lesiones personales graves. Pare el motor y espere a que se detengan todas las piezas en movimiento antes de abandonar el puesto del operador.
Cuando suelta la barra de control de la cuchilla, el motor debe pararse y la cuchilla debe detenerse en 3 segundos o menos. Si no, deje de usar la máquina inmediatamente y póngase en contacto con un Servicio Técnico Autorizado.
Mantenga a otras personas fuera de la zona de trabajo. Mantenga a los niños pequeños alejados de la zona de trabajo y bajo la atenta mirada de un adulto responsable que no sea el operador de la máquina. Pare la máquina si alguien entra en la zona.
Antes de desplazar la máquina hacia atrás, mire siempre hacia abajo y hacia atrás.
Utilice la máquina únicamente con buena visibilidad y en condiciones meteorológicas apropiadas. No use la máquina cuando hay riesgo de rayos.
La hierba mojada o las hojas mojadas pueden causarle graves lesiones si usted resbala y toca la cuchilla. Evite segar en condiciones húmedas.
Extreme la precaución al acercarse a esquinas ciegas, arbustos, árboles u otros objetos que puedan taparle la vista.
No dirija el material de descarga hacia nadie. Evite descargar material contra una pared u otra obstrucción; el material podría rebotar hacia usted. Pare la cuchilla o las cuchillas al cruzar superficies de grava.
Esté alerta a agujeros, surcos, montículos, rocas u otros objetos ocultos. Los terrenos irregulares pueden hacer que usted pierda el equilibrio o resbale.
Si la máquina golpea un objeto o empieza a vibrar, apague inmediatamente el motor, espere a que se detengan todas las piezas en movimiento, y desconecte el cable de la bujía antes de examinar la máquina en busca de daños. Haga todas las reparaciones necesarias antes de volver a utilizar la máquina.
Antes de abandonar el puesto del operador, pare el motor y espere a que se detengan todas las piezas en movimiento.
Si el motor ha estado en marcha, estará caliente y puede causarle quemaduras graves. Manténgase alejado del motor caliente.
Haga funcionar el motor únicamente en zonas bien ventiladas. Los gases de escape contienen monóxido de carbono, que es un veneno inodoro y mortal.
Inspeccione frecuentemente los componentes del recogedor y del conducto de descarga para comprobar que no están desgastados o deteriorados, y sustitúyalos con piezas genuinas Toro cuando sea necesario.
Siegue de través las cuestas y pendientes, nunca hacia arriba o hacia abajo. Extreme las precauciones al cambiar de dirección en cuestas o pendientes.
No siegue pendientes y cuestas excesivamente empinadas. Si no pisa firme, puede resbalar y caerse.
Extreme las precauciones al segar cerca de terraplenes, fosas o taludes.
Conecte el cable de la bujía a la bujía.
Abra la válvula de combustible moviendo la palanca de la válvula de combustible a la derecha (Figura 15).

Mueva la palanca de control del acelerador a la posición de ESTáRTER (Figura 16, A).
Note: No utilice el estárter si el motor está caliente.
Tire suavemente del arrancador hasta que note resistencia, luego tire con fuerza (Figura 16, B).
Note: Deje que la cuerda vuelva lentamente a la guía de cuerda del manillar.
Cuando el motor arranque, mueva la palanca de control del acelerador a la posición de RáPIDO (Figura 16, C).

Suelte la barra de control de la cuchilla y mueva la palanca de control del acelerador a la posición de PARADA.
Note: Cierre la válvula de combustible moviendo la palanca de la válvula de combustible (Figura 15) a la izquierda a menos que vaya a volver a arrancar el motor en breve.
La máquina tiene 3 velocidades de avance: 1 (lenta), 2 (media), y 3 (rápida); también tiene una posición de Punto muerto (N). La palanca de autopropulsión está situada debajo y detrás del depósito de combustible (Figura 17).

Mueva la palanca de autopropulsión a la velocidad de avance deseada.
Arranque el motor.
Para activar la transmisión autopropulsada, apriete la barra de autopropulsión (Figura 18).

Note: Puede variar la velocidad de avance aumentando o reduciendo la distancia entre la barra de autopropulsión y el manillar.
Para engranar las cuchillas, siga los siguientes pasos:
Empuje la palanca de bloqueo de la barra de control de las cuchillas hacia adelante para liberar la barra de control de las cuchillas (Figura 19, A).
Tire de la barra de control de las cuchillas hacia el manillar y suelte la palanca de bloqueo de la barra de control de las cuchillas; las cuchillas deben engranarse (Figura 19, A).
Suelte la barra de control de las cuchillas para desengranar las cuchillas (Figura 19, B). La palanca de bloqueo del control de la cuchilla vuelve a su sitio inicial para bloquear la barra de control de la cuchilla.

Compruebe la barra de control de la cuchilla antes de cada uso para asegurarse de que el embrague del freno de la cuchilla funciona correctamente.
Instale la bolsa de recogida vacía en la máquina.
Arranque el motor.
Engrane la cuchilla.
Note: La bolsa debe empezar a inflarse, lo que indica que la cuchilla está engranada y girando.
Suelte la barra de control de la cuchilla.
Note: Si la bolsa no se desinfla inmediatamente, es que la cuchilla sigue girando. El embrague del freno de la cuchilla puede estar deteriorándose, y si esto no se remedia, podría dar lugar a un estado de operación inseguro. Haga revisar y reparar la máquina por un Servicio Técnico Autorizado.
Pare el motor y espere a que se detengan todas las piezas en movimiento.
Lleve la máquina a una superficie pavimentada en una zona que esté al abrigo del viento.
Ajuste las 4 ruedas a la altura de corte de 76 mm (3"); consulte Ajuste de la altura de corte .
Tome media página de periódico y haga una bola con ella que sea lo suficientemente pequeña como para pasar por debajo de la carcasa de la máquina (unos 76 mm [3"] de diámetro).
Coloque la bola de papel de periódico a unos 13 cm (5") por delante de la máquina.
Arranque el motor.
Engrane la cuchilla.
Suelte la barra de control de la cuchilla.
Empuje inmediatamente la máquina por encima de la bola de papel de periódico.
Pare el motor y espere a que se detengan todas las piezas en movimiento.
Vaya a la parte delantera de la máquina y compruebe la bola de papel de periódico.
Note: Si la bola de papel no pasó por debajo de la máquina, repita los pasos 4 a 10.
Note: Si la bola de papel de periódico está deshecha o deshilachada, la cuchilla no se detuvo correctamente, lo cual implica un estado de operación inseguro. Póngase en contacto con el Servicio Técnico Autorizado.
Su máquina viene preparada de fábrica para reciclar los recortes de hierba y hojas y devolverlos al césped. Para preparar la máquina para el reciclado:
Si la bolsa de recogida está instalada en la máquina, retírela (Figura 20, A).
Si el tapón de descarga trasero no está instalado, sujételo por el asa, eleve el deflector trasero e introdúzcalo en el conducto de descarga trasera hasta que el enganche encaje en su sitio (Figura 20, B).

Si se utiliza la máquina para reciclar los recortes de hierba sin tener colocado el tapón, pueden salir despedidos objetos hacia usted o hacia otras personas. También podría producirse un contacto con las cuchillas. Los objetos lanzados o cualquier contacto con la cuchilla pueden causar lesiones graves o la muerte.
Asegúrese de que el tapón de descarga trasera está colocado antes de reciclar los recortes. No engrane nunca las cuchillas sin tener instalado en la máquina el tapón de descarga trasera o el recogedor.
Utilice el recogedor si desea recoger los recortes de hierba y hojas del césped.
Si la bolsa de recogida está desgastada, pueden arrojarse pequeñas piedras y otros residuos similares hacia usted o hacia otras personas, provocando lesiones personales graves o la muerte.
Compruebe frecuentemente la bolsa de recogida. Si está dañada, instale una nueva bolsa de recambio del fabricante.
Las cuchillas están muy afiladas; cualquier contacto con las cuchillas puede causar lesiones personales graves.
Pare el motor y espere a que se detengan todas las piezas en movimiento antes de abandonar el puesto del operador.
Pare el motor y espere a que se detengan todas las piezas en movimiento.
Levante y sujete el deflector trasero (Figura 21, A).
Retire el tapón de descarga trasera presionando el enganche hacia dentro con el dedo pulgar y extrayendo el tapón de la máquina (Figura 21, B y C).
Inserte los extremos de la varilla del recogedor en las muescas de la base del manillar, y mueva el recogedor hacia adelante y hacía atrás para verificar que los extremos de la varilla están asentados en el fondo de cada muesca (Figura 21, D).
Baje el deflector trasero hasta que descanse sobre el recogedor.

La máquina puede arrojar recortes de hierba y otros objetos por cualquier hueco que haya en la carcasa de la máquina. Los objetos arrojados con suficiente fuerza podrían causar lesiones personales graves o la muerte a usted o a otras personas.
No arranque nunca el motor después de retirar la bolsa de recogida, sin tener el tapón de descarga instalado en la máquina.
No abra nunca el deflector trasero de la máquina con el motor en marcha.
Revise las instrucciones de seguridad y lea detenidamente este manual antes de utilizar la máquina.
Despeje la zona de palos, piedras, alambres, ramas y otros residuos que podrían ser golpeados y arrojados por la cuchilla.
Mantenga a todo el mundo, especialmente a niños y animales, alejados de las zonas de trabajo.
Evite golpear árboles, muros, bordillos u otros objetos sólidos. No siegue nunca por encima de objeto alguno.
Si la máquina golpea un objeto o empieza a vibrar, pare inmediatamente el motor, desconecte el cable de la bujía e inspeccione la máquina en busca de daños.
Mantenga la cuchilla afilada durante toda la temporada de siega. De vez en cuanto, elimine las imperfecciones de la cuchilla con una lima.
Sustituya la cuchilla cuando sea preciso con una cuchilla de repuesto del fabricante original.
Evite segar la hierba mojada y las hojas mojadas. La hierba mojada y las hojas mojadas tienden a pegarse al suelo, y pueden atascar la máquina o hacer que se cale el motor.
La hierba mojada o las hojas mojadas pueden causarle graves lesiones si usted resbala y toca la cuchilla.
Siegue solamente en condiciones secas.
Limpie debajo de la máquina después de cada uso; consulte Limpieza de los bajos de la máquina.
Mantenga el motor en buenas condiciones de funcionamiento.
Limpie el filtro de aire con frecuencia. El picado de la hierba hace que se formen nubes de recortes y polvo, que atascan el filtro de aire y reducen el rendimiento del motor.
Ajuste la velocidad del motor a la posición más rápida para conseguir resultados óptimos de corte.
Si se hace funcionar el motor de la máquina a una velocidad mayor que el ajuste de fábrica, la máquina puede arrojar parte de la cuchilla o del motor hacia usted o hacia otras personas, causando lesiones personales graves o la muerte.
No cambie el ajuste de velocidad del motor.
Si usted sospecha que la velocidad del motor es superior a la normal, póngase en contacto con un Servicio Técnico Autorizado.
La hierba crece a velocidades distintas según la estación del año. En el calor del verano, es mejor cortar la hierba usando los ajustes de altura de corte de 64 mm (2½"), 76 mm (3") o 89 mm (3½"). Corte solamente un tercio de la hoja de hierba cada vez. No corte con un ajuste inferior a 64 mm (2½") a menos que la hierba sea escasa, o a finales del otoño cuando el ritmo de crecimiento de la hierba empieza a decaer.
Cuando corte hierba de más de 15 cm (6") de alto, siegue primero usando la altura de corte más alta y camine despacio, luego siegue de nuevo a una altura menor para obtener el mejor aspecto del césped. Si la hierba es demasiado alta y las hojas se amontonan en el césped, pueden atascar la máquina y hacer que se cale el motor.
Alterne la dirección de corte. Esto ayuda a dispersar los recortes en todo el césped, dando una fertilización más homogénea.
Si el aspecto final del césped no es satisfactorio, pruebe con una o más de las técnicas siguientes:
Afilar la cuchilla.
Caminar más despacio mientras siega.
Elevar la altura de corte de la máquina.
Cortar el césped con más frecuencia.
Solapar los pasillos de corte en lugar de cortar un pasillo completo en cada pasada.
Después de segar el césped, asegúrese de que la mitad del césped se ve a través de la cobertura de hojas cortadas. Es posible que tenga que hacer más de una pasada por encima de las hojas.
Para una cobertura de hojas escasa, ajuste todas las ruedas a la misma altura de corte.
Siegue más despacio si la máquina no corta las hojas suficientemente finas.
Siempre apague la máquina, espere a que se detengan todas las piezas en movimiento, y deje que la máquina se enfríe antes de hacer trabajos de ajuste, revisión, limpieza o almacenamiento.
Limpie los recortes de hierba y los residuos de la máquina para ayudar a prevenir incendios. Limpie cualquier aceite o combustible derramado.
No guarde nunca la máquina o un recipiente de combustible cerca de una llama desnuda, chispa o llama piloto, por ejemplo en un calentador de agua u otro electrodoméstico.
Tenga cuidado al cargar o descargar la máquina.
Evite que la máquina ruede.
Cierre la válvula de combustible antes de cargar la máquina para el transporte.
Para asegurar un rendimiento óptimo, mantenga limpia la parte inferior de la máquina. Tenga especial cuidado de mantener libres de residuos los deflectores (Figura 22).

| Intervalo de mantenimiento y servicio | Procedimiento de mantenimiento |
|---|---|
| Después de cada uso |
|
Puede soltarse material de debajo de la máquina.
Lleve protección ocular.
Permanezca en la posición de operación (detrás del manillar) mientras el motor esté en marcha.
No permita la presencia de otras personas en la zona.
Lleve la máquina a una superficie pavimentada nivelada cerca de una manguera de jardín.
Arranque el motor.
Sujete la manguera a la altura del manillar y dirija el agua para que fluya sobre el suelo justo por delante de la rueda trasera derecha (Figura 23).

Note: La cuchilla aspirará agua y expulsará los recortes. Deje correr el agua hasta que no se vean recortes saliendo de debajo de la máquina.
Pare el motor y espere a que se detengan todas las piezas en movimiento.
Cierre el grifo.
Arranque la máquina y déjela funcionar durante unos minutos para secar la parte inferior de la máquina.
Si el lavado no elimina todos los residuos de debajo de la máquina, rásquela hasta que esté limpia.
Desconecte el cable de la bujía (Figura 8).
Drene el combustible del depósito de combustible.
Si inclina la máquina, el combustible puede salir del carburador o del depósito de combustible. El combustible es extremadamente inflamable y altamente explosivo, y bajo ciertas condiciones, puede causar lesiones personales o daños materiales.
Evite los derrames dejando funcionar el motor hasta que no quede combustible, o retirando el combustible con una bomba de mano; nunca utilice un sifón.
Vuelque la máquina hacia su lado derecho (limpiador de aire hacia arriba).
Retire la suciedad y los recortes de hierba con un rascador de madera dura. Evite tocar rebabas y bordes afilados.
Ponga la máquina en la posición normal de trabajo.
Conecte el cable de la bujía.
| Intervalo de mantenimiento y servicio | Procedimiento de mantenimiento |
|---|---|
| Después de las primeras 8 horas |
|
| Después de las primeras 25 horas |
|
| Cada vez que se utilice o diariamente |
|
| Después de cada uso |
|
| Cada 25 horas |
|
| Cada 40 horas |
|
| Cada 50 horas |
|
| Cada 100 horas |
|
| Cada 200 horas |
|
| Cada 300 horas |
|
Important: Consulte en el manual del propietario del motor los procedimientos adicionales de mantenimiento.
Siempre apague la máquina, espere a que se detengan todas las piezas en movimiento, y deje que la máquina se enfríe antes de hacer trabajos de ajuste, revisión, limpieza o almacenamiento.
Desconecte el cable de la bujía antes de realizar cualquier procedimiento de mantenimiento.
Lleve guantes y protección ocular al realizar el mantenimiento de la máquina.
La cuchilla está muy afilada; cualquier contacto con la cuchilla puede causar lesiones personales graves. Lleve guantes al realizar el mantenimiento de la cuchilla. No repare ni cambie la(s) cuchilla(s).
No manipule nunca los dispositivos de seguridad. Compruebe regularmente que funcionan correctamente.
Al volcar la máquina, puede haber fugas de combustible. El combustible es inflamable y explosivo, y puede causar lesiones personales. Deje funcionar el motor hasta que no quede combustible, o retire la gasolina con una bomba de mano; nunca utilice un sifón.
Para asegurar el rendimiento óptimo de la máquina, utilice solamente piezas de recambio y accesorios genuinos de Toro. Las piezas de recambio y accesorios de otros fabricantes podrían ser peligrosos, y su uso podría invalidar la garantía del producto.
| Intervalo de mantenimiento y servicio | Procedimiento de mantenimiento |
|---|---|
| Cada 25 horas |
|
| Cada 300 horas |
|
Important: No haga funcionar el motor sin tener colocado el conjunto de filtro de aire; si no se producirán graves daños en el motor.
Pare el motor y espere a que se detengan todas las piezas en movimiento.
Desconecte el cable de la bujía.
Retire la tapa y límpiela a fondo (Figura 24).

Retire el prefiltro de espuma y el filtro de aire de papel de la base del filtro de aire (Figura 24).
Retire el prefiltro de espuma del filtro de aire de papel, y lave el prefiltro de espuma con detergente suave y agua; luego séquelo apretando con un paño.
Inspeccione el filtro de aire de papel, y cámbielo si está excesivamente sucio.
Important: No intente limpiar el filtro de papel.
Instale el prefiltro de espuma sobre el filtro de aire de papel.
Instale el prefiltro de espuma y el filtro de aire de papel en la base del limpiador de aire.
Coloque la tapa.
| Intervalo de mantenimiento y servicio | Procedimiento de mantenimiento |
|---|---|
| Después de las primeras 8 horas |
|
| Cada 50 horas |
|
Haga funcionar el motor durante unos minutos antes de cambiar el aceite para calentar el aceite. El aceite caliente fluye mejor y transporta más contaminantes.
| Capacidad de aceite del motor | sin filtro de aceite: 0.65 l (22 onzas fluidas); con filtro de aceite: 0.85 l (29 onzas fluidas) |
| Viscosidad del aceite | Aceite detergente SAE 30 o SAE 10W-30 |
| Clasificación API | SJ o superior |
Pare el motor y espere a que se detengan todas las piezas en movimiento.
Desconecte el cable de la bujía.
Drene el combustible del depósito de combustible.
Coloque un recipiente adecuado debajo de la varilla/orificio de vaciado de aceite.
Limpie alrededor de la varilla.
Retire la varilla girando el tapón en el sentido contrario a las agujas del reloj y tirando del mismo.
Vuelque la máquina sobre su lado derecho (con el filtro de aire hacia arriba) para drenar el aceite en el recipiente.
Después de drenar el aceite, ponga la máquina en su posición normal.
Llene el cárter con aceite nuevo hasta que llegue al nivel correcto de la varilla ; consulte Añadir aceite al motor.
Inserte la varilla en el cuello de llenado y enrosque el tapón en el sentido de las agujas del reloj hasta que quede apretado.
Limpie cualquier aceite derramado.
Recicle el aceite usado según la normativa local.
| Intervalo de mantenimiento y servicio | Procedimiento de mantenimiento |
|---|---|
| Cada 200 horas |
|
Haga funcionar el motor para calentar el aceite.
El aceite puede estar caliente cuando el motor ha estado funcionando, y el contacto con aceite caliente puede causar lesiones personales graves.
Evite tocar el aceite caliente al drenarlo.
Pare el motor y espere a que se detengan todas las piezas en movimiento.
Desconecte el cable de la bujía.
Drene la gasolina del depósito de combustible.
Drene el aceite del motor; consulte Cambio del aceite del motor.
Coloque un trapo debajo del filtro de aceite (Figura 25) para recoger cualquier aceite que se salga al retirar el filtro.

Retire el filtro de aceite.
Usando el dedo, unte la junta del filtro de aceite nuevo con aceite (Figura 26).

Instale el filtro nuevo girándolo en sentido horario hasta que la junta toque la carcasa del filtro, luego gire el filtro 3/4 de vuelta más a mano.
Llene el cárter con aceite nuevo hasta la marca Full (lleno) de la varilla; consulte Añadir aceite al motor.
Conecte el cable de la bujía.
Haga funcionar el motor durante unos 3 minutos.
Pare el motor, espere a que se detengan todas las piezas en movimiento y compruebe que no hay fugas de aceite alrededor del filtro.
Añada aceite para compensar el aceite que está en el filtro. Consulte Añadir aceite al motor.
Recicle correctamente el aceite usado.
| Intervalo de mantenimiento y servicio | Procedimiento de mantenimiento |
|---|---|
| Cada 100 horas |
|
Utilice una bujía NGK BPR5ES o equivalente.
Pare el motor y espere a que se detengan todas las piezas en movimiento.
Desconecte el cable de la bujía.
Limpie alrededor de la bujía.
Retire la bujía de la culata.
Important: Si la bujía está agrietada o sucia, cámbiela. No limpie los electrodos, porque cualquier arenilla que entre en el cilindro puede dañar el motor.
Ajuste el espacio entre los electrodos a 0.76 mm (0.030"); consulte Figura 27.

Instale la bujía con cuidado a mano (para evitar dañar la rosca) hasta que esté apretada.
Apriete la bujía a 23 N·m (17 pies-libra).
Important: Una bujía que no está correctamente apretada puede calentarse mucho y dañar el motor; si se aprieta demasiado una bujía, pueden dañarse las roscas de la culata.
Conecte el cable de la bujía.
Si la máquina es nueva, si no avanza automáticamente o si tiene tendencia a avanzar lentamente, ajuste el cable de la transmisión.
Lleve la máquina a una superficie pavimentada al aire libre, cerca de un muro sólido, para evitar que la máquina se mueva hacia adelante mientras el motor está en marcha.
Coloque la máquina con los neumáticos delanteros contra la pared.
Note: Asegúrese de que la zona está bien ventilada y libre de residuos que pudieran ser arrojados por la máquina.
Cambie a la tercera velocidad.
Arranque el motor; consulte Arranque del motor.
Tire de la barra de autopropulsión hasta el manillar.
Note: Las ruedas deben empezar a girar justo cuando la barra de autopropulsión toque el manillar.
Pare el motor.
Si es necesario ajustar la máquina, haga lo siguiente:
Si las ruedas no giran al apretar la barra de autopropulsión, la correa de transmisión está demasiado floja. Gire el mando de control de la transmisión de las ruedas (Figura 28) una vuelta en sentido horario y repita los pasos 4 a 6.

Si las ruedas giran antes de apretar del todo la barra de autopropulsión, la correa de transmisión está demasiado apretada. Gire el mando de control de la transmisión de las ruedas (Figura 28) una vuelta en sentido antihorario y repita los pasos 4 a 6.
Si la correa de tracción es nueva, gire el pomo de ajuste del cable de la transmisión una vuelta más en sentido horario, porque la correa se estirará durante el periodo de rodaje.
Note: Puede saltarse este paso si la correa está usada.
Siegue siempre con la cuchilla afilada. Una cuchilla afilada corta limpiamente sin desgarrar o picar las hojas de hierba.
Pare el motor y espere a que se detengan todas las piezas en movimiento.
Desconecte el cable de la bujía.
Cierre la válvula de combustible moviendo la palanca de la válvula de combustible a la izquierda (Figura 15).
Drene el combustible del depósito de combustible.
Vuelque la máquina hacia su lado derecho (limpiador de aire hacia arriba), según se muestra en Figura 29.

| Intervalo de mantenimiento y servicio | Procedimiento de mantenimiento |
|---|---|
| Cada vez que se utilice o diariamente |
|
Examine cuidadosamente la cuchilla para asegurarse de que está afilada y para detectar cualquier desgaste, sobre todo en la unión entre la parte plana y la parte curva de la cuchilla (Figura 30A). Puesto que la arena y cualquier material abrasivo pueden desgastar el metal que conecta las partes curva y plana de la cuchilla, compruebe la cuchilla antes de utilizar la máquina. Si observa una hendidura o desgaste (Figura 30B y Figura 30C), cambie la cuchilla; consulte Cómo retirar la cuchilla.

Note: Para obtener el mejor rendimiento, instale una cuchilla nueva antes de que empiece la temporada de siega. Durante el año, lime cualquier desperfecto con el fin de mantener el filo de corte.
Una cuchilla desgastada o dañada puede romperse, y un trozo de la cuchilla podría ser arrojado hacia usted u otra persona, provocando lesiones personales graves o la muerte.
Inspeccione periódicamente las cuchillas, para asegurarse de que no están desgastadas ni dañadas.
Sustituya cualquier cuchilla desgastada o dañada.
| Intervalo de mantenimiento y servicio | Procedimiento de mantenimiento |
|---|---|
| Cada vez que se utilice o diariamente |
|
Inspeccione cuidadosamente el acelerador en busca de señales de desgaste excesivo (Figura 31). Puesto que la arena y los materiales abrasivos pueden desgastar el metal (sobre todo en la zona 2 de la Figura 31), compruebe el acelerador antes de utilizar la máquina. Si observa que la pestaña del acelerador tiene el borde afilado debido al desgaste, o si hay una grieta, sustituya el acelerador; consulte Cómo retirar la cuchilla.

Un acelerador desgastado o dañado puede romperse, y un trozo del acelerador podría ser arrojado hacia usted u otra persona, provocando lesiones personales graves o la muerte.
Inspeccione el acelerador periódicamente en busca de desgaste o daños.
Sustituya el acelerador si está desgastado o dañado.
Sujete el extremo de la cuchilla usando un paño o un guante grueso.
Retire las tuercas de la cuchilla, el acelerador y la cuchilla (Figura 30).
| Intervalo de mantenimiento y servicio | Procedimiento de mantenimiento |
|---|---|
| Cada 50 horas |
|
Lime el borde superior de la cuchilla para mantener el ángulo de corte original (Figura 32A) y el radio interior del filo de corte (Figura 32B). La cuchilla permanece equilibrada si se retira la misma cantidad de material de ambos filos de corte.

Compruebe el equilibrio de la cuchilla colocando el taladro central de la cuchilla sobre un clavo o el palo de un destornillador fijado horizontalmente en un torno de banco (Figura 33).

Note: También puede comprobar el equilibrio usando un equilibrador de cuchillas de fabricación comercial.
Si algún extremo de la cuchilla gira hacia abajo, lime ese extremo (no el filo de corte ni el extremo cerca del filo de corte) hasta que ningún extremo de la cuchilla descienda.
Instale una cuchilla Toro afilada y equilibrada, el acelerador, y las tuercas de la cuchilla. La vela de la cuchilla debe apuntar hacia la parte superior de la carcasa del cortacésped.
Note: Apriete las tuercas de las cuchillas a 20–37 N·m (15–27 pies-libra).
El uso de la máquina sin que esté colocado el acelerador, puede hacer que la cuchilla se flexione, se doble o se rompa, causando lesiones graves o la muerte a usted o a otras personas.
No utilice la máquina sin que esté colocado el acelerador.
Ponga la máquina en la posición normal de trabajo.
El cable del freno de la cuchilla se ajusta en fábrica; no es necesario volver a ajustarlo a menos que haya sustituido el cable o la correa del embrague de la cuchilla. Si es necesario cambiar el cable, cambie el cable y la correa al mismo tiempo.
Pare el motor y espere a que se detengan todas las piezas en movimiento.
Desconecte el cable de la bujía.
Instale una nueva correa del freno de la cuchilla y ensamble la máquina, salvo las 2 cubiertas de la parte superior de la carcasa de corte.
Instale el nuevo cable del freno de la cuchilla, pero no apriete la abrazadera de la parte superior de la carcasa de corte (Figura 34).

Afloje el tornillo de la abrazadera (Figura 34).
Tire de la cubierta del cable para eliminar la holgura (Figura 35).
Note: No tense el muelle.

Marque el cable de freno (Figura 36), luego ajuste la cubierta hasta que quede aproximadamente 8 mm (5/16") de holgura (Figura 37).


Apriete el tornillo de la abrazadera del cable a 11–14 N·m (99–121 pulgadas-libra) para afianzar el ajuste.
Instale la cubierta de la correa con los pernos que retiró para quitar las 2 cubiertas de las correas.
Conecte el cable de la bujía.
| Intervalo de mantenimiento y servicio | Procedimiento de mantenimiento |
|---|---|
| Cada 50 horas |
|
Pare el motor y espere a que se detengan todas las piezas en movimiento.
Desconecte el cable de la bujía.
Retire la cubierta de la correa (Figura 38) de la carcasa de corte.

Levante la cubierta y cepille para eliminar todos los residuos alrededor de la zona de la correa.
Instale la cubierta de la correa.
Conecte el cable de la bujía.
| Intervalo de mantenimiento y servicio | Procedimiento de mantenimiento |
|---|---|
| Cada 50 horas |
|
Limpie el protector del embrague del freno de la cuchilla para asegurar el mejor rendimiento y para evitar que se degraden las piezas. Limpie el protector del embrague del freno de la cuchilla cuando afile la cuchilla, porque es necesario retirar la cuchilla para poder retirar el protector del embrague del freno de la cuchilla.
Pare el motor y espere a que se detengan todas las piezas en movimiento.
Desconecte el cable de la bujía.
Cierre la válvula de combustible moviendo la palanca de la válvula de combustible a la izquierda (Figura 15).
Drene el combustible del depósito de combustible.
Vuelque la máquina sobre su lado derecho (filtro de aire hacia arriba).
Si inclina la máquina, el combustible puede salir del carburador o del depósito de combustible. El combustible es extremadamente inflamable y altamente explosivo, y bajo ciertas condiciones, puede causar lesiones personales o daños materiales.
Evite derrames de combustible vaciando el depósito de combustible según las instrucciones; no utilice nunca un sifón.
Retire las 2 tuercas de la cuchilla, el acelerador y la cuchilla (Figura 39).

Retire los tornillos que sujetan el protector del embrague del freno de la cuchilla a la carcasa de corte (Figura 39).
Retire el protector del embrague del freno de la cuchilla y cepille o sople para eliminar los residuos de debajo del protector y de alrededor del embrague del freno de la cuchilla.
Apriete los tornillos para sujetar el protector del embrague del freno de la cuchilla a la carcasa.
Instale la cuchilla, el acelerador y las 2 tuercas de la cuchilla.
Ponga la máquina en la posición normal de trabajo.
| Intervalo de mantenimiento y servicio | Procedimiento de mantenimiento |
|---|---|
| Cada 40 horas |
|
Retire las ruedas traseras y limpie cualquier suciedad de la zona de la rueda y de los engranajes.

Después de la limpieza, aplique una pequeña cantidad de compuesto antigripante a los engranajes.
Note: Si se utiliza la máquina en condiciones extremas, una limpieza más frecuente de las ruedas aumentará la vida útil de los engranajes.
Note: Para evitar dañar las juntas de cojinete, no utilice un pulverizador de agua de alta presión sobre los cojinetes.
Para preparar la máquina para el almacenamiento cuando acabe la temporada de siega, siga los procedimientos de mantenimiento recomendados; consulte .
Almacene la máquina en un lugar fresco, limpio y seco. Cubra la máquina para mantenerla limpia y protegida.
Siempre apague la máquina, espere a que se detengan todas las piezas en movimiento, y deje que la máquina se enfríe antes de hacer trabajos de ajuste, revisión, limpieza o almacenamiento.
Vacíe el combustible del depósito de combustible después de segar por última vez antes de almacenar la máquina.
Haga funcionar el motor hasta que se quede sin combustible.
Ponga el estárter y arranque el motor de nuevo.
Deje que funcione el motor hasta que se pare. Cuando ya no se puede arrancar el motor, está suficientemente seco.
Con el motor todavía caliente, cambie el aceite del cárter; consulte Cambio del aceite del motor.
Retire la bujía.
Usando una aceitera, añada unos 30 ml (1 onza fluida) de aceite al cárter del motor a través del orificio de la bujía.
Tire del arrancador de retroceso varias veces para hacer girar el motor, con el fin de distribuir el aceite por todo el cárter del motor.
Instale la bujía pero no conecte el cable a la bujía.
Limpie debajo de la máquina; consulte Limpieza de los bajos de la máquina.
Limpie la suciedad y la broza de la parte exterior del cilindro, las aletas de la culata y de la carcasa del soplador.
Elimine los recortes de hierba, la suciedad y la grasa de las piezas externas del motor, la cubierta y la parte superior de la carcasa del cortacésped.
Compruebe la condición de la cuchilla; consulte Inspección de la cuchilla.
Compruebe la condición del acelerador; consulte Inspección del acelerador.
Revise el filtro de aire; consulte Mantenimiento del filtro de aire.
Apriete todos los pernos, tuercas y tornillos.
Retoque todas las superficies pintadas oxidadas o descascarilladas con pintura, que puede adquirir en el Servicio Técnico Autorizado.
Compruebe y apriete todos los cierres.
Retire la bujía y haga girar el motor rápidamente usando el arrancador para eliminar el exceso de aceite del cilindro.
Limpie la bujía o cámbiela si está agrietada, rota o si los electrodos están desgastados.
Instale la bujía; consulte Mantenimiento de la bujía.
Lleve a cabo cualquier procedimiento de mantenimiento necesario; consulte .
Llene el depósito de combustible con combustible fresco.
Compruebe el nivel de aceite del motor.
Conecte el cable de la bujía.
| Problem | Possible Cause | Corrective Action |
|---|---|---|
| El motor no arranca. |
|
|
| El motor arranca con dificultad o pierde potencia. |
|
|
| El motor no funciona regularmente. |
|
|
| La máquina o el motor vibra excesivamente. |
|
|
| El patrón de corte no es uniforme. |
|
|
| Se atasca el conducto de descarga. |
|
|
| La máquina no avanza con el sistema de autopropulsión. |
|
|