| Khoảng thời gian Dịch vụ Bảo trì | Quy trình Bảo trì |
|---|---|
| Trước mỗi lần sử dụng hoặc hàng ngày |
|
Máy cắt cỏ đẩy tay có lưỡi dao xoay này được thiết kế để sử dụng bởi chủ nhà ở hoặc người vận hành chuyên nghiệp được tuyển dụng. Sản phẩm được thiết kế chủ yếu để cắt cỏ trên những bãi cỏ được bảo dưỡng tốt ở các khu dân cư hoặc thương mại. Máy không được thiết kế cho chổi cắt cỏ hoặc sử dụng trong nông nghiệp.
Hãy đọc kỹ thông tin này để tìm hiểu cách vận hành và bảo trì sản phẩm đúng cách cũng như để tránh gây thương tích và hư hỏng sản phẩm. Bạn là người chịu trách nhiệm vận hành sản phẩm đúng cách và an toàn.
Hãy truy cập www.Toro.com để biết thêm thông tin, bao gồm những lời khuyên về an toàn, tài liệu đào tạo, thông tin về phụ kiện, trợ giúp tìm đại lý hoặc đăng ký sản phẩm của bạn.
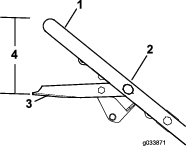
Bất cứ khi nào bạn cần dịch vụ, phụ tùng Toro chính hãng hoặc thông tin bổ sung, vui lòng liên hệ với Đại lý Dịch vụ được Ủy quyền hoặc Dịch vụ Khách hàng của Toro và chuẩn bị sẵn thông tin về mẫu máy và số sê-ri của sản phẩm. Hình 1 xác định vị trí ghi thông tin về mẫu máy và số sê-ri trên sản phẩm. Hãy viết các số vào khoảng trống cho sẵn.
Important: Bạn có thể sử dụng thiết bị di động để quét mã QR trên nhãn dán có số sê-ri (nếu được trang bị) để truy cập thông tin về bảo hành, phụ tùng và các sản phẩm khác.

Hướng dẫn sử dụng này xác định các nguy cơ tiềm ẩn và chứa các thông báo an toàn được nhận biết bằng ký hiệu cảnh báo an toàn (Hình 2), báo hiệu nguy cơ có thể gây chấn thương nghiêm trọng hoặc tử vong nếu bạn không tuân theo các biện pháp phòng ngừa được khuyến nghị.

Hướng dẫn sử dụng này sử dụng 2 từ sau để nêu bật thông tin. Các chú ý quan trọng về thông tin cơ học đặc biệt và Lưu ý đều nhấn mạnh thông tin chung mà bạn cần đặc biệt lưu tâm.
Việc sử dụng hoặc vận hành động cơ này trên bất kỳ vùng đất có rừng cây, bụi rậm hoặc cỏ bao phủ nào là hành vi phạm Mục 4442 hoặc 4443 của Bộ luật Tài nguyên Công California, nếu động cơ không được trang bị bộ ngăn tia lửa, theo định nghĩa ở Mục 4442, được duy trì trong trạng thái hoạt động hiệu quả hoặc động cơ không được chế tạo, trang bị và bảo trì giúp phòng ngừa hoả hoạn.
Mô-men xoắn Tổng hoặc Thực: Mô-men xoắn tổng hoặc thực của động cơ này đã được nhà sản xuất động cơ đánh giá trong phòng thí nghiệm theo tiêu chuẩn Hiệp hội Kỹ sư Ô tô (SAE) J1940 hoặc J2723. Vì động cơ đã được cấu hình để đáp ứng yêu cầu về an toàn, khí thải và vận hành nên mô-men xoắn thực tế của động cơ trên loại máy cắt cỏ này sẽ thấp hơn đáng kể. Vui lòng tham khảo thông tin của nhà sản xuất động cơ đi kèm với máy.
CALIFORNIA
Cảnh báo theo Dự luật 65
Khói thải động cơ từ sản phẩm này chứa các hóa chất được Tiểu bang California xem là nguyên nhân gây ung thư, dị tật bẩm sinh hoặc gây hại cho hệ sinh sản.
Việc sử dụng sản phẩm này có thể dẫn đến tình trạng phơi nhiễm với hóa chất được Tiểu Bang California xem là nguyên nhân gây ung thư, dị tật bẩm sinh hoặc gây hại cho hệ sinh sản.
Sản phẩm này có thể cắt cụt tay, chân và là máy dễ bị xê dịch. Luôn tuân thủ tất cả các hướng dẫn an toàn để tránh gây chấn thương cá nhân nghiêm trọng hoặc tử vong.
Hãy đọc, hiểu và làm theo hướng dẫn và cảnh báo trong Hướng dẫn Vận hành này cũng như trên máy và bộ gá trước khi khởi động động cơ.
Không để tay hoặc chân của bạn gần các bộ phận đang chuyển động của máy hoặc bên dưới máy. Tránh xa các lỗ xả.
Không vận hành máy khi tất cả các bộ phận bảo vệ và các thiết bị bảo vệ an toàn khác không ở đúng vị trí và không hoạt động bình thường trên máy.
Không để những người xung quanh và trẻ em lại gần khu vực vận hành. Không để trẻ em vận hành máy. Chỉ cho phép những người có trách nhiệm, đã được đào tạo, quen thuộc với các hướng dẫn và có đủ năng lực thể chất vận hành máy.
Dừng máy, tắt động cơ và chờ cho tất cả các bộ phận đang chuyển động dừng lại trước khi bảo dưỡng, đổ nhiên liệu hay làm thông máy.
Việc sử dụng hoặc bảo trì máy không đúng
cách có thể dẫn đến chấn thương. Để giảm
nguy cơ chấn thương, hãy tuân thủ hướng dẫn an toàn
này và luôn chú ý đến ký
hiệu cảnh báo an toàn
, cụ thể là Thận trọng, Cảnh báo
hoặc Nguy hiểm – hướng dẫn an toàn cá
nhân. Việc không tuân thủ hướng dẫn này có
thể dẫn đến chấn thương cá nhân hoặc tử vong.
![]() |
Người vận hành có thể dễ dàng nhìn thấy các nhãn mác và hướng dẫn an toàn được đặt gần bất kỳ khu vực nào có thể xảy ra nguy hiểm. Hãy thay thế bất kỳ nhãn mác nào bị hỏng hoặc bị thiếu. |







Note: Xác định các mặt bên trái và bên phải của máy từ vị trí vận hành bình thường.



Important: Nếu bạn vận hành động cơ khi mức dầu trong động cơ quá thấp hoặc quá cao, bạn có thể làm hỏng động cơ.


Important: Bạn phải điều chỉnh cáp truyền động tự hành trước khi vận hành máy lần đầu tiên. Tham khảo Điều chỉnh Truyền động Tự hành.

| Mẫu máy | Trọng lượng | Chiều dài | Chiều rộng | Chiều cao |
|---|---|---|---|---|
| 22297 | 54 kg | 155 cm | 55 cm | 94 cm |
| (120 lb) | (61 inches) | (21,5 inches) | (37 inches) |
Lựa chọn bộ gá và phụ kiện đã được Toro phê duyệt và có sẵn để sử dụng với máy nhằm nâng cao và mở rộng khả năng của máy. Hãy liên hệ với Đại lý Dịch vụ được Ủy quyền hoặc nhà phân phối Toro được ủy quyền của bạn hoặc truy cập www.Toro.com để biết danh sách tất cả các bộ gá và phụ kiện đã được phê duyệt.
Để đảm bảo hiệu suất tối ưu và tiếp tục được chứng nhận an toàn cho máy, chỉ sử dụng các phụ tùng và phụ kiện thay thế chính hãng của Toro. Các phụ tùng và phụ kiện thay thế của các nhà sản xuất khác có thể gây nguy hiểm và việc sử dụng chúng có thể làm mất hiệu lực bảo hành của sản phẩm.
Note: Xác định các mặt bên trái và bên phải của máy từ vị trí vận hành bình thường.
Luôn tắt máy, chờ cho tất cả các bộ phận chuyển động dừng lại và để máy nguội trước khi điều chỉnh, bảo dưỡng, vệ sinh hoặc cất giữ máy.
Làm quen với cách vận hành thiết bị an toàn, các biện pháp kiểm soát áp dụng đối với người vận hành và biển báo an toàn.
Kiểm tra để đảm bảo tất cả các thiết bị bảo vệ và an toàn, chẳng hạn như bộ làm lệch hướng và/hoặc bộ hứng cỏ đang nằm đúng vị trí và hoạt động bình thường.
Luôn kiểm tra máy để đảm bảo các lưỡi cắt và bu lông lưỡi cắt không bị mòn hoặc hư hỏng.
Kiểm tra khu vực bạn sẽ sử dụng máy và loại bỏ tất cả các đồ vật có thể cản trở việc vận hành của máy hoặc có thể bị văng ra từ máy.
Việc tiếp xúc với lưỡi cắt đang chuyển động có thể gây chấn thương nghiêm trọng. Không đặt ngón tay dưới vỏ máy.
Nhiên liệu rất dễ cháy và rất dễ nổ. Cháy hoặc nổ do nhiên liệu có thể gây bỏng cho bạn và những người khác và có thể gây thiệt hại về tài sản.
Để ngăn tĩnh điện đốt cháy nhiên liệu, hãy đặt bình chứa và/hoặc máy trực tiếp trên mặt đất trước khi đổ đầy nhiên liệu, không đặt trong xe hoặc trên một vật thể.
Đổ đầy bình nhiên liệu ở ngoài trời, khu vực thông thoáng, khi động cơ nguội. Lau sạch bất kỳ nhiên liệu bị tràn nào.
Không xử lý nhiên liệu khi đang hút thuốc hoặc xung quanh ngọn lửa trần hoặc tia lửa.
Không tháo nắp nhiên liệu hoặc đổ thêm nhiên liệu vào bình khi động cơ đang chạy hoặc đang nóng.
Nếu bạn làm tràn nhiên liệu, đừng cố khởi động động cơ. Hãy tránh tạo ra nguồn gây cháy cho đến khi hơi nhiên liệu đã tản đi hết.
Bảo quản nhiên liệu trong bình chứa đã được phê duyệt và để xa tầm tay trẻ em.
Nuốt phải nhiên liệu có thể gây hại hoặc gây tử vong. Tiếp xúc lâu dài với hơi có thể dẫn đến chấn thương và bệnh tật nghiêm trọng.
Tránh hít phải hơi trong thời gian dài.
Giữ tay và mặt tránh xa vòi phun và lỗ mở của bình nhiên liệu.
Để nhiên liệu tránh xa mắt và da.
Xăng rất dễ cháy và dễ nổ. Cháy hoặc nổ do xăng có thể gây bỏng cho bạn và những người khác.
Để ngăn tĩnh điện đốt cháy xăng, hãy đặt bình chứa và/hoặc máy trực tiếp trên mặt đất trước khi đổ đầy xăng, không đặt trong xe hoặc trên một vật thể.
Đổ đầy bình ở ngoài trời khi động cơ nguội. Lau sạch vết tràn.
Không xử lý xăng khi đang hút thuốc hoặc xung quanh ngọn lửa trần hoặc tia lửa.
Bảo quản xăng trong bình chứa nhiên liệu được phê duyệt và để xa tầm tay trẻ em.
Để đạt kết quả tốt nhất, chỉ sử dụng xăng sạch, mới (dưới 30 ngày tuổi), không pha chì có chỉ số octan từ 87 trở lên (phương pháp ghi chỉ số (R + M)/2).
Có thể chấp nhận nhiên liệu ôxy hóa có tối đa 10% etanol hoặc 15% MTBE theo thể tích.
Etanol: Xăng có tối đa 10% etanol (gasohol) hoặc 15% MTBE (ete metyl butyl bậc ba) theo thể tích được chấp nhận. Etanol và MTBE không giống nhau. Xăng có 15% etanol (E15) theo thể tích không được phê duyệt sử dụng. Không bao giờ sử dụng xăng có chứa hơn 10% etanol theo thể tích, chẳng hạn như E15 (chứa 15% etanol), E20 (chứa 20% etanol), hoặc E85 (chứa lên tới 85% etanol). Sử dụng xăng không được phê duyệt có thể gây ra các vấn đề về hiệu suất và/hoặc hư hỏng động cơ, những lỗi này không được bảo hành.
Không sử dụng xăng có chứa metanol.
Không dự trữ nhiên liệu trong bình nhiên liệu hoặc trong bình chứa nhiên liệu trong mùa đông trừ khi bạn sử dụng chất ổn định nhiên liệu.
Không đổ thêm dầu vào xăng.
Important: Để giảm sự cố khởi động, hãy đổ thêm chất ổn định/điều hòa nhiên liệu vào nhiên liệu mới theo chỉ dẫn của nhà sản xuất chất ổn định nhiên liệu.
Note: Dung tích của bình nhiên liệu là 3,76 L.

| Khoảng thời gian Dịch vụ Bảo trì | Quy trình Bảo trì |
|---|---|
| Trước mỗi lần sử dụng hoặc hàng ngày |
|
Important: Nếu bạn vận hành động cơ khi mức dầu trong cacte quá thấp hoặc quá cao, bạn có thể làm hỏng động cơ.

Bạn có thể nâng hoặc hạ tay cầm đến 1 trong 3 vị trí, tùy vào vị trí nào khiến bạn cảm thấy thoải mái hơn (Hình 11).

Tháo cả hai bu lông tay cầm và đai ốc tương ứng.
Di chuyển tay cầm đến vị trí có chiều cao mong muốn.
Siết chặt tay cầm bằng các bu lông và đai ốc tương ứng đã tháo trước đó.
Khi điều chỉnh cần độ cao cắt, tay bạn rất dễ bị tiếp xúc với lưỡi cắt đang chuyển động và dẫn đến chấn thương nghiêm trọng.
Tắt động cơ và chờ cho tất cả các chuyển động dừng lại trước khi điều chỉnh độ cao cắt.
Không đặt ngón tay của bạn dưới vỏ máy khi điều chỉnh độ cao cắt.
Nếu động cơ đang chạy, bộ triệt tiếng ồn sẽ bị nóng lên và có thể khiến bạn bị bỏng.
Tránh xa bộ triệt tiếng ồn khi nó đang nóng.
Căn chỉnh độ cao cắt theo ý muốn. Thiết lập tất cả bánh xe ở cùng độ cao cắt (Hình 12).

Mặc quần áo phù hợp, bao gồm bảo vệ mắt; quần dài; giày dép chắc chắn, chống trơn trượt; và bảo vệ thính giác. Buộc tóc nếu tóc dài và không mặc quần áo rộng hoặc đeo trang sức lỏng lẻo.
Tập trung cao độ trong khi vận hành máy. Không tham gia vào bất kỳ hoạt động nào gây mất tập trung; nếu không, có thể gây chấn thương hoặc thiệt hại về tài sản.
Không vận hành máy khi bị ốm, mệt mỏi hoặc đang bị ảnh hưởng của chất cồn hoặc chất gây nghiện.
Lưỡi cắt rất sắc bén; nếu chạm vào lưỡi cắt có thể gây chấn thương cá nhân nghiêm trọng. Tắt động cơ và chờ cho tất cả các bộ phận chuyển động dừng lại trước khi rời khỏi vị trí vận hành.
Khi bạn nhả thanh điều khiển lưỡi cắt, động cơ sẽ tắt và lưỡi cắt sẽ dừng trong vòng 3 giây. Nếu không, hãy ngừng sử dụng máy ngay lập tức và liên hệ với Đại lý Dịch vụ được Ủy quyền.
Không để những người xung quanh lại gần khu vực vận hành. Không cho trẻ nhỏ vào khu vực vận hành và trẻ nhỏ phải luôn có sự giám sát của người lớn có đủ trách nhiệm và đang không vận hành máy. Ngừng máy nếu có người tiến vào trong khu vực.
Luôn nhìn xuống phía dưới và về phía sau trước khi lùi máy.
Chỉ vận hành máy khi có tầm nhìn tốt và điều kiện thời tiết thích hợp. Không vận hành máy khi có nguy cơ bị sét đánh.
Cỏ hoặc lá ướt có thể gây chấn thương nghiêm trọng nếu bạn bị trượt và tiếp xúc với lưỡi cắt. Tránh cắt cỏ trong điều kiện ẩm ướt.
Hết sức cẩn thận khi đến gần góc khuất, bụi rậm, cây cối hoặc các vật thể khác có thể cản tầm nhìn của bạn.
Không hướng vật liệu xả về phía bất cứ người nào khác. Tránh xả vật liệu vào tường hoặc vật cản; vật liệu có thể nảy về phía bạn. Tắt (các) lưỡi cắt khi băng qua bề mặt sỏi.
Để ý các hố, vết lún, chỗ lồi, đá hoặc các vật thể khuất tầm nhìn khác. Địa hình không bằng phẳng có thể khiến bạn mất thăng bằng hoặc không đứng vững.
Nếu máy va vào vật thể hoặc bắt đầu rung, hãy tắt động cơ ngay lập tức, chờ tất cả bộ phận đang chuyển động dừng lại, và ngắt kết nối dây khỏi bugi trước khi kiểm tra máy xem có bị hư hỏng không. Thực hiện tất cả các sửa chữa cần thiết trước khi vận hành trở lại.
Trước khi rời khỏi vị trí vận hành, hãy tắt động cơ và chờ tất cả các bộ phận chuyển động dừng lại.
Nếu động cơ đang chạy, nó sẽ bị nóng lên và có thể khiến bạn bị bỏng nặng. Tránh xa động cơ nóng.
Chỉ vận hành động cơ ở những khu vực thông gió tốt. Khí thải có chứa carbon monoxide (khí CO), là một chất độc không mùi có thể gây chết người.
Hãy thường xuyên kiểm tra các bộ phận của bộ hứng cỏ và máng xả xem có bị mài mòn hoặc hư hỏng gì không và thay thế chúng bằng các phụ tùng Toro chính hãng khi cần thiết.
Cắt ngang qua mặt của dốc; không bao giờ lên và xuống dốc. Hết sức cẩn thận khi rẽ trên dốc.
Không cắt cỏ trên các dốc quá dốc. Nếu bạn đứng không vững, có thể xảy ra tai nạn trượt ngã.
Cẩn trọng khi di chuyển gần dốc thẳng đứng, mương, hoặc bờ kè.
Nối dây bugi với bugi.
Mở van nhiên liệu (Hình 13).

Đẩy mạnh và giữ bóng đèn mồi trong 1 giây (phần A trong Hình 14).
Giữ thanh điều khiển lưỡi cắt ở vị trí Chạy/Chuyển số, nằm dưới tay cầm khoảng 5 cm (phần B trong Hình 14.
Kéo nhẹ tay cầm cần khởi động cho đến khi bạn cảm thấy có lực cản, kéo mạnh, sau đó để nó từ từ trở về thanh dẫn hướng dây trên tay cầm (phần C trong Hình 14).
Note: Nếu động cơ không khởi động, hãy lặp lại các bước 3 đến 5.

| Khoảng thời gian Dịch vụ Bảo trì | Quy trình Bảo trì |
|---|---|
| Trước mỗi lần sử dụng hoặc hàng ngày |
|
Để tắt động cơ, hãy nhả thanh điều khiển lưỡi cắt.
Important: Khi bạn nhả thanh điều khiển lưỡi cắt, cả động cơ và lưỡi cắt sẽ dừng trong vòng 3 giây. Nếu chúng không dừng đúng cách, hãy ngừng sử dụng máy ngay lập tức và liên hệ với Đại lý Dịch vụ được Ủy quyền.
Máy này có 3 mức tốc độ trên mặt đất: 1 (chậm), 2 (trung bình) và 3 (nhanh); máy cũng có vị trí Số mo (N). Cần lái tự hành nằm bên dưới và phía sau bình nhiên liệu (Hình 15).

Di chuyển cần lái tự hành đến tốc độ trên mặt đất mong muốn.
Khởi động động cơ.
Bóp thanh điều khiển lưỡi cắt vào tay cầm đến vị trí Chạy/Lái (Hình 16).

Important: Chuyển tốc độ trong khi bóp thanh điều khiển lưỡi cắt vào tay cầm ở vị trí Chạy/Lái có thể làm hỏng hệ thống truyền động. Di chuyển thanh điều khiển lưỡi cắt đến vị trí Chạy/Chuyển số (Hình 16) bất cứ khi nào bạn thay đổi tốc độ trên mặt đất.
Note: Bạn có thể thay đổi tốc độ trên mặt đất bằng cách tăng hoặc giảm khoảng cách giữa thanh điều khiển lưỡi cắt và tay cầm. Hạ thanh để giảm tốc độ trên mặt đất khi bạn sắp rẽ hoặc nếu máy di chuyển quá nhanh so với bạn. Nếu bạn hạ thanh quá thấp, máy sẽ dừng tự hành. Bóp thanh đến gần tay cầm hơn để tăng tốc độ trên mặt đất. Khi bạn giữ chặt thanh vào tay cầm, máy sẽ tự hành với tốc độ trên mặt đất tối đa. Di chuyển cần lái tự hành về vị trí Số MO khi bạn sử dụng máy để cắt tỉa.
Ngay từ khi xuất xưởng, máy này đã có khả năng tái chế cỏ và lá xén quay trở lại bãi cỏ. Để chuẩn bị cho máy tái chế:
Nếu có túi đựng cỏ nằm trên máy, hãy tháo túi (phần A trong Hình 17).
Nếu chưa lắp nút xả phía sau, hãy nắm chặt bằng tay cầm, nâng bộ làm lệch hướng phía sau và lắp vào máng xả phía sau cho đến khi chốt khóa vào vị trí (phần B trong Hình 17).

Vận hành máy để tái chế cỏ xén mà không có nút ở đúng vị trí có thể khiến các đồ vật bị ném về phía bạn hoặc những người xung quanh. Ngoài ra, có thể xảy ra tình trạng tiếp xúc với lưỡi dao. Các vật bị ném hoặc tiếp xúc với lưỡi dao có thể gây thương tích nghiêm trọng hoặc gây tử vong.
Đảm bảo nút xả phía sau ở đúng vị trí trước khi bạn tái chế cỏ xén. Không bao giờ bật các lưỡi dao mà không lắp nút xả phía sau hoặc túi đựng cỏ vào máy.
Hãy sử dụng túi đựng cỏ khi bạn muốn thu gom cỏ và lá xén từ bãi cỏ.
Túi đựng cỏ đã mòn có thể khiến những viên đá nhỏ và mảnh vụn tương tự khác bị ném văng về phía bạn hoặc những người xung quanh, dẫn đến thương tích cá nhân nghiêm trọng hoặc gây tử vong.
Kiểm tra túi đựng cỏ thường xuyên. Nếu bị hỏng, hãy lắp một túi thay thế mới của Toro.
Lưỡi cắt sắc bén; nếu chạm vào lưỡi cắt có thể gây chấn thương cá nhân nghiêm trọng.
Tắt động cơ và chờ cho tất cả các bộ phận chuyển động dừng lại trước khi rời khỏi vị trí vận hành.
Tắt động cơ và chờ tất cả các bộ phận chuyển động dừng lại.
Nâng và giữ bộ làm lệch hướng phía sau (phần A trong Hình 18).
Tháo nút xả phía sau bằng cách dùng ngón tay cái đẩy chốt vào và rút nút ra khỏi máy (phần B và C trong Hình 18).
Lắp các đầu thanh treo túi vào các rãnh ở phần đế của tay cầm và lắc qua lắc lại túi để đảm bảo các đầu thanh treo túi nằm ở đáy của cả hai rãnh (phần D trong Hình 18).
Hạ bộ làm lệch hướng phía sau cho đến khi nó nằm trên túi đựng cỏ.

Máy có thể ném cỏ xén và các vật thể khác qua lỗ trên vỏ máy. Các vật thể bị ném với đủ lực mạnh có thể gây thương tích cá nhân nghiêm trọng hoặc gây tử vong cho bạn hoặc những người xung quanh.
Không bao giờ tháo túi đựng cỏ rồi khởi động động cơ mà không lắp nút xả trên máy.
Không bao giờ mở bộ làm lệch hướng phía sau trên máy khi động cơ đang chạy.
Xem lại các hướng dẫn an toàn và đọc kỹ hướng dẫn này trước khi vận hành máy.
Dọn sạch khu vực có gậy gộc, đá, dây, cành cây và các mảnh vụn khác mà lưỡi dao có thể va phải và ném.
Giữ cho tất cả mọi người, đặc biệt là trẻ em và vật nuôi, tránh xa khu vực vận hành.
Tránh va vào cây cối, tường, lề đường hoặc các vật rắn khác. Không bao giờ cố tình cắt trên bất kỳ vật thể nào.
Nếu máy va vào vật thể hoặc bắt đầu rung, hãy tắt động cơ ngay lập tức, ngắt kết nối dây khỏi bugi và kiểm tra máy xem có bị hư hỏng không.
Giữ cho lưỡi dao sắc bén trong suốt mùa cắt. Dũa định kỳ các vết mẻ trên lưỡi dao.
Thay lưỡi dao khi cần thiết bằng lưỡi thay thế chính hãng của Toro.
Chỉ cắt cỏ hoặc lá khô. Cỏ và lá ướt có xu hướng tụ thành đám trên sân và có thể khiến máy bị bít hoặc khiến động cơ bị dừng.
Cỏ hoặc lá ướt có thể gây thương tích nghiêm trọng nếu bạn bị trượt và tiếp xúc với lưỡi dao.
Chỉ cắt cỏ trong điều kiện khô ráo.
Làm sạch bên dưới máy sau mỗi lần cắt cỏ; tham khảo Làm sạch bên dưới Máy.
Giữ cho động cơ ở tình trạng hoạt động tốt.
Làm sạch bộ lọc khí thường xuyên. Lớp phủ sẽ tạo ra nhiều mảnh vụn và bụi hơn, gây tắc nghẽn bộ lọc khí và làm giảm hiệu suất của động cơ.
Đặt tốc độ động cơ ở vị trí nhanh nhất để đạt kết quả cắt tốt nhất.
Vận hành máy với động cơ chạy ở tốc độ lớn hơn tốc độ cài đặt gốc có thể khiến máy ném văng một phần lưỡi dao hoặc động cơ về phía bạn hoặc người xung quanh, dẫn đến thương tích cá nhân nghiêm trọng hoặc gây tử vong.
Không thay đổi cài đặt tốc độ động cơ.
Nếu bạn nghi ngờ tốc độ động cơ nhanh hơn bình thường, vui lòng liên hệ với Đại lý Dịch vụ được Ủy quyền.
Cỏ phát triển với tốc độ khác nhau vào các thời điểm khác nhau trong năm. Ở nhiệt độ cao vào mùa hè, tốt nhất bạn nên cắt cỏ ở cài đặt độ cao cắt 64 mm (2-1/2 inch), 76 mm (3 inch) hoặc 89 mm (3-1/2 inch). Chỉ cắt khoảng một phần ba lưỡi cắt cỏ mỗi lần. Không cắt dưới mức cài đặt 64 mm (2-1/2 inch) trừ khi cỏ thưa hoặc vào cuối mùa thu, khi cỏ bắt đầu phát triển chậm lại.
Khi cắt cỏ cao trên 15 cm (6 inch), trước tiên, hãy cắt ở mức độ cao cắt cao nhất và đi chậm hơn; sau đó cắt lại ở mức thấp hơn để bãi cỏ trông đẹp nhất. Nếu cỏ quá dài và lá tụ thành đám trên mặt cỏ, máy có thể bị bít và động cơ bị dừng.
Cắt cỏ theo các hướng xen kẽ nhau. Thao tác này giúp phân tán cỏ xén trên bãi cỏ để có thể bón phân đồng đều.
Nếu bề mặt bãi cỏ đã cắt không đạt yêu cầu, hãy thử 1 hoặc nhiều cách sau:
Mài lưỡi dao.
Vận hành máy với tốc độ chậm hơn trong khi cắt cỏ.
Nâng chiều cao cắt trên máy của bạn.
Cắt cỏ thường xuyên hơn.
Chồng lấn các đường cắt thay vì cắt toàn bộ một đường cắt bằng mỗi lần đẩy cắt.
Sau khi cắt cỏ, hãy đảm bảo một nửa bãi cỏ đã lộ ra qua tấm chắn lá đã cắt. Có thể bạn cần thực hiện nhiều hơn một đường đẩy khi cắt lá.
Đối với lá tạo lớp bao phủ mỏng, hãy đặt tất cả các bánh xe ở cùng một cài đặt độ cao cắt.
Giảm tốc độ cắt nếu máy không cắt lá đủ mịn.
Luôn tắt máy, chờ cho tất cả các bộ phận chuyển động dừng lại và để máy nguội trước khi điều chỉnh, bảo dưỡng, vệ sinh hoặc cất giữ máy.
Phủi sạch cỏ và các mảnh vụn trên máy để giúp ngăn ngừa hoả hoạn. Lau sạch dầu hoặc nhiên liệu bị tràn.
Không bao giờ cất giữ máy hoặc bình chứa nhiên liệu ở nơi có ngọn lửa trần, tia lửa hoặc đèn đánh lửa, chẳng hạn như trên máy nước nóng hoặc trên thiết bị khác.
Cẩn thận khi xếp hoặc dỡ máy.
Cố định không cho máy lăn.
Đóng van nhiên liệu trước khi chất máy lên để vận chuyển.
Để đảm bảo hiệu suất cao nhất, hãy giữ sạch mặt dưới của máy. Đặc biệt cẩn thận khi giữ cho thanh đẩy không có mảnh vụn (Hình 19).

| Khoảng thời gian Dịch vụ Bảo trì | Quy trình Bảo trì |
|---|---|
| Sau mỗi lần sử dụng |
|
Vật liệu từ dưới máy có thể văng ra khỏi máy.
Đeo thiết bị bảo vệ mắt.
Giữ nguyên ở vị trí vận hành (phía sau tay cầm) trong khi động cơ đang chạy.
Không cho phép những người xung quanh vào trong khu vực vận hành.
Di chuyển máy đến bề mặt bằng phẳng lát đá gần ống mềm làm vườn.
Khởi động động cơ.
Giữ ống mềm làm vườn đang chạy ngang tầm tay cầm và hướng nước chảy trên mặt đất ngay phía trước bánh xe phía sau bên phải (Hình 20).

Note: Lưỡi dao sẽ được rút trong nước và rửa sạch cỏ xén. Để nước chảy cho đến khi bạn không còn thấy cỏ xén được rửa sạch khỏi mặt dưới của máy.
Tắt động cơ và chờ tất cả các bộ phận chuyển động dừng lại.
Tắt nguồn nước.
Khởi động máy và để máy chạy trong vài phút để làm khô mặt dưới của máy.
Nếu quá trình rửa không loại bỏ hết các mảnh vụn bên dưới máy, hãy cạo sạch.
Ngắt kết nối dây ra khỏi bugi.
Xả nhiên liệu ra khỏi bình nhiên liệu.
Nghiêng máy có thể làm khiến nhiên liệu rò rỉ ra khỏi bộ chế hòa khí hoặc bình nhiên liệu. Nhiên liệu cực kỳ dễ cháy, rất dễ gây nổ và trong một số điều kiện nhất định, có thể gây thương tích cá nhân hoặc thiệt hại tài sản.
Tránh tràn nhiên liệu bằng cách chạy khô động cơ hoặc xả nhiên liệu bằng bơm tay; tuyệt đối không dùng ống xi-phông.
Nghiêng máy trên phía bên phải (bộ lọc khí ở trên).
Loại bỏ bụi bẩn và cỏ xén bằng dụng cụ cạo gỗ cứng. Tránh các đường gờ và mép sắc.
Đưa máy về vị trí vận hành.
Nối dây vào bugi.
| Khoảng thời gian Dịch vụ Bảo trì | Quy trình Bảo trì |
|---|---|
| Sau 8 giờ đầu tiên |
|
| Sau 25 giờ đầu tiên |
|
| Trước mỗi lần sử dụng hoặc hàng ngày |
|
| Sau mỗi lần sử dụng |
|
| 25 giờ một lần |
|
| 40 giờ một lần |
|
| 50 giờ một lần |
|
| 100 giờ một lần |
|
| 200 giờ một lần |
|
| 300 giờ một lần |
|
Important: Tham khảo hướng dẫn sử dụng động cơ để biết thêm các quy trình bảo trì.
Luôn tắt máy, chờ cho tất cả các bộ phận chuyển động dừng lại và để máy nguội trước khi điều chỉnh, bảo dưỡng, vệ sinh hoặc cất giữ máy.
Ngắt kết nối dây bugi ra khỏi bugi trước khi thực hiện bất kỳ quy trình bảo trì nào.
Đeo găng tay và thiết bị bảo vệ mắt khi bảo dưỡng máy.
Lưỡi cắt rất sắc bén; nếu chạm vào lưỡi cắt có thể gây chấn thương cá nhân nghiêm trọng. Đeo găng tay khi bảo dưỡng lưỡi cắt. Không sửa chữa hoặc thay đổi lưỡi cắt.
Không bao giờ xáo trộn các thiết bị an toàn. Kiểm tra thường xuyên xem chúng có vận hành đúng cách không.
Nghiêng máy có thể khiến nhiên liệu bị rò rỉ. Nhiên liệu dễ cháy và dễ nổ, và có thể gây chấn thương cá nhân. Chạy động cơ khô hoặc xả nhiên liệu bằng bơm tay; tuyệt đối không dùng ống xi-phông để hút nhiên liệu.
Để đảm bảo hiệu suất máy tối ưu, chỉ sử dụng các phụ tùng và phụ kiện thay thế chính hãng của Toro. Các phụ tùng và phụ kiện thay thế của các nhà sản xuất khác có thể gây nguy hiểm và việc sử dụng chúng có thể làm mất hiệu lực bảo hành của sản phẩm.
| Khoảng thời gian Dịch vụ Bảo trì | Quy trình Bảo trì |
|---|---|
| 25 giờ một lần |
|
| 300 giờ một lần |
|
Important: Không vận hành động cơ khi chưa lắp bộ lọc khí vào đúng vị trí; nếu không, động cơ sẽ hư hỏng nghiệm trọng.
Tắt động cơ và chờ tất cả các bộ phận chuyển động dừng lại.
Ngắt kết nối dây ra khỏi bugi.
Tháo nắp và làm sạch kỹ lưỡng (Hình 21).

Tháo bộ lọc sơ bộ bằng xốp và bộ lọc khí bằng giấy ra khỏi đế bộ lọc khí (Hình 21).
Tháo bộ lọc sơ bộ bằng xốp ra khỏi bộ lọc khí bằng giấy và rửa bộ lọc sơ bộ bằng xốp bằng chất tẩy rửa nhẹ và nước, sau đó thấm khô.
Kiểm tra bộ lọc khí bằng giấy và thay bộ lọc nếu quá bẩn.
Important: Đừng cố làm sạch bộ lọc bằng giấy.
Lắp bộ lọc sơ bộ bằng xốp vào bộ lọc khí bằng giấy.
| Khoảng thời gian Dịch vụ Bảo trì | Quy trình Bảo trì |
|---|---|
| Sau 8 giờ đầu tiên |
|
| 50 giờ một lần |
|
Chạy động cơ một vài phút trước khi thay dầu để làm nóng động cơ. Dầu nóng chảy tốt hơn và chứa nhiều chất bẩn hơn.
| Dung tích dầu động cơ | 0,65 L (22 fl oz)* không có bộ lọc dầu; 0,85 L (29 fl oz)* có bộ lọc dầu |
| Độ nhớt của dầu | Dầu tẩy rửa SAE 30 hoặc SAE 10W-30 |
| Phân loại dịch vụ API | SJ trở lên |
*Sau khi bạn xả dầu sẽ có dầu tồn dư trong cacte. Không đổ toàn bộ dung lượng dầu vào cacte. Hãy đổ đầy dầu vào cacte theo hướng dẫn trong các bước sau.
Tắt động cơ và chờ tất cả các bộ phận chuyển động dừng lại.
Ngắt kết nối dây ra khỏi bugi.
Xả nhiên liệu ra khỏi bình nhiên liệu.
Đặt chảo xả phù hợp dưới que thăm dầu/vị trí xả dầu.
Làm sạch xung quanh que thăm.
Tháo que thăm dầu bằng cách xoay nắp ngược chiều kim đồng hồ và kéo ra.
Nghiêng máy trên phía bên phải (bộ lọc khí ở trên) để xả dầu vào chảo xả.
Sau khi xả hết dầu, đưa máy về vị trí vận hành.
Đổ đầy dầu mới vào cacte đến mức chính xác trên que thăm; tham khảo Kiểm tra Mức Dầu Động cơ.
Lắp que thăm vào cổ bình nạp xoay nắp theo chiều kim đồng hồ cho đến khi chặt.
| Khoảng thời gian Dịch vụ Bảo trì | Quy trình Bảo trì |
|---|---|
| 200 giờ một lần |
|
Chạy động cơ để làm ấm dầu.
Dầu có thể vẫn còn nóng sau khi động cơ vừa chạy và việc tiếp xúc với dầu nóng có thể gây chấn thương cá nhân nghiêm trọng.
Tránh tiếp xúc với dầu nóng của động cơ khi bạn xả dầu.
Tắt động cơ và chờ tất cả các bộ phận chuyển động dừng lại.
Ngắt kết nối dây ra khỏi bugi.
Xả xăng ra khỏi bình nhiên liệu.
Xả dầu động cơ; tham khảo Thay Dầu Động cơ.
Đặt một miếng giẻ dưới bộ lọc dầu (Hình 22) để hứng bất kỳ dầu nào có thể rò rỉ ra ngoài khi bạn tháo bộ lọc dầu.

Tháo bộ lọc dầu.
Dùng ngón tay phủ miếng đệm trên bộ lọc dầu mới có dầu (Hình 26).

Lắp bộ lọc mới bằng cách xoay theo chiều kim đồng hồ cho đến khi phớt dầu tiếp xúc với vỏ bộ lọc, sau đó dùng tay xoay bộ lọc thêm 3/4 vòng.
Đổ đầy dầu mới vào cacte đến vạch Đầy trên que thăm; tham khảo Kiểm tra Mức Dầu Động cơ.
Nối dây vào bugi.
Chạy động cơ trong khoảng 3 phút.
Tắt động cơ, chờ cho tất cả các bộ phận chuyển động dừng lại và kiểm tra xem có rò rỉ dầu xung quanh bộ lọc không.
Đổ thêm dầu để bù cho lượng dầu trong bộ lọc dầu. Tham khảo Kiểm tra Mức Dầu Động cơ.
Tái chế bộ lọc dầu đã sử dụng đúng cách.
| Khoảng thời gian Dịch vụ Bảo trì | Quy trình Bảo trì |
|---|---|
| 100 giờ một lần |
|
Sử dụng bugi NGK BPR5ES hoặc loại tương đương.
Tắt động cơ và chờ tất cả các bộ phận chuyển động dừng lại.
Ngắt kết nối dây ra khỏi bugi.
Làm sạch phần xung quanh bugi.
Tháo bugi ra khỏi đầu xy-lanh.
Important: Thay thế nếu bugi bị nứt, tắc hoặc bẩn. Không làm sạch các điện cực vì nếu để sạn lọt vào xilanh có thể làm hỏng động cơ.
Đặt khe hở trên bugi thành 0,76 mm (0,030 inch), tham khảo Hình 24.

Cẩn thận dùng tay để lắp đặt bugi (tránh vặn chéo đường ren) cho đến khi có cảm giác chặt tay.
Siết chặt bugi đến 23 N∙m (2,3 kgf-m, 17 ft-lb).
Important: Bugi lỏng có thể trở nên rất nóng và làm hỏng động cơ; siết quá chặt bugi có thể làm hỏng đường ren trong đầu xy-lanh.
Nối dây vào bugi.
Nếu máy còn mới, không tự hành hoặc máy có xu hướng trườn về phía trước, hãy điều chỉnh cáp truyền động .
Di chuyển máy ra bên ngoài và lên trên bề mặt lát đá gần bức tường chắc chắn để ngăn máy di chuyển về phía trước một cách an toàn trong khi động cơ đang chạy.
Đặt máy với lốp trước dựa vào tường.
Note: Đảm bảo khu vực được thông gió tốt và không có mảnh vụn mà máy có thể ném.
Chuyển bộ phận truyền động sang số thứ ba.
Khởi động động cơ; tham khảo Khởi động Động cơ.
Kéo thanh truyền động tự hành đến tay cầm.
Note: Các bánh xe sẽ bắt đầu quay khi thanh truyền động tự hành vừa chạm vào tay cầm.
Tắt động cơ.
Nếu bạn phải điều chỉnh máy, hãy làm như sau:
Nếu các bánh xe không quay khi bạn bật thanh truyền động tự hành, khi đó dây đai kéo quá lỏng. Xoay núm điều khiển truyền động bánh xe (Hình 25) theo chiều kim đồng hồ 1 vòng và lặp lại các bước từ 4 đến 6.

Nếu các bánh xe quay trước khi bạn bật hoàn toàn thanh truyền động tự hành, khi đó dây đai kéo quá căng. Xoay núm điều khiển truyền động bánh xe (Hình 25) ngược chiều kim đồng hồ 1 vòng và lặp lại các bước từ 4 đến 6.
Đối với dây đai kéo mới, hãy xoay núm điều chỉnh cáp truyền động theo chiều kim đồng hồ thêm 1 vòng để cho dây đai kéo căng bình thường trong thời gian ngắt xen.
Note: Bạn có thể bỏ qua bước này nếu đang điều chỉnh dây đai đã qua sử dụng.
Luôn cắt bằng lưỡi dao sắc bén. Lưỡi dao sắc bén sẽ cắt sạch và không xé rách hay nghiền vụn lá cỏ.
Tắt động cơ và chờ tất cả các bộ phận chuyển động dừng lại.
Ngắt kết nối dây ra khỏi bugi.
Đóng van nhiên liệu bằng cách di chuyển cần van nhiên liệu sang trái (Hình 13).
Xả nhiên liệu ra khỏi bình nhiên liệu.
Nghiêng máy trên phía bên phải (bộ lọc khí ở trên) như được minh họa trong Hình 26.

| Khoảng thời gian Dịch vụ Bảo trì | Quy trình Bảo trì |
|---|---|
| Trước mỗi lần sử dụng hoặc hàng ngày |
|
Kiểm tra cẩn thận độ sắc và độ mòn của lưỡi dao, đặc biệt là nơi tiếp giáp giữa phần phẳng và phần cong (Hình 27A). Vì cát và vật liệu mài mòn có thể mài mòn kim loại kết nối các phần phẳng và phần cong của lưỡi dao, nên hãy kiểm tra lưỡi dao trước khi sử dụng máy. Nếu bạn nhận thấy có khe hoặc vết mòn (Hình 27B và Hình 27C), hãy thay lưỡi dao; tham khảo Tháo Lưỡi dao.

Note: Để đạt hiệu suất tốt nhất, hãy lắp một lưỡi dao mới trước khi mùa cắt cỏ bắt đầu. Trong năm, hãy dũa bất kỳ vết mẻ nhỏ nào để duy trì mép cắt.
Lưỡi cắt mòn hoặc hư hỏng có thể bị gãy và mảnh vụn của lưỡi cắt có thể văng về phía bạn hoặc những người xung quanh, gây chấn thương cá nhân nghiêm trọng hoặc tử vong.
Kiểm tra lưỡi cắt định kỳ xem có bị mòn hoặc hư hỏng không.
Thay lưỡi dao bị mòn hoặc bị hỏng.
| Khoảng thời gian Dịch vụ Bảo trì | Quy trình Bảo trì |
|---|---|
| Trước mỗi lần sử dụng hoặc hàng ngày |
|
Kiểm tra cẩn thận bộ tăng tốc xem có bị mài mòn quá mức không (Hình 28). Vì cát và vật liệu mài mòn có thể làm mòn kim loại (đặc biệt là ở khu vực được minh họa như mục 2 trong Hình 28), hãy kiểm tra bộ tăng tốc trước khi sử dụng máy. Nếu bạn nhận thấy mấu trên bộ tăng tốc đã bị mòn đến mép sắc hoặc có vết nứt, hãy thay bộ tăng tốc đó.

Bộ tăng tốc bị mòn hoặc hư hỏng có thể bị gãy và mảnh vụn của bộ tăng tốc có thể văng về phía bạn hoặc những người xung quanh, gây chấn thương cá nhân nghiêm trọng hoặc tử vong.
Kiểm tra bộ tăng tốc định kỳ xem có bị mòn hoặc hư hỏng không.
Thay bộ tăng tốc bị mòn hoặc bị hỏng.
Dùng giẻ hoặc găng tay có đệm dày để giữ đầu lưỡi dao.
Tháo bu lông lưỡi dao, vòng đệm khóa, bộ tăng tốc và lưỡi dao (Hình 27).
| Khoảng thời gian Dịch vụ Bảo trì | Quy trình Bảo trì |
|---|---|
| 50 giờ một lần |
|
Giũa mặt trên của lưỡi dao để duy trì góc cắt ban đầu (Hình 29A) và bán kính mép cắt bên trong (Hình 29B). Lưỡi dao sẽ vẫn cân bằng nếu bạn loại bỏ cùng một lượng vật liệu ra khỏi cả hai mép cắt.

Kiểm tra độ cân bằng của lưỡi dao bằng cách đặt lỗ ở giữa của lưỡi dao lên trên một chiếc đinh hoặc thân tuốc nơ vít được kẹp nằm ngang trong bàn kẹp (Hình 30).

Note: Bạn cũng có thể kiểm tra độ cân bằng bằng cách sử dụng bộ cân bằng lưỡi dao được sản xuất thương mại.
Nếu một trong hai đầu của lưỡi dao quay xuống dưới, hãy dũa đầu đó (không phải mép cắt hoặc đầu gần mép cắt) cho đến khi không có đầu nào của lưỡi dao rơi xuống.
Lắp lưỡi dao Toro cân bằng, sắc bén, bộ tăng tốc, vòng đệm khóa và bu lông lưỡi dao. Buồm của lưỡi dao phải hướng về phía trên cùng của vỏ máy cắt cỏ để lắp đặt đúng cách.
Note: Tạo mô-men xoắn cho bu lông lưỡi dao đến 82 N∙m (60 ft-lb).
Vận hành máy mà không có bộ tăng tốc ở đúng vị trí có thể khiến lưỡi dao bị uốn, bị cong hoặc gãy, dẫn đến thương tích nghiêm trọng hoặc gây tử vong cho bạn hoặc những người xung quanh.
Không vận hành máy khi không có bộ tăng tốc ở đúng vị trí.
Đưa máy về vị trí vận hành.
Nếu cáp phanh lưỡi cắt cần được thay thế hoặc không được điều chỉnh đúng cách, hãy điều chỉnh cáp phanh lưỡi cắt.
Tắt động cơ và chờ tất cả các bộ phận chuyển động dừng lại.
Ngắt kết nối dây ra khỏi bugi.
Giữ thanh điều khiển lưỡi cắt cách đầu tay cầm 19 cm như được minh họa trong Hình 31.

Nới lỏng đai ốc neo cáp.
Kéo ống dẫn cáp xuống để loại bỏ phần chùng của cáp phanh.
Siết chặt đai ốc neo cáp.
Nhả thanh điều khiển lưỡi cắt và kiểm tra xem cáp phanh có bị chùng không.
| Khoảng thời gian Dịch vụ Bảo trì | Quy trình Bảo trì |
|---|---|
| 50 giờ một lần |
|
Tắt động cơ và chờ tất cả các bộ phận chuyển động dừng lại.
Ngắt kết nối dây ra khỏi bugi.
Tháo vỏ dây đai (Hình 32) ra khỏi vỏ máy cắt cỏ.

Nhấc vỏ và chải sạch mọi mảnh vụn xung quanh khu vực dây đai.
Lắp vỏ dây đai.
Nối dây vào bugi.
| Khoảng thời gian Dịch vụ Bảo trì | Quy trình Bảo trì |
|---|---|
| 40 giờ một lần |
|
Tháo bánh xe sau và vệ sinh mọi mảnh vụn khỏi khu vực bánh xe-bánh răng.

Sau khi vệ sinh, hãy bôi một lượng nhỏ hợp chất chống kẹt vào bánh răng.
Note: Nếu bạn vận hành máy trong điều kiện khắc nghiệt, việc vệ sinh bánh xe thường xuyên hơn khuyến nghị sẽ làm tăng tuổi thọ của bánh răng.
Note: Để tránh làm hỏng phớt dầu ổ trục, không sử dụng xịt nước áp suất cao vào ổ trục.
Để chuẩn bị cất máy ngoài mùa cao điểm, hãy thực hiện các quy trình bảo trì được khuyến nghị; tham khảo .
Cất giữ máy ở nơi khô ráo, thoáng mát, sạch sẽ. Che máy để giữ cho máy sạch sẽ và được bảo vệ.
Luôn tắt máy, chờ cho tất cả các bộ phận chuyển động dừng lại và để máy nguội trước khi điều chỉnh, bảo dưỡng, vệ sinh hoặc cất giữ máy.
Xả hết nhiên liệu ra khỏi bình nhiên liệu khi cắt cỏ lần cuối trước khi cất máy.
Chạy động cơ cho đến khi tắt vì hết nhiên liệu.
Làm nghẹt động cơ và khởi động lại.
Để động cơ chạy cho đến khi tắt. Khi bạn không thể khởi động động cơ được nữa, động cơ đã đủ khô.
Trong khi động cơ vẫn còn nóng, hãy thay dầu trong cacte; tham khảo Thay Dầu Động cơ.
Tháo bugi.
Sử dụng can dầu để đổ thêm khoảng 30 ml (1 fl oz) dầu động cơ vào cacte động cơ qua lỗ bugi.
Xoay từ từ động cơ nhiều lần bằng cách kéo tay cầm khởi động giật lùi để phân phối dầu khắp cacte động cơ.
Lắp bugi nhưng không kết nối dây với bugi.
Làm sạch bên dưới máy; tham khảo Làm sạch bên dưới Máy.
Làm sạch bụi bẩn và cặn bám trên xilanh, cánh tản nhiệt đầu xilanh và vỏ quạt gió.
Loại bỏ cỏ xén, bụi bẩn và cáu ghét bám trên các bộ phận bên ngoài của động cơ, tấm che và mặt trên cùng của vỏ máy cắt cỏ.
Kiểm tra tình trạng của lưỡi dao; tham khảo Kiểm tra Lưỡi dao.
Kiểm tra tình trạng của bộ tăng tốc; tham khảo Kiểm tra Bộ tăng tốc.
Bảo dưỡng bộ lọc khí; tham khảo Bảo dưỡng Bộ lọc Khí.
Siết chặt tất cả các đai ốc, bu lông và vít.
Đánh lại tất cả các bề mặt sơn bị rỉ sét hoặc chẻ bằng sơn có sẵn từ Đại lý Dịch vụ được Ủy quyền.
Kiểm tra và siết chặt tất cả các chốt hãm.
Tháo bugi và quay nhanh động cơ bằng cách sử dụng bộ khởi động để thổi dầu thừa ra khỏi xilanh.
Làm sạch bugi hoặc thay thế nếu bugi bị nứt, vỡ hoặc nếu các điện cực bị mòn.
Lắp bugi; tham khảo Bảo dưỡng Bugi.
Thực hiện bất kỳ quy trình bảo trì cần thiết nào; tham khảo .
Đổ nhiên liệu mới vào bình nhiên liệu.
Kiểm tra mức dầu động cơ.
Nối dây vào bugi.
| Problem | Possible Cause | Corrective Action |
|---|---|---|
| Động cơ không khởi động. |
|
|
| Động cơ khởi động khó hoặc bị mất nguồn. |
|
|
| Động cơ chạy không đều. |
|
|
| Máy hoặc động cơ rung quá mức. |
|
|
| Có một mẫu cắt không đồng đều. |
|
|
| Máng xả bị bít. |
|
|
| Máy không tự hành. |
|
|