Mantenimiento
Note: Los lados derecho e izquierdo de la máquina se determinan desde la posición normal del operador.
Cuidado
Si deja la llave en el interruptor de encendido, alguien podría arrancar el motor accidentalmente y causar lesiones graves a usted o a otras personas.
Retire la llave del interruptor y desconecte los cables de las bujías antes de realizar cualquier operación de mantenimiento. Aparte los cables para evitar su contacto accidental con las bujías.
Seguridad en el mantenimiento
-
Aparque la máquina en una superficie nivelada, desengrane el sistema hidráulico de la zanjadora, baje la espada, accione el freno de estacionamiento, apague el motor y retire la llave. Espere a que se detengan todas las piezas en movimiento y deje que se enfríe la máquina antes de hacer trabajos de ajuste, limpieza, almacenamiento o reparación.
-
Limpie cualquier aceite o combustible derramado.
-
No permita que personas que no hayan recibido formación realicen mantenimiento en la máquina.
-
Utilice caballetes para apoyar los componentes cuando sea necesario.
-
Alivie con cuidado la tensión de aquellos componentes que tengan energía almacenada.
-
Desconecte la batería antes de efectuar cualquier reparación.
-
Mantenga las manos y los pies alejados de las piezas en movimiento. Si es posible, no haga ajustes mientras el motor está funcionando.
-
Mantenga todas las piezas en buenas condiciones de funcionamiento, y todos los herrajes bien apretados. Sustituya cualquier calcomanía desgastada o deteriorada.
-
No manipule los dispositivos de seguridad.
-
Utilice solamente piezas de repuesto genuinas de Toro.
Calendario recomendado de mantenimiento
| Intervalo de mantenimiento y servicio | Procedimiento de mantenimiento |
|---|---|
| Después de las primeras 8 horas |
|
| Después de las primeras 50 horas |
|
| Cada vez que se utilice o diariamente |
|
| Después de cada uso |
|
| Cada 25 horas |
|
| Cada 40 horas |
|
| Cada 100 horas |
|
| Cada 200 horas |
|
| Cada 250 horas |
|
| Cada 400 horas |
|
| Cada 500 horas |
|
| Cada 1500 horas |
|
| Cada año o antes del almacenamiento |
|
Important: Consulte los procedimientos adicionales de mantenimiento del manual del propietario del motor.
Procedimientos previos al mantenimiento
Cómo retirar la cubierta
Note: Las fijaciones de las cubiertas de esta máquina están diseñadas para que queden sujetas a la cubierta después de retirarse ésta. Afloje todas las fijaciones de cada cubierta unas cuantas vueltas hasta que la cubierta esté suelta pero aún sujeta, luego vuelva a aflojarlas hasta que la cubierta quede libre. Esto evita la posibilidad de retirar accidentalmente los pernos de los retenedores.
-
Aparque la máquina en una superficie nivelada, accione el freno de estacionamiento (si se aplica) y baje la espada.
-
Apague el motor y retire la llave.
Advertencia
Debajo de la cubierta hay un eje giratorio que está en movimiento cuando la máquina está en marcha y puede atrapar los dedos, las manos, el pelo suelto y la ropa y causar graves lesiones, amputaciones o incluso la muerte.
Siempre apague el motor y espere a que se detengan todas las piezas en movimiento antes de retirar la cubierta.
-
Afloje el perno de parte trasera de la cubierta.
-
Afloje secuencialmente los 3 pernos que sujetan la cubierta al bastidor hasta que la cubierta quede suelta (Figura 24).

-
Deslice la tapa hacia la derecha de la máquina y, a continuación, tire de ella sobre los pernos para retirarla de la máquina.
-
Para instalar la tapa antes de utilizar la máquina, deslícela en su sitio y sujétela con los 3 pernos que retiró anteriormente (Figura 24).
Cómo retirar el protector inferior
Note: Las fijaciones de las cubiertas de esta máquina están diseñadas para que queden sujetas a la cubierta después de retirarse ésta. Afloje todas las fijaciones de cada cubierta unas cuantas vueltas hasta que la cubierta esté suelta pero aún sujeta, luego vuelva a aflojarlas hasta que la cubierta quede libre. Esto evita la posibilidad de retirar accidentalmente los pernos de los retenedores.
-
Aparque la máquina en una superficie nivelada, accione el freno de estacionamiento (si se aplica) y baje la espada.
-
Apague el motor y retire la llave.
-
Afloje secuencialmente los 2 pernos que sujetan el protector inferior hasta que el deflector quede libre (Figura 25).

-
Tire del protector para retirarla de la máquina.
-
Para instalar el protector antes de utilizar la máquina, deslice el protector inferior en la máquina de modo que descanse sobre las 4 pestañas y sujételo con los 2 pernos que aflojó anteriormente (Figura 25).
Note: Puede ser necesario levantar la cubierta para asegurarse de que descansa sobre las pestañas delanteras.
Lubricación
Engrasado de la máquina
| Intervalo de mantenimiento y servicio | Procedimiento de mantenimiento |
|---|---|
| Cada vez que se utilice o diariamente |
|
Tipo de grasa: Grasa de propósito general.
-
Aparque la máquina en una superficie nivelada, accione el freno de estacionamiento y baje la espada.
-
Apague el motor y retire la llave.
-
Limpie con un trapo los puntos de engrase.
-
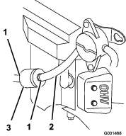
Conecte una pistola de engrasar a cada punto de engrase (Figura 26 a Figura 29).
-
Bombee grasa hasta que empiece a rezumar grasa de los cojinetes (3 aplicaciones aproximadamente)
-
Limpie cualquier exceso de grasa.




Cómo engrasar el alojamiento de la zanjadora
| Intervalo de mantenimiento y servicio | Procedimiento de mantenimiento |
|---|---|
| Cada 40 horas |
|
Tipo de grasa: Grasa de propósito general.
-
Aparque la máquina en una superficie nivelada, accione el freno de estacionamiento y baje la espada.
-
Apague el motor y retire la llave.
-
Limpie el punto de engrase del alojamiento de la zanjadora con un trapo y conecte una pistola de engrasar (Figura 30).

-
Bombee grasa en el acoplamiento hasta que salga grasa de la válvula de grasa situada junto al acoplamiento.
-
Limpie cualquier exceso de grasa.
Mantenimiento del motor
Seguridad del motor
-
Apague el motor antes de comprobar el aceite o añadir aceite al cárter.
-
No cambie los ajustes del regulador del motor ni haga funcionar el motor a una velocidad excesiva.
-
Mantenga las manos, los pies, la cara, la ropa y otras partes del cuerpo alejados del silenciador y de otras superficies calientes.
Mantenimiento del limpiador de aire
Modelos 22972 y 22973
| Intervalo de mantenimiento y servicio | Procedimiento de mantenimiento |
|---|---|
| Cada 25 horas |
|
| Cada 100 horas |
|
| Cada 200 horas |
|
Inspeccione los elementos de gomaespuma y de papel, y cámbielos si están dañados o excesivamente sucios.
Important: No aplique aceite a los elementos de gomaespuma o de papel.
Cómo retirar los elementos de gomaespuma y papel
-
Aparque la máquina en una superficie nivelada, accione el freno de estacionamiento y baje la espada.
-
Apague el motor y retire la llave.
-
Limpie alrededor del limpiador de aire de forma que la suciedad no penetre en el motor y cause daños (Figura 31).
-
Afloje los pomos de la cubierta y retire la cubierta del limpiador de aire (Figura 31).
-
Afloje la abrazadera y retire el conjunto del limpiador de aire (Figura 31).
-
Retire cuidadosamente el filtro de gomaespuma del filtro de papel (Figura 31).

Limpieza del elemento de gomaespuma del limpiador de aire
-
Lave el filtro de gomaespuma con jabón líquido y agua templada. Cuando el filtro esté limpio, enjuáguelo bien.
-
Seque el elemento apretándolo con un paño limpio.
Important: Sustituya el elemento de gomaespuma si está roto o desgastado.
Mantenimiento del elemento de papel del limpiador de aire
-
Limpie el elemento de papel golpeándolo suavemente para eliminar el polvo. Si está muy sucio, sustituya el elemento de papel (Figura 31).
-
Inspeccione el filtro por si estuviera roto, tuviera una película aceitosa o la junta de goma estuviera dañada.
-
Cambie el elemento de papel si está dañado.
Important: No limpie el filtro de papel.
Instalación de los elementos de gomaespuma y papel del limpiador de aire
Important: Para evitar dañar el motor, no haga funcionar nunca el motor sin que esté instalado el conjunto completo del limpiador de aire, con elementos de gomaespuma y papel.
Modelo 22974
| Intervalo de mantenimiento y servicio | Procedimiento de mantenimiento |
|---|---|
| Cada 250 horas |
|
| Cada 500 horas |
|
Cómo retirar los filtros
-
Aparque la máquina en una superficie nivelada, accione el freno de estacionamiento (si se aplica) y baje la espada.
-
Apague el motor y retire la llave.
-
Abra los cierres del limpiador de aire y tire de la tapa de la entrada de aire para separarla del cuerpo del limpiador de aire (Figura 32).

-
Limpie el interior de la tapa del limpiador de aire con aire comprimido.
-
Extraiga con cuidado el filtro primario del cuerpo del limpiador de aire (Figura 32).
Note: Evite golpear el filtro contra el lado de la carcasa.
-
Retire el filtro de seguridad únicamente si piensa cambiarlo.
Important: No intente limpiar el filtro de seguridad. Si el filtro de seguridad está sucio, entonces el filtro primario está dañado. Cambie ambos filtros.
Mantenimiento del filtro primario
Inspeccione el filtro primario mirando dentro del mismo mientras dirige una luz potente al exterior del filtro.
Note: Cualquier agujero del filtro se verá como un punto luminoso. Si el filtro está sucio, doblado o dañado, cámbielo. No limpie el filtro primario.
Mantenimiento del filtro de seguridad
Cambie el filtro de seguridad; no lo limpie nunca.
Important: No intente limpiar el filtro de seguridad. Si el filtro de seguridad está sucio, entonces el filtro primario está dañado. Cambie ambos filtros.
Instalación de los filtros
Important: Para evitar dañar el motor, no haga funcionar nunca el motor sin que estén instalados ambos filtros de aire y la tapa.
-
Si está instalando filtros nuevos, compruebe cada filtro para asegurarse de que no ha sufrido daños durante el transporte.
Note: No utilice un filtro dañado.
-
Si va a cambiar el filtro de seguridad, deslícelo cuidadosamente en el cuerpo del filtro (Figura 32).
-
Deslice cuidadosamente el filtro primario por encima del filtro de seguridad (Figura 32).
Note: Asegúrese de que el filtro primario está bien asentado empujando sobre el borde exterior mientras lo instala.
Important: No empuje sobre la zona blanda interior del filtro.
-
Instale la tapa del limpiador de aire con el lado marcado up hacia arriba y fije los cierres (Figura 32).
Mantenimiento del aceite de motor
| Intervalo de mantenimiento y servicio | Procedimiento de mantenimiento |
|---|---|
| Después de las primeras 8 horas |
|
| Cada vez que se utilice o diariamente |
|
| Cada 100 horas |
|
| Cada 200 horas |
|
Note: Cambie el aceite con más frecuencia en condiciones de funcionamiento de mucho polvo o arena.
Note: Es posible que su motor sea distinto al que se muestra en los gráficos.
Especificaciones del aceite del motor
Tipo de aceite: Aceite detergente (servicio API SF, SG, SH o SJ)
Capacidad del cárter:
-
Modelos 22972 y 22973: 1,7 litros con el filtro retirado; 1,5 litros sin retirar el filtro
-
Modelos 22974: 2,1 litros con el filtro retirado; 1,8 litros sin retirar el filtro
Viscosidad: Consulte la siguiente tabla.

Comprobación del nivel de aceite del motor
-
Aparque la máquina en una superficie nivelada, accione el freno de estacionamiento (si se aplica) y baje la espada.
-
Apague el motor y retire la llave.

Cómo cambiar el aceite del motor
-
Arranque el motor y déjelo funcionar durante 5 minutos. De esta forma, el aceite se calentará y será más fácil drenarlo.
-
Aparque la máquina de manera que el lado de drenaje esté ligeramente más bajo que el lado opuesto para asegurar que el aceite se drene completamente.
-
Baje la espada y accione el freno de estacionamiento.
-
Apague el motor, retire la llave y espere a que se detengan todas las piezas en movimiento antes de abandonar el puesto del operador.
-
Coloque un recipiente debajo del tubo de vaciado.
Note: Gire la válvula de vaciado para que se drene el aceite (Figura 35).

-
Cuando el aceite se haya drenado completamente, cierre la válvula de vaciado.
-
Elimine el aceite usado en un centro de reciclaje.
-
Vierta lentamente un 80 % aproximadamente del aceite especificado por el tubo de llenado, luego añada lentamente el resto del aceite hasta que llegue a la marca de Lleno (Figura 36).

-
Arranque el motor y conduzca hasta una zona llana.
-
Compruebe el nivel de aceite otra vez.
Cambio del filtro de aceite del motor
-
Drene el aceite del motor; consulte Cómo cambiar el aceite del motor.
-
Sustituya el filtro de aceite del motor (Figura 37).

Note: Asegúrese de que la junta del filtro de aceite toca el motor y, a continuación, gire el filtro de aceite 3/4 de vuelta más.
-
Llene el cárter con el tipo correcto de aceite nuevo; consulte Especificaciones del aceite del motor.
Mantenimiento de la bujía(s)
| Intervalo de mantenimiento y servicio | Procedimiento de mantenimiento |
|---|---|
| Cada 100 horas |
|
Antes de instalar la(s) bujía(s), asegúrese de que la distancia entre los electrodos central y lateral es correcta. Utilice una llave para bujías para desmontar e instalar la(s) bujía(s) y una galga de espesores/herramienta de separación de electrodos para comprobar y ajustar la distancia entre los mismos. Instale una bujía nueva si es necesario.
Tipo de bujía: NGK® BPR4ES o equivalente
Hueco entre electrodos: 0,75 mm
Retirada de la(s) bujía(s)
-
Aparque la máquina en una superficie nivelada, accione el freno de estacionamiento (si se aplica) y baje la espada.
-
Apague el motor y retire la llave.
-
Localice y retire la(s) bujía(s), tal y como se muestra en la Figura 38.


Comprobación de la(s) bujía(s)
Important: No limpie la(s) bujía(s). Cambie siempre la(s) bujía(s) si tiene(n): un revestimiento negro, los electrodos desgastados, una película aceitosa o grietas.
Si se observa un color gris o marrón claro en el aislante, el motor está funcionando correctamente. Si el aislante es de color negro, significa que el limpiador de aire está sucio.
Ajuste la distancia a 0,75 mm.

Instalación de la bujía(s)

Mantenimiento del sistema de combustible
Peligro
En ciertas condiciones, el combustible es extremadamente inflamable y altamente explosivo. Un incendio o una explosión provocados por el combustible puede causarle quemaduras a usted y a otras personas así como daños materiales.
Consulte Seguridad del combustible para obtener una lista completa de precauciones relacionadas con el sistema de combustible.
Drenaje del depósito de combustible
-
Aparque la máquina en una superficie nivelada, accione el freno de estacionamiento y baje la espada.
-
Apague el motor y retire la llave.
-
Gire la válvula de cierre del combustible a la posición de Cerrado (Figura 41).

-
Apriete los extremos de la abrazadera en el lado del motor de la válvula y deslícela por el tubo de combustible, alejándola de la válvula (Figura 41).
-
Retire el tubo de combustible de la válvula (Figura 41).
-
Abra la válvula de cierre del combustible y deje que el combustible se drene en un recipiente.
Note: Si lo desea, puede sustituir el filtro del combustible en este punto; consulte Cambio del filtro de combustible.
-
Conecte el tubo de combustible a la válvula de cierre de combustible. Acerque la abrazadera a la válvula para fijar el tubo de combustible.
-
Limpie cualquier combustible derramado.
Cambio del filtro de combustible
| Intervalo de mantenimiento y servicio | Procedimiento de mantenimiento |
|---|---|
| Cada 200 horas |
|
No instale nunca un filtro sucio que haya sido desmontado del tubo de combustible.
Note: Observe cómo está instalado el filtro de combustible para poder instalar el filtro nuevo correctamente.
Note: Limpie cualquier combustible derramado.
-
Aparque la máquina en una superficie nivelada, accione el freno de estacionamiento y baje la espada.
-
Apague el motor y retire la llave.
-
Gire la válvula de cierre del combustible a la posición de cerrado (Figura 41).
-
Apriete los extremos de las abrazaderas y deslícelas por el tubo alejándolas del filtro (Figura 42).

-
Desmonte el filtro de los tubos de combustible.
-
Instale un filtro nuevo y acerque las abrazaderas al filtro.
-
Gire la válvula de cierre del combustible a la posición de abierto (Figura 41).
-
Compruebe si hay fugas de combustible y repárelas de ser necesario.
-
Limpie cualquier combustible derramado.
Mantenimiento del sistema eléctrico
Seguridad del sistema eléctrico
-
Desconecte la batería antes de realizar reparaciones en la máquina. Desconecte primero el terminal negativo y luego el positivo. Conecte primero el terminal positivo y luego el negativo.
-
Cargue la batería en una zona abierta y bien ventilada, lejos de chispas y llamas. Desenchufe el cargador antes de conectar o desconectar la batería. Lleve ropa protectora y utilice herramientas aisladas.
-
El ácido de la batería es venenoso y puede causar quemaduras. Evite el contacto con la piel, los ojos y la ropa. Protéjase la cara, los ojos y la ropa cuando trabaje con una batería.
-
Los gases de la batería pueden explotar. Mantenga alejados de la batería los cigarrillos, las chispas y las llamas.
Mantenimiento de la batería
| Intervalo de mantenimiento y servicio | Procedimiento de mantenimiento |
|---|---|
| Cada 25 horas |
|
Mantenga siempre la batería limpia y completamente cargada. Utilice una toalla de papel para limpiar la caja de la batería. Si los bornes de la batería están corroídos, límpielos con una disolución de 4 partes de agua y 1 parte de bicarbonato sódico. Aplique una ligera capa de grasa en los terminales de la batería para reducir la corrosión.
Voltaje: 12 V con 300 A (arranque en frío) a -18 °C.
Advertencia
Los bornes de la batería o una herramienta metálica podrían hacer cortocircuito si entran en contacto con los componentes metálicos de la máquina, causando chispas. Las chispas podrían hacer explotar los gases de la batería, causando lesiones personales.
-
Al retirar o colocar la batería, no deje que los bornes toquen ninguna parte metálica de la máquina.
-
No deje que las herramientas metálicas hagan cortocircuito entre los bornes de la batería y las partes metálicas de la máquina.
Retirada de la batería
-
Aparque la máquina en una superficie nivelada, accione el freno de estacionamiento y baje la espada.
-
Apague el motor y retire la llave.
-
Levante la cubierta de goma negra del cable negativo. Desconecte el cable negativo del borne negativo (-) de la batería (Figura 43).

-
Retire la cubierta de goma roja del borne positivo (rojo) de la batería. Luego retire el cable positivo (rojo) de la batería (Figura 43).
-
Retire la pletina de sujeción, los pernos en J y las contratuercas que fijan la batería (Figura 43). Retire la batería.
Carga de la batería
Advertencia
El proceso de carga de la batería produce gases que pueden explotar.
No fume cerca de la batería, y mantenga alejada de la batería cualquier chispa o llama.
Important: Mantenga siempre la batería completamente cargada (densidad de 1.265). Esto es especialmente importante para evitar daños a la batería cuando la temperatura está por debajo de los 0 °C.
-
Retire la batería de la máquina; consulte Retirada de la batería.
-
Cargue la batería a un ritmo de 3 a 4 amperios durante 8 horas (Figura 44). No sobrecargue la batería.

-
Cuando la batería esté completamente cargada, desconecte el cargador de la toma de electricidad, luego desconecte los cables del cargador de los bornes de la batería (Figura 44).
Comprobación del nivel de electrolito de la batería
Peligro
El electrolito de la batería contiene ácido sulfúrico, que es letal si se ingiere y causa quemaduras graves.
-
No beba electrolito y evite el contacto con la piel, los ojos y la ropa. Lleve gafas de seguridad para proteger sus ojos, y guantes de goma para proteger sus manos.
-
Llene la batería en un lugar que tenga disponible agua limpia para enjuagar la piel.
-
Aparque la máquina en una superficie nivelada, accione el freno de estacionamiento y baje la espada.
-
Apague el motor y retire la llave.
-
Mire hacia el lateral de la batería. El electrolito debe llegar a la línea superior (Figura 45). No permita que el electrolito esté por debajo de la línea inferior (Figura 45).

-
Si el nivel de electrolito es bajo, añada la cantidad necesaria de agua destilada; consulte la sección Cómo añadir agua a la batería.
Cómo añadir agua a la batería
El mejor momento para añadir agua destilada a la batería es justo antes de operar la máquina. Esto permite que el agua se mezcle perfectamente con la solución de electrolito.
-
Aparque la máquina en una superficie nivelada, accione el freno de estacionamiento y baje la espada.
-
Apague el motor y retire la llave.
-
Retire la batería de la máquina; consulte Retirada de la batería.
Important: No llene nunca la batería con agua destilada con la batería instalada en la máquina. Se podría derramar electrolito en otras piezas y causar corrosión.
-
Limpie la parte superior de la batería con una toalla de papel.
-
Retire los tapones de ventilación de la batería (Figura 45).
-
Vierta lentamente agua destilada en cada célula de la batería hasta que el nivel de electrolito llegue a la línea superior (Figura 45) de la caja de la batería.
Important: No llene en exceso la batería, ya que el electrolito (ácido sulfúrico) puede corroer y dañar el chasis.
-
Espere de cinco a diez minutos después de llenar las células de la batería. Añada agua destilada, si es necesario, hasta que el nivel de electrolito llegue a la línea superior (Figura 45) de la caja de la batería.
-
Coloque los tapones de ventilación.
Limpieza de la batería
Note: Mantenga limpios los bornes y toda la caja de la batería, porque una batería sucia se descarga lentamente.
-
Aparque la máquina en una superficie nivelada, accione el freno de estacionamiento y baje la espada.
-
Apague el motor y retire la llave.
-
Retire la batería de la máquina; Retirada de la batería.
-
Lave toda la caja con una solución de bicarbonato y agua.
-
Enjuague la batería con agua clara.
-
Aplique una capa de grasa Grafo 112X (Pieza Toro N.º 505-47) o de vaselina a los conectores de los cables y a los bornes de la batería para evitar la corrosión.
-
Instale la batería; consulte Instalación de la batería.
Instalación de la batería
-
Usando las fijaciones que retiró anteriormente, conecte el cable positivo (rojo) al borne positivo (+) de la batería (Figura 43).
-
Deslice el protector de borne rojo sobre el borne positivo de la batería.
-
Usando las fijaciones que retiró anteriormente, conecte el cable negativo (negro) al borne negativo (-) de la batería (Figura 43).
-
Sujete la batería con la barra y las tuercas de orejeta (Figura 43).
Important: Asegúrese de que los cables de la batería no entren en contacto con bordes cortantes, y que no se toquen entre sí.
Cambio de los fusibles (Modelos 22973 y 22974)
Hay 4 fusibles en el sistema eléctrico. Están situados debajo del panel de control, en el lado izquierdo (Figura 46).
| Circuito de arranque | 30 amperios |
| Circuito de carga | 25 amperios |
| Circuito del ventilador | 15 amperios |
| Faro (opcional) | 15 amperios |

Mantenimiento del sistema de transmisión
Mantenimiento de las orugas
Limpieza de las orugas
| Intervalo de mantenimiento y servicio | Procedimiento de mantenimiento |
|---|---|
| Cada vez que se utilice o diariamente |
|
Compruebe si las orugas tienen un desgaste excesivo, y límpielas periódicamente. Si las orugas están desgastadas, cámbielas.
-
Aparque la máquina en una superficie nivelada, accione el freno de estacionamiento y baje la espada.
-
Apague el motor y retire la llave.
-
Usando una manguera de agua o una lavadora a presión, retire la suciedad de cada conjunto de oruga.
Important: Solamente lave con agua a alta presión la zona de las orugas. No utilice un sistema de lavado a alta presión para limpiar el resto de la máquina. El lavado a alta presión puede dañar el sistema eléctrico y las válvulas hidráulicas, o eliminar grasa.
Important: Asegúrese de limpiar completamente las ruedas de rodaje y la rueda motriz (Figura 47). Las ruedas de rodaje deben rodar libremente cuando están limpias.

Comprobación y ajuste de la tensión de las orugas
| Intervalo de mantenimiento y servicio | Procedimiento de mantenimiento |
|---|---|
| Después de las primeras 50 horas |
|
| Cada 100 horas |
|
Para comprobar la tensión de cada oruga, coloque un peso de 20,4 kg en la oruga en un punto intermedio entre la rueda de rodaje delantera y la rueda motriz. La oruga no debe flexionarse más de 0,6 cm – 1 cm. Si lo hace, ajuste la tensión de las orugas usando el procedimiento siguiente:

-
Aparque la máquina en una superficie nivelada, accione el freno de estacionamiento y baje la espada.
-
Apague el motor y retire la llave.
-
Afloje la contratuerca del perno tensor de la oruga, y los pernos de fijación del brazo tensor (Figura 49).

-
Apriete el perno tensor a entre 32,5 y 40 N·m para tensar la oruga (Figura 49).
-
Asegúrese de que la oruga no se flexiona más de 0,6 cm – 1 cm al aplicarse una fuerza de 20,6 kg al tramo superior de la oruga. Ajuste el par de apriete del perno tensor según sea necesario.
-
Apriete la contratuerca.
-
Apriete los pernos de fijación a 102 N·m.
Cómo cambiar las orugas
Cuando las orugas estén muy desgastadas, cámbielas.
-
Aparque la máquina en una superficie nivelada, accione el freno de estacionamiento y baje la espada.
-
Apague el motor y retire la llave.
-
Levante y apoye el lado de la unidad en el que va a trabajar hasta que la oruga esté a entre 7,6 y 10 cm del suelo.
-
Afloje el perno tensor y la contratuerca (Figura 49).
-
Afloje los pernos de fijación (Figura 49).
-
Empuje la rueda de rodaje delantera todo lo posible hacia atrás (Figura 50).

-
Retire la oruga empezando en la parte superior de la rueda de rodaje delantera, retirándola de la rueda mientras mueve la oruga hacia adelante.
Note: Puede ser necesario retirar la rueda de rodaje delantera exterior. Para retirarla, retire la anilla a presión y el tapón del centro de la rueda de rodaje (Figura 51). A continuación, retire el perno y la junta del centro de la rueda y retire la rueda de la máquina.

-
Una vez retirada la oruga de la rueda de rodaje, retírela de la máquina (Figura 50).
-
Empezando en la rueda motriz, pase la oruga nueva alrededor de la rueda, asegurándose de que los dientes de la oruga encajen entre los espaciadores de la rueda (Figura 50).
-
Introduzca la oruga por debajo y entre las ruedas de rodaje trasera y central (Figura 50).
-
Empezando en la parte de abajo de la rueda de rodaje delantera, instale la oruga alrededor de dicha rueda moviendo la oruga hacia atrás mientras empuja los dientes para que encajen en la rueda.
-
Si retiró la rueda de rodaje delantera exterior, instálela ahora usando el perno y la junta que retiró anteriormente. Apriete el perno a 102 N·m y luego limpie, engrase e instale el tapón y la anilla a presión, siguiendo las instrucciones en Comprobación y engrase de las ruedas de rodaje..
-
Instale el perno tensor y la contratuerca.
-
Apriete el perno tensor a entre 32,5 y 40 N·m para tensar la oruga.
-
Asegúrese de que la oruga no se flexiona más de 0,6 cm – 1 cm al aplicarse una fuerza de 20,6 kg al tramo superior de la oruga. Ajuste el par de apriete del perno tensor según sea necesario.
-
Apriete la contratuerca.
-
Apriete los pernos de fijación a 102 N·m.
-
Baje la máquina al suelo.
-
Repita el procedimiento para sustituir la otra oruga.
Comprobación y engrase de las ruedas de rodaje.
| Intervalo de mantenimiento y servicio | Procedimiento de mantenimiento |
|---|---|
| Cada 250 horas |
|
-
Aparque la máquina en una superficie nivelada, accione el freno de estacionamiento y baje la espada.
-
Apague el motor y retire la llave.
-
Retire las orugas; consulte Cómo cambiar las orugas.
-
Retire la anilla a presión y el tapón de una de las ruedas de rodaje (Figura 52).

-
Compruebe la grasa que hay debajo del tapón y alrededor de la junta (Figura 52). Si está sucia, tiene arenilla o queda poca grasa, elimine toda la grasa, cambie la junta, y añada grasa nueva.
-
Asegúrese de que la rueda de rodaje gira libremente sobre el cojinete. Si queda bloqueada, póngase en contacto con su Servicio Técnico Autorizado para que sustituya la rueda de rodaje.
-
Coloque el tapón engrasado sobre la cabeza del perno (Figura 52).
-
Sujete el tapón de la rueda de rodaje con la anilla a presión (Figura 52).
-
Repita los pasos 4 a 8 para las 12 ruedas de rodaje.
-
Instale las orugas; consulte Cómo cambiar las orugas.
Mantenimiento de los frenos
Comprobación del freno de estacionamiento
| Intervalo de mantenimiento y servicio | Procedimiento de mantenimiento |
|---|---|
| Cada vez que se utilice o diariamente |
|
-
Ponga el freno de estacionamiento; consulte Palanca del freno de estacionamiento.
-
Arranque el motor.
-
Intente conducir la máquina lentamente hacia adelante o hacia atrás.
-
Si la máquina se mueve, póngase en contacto con un Servicio Técnico Autorizado para que la revise.
Mantenimiento de las correas
Sustitución de la correa de la transmisión de la bomba
Si la correa de transmisión de la bomba empieza a chirriar, o si está agrietada, desgastada o deshilachada, cámbiela. Póngase en contacto con su servicio técnico autorizado para obtener una correa de repuesto.
-
Aparque la máquina en una superficie nivelada, accione el freno de estacionamiento y baje la espada.
-
Apague el motor y retire la llave.
-
Levante la parte trasera de la máquina y apóyela sobre caballetes.
-
Retire el protector inferior; consulte Cómo retirar el protector inferior.
-
Afloje los 2 pernos de la bomba (Figura 53).

-
Gire la bomba en el sentido antihorario y deje que se separe de la polea (Figura 53).
Note: Asegúrese de que el acoplamiento de araña se separe junto con la bomba.
-
Usando una herramienta especial para retirar muelles (póngase en contacto con su servicio técnico autorizado), retire el extremo del muelle del perno para aliviar la tensión de la correa (Figura 53).
-
Retire la correa.
-
Instale una correa nueva alrededor de las poleas.
-
Instale el muelle de la polea tensora sobre el perno.
-
Asegúrese de que el acoplamiento de araña está colocado en la bomba e introduzca ésta en la polea, girándola en sentido horario para asentarla sobre los pernos de la bomba.
-
Apriete los pernos de la bomba a 68 N·m.
-
Instale el protector inferior.
Mantenimiento del sistema de control
Ajuste de la alineación del control de la tracción
Los controles de tracción se ajustan de fábrica antes del envío de la máquina. No obstante, tras muchas horas de uso, es posible que usted necesite ajustar la alineación del control de tracción, la posición de punto muerto del control de tracción y el desplazamiento del control de tracción en posición marcha adelante a velocidad máxima.
Important: Para ajustar correctamente los controles, complete cada procedimiento en el orden señalado.
Ajuste de la posición de marcha atrás del control de la tracción
Si la barra de control de tracción no queda enrasada con y paralela a la barra de referencia cuando está en la posición de marcha atrás, realice inmediatamente el procedimiento siguiente:
-
Aparque la máquina en una superficie nivelada, accione el freno de estacionamiento (si se aplica) y baje la espada.
-
Apague el motor y retire la llave.
-
Tire hacia atrás del control de tracción hasta que la parte delantera del control entre en contacto con la barra de referencia (Figura 54).

-
Si la parte delantera del control de tracción no queda enrasada con y paralela a la barra de referencia, afloje la tuerca y el perno del tubo del control de tracción (Figura 55).

-
Ajuste el control de tracción hasta que quede enrasado con la barra de referencia al tirar del mismo hacia atrás del todo (Figura 55 y Figura 56).

-
Apriete la tuerca con arandela prensada y el perno del tubo del control de tracción.
-
Arranque el motor.
-
Conduzca la máquina en marcha atrás con el control de tracción apretado contra la barra de referencia. Si la máquina se desvía, complete el procedimiento siguiente:
-
Apague el motor
-
Eleve y apoye la máquina de manera que ambas orugas estén levantadas del suelo y giren libremente.
-
Afloje la tuerca con arandela prensada y el perno del tubo del control de tracción (Figura 55).
-
Afloje las contratuercas de las varillas de tracción, debajo del panel de control (Figura 57).

-
Arranque la máquina y ponga el acelerador en posición de 1/3 abierto aproximadamente.
Advertencia
Si la máquina está en marcha, usted podría quedar atrapado por las piezas en movimiento y lesionarse, o quemarse en las superficies calientes.
Manténgase alejado de los puntos de peligro, las piezas en movimiento y las superficies calientes si ajusta la máquina cuando está funcionando.
-
Haga que otra persona sujete el control de tracción contra la barra de referencia en marcha atrás.
-
Ajuste la longitud de las varillas de tracción hasta que ambas orugas se muevan a la misma velocidad.
Note: Este es un buen momento para ajustar también la velocidad máxima de las orugas en marcha atrás.
-
Apriete las contratuercas.
-
Ajuste el control de tracción hasta que quede enrasado con la barra de referencia al tirar del mismo hacia atrás del todo (Figura 55 y Figura 56).
-
Apriete la tuerca con arandela prensada y el perno del tubo del control de tracción.
-
Apague el motor y baje la máquina al suelo.
-
Conduzca la máquina en marcha atrás a velocidad máxima, comprobando que la máquina va en línea recta. Si no es así, observe en qué sentido se desvía. Repita el ajuste anterior hasta que la máquina se desplace en línea recta en marcha atrás.
-
Ajuste de la posición de punto muerto del control de la tracción
Si la máquina se desplaza lentamente hacia adelante o hacia atrás cuando el control de tracción está en punto muerto y la máquina está caliente, puede ser necesario ajustar el mecanismo de retorno a punto muerto de las bombas; póngase en contacto con su servicio técnico autorizado.
Ajuste de la posición de marcha hacia delante del control de la tracción
Si la máquina no se desplaza en línea recta cuando usted sujeta el control de tracción contra la barra de referencia, complete el procedimiento siguiente:
-
Conduzca la máquina con el control de tracción contra la barra de referencia, observando en qué dirección se desvía la máquina.
-
Suelte el control de tracción.
-
Si la máquina se desvía a la izquierda, afloje la contratuerca de la derecha y ajuste el tornillo de fijación de desplazamiento en la parte delantera del control de tracción (Figura 58).
-
Si la máquina se desvía a la derecha, afloje la contratuerca de la izquierda y ajuste el tornillo de fijación de desplazamiento en la parte delantera del control de tracción (Figura 58).

-
Repita el procedimientos hasta que la máquina avance en línea recta en posición de marcha adelante a velocidad máxima.
Important: Asegúrese de que los tornillos de fijación entran en contacto con los topes en la posición de velocidad máxima hacia adelante para evitar forzar en exceso los émbolos de las bombas hidráulicas.
Mantenimiento del sistema hidráulico
Seguridad del sistema hidráulico
-
Busque atención médica inmediatamente si el fluido penetra en la piel. Un médico deberá eliminar quirúrgicamente el fluido inyectado en pocas horas.
-
Asegúrese de que todas las mangueras y líneas de fluido hidráulico están en buenas condiciones de uso, y que todos los acoplamientos y conexiones hidráulicos están apretados, antes de aplicar presión al sistema hidráulico.
-
Mantenga el cuerpo y las manos alejados de fugas pequeñas o de boquillas que liberan fluido hidráulico a alta presión.
-
Utilice un cartón o un papel para buscar fugas hidráulicas.
-
Alivie de manera segura toda la presión del sistema hidráulico antes de realizar trabajo alguno en el sistema hidráulico.
Especificación del fluido hidráulico
| Intervalo de mantenimiento y servicio | Procedimiento de mantenimiento |
|---|---|
| Cada 100 horas |
|
| Cada 1500 horas |
|
Capacidad del depósito hidráulico: 23 litros
Utilice solamente uno de los fluidos siguientes en el sistema hidráulico:
-
Toro Premium Transmission/Hydraulic Tractor Fluid (consulte a su Distribuidor Autorizado Toro si desea más información)
-
Fluido hidráulico Toro PX Extended Life (consulte a su distribuidor Toro autorizado si desea más información)
-
Si ninguno de los fluidos Toro anteriores no está disponible, puede utilizar otro fluido hidráulico universal para tractores (UTHF ), pero en este caso utilice únicamente productos convencionales a base de petróleo. Las especificaciones de todas las propiedades materiales deben estar dentro de los intervalos citados a continuación, y el fluido debe cumplir las normas industriales citadas. Consulte a su proveedor de fluido hidráulico para determinar si el fluido cumple estas especificaciones.
Note: Toro no asume responsabilidad alguna por daños causados por sustitutos no adecuados, así que usted debe utilizar solamente productos de fabricantes responsables que respaldan sus recomendaciones.
Propiedades de materiales Viscosidad, ASTM D445 cSt a 40 °C: 55 a 62 cSt a 100 °C: 9,1 a 9,8 Índice de viscosidad ASTM D2270: 140 a 152 Punto de descongelación, ASTMD97 -37 °C a -43 °C Normas industriales API GL-4, AGCO Powerfluid 821 XL, Ford New Holland FNHA-2-C-201.00, Kubota UDT, John Deere J20C, Vickers 35VQ25 y Volvo WB-101/BM Note: Muchos fluidos hidráulicos son casi incoloros, por lo que es difícil detectar fugas. Está disponible un aditivo de tinte rojo para el fluido del sistema hidráulico, en botellas de 20 ml. Una botella es suficiente para 15 a 22 litros de fluido hidráulico. Solicite la pieza N.º 44-2500 a su Distribuidor Autorizado Toro.
Comprobación del nivel de fluido hidráulico
| Intervalo de mantenimiento y servicio | Procedimiento de mantenimiento |
|---|---|
| Cada 25 horas |
|
Consulte Especificación del fluido hidráulico.
-
Aparque la máquina en una superficie nivelada, accione el freno de estacionamiento (si se aplica) y baje la espada.
-
Apague el motor y retire la llave.
-
Mire la burbuja de vidrio del lado derecho de la máquina. Si no ve fluido hidráulico en la burbuja, continúe con este procedimiento para añadir fluido.

-
Retire la cubierta; consulte Cómo retirar la cubierta.
-
Limpie la zona alrededor del cuello de llenado del depósito de aceite hidráulico, y retire el tapón y el filtro del cuello de llenado usando una llave de tubo (Figura 60).

-
Si el nivel es bajo, añada aceite hasta que se vea en la burbuja de vidrio.
-
Coloque el tapón y el filtro en el cuello de llenado y apriete el perno del tapón a entre 13 y 15,5 N·m.
-
Instale la cubierta; consulte Cómo retirar la cubierta.
Cambio del filtro hidráulico
| Intervalo de mantenimiento y servicio | Procedimiento de mantenimiento |
|---|---|
| Cada 200 horas |
|
-
Aparque la máquina en una superficie nivelada, accione el freno de estacionamiento (si se aplica) y baje la espada.
-
Apague el motor y retire la llave.
-
Retire la cubierta; consulte Cómo retirar la cubierta.
-
Retire y deseche el filtro usado (Figura 61).

-
Instale el filtro hidráulico de sustitución y el tapón de llenado (Figura 61) y apriete el perno del tapón a entre 13 y 15,5 N·m.
-
Limpie cualquier fluido derramado.
-
Instale la cubierta superior.
Cambio del fluido hidráulico
| Intervalo de mantenimiento y servicio | Procedimiento de mantenimiento |
|---|---|
| Cada 400 horas |
|
-
Aparque la máquina en una superficie nivelada, accione el freno de estacionamiento (si se aplica) y baje la espada.
-
Apague el motor y retire la llave.
-
Deje que la máquina se enfríe por completo.
-
Retire la cubierta; consulte Cómo retirar la cubierta.
-
Retire el tapón de llenado del depósito hidráulico y el filtro (Figura 61).
-
Coloque un recipiente con capacidad para 37,8 litros debajo del depósito hidráulico.
-
Apriete la abrazadera y retire la abrazadera y la manguera del acoplamiento del depósito hidráulico, dejando que se drene el fluido hidráulico del depósito y la manguera al recipiente.

-
Cuando termine, instale la manguera en el acoplamiento y sujétela con la abrazadera.
Note: Elimine el aceite usado en un centro de reciclaje homologado.
-
Llene el depósito hidráulico con fluido hidráulico; consulte Especificación del fluido hidráulico.
-
Instale el filtro hidráulico y el tapón de llenado (Figura 61) y apriete el perno del tapón a entre 13 y 15,5 N·m.
-
Arranque el motor y déjelo funcionar durante unos minutos.
-
Apague el motor.
-
Compruebe el nivel de fluido hidráulico y añada más si es necesario; consulte Comprobación del nivel de fluido hidráulico.
-
Limpie cualquier fluido derramado.
-
Instale la cubierta superior.
Mantenimiento de la zanjadora
Cambio de los dientes excavadores
| Intervalo de mantenimiento y servicio | Procedimiento de mantenimiento |
|---|---|
| Cada vez que se utilice o diariamente |
|
Debido al mucho desgaste a que están sometidos los dientes excavadores, tendrá que sustituirlos periódicamente.
Para sustituir un solo diente, saque los pernos que lo sujetan para desmontarlo, y después instale el nuevo diente en la misma posición. Apriete los pernos que sujetan los dientes a entre 37 y 45 N·m.
Comprobación y ajuste de la cadena de excavación y la espada
| Intervalo de mantenimiento y servicio | Procedimiento de mantenimiento |
|---|---|
| Cada 25 horas |
|
-
Compruebe cada eslabón de la cadena en busca de desgaste excesivo, por ejemplo, eslabones en los que ya no se pueden acoplar dientes.
-
Compruebe el desgaste de la parte inferior de la espada.
-
Con la zanjadora paralela al suelo, compruebe que hay una distancia de 3,8 a 6,3 cm entre la parte inferior de la espada y el borde superior del tramo inferior de la cadena. Si no es así, ajuste la tensión de la cadena.
Important: No apriete la cadena demasiado. Una tensión excesiva puede dañar los componentes de la transmisión.
Para sustituir la cadena si está desgastada, para cambiar de orientación o sustituir la espada en caso de desgaste, o bien para ajustar la tensión de la cadena, utilice el procedimiento siguiente:
-
Aparque la máquina en una superficie nivelada, accione el freno de estacionamiento y baje la espada.
-
Apague el motor y retire la llave.
-
Para sustituir la cadena, cambiar de orientación la espada o sustituir la espada, haga lo siguiente:
-
Retire los 2 pernos y tuercas que sujetan la espada al brazo de la zanjadora.

-
Afloje la contratuerca del perno de ajuste de la espada.
-
Afloje el perno de ajuste hasta que pueda retirar la cadena de la espada.
-
Retire la cadena del piñón de arrastre.
-
Si es necesario sustituir la cadena, retire el perno y la tuerca que sujetan el sinfín, y retire el sinfín y la cadena.
-
Retire la espada, dele la vuelta para que la parte inferior esté arriba (o si ya le ha dado la vuelta, póngala en su posición original) y vuelva a instalar la espada.
-
Sustituya las tuercas, los pernos y las arandelas que fijan la espada.
-
Para instalar una cadena nueva, conecte los eslabones introduciendo el pasador suministrado a través de los eslabones, a simple presión o con la ayuda de un martillo, luego sujete el pasador con la chaveta suministrada con la cadena.
Important: Para no doblar los eslabones de la cadena, coloque unos bloques debajo de los eslabones y entre los mismos si es necesario utilizar un martillo para introducir el pasador.
-
Instale la cadena sobre el piñón de arrastre y el rodillo delantero.
-
Si se retiró el sinfín, instálelo usando el perno y la tuerca que retiró anteriormente. Apriete el perno y la tuerca a 102 N·m.
-
Vaya al paso 6 para completar el ajuste.
-
-
Afloje los 2 pernos y tuercas que sujetan la espada al brazo de la zanjadora.
-
Afloje la contratuerca del perno de ajuste.
-
Gire el perno de ajuste hacia adentro o hacia afuera, según haga falta, hasta obtener la tensión deseada.
-
Apriete la contratuerca.
-
Apriete los 2 pernos y las tuercas que fijan la espada a entre 183 y 223 N·m.
Cómo cambiar el piñón de arrastre
Con el tiempo, el piñón de arrastre se desgasta, especialmente cuando se utiliza en suelos arenosos o arcillosos. Cuando esto ocurre, la cadena excavadora empieza a patinar. Si la cadena patina, cambie el piñón de arrastre de la manera siguiente:
-
Aparque la máquina en una superficie nivelada y accione el freno de estacionamiento.
-
Levante la zanjadora unos centímetros del suelo.
-
Apague el motor y retire la llave.
-
Retire el sinfín (Figura 64).

-
Afloje los 2 pernos y tuercas que sujetan la espada al brazo de la zanjadora.
-
Afloje la contratuerca del perno de ajuste de la espada.
-
Afloje el perno de ajuste hasta que pueda retirar la cadena de la espada.
-
Retire la cadena del piñón de arrastre.
-
Retire los 6 pernos que fijan el piñón de arrastre (Figura 64).
-
Retire y deseche el piñón de arrastre (Figura 64).
-
Limpie la superficie de montaje del piñón en la zanjadora (Figura 64).
-
Deslice el nuevo piñón sobre el eje (Figura 64).
Important: La flecha marcada en la cara del piñón debe ser visible desde el lado derecho de la zanjadora, y debe estar orientada en sentido horario; si no es así, dele la vuelta al piñón.
-
Enrosque los 6 pernos que fijan el piñón de arrastre con la presión de los dedos solamente (Figura 64).
-
Empiece a apretar lentamente los pernos, progresando alrededor del piñón hasta que todos los pernos estén apretados a entre 129 y 155 N·m.
Important: Primero apriete cada perno hasta la mitad solamente, apretando cada uno de los seis pernos sucesivamente y luego vuelva al primero y apriételos al par especificado.
-
Pase la cadena sobre el eje de transmisión del sinfín y sobre el piñón de transmisión, asegurándose de que los dientes del tramo superior están orientados hacia adelante.
-
Coloque el tramo superior de la cadena en la espada de la zanjadora, y después pase la cadena alrededor del rodillo situado en el extremo de la espada.
-
Enrosque el perno de ajuste en la espada y apriételo hasta que quede una holgura de 3,8 cm – 6,3 cm en el tramo inferior de la cadena.
-
Enrosque la contratuerca sobre el perno de ajuste y apriétela firmemente contra la espada.
-
Apriete los 2 pernos y las tuercas que fijan la espada a entre 183 y 223 N·m.
-
Instale el sinfín usando el perno y la tuerca que retiró anteriormente.
Note: Apriete el perno y la tuerca a 102 N·m.
Limpieza
Cómo limpiar la máquina
| Intervalo de mantenimiento y servicio | Procedimiento de mantenimiento |
|---|---|
| Después de cada uso |
|
Important: La operación del motor con la rejilla bloqueada, las aletas de refrigeración sucias u obstruidas y/o sin las tapas de ventilación dañará el motor debido al sobrecalentamiento.
-
Aparque la máquina en una superficie nivelada, accione el freno de estacionamiento (si se aplica) y baje la espada.
-
Apague el motor, retire la llave y deje que el motor se enfríe.
-
Retire cualquier residuo del limpiador de aire.
-
Limpie cualquier residuo que se haya acumulado en el motor y el silenciador con un cepillo o un soplador.
Important: Es preferible eliminar la suciedad soplando, en lugar de lavar con agua. Si se utiliza agua, manténgala lejos de los componentes eléctricos y de las válvulas hidráulicas. No utilice un sistema de lavado a alta presión. El lavado a alta presión puede dañar el sistema eléctrico y las válvulas hidráulicas, o eliminar grasa.
-
Limpia los residuos del enfriador de aceite.








































