Introducción

La grapa para troncos es un implemento de carga diseñado para ser usado en una minicargadora Toro. Está diseñado principalmente para agarrar y mover troncos talados y otros residuos orgánicos. No está diseñado para manejar hormigón, rocas, materiales de construcción, otros materiales de roca o metal, o para extraer tocones u otros objetos del suelo. El implemento también incluye un enganche de remolque, que permite colocar remolques en un terreno llano, y un bolardo para cuerda para facilitar la bajada de ramas pequeñas. Usar este producto con una finalidad diferente a la prevista puede ser peligroso para usted y para otras personas. No modifique la máquina ni los implementos.

La operación, el mantenimiento y la reparación del implemento debe ser realizada únicamente por profesionales familiarizados con sus características y con los procedimientos de seguridad aplicables.

Utilice esta máquina a una temperatura ambiente de -18° a 38° C (0° a 100 °F). Póngase en contacto con su Servicio Técnico Autorizado para conocer las disposiciones en relación con la operación de esta máquina en temperaturas extremas.

Lea detenidamente esta información para aprender a utilizar y a mantener el producto correctamente, y para evitar lesiones y daños al producto. Usted es responsable de utilizar el producto de forma correcta y segura.

Visite www.Toro.com para buscar materiales de formación y seguridad o información sobre accesorios, para localizar un distribuidor o para registrar su producto.

Cuando necesite asistencia técnica, piezas genuinas Toro o información adicional, póngase en contacto con un Servicio Técnico Autorizado o con Asistencia al Cliente Toro, y tenga a mano los números de modelo y serie de su producto. La Figura 1 o la Figura 1 identifican la ubicación de los números de modelo y serie en el producto. Escriba los números en el espacio provisto.

Important: Con su dispositivo móvil, puede escanear el código QR de la pegatina del número de serie (en su caso) para acceder a información sobre la garantía, las piezas y otra información sobre el producto.

g569743
g569744

Este manual identifica peligros potenciales y contiene mensajes de seguridad identificados por el símbolo de alerta de seguridad (Figura 3), que señala un peligro que puede causar lesiones graves o la muerte si usted no sigue las precauciones recomendadas.

g000502

El símbolo de alerta de seguridad aparece encima de información que le alerta ante acciones o situaciones inseguras y va seguido de la palabra PELIGRO, ADVERTENCIA o CUIDADO.

PELIGRO indica una situación peligrosa inminente que, si no se evita, causará la muerte o lesiones graves.

ADVERTENCIA indica una situación potencialmente peligrosa que, si no se evita, podría causar la muerte o lesiones graves.

CUIDADO indica una situación potencialmente peligrosa que si no se evita, podría causar lesiones menores o moderadas.

Este manual utiliza dos palabras más para resaltar información. Importante llama la atención sobre información mecánica especial, y Nota resalta información general que merece una atención especial.

Advertencia

CALIFORNIA

Advertencia de la Propuesta 65

El uso de este producto puede provocar la exposición a sustancias químicas que el Estado de California considera causantes de cáncer, defectos congénitos u otros trastornos del sistema reproductor.

Seguridad

Seguridad general

Siga siempre todas las instrucciones de seguridad con el fin de evitar lesiones corporales graves o la muerte.

  • No supere la capacidad nominal de trabajo, puesto que la máquina puede desestabilizarse y causar una pérdida de control.

  • No transporte ningún implemento con los brazos elevados o extendidos (en su caso). Siempre transporte el implemento cerca del suelo; consulte Posición de transporte.

  • Marque las áreas de la zona de trabajo que contienen tendidos enterrados y otros objetos, y no excave en las zonas marcadas.

  • Lea y comprenda el contenido de este Manual del operador antes de arrancar la máquina.

  • Dedique toda su atención al manejo de la máquina. No realice ninguna actividad que pudiera distraerle; de lo contrario, podrían producirse lesiones o daños materiales.

  • No deje nunca que la máquina sea utilizada por niños o por personas que no hayan recibido la formación adecuada.

  • Mantenga las manos y los pies alejados de componentes e implementos en movimiento.

  • No haga funcionar la máquina si no están colocados y funcionando los protectores y dispositivos de seguridad.

  • No deje que se acerquen animales u otras personas a la máquina.

  • Pare la máquina, apague la máquina y retire la llave antes de realizar tareas de mantenimiento o repostaje, y antes de eliminar obstrucciones en la máquina.

El uso o mantenimiento incorrecto de esta máquina puede causar lesiones. Para reducir el peligro de lesiones, cumpla estas instrucciones de seguridad y preste atención siempre al símbolo de alerta de seguridad Graphic, que significa: Cuidado, Advertencia o Peligro —instrucción relativa a la seguridad personal—. El incumplimiento de estas instrucciones puede dar lugar a lesiones personales o la muerte.

Seguridad en las pendientes

  • Al subir y bajar pendientes, hágalo con el extremo más pesado de la máquina cuesta arriba. La distribución del peso varía dependiendo del implemento. Un implemento de carga vacío hace que el extremo más pesado de la máquina sea la parte trasera, y un implemento de carga lleno hace que el extremo más pesado sea la parte delantera de la máquina. Con la mayoría de los demás implementos, la parte delantera de la máquina será el extremo más pesado.

  • La elevación o la extensión (en su caso) de los brazos de carga en una pendiente afecta a la estabilidad de la máquina. Mantenga los brazos de carga bajados y retraídos mientras está en una pendiente.

  • Las pendientes son un factor de primera importancia en los accidentes producidos por pérdida de control o vuelco, que pueden causar lesiones graves o la muerte. El uso de la máquina en cualquier pendiente o terreno irregular exige un cuidado especial.

  • Establezca sus propios procedimientos y reglas para trabajar en pendientes. Estos procedimientos deben incluir un estudio del lugar de trabajo para determinar en qué cuestas o pendientes es seguro trabajar con la máquina. Utilice siempre el sentido común y el buen juicio al realizar este estudio.

  • Vaya más despacio y extreme la precaución en las pendientes. Las condiciones del suelo pueden afectar a la estabilidad de la máquina.

  • Evite arrancar o parar en una pendiente. Si la máquina pierde tracción, vaya lentamente, cuesta abajo, en línea recta.

  • Evite girar en pendientes. Si es imprescindible girar, hágalo lentamente y mantenga el extremo más pesado de la máquina cuesta arriba.

  • Haga todos los movimientos en pendientes de forma lenta y gradual. No haga cambios bruscos de velocidad o de dirección.

  • Si no se siente cómodo usando la máquina en una pendiente, no lo haga.

  • Esté atento a baches, surcos o montículos, puesto que un terreno desigual puede hacer que la máquina vuelque. La hierba alta puede ocultar obstáculos.

  • Extreme las precauciones al utilizar la máquina sobre superficies mojadas. Una reducción en la tracción podría causar derrapes.

  • Evalúe la zona para asegurarse de que el suelo tiene suficiente estabilidad para soportar el peso de la máquina.

  • Tenga cuidado al utilizar la máquina cerca de:

    • Desniveles

    • Zanjas

    • Terraplenes

    • Cuerpos de agua

    La máquina podría volcar repentinamente si una oruga pasa por el borde de un terraplén o fosa, o si se socava un talud. Mantenga una distancia segura entre la máquina y cualquier peligro.

  • No retire ni agregue implementos en una pendiente.

  • No aparque la máquina en una cuesta o pendiente.

Seguridad en el manejo de la grapa para troncos

  • Cierre siempre la grapa cuando no se esté usando.

  • No hinque pilotes con la grapa cerrada.

  • No enganche una cadena en la grapa.

  • No utilice la grapa para enganchar y/o arrastrar. Siempre agarre el material firmemente.

  • Siempre baje el implemento y apague la máquina cada vez que abandone el puesto del operador.

  • Lleve ropa adecuada, incluyendo casco, guantes, protección ocular, pantalón largo, calzado resistente y antideslizante y protección auditiva. Si tiene el pelo largo, recójaselo, y no lleve joyas o prendas sueltas.

  • Tenga en cuenta que la carga o alguna parte de ella podrían caerse de la grapa en cualquier momento.

  • Al transportar objetos, incline el implemento hacia atrás hasta que el objeto descanse contra los dientes del bastidor del implemento.

  • La carga puede volcar durante los giros; tenga cuidado al girar.

  • No utilice el implemento para levantar piedras o rocas, acero, piezas de repuesto pesadas u hormigón.

  • No utilice el implemento para excavar tocones o piedras.

  • Consulte el Manual del operador de cualquier triturador de madera u otro equipo que se utilice con la grapa para obtener información sobre la seguridad y el manejo.

  • No utilice el implemento para empujar árboles.

Seguridad durante el remolcado

  • Solo conecte el equipo remolcado en el punto de enganche.

  • No utilice la máquina como vehículo de remolque a menos que tenga un enganche instalado.

  • No supere el peso bruto máximo de remolque.

  • No supere la capacidad máxima de enganche.

  • No deje que se acerquen niños u otras personas al equipo remolcado.

  • En las pendientes, el peso del equipo remolcado puede causar una pérdida de tracción, aumentar el riesgo de vuelco o provocar una pérdida de control. No remolque otros equipos en pendientes; remolque otros equipos únicamente en terreno llano.

  • La distancia de parada puede aumentar con el peso de la carga remolcada. Conduzca lentamente y deje una distancia de parada mayor.

  • Haga giros abiertos para mantener el implemento alejado de la máquina.

  • No remolque otros equipos en carreteras, calles o caminos públicos.

Mantenimiento y almacenamiento seguros

  • Compruebe frecuentemente que todas las fijaciones están correctamente apretadas para asegurar que la máquina está en perfectas condiciones de funcionamiento.

  • Consulte las importantes instrucciones detalladas del Manual del operador antes de almacenar el implemento durante un período largo de tiempo.

  • Revise o sustituya las pegatinas de seguridad e instrucciones cuando sea necesario.

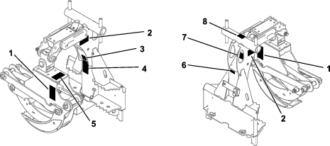
Pegatinas de seguridad e instrucciones

Graphic

Las calcomanías de seguridad e instrucciones están a la vista del operador y están ubicadas cerca de cualquier zona de peligro potencial. Sustituya cualquier calcomanía que esté dañada o que falte.

g528331
g569742
e_decal147-5747
decal147-5649
decal163-3625
decal163-3626
decal163-3627
decal163-3628
decal163-3629
decal163-3630

Modelo 23138 solamente:

decal163-5347

Montaje

Instalación de la luz

Modelo 23138 solamente
  1. Aparque la máquina en una superficie nivelada, baje los brazos de carga y ponga el freno de estacionamiento (en su caso).

  2. Apague el motor, retire la llave y espere a que se detengan todas las piezas en movimiento.

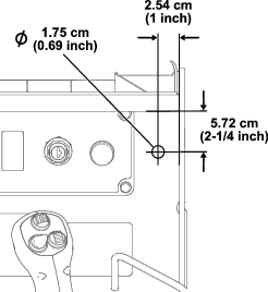
  3. Desconecte la batería; consulte el Manual del operador de la máquina.

  4. Perfore un orificio (1.7 cm/0.69" de diámetro) en el lado derecho del panel de control en la posición indicada.

    Advertencia

    Si usa una taladradora sin protección ocular adecuada, pueden entrar residuos en el ojo y causar lesiones.

    Lleve siempre protección ocular cuando utilice una taladradora.

    g546848
  5. Retire la tuerca de la luz y utilícela para instalar la luz en el panel de control.

    Note: Dependiendo de la máquina, puede ser necesario retirar paneles adicionales para tener acceso a la posición de la luz.

    g569626
  6. Limpie y seque la superficie cerca de la luz e instale la calcomanía.

Enrutado del arnés de cables

Modelo 23138 solamente
  1. Enrute el arnés de cables hacia arriba por el brazo de carga, siguiendo las mangueras hidráulicas hasta el orificio del bastidor.

    g522469
  2. Abra el capó.

  3. Enrute el arnés de cables a través del orificio del bastidor, siguiendo las mangueras hidráulicas.

    g522879
  4. Enchufe el arnés de cables en la luz.

    g549179
  5. Retire el panel trasero; consulte el Manual del operador de la máquina.

  6. Localice el conector de 4 pines del arnés de cables principal de la máquina y enchufe el arnés de cables de la grapa para troncos en él.

    g550498
  7. Instale cualquier panel que haya retirado.

  8. Conecte la batería a la máquina.

  9. Cierre el capó.

  10. Instale la grapa para troncos; consulte el Manual del operador de la máquina.

  11. Conecte el arnés de cables al arnés de cables de la grapa para troncos.

    Note: Al retirar el implemento, desconecte el arnés de cables en el implemento. Deje el arnés instalado en la máquina.

El producto

Note: Las especificaciones y los diseños están sujetos a modificación sin previo aviso.

Modelo 23137

Anchura81.2 cm (32")
Longitud74.9 cm (29½")
Altura101.6 cm (40")
Abertura máxima de la grapa142.2 cm (56")
Abertura mínima de la grapa12.7 cm (5")
Diámetro de envolvimiento91.4 cm (36")
Peso149.7 kg (330 lb)
Capacidad nominal del implemento: grapa para troncos1360 kg (3000 libras); la capacidad real puede ser menor, dependiendo de las limitaciones de la unidad de tracción y las condiciones de operación o del entorno.
Capacidad del bolardo para cuerda98 kg (200 lb)
Peso máximo sobre el enganche227 kg (500 libras)
Presión hidráulica máxima25.5 MPa (3700 psi)

Modelo 23138

Anchura81.2 cm (32")
Longitud89.4 cm (35")
Altura118.7 cm (46¾")
Abertura máxima de la grapa142.2 cm (56")
Abertura mínima de la grapa12.7 cm (5")
Diámetro de envolvimiento91.4 cm (36")
Peso186.0 kg (410 libras)
Capacidad nominal del implemento: grapa para troncos1360 kg (3000 libras); la capacidad real puede ser menor, dependiendo de las limitaciones de la unidad de tracción y las condiciones de operación o del entorno.
Capacidad del bolardo para cuerda98 kg (200 lb)
Peso máximo sobre el enganche227 kg (500 libras)
Presión hidráulica máxima25.5 MPa (3700 psi)

Para asegurar un rendimiento óptimo y mantener la certificación de seguridad de la máquina, utilice solamente piezas y accesorios genuinos Toro. Las piezas de recambio y accesorios de otros fabricantes podrían ser peligrosos, y su uso podría invalidar la garantía del producto.

Consulte a su Servicio Técnico Autorizado para asegurarse de que este implemento está homologado para su máquina.

Operación

Los lados derecho e izquierdo de la máquina se determinan desde la posición normal del operador.

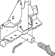
Cómo instalar y retirar el implemento

Consulte el procedimiento de instalación y retirada en el Manual del operador de la unidad de tracción.

Important: Antes de instalar el implemento, coloque la máquina en una superficie nivelada, asegúrese de que las placas de montaje están libres de suciedad o residuos, y asegúrese de que los pasadores puedan moverse libremente. Si los pasadores no se mueven libremente, engráselos.

Note: Utilice siempre la unidad de tracción para levantar y mover el implemento.

Advertencia

Si usted no acopla completamente los pasadores de enganche rápido a través de la placa de montaje del implemento, el implemento podría caerse de la máquina, aplastándole a usted o a otra persona.

Asegúrese de que los pasadores de enganche rápido están correctamente introducidos en la placa de montaje del implemento.

Advertencia

Las fugas de fluido hidráulico bajo presión pueden penetrar en la piel y causar lesiones. Cualquier fluido inyectado bajo la piel debe ser eliminado quirúrgicamente en unas horas por un médico que esté familiarizado con este tipo de lesión; si no, podría causar gangrena.

  • Asegúrese de que todas las mangueras y líneas de fluido hidráulico están en buenas condiciones de uso y que todos los acoplamientos y conexiones hidráulicos están apretados, antes de aplicar presión al sistema hidráulico.

  • Mantenga el cuerpo y las manos alejados de fugas pequeñas o boquillas que liberan fluido hidráulico a alta presión.

  • Utilice un cartón o un papel para buscar fugas hidráulicas; no utilice nunca las manos.

Cuidado

Los acoplamientos hidráulicos, los manguitos/válvulas hidráulicos y el fluido hidráulico pueden estar calientes. Si usted toca un componente caliente puede quemarse.

  • Lleve guantes al desconectar los acoplamientos hidráulicos.

  • Deje que la máquina se enfríe antes de tocar los componentes hidráulicos.

  • No toque los derrames de fluido hidráulico.

Rotación de la grapa

Modelo 23138 solamente

Mueva el interruptor de función secundaria del implemento a la izquierda para habilitar el modo de rotación, luego accione los controles hidráulicos auxiliares para hacer rotar la grapa.

Note: La luz LED se enciende cuando el modo de rotación está activado.

Mueva el interruptor de función secundaria del implemento al centro para volver al modo de grapa.

g549214

Elevación de objetos

Advertencia

No levante ningún objeto que parezca inestable o desequilibrada; si no, la máquina podría perder estabilidad y causar lesiones graves o la muerte.

  • Si el objeto parece inestable o desequilibrado, baje la grapa y vuelva a colocarla para que sujete mejor el objeto antes de elevar el objeto.

  • Al transportar el objeto, este debe permanecer lo más próximo posible al suelo.

  • No levante nunca objetos que superen la capacidad de carga nominal de la máquina o del implemento.

  • No deje que nadie se acerque a la máquina.

  1. Levante ligeramente la grapa del suelo.

  2. Accione los controles hidráulicos auxiliares para abrir y cerrar la grapa para agarrar el objeto que desea mover.

  3. Incline el implemento hacia atrás hasta que el objeto descanse contra los dientes del bastidor del implemento para obtener mayor apoyo y control.

  4. Mueva el objeto según sea necesario.

    Note: Puede transportar troncos pequeños usando el implemento; para troncos más grandes, levántelos únicamente por un extremo, y tire hacia atrás.

  5. Después de mover el objeto, baje el implemento lentamente hasta que quede plano sobre el suelo antes de liberar el objeto.

g518328

Uso del enganche de remolque

El implemento es capaz de tirar de remolques y aperos.

No supere los 227 kg (500 lb) de peso sobre el enganche de la máquina.

Important: Al transportar cargas o tirar de un remolque, no sobrecargue la máquina o el remolque. La sobrecarga puede causar un bajo rendimiento o dañar las unidades de transmisión hidráulica, las orugas o los neumáticos y el bastidor.

Advertencia

El remolcado en pendientes podría reducir la estabilidad de la máquina y causar lesiones graves o la muerte.

No remolque otros equipos en pendientes.

  1. Aparque la máquina en una superficie nivelada, cierre la grapa, baje los brazos de carga y ponga el freno de estacionamiento (en su caso).

  2. Apague el motor y retire la llave.

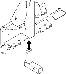
  3. Si no está instalado ya, instale el enganche de remolque y sujételo con el pasador de seguridad.

    g522487
  4. Introduzca el soporte de la bola de enganche en el receptor.

    Note: El enganche de bola y la bola se venden por separado del implemento.

    g518765
  5. Introduzca el pasador de enganche a través del orificio del receptor y del soporte de la bola del enganche.

  6. Sujete el enganche con la chaveta.

  7. Antes de conectar un remolque, abra la grapa para tener acceso al enganche.

  8. Conecte el remolque; consulte las instrucciones de acoplamiento del remolque para sujetar el remolque correctamente al enganche de remolque.

Retire el receptor de enganche del implemento antes de levantar objetos con la grapa.

Uso del bolardo para cuerda

Important: Utilice el bolardo para cuerda sólo para bajar ramas de un árbol. No lo utilice para otros propósitos, como por ejemplo controlar la dirección de caída de un árbol o arrastrar ramas o troncos.No utilice el bolardo para cargas de más de 98 kg (200 libras).

Advertencia

El uso incorrecto del bolardo para cuerda puede causar lesiones graves o la muerte.

  • No utilice el bolardo para cuerda a menos que haya recibido formación o certificación en técnicas de uso de las cuerdas en arboricultura.

  • Apague la máquina y asegúrese de que está estacionaria antes de utilizar el bolardo para cuerda.

Posición de transporte

Mientras transporta una carga, mantenga el implemento lo más cerca posible del suelo, no más de 15 cm (6") por encima del suelo. Inclínelo hacia atrás para mantener la carga nivelada.

g518327

Mantenimiento

Calendario recomendado de mantenimiento

Intervalo de mantenimiento y servicioProcedimiento de mantenimiento
Después de la primera hora
  • Apriete todos los pernos.
  • Cada vez que se utilice o diariamente
  • Engrase del implemento(e inmediatamente después de cada lavado).
  • Cada día, compruebe que los tubos y manguitos hidráulicos no tienen fugas, que no están doblados, que los soportes no están sueltos, y que no hay desgaste, elementos sueltos, o deterioro causado por agentes químicos.(Haga todas las reparaciones necesarias antes de operar la máquina.)
  • Comprobar que no hay fijaciones sueltas.
  • Antes del almacenamiento
  • Pinte cualquier superficie desconchada.
  • Engrase del implemento

    Intervalo de mantenimiento y servicioProcedimiento de mantenimiento
    Cada vez que se utilice o diariamente
  • Engrase del implemento(e inmediatamente después de cada lavado).
  • Tipo de grasa: Grasa de propósito general.

    1. Aparque la máquina en una superficie nivelada, cierre la grapa, baje los brazos de carga y ponga el freno de estacionamiento (en su caso).

    2. Apague el motor y retire la llave.

    3. Limpie los engrasadores con un trapo.

    4. Conecte una pistola de engrasar a cada engrasador.

      g518731
    5. Bombee grasa hasta que empiece a rezumar grasa de los cojinetes (3 aplicaciones aproximadamente).

    6. Limpie cualquier exceso de grasa.

    Comprobación de los manguitos hidráulicos

    Intervalo de mantenimiento y servicioProcedimiento de mantenimiento
    Cada vez que se utilice o diariamente
  • Cada día, compruebe que los tubos y manguitos hidráulicos no tienen fugas, que no están doblados, que los soportes no están sueltos, y que no hay desgaste, elementos sueltos, o deterioro causado por agentes químicos.(Haga todas las reparaciones necesarias antes de operar la máquina.)
  • Advertencia

    Las fugas de fluido hidráulico bajo presión pueden penetrar en la piel y causar lesiones. Cualquier fluido inyectado bajo la piel debe ser eliminado quirúrgicamente en unas horas por un médico que esté familiarizado con este tipo de lesión; si no, podría causar gangrena.

    • Mantenga el cuerpo y las manos alejados de fugas pequeñas o boquillas que liberen fluido hidráulico a alta presión.

    • Utilice un cartón o un papel para buscar fugas hidráulicas; no utilice nunca las manos.

    • Alivie de manera segura toda la presión del sistema hidráulico antes de realizar trabajo alguno en el sistema hidráulico.

    Almacenamiento

    1. Antes de un almacenamiento prolongado, lave el implemento con detergente suave y agua para eliminar cualquier suciedad.

    2. Revise y apriete todos los pernos, tuercas y tornillos. Repare o cambie cualquier pieza dañada o desgastada.

    3. Pinte las superficies que estén arañadas o donde esté visible el metal. Puede adquirir la pintura en su Servicio Técnico Autorizado.

    4. Almacene el implemento en un garaje o almacén limpio y seco. Cúbralo para protegerlo y para conservarlo limpio.