Introduction

La pince à grumes est un outil de charge prévu pour être utilisé sur un porte-outils compact Toro. Elle est principalement conçue pour saisir et déplacer les grumes et d’autres débris organiques. Elle n’est pas destinée à manipuler le béton, les pierres, les matériaux de construction et autres roches ou matériaux métalliques, ni à arracher des souches ou d’autres objets du sol. L’outil comprend aussi un attelage de remorque qui permet de positionner des remorques sur une surface plane et un cabestan pour aider à abaisser les petites branches. L'utilisation de ce produit à d'autres fins que celle prévue peut être dangereuse pour vous-même et toute personne à proximité. Ne modifiez pas la machine ou ses outils.

Cet outil doit être utilisé, entretenu et réparé uniquement par des professionnels connaissant bien ses caractéristiques, ainsi que les procédures de sécurité pertinentes.

Utilisez cet outil à des températures ambiantes comprises entre -18 ° et 38 °C (0° à 100 °F). Contactez un dépositaire-réparateur agréé pour connaître les dispositions nécessaires pour pouvoir utiliser cette machine à des températures extrêmes.

Lisez attentivement cette notice pour apprendre comment utiliser et entretenir correctement votre produit, et éviter ainsi de l'endommager ou de vous blesser. Vous êtes responsable de l'utilisation sûre et correcte du produit.

Rendez-vous sur www.Toro.com pour tout document de formation à la sécurité et à l'utilisation des produits, pour tout renseignement concernant un produit ou un accessoire, pour obtenir l'adresse des dépositaires ou pour enregistrer votre produit.

Pour obtenir des prestations de service, des pièces Toro d'origine ou des renseignements complémentaires, munissez-vous des numéros de modèle et de série du produit et contactez un dépositaire-réparateur ou le service client Toro agréé. La Figure 1 ou la Figure 1 indique l'emplacement des numéros de modèle et de série du produit. Inscrivez les numéros dans l'espace réservé à cet effet.

Important: Avec votre appareil mobile, vous pouvez scanner le code QR sur l'autocollant du numéro de série (le cas échéant) pour accéder à l'information sur la garantie, les pièces détachées et autres renseignements concernant le produit.

g569743
g569744

Les mises en garde de ce manuel soulignent des dangers potentiels et sont signalées par le symbole de sécurité (Figure 3), qui indique un danger pouvant entraîner des blessures graves ou mortelles si les précautions recommandées ne sont pas respectées.

g000502

Le symbole de sécurité apparaît au-dessus de toute information signalant des actions ou des situations dangereuses. Il est suivi de la mention DANGER, ATTENTION ou PRUDENCE.

DANGER signale un danger immédiat qui, s'il n'est pas évité, entraînera obligatoirement des blessures graves ou mortelles.

ATTENTION signale un danger potentiel qui, s'il n'est pas évité, risque d'entraîner des blessures graves ou mortelles.

PRUDENCE signale un danger potentiel qui, s'il n'est pas évité, peut éventuellement entraîner des blessures légères ou modérées.

Ce manuel utilise également deux autres termes pour faire passer des renseignements essentiels. Important pour attirer l'attention sur une information d'ordre mécanique spécifique, et Remarque pour souligner une information d'ordre général méritant une attention particulière.

Attention

CALIFORNIE

Proposition 65 - Avertissement

L'utilisation de ce produit peut entraîner une exposition à des substances chimiques considérées pas l'état de Californie comme capables de provoquer des cancers, des anomalies congénitales ou d'autres troubles de la reproduction.

Sécurité

Consignes de sécurité générales

Respectez toujours toutes les consignes de sécurité pour éviter des blessures graves ou mortelles.

  • Ne dépassez pas la capacité nominale de la machine au risque de la déstabiliser et d'en perdre le contrôle.

  • Ne transportez pas les outils en laissant les bras levés ou déployés (le cas échéant). Transportez toujours l'outil près du sol; voir Position de transport.

  • Marquez au préalable l'emplacement des lignes, conduites ou autres objets enfouis dans la zone de travail, et ne creusez pas à ces endroits.

  • Vous devez lire et comprendre le contenu de ce Manuel de l'utilisateur avant de démarrer la machine.

  • Accordez toute votre attention à l'utilisation de la machine. Ne vous livrez à aucune activité risquant de vous distraire, au risque de causer des dommages corporels ou matériels.

  • Ne confiez jamais l'utilisation de la machine à des enfants ou à des personnes non qualifiées.

  • N'approchez pas les mains ou les pieds des composants et outils en mouvement.

  • N'utilisez pas la machine s'il manque des capots ou d'autres dispositifs de protection, ou s'ils sont endommagés.

  • Tenez tout le monde et tous les animaux à l'écart de la machine.

  • Arrêtez la machine, coupez le moteur et enlevez la clé avant d'effectuer un entretien, de faire le plein de carburant ou d'éliminer une obstruction sur la machine.

L'usage ou l'entretien incorrect de cette machine peut occasionner des accidents. Pour réduire les risques d'accidents et de blessures, respectez les consignes de sécurité qui suivent. Tenez toujours compte des mises en garde signalées par le symbole de sécurité (Graphic) et la mention Prudence, Attention ou Danger. Le non respect de ces instructions peut entraîner des blessures graves voire mortelles.

Consignes de sécurité concernant l'utilisation sur les pentes

  • Travaillez toujours dans le sens de la pente (en montant ou en descendant), en plaçant le côté le plus lourd de la machine étant en amont. La répartition du poids varie selon les outils montés. Quand un outil porte-charge est vide, l'arrière de la machine est le point le plus lourd; alors que lorsqu'il est plein, l'avant de la machine devient plus lourd. La plupart des outils alourdissent l'avant de la machine.

  • La stabilité de la machine est compromise si vous levez ou déployez les bras de chargeuse (le cas échéant) sur une pente. Gardez les bras de chargeuse abaissés et rétractés sur les pentes.

  • Les pentes augmentent significativement les risques de perte de contrôle et de basculement de la machine pouvant entraîner des accidents graves, voire mortels. L'utilisation de la machine sur une pente, quelle qu'elle soit, ou sur un terrain accidenté, demande une attention particulière.

  • Établissez vos propres procédures et règles de travail à appliquer quand vous utilisez la machine sur des pentes. Ces procédures doivent inclure un repérage et une étude du site pour déterminer quelles pentes permettent une utilisation sécuritaire de la machine. Faites toujours preuve de bon sens et de discernement quand vous réalisez cette étude.

  • Ralentissez et redoublez de prudence sur les pentes. La nature du terrain peut affecter la stabilité de la machine.

  • Évitez de démarrer ou de vous arrêter en côte. Si la machine perd de sa motricité, descendez lentement la pente en ligne droite.

  • Évitez de faire demi-tour sur les pentes. Si vous ne pouvez pas faire autrement, procédez lentement en gardant le côté le plus lourd de la machine en amont.

  • Déplacez-vous à vitesse réduite et progressivement sur les pentes. Ne changez pas soudainement de vitesse ou de direction.

  • N'utilisez pas la machine sur une pente si vous ne vous sentez pas à l'aise.

  • Méfiez-vous des trous, ornières et bosses, car les irrégularités du terrain peuvent provoquer le retournement de la machine. L'herbe haute peut masquer les accidents du terrain.

  • Faites preuve de prudence lorsque vous utilisez la machine sur des surfaces humides. En effet, elles réduisent la motricité de la machine qui risque alors de déraper.

  • Examinez la zone d'utilisation pour vous assurer que le sol est suffisamment stable pour supporter le poids de la machine.

  • Utilisez la machine avec prudence près de :

    • Fortes dénivellations

    • Fossés

    • Berges

    • Étendues d'eau

    La machine peut se retourner brusquement si une chenille passe par-dessus une dénivellation quelconque et se retrouve dans le vide, ou si un bord s'effondre. Maintenez une distance de sécurité entre la machine et tout danger potentiel.

  • N'enlevez ou n'ajoutez jamais d'outils lorsque la machine se trouve sur une pente.

  • Ne garez pas la machine sur une pente.

Consignes de sécurité pour la pince à grumes

  • Fermez toujours la pince à grumes quand elle ne sert pas.

  • N'entassez pas de matériaux avec la pince fermée.

  • N'accrochez pas de chaîne à la pince.

  • N'utilisez pas la pince pour accrocher et/ou tirer quoi que ce soit. Pincez toujours fermement les matériaux.

  • Abaissez toujours l'outil et arrêtez la machine chaque fois que vous quittez le poste d'utilisation.

  • Portez une tenue adaptée, y compris un casque, des gants, une protection oculaire, un pantalon, des chaussures solides à semelle antidérapante et des protecteurs d'oreilles. Attachez les cheveux longs et ne portez pas de bijoux ni de vêtements amples.

  • N’oubliez pas que la charge ou certains de ses constituants peuvent s’échapper de la pince à tout moment.

  • Lorsque vous transportez des objets, basculez l’outil en arrière afin que les objet soient en appui contre les dents sur la cadre de l’outil.

  • La charge peut osciller pendant que la machine tourne; tournez toujours avec précaution.

  • N’utilisez pas l’outil pour soulever des rochers, de l’acier, des pièces détachées lourdes ou du béton.

  • N’utilisez pas l’outil pour déterrer des souches ou des rochers.

  • Consultez le Manuel de l’utilisateur des broyeurs de bois, ou de tout autre matériel utilisé avec la pince à grumes, pour toute information relative à la sécurité et l’utilisation.

  • N’utilisez pas cet outil pour pousser des arbres.

Consignes de sécurité relatives au remorquage

  • L'équipement remorqué ne doit être attaché qu'au point d'attelage.

  • N'utilisez pas la machine pour tracter quoi que ce soit, à moins qu'elle ne soit équipée d'un dispositif d'attelage.

  • Ne dépassez pas le poids brut maximum de remorquage.

  • Ne dépassez pas la capacité d’attelage maximale.

  • Ne laissez jamais des enfants ou des adultes s’approcher du matériel remorqué.

  • Sur les pentes, le poids du matériel remorqué peut causer une perte d’adhérence et de contrôle de la machine, et accroître le risque de retournement. Ne remorquez par le matériel sur les pentes; remorquez-le uniquement sur une surface plane.

  • La distance d'arrêt peut augmenter avec le poids de la charge remorquée. Conduisez lentement et prévoyez une distance de freinage plus grande que la normale.

  • Prenez des virages larges pour éviter que l'outil ne vienne toucher la machine.

  • Ne remorquez pas le matériel sur la voie publique, sur des routes ou des autoroutes.

Consignes de sécurité relatives à l'entretien et au remisage

  • Contrôlez fréquemment le serrage de toutes les fixations pour garantir le fonctionnement sûr de la machine.

  • Consultez ce Manuel de l'utilisateur avant de remiser l'outil pour une durée prolongée afin de n'oublier aucune opération importante.

  • Remplacez les autocollants d'instruction ou de sécurité manquants ou endommagés au besoin.

Autocollants de sécurité et d'instruction

Graphic

Des autocollants de sécurité et des instructions bien visibles par l'opérateur sont placés près de tous les endroits potentiellement dangereux. Remplacez tout autocollant endommagé ou manquant.

g528331
g569742
e_decal147-5747
decal147-5649
decal163-3625
decal163-3626
decal163-3627
decal163-3628
decal163-3629
decal163-3630

Modèle 23138 uniquement :

decal163-5347

Mise en service

Montage du voyant

Modèle 23138 uniquement
  1. Garez la machine sur une surface plane et horizontale, abaissez les bras de chargeuse et serrez le frein de stationnement (le cas échéant).

  2. Coupez le moteur, enlevez la clé et attendez l'arrêt complet de toutes les pièces mobiles.

  3. Débranchez la batterie; voir le Manuel de l'utilisateur de la machine.

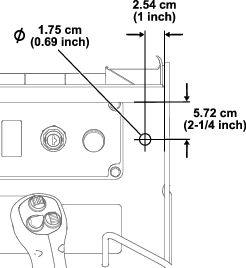
  4. Percez un trou (1,75 cm ou 0,69 po de diamètre) sur le côté droit du panneau de commande, à l’emplacement indiqué.

    Attention

    Des débris peuvent être projetés dans les yeux et causer des blessures en cas d'utilisation d'une perceuse sans protection oculaire adaptée.

    Portez toujours une protection oculaire quand vous utilisez une perceuse.

    g546848
  5. Retirez l’écrou du voyant et utilisez-le pour monter le voyant sur le panneau de commande.

    Note: Selon votre machine, vous devrez éventuellement déposer d’autres panneaux pour accéder à l’emplacement de montage du voyant.

    g569626
  6. Nettoyez et séchez la surface près du voyant et apposez l’autocollant.

Acheminement du faisceau de câblage

Modèle 23138 uniquement
  1. Faites remonter le faisceau le long bras de chargeuse, en suivant les flexibles hydrauliques, jusqu’au trou dans le cadre.

    g522469
  2. Ouvrez le capot.

  3. Faites passer le trou dans le cadre, en suivant les flexibles hydrauliques.

    g522879
  4. Branchez le faisceau au voyant.

    g549179
  5. Déposez le couvercle d'accès arrière; voir le Manuel de l'utilisateur de la machine.

  6. Trouvez le connecteur à 4 broches sur le faisceau principal de la machine et branchez le faisceau de la pince à grumes dessus.

    g550498
  7. Reposez les panneaux déposés.

  8. Connectez la batterie à la machine.

  9. Fermez le capot.

  10. Montez la pince à grumes; voir le Manuel de l'utilisateur de la machine.

  11. Connectez le faisceau au faisceau de la pince à grumes.

    Note: Lorsque vous déposez l’outil, débranchez le faisceau qui y est connecté. Laissez le faisceau sur la machine.

Vue d'ensemble du produit

Note: Les spécifications et la conception peuvent faire l'objet de modifications sans préavis.

Modèle 23137

Largeur81,2 cm (32 po)
Longueur75 cm (29½ po)
Hauteur101,6 cm (40 po)
Ouverture maximale de la pince142,2 cm (56 po)
Ouverture minimale de la pince12,7 cm (5 po)
Diamètre de saisie91,4 cm (36 po)
Poids149,7 kg (330 lb)
Capacité nominale de la pince à grumes1 360 kg (3 000 lb); la capacité réelle peut être inférieure en fonction des limites du groupe de déplacement et des conditions d’utilisation ou de l’environnement.
Capacité du cabestan98 kg (200 lb)
Poids à la flèche maximum de l’attelage227 kg (500 lb)
Pression hydraulique maximale25,5 MPa (3 700 psi)

Modèle 23138

Largeur81,2 cm (32 po)
Longueur89,4 cm (35 po)
Hauteur118,7 cm (46¾ po)
Ouverture maximale de la pince142,2 cm (56 po)
Ouverture minimale de la pince12,7 cm (5 po)
Diamètre de saisie91,4 cm (36 po)
Poids186,0 kg (410 lb)
Capacité nominale de la pince à grumes1 360 kg (3 000 lb); la capacité réelle peut être inférieure en fonction des limites du groupe de déplacement et des conditions d’utilisation ou de l’environnement.
Capacité du cabestan98 kg (200 lb)
Poids à la flèche maximum de l’attelage227 kg (500 lb)
Pression hydraulique maximale25,5 MPa (3 700 psi)

Pour garantir un rendement optimal et conserver la certification de sécurité de la machine, utilisez uniquement des pièces de rechange et accessoires Toro d'origine. Les pièces de rechange et accessoires d'autres constructeurs peuvent être dangereux et leur utilisation risque d'annuler la garantie de la machine.

Renseignez-vous auprès d’un dépositaire-réparateur agréé pour vérifier que cet outil est homologué pour votre machine.

Utilisation

Les côtés gauche et droit de la machine sont déterminés d'après la position d'utilisation normale.

Pose et dépose de l'outil

Reportez-vous au Manuel de l'utilisateur du groupe de déplacement pour connaître la procédure de pose et de dépose.

Important: Avant d'installer l'outil, placez la machine sur une surface plane et horizontale, vérifiez que les plaques de montage sont propres et que les goupilles bougent librement. Graissez les goupilles si elles ne bougent pas librement.

Note: Utilisez toujours le groupe de déplacement pour élever et déplacer l'outil.

Attention

L'outil peut se détacher de la machine et vous écraser, ou écraser une autre personne, dans sa chute si les goupilles d'attache rapide ne sont pas correctement engagées dans la plaque de montage.

Vérifiez que les goupilles sont correctement engagées dans la plaque de montage.

Attention

Les fuites de liquide hydraulique sous pression peuvent transpercer la peau et causer des blessures graves. L'injection de liquide sous la peau nécessite une intervention chirurgicale dans les heures qui suivent l'accident, réalisée par un médecin connaissant ce genre de blessure, pour éviter le risque de gangrène.

  • Vérifiez l'état de tous les flexibles et conduits hydrauliques, ainsi que le serrage de tous les raccords et branchements avant de mettre le système hydraulique sous pression.

  • N'approchez pas les mains ni aucune autre partie du corps des fuites en trou d'épingle ou des gicleurs d'où sort du liquide hydraulique sous haute pression.

  • Utilisez un morceau de carton ou de papier pour détecter les fuites hydrauliques, jamais les mains.

Prudence

Les raccords hydrauliques, les conduites/valves hydrauliques et le liquide hydraulique peuvent être très chauds, et vous risquez de vous brûler à leur contact.

  • Portez des gants pour débrancher les raccords hydrauliques.

  • Laissez refroidir la machine avant de toucher les composants hydrauliques.

  • Ne touchez pas le liquide hydraulique renversé.

Rotation de la pince

Modèle 23138 uniquement

Déplacez la commande de fonction secondaire de l’outil vers la gauche pour activer le mode Rotation, puis engagez les commandes hydrauliques auxiliaires pour faire tourner la pince.

Note: La LED s’allume lorsque le mode Rotation est activé.

Déplacez la commande de fonction secondaire au centre pour revenir au mode Pince.

g549214

Levage des objets

Attention

Ne soulevez pas d’objet qui semble instable ou déséquilibré, car la machine pourrait être déstabilisée et causer des blessures graves ou mortelles.

  • Si l’objet semble instable ou déséquilibré, abaissez la pince et repositionnez-la afin de sécuriser l’objet avant de le soulever.

  • Quand vous transportez l’objet, maintenez-le aussi près du sol que possible.

  • Ne soulevez jamais une charge supérieure à la capacité de levage nominale de la machine ou de l’outil.

  • N'autorisez personne à s'approcher de la machine.

  1. Levez légèrement la pince au-dessus du sol.

  2. Engagez les commandes hydrauliques auxiliaires pour ouvrir et fermer la pince et saisir l’objet que vous voulez déplacer.

  3. Basculez l’outil en arrière pour appuyer l’objet contre les dents sur le cadre de l’outil, ce qui améliore le support et la commande.

  4. Déplacez l’objet comme nécessaire.

    Note: L'outil permet de transporter des grumes de petite taille; soulevez les grumes de plus grande taille en les saisissant à une extrémité et en les tirant en arrière.

  5. Une fois l’objet déplacé, abaissez lentement l’outil jusqu’à ce qu’il repose à plat sur le sol avant de relâcher l’objet.

g518328

Utilisation de l'attelage

L’outil peut tracter des remorques et des accessoires.

Le poids à la flèche d'attelage de l’outil ne doit pas dépasser 227 kg (500 lb).

Important: Lorsque vous transportez une charge ou tractez une remorque, ne surchargez pas la machine ou la remorque. Cela pourrait diminuer les performances de la machine ou endommager les unités motrices hydrauliques, les chenilles ou les pneus et le cadre.

Attention

Le remorquage sur une pente peut réduire la stabilité de la machine et entraîner des blessures graves ou mortelles.

Ne remorquez pas le matériel sur des pentes.

  1. Garez la machine sur une surface plane et horizontale, fermez la pince, abaissez les bras de chargeuse et serrez le frein de stationnement (le cas échéant).

  2. Coupez le moteur et enlevez la clé.

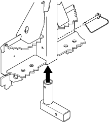
  3. Si ce n’est déjà fait, montez le récepteur d'attelage et fixez-le en place avec la goupille à fermoir.

    g522487
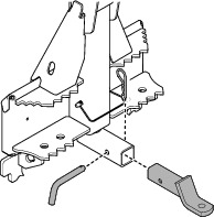
  4. Insérez le support de la boule d'attelage dans le récepteur.

    Note: Le support de la boule d'attelage et la boule sont vendus séparément de l’outil.

    g518765
  5. Insérez la goupille d'attelage dans le trou du récepteur et du support de la boule d'attelage.

  6. Fixez l'attelage en place avec la goupille fendue.

  7. Avant d’atteler une remorque, ouvrez la pince pour accéder à l’attelage.

  8. Attelez la remorque; voir les instructions relatives à l’accouplement de la remorque pour fixer correctement la remorque à l’attelage.

Déposez le récepteur d’attelage de l’outil avant de soulever des objets avec la pince.

Utilisation du cabestan

Important: Le cabestan doit uniquement servir à abaisser les branches d’un arbre. Ne l’utilisez pas à d’autres fins, par exemple pour contrôler la direction de chute d’un arbre ou pour tirer des branches ou des grumes.N’utilisez pas le cabestan pour les charges de plus de 98 kg (200 lb).

Attention

L’utilisation incorrecte du cabestan peut causer des graves blessures ou la mort.

  • N’utilisez pas le cabestan si vous n’avez pas reçu la formation ou la certification appropriée en matière de débardage des arbres.

  • Coupez le moteur de la machine et assurez-vous qu’elle est complètement à l’arrêt lorsque vous utilisez le cabestan.

Position de transport

Quand vous transportez une charge, maintenez l’outil aussi près du sol que possible, à 15 cm (6 po) maximum au-dessus du sol. Basculez-le en arrière pour maintenir la charge de niveau.

g518327

Entretien

Programme d'entretien recommandé

Périodicité d'entretienProcédure d'entretien
Après la 1ère heure de fonctionnement
  • Serrez tous les boulons.
  • À chaque utilisation ou une fois par jour
  • Graissage de l'outil(et immédiatement après chaque lavage).
  • Vérifiez que les conduites hydrauliques ne présentent pas de fuites, ne sont pas pliées, usées, détériorées par les conditions atmosphériques ou les produits chimiques, et que les supports de montage et les raccords ne sont pas desserrés.(Effectuez les réparations nécessaires avant d'utiliser la machine.)
  • Contrôlez le serrage des fixations.
  • Avant le remisage
  • Peignez les surfaces écaillées.
  • Graissage de l'outil

    Périodicité d'entretienProcédure d'entretien
    À chaque utilisation ou une fois par jour
  • Graissage de l'outil(et immédiatement après chaque lavage).
  • Type de graisse : universelle.

    1. Garez la machine sur une surface plane et horizontale, fermez la pince, abaissez les bras de chargeuse et serrez le frein de stationnement (le cas échéant).

    2. Coupez le moteur et enlevez la clé.

    3. Nettoyez les graisseurs avec un chiffon.

    4. Raccordez un pistolet de graissage à chaque graisseur.

      g518731
    5. Injectez de la graisse dans les graisseurs jusqu'à ce qu'elle commence à ressortir des roulements (environ 3 injections).

    6. Essuyez tout excès de graisse.

    Contrôle des conduites hydrauliques

    Périodicité d'entretienProcédure d'entretien
    À chaque utilisation ou une fois par jour
  • Vérifiez que les conduites hydrauliques ne présentent pas de fuites, ne sont pas pliées, usées, détériorées par les conditions atmosphériques ou les produits chimiques, et que les supports de montage et les raccords ne sont pas desserrés.(Effectuez les réparations nécessaires avant d'utiliser la machine.)
  • Attention

    Les fuites de liquide hydraulique sous pression peuvent transpercer la peau et causer des blessures graves. L'injection de liquide sous la peau nécessite une intervention chirurgicale dans les heures qui suivent l'accident, réalisée par un médecin connaissant ce genre de blessure, pour éviter le risque de gangrène.

    • N'approchez pas les mains ni aucune autre partie du corps des fuites en trou d'épingle ou des gicleurs d'où sort du liquide hydraulique sous haute pression.

    • Utilisez un morceau de carton ou de papier pour détecter les fuites hydrauliques, jamais les mains.

    • Dépressurisez avec précaution le système hydraulique avant toute intervention sur le système.

    Remisage

    1. Avant un remisage de longue durée, lavez soigneusement l'outil avec de l'eau et un détergent doux.

    2. Contrôlez et resserrez tous les boulons, écrous et vis. Réparez ou remplacez les pièces endommagées ou usées.

    3. Peignez toutes les surfaces métalliques éraflées ou mises à nu. Une peinture pour retouches est disponible chez les dépositaires-réparateurs agréés.

    4. Rangez l'outil dans un endroit propre et sec, comme un garage ou une remise. Couvrez-le pour le protéger et le garder propre.