| Maintenance Service Interval | Maintenance Procedure |
|---|---|
| Before each use or daily |
|
This rotary-blade, walk-behind lawn mower is intended to be used by residential homeowners or professional, hired operators. It is designed primarily for cutting grass on well-maintained lawns on residential or commercial properties. It is not designed for cutting brush or for agricultural uses.
Read this information carefully to learn how to operate and maintain your product properly and to avoid injury and product damage. You are responsible for operating the product properly and safely.
Visit www.Toro.com for more information, including safety tips, training materials, accessory information, help finding a dealer, or to register your product.
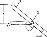
Whenever you need service, genuine Toro parts, or additional information, contact an Authorized Service Dealer or Toro Customer Service and have the model and serial numbers of your product ready. Figure 1 identifies the location of the model and serial numbers on the product. Write the numbers in the space provided.
Important: With your mobile device, you can scan the QR code on the serial number decal (if equipped) to access warranty, parts, and other product information.

This manual identifies potential hazards and has safety messages identified by the safety-alert symbol (Figure 2), which signals a hazard that may cause serious injury or death if you do not follow the recommended precautions.

This manual uses 2 words to highlight information. Important calls attention to special mechanical information and Note emphasizes general information worthy of special attention.
It is a violation of California Public Resource Code Section 4442 or 4443 to use or operate the engine on any forest-covered, brush-covered, or grass-covered land unless the engine is equipped with a spark arrester, as defined in Section 4442, maintained in effective working order or the engine is constructed, equipped, and maintained for the prevention of fire.
Gross or Net Torque: The gross or net torque of this engine was laboratory rated by the engine manufacturer in accordance with the Society of Automotive Engineers (SAE) J1940 or J2723. As configured to meet safety, emission, and operating requirements, the actual engine torque on this class of mower will be significantly lower. Please refer to the engine manufacturer’s information included with the machine.
CALIFORNIA
Proposition 65 Warning
The engine exhaust from this product contains chemicals known to the State of California to cause cancer, birth defects, or other reproductive harm.
Use of this product may cause exposure to chemicals known to the State of California to cause cancer, birth defects, or other reproductive harm.
This product is capable of amputating hands and feet and of throwing objects. Always follow all safety instructions to avoid serious personal injury or death.
Read, understand, and follow the instructions and warnings in this Operator’s Manual and on the machine and attachments before starting the engine.
Do not put your hands or feet near moving parts or under the machine. Keep clear of any discharge opening.
Do not operate the machine without all guards and other safety protective devices in place and functioning properly on the machine.
Keep bystanders and children out of the operating area. Do not allow children to operate the machine. Allow only people who are responsible, trained, familiar with the instructions, and physically capable to operate the machine.
Stop the machine, shut off the engine, and wait for all moving parts to stop before servicing, fueling, or unclogging the machine.
Improperly using or maintaining this machine can result in injury.
To reduce the potential for injury, comply with these safety instructions
and always pay attention to the safety-alert symbol
, which means Caution, Warning,
or Danger—personal safety instruction. Failure to comply with
these instructions may result in personal injury or death.
![]() |
Safety decals and instructions are easily visible to the operator and are located near any area of potential danger. Replace any decal that is damaged or missing. |







Note: Determine the left and right sides of the machine from the normal operating position.



Important: If the oil level in the engine is too low or too high and you run the engine, you may damage the engine.


Important: You must adjust the self-propel-drive cable before you operate the machine for the first time. Refer to Adjusting the Self-Propel Drive.

| Model | Weight | Length | Width | Height |
|---|---|---|---|---|
| 22297 | 54 kg | 155 cm | 55 cm | 94 cm |
| (120 lb) | (61 inches) | (21.5 inches) | (37 inches) |
A selection of Toro approved attachments and accessories is available for use with the machine to enhance and expand its capabilities. Contact your Authorized Service Dealer or authorized Toro distributor or go to www.Toro.com for a list of all approved attachments and accessories.
To ensure optimum performance and continued safety certification of the machine, use only genuine Toro replacement parts and accessories. Replacement parts and accessories made by other manufacturers could be dangerous, and such use could void the product warranty.
Note: Determine the left and right sides of the machine from the normal operating position.
Always shut off the machine, wait for all moving parts to stop, and allow the machine to cool before adjusting, servicing, cleaning, or storing it.
Become familiar with the safe operation of the equipment, operator controls, and safety signs.
Check that all guards and safety devices, such as deflectors and/or grass catcher, are in place and functioning properly.
Always inspect the machine to ensure that the blades and blade bolts are not worn or damaged.
Inspect the area where you will use the machine, and remove all objects that could interfere with the operation of the machine or that the machine could throw.
Contact with the moving blade will cause serious injury. Do not put your fingers under the housing.
Fuel is extremely flammable and highly explosive. A fire or explosion from fuel can burn you and others and can damage property.
To prevent a static charge from igniting the fuel, place the container and/or machine directly on the ground before filling, not in a vehicle or on an object.
Fill the fuel tank outdoors, in an open area, when the engine is cold. Wipe up any fuel that spills.
Do not handle fuel when smoking or around an open flame or sparks.
Do not remove the fuel cap or add fuel to the tank while the engine is running or hot.
If you spill fuel, do not attempt to start the engine. Avoid creating a source of ignition until the fuel vapors have dissipated.
Store fuel in an approved container and keep it out of the reach of children.
Fuel is harmful or fatal if swallowed. Long-term exposure to vapors can cause serious injury and illness.
Avoid prolonged breathing of vapors.
Keep your hands and face away from the nozzle and the fuel-tank opening.
Keep fuel away from your eyes and skin.
Gasoline is extremely flammable and explosive. A fire or explosion from gasoline can burn you and others.
To prevent a static charge from igniting the gasoline, place the container and/or machine directly on the ground before filling, not in a vehicle or on an object.
Fill the tank outdoors when the engine is cold. Wipe up spills.
Do not handle gasoline when smoking or around an open flame or sparks.
Store gasoline in an approved fuel container, out of the reach of children.
For best results, use only clean, fresh (less than 30 days old), unleaded gasoline with an octane rating of 87 or higher ((R+M)/2 rating method).
Oxygenated fuel with up to 10% ethanol or 15% MTBE by volume is acceptable.
Ethanol: Gasoline with up to 10% ethanol (gasohol) or 15% MTBE (methyl tertiary butyl ether) by volume is acceptable. Ethanol and MTBE are not the same. Gasoline with 15% ethanol (E15) by volume is not approved for use. Never use gasoline that contains more than 10% ethanol by volume, such as E15 (contains 15% ethanol), E20 (contains 20% ethanol), or E85 (contains up to 85% ethanol). Using unapproved gasoline may cause performance problems and/or engine damage which may not be covered under warranty.
Do not use gasoline containing methanol.
Do not store fuel either in the fuel tank or in fuel containers over the winter unless you use a fuel stabilizer.
Do not add oil to gasoline.
Important: To reduce starting problems, add fuel stabilizer/conditioner to fresh fuel as directed by the fuel-stabilizer manufacturer.
Note: The capacity of the fuel tank is 3.76 L (0.99 US gallon).

| Maintenance Service Interval | Maintenance Procedure |
|---|---|
| Before each use or daily |
|
Important: If the oil level in the crankcase is too low or too high and you run the engine, you may damage the engine.

You can raise or lower the handle to 1 of 3 positions that is more comfortable for you (Figure 11).

Remove both handle bolts and corresponding nuts.
Move the handle to the desired height position.
Secure the handle with the previously removed bolts and corresponding nuts.
Adjusting the cutting-height levers could bring your hands into contact with a moving blade and result in serious injury.
Shut off the engine and wait for all movement to stop before adjusting the cutting height.
Do not put your fingers under the housing when adjusting the cutting height.
If the engine has been running, the muffler will be hot and can burn you.
Keep away from the hot muffler.
Adjust the cutting height as desired. Set all wheels to the same cutting height (Figure 12).

Wear appropriate clothing, including eye protection; long pants; substantial, slip-resistant footwear; and hearing protection. Tie back long hair and do not wear loose clothing or loose jewelry.
Use your full attention while operating the machine. Do not engage in any activity that causes distractions; otherwise, injury or property damage may occur.
Do not operate the machine while ill, tired, or under the influence of alcohol or drugs.
The blade is sharp; contacting the blade can result in serious personal injury. Shut off the engine and wait for all moving parts to stop before leaving the operating position.
When you release the blade-control bar, the engine should shut off and the blade should stop within 3 seconds. If not, stop using your machine immediately and contact an Authorized Service Dealer.
Keep bystanders out of the operating area. Keep small children out of the operating area and under the watchful care of a responsible adult who is not operating the machine. Stop the machine if anyone enters the area.
Always look down and behind you before moving the machine in reverse.
Operate the machine only in good visibility and appropriate weather conditions. Do not operate the machine when there is the risk of lightning.
Wet grass or leaves can cause serious injury if you slip and contact the blade. Avoid mowing in wet conditions.
Use extreme care when approaching blind corners, shrubs, trees, or other objects that may block your view.
Do not direct the discharge material toward anyone. Avoid discharging material against a wall or obstruction; material may ricochet toward you. Stop the blade(s) when crossing gravel surfaces.
Watch for holes, ruts, bumps, rocks, or other hidden objects. Uneven terrain could cause you to lose your balance or footing.
If the machine strikes an object or starts to vibrate, immediately shut off the engine, wait for all moving parts to stop, and disconnect the wire from the spark plug before examining the machine for damage. Make all necessary repairs before resuming operation.
Before leaving the operating position, shut off the engine and wait for all moving parts to stop.
If the engine has been running, it will be hot and can severely burn you. Keep away from the hot engine.
Operate the engine only in well-ventilated areas. Exhaust gases contain carbon monoxide, which is an odorless, deadly poison.
Check the grass catcher components and the discharge chute frequently for any wear or deterioration and replace them with genuine Toro parts when necessary.
Mow across the face of slopes; never up and down. Use extreme caution when changing direction on slopes.
Do not mow on excessively steep slopes. Poor footing could cause a slip-and-fall accident.
Mow with caution near drop-offs, ditches, or embankments.
Connect the spark-plug wire to the spark plug.
Open the fuel valve (Figure 13).

Firmly push and hold the primer bulb in for 1 second (A of Figure 14).
Hold the blade-control bar in the Run/Shift position, about 5 cm (2 inches) below the handle (B of Figure 14).
Pull the starter handle lightly until you feel resistance, pull it sharply, then allow it to return slowly to the rope guide on the handle (C of Figure 14).
Note: If the engine does not start, repeat steps 3 through 5.

| Maintenance Service Interval | Maintenance Procedure |
|---|---|
| Before each use or daily |
|
To shut off the engine, release the blade-control bar.
Important: When you release the blade-control bar, both the engine and blade should stop within 3 seconds. If they do not stop properly, stop using your machine immediately and contact an Authorized Service Dealer.
This machine has 3 ground speeds: 1 (slow), 2 (medium), and 3 (fast); it also has a Neutral (N) position. The self-propel-drive lever is located below and behind the fuel tank (Figure 15).

Move the self-propel-drive lever to the desired ground speed.
Start the engine.
Squeeze the blade-control bar against the handle to the Run/Drive position (Figure 16).

Important: Shifting speeds while squeezing the blade-control bar against the handle in the Run/Drive position could damage the transmission. Move the blade-control bar to the Run/Shift position (Figure 16) whenever you change the ground speed.
Note: You can vary the ground speed by increasing or decreasing the distance between the blade-control bar and the handle. Lower the bar to decrease the ground speed when you are making a turn or if the machine is moving too fast for you. If you lower the bar too far, the machine stops self-propelling. Squeeze the bar closer to the handle to increase the ground speed. When you hold the bar tight against the handle, the machine self-propels at the maximum ground speed. Move the self-propel-drive lever to the NEUTRAL position when you use the machine for trimming.
This machine comes from the factory ready to recycle grass and leaf clippings back into the lawn. To prepare the machine to recycle:
If the grass bag is on the machine, remove it (A of Figure 17).
If the rear-discharge plug is not installed, grip it by the handle, raise the rear deflector, and insert it into the rear-discharge chute until the latch locks into place (B of Figure 17).

Operating the machine to recycle lawn clippings without the plug in place allows objects to be thrown toward you or bystanders. Also, contact with the blades could occur. Thrown objects or blade contact can cause serious injury or death.
Ensure that the rear-discharge plug is in place before you recycle the clippings. Never engage the blades without either the rear-discharge plug or the grass bag installed on the machine.
Use the grass bag when you want to collect grass and leaf clippings from the lawn.
A worn grass bag could allow small stones and other similar debris to be thrown toward you or bystanders, resulting in serious personal injury or death.
Check the grass bag frequently. If it is damaged, install a new Toro replacement bag.
The blades are sharp; contacting the blades can result in serious personal injury.
Shut off the engine and wait for all moving parts to stop before leaving the operating position.
Shut off the engine and wait for all moving parts to stop.
Raise and hold up the rear deflector (A of Figure 18).
Remove the rear-discharge plug by pushing in the latch with your thumb and pulling the plug out from the machine (B and C of Figure 18).
Install the bag-rod ends into the notches at the base of the handle, and rock the bag back and forth to ensure that the bag-rod ends are seated at the bottom of both notches (D of Figure 18).
Lower the rear deflector until it rests on the grass bag.

The machine can throw grass clippings and other objects through an opening in the machine housing. Objects thrown with enough force could cause serious personal injury or death to you or to bystanders.
Never remove the grass bag and then start the engine without the discharge plug installed on the machine.
Never open the rear deflector on the machine when the engine is running.
Review the safety instructions and read this manual carefully before operating the machine.
Clear the area of sticks, stones, wire, branches, and other debris that the blade could hit and throw.
Keep everyone, especially children and pets, away from the area of operation.
Avoid striking trees, walls, curbs, or other solid objects. Never deliberately mow over any object.
If the machine strikes an object or starts to vibrate, immediately shut off the engine, disconnect the wire from the spark plug, and examine the machine for damage.
Maintain a sharp blade throughout the cutting season. Periodically file down nicks on the blade.
Replace the blade when necessary with an original Toro replacement blade.
Mow only dry grass or leaves. Wet grass and leaves tend to clump on the yard and can cause the machine to plug or the engine to stall.
Wet grass or leaves can cause serious injury if you slip and contact the blade.
Mow only in dry conditions.
Clean under the machine after each mowing; refer to Cleaning under the Machine.
Keep the engine in good running condition.
Clean the air filter frequently. Mulching stirs up more clippings and dust which clogs the air filter and reduces engine performance.
Set the engine speed to the fastest position for the best cutting results.
Operating a machine with its engine running at a speed greater than the factory setting can cause the machine to throw a part of the blade or engine toward you or bystanders, resulting in serious personal injury or death.
Do not change the engine speed setting.
If you suspect the engine speed is faster than normal, contact an Authorized Service Dealer.
Grass grows at different rates at different times of the year. In the summer heat, it is best to cut grass at the 64 mm (2-1/2 inch), 76 mm (3 inch), or 89 mm (3-1/2 inch) cutting-height settings. Cut only about a third of the grass blade at a time. Do not cut below the 64 mm (2-1/2 inch) setting unless the grass is sparse or it is late fall when grass growth begins to slow down.
When cutting grass over 15 cm (6 inches) tall, first mow at the highest cutting-height setting and walk slower; then mow again at a lower setting for the best lawn appearance. If the grass is too long and the leaves clump on top of the lawn, the machine may plug and cause the engine to stall.
Alternate the mowing direction. This helps disperse the clippings over the lawn for even fertilization.
If the finished lawn appearance is unsatisfactory, try 1 or more of the following:
Sharpen the blade.
Walk at a slower pace while mowing.
Raise the cutting height on your machine.
Cut the grass more frequently.
Overlap cutting swaths instead of cutting a full swath with each pass.
After cutting the lawn, ensure that half of the lawn shows through the cut leaf cover. You may need to make more than a single pass over the leaves.
For light leaf coverage, set all the wheels at the same cutting-height setting.
Slow down your mowing speed if the machine does not cut the leaves finely enough.
Always shut off the machine, wait for all moving parts to stop, and allow the machine to cool before adjusting, servicing, cleaning, or storing it.
Clean grass and debris from the machine to help prevent fires. Clean up oil or fuel spills.
Never store the machine or fuel container where there is an open flame, spark, or pilot light, such as on a water heater or on other appliances.
Use care when loading or unloading the machine.
Secure the machine from rolling.
Close the fuel valve before loading the machine for hauling.
To ensure the best performance, keep the underside of the machine clean. Be especially careful to keep the kickers free of debris (Figure 19).

| Maintenance Service Interval | Maintenance Procedure |
|---|---|
| After each use |
|
The machine may dislodge material from under the machine.
Wear eye protection.
Stay in the operating position (behind the handle) while the engine is running.
Do not allow bystanders in the area.
Move the machine to a paved level surface near a garden hose.
Start the engine.
Hold the running garden hose at handle level and direct the water to flow on the ground just in front of the right, rear wheel (Figure 20).

Note: The blade will draw in water and wash out the clippings. Let the water run until you no longer see clippings being washed out from under the machine.
Shut off the engine and wait for all moving parts to stop.
Turn off the water.
Start the machine and let it run for a few minutes to dry out the underside of the machine.
If washing does not remove all debris from under the machine, scrape it clean.
Disconnect the wire from the spark plug.
Drain the fuel from the fuel tank.
Tipping the machine may cause the fuel to leak from the carburetor or the fuel tank. Fuel is extremely flammable, highly explosive, and, under certain conditions, can cause personal injury or property damage.
Avoid fuel spills by running the engine dry or by removing the fuel with a hand pump; never siphon.
Tip the machine onto its right side (air cleaner up).
Remove the dirt and grass clippings with a hardwood scraper. Avoid burrs and sharp edges.
Return the machine to the operating position.
Connect the wire to the spark plug.
| Maintenance Service Interval | Maintenance Procedure |
|---|---|
| After the first 8 hours |
|
| After the first 25 hours |
|
| Before each use or daily |
|
| After each use |
|
| Every 25 hours |
|
| Every 40 hours |
|
| Every 50 hours |
|
| Every 100 hours |
|
| Every 200 hours |
|
| Every 300 hours |
|
Important: Refer to your engine owner’s manual for additional maintenance procedures.
Always shut off the machine, wait for all moving parts to stop, and allow the machine to cool before adjusting, servicing, cleaning, or storing it.
Disconnect the spark-plug wire from the spark plug before performing any maintenance procedure.
Wear gloves and eye protection when servicing the machine.
The blade is sharp; contacting the blade can result in serious personal injury. Wear gloves when servicing the blade. Do not repair or alter the blade(s).
Never tamper with safety devices. Check their proper operation regularly.
Tipping the machine may cause the fuel to leak. Fuel is flammable and explosive, and can cause personal injury. Run the engine dry or remove the fuel with a hand pump; never siphon the fuel.
To ensure optimum performance of the machine, use only genuine Toro replacement parts and accessories. Replacement parts and accessories made by other manufacturers could be dangerous, and such use could void the product warranty.
| Maintenance Service Interval | Maintenance Procedure |
|---|---|
| Every 25 hours |
|
| Every 300 hours |
|
Important: Do not operate the engine without the air filter assembly in place; otherwise, extreme engine damage will occur.
Shut off the engine and wait for all moving parts to stop.
Disconnect the wire from the spark plug.
Remove the cover and clean it thoroughly (Figure 21).

Remove and the foam pre-filter and the paper-air filter from the air-filter base (Figure 21).
Remove the foam pre-filter from the paper air filter, and wash the foam pre-filter with a mild detergent and water, then blot it dry.
Inspect the paper air filter, and replace it if it is excessively dirty.
Important: Do not try to clean a paper filter.
Install the foam pre-filter onto the paper air filter.
| Maintenance Service Interval | Maintenance Procedure |
|---|---|
| After the first 8 hours |
|
| Every 50 hours |
|
Run the engine a few minutes before changing the oil to warm it. Warm oil flows better and carries more contaminants.
| Engine oil capacity | 0.65 L (22 fl oz)* without oil filter; 0.85 L (29 fl oz)* with oil filter |
| Oil viscosity | SAE 30 or SAE 10W-30 detergent oil |
| API service classification | SJ or higher |
*There is residual oil in the crankcase after you drain the oil. Do not pour the entire capacity of oil into the crankcase. Fill the crankcase with oil as directed in the following steps.
Shut off the engine and wait for all moving parts to stop.
Disconnect the wire from the spark plug.
Drain the fuel from the fuel tank.
Place a suitable drain pan under the dipstick/oil drain.
Clean around the dipstick.
Remove the dipstick by rotating the cap counterclockwise and pulling it out.
Tip the machine onto its right side (air filter up) to drain the oil into the drain pan.
After draining the oil, return the machine to the operating position.
Fill the crankcase to the correct level on the dipstick with fresh oil; refer to Checking the Engine-Oil Level.
Insert the dipstick into the filler neck and rotate the cap clockwise until it is tight.
| Maintenance Service Interval | Maintenance Procedure |
|---|---|
| Every 200 hours |
|
Run the engine to warm the oil.
Oil may be hot after the engine has been run, and contact with hot oil can cause severe personal injury.
Avoid contacting the hot engine oil when you drain it.
Shut off the engine and wait for all moving parts to stop.
Disconnect the wire from the spark plug.
Drain the gasoline from the fuel tank.
Drain the engine oil; refer to Changing the Engine Oil.
Place a rag under the oil filter (Figure 22) to catch any oil that may leak out as you remove the oil filter.

Remove the oil filter.
Use your finger to coat the gasket on the new oil filter with oil (Figure 26).

Install the new filter by rotating it clockwise until the seal contacts the filter housing, then rotate the filter an additional 3/4 turn by hand.
Fill the crankcase to the Full line on the dipstick with fresh oil; refer to Checking the Engine-Oil Level.
Connect the wire to the spark plug.
Run the engine for about 3 minutes.
Shut off the engine, wait for all moving parts to stop, and check for oil leakage around the filter.
Add oil to compensate for the oil in the oil filter. Refer to Checking the Engine-Oil Level.
Recycle the used oil filter properly.
| Maintenance Service Interval | Maintenance Procedure |
|---|---|
| Every 100 hours |
|
Use an NGK BPR5ES spark plug or equivalent.
Shut off the engine and wait for all moving parts to stop.
Disconnect the wire from the spark plug.
Clean around the spark plug.
Remove the spark plug from the cylinder head.
Important: Replace a cracked, fouled, or dirty spark plug. Do not clean the electrodes because grit entering the cylinder can damage the engine.
Set the gap on the plug to 0.76 mm (0.030 inch); refer to Figure 24.

Carefully install the spark plug by hand (to avoid cross threading) until it is hand tight.
Tighten the spark plug to 23 N∙m (2.3 kgf-m, 17 ft-lb).
Important: A loose spark plug can become very hot and can damage the engine; overtightening a spark plug may damage the threads in the cylinder head.
Connect the wire to the spark plug.
If the machine is new, does not self-propel, or it tends to creep forward, adjust the drive cable.
Move the machine outside and onto a paved surface near a solid wall to safely prevent the machine from moving forward while the engine is running.
Position the machine with the front tires against the wall.
Note: Ensure that the area is well ventilated and clear of debris that could be thrown by the machine.
Shift the transmission to third gear.
Start the engine; refer to Starting the Engine.
Pull the self-propel-drive bar to the handle.
Note: The wheels should start to turn as the self-propel-drive bar just touches the handle.
Shut off the engine.
If you must adjust the machine, do the following:
If the wheels do not spin when you engage the self-propel-drive bar, the traction belt is too loose. Rotate the wheel-drive-control knob (Figure 25) clockwise 1 turn and repeat steps 4 through 6.

If the wheels spin before you fully engage the self-propel-drive bar, the traction belt is too tight. Rotate the wheel-drive-control knob (Figure 25) counterclockwise 1 turn and repeat steps 4 through 6.
For a new traction belt, rotate the drive-cable-adjustment knob clockwise 1 additional turn to allow for the normal stretching of the belt during the break-in period.
Note: You can skip this step if you are adjusting a used belt.
Always mow with a sharp blade. A sharp blade cuts cleanly and without tearing or shredding the grass blades.
Shut off the engine and wait for all moving parts to stop.
Disconnect the wire from the spark plug.
Close the fuel valve by moving the fuel-valve lever to the left (Figure 13).
Drain the fuel from the fuel tank.
Tip the machine onto its right side (air cleaner up) as shown in Figure 26.

| Maintenance Service Interval | Maintenance Procedure |
|---|---|
| Before each use or daily |
|
Carefully examine the blade for sharpness and wear, especially where the flat and the curved parts meet (Figure 27A). Because sand and abrasive material can wear away the metal that connects the flat and curved parts of the blade, check the blade before using the machine. If you notice a slot or wear (Figure 27B and Figure 27C), replace the blade; refer to Removing the Blade.

Note: For the best performance, install a new blade before the mowing season begins. During the year, file down any small nicks to maintain the cutting edge.
A worn or damaged blade can break, and a piece of the blade could be thrown toward you or bystanders, resulting in serious personal injury or death.
Inspect the blade periodically for wear or damage.
Replace a worn or damaged blade.
| Maintenance Service Interval | Maintenance Procedure |
|---|---|
| Before each use or daily |
|
Carefully examine the accelerator for excessive wear (Figure 28). Because sand and abrasive material can wear away the metal (especially in the area shown as item 2 in Figure 28), check the accelerator before using the machine. If you notice that a tab on the accelerator has been worn down to a sharp edge or there is a crack, replace the accelerator.

A worn or damaged accelerator can break, and a piece of the accelerator could be thrown at you or bystanders, resulting in serious personal injury or death.
Inspect the accelerator periodically for wear or damage.
Replace a worn or damaged accelerator.
Grasp the end of the blade using a rag or a thickly padded glove.
Remove the blade bolt, the lock washer, the accelerator, and the blade (Figure 27).
| Maintenance Service Interval | Maintenance Procedure |
|---|---|
| Every 50 hours |
|
File the top side of the blade to maintain its original cutting angle (Figure 29A) and inner cutting edge radius (Figure 29B). The blade will remain balanced if you remove the same amount of material from both cutting edges.

Check the balance of the blade by placing the center hole of the blade over a nail or screwdriver shank clamped horizontally in a vise (Figure 30).

Note: You can also check the balance using a commercially manufactured blade balancer.
If either end of the blade rotates downward, file that end (not the cutting edge or the end near the cutting edge) until neither end of the blade drops.
Install a sharp, balanced Toro blade, the accelerator, the lock washer, and the blade bolt. The sail of the blade must point toward the top of the mower housing for proper installation.
Note: Torque the blade bolt to 82 N∙m (60 ft-lb).
Operating the machine without the accelerator in place can cause the blade to flex, bend, or break, resulting in serious injury or death to you or to bystanders.
Do not operate the machine without the accelerator in place.
Return the machine to the operating position.
If the blade brake cable needs to be replaced or is not adjusted properly, adjust the blade brake cable.
Shut off the engine and wait for all moving parts to stop.
Disconnect the wire from the spark plug.
Hold the blade-control bar at 19 cm (7-5/8 inches) from the top of the handle as shown in Figure 31.

Loosen the cable-anchor nut.
Pull down on the cable conduit to remove the slack from the brake cable.
Tighten the cable-anchor nut.
Release the blade-control bar and verify there is slack in the brake cable.
| Maintenance Service Interval | Maintenance Procedure |
|---|---|
| Every 50 hours |
|
Shut off the engine and wait for all moving parts to stop.
Disconnect the wire from the spark plug.
Remove the belt cover (Figure 32) from the mower housing.

Lift off the cover and brush out all the debris around the belt area.
Install the belt cover.
Connect the wire to the spark plug.
| Maintenance Service Interval | Maintenance Procedure |
|---|---|
| Every 40 hours |
|
Remove the rear wheels and clean any debris from the wheel-gear area.

After cleaning, apply a small amount of anti-seize compound to the gears.
Note: If you operate the machine in extreme conditions, cleaning the wheels more frequently than recommended will increase gear life.
Note: To prevent damage to the bearing seals, do not use a high-pressure water spray on the bearings.
To prepare the machine for off-season storage, perform the recommended maintenance procedures; refer to .
Store the machine in a cool, clean, dry place. Cover the machine to keep it clean and protected.
Always shut off the machine, wait for all moving parts to stop, and allow the machine to cool before adjusting, servicing, cleaning, or storing it.
Empty the fuel from the fuel tank when mowing for the last time before storing the machine.
Run the engine until it shuts off from running out of fuel.
Choke the engine and start it again.
Allow the engine to run until it shuts off. When you can no longer start the engine, it is sufficiently dry.
While the engine is still warm, change the oil in the crankcase; refer to Changing the Engine Oil.
Remove the spark plug.
Using an oil can, add about 30 ml (1 fl oz) of engine oil to the engine crankcase through the spark-plug hole.
Slowly rotate the engine several times by pulling the recoil-start handle to distribute the oil throughout the engine crankcase.
Install the spark plug but do not connect the wire to the spark plug.
Clean under the machine; refer to Cleaning under the Machine.
Clean any dirt and chaff from the cylinder, cylinder head fins, and blower housing.
Remove grass clippings, dirt, and grime from the external parts of the engine, the shrouding, and the top of the mower housing.
Check the condition of the blade; refer to Inspecting the Blade.
Check the condition of the accelerator; refer to Inspecting the Accelerator.
Service the air filter; refer to Servicing the Air Filter.
Tighten all nuts, bolts, and screws.
Touch up all rusted or chipped paint surfaces with paint available from an Authorized Service Dealer.
Check and tighten all fasteners.
Remove the spark plug and spin the engine rapidly using the starter to blow out the excess oil from the cylinder.
Clean the spark plug or replace it if it is cracked, broken, or if the electrodes are worn.
Install the spark plug; refer to Servicing the Spark Plug.
Perform any needed maintenance procedures; refer to .
Fill the fuel in the fuel tank with fresh fuel.
Check the engine-oil level.
Connect the wire to the spark plug.
| Problem | Possible Cause | Corrective Action |
|---|---|---|
| The engine does not start. |
|
|
| The engine starts hard or loses power. |
|
|
| The engine runs rough. |
|
|
| The machine or engine vibrates excessively. |
|
|
| The is an uneven cutting pattern. |
|
|
| The discharge chute plugs up. |
|
|
| The machine does not self-propel. |
|
|