| Onderhoudsinterval | Onderhoudsprocedure |
|---|---|
| Bij elk gebruik of dagelijks |
|
Deze loopmaaier met draaiende messen is bedoeld voor gebruik door particulieren. De machine is voornamelijk ontworpen voor het maaien van gras op goed onderhouden particuliere gazons. Gebruik van dit product voor andere doeleinden dan deze kan gevaarlijk zijn voor u of omstanders.
Lees deze informatie zorgvuldig door, zodat u weet hoe u de machine op de juiste wijze moet gebruiken en onderhouden en om letsel en schade aan de machine te voorkomen. U bent verantwoordelijk voor het juiste en veilige gebruik van de machine.
Ga naar www.toro.com voor meer informatie, inclusief veiligheidstips, instructiemateriaal, informatie over accessoires, hulp bij het vinden van een dealer of om uw product te registreren.
Als u service, originele Toro- onderdelen of aanvullende informatie nodig hebt, kunt u contact opnemen met een erkende servicedealer of met de klantenservice van Toro. U dient hierbij altijd het modelnummer en het serienummer van het product te vermelden. De locatie van het plaatje met het modelnummer en het serienummer van het product is aangegeven op Figuur 1. U kunt de nummers noteren in de ruimte hieronder.
Important: U kunt met uw mobiel apparaat de QR-code op het plaatje met het serienummer (indien aanwezig) scannen om toegang te krijgen tot de garantie, onderdelen en andere productinformatie

Er worden in deze handleiding een aantal mogelijke gevaren en een aantal veiligheidsberichten genoemd (Figuur 2) met de volgende waarschuwingssymbolen, die duiden op een gevaarlijke situatie die zwaar lichamelijk letsel of de dood tot gevolg kan hebben wanneer de veiligheidsvoorschriften niet in acht worden genomen.

Er worden in deze handleiding twee woorden gebruikt om uw aandacht op bijzondere informatie te vestigen. Belangrijk attendeert u op bijzondere technische informatie en Opmerking duidt algemene informatie aan die bijzondere aandacht verdient.
Registreer uw machine zeker op www.Toro.com/register. Door uw machine te registeren, zorgt u ervoor dat u op de hoogte wordt gebracht van een eventuele terugroepactie. Uw registratie-informatie wordt nooit verkocht of gedeeld met derden. Om afval te voorkomen en het milieu te ontzien, wordt er geen uitwerpkanaal bij uw aankoop geleverd (de meeste klanten verkiezen immers om het maaisel te recyclen of op te vangen). U kunt een uitwerpkanaal aanvragen wanneer u uw product registreert op www.Toro.com/register. Vink het vakje aan in het online registratieformulier en Toro zal u een uitwerpkanaal opsturen zonder bijkomende kosten. Gelieve er rekening mee te houden dat de levering 1 tot 2 weken kan duren.
Dit product voldoet aan alle relevante Europese richtlijnen; zie voor details de aparte productspecifieke conformiteitsverklaring.
Bruto- en nettokoppel: Het bruto- en nettokoppel van deze motor is door de motorfabrikant in laboratoriumomstandigheden gemeten volgens standaard J1940 of J2723 van de Society of Automotive Engineers (SAE). Omdat bij de configuratie rekening is gehouden met de veiligheids- en gebruiksvoorschriften, zal dit type maaiers in de praktijk een veel lager motorkoppel hebben. Raadpleeg de informatie van de motorfabrikant die wordt meegeleverd met de machine.
Gelieve niet te knoeien met de veiligheidsvoorzieningen of deze uit te schakelen. Controleer ook regelmatig dat deze nog werken. Probeer het afgesteld motortoerental niet te veranderen, anders kan er een onveilige situatie ontstaan waardoor u letsel kunt oplopen.
Dit product kan handen of voeten afsnijden en voorwerpen uitwerpen. Volg altijd alle veiligheidsinstructies op om ernstig of mogelijk dodelijk letsel te voorkomen.
Voordat u de motor start, moet u de instructies en waarschuwingen in deze Gebruikershandleiding en op de machine en de werktuigen lezen, begrijpen en uitvoeren.
Houd uw handen en voeten uit de buurt van bewegende onderdelen van onder de machine. Blijf altijd uit de buurt van afvoeropeningen.
Gebruik de machine niet als er schermen of andere beveiligingsmiddelen ontbreken of als deze niet naar behoren werken.
Laat geen omstanders of kinderen het werkgebied betreden. Laat kinderen nooit de machine bedienen. Laat enkel mensen die verantwoordelijk en getraind zijn en die bovendien vertrouwd zijn met de instructies en fysiek ertoe in staat zijn de machine bedienen.
Stop de machine, zet de motor uit en wacht totdat alle bewegende onderdelen tot stilstand zijn gekomen voordat u servicewerkzaamheden uitvoert, brandstof bijvult of verstoppingen verwijdert.
Onjuist gebruik of onderhoud van deze machine kan letsel tot
gevolg hebben. Om het risico op letsel te verkleinen, dient u zich
aan de volgende veiligheidsinstructies te houden en altijd op het
veiligheidssymbool
te letten, dat betekent Voorzichtig, Waarschuwing
of Gevaar – instructie voor persoonlijke veiligheid. Niet-naleving
van deze instructies kan leiden tot lichamelijk of dodelijk letsel.
![]() |
Veiligheidsstickers en veiligheidsinstructies zijn gemakkelijk zichtbaar voor de bestuurder en bevinden zich bij plaatsen waar gevaar kan ontstaan. Vervang alle beschadigde of ontbrekende stickers. |





Important: Verwijder het plastic waarmee de motor is afgedekt en eventueel ander plastic of verpakkingsmateriaal op de machine.

Important: Om de motor veilig en snel te kunnen starten voor elk gebruik dient u de startkoord aan te brengen in de koordgeleider.

Important: Als het oliepeil in het motor te hoog of te laag is en u laat de motor toch draaien, kunt u deze beschadigen.



| Model | Gewicht | Lengte | Breedte | Hoogte |
|---|---|---|---|---|
| 21772 | 37 kg | 151 cm | 59 cm | 109 cm |
Een selectie van door Toro goedgekeurde werktuigen en accessoires is verkrijgbaar voor gebruik met de machine om de mogelijkheden daarvan te verbeteren en uit te breiden. Neem contact op met een erkende servicedealer of een erkende Toro distributeur of bezoek www.Toro.com voor een lijst van alle goedgekeurde werktuigen en accessoires.
Om de beste prestaties te verkrijgen en ervoor te zorgen dat de veiligheidscertificaten van de machine blijven gelden, moet u ter vervanging altijd originele onderdelen en accessoires van Toro aanschaffen. Gebruik ter vervanging nooit onderdelen en accessoires van andere fabrikanten, omdat dit gevaarlijk kan zijn en de productgarantie hierdoor kan vervallen.
Note: Bepaal vanuit de normale bestuurderspositie de linker- en rechterzijde van de machine.
Zet de machine altijd af, wacht totdat alle bewegende onderdelen tot stilstand zijn gekomen en laat de machine afkoelen voordat u de machine afstelt, reinigt, stalt of er onderhoudswerkzaamheden aan verricht.
Zorg ervoor dat u vertrouwd raakt met de bedieningsorganen en de veiligheidssymbolen, en weet hoe u de machine veilig kunt gebruiken.
Controleer of de beschermplaten en veiligheidsvoorzieningen zoals grasgeleiders en/of de grasvanger op hun plaats zitten en naar behoren werken.
Controleer de machine altijd om er zeker van te zijn dat de messen en mesbouten niet versleten of beschadigd zijn.
Controleer het werkgebied en verwijder alle voorwerpen die het gebruik van de machine zouden kunnen hinderen of die de machine zou kunnen uitwerpen.
Contact met een bewegend mes veroorzaakt ernstig letsel. Steek uw vingers niet onder de behuizing.
Brandstof is uiterst ontvlambaar en zeer explosief. Brand of explosie van brandstof kan brandwonden bij u of anderen en materiële schade veroorzaken.
Om te voorkomen dat een statische lading de brandstof tot ontbranding kan brengen, moet u het brandstofreservoir en/of de machine op de grond plaatsen voordat u de tank vult, niet op een voertuig of een ander object.
Vul de brandstoftank in de open lucht wanneer de motor koud is. Neem eventueel gemorste benzine op.
Rook niet als u omgaat met brandstof, en houd brandstof uit de buurt van open vuur of vonken.
Als de motor draait of heet is, mag de brandstoftankdop niet worden verwijderd en mag de tank niet met brandstof worden bijgevuld.
Probeer de motor niet te starten als u brandstof morst. Zorg ervoor dat er geen ontstekingsbronnen in de buurt zijn totdat de brandstofdampen volledig zijn verdwenen.
Bewaar brandstof in een goedgekeurd vat of blik en buiten bereik van kinderen.
Brandstof is schadelijk of dodelijk bij inname. Langdurige blootstelling aan dampen kan leiden tot ernstig letsel en ziekte.
Voorkom dat u dampen lange tijd inademt.
Houd uw handen en gezicht uit de buurt van de vulpijp en de opening van de brandstoftank.
Houd brandstof uit de buurt van uw ogen en huid.
| Band | Loodvrije benzine |
| Minimaal octaangetal | 87 (VS) of 91 (researchoctaangetal; buiten de VS) |
| Ethanol | Niet meer dan 10% van het volume |
| Methanol | Geen |
| MTBE (methyl-tertiair-butylether) | Niet meer dan 15% van het volume |
| Olie | Niet toevoegen aan de brandstof |
Gebruik uitsluitend schone, verse brandstof (minder dan 30 dagen oud) van een gerespecteerde bron.
Important: Om startproblemen te verminderen, moet u stabilizer/conditioner toevoegen aan de verse brandstof volgens de voorschriften van de fabrikant van de stabilizer/conditioner.
Raadpleeg de gebruikershandleiding van de motor voor verdere informatie.
Vul de brandstoftank zoals wordt getoond in Figuur 9.

| Onderhoudsinterval | Onderhoudsprocedure |
|---|---|
| Bij elk gebruik of dagelijks |
|
Important: Als het oliepeil in het carter te hoog of te laag is en u laat de motor toch draaien, kunt u deze beschadigen.

U kunt de handgreep 1 of 2 standen hoger of lager zetten in een stand die u comfortabel vindt (Figuur 11).

Verwijder beide handgreepknoppen.
Zet de handgreep in de gewenste hoogte.
Bevestig de handgreep met de handgreepknoppen die u eerder verwijderd hebt.
Bij het verstellen van een maaihoogtehendel kunnen uw handen in aanraking komen met een bewegend mes. Dit kan ernstig lichamelijk letsel veroorzaken.
Zet de motor af en wacht totdat alle bewegende onderdelen tot stilstand zijn gekomen voordat u de maaihoogte instelt.
Plaats uw vingers niet onder de maaikast als u de maaihoogte instelt.
Als de motor heeft gelopen, kan de geluiddemper heet zijn en brandwonden veroorzaken.
Blijf uit de buurt van een hete geluiddemper.
Zet de maaihoogte op de gewenste stand. Stel alle wielen op dezelfde maaihoogte in (Figuur 12).

Draag geschikte kleding en uitrusting, zoals oogbescherming, een lange broek, stevige schoenen met een gripvaste zool en gehoorbescherming. Draag lang haar niet los en draag geen losse kleding of juwelen.
Geef uw volledige aandacht als u de machine gebruikt. Zorg ervoor dat u met niets anders bezig bent waardoor u kunt worden afgeleid, anders kan er letsel ontstaan of kan eigendom worden beschadigd.
Gebruik de machine niet als u ziek of moe bent of onder de invloed van alcohol of drugs bent.
Het maaimes is scherp, contact met het maaimes kan ernstig lichamelijk letsel veroorzaken. Zet de motor af, verwijder het contactsleuteltje (indien aanwezig) en wacht totdat alle bewegende onderdelen tot stilstand zijn gekomen voordat u de bestuurderspositie verlaat.
Houd omstanders uit de buurt van het werkgebied. Houd kleine kinderen uit de buurt van het werkgebied en plaats ze onder toezicht van een verantwoordelijke volwassene die de machine niet aan het gebruiken is. Stop de machine als iemand het werkgebied betreedt.
Kijk altijd naar beneden en achterom voordat u achteruitrijdt.
Gebruik de machine enkel bij een goede zichtbaarheid en in geschikte weersomstandigheden. Gebruik de machine niet als het kan bliksemen.
Als u nat gras en natte bladeren maait, kunt u uitglijden, in aanraking komen met het mes en ernstig letsel oplopen. Gebruik de machine niet in vochtige omstandigheden.
Wees uiterst voorzichtig bij het naderen van blinde hoeken, struiken, bomen en andere objecten die uw zicht kunnen belemmeren.
Het materiaal dat afgevoerd wordt niet naar iemand richten. Voorkom het afvoeren van materiaal tegen een muur of afscherming; het materiaal kan naar u terugketsen. Zet het mes/de messen stil bij het oversteken van grindoppervlakken.
Kijk uit voor gaten, geulen, hobbels, stenen of andere verborgen objecten. Op oneffen terrein kunt u uw evenwicht verliezen of wegglijden.
Als de maaimachine toch een voorwerp raakt en begint te trillen, moet u meteen de motor afzetten, de contactsleutel verwijderen (indien de machine hiermee is uitgerust), wachten totdat alle bewegende onderdelen tot stilstand zijn gekomen en de bougiekabel losmaken voordat u de maaimachine op beschadiging controleert. Voer alle noodzakelijke reparaties uit voordat u de machine weer in gebruik neemt.
Zet de motor af, verwijder het contactsleuteltje (indien aanwezig) en wacht totdat alle bewegende onderdelen tot stilstand zijn gekomen voordat u de bestuurderspositie verlaat.
Als de motor heeft gelopen, kan deze heet zijn en ernstige brandwonden veroorzaken. Blijf uit de buurt van de hete motor.
Laat de motor enkel in goed geventileerde ruimtes draaien. Uitlaatgassen bevatten koolstofmonoxide, een reukloos, dodelijk gif.
Controleer de onderdelen van de grasvanger en het uitwerpkanaal regelmatig op slijtage en beschadiging en vervang ze indien nodig door originele Toro onderdelen.
Maai met de helling mee, nooit helling op en af. Ga zeer zorgvuldig te werk als u van richting verandert op een helling.
Maai niet op al te steile hellingen. Het niet goed neerzetten van de voeten kan ongevallen veroorzaken waarbij de gebruiker wegglijdt en ten val komt.
Maai voorzichtig in de buurt van steile hellingen, greppels of dijken.

Note: Als de motor na enkele pogingen niet wil starten, moet u contact opnemen met een erkende Service Dealer.
Om de zelfaandrijving te activeren, loopt u eenvoudig vooruit met uw handen op het bovenste deel van de handgreep en uw ellebogen naast uw lichaam; de maaimachine richt zich automatisch naar uw loopsnelheid (Figuur 14).

Note: Als de maaimachine niet vrij naar achteren rolt na het inschakelen van de zelfaandrijving, sta dan stil, houd uw handen bij de handgreep en laat de maaimachine een paar centimeter naar voren rollen om het aandrijfsysteem uit te schakelen. U kunt ook de metalen handgreep aanraken die zich net onder de bovenste handgreep bevindt en de machine een paar centimeter naar voren duwen. Als de maaimachine nog steeds niet naar achteren wil rollen, moet u contact opnemen met een erkende Service Dealer.
| Onderhoudsinterval | Onderhoudsprocedure |
|---|---|
| Bij elk gebruik of dagelijks |
|
Om de motor af te zetten, houdt u de knop om de motor uit te zetten ingeduwd (Figuur 16) totdat de motor afslaat.

Als u de motor start, mag het mes niet draaien. U moet het maaimes in werking stellen.
Laat de bedieningsstang van het maaimes los (Figuur 19).

Important: Als u de bedieningsstang loslaat, moet het mes binnen 3 seconden tot stilstand komen. Als dit niet gebeurt, mag u de machine niet verder gebruiken en moet u contact opnemen met een erkende servicedealer.
Controleer de bedieningsstang voor elk gebruik om ervoor te zorgen dat het mesremkoppelingsysteem naar behoren werkt.
| Onderhoudsinterval | Onderhoudsprocedure |
|---|---|
| Bij elk gebruik of dagelijks |
|
U kunt met behulp van de grasvanger een aanvullende test uitvoeren om de mesremkoppeling te controleren.
Plaats de lege grasvanger op de maaimachine.
Start de motor.
Schakel het maaimes in.
Note: De grasvanger moet gaan opzwellen. Dit betekent dat het mes is ingeschakeld en draait.
Laat de bedieningsstang van het maaimes los.
Note: Als de grasvanger niet onmiddellijk kleiner wordt, betekent dit dat het mes nog steeds draait. Dit kan erop duiden dat de mesremkoppeling gebreken heeft. Als u hierop geen acht slaat, kan dit ertoe leiden dat u de machine niet veilig kunt gebruiken. Neem contact op met een erkende Service Dealer om uw maaimachine te laten inspecteren en repareren.
Zet de motor uit en wacht totdat alle bewegende onderdelen tot stilstand gekomen zijn.
Plaats de maaimachine op een verhard oppervlak en uit de wind.
Stel alle 4 wielen in op een maaihoogte van 83 mm.
Neem een stuk krant en maak hiervan een prop die onder het maaidek past (met een doorsnede van ongeveer 76 mm).
Plaats de prop krantenpapier 13 cm vóór de maaimachine.
Start de motor.
Schakel het maaimes in.
Laat de bedieningsstang van het maaimes los.
Duw de maaimachine onmiddellijk over de prop krantenpapier.
Zet de motor uit en wacht totdat alle bewegende onderdelen tot stilstand gekomen zijn.
Ga naar de voorzijde van de maaimachine en controleer de prop krantenpapier.
Note: Als de prop niet onder de maaier is gegaan, herhaalt u stappen 4 tot en met 10.
Als de prop uit elkaar gevallen of versnipperd is, duidt dit erop dat het mes niet op de juiste manier is gestopt. Dit betekent dat u de machine niet veilig kunt gebruiken. Neem contact op met een erkende Service Dealer.
De machine kan maaisel en bladafval over het gazon verspreiden (recycling).
Als de grasvanger aan de maaimachine is bevestigd en de grasvangerhendel zich in de grasvangstand bevindt, eerst de hendel in de recycle-stand zetten (raadpleeg Montage van de grasvanger).
Gebruik de grasvanger als u maaisel en bladafval wilt verzamelen.
Als de grasvangerhendel zich in de recycle-stand bevindt, zet deze dan in de grasvangstand (zie De grasvangerhendel bedienen).
Om de zak te verwijderen, voert u de stappen in Montage van de grasvanger in omgekeerde volgorde uit.
Met de grasvangfunctie kunt u kiezen tussen opvangen van het maaisel of recyclen van gras en bladeren terwijl de grasvanger aan de maaimachine is bevestigd.
Als u het gras en de bladeren wilt opvangen, druk dan op de knop van de grasvangerhendel en beweeg deze naar voren tot de knop op de hendel naar boven klikt (Figuur 21).

Als u het gras en bladeren wilt recyclen, druk dan op de knop van de grasvangerhendel en beweeg deze naar achteren tot de knop op de hendel naar boven klikt.
Important: Voor een juiste werking, zet de motor uit, wacht totdat alle bewegende onderdelen tot stilstand zijn gekomen en verwijder eventueel maaisel en vuil van de grasvangerklep en de omgeving ervan (Figuur 22) voordat u de hendel in een andere stand zet.

Controleer het werkgebied en verwijder alle voorwerpen die de machine zou kunnen uitwerpen.
Zorg ervoor dat het mes geen vaste voorwerpen raakt. Maai nooit met opzet over voorwerpen.
Als de maaimachine een voorwerp raakt en begint te trillen, moet u meteen de motor afzetten, wachten totdat alle bewegende onderdelen tot stilstand zijn gekomen, de bougiekabel losmaken en de maaimachine op beschadiging controleren.
De beste resultaten krijgt u door een nieuw Toro mes te monteren voordat het maaiseizoen begint of wanneer dit nodig is.
U moet telkens niet meer dan ongeveer een derde van de lengte van het gras afmaaien. Maai niet met een stand lager dan 51 mm, tenzij de grasmat dun is, of als het laat in het najaar is wanneer het gras langzamer begint te groeien.
Als u gras wilt maaien dat langer dan 15 cm is, moet u maaien op de maximale maaihoogte en met een langzamere loopsnelheid. Vervolgens gaat u maaien op een lagere maaihoogte om het gazon een zo fraai mogelijk uiterlijk te geven. Als het gras te hoog is, kan de machine verstopt raken en de motor afslaan.
Nat gras en natte bladeren gaan aankoeken, waardoor de maaimachine verstopt kan raken of de motor kan afslaan. Gebruik de machine niet in vochtige omstandigheden.
Wees bedacht op het risico van brand in zeer droge omstandigheden; neem alle plaatselijke brandwaarschuwingen in acht en houd de machine vrij van droog gras en bladafval.
Maai steeds in wisselende richtingen. Hierdoor wordt het maaisel beter over het gazon verstrooid, zodat het gazon gelijkmatig wordt bemest.
Als u met het uiterlijk van het voltooide gazon niet tevreden bent, probeer dan een of meer van de volgende stappen:
Vervang het maaimes of laat het slijpen.
Loop langzamer tijdens het maaien.
Stel de maaimachine in op een hogere maaihoogte.
Maai het gras vaker.
Laat de maaibanen overlappen in plaats van steeds een volledig nieuwe baan te maaien.
Na het maaien moet altijd 50% van het gazon zichtbaar blijven door de bladerlaag. Dit kan een of meerdere rondgangen over de bladeren vereisen.
Als er een laag bladeren van meer dan 13 cm op het gazon ligt, moet u eerst met een hogere maaihoogte werken en vervolgens nogmaals maaien op de gewenste hoogte.
Als de maaimachine de bladeren niet fijn genoeg maakt, is het beter om wat langzamer te maaien.
Zet de machine altijd af, wacht totdat alle bewegende onderdelen tot stilstand zijn gekomen en laat de machine afkoelen voordat u de machine afstelt, reinigt, stalt of er onderhoudswerkzaamheden aan verricht.
Verwijder gras en vuil van de machine om brand te voorkomen. Neem gemorste olie of brandstof op.
Bewaar de machine of brandstofhouder nooit bij een open vlam, vonk of waakvlam bij bv. een geiser of andere apparaten.
Wees voorzichtig bij het in- of uitladen van de machine.
Zet de machine vast zodat ze niet kan gaan rollen.
| Onderhoudsinterval | Onderhoudsprocedure |
|---|---|
| Na elk gebruik |
|
Om de beste resultaten te verkrijgen, dient u de onderkant van de machine te reinigen kort nadat u klaar bent met werken.
Zet de machine in zijn laagste maaistand.
Plaats de machine op een verhard horizontaal oppervlak.
Terwijl de motor en het maaimes ingeschakeld zijn, spuit u een straal water voor het rechter achterwiel (Figuur 23).
Note: Het opspattende water komt dan in de baan van het maaimes en spoelt het maaisel weg.

Als er geen maaisel meer onder vandaan komt, draait u de kraan dicht en brengt u de machine naar een droge plaats.
Start de motor en laat deze een paar minuten lopen om de onderzijde van de machine te drogen zodat deze niet gaat roesten.
Zet de motor uit, verwijder de elektrische startknop (indien de machine hiermee is uitgerust) en laat de machine afkoelen voordat u deze in een afgesloten ruimte stalt.
Als de handgreep verkeerd wordt in- en uitgeklapt, kunnen de kabels schade oplopen, waardoor de machine niet veilig kan worden gebruikt.
Zorg ervoor dat u de kabels niet beschadigt als u de handgreep in- of uitklapt.
Indien een kabel is beschadigd, moet u contact opnemen met een erkende Service Dealer.
Verwijder en bewaar de 2 handgreepknoppen en 2 slotbouten van de handgreepbeugels (A van Figuur 24).
Important: Leid de kabels naar de buitenzijde van de handgreepknoppen terwijl u de handgreep beweegt.
Vouw de handgreep in door deze naar voren te draaien (B van Figuur 24).
Monteer de handgreepknoppen en slotbouten losjes op de handgreepbeugels (C van Figuur 24).
Om de handgreep uit te vouwen, zie De handgreep monteren en uitklappen.

| Onderhoudsinterval | Onderhoudsprocedure |
|---|---|
| Bij elk gebruik of dagelijks |
|
| Na elk gebruik |
|
| Om de 25 bedrijfsuren |
|
| Jaarlijks |
|
| Jaarlijks of vóór stalling |
|
Important: Raadpleeg de gebruikershandleiding van de motor voor verdere onderhoudsprocedures.
Zet de machine altijd af, wacht totdat alle bewegende onderdelen tot stilstand zijn gekomen en laat de machine afkoelen voordat u de machine afstelt, reinigt, stalt of er onderhoudswerkzaamheden aan verricht.
Trek de bougiekabel los van de bougie voordat u onderhoudswerkzaamheden uitvoert.
Draag handschoenen en oogbescherming wanneer u servicewerkzaamheden verricht.
Het maaimes is scherp, contact met het maaimes kan ernstig lichamelijk letsel veroorzaken. Gebruik handschoenen als u het mes monteert. Repareer of wijzig het mes/de messen niet.
Knoei nooit met de veiligheidsvoorzieningen. Controleer regelmatig of deze goed werken.
Als u de machine kantelt, kan er benzine uit de tank lekken. Benzine is ontvlambaar en explosief en kan lichamelijk letsel veroorzaken. Laat de motor drooglopen of pomp de brandstof met een handpomp uit de tank. Gebruik nooit een hevel.
Om veilige en optimale prestaties van de machine te verkrijgen, moet u ter vervanging alleen originele Toro onderdelen en accessoires gebruiken. Gebruik ter vervanging nooit onderdelen en accessoires van andere fabrikanten, omdat dit gevaarlijk kan zijn en de productgarantie hierdoor kan vervallen.
Zet de motor uit en wacht totdat alle bewegende onderdelen tot stilstand gekomen zijn.
Maak de bougiekabel los van de bougie (Figuur 25).

Nadat u de onderhoudswerkzaamheden hebt uitgevoerd, moet u de kabel weer aansluiten op de bougie.
Important: Voordat u de machine kantelt om olie te verversen of het mes te vervangen, moet u de machine gebruiken totdat de benzinetank leeg is. Als u de machine moet kantelen voordat de benzinetank leeg is, dient u de benzine met een handpomp uit de tank te pompen. Kantel de maaimachine altijd op de zijkant, met de peilstok omlaag.
| Onderhoudsinterval | Onderhoudsprocedure |
|---|---|
| Om de 25 bedrijfsuren |
|
| Jaarlijks |
|
Maak de sluiting bovenaan het luchtfilterdeksel los (Figuur 26).

Verwijder het luchtfilter (Figuur 26).
Luchtfilter controleren.
Note: Als het luchtfilter bijzonder vuil is, vervang dan het filterelement. Tik anders voorzichtig met het luchtfilter op een hard oppervlak om het vuil eruit te kloppen.
Monteer het luchtfilter.
Gebruik de sluiting om het luchtfilterdeksel weer terug te plaatsen.
| Onderhoudsinterval | Onderhoudsprocedure |
|---|---|
| Jaarlijks |
|
Het is niet verplicht om de motorolie te verversen, maar als u dit wilt doen, volg dan de volgende procedure.
Note: Voordat u de olie ververst, moet u de motor enkele minuten laten lopen zodat de olie warm wordt. Warme olie stroomt beter en voert verontreinigingen beter mee.
| Motoroliecapaciteit | 0,44 l* |
| Olieviscositeit | SAE 30 of SAE 10W-30 reinigingsolie |
| API-onderhoudsclassificatie | SJ of hoger |
*Er is olie achtergebleven in het carter nadat u de olie aftapt. Giet niet de hele inhoud olie in het carter. Vul het carter met olie zoals uitgelegd in de volgende stappen.
Plaats de machine op een horizontaal oppervlak.
Verwijder de peilstok door de dop linksom te draaien en eruit te trekken (Figuur 27).

Kantel de machine op de zijkant (met het luchtfilter naar boven) om de oude olie uit de vulbuis te laten lopen (Figuur 28).

Nadat de gebruikte olie is afgetapt, zet u de maaimachine terug in de werkstand.
Giet langzaam ongeveer ¾ van de inhoud van het oliecarter in de vulbuis.
Wacht 3 minuten tot de olie in de motor gezakt is.
Veeg de peilstok met een schone doek schoon.
Steek de peilstok in de vulbuis en schroef hem erin. Verwijder de peilstok dan weer.
Lees het oliepeil af van de peilstok (Figuur 27).
Als het peil op de peilstok te laag staat, giet dan voorzichtig een kleine hoeveelheid olie in de vulbuis, wacht 3 minuten en herhaal stappen 8 tot en met 10 totdat de peilstok het juiste peil aangeeft.
Als het oliepeil op de peilstok te hoog is, tapt u de overtollige olie af tot de peilstok het juiste oliepeil aangeeft.
Important: Als het oliepeil in het motor te hoog of te laag is en u laat de motor toch draaien, kunt u deze beschadigen.
Plaats de peilstok goed in de vulbuis.
Recycleer de gebruikte olie op de juiste wijze.
| Onderhoudsinterval | Onderhoudsprocedure |
|---|---|
| Jaarlijks |
|
Important: U hebt een momentsleutel nodig om het mes op correcte wijze te monteren. Als u geen momentsleutel hebt of niet goed weet hoe u de montage moet uitvoeren, kunt u contact opnemen met een erkende servicedealer.
Controleer het mes wanneer de brandstoftank leeg is. Een beschadigd of gescheurd mes moet direct worden vervangen. Als de snijrand bot is of bramen vertoont, moet u het mes laten slijpen en balanceren of het mes vervangen.
Het maaimes is scherp, contact met het maaimes kan ernstig lichamelijk letsel veroorzaken.
Gebruik handschoenen als u het mes monteert.
Maak de bougiekabel los van de bougie; zie Voorbereidingen voor onderhoudswerkzaamheden.
Kantel de maaimachine op zijn zij met het luchtfilter naar boven.
Verwijder de 2 mesmoeren en de versteviger (Figuur 29).

Verwijder het mes (Figuur 29).
Plaats het nieuwe mes (Figuur 29).
Plaats de versteviger terug.
Draai de mesbouten vast met een torsie van 20 tot 37 N·m.
| Onderhoudsinterval | Onderhoudsprocedure |
|---|---|
| Om de 25 bedrijfsuren |
|
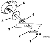
Reinig het scherm van de mesremkoppeling jaarlijks om te voorkomen dat het mes afslaat terwijl u aan het maaien bent.
Maak de bougiekabel los van de bougie; zie Voorbereidingen voor onderhoudswerkzaamheden.
Kantel de maaimachine op de zijkant, met de peilstok omlaag.
Verwijder de 2 mesmoeren en de versteviger (Figuur 30).

Verwijder het mes (Figuur 30).
Verwijder de mesaandrijving en de schijf (Figuur 30).
Verwijder het scherm van de mesremkoppeling (Figuur 30).
Borstel of blaas het vuil uit de binnenzijde van het scherm en van alle onderdelen.
Plaats het scherm van de mesremkoppeling terug.
Plaats de mesaandrijving en de schijf terug.
Plaats het mes en de versteviger terug (Figuur 30).
Draai de mesbouten vast met een torsie van 20 tot 37 N·m.
Wanneer u een nieuwe kabel voor de zelfaandrijving monteert of de zelfaandrijving ontregeld is, moet u de zelfaandrijving afstellen.
Draai de stelmoer linksom om het afstelmechanisme van de kabel los te zetten (Figuur 31).

Stel de kabelspanning af (Figuur 31) door de kabel naar achteren of naar voren te bewegen en hem in deze positie te houden.
Note: Duw de kabel naar de motor om de tractie te verhogen; trek de kabel weg van de motor om de tractie te verkleinen.
Draai de stelmoer rechtsom om de afstelling van de kabel te borgen.
Note: Draai de moer stevig vast met een dopsleutel of een moersleutel.
Stal de maaimachine op een koele, schone, droge plaats.
Zet de machine altijd af, wacht totdat alle bewegende onderdelen tot stilstand zijn gekomen en laat de machine afkoelen voordat u de machine afstelt, reinigt, stalt of er onderhoudswerkzaamheden aan verricht.
Voeg de laatste keer in het seizoen dat u brandstof toevoegt ook een stabilizer (zoals Toro Premium Fuel Treatment) toe volgens de voorschriften op het etiket.
U moet ongebruikte brandstof op de juiste wijze afvoeren. Voer deze brandstof af volgens de plaatselijk geldende voorschriften of gebruik deze voor uw auto.
Important: Oude brandstof in de tank is de belangrijkste oorzaak voor startproblemen. Bewaar brandstof zonder stabilizer niet langer dan 30 dagen; bewaar brandstof met stabilizer niet langer dan de periode die de fabrikant van de brandstofstabilizer aanbeveelt.
Laat de motor lopen totdat hij afslaat door gebrek aan brandstof.
Start de motor opnieuw en laat hem lopen totdat hij afslaat. Als de motor niet meer wil starten, is de brandstof voldoende verbruikt.
Maak de kabel los van de bougie en bevestig deze aan de steunstang (indien de machine hiermee is uitgerust) en verwijder de elektrische startknop (indien de machine hiermee is uitgerust).
Verwijder de bougie, giet 30 ml motorolie in de bougieopening en trek verschillende keren langzaam aan het startkoord om de olie over de cilinder te verspreiden teneinde corrosie in de stallingsperiode te voorkomen.
Monteer de bougie zonder deze vast te draaien.
Draai alle moeren, bouten en schroeven goed aan.
Controleer alle bevestigingen en draai deze vast.
Verwijder de bougies en laat de motor snel draaien door aan de handgreep van het startkoord te trekken om de overmatige olie uit de cilinder te verwijderen.
Plaats de bougie en draai hem met behulp van een momentsleutel vast met een torsie van 20 N·m.
Voer de onderhoudsprocedures uit; zie .
Controleer het oliepeil in de motor; zie Het motoroliepeil controleren.
Vul de brandstoftank met verse brandstof; zie Brandstoftank vullen.
Sluit de bougiekabel aan op de bougie.