| Servisní interval | Postup při údržbě |
|---|---|
| Při každém použití nebo denně |
|
Tato rotační, ručně vedená sekačka na trávu je vhodná pro soukromé majitele pozemků. Je určena primárně k sečení trávy na dobře udržovaných trávnících soukromých pozemků. Používání tohoto výrobku pro jiné účely, než ke kterým je určen, může být nebezpečné uživateli i přihlížejícím osobám.
Pečlivě si tuto příručku prostudujte, abyste se naučili stroj správně obsluhovat a udržovat, a předešli tak zranění a poškození stroje. Za správný a bezpečný provoz výrobku nese odpovědnost majitel.
Více informací naleznete na stránce www.Toro.com včetně bezpečnostních pokynů, podkladů pro školení a informací o příslušenství. Můžete zde také vyhledat prodejce výrobků nebo zaregistrovat svůj výrobek.
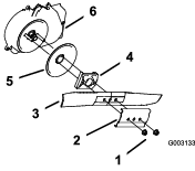
Kdykoli budete potřebovat servis, originální díly Toro nebo doplňující informace, obraťte se na autorizované servisní středisko nebo zákaznický servis Toro a uveďte model a výrobní číslo svého výrobku. Obrázek 1 znázorňuje umístění typového a sériového čísla na výrobku. Vepište sériové číslo do příslušného pole.
Important: Potřebujete-li informace o záruce, náhradních dílech a jiných údajích o výrobku, můžete pomocí mobilního telefonu naskenovat QR kód na štítku sériového čísla (je-li k dispozici).

Tato příručka identifikuje potenciální rizika a obsahuje bezpečnostní sdělení označená varovným bezpečnostním symbolem (Obrázek 2) signalizujícím riziko, které může způsobit vážný úraz nebo usmrcení, nebudete-li dodržovat doporučená opatření.

V této příručce jsou pro zdůraznění informací používána dvě slova. Důležité upozorňuje na speciální technické informace a Poznámka zdůrazňuje obecné informace, které stojí za zvláštní pozornost.
Nezapomeňte zaregistrovat svůj stroj na adrese www.Toro.com/register. Registrace zajistí, že budete upozorněni, pokud dojde ke stažení výrobku z trhu. Vaše registrační údaje se nikdy neprodávají ani nesdílí se společnostmi třetích stran. Abyste se vyhnuli plýtvání a pomohli chránit životní prostředí, při koupi se nedodává vyhazovací kanál (většina zákazníků upřednostňuje odřezky trávy recyklovat nebo ukládat do koše). Vyhazovací kanál si můžete vyžádat při registraci výrobku na adrese www.Toro.com/register. Stačí zatrhnout políčko v online registračním formuláři a Toro vám vyhazovací kanál zašle zdarma. Dodání může trvat 1 až 2 týdny.
Tento výrobek splňuje všechny relevantní směrnice Evropské unie. Podrobné informace naleznete v Prohlášení o shodě k tomuto výrobku.
Hrubý nebo čistý točivý moment: Hrubý nebo čistý točivý moment tohoto motoru byl laboratorně stanoven výrobcem motoru v souladu se specifikacemi SAE (Society of Automotive Engineers, Asociace automobilových inženýrů) J1940 a J2723. V souladu s bezpečnostními, emisními a provozními požadavky byl efektivní točivý moment motoru u sekačky této třídy nastaven na výrazně nižší hodnotu. Prostudujte si příručku výrobce motoru dodávanou se strojem.
Nemanipulujte s bezpečnostními zařízeními na stroji, nevypínejte je a pravidelně kontrolujte jejich funkci. Nepokoušejte se nastavovat nebo upravovat regulátor otáček motoru. Mohou tak vzniknout nebezpečné provozní podmínky, což může vést ke zranění.
Tento výrobek může amputovat ruce a nohy a odmršťovat předměty. Dodržujte vždy všechny bezpečnostní pokyny, abyste zamezili vážnému nebo smrtelnému úrazu.
Před nastartováním motoru si prostudujte pokyny a upozornění uvedené v provozní příručce, na stroji a na přídavných zařízeních a řiďte se jimi.
Udržujte ruce a nohy v bezpečné vzdálenosti od rotujících částí stroje a nedávejte je pod stroj. Zdržujte se v bezpečné vzdálenosti od všech vyhazovacích otvorů.
Nikdy neprovozujte stroj, pokud nejsou všechny jeho kryty ve správné poloze nebo pokud nejsou řádně funkční další bezpečnostní ochranná zařízení.
Přihlížející osoby a děti se musí zdržovat mimo pracovní prostor. Nikdy nedovolte dětem stroj obsluhovat. Stroj mohou obsluhovat pouze osoby, které jsou zodpovědné, k tomu proškolené, obeznámené s pokyny a fyzicky způsobilé.
Před prováděním údržby, doplňováním paliva nebo uvolňováním ucpaného materiálu zastavte stroj, vypněte motor a počkejte, dokud se nezastaví všechny pohyblivé součásti.
Nesprávné používání
nebo údržba této sekačky mohou vést
ke zranění. Z důvodu snížení
možného rizika zranění dodržujte
tyto bezpečnostní pokyny a vždy věnujte
pozornost výstražnému symbolu
, který označuje
upozornění, výstrahu nebo nebezpečí
– pokyny k zajištění osobní
bezpečnosti. Nedodržení těchto pokynů
může mít za následek zranění
osob nebo jejich usmrcení.
![]() |
Bezpečnostní štítky a pokyny jsou umístěny na místě viditelném obsluhou a v blízkosti každého prostoru představujícího potenciální nebezpečí. V případě ztráty nebo poškození původní nálepky nahraďte nálepku novou. |





Important: Sejměte a zlikvidujte ochrannou plastovou fólii, která zakrývá motor, i všechny další plastové nebo obalové materiály na stroji.

Important: Aby bylo při každém použití stroje možné bezpečně a snadno spouštět jeho motor, je třeba nainstalovat lanko ručního startéru do vodiče lanka.

Important: Pokud spustíte motor s příliš nízkou nebo vysokou hladinou motorového oleje, můžete jej poškodit.



| Model | Hmotnost | Délka | Šířka | Výška |
|---|---|---|---|---|
| 21772 | 37 kg | 151 cm | 59 cm | 109 cm |
Pro stroj je k dispozici řada přídavných zařízení a příslušenství schválených firmou Toro, která vylepšují a rozšiřují možnosti stroje. Seznam schválených přídavných zařízení a příslušenství můžete získat u svého autorizovaného prodejce nebo distributora nebo na stránkách www.Toro.com.
K zajištění optimální výkonnosti a dodržení požadavků na bezpečnost stroje je nutné používat pouze originální náhradní díly a příslušenství od společnosti Toro. Náhradní díly a příslušenství jiných výrobců mohou být nebezpečné a jejich použití může mít za následek zneplatnění záruky.
Note: Levou a pravou stranu stroje určete z normálního místa obsluhy.
Před seřizováním, údržbou, čištěním nebo skladováním stroj vždy vypínejte, počkejte, dokud se nezastaví všechny pohyblivé součásti, a nechejte jej vychladnout.
Dobře se seznamte s bezpečným použitím zařízení, ovládacími prvky a významem bezpečnostních nápisů.
Vždy se přesvědčte, zda jsou všechny ochranné kryty a bezpečnostní prvky, jako například deflektory a sběrný koš, na svém místě a správně fungují.
Vždy kontrolujte stroj a přesvědčte se, zda žací nože šrouby žacího nože nejsou opotřebené nebo poškozené.
Zkontrolujte prostor, kde budete stroj používat, a odstraňte všechny předměty, jež mohou bránit provozu stroje nebo jež mohou být strojem vymrštěny.
Kontakt s pohybujícím se žacím nožem může způsobit vážné zranění. Nestrkejte prsty pod kryt.
Palivo je extrémně hořlavé a vysoce výbušné. Požár nebo výbuch způsobený palivem může popálit vás i jiné osoby a způsobit škody na majetku.
Aby nedošlo ke vznícení paliva od statického náboje, položte před tankováním nádobu s palivem nebo sekačku přímo na zem, nikoli na vozidlo nebo jiný předmět.
Palivo doplňujte do nádrže venku na otevřeném prostranství a při studeném motoru. Rozlité palivo utřete.
Nemanipulujte s palivem v blízkosti otevřeného ohně či jisker, nebo když kouříte.
Nikdy neodstraňujte uzávěr nádrže ani nedoplňujte palivo při spuštěném motoru nebo je-li motor horký.
Pokud rozlijete palivo, nepokoušejte se spustit motor. Dokud se neodpaří palivové výpary, zabraňte vzniku jiskření.
Palivo skladujte ve schválených nádobách a odstraňte je z dosahu dětí.
Požití paliva může vést k vážnému zranění nebo úmrtí. Dlouhodobý styk s výpary může způsobit vážné újmy na zdraví a onemocnění.
Vyhýbejte se delšímu vdechování výparů.
Ruce ani obličej nepřibližujte k trysce a otvoru palivové nádrže.
Dávejte pozor, aby vám palivo nevniklo do očí a nedostalo se do kontaktu s pokožkou.
| Typ | Bezolovnatý benzín |
| Minimální oktanové číslo | 87 (USA) nebo 91 (výzkumné oktanové číslo; mimo USA) |
| Etanol | Ne více než 10 % objemu |
| Metanol | Žádné |
| MTBE (methylterciální butylether) | Méně než 15 % objemu |
| Olej | Nepřidávejte do benzínu |
Používejte pouze čisté čerstvé (ne starší než 30 dní) palivo od důvěryhodného dodavatele.
Important: Abyste předešli problémům při startování, do čerstvého paliva přidejte určité množství stabilizačního aditiva paliva podle pokynů výrobce stabilizačního aditiva paliva.
Dodatečné informace naleznete v návodu k obsluze motoru.
Naplňte palivovou nádrž, viz Obrázek 9.

| Servisní interval | Postup při údržbě |
|---|---|
| Při každém použití nebo denně |
|
Important: Je-li hladina oleje v klikové skříni příliš nízká nebo příliš vysoká a vy spustíte motor, můžete ho tím poškodit.

Rukojeť můžete zvednout nebo snížit do jedné ze 2 poloh, která vám při práci vyhovuje (Obrázek 11).

Demonujte oba knoflíky rukojeti.
Přesuňte rukojeť do požadované výškové polohy.
Zajistěte rukojeť pomocí dříve demontovaných knoflíků rukojeti.
Při nastavování výšky sekání pomocí pák se mohou vaše ruce dostat do kontaktu s pohybujícím se žacím nožem a může dojít k vážnému úrazu.
Před nastavením výšky sekání vypněte motor a počkejte, dokud se všechny pohyblivé součásti nezastaví.
Při nastavování výšky sekání nestrkejte prsty pod kryt.
Pokud byl spuštěný motor, tlumič výfuku bude žhavý a může způsobit popálení.
Nepřibližujte se ke žhavému tlumiči výfuku.
Nastavte výšku sekání podle potřeby. Nastavte všechna kola do stejné výšky sekání (Obrázek 12).

Používejte vhodné oblečení a pomůcky, včetně ochranných brýlí, dlouhých kalhot, pevné protiskluzové obuvi a chráničů sluchu. Svažte si dlouhé vlasy a nenoste volný oděv či volně se pohybující šperky.
Při práci se strojem věnujte jeho provozu maximální pozornost. Neprovádějte žádné činnosti, jež by mohly vaši pozornost odvádět. V takovém případě by mohlo dojít ke zranění nebo poškození majetku.
Stroj neobsluhujte, jste-li nemocní, unaveni nebo pod vlivem alkoholu nebo drog.
Žací nůž je ostrý; při kontaktu s nožem může dojít k vážnému poranění. Než opustíte pracovní pozici, vypněte motor, vyjměte klíč ze spínací skříňky (je-li ve výbavě) a počkejte, až se všechny pohybující se části zastaví.
Ostatní osoby se musejí zdržovat v bezpečné vzdálenosti od pracovního prostoru. Malé děti se musejí zdržovat v bezpečné vzdálenosti od provozního prostoru a musejí být pod stálým dohledem zodpovědné dospělé osoby, která stroj neobsluhuje. Pokud někdo do tohoto prostoru vstoupí, stroj zastavte.
Před rozjetím se strojem vzad se vždy podívejte dolů a za sebe.
Pracujte se strojem jen za dobré viditelnosti a za dobrého počasí. Nepracujte se strojem, pokud hrozí nebezpečí zásahu bleskem.
Na mokré trávě nebo listí můžete uklouznout, dostat se do kontaktu s žacím nožem a způsobit si vážné zranění. Nesekejte za mokrých podmínek.
Buďte velmi opatrní, blížíte-li se k nepřehledným zatáčkám, křovinám, stromům nebo jiným objektům, které vám mohou bránit ve výhledu.
Nesměřujte výhoz posekané trávy na nějakou osobu. Vyvarujte se vyhazování materiálu proti zdi nebo jiné překážce. Materiál se může odrážet zpět na vás. Před přejížděním štěrkových povrchů zastavte žací nůž (nože).
Dávejte pozor na díry, vyjeté koleje, hrboly, kameny nebo jiné skryté objekty. Na nerovném terénu můžete ztratit rovnováhu či stabilní postoj.
Pokud sekačka narazí na tvrdý předmět nebo začne vibrovat, okamžitě vypněte motor, vytáhněte klíč zapalování (dle výbavy), počkejte, dokud se nezastaví všechny pohyblivé součásti, odpojte koncovku zapalovací svíčky a zkontrolujte, zda stroj není poškozený. Před obnovením provozu proveďte všechny nezbytné opravy.
Než opustíte provozní pozici, vypněte motor, vytáhněte klíč ze spínací skříňky (je-li ve výbavě) a počkejte, až se všechny pohybující části zastaví.
Pokud byl spuštěný motor, bude horký a může způsobit vážné popálení. Nepřibližujte se k teplému motoru.
Motor nechejte pracovat jen v dobře větraném prostoru. Výfukové plyny obsahují oxid uhelnatý, což je smrtelný jed bez zápachu.
Pravidelně kontrolujte, zda součásti sběrného koše a vyhazovací kanál nejsou opotřebené či poškozené, a v případě potřeby je vyměňte za originální náhradní díly Toro.
Sekejte podél svahu, nikdy nahoru a dolů. Při změně směru na svahu buďte mimořádně opatrní.
Nesekejte na příliš strmých svazích. Špatný postoj nebo špatná pozice při sekání mohou být příčinou uklouznutí a pádu.
Sekejte opatrně v blízkosti prudkých svahů, příkopů nebo náspů.

Note: Jestliže se sekačka nenastartuje ani po několika pokusech, obraťte se na autorizované servisní středisko.
V případě použití ručního pohonu se jednoduše pohybujte volnou chůzí a tlačte stroj před sebou, s rukama na horním držadle a s lokty u těla (Obrázek 14).

Note: Pokud se stroj nepohybuje volně zpět po práci s ručním pohonem, zastavte se, přidržte ruce na místě a nechejte stroj popojet několik centimetrů dopředu, aby došlo k odpojení pohonu kol. Můžete také zkusit dosáhnout na kovovou rukojeť těsně pod horní rukojetí a zatlačit stroj několik centimetrů dopředu. Pokud se stroj stále nepohybuje vzad volně, obraťte se na autorizované servisní středisko.
| Servisní interval | Postup při údržbě |
|---|---|
| Při každém použití nebo denně |
|
Chcete-li vypnout motor, stiskněte spínač vypnutí motoru (Obrázek 16) a podržte jej, dokud se motor nezastaví.

Uvolněte ovládací tyč žacího nože (Obrázek 19).

Important: Po uvolnění ovládací tyče žacího nože se nůž musí do 3 sekund zastavit. Pokud se řádně nezastaví, přestaňte stroj okamžitě používat a kontaktujte autorizované servisní středisko.
Před každým použitím zkontrolujte ovládací tyč, aby byla zaručena řádná funkčnost brzdového systému žacího nože.
| Servisní interval | Postup při údržbě |
|---|---|
| Při každém použití nebo denně |
|
Pro dodatečnou kontrolu funkčnosti brzdy žacího nože můžete použít sběrací koš.
Namontujte prázdný sběrací koš na stroj.
Spusťte motor.
Spusťte žací nůž.
Note: Sběrací koš by se měl začít nafukovat na důkaz toho, že žací nůž je spuštěný a rotuje.
Uvolněte ovládací tyč žacího nože.
Note: Pokud sběrací koš okamžitě nesplaskne, žací nůž stále rotuje. Brzda žacího nože se může opotřebovat. Pokud budete v tomto případě stroj i nadále používat, vystavujete se nebezpečí. Nechte stroj zkontrolovat a provést jeho údržbu v autorizovaném servisním středisku.
Vypněte motor a počkejte, dokud se všechny pohyblivé součásti nezastaví.
Přemístěte stroj na dlážděnou plochu, kde nefouká vítr.
Nastavte všechna 4 kola na výšku sekání 83 mm.
Vezměte půlarch novinového papíru a zmačkejte jej do kuličky dostatečně malé na to, aby se vešla pod kryt stroje (o průměru asi 76 mm).
Položte papírovou kuličku přibližně 13 cm před stroj.
Spusťte motor.
Spusťte žací nůž.
Uvolněte ovládací tyč žacího nože.
Přejeďte strojem přes papírovou kuličku.
Vypněte motor a počkejte, dokud se všechny pohyblivé součásti nezastaví.
Přejděte k přední straně stroje a zkontrolujte papírovou kuličku.
Note: Pokud se kulička nedostala pod stroj, opakujte kroky 4 až 10.
Je-li papír roztřepený nebo roztrhaný, žací nůž se řádně nezastavil, a tudíž provoz sekačky není bezpečný. Kontaktujte autorizované servisní středisko.
Stroj je podle továrního nastavení schopen vtlačovat jemně posekanou trávu a listí zpět do trávníku.
Pokud je ke stroji připevněn koš na trávu a páka nastavitelného koše je v poloze pro sběr trávy, posuňte páku do polohy pro mulčování (viz Připevnění sběracího koše).
Chcete-li posekanou trávu a listí z trávníku sesbírat, použijte sběrací koš.
Pokud je páka nastavitelného koše v poloze pro mulčování, posuňte ji do polohy pro sběr trávy (viz Ovládání páky nastavitelného koše).
Opačným postupem můžete sběrací koš vyjmout, viz Připevnění sběracího koše.
Funkce nastavitelného koše umožňuje buď sbírat, nebo mulčovat posečenou trávu a listí, zatímco je koš na trávu připevněný ke stroji.
Chcete-li sbírat trávu a listí, stiskněte tlačítko na páce nastavitelného koše a posunujte páku dopředu, dokud tlačítko na páce nevyskočí (Obrázek 21).

Pro mulčování posečené trávy a listí stiskněte tlačítko na páce nastavitelného koše a posunujte páku dozadu, dokud tlačítko na páce nevyskočí.
Important: V zájmu zajištění správné funkce vypněte motor, počkejte, dokud se nezastaví všechny pohybující se součásti, poté odstraňte z dvířek nastavitelného koše a z okolního otvoru zbytky posečené trávy a nečistoty (Obrázek 22), teprve poté posuňte páku nastavitelného koše z jedné polohy do druhé.

Zkontrolujte prostor, kde budete stroj používat, a odstraňte všechny předměty, jež mohou být strojem vymrštěny.
Zabraňte kontaktu žacího nože s tvrdými předměty. Nikdy záměrně nepřejíždějte sekačkou přes žádný předmět.
Pokud stroj narazí na nějaký předmět nebo začne vibrovat, okamžitě vypněte motor, počkejte, dokud se nezastaví všechny pohybující se součásti, odpojte koncovku zapalovací svíčky a zkontrolujte, zda stroj není poškozený.
V zájmu dosažení maximální výkonnosti v případě potřeby namontujte před začátkem sezóny nový žací nůž Toro.
Sekejte najednou vždy pouze asi třetinu výšky trávy. Nenastavujte výšku na méně než 51 mm, pokud tráva není řídká nebo pokud není pozdní podzim, kdy se růst trávy zpomaluje.
Při sekání trávy vyšší než 15 cm nastavte maximální výšku sekání a pohybujte se pomaleji; potom sekání zopakujte s menší nastavenou výškou pro co možná nejlepší vzhled trávníku. Je-li tráva příliš vysoká, může se sekačka ucpat a motor se zastaví.
Mokrá tráva a listí mají tendenci tvořit chomáče a mohou ucpat sekačku nebo zastavit motor. Nesekejte za mokrých podmínek.
Za velkého sucha dávejte pozor na riziko vzniku požáru, dodržujte všechny místní protipožární pokyny a odstraňujte ze stroje zbytky suché trávy a listí.
Střídejte směr sekání. Pomáhá to rozptylovat posekanou trávu po trávníku a dosáhnout rovnoměrného hnojení.
Pokud výsledný vzhled trávníku není uspokojivý, vyzkoušejte následující:
Vyměňte žací nůž nebo jej nechte nabrousit.
Pohybujte se při sekání pomaleji.
Nastavte na stroji větší výšku sekání.
Sekejte trávu častěji.
Postupujte v překrývajících se pruzích místo plných pruhů při každém průchodu.
Dbejte na to, aby po sekání tráva polovinou své výšky přesahovala vrstvu listí. Možná budete muset přejet sekačkou přes listí vícekrát.
Pokud vrstva listí na trávníku přesahuje 13 cm, sekejte s větší výškou sekání a poté nastavte požadovanou výšku sekání.
Pokud sekačka neseká listy dostatečně na jemno, zpomalte.
Před seřizováním, údržbou, čištěním nebo skladováním stroj vždy vypínejte, počkejte, dokud se nezastaví všechny pohyblivé součásti, a nechejte jej vychladnout.
Aby nedošlo k požáru, odstraňte ze stroje trávu a nečistoty. Místa potřísněná uniklým olejem nebo palivem vždy očistěte.
Nikdy neskladujte stroj nebo nádobu s palivem v blízkosti otevřeného ohně, zdroje jisker nebo tepla, například ohřívače vody a jiných zařízení.
Při nakládání a vykládání stroje buďte opatrní.
Zabezpečte stroj tak, aby se nemohl pohybovat.
| Servisní interval | Postup při údržbě |
|---|---|
| Po každém použití |
|
Pro dosažení nejlepších výsledků spodní část stroje co nejdříve po dokončení sekání vyčistěte.
Spusťte stroj dolů do nejnižší výšky sekání.
Umístěte stroj na rovnou dlážděnou plochu.
Se spuštěným motorem a spuštěným žacím nožem stříkejte proud vody před pravé zadní kolo (Obrázek 23).
Note: Voda bude stříkat do prostoru, kde se pohybuje žací nůž, a odstraňovat zbytky trávy.

Jakmile přestanou vypadávat zbytky rozsekané trávy, zastavte vodu a přesuňte stroj na suché místo.
Nastartujte motor a nechte jej několik minut běžet, aby mohla vyschnout spodní strana sekačky a nedocházelo ke vzniku koroze.
Před skladování stroje v uzavřeném prostoru vypněte motor, vytáhněte tlačítko elektrického startéru (dle výbavy) a nechejte stroj vychladnout.
Nesprávným složením nebo rozložením rukojeti se mohou poškodit lanka, v důsledku čehož by nebyl provoz stroje bezpečný.
Při skládání nebo rozkládání rukojeti lanka nepoškoďte.
Je-li lanko poškozené, kontaktujte autorizované servisní středisko.
Z držáků rukojeti demontujte 2 knoflíky rukojeti a 2 vratové šrouby a uschovejte je (A, viz Obrázek 24).
Important: Při sklápění rukojeti nasměrujte kabely vně knoflíků rukojeti.
Sklopte rukojeť otočením dopředu (B, viz Obrázek 24).
Volně namontujte knoflíky rukojeti a vratové šrouby na držáky rukojeti (C, viz Obrázek 24).
Rozložení rukojeti viz Montáž a rozložení rukojeti.

| Servisní interval | Postup při údržbě |
|---|---|
| Při každém použití nebo denně |
|
| Po každém použití |
|
| Po každých 25 hodinách provozu |
|
| Každý rok |
|
| Každý rok nebo před uskladněním |
|
Important: Další pokyny k postupům údržby naleznete v návodu k obsluze motoru.
Před seřizováním, údržbou, čištěním nebo skladováním stroj vždy vypínejte, počkejte, dokud se nezastaví všechny pohyblivé součásti, a nechejte jej vychladnout.
Před prováděním údržby odpojte koncovku zapalovací svíčky.
Při údržbě stroje používejte rukavice a ochranné brýle.
Žací nůž je ostrý; při kontaktu s nožem může dojít k vážnému poranění. Při manipulaci se žacím nožem používejte rukavice. Nesnažte se nože opravovat nebo upravovat.
Nikdy nemanipulujte s bezpečnostními zařízeními. Pravidelně kontrolujte jejich řádný provoz.
Naklonění stroje může způsobit vytékání paliva. Palivo je hořlavé a výbušné a může způsobit zranění. Spotřebujte palivo provozem nebo je odčerpejte ručním čerpadlem; nikdy ne násoskou.
K zajištění optimální výkonnosti stroje je nutné používat pouze originální náhradní díly a příslušenství od společnosti Toro. Náhradní díly a příslušenství jiných výrobců mohou být nebezpečné a jejich použití může mít za následek zneplatnění záruky.
Vypněte motor a počkejte, dokud se všechny pohyblivé součásti nezastaví.
Odpojte kabel zapalovací svíčky (Obrázek 25).

Jakmile dokončíte údržbu, připojte koncovku zpět k zapalovací svíčce.
Important: Abyste stroj mohli naklonit kvůli výměně oleje nebo žacího nože, spotřebujte nejprve během normálního provozu palivo v nádrži. Je-li nezbytné naklonit stroj před spotřebováním paliva, odčerpejte palivo ručním palivovým čerpadlem. Naklánějte sekačku na stranu vždy tak, aby měrka oleje byla dole.
| Servisní interval | Postup při údržbě |
|---|---|
| Po každých 25 hodinách provozu |
|
| Každý rok |
|
Uvolněte horní část krytu vzduchového filtru (Obrázek 26).

Vyjměte vzduchový filtr (Obrázek 26).
Zkontrolujte vzduchový filtr.
Note: Je-li vzduchový filtr nadměrně znečištěný, vyměňte jej za nový. Pokud není výměna nutná, lehce poklepejte vzduchovým filtrem o tvrdý povrch, abyste uvolnili nečistoty.
Namontujte vzduchový filtr.
Kryt vzduchového filtru namontujte pomocí spony.
| Servisní interval | Postup při údržbě |
|---|---|
| Každý rok |
|
Výměna motorového oleje není nutná, pokud jej však chcete vyměnit, postupujte následovně.
Note: Několik minut před výměnou oleje spusťte motor, aby se olej zahřál. Zahřátý olej má lepší viskozitu a odnáší více nečistot.
| Množství motorového oleje | 0,44 l* |
| Viskozita oleje | Detergentní olej SAE 30 nebo SAE 10W-30 |
| API klasifikace | SJ nebo vyšší |
*Po vypuštění oleje zůstane v klikové skříni zbývající olej. Nelijte celé množství oleje do klikové skříně. Klikovou skříň naplňte olejem podle pokynů v následujících krocích.
Umístěte sekačku na rovnou plochu.
Viz Příprava na údržbu.
Otáčením uzávěru doleva a jeho vytažením vyjměte měrku hladiny oleje (Obrázek 27).

Nakloňte stroj na stranu (vzduchový filtr musí směřovat nahoru) a nechte vytéct olej plnicí trubicí (Obrázek 28).

Po vypuštění vyjetého oleje umístěte stroj znovu do provozní polohy.
Prostřednictvím plnicí trubice opatrně nalijte olej v množství přibližně ¾ objemu motoru.
Počkejte 3 minuty, než se olej v motoru usadí.
Otřete měrku hladiny oleje čistým hadříkem.
Zasuňte měrku do olejové plnicí trubice, zašroubujte ji, poté měrku vytáhněte.
Odečtěte výšku hladiny oleje na měrce (Obrázek 27).
Pokud je hladina oleje na měrce příliš nízká, opatrně do plnicí trubice doplňte malé množství oleje, vyčkejte 3 minuty a opakujte kroky 8 až 10, dokud nebude dosaženo správné hladiny oleje na měrce.
Je-li hladina oleje příliš vysoká, vypusťte přebytečný olej, aby bylo dosaženo správné výšky oleje na měrce.
Important: Pokud spustíte motor s příliš nízkou nebo vysokou hladinou motorového oleje, můžete ho poškodit.
Zasuňte měrku pevně do plnicí trubice oleje.
Olej předejte k recyklaci podle platných předpisů.
| Servisní interval | Postup při údržbě |
|---|---|
| Každý rok |
|
Important: Pro správné namontování žacího nože budete potřebovat momentový klíč. Pokud nemáte momentový klíč nebo si provedením montáže nejste jistí, kontaktujte autorizované servisní středisko.
Po každém spotřebování paliva zkontrolujte žací nůž. Je-li žací nůž poškozený nebo prasklý, okamžitě jej vyměňte. Pokud ostří žacího nože je tupé nebo má vruby, nechte je nabrousit a vyvážit, nebo je vyměňte.
Žací nůž je ostrý; při kontaktu s nožem může dojít k vážnému poranění.
Při manipulaci se žacím nožem používejte rukavice.
Odpojte koncovku zapalovací svíčky, viz část Příprava na údržbu.
Nakloňte stroj ke straně tak, aby vzduchový filtr směřoval nahoru.
Sejměte obě matice žacího nože a výztužnou vložku (Obrázek 29).

Vyjměte žací nůž (Obrázek 29).
Namontujte nový žací nůž (Obrázek 29).
Namontujte zpět výztužnou vložku.
Nasaďte na žací nůž matice a utáhněte je na utahovací moment 20 až 37 Nm.
| Servisní interval | Postup při údržbě |
|---|---|
| Po každých 25 hodinách provozu |
|
Jednou ročně vyčistěte kryt brzdy žacího nože, aby nůž při sekání nezpomaloval.
Odpojte koncovku zapalovací svíčky, viz část Příprava na údržbu.
Nakloňte sekačku na stranu tak, aby měrka oleje byla dole.
Sejměte obě matice žacího nože a výztužnou vložku (Obrázek 30).

Vyjměte žací nůž (Obrázek 30).
Vyjměte unášeč žacího nože a kotouč (Obrázek 30).
Odstraňte kryt brzdy žacího nože (Obrázek 30).
Vymeťte nebo vyfoukejte nečistoty nahromaděné uvnitř krytu a kolem všech součástí.
Namontujte kryt brzdy žacího nože, který jste předtím odstranili.
Nasaďte zpět unášeč žacího nože a kotouč.
Namontujte žací nůž a výztužnou vložku(Obrázek 30).
Nasaďte na žací nůž matice a utáhněte je na utahovací moment 20 až 37 Nm.
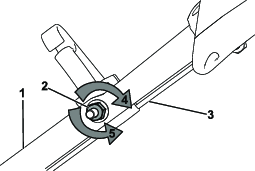
Při každé instalaci nového lanka ručního pohonu nebo v případě, že ruční pohon není správně seřízen, proveďte jeho seřízení.
Nastavení lanka povolte otáčením seřizovací matice proti směru hodinových ručiček (Obrázek 31).

Napnutí lanka (Obrázek 31) nastavte jeho zatažením dozadu nebo posunutím dopředu a jeho zajištěním v dané poloze.
Note: Chcete-li tahovou sílu zvýšit, posuňte lanko směrem k motoru; chcete-li tahovou sílu snížit, posuňte lanko směrem od motoru.
Nastavení lanka utáhněte otáčením seřizovací matice ve směru hodinových ručiček.
Note: Pomocí nástrčného klíče nebo obyčejného klíče matici pevně utáhněte.
Stroj uskladněte na chladném, čistém a suchém místě.
Před seřizováním, údržbou, čištěním nebo skladováním stroj vždy vypínejte, počkejte, dokud se nezastaví všechny pohyblivé součásti, a nechejte jej vychladnout.
Při posledním doplňování paliva v roce přidejte do paliva stabilizátor paliva (např. přípravek Toro Premium Fuel Treatment), jak je uvedeno na štítku.
Veškeré nespotřebované palivo řádně zlikvidujte. Palivo recyklujte v souladu s místními předpisy nebo je použijte ve svém automobilu.
Important: Staré palivo v palivové nádrži je hlavní příčinou obtížného startování. Palivo bez stabilizátoru paliva neskladujte déle než 30 dní a stabilizované palivo neskladujte déle, než doporučuje výrobce stabilizátoru paliva.
Nechte stroj pracovat, dokud se palivo nespotřebuje a motor se nezastaví.
Spusťte znovu motor a nechte jej pracovat, dokud se sám nezastaví. Jakmile motor nejde nastartovat, je dostatečně suchý.
Odpojte koncovku zapalovací svíčky a upevněte kabel k přídržnému kolíku (dle výbavy); poté demontujte tlačítko elektrického startéru (dle výbavy).
Demontujte svíčku, do otvoru pro svíčku nalijte 30 ml motorového oleje a několikrát pomalu zatáhněte za lanko ručního startéru, aby se olej rozmístil po celém válci a v období mimo sezónu v něm tak nedocházelo ke korozi.
Namontujte volně zapalovací svíčku.
Utáhněte všechny matice a šrouby.
Zkontrolujte a utáhněte všechny upevňovací součásti.
Vyjměte koncovku zapalovací svíčky a natočte rychle motor zatažením za držadlo ručního startéru, abyste z válce vyhnali přebytečný olej.
Namontujte zapalovací svíčku a utáhněte ji momentovým klíčem na utahovací moment 20 N·m.
Proveďte veškeré postupy údržby; viz .
Zkontrolujte hladinu oleje motoru; viz Kontrola hladiny motorového oleje.
Palivovou nádrž naplňte čerstvým palivem, viz Doplňování paliva do nádrže.
Připojte koncovku kabelu k zapalovací svíčce.