| Intervalo de mantenimiento y servicio | Procedimiento de mantenimiento |
|---|---|
| Cada vez que se utilice o diariamente |
|
Esta máquina es una segadora de green de asiento, equipada con cuchillas de molinete, diseñada para ser usada por operadores profesionales contratados en aplicaciones comerciales. Se ha diseñado principalmente para cortar hierba en césped bien mantenido. El uso de este producto para otros propósitos que los previstos podría ser peligroso para usted y para otras personas.
Lea este manual detenidamente para aprender a utilizar y mantener correctamente su producto, y para evitar lesiones y daños al producto. Usted es responsable de utilizar el producto de forma correcta y segura.
Visite www.Toro.com para obtener más información, incluidos consejos de seguridad, materiales de formación, información sobre accesorios, ayuda para encontrar a un distribuidor o para registrar su producto.
Cuando necesite asistencia técnica, piezas genuinas Toro o información adicional, póngase en contacto con un distribuidor autorizado Toro y tenga a mano los números de modelo y serie de su producto. Figura 1 identifica la ubicación de los números de modelo y serie en el producto. Escriba los números en el espacio provisto.
Important: Con su dispositivo móvil, puede escanear el código QR de la calcomanía del número de serie (en su caso) para acceder a información sobre la garantía, las piezas, y otra información sobre el producto.

Este producto cumple todas las directivas europeas aplicables; si desea más detalles, consulte la Declaración de Conformidad (Declaration of Conformity – DOC) de cada producto.
Si la máquina está equipada con un dispositivo telemático, consulte a su distribuidor autorizado Toro para obtener instrucciones para activar el dispositivo.
CALIFORNIA
Advertencia de la Propuesta 65
El cable eléctrico de este producto contiene plomo, que el Estado de California sabe que causa defectos congénitos u otros peligros para la reproducción. Lávese las manos después de manejar el material.
Los bornes, terminales y otros accesorios de la batería contienen plomo y compuestos de plomo, productos químicos reconocidos por el Estado de California como causantes de cáncer y daños reproductivos. Lávese las manos después de manejar el material.
El uso de este producto puede provocar la exposición a sustancias químicas que el Estado de California considera causantes de cáncer, defectos congénitos u otros trastornos del sistema reproductor.
ADVERTENCIA: Lea todas las advertencias de seguridad, instrucciones,
ilustraciones y especificaciones proporcionadas con esta máquina.
Si no se siguen las advertencias e instrucciones se pueden sufrir descargas eléctricas, incendios y/o lesiones graves.
El término "máquina" que aparece en todas las advertencias siguientes se refiere a una máquina accionada por el suministro eléctrico de la red (con cable) o una máquina accionada por batería (sin cable).
Seguridad de la zona de trabajo
Mantenga la zona de trabajo limpia y bien iluminada.Las zonas desordenadas u oscuras son proclives a accidentes
No utilice la máquina en atmósferas explosivas, como por ejemplo en presencia de líquidos inflamables, gases o polvo.La máquina genera chispas que pueden inflamar el polvo o los vapores.
Mantenga alejados a los niños y a otras personas mientras utiliza la máquina. Las distracciones pueden hacer que pierda el control.
Seguridad eléctrica
La clavija de la máquina debe ser del tipo correcto para la toma de corriente. Nunca modifique la clavija en modo alguno. No utilice adaptadores de enchufe con una máquina con toma de tierra. El uso de clavijas sin modificar y enchufes apropiados reducirá el riesgo de descarga eléctrica.
Evite tocar superficies conectadas a tierra, tales como tuberías, radiadores, cocinas y frigoríficos.Hay un mayor riesgo de descarga eléctrica si su cuerpo hace tierra.
No exponga la máquina a la lluvia o a condiciones húmedas.Si entra agua en una máquina, aumentará el riesgo de descarga eléctrica.
No maltrate el cable. No utilice el cable nunca para transportar, arrastrar o desenchufar la máquina. Mantenga el cable alejado del calor, del aceite, de bordes cortantes y de piezas móviles. Los cables dañados o enredados aumentan el riesgo de descarga eléctrica.
Si utiliza la máquina en el exterior, utilice un cable alargador adecuado para el uso en exteriores.El uso de un cable apropiado para el uso en exteriores reduce el riesgo de descarga eléctrica.
Si no es posible evitar el uso de la máquina en un lugar húmedo, utilice un suministro eléctrico protegido por un dispositivo de corriente residual (interruptor diferencial).El uso de un interruptor diferencial reduce el riesgo de descarga eléctrica.
Seguridad personal
Manténgase alerta, esté atento a lo que está haciendo y aplique el sentido común mientras utilice la máquina. No utilice la máquina si está cansado o bajo los efecto de drogas, alcohol o medicamentos.Una breve falta de atención mientras utiliza la máquina podría provocar lesiones personales graves.
Utilice equipos de protección personal. Lleve siempre protección ocular.El uso de equipos de protección personal como mascarillas, calzado de seguridad antideslizante o protección auditiva en condiciones apropiadas reducirá el riesgo de sufrir lesiones personales.
Evite el encendido accidental. Asegúrese de que el interruptor está en la posición de apagado antes de efectuar la conexión al suministro eléctrico y/o a la batería.Conectar a la corriente una máquina que tiene el interruptor encendido aumenta el riesgo de sufrir accidentes.
Retire cualquier llave de ajuste antes de encender la máquina.Si se deja una llave insertada en una parte rotativa de la máquina puede dar lugar a lesiones personales.
No intente alcanzar zonas demasiado alejadas. Pise firme y mantenga el equilibrio en todo momento.Esto permite tener un mayor control de la máquina en situaciones imprevistas.
Utilice la ropa adecuada. No lleve prendas o joyas sueltas. Mantenga el pelo y la ropa alejados de las piezas móviles.Las prendas sueltas, las joyas y el pelo largo pueden quedar atrapados en las piezas móviles.
Si existen dispositivos para la conexión de sistemas de extracción y recolección de polvo, asegúrese de conectarlos y usarlos correctamente.El uso de dispositivos de recolección de polvo puede reducir los riesgos asociados con el polvo.
No deje que la familiaridad adquirida con el uso frecuente de la máquina le haga confiarse demasiado y pasar por alto los principios de seguridad de la máquina.Una acción descuidada puede causar lesiones graves en una fracción de segundo.
Uso y cuidado de la máquina
No fuerce la máquina. Utilice la máquina adecuada para el trabajo que debe realizarse.La máquina correcta realizará el trabajo mejor y con mayor seguridad a la velocidad para la que se ha diseñado.
No utilice la máquina si con el interruptor no se enciende ni se apaga.Cualquier máquina que no pueda controlarse con el interruptor es peligrosa y debe repararse.
Desconecte la clavija del suministro eléctrico y/o extraiga la batería de la máquina, si es extraíble, antes de realizar cualquier ajuste, cambiar de accesorio o guardar la máquina.Estas medidas de seguridad preventivas reducen el riesgo de un arranque accidental de la máquina.
Si no la está usando, guarde la máquina fuera del alcance de los niños y no permita que la utilicen personas no familiarizadas con la máquina o con estas instrucciones de uso.Una máquina es peligrosa en manos de usuarios inexpertos.
Mantenga la máquina y los accesorios. Compruebe que las piezas móviles están correctamente alineadas y que se mueven libremente sin agarrotarse, que no hay piezas rotas, y que no haya otras circunstancias que podrían afectar al uso de la máquina. Si existen daños, haga reparar la máquina antes de usarla.Muchos accidentes ocurren debido a un mantenimiento defectuoso de la máquina.
Mantenga las herramientas de corte afiladas y limpias.Una herramienta de corte bien mantenida con filos bien afilados es más fácil de controlar y hay menos probabilidades de que se agarrote.
Utilice la máquina, los accesorios, las brocas, etc., según lo indicado en estas instrucciones, teniendo en cuenta las condiciones de trabajo y el trabajo a realizar.El uso de la máquina para operaciones diferentes de las previstas podría dar lugar a una situación de peligro.
Mantenga las asas, empuñaduras y otras superficies de agarre secas, limpias y libres de aceite y grasa.Una asa o una superficie de agarre resbaladiza no permite manejar y controlar la máquina con seguridad en situaciones imprevistas.
Uso y cuidado de una máquina con batería
Cargar únicamente con el cargador especificado por el fabricante.Un cargador diseñado para un tipo de batería determinado puede crear un riesgo de incendio si se utiliza con otra batería.
Utilice la máquina únicamente con las baterías específicamente indicadas.El uso de otras baterías puede crear un riesgo de incendio y lesiones.
Cuando la batería no está en uso, manténgala alejada de otros objetos metálicos, como por ejemplo clips, monedas, llaves, puntillas u otros objetos metálicos pequeños, que podrían hacer una conexión entre un terminal y otro.Un cortocircuito entre los terminales de la batería puede causar quemaduras o un incendio.
En condiciones de uso incorrecto, puede haber una fuga de líquido de la batería; evite el contacto con dicho líquido. En caso de un contacto accidental, lavar con abundante agua. Si el líquido entra en contacto con los ojos, busque también ayuda médica.El líquido expulsado de la batería puede causar irritación o quemaduras.
No utilice una batería o una máquina dañada o modificada.Las baterías dañadas o modificadas pueden mostrar un comportamiento impredecible con resultado de incendio, explosión o riesgo de lesiones.
No exponga una batería o una máquina al fuego o a temperaturas excesivas.La exposición al fuego o a temperaturas superiores a los 130 °C puede causar una explosión.
Siga todas las instrucciones de carga y no cargue la batería o la máquina si la temperatura está fuera del intervalo especificado en las instrucciones.Cargar la batería o la máquina de forma incorrecta o a temperaturas que estén fuera del intervalo especificado puede dañar la batería y aumentar el riesgo de incendio.
Mantenimiento
El mantenimiento de su máquina lo debe realizar un técnico de reparaciones debidamente cualificado, utilizando únicamente piezas de repuesto idénticas.Solo de esta manera se garantiza el mantenimiento de la seguridad de la máquina.
No realice ningún tipo de mantenimiento en una batería dañada.El mantenimiento de las baterías solo debe realizarlo el fabricante o un servicio técnico autorizado.
No utilice la segadora en condiciones meteorológicas adversas, especialmente si hay riesgo de rayos.Esto reduce el riesgo de ser alcanzado por un rayo.
Inspeccione cuidadosamente la zona en la que va a utilizar la segadora en busca de fauna salvaje.La segadora puede causar lesiones a la fauna salvaje durante el uso.
Inspeccione detenidamente la zona en la que va a utilizar la segadora, y retire cualquier piedra, palo, alambre, hueso u otro objeto extraño.Los objetos arrojados pueden causar lesiones personales.
Antes de usar la segadora, realice siempre una inspección visual para asegurarse de que la cuchilla y el conjunto de la cuchilla no están desgastados o dañados.Las piezas desgastadas o dañadas aumentan el riesgo de lesiones.
Mantenga colocado los protectores. Los protectores deben estar en buenas condiciones de funcionamiento y estar correctamente montados.Si un protector está suelto, dañado o si no funciona correctamente, pueden producirse lesiones personales.
Mantenga las entradas de aire de refrigeración libres de residuos.Las obstrucciones en las entradas de aire y los residuos pueden causar un sobrecalentamiento o un riesgo de incendio.
Mientras utiliza la segadora, lleve siempre calzado de protección antideslizante. No haga funcionar la segadora estando descalzo o llevando sandalias.Esto reduce la posibilidad de sufrir lesiones en los pies por contacto con la cuchilla en movimiento.
Mientras utiliza la segadora debe llevar siempre pantalón largo.La piel expuesta aumenta la posibilidad de sufrir lesiones debido a los objetos arrojados.
No utilice la segadora en pendientes excesivamente empinadas.Esto reduce el riesgo de pérdida de control, deslizamiento y caída, lo cual puede causar lesiones personales.
Cuando trabaje en pendientes, esté siempre donde pisa; trabaje de través en las pendientes, no hacia arriba o hacia abajo; y extreme las precauciones al cambiar de dirección.Esto reduce el riesgo de pérdida de control, deslizamiento y caída, lo cual puede causar lesiones personales.
Extreme las precauciones al ir hacia atrás o tirar de la segadora hacia usted.Siempre esté pendiente de su entorno. Siempre esté pendiente de su entorno.
No toque las cuchillas ni otras piezas en movimiento peligrosas mientras estén aún en movimiento.Esto reduce el riesgo de lesiones causadas por las piezas en movimiento.
Antes de eliminar material atascado o de limpiar la segadora, asegúrese de que todos los interruptores de corriente están desconectados y retire (o active) el dispositivo de deshabilitación.La puesta en marcha inesperada de la segadora puede dar lugar a lesiones personales graves.
Guarde todas las advertencias e instrucciones para su referencia futura.
El símbolo de alerta de seguridad (Figura 2) que aparece en este manual y en la máquina identifica mensajes de seguridad importantes que usted debe observar para evitar accidentes.

El símbolo de alerta de seguridad aparece encima de información que le alerta ante acciones o situaciones inseguras, y va seguido de la palabra PELIGRO, ADVERTENCIA, o CUIDADO.
PELIGRO: Indica una situación peligrosa inminente, que si no se evita, causará la muerte o lesiones graves.
ADVERTENCIA indica una situación potencialmente peligrosa que si no se evita, podría causar la muerte o lesiones graves.
CUIDADO: Indica una situación potencialmente peligrosa que si no se evita, podría causar lesiones menores o moderadas.
Este manual utiliza dos palabras más para resaltar información. Importante llama la atención sobre información mecánica especial, y Nota resalta información general que merece una atención especial.
Este producto es capaz de amputar manos y pies y de lanzar objetos al aire. Siga siempre todas las instrucciones de seguridad con el fin de evitar lesiones personales graves o la muerte.
Lea y comprenda el contenido de este Manual del operador antes de encender la máquina.
Sólo permita que utilicen la máquina personas responsables y con suficiente capacidad física.
Preste toda su atención al utilizar la máquina. No realice ninguna actividad que genere distracciones, de lo contrario pueden producirse lesiones o daños en la propiedad.
No coloque las manos o los pies cerca de componentes en movimiento de la máquina.
No utilice la máquina a menos que tenga instalados y estén en funcionamiento todos los protectores y otros dispositivos de seguridad.
Mantenga a otras personas, especialmente a los niños, alejadas del área de operación.
Apague la máquina, retire la llave y espere a que se detenga todo movimiento antes de dejar el puesto del operador. Deje que la máquina se enfríe antes de realizar ajustes, tareas de mantenimiento y de limpieza o de guardarla.
![]() |
Las calcomanías e instrucciones de seguridad están a la vista del operador y están ubicadas cerca de cualquier zona de peligro potencial. Sustituya cualquier calcomanía que esté dañada o que falte. |

















Piezas necesarias en este paso:
| Barra anti-vuelco | 1 |
| Perno de cabeza hexagonal (⅜" x 1½") | 8 |
| Tuerca (⅜") | 8 |
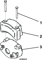
Retire el soporte superior de la caja.
Retire la barra antivuelco de la caja.
Utilice 8 pernos de cabeza hexagonal (⅜" x 1½") y 8 tuercas (⅜") para sujetar la barra anti-vuelco a los soportes de la barra antivuelco en cada lado de la máquina (Figura 3).
Note: Solicite la ayuda de otra persona para colocar la barra antivuelco y fijarla a la máquina.

Apriete las fijaciones a 51–65 N·m.
Piezas necesarias en este paso:
| Kit de asiento (pedir por separado; póngase en contacto con su distribuidor autorizado Toro) | 1 |
Adquiera el Kit de asiento (póngase en contacto con su distribuidor autorizado Toro) y consulte las Instrucciones de instalación del kit para instalar el asiento.
Piezas necesarias en este paso:
| Volante | 1 |
| Tapón | 1 |
| Arandela | 1 |
| Contratuerca | 1 |
Piezas necesarias en este paso:
| Gancho del recogedor | 6 |
| Pernos con arandela prensada | 12 |
Utilice 12 pernos con arandela prensada para instalar 6 ganchos de recogedor en los extremos de las barras de los brazos de suspensión (Figura 7).

Piezas necesarias en este paso:
| Unidad de corte (pedir por separado; póngase en contacto con su distribuidor autorizado Toro) | 3 |
| Recogedor | 3 |
| Contrapeso eléctrico | 3 |
| Tornillo | 6 |
| Junta tórica | 3 |
Prepare las unidades de corte para su instalación; consulte el Manual del operador de la unidad de corte.
Aplique grasa a las estrías internas del acoplamiento de tracción.
Instale una junta tórica en cada motor del molinete, tal y como se muestra en la Figura 8.

Sujete el contrapeso eléctrico al contrapeso existente con 2 tornillos, según se muestra en Figura 9.

Instale las unidades de corte; consulte Instalación de las unidades de corte.
Instale cada recogedor en los ganchos del recogedor.
Piezas necesarias en este paso:
| Dispositivo telemático | 1 |
| Soporte del dispositivo | 1 |
| Arnés de cables de la telemática | 1 |
| Perno de cabeza hexagonal (n.º 10 × 1") | 4 |
| Contratuerca (n.º 10) | 4 |
| Perno en U | 1 |
| Tuerca con arandela prensada (⅜") | 2 |
| Brida | 4 |
Utilice 4 pernos de cabeza hexagonal (n.º 10 × 1") y 4 contratuercas (n.º 10) para sujetar el dispositivo telemático al soporte del dispositivo (Figura 10).

Utilice un perno en U y 2 tuercas con arandela prensada (⅜") para sujetar el soporte del dispositivo encima del tubo del manual de la barra antivuelco (Figura 11).

Instale el conector marcado P02 del arnés de cables de la telemática en el dispositivo telemático (Figura 12).

Enrute el arnés de cables hacia abajo por la barra antivuelco y conecte el conector del arnés de cables marcado P01 al conector del arnés de cables de la máquina marcado P71 (Figura 13).

Sujete esta conexión al arnés principal con una brida.
Sujete el arnés a la barra antivuelco con bridas, como se muestra en la figura.

Levante la tapa del conector y enchufe los conectores eléctricos principales situados cerca de la base de la barra antivuelco en el lado izquierdo de la máquina (Figura 15).

Utilice el InfoCenter para ajustar la configuración de la máquina; consulte Uso del InfoCenter para ajustar la configuración de la máquina.
Piezas necesarias en este paso:
| Kit de peso trasero (se solicita por separado; póngase en contacto con su distribuidor Toro autorizado) | 1 |
Esta máquina cumple con las normas aplicables con el Kit de peso trasero instalado. Consulte a su distribuidor Toro autorizado para obtener el Kit de peso trasero.
Si la máquina incluye un Kit de tracción a 3 ruedas, no necesita instalar el Kit de peso trasero.
Piezas necesarias en este paso:
| Pegatina con el año de fabricación | 1 |
| Pegatina de advertencia para CE (Pieza n.º 139-8321) | 1 |
| Pegatina CE/UKCA (Pieza Nº 138-9470) | 1 |
Si utiliza esta máquina en un país que se rija por las normas CE/UKCA, instale las pegatinas siguientes y el cierre del capó:
Pegatina del año de fabricación y pegatina CE/UKCA: aplique las pegatinas en el tubo del bastidor, debajo del asiento y la placa del número de serie; consulte la Figura 16.

Pegatina de advertencia para CE: Coloque la pegatina de advertencia para CE (Pieza n.º 139-8321) sobre la pegatina de advertencia existente (Pieza n.º 139-8320) en la cubierta del volante; consulte la Figura 17.

Los neumáticos se sobreinflan en fábrica para el transporte. Reduzca la presión al nivel correcto antes de encender la máquina; consulte Comprobación de la presión de los neumáticos.
Puede montar el cargador en una pared, con los orificios de montaje en pared realizados en la parte posterior de la unidad. Utilice tornillos con un diámetro de caña de 6 mm y un diámetro de cabeza de 11 mm.
Important: Examine el área de trabajo y determine el lugar que mejor cumpla los criterios para el funcionamiento seguro y efectivo del cargador.
Cargue las baterías; consulte Carga de las baterías de ion litio.


El interruptor de encendido tiene 2 posiciones: CONECTADO y DESCONECTADO (Figura 20).
Utilice el interruptor de encendido para encender o apagar la máquina; consulte Encendido de la máquina y Apagado de la máquina.

El interruptor de control de funciones (Figura 19) ofrece dos selecciones de tracción y una posición de PUNTO MUERTO.
Posición de PUNTO MUERTO – punto muerto y autoafilado
Posición de SIEGA – se utiliza para segar
Posición de TRANSPORTE – se utiliza para el transporte
Puede cambiar de SEGAR a TRANSPORTE, o de TRANSPORTE a SEGAR (no a PUNTO MUERTO) con la máquina en movimiento; no se producirá daño alguno
Puede mover el interruptor desde TRANSPORTE o SIEGA a PUNTO MUERTO, y la máquina se detendrá. Si intenta cambiar de PUNTO MUERTO a SIEGA o a TRANSPORTE sin tener el pedal en la posición de PUNTO MUERTO, se produce un aviso.
El joystick de elevación/bajada (Figura 19) eleva o baja las unidades de corte. El joystick puede engranar o desengranar los molinetes de la unidad de corte, dependiendo de la posición del interruptor de control de funciones:
Interruptor de control de funciones en la posición de PUNTO MUERTO: las unidades de corte se elevan o bajan al moverse el joystick hacia adelante o hacia atrás, pero los molinetes no se engranan a menos que la máquina esté en el modo de Autoafilado.
Interruptor de control de funcionamiento en la posición de SIEGA: mueva el joystick hacia adelante durante la siega para bajar las unidades de corte y arrancar los molinetes. Tire del joystick hacia atrás para parar los molinetes y elevar las unidades de corte.
Para parar los molinetes sin elevar las unidades de corte, tire hacia atrás momentáneamente del joystick y suéltelo. Mueva el joystick otra vez hacia adelante para arrancar los molinetes, o tire del joystick otra vez hacia atrás para elevar las unidades de corte. Debe habilitar esta función en el InfoCenter; consulte Ajuste de la demora de Apagado rápido.
Interruptor de control de funciones en la posición de TRANSPORTE: las unidades de corte pueden elevarse, pero los molinetes no se engranan. Aparece un aviso en el InfoCenter si intenta bajar las unidades de corte.
El pedal de tracción (Figura 21) tiene 3 funciones: desplazar la máquina hacia adelante, desplazarla hacia atrás, y parar la máquina. Pise la parte superior del pedal para desplazarse hacia delante; pise la parte inferior para desplazarse hacia atrás, o para ayudar a frenar al desplazarse hacia adelante.
Para detener la máquina, deje que el pedal se desplace a la posición de PUNTO MUERTO. No apoye el talón en el pedal de tracción en la posición de MARCHA ATRáS con la máquina en marcha hacia adelante (Figura 22).


Puede configurar la velocidad máxima de avance de la siguiente manera:
Velocidad de siega hacia adelante: 3,2 a 8 km/h
Velocidad de transporte: 8 a 16 km/h
Velocidad hacia atrás: 3,2 a 4,8 km/h
Pise el pedal (Figura 21) y eleve o baje el brazo de dirección a la posición más cómoda; luego suelte el pedal para bloquear el brazo.
Pise el pedal de freno (Figura 23) para detener la máquina.

Utilice el freno de estacionamiento (Figura 23) para impedir que la máquina se desplace. Para poner el freno de estacionamiento, pise el pedal de freno y presione la parte superior hacia adelante para engancharlo. Para quitar el freno de estacionamiento, pise el pedal de freno hasta que el enganche del freno de estacionamiento se desconecte.
La pantalla del InfoCenter (Figura 24) muestra información sobre la máquina, como por ejemplo el estado operativo, diferentes diagnósticos y otra información sobre la máquina.

Note: El propósito de cada botón puede variar dependiendo de lo que se necesite en cada momento. El icono de cada botón indicará su función en cada momento.
Utilice los botones de navegación para desplazarse entre varias pantallas y elementos de menú:
Pantalla de inicio: muestra la información actual de la máquina durante unos segundos después de mover la llave a la posición de CONECTADO.
Pantalla principal de información (Figura 25): muestra información actual de la máquina con la llave en la posición de CONECTADO.

Pantalla de motores eReel (Figura 26): muestra la velocidad y la corriente de cada motor de las unidades de corte.

Pantalla de motor de tracción (Figura 27): muestra el ángulo de dirección actual y el amperaje asignado a cada motor de tracción.

Menú principal: consulte Descripción de los elementos del menú del InfoCenter.
![]() | Horímetro |
![]() | El interruptor de control de funciones está en la posición de PUNTO MUERTO. |
![]() | El interruptor de control de funciones está en la posición de TRANSPORTE. |
![]() | El interruptor de control de funciones está en la posición de SIEGA. |
![]() | El operador debe sentarse en el asiento. |
![]() | El freno de estacionamiento está accionado. |
![]() | El freno de estacionamiento eléctrico está accionado. |
![]() | La TDF está engranada. |
![]() | La TDF está desengranada. |
![]() | Batería |
![]() | Indica que las unidades de corte se están elevando. |
![]() | Indica que las unidades de corte se están bajando. |
![]() | Activar |
![]() | Inactivo |
![]() | Anterior |
![]() | Siguiente |
![]() | Aumentar |
![]() | Reducir |
![]() | Pantalla anterior |
![]() | Siguiente pantalla |
![]() | Aumentar el valor |
![]() | Reducir el valor |
![]() | Menú |
![]() | Desplazamiento hacia arriba/hacia abajo |
![]() | Desplazamiento hacia la izquierda/hacia la derecha |
Para acceder al menú principal, pulse el botón atrás/salir mientras esté en cualquiera de las pantallas de información.
Las tablas siguientes contienen una descripción de las opciones disponibles en cada menú.
| Elemento del menú | Descripción |
| FAULTS (Fallos) | El menú FAULTS (Fallos) contiene una lista de los fallos recientes de la máquina. Consulte el Manual de mantenimiento o a su Distribuidor Autorizado Toro si desea más información sobre el menú FAULTS (Fallos). |
| SERVICE (Mantenimiento) | El menú SERVICE (Mantenimiento) contiene información sobre la máquina, como por ejemplo horas de uso, totales y calibración. También es posible habilitar el procedimiento de autoafilado de la unidad de corte. Consulte la tabla Sevice (Mantenimiento). |
| DIAGNOSTICS (Diagnósticos) | El menú DIAGNOSTICS (Diagnósticos) muestra diversos estados y datos actuales de la máquina. Puede utilizar esta información para identificar y resolver algunos problemas, ya que indica rápidamente los controles de la máquina que están activados/desactivados y muestra los niveles de control (por ejemplo, los valores de los sensores). |
| SETTINGS (Ajustes) | Con el menú SETTINGS (Ajustes), puede modificar los ajustes de la pantalla del InfoCenter. Consulte la tabla Settings (Ajustes). |
| MACHINE SETTINGS (Ajustes de la máquina) | En el menú MACHINE SETTINGS (Ajustes de la máquina) puede establecer ajustes de la máquina como la velocidad de los molinetes, la velocidad máxima de siega y la velocidad máxima de transporte. Consulte la tabla Machine Settings (Ajustes de la máquina). |
| ABOUT (Acerca de) | El menú ABOUT (Acerca de) muestra el número de modelo, el número de serie y la versión del software de su máquina. Consulte la tabla Acerca de. |
| Elemento del menú | Descripción |
| HOURS (Horas) | Indica el número total de horas de activación de la llave, el motor, los molinetes y el autoafilado, así como la fecha del siguiente mantenimiento previsto. |
| COUNTS (RECUENTOS) | Indica el número de arranques, sesiones de siega, apagados rápidos, sesiones de autoafilado y el número de veces que el motor fue arrancado durante más de 30 segundos. |
| BACKLAP (AUTOAFILADO) | Activa/desactiva el proceso de autoafilado de las unidades de corte (una vez activado el proceso, puede desactivar el modo con este ajuste o moviendo la llave a la posición de DESCONECTADO). |
CALIBRATION (Calibración) ![]() | Permite calibrar el sistema de dirección, el sistema de tracción y los actuadores de elevación. Consulte el Manual de mantenimiento si desea más información sobre la calibración. |
| Elemento del menú | Descripción |
| ENTER PIN (Introducir PIN) | Permite que una persona (superintendente o mecánico) autorizada por la empresa con código PIN acceda a los menús protegidos. |
| BACKLIGHT (Retroiluminación) | Controla el brillo de la pantalla LCD. |
| LANGUAGE (Idioma) | Controla el idioma utilizado en el InfoCenter. |
| FONT SIZE (Tamaño de fuente) | Controla el tamaño de la fuente en el InfoCenter. |
| UNITS (Unidades) | Controla las unidades utilizadas en el InfoCenter. Las opciones de menú son Inglés o Métrico. |
PROTECT SETTINGS (Proteger ajustes) ![]() | Controla los menús protegidos. |
RESET DEFAULTS (Restablecer ajustes
predeterminados) ![]() | Reinicia el InfoCenter con los valores predeterminados. |
| Elemento del menú | Descripción |
TAPOFF TIME (Tiempo de Apagado
rápido) ![]() | Controla la demora del apagado rápido. |
REEL SPEED (Velocidad de los molinetes) ![]() | Controla la velocidad de las cuchillas en las unidades de corte. |
LOWER SPEED (Velocidad de bajada) ![]() | Ajusta la velocidad a la que las unidades de corte se bajan al suelo para segar. |
BACKLAP SPEED (Velocidad de autoafilado) ![]() | Controla la velocidad del autoafilado. |
CLIP CONTROL (Control de corte) ![]() | Activa/desactiva la función de control de corte automático. |
BLADE COUNT (Número de cuchillas) ![]() | Ajusta el número de cuchillas en cada molinete. Este ajuste solo es necesario si el CLIP CONTROL (Control de corte) está CONECTADO. |
HEIGHT OF CUT (Altura de corte) ![]() | Establece la altura de corte deseada. Este ajuste solo es necesario si el CLIP CONTROL (Control de corte) está CONECTADO. |
MAX MOW (Máx. siega) ![]() | Establece la velocidad máxima de la máquina durante la siega. |
MAX TRANSPORT (Máx. transporte) ![]() | Establece la velocidad máxima de la máquina durante el transporte. |
MAX REVERSE (Máx. hacia atrás) ![]() | Establece la velocidad máxima de la máquina mientras se desplaza la máquina hacia atrás. |
SLOW & TURN (Ralentizar y girar)![]() | Habilita o deshabilita la función Ralentizar y girar. |
3WD KIT (Kit 3WD) ![]() | Habilita o deshabilita el Kit de tracción a 3 ruedas. |
RESERVA DE BATERíA![]() | Establece la distancia necesaria para transportar la máquina de vuelta al taller cuando el nivel de la batería es bajo. |
| Elemento del menú | Descripción |
| MODEL | Muestra el número de modelo de la máquina. |
| SN | Muestra el número de serie de la máquina. |
| S/W REV (Versión de SW) | Indica la versión del software del controlador maestro. |
XDM-2700 ![]() | Indica la revisión de software del InfoCenter. |
CUTTING UNIT 1 (Unidad de corte
1) ![]() | Indica la versión del software del motor de la unidad de corte central. |
CUTTING UNIT 2 (Unidad de corte
2) ![]() | Indica la versión del software del motor de la unidad de corte delantera izquierda. |
CUTTING UNIT 3 (Unidad de corte
3) ![]() | Indica la revisión de software del motor de la unidad de corte delantera derecha. |
PRECARGA![]() | Indica el número de serie del generador. |
LIFT LOWER 1 (Elevación inferior
1) ![]() | Indica el número de pieza del software y la versión de revisión del programador de precarga |
LIFT LOWER 2 (Elevación inferior
2) ![]() | Indica el número de pieza del software y la versión de revisión de la unidad de corte delantera izquierda. |
LIFT LOWER 3 (Elevación inferior
3) ![]() | Indica el número de pieza del software y la versión de revisión de la unidad de corte delantera derecha. |
TRACTION1 (Tracción 1) ![]() | Indica el número de pieza del software y la versión de revisión del motor de tracción delantero derecho. |
TRACTION2 (Tracción 2) ![]() | Indica el número de pieza del software y la versión de revisión del motor de tracción delantero izquierdo. |
TRACTION3 (Tracción 3) ![]() | Indica el número de pieza del software y la versión de revisión del Kit de tracción a 3 ruedas (si está instalado). |
STEERING (Dirección) ![]() | Indica el número de pieza del software y la versión de revisión del motor de dirección trasero. |
BATERíA TB![]() | Indica el número de pieza del software y la versión de revisión de cada una de las baterías instaladas en la máquina. |
Note:
Protegido
en menús protegidos – accesible solo al introducir el
PIN; consulte Acceso a los menús protegidos.
Note: El PIN predeterminado de fábrica de la máquina es 0000 o bien 1234.Si ha cambiado el código PIN y lo ha olvidado, póngase en contacto con su Distribuidor Autorizado Toro para obtener ayuda.
En el menú PRINCIPAL, vaya al menú SETTINGS (Ajustes) y pulse el botón de selección (Figura 28).

En el menú SETTINGS (Ajustes), vaya a ENTER PIN (Introducir PIN) y pulse el botón de selección (Figura 29A).

Para introducir el código PIN, presione los botones de navegación Arriba/Abajo hasta que aparezca el primer dígito correcto y, a continuación, pulse el botón de navegación Derecha para desplazarse al dígito siguiente (Figura 29B y Figura 29C). Repita este paso hasta que haya introducido el último dígito.
Pulse el botón de selección (Figura 29D).
Note: Si la pantalla acepta el código PIN y el menú
protegido se desbloquea, aparece
en la esquina superior derecha de la pantalla.
Para bloquear el menú protegido, gire el interruptor de encendido a la posición DESCONECTADO y luego a la posición CONECTADO.
En SETTINGS (Ajustes), vaya a PROTECT SETTINGS (Proteger ajustes).
Para ver y modificar los ajustes sin introducir un
código PIN, utilice el botón de selección para
cambiar PROTECT SETTINGS (Proteger ajustes)
a
(Desactivado).
Para ver y modificar los ajustes con un código
PIN, utilice el botón de selección para cambiar PROTECT SETTINGS (Proteger ajustes) a
(Activado), introduzca
el código PIN y gire la llave del interruptor de encendido
a la posición de DESCONECTADO y
luego a la posición de CONECTADO.

Rojo intermitente — fallo activo
Rojo fijo — aviso activo
Azul fijo — Mensajes de calibración/diálogo
Verde fijo — operación normal
Antes de cargar la máquina, trabajar en ella o instalar, retirar o trabajar en las unidades de corte, desconecte la máquina del suministro eléctrico levantando la tapa del conector y separando los conectores eléctricos principales (Figura 31), situados en la base de la barra antivuelco en el lado izquierdo de la unidad de tracción. Enchufe los conectores antes de utilizar la máquina.

Si no se desconecta la corriente eléctrica de la máquina, alguien podría encender la máquina accidentalmente y causar lesiones personales graves.
Separe siempre los conectores antes de trabajar en la máquina.
Consulte la Figura 32 y Tabla de especificaciones de las unidades de tracción para conocer las dimensiones y el peso de las unidades de tracción.
Note: Las especificaciones y diseños están sujetos a modificación sin previo aviso.

| Anchura de corte | 151 cm |
| Distancia entre ruedas | 126 cm |
| Distancia entre ejes | 127 cm |
| Longitud total (con recogedores) | 249 cm |
| Anchura total | 180 cm |
| Altura total | 205 cm |
| Peso* | 705 kg |
| * Unidad de tracción equipada con unidades de corte de 11 cuchillas, rodillos seccionado estrechos, sin operador y con el asiento estándar. | |
| Cantidad de baterías | 5 |
| Voltaje nominal | 60 Vcc máximo y 55,2 Vcc nominal |
| Amperios/hora | 199,85 |
Está disponible una selección de aperos y accesorios homologados por Toro que se pueden utilizar con la máquina a fin de potenciar y aumentar sus prestaciones. Póngase en contacto con su Servicio Técnico Autorizado o con su distribuidor Toro autorizado, o bien visite www.Toro.com para obtener una lista de todos los aperos y accesorios homologados.
Para asegurar un rendimiento óptimo y mantener la certificación de seguridad de la máquina, utilice solamente piezas y accesorios genuinos Toro. Las piezas de repuesto y accesorios de otros fabricantes podrían ser peligrosos, y su uso podría invalidar la garantía del producto.
No deje nunca que la máquina sea utilizada o mantenida por niños o por personas que no hayan recibido la formación adecuada al respecto. La normativa local puede imponer límites sobre la edad del operador. El propietario es responsable de proporcionar formación a todos los operadores y mecánicos.
Familiarícese con la operación segura del equipo, los controles del operador y las señales de seguridad.
Accione el freno de estacionamiento, apague la máquina, retire la llave y espere a que se detenga todo movimiento antes de dejar el puesto del operador. Deje que la máquina se enfríe antes de realizar ajustes, tareas de mantenimiento y de limpieza o de guardarla.
Sepa cómo detener la máquina y apagar la máquina rápidamente.
Compruebe que los controles de presencia del operador, los interruptores de seguridad y los dispositivos protectores de seguridad están colocados y que funcionan correctamente. No utilice la máquina si no funcionan correctamente.
Antes de segar, siempre inspeccione la máquina para asegurarse de que las unidades de corte están en buenas condiciones de funcionamiento.
Inspeccione la zona en la que va a utilizar la máquina y retire cualquier objeto que pudiera ser arrojado por la máquina.
El InfoCenter utiliza los números 1, 2 y 3 para identificar cada unidad de corte (por ejemplo, UC1, UC2 y UC3 en el menú ABOUT (Acerca de)).
1 se refiere a la unidad de corte central (Figura 33)
2 se refiere a la unidad de corte delantera izquierda (Figura 33)
3 se refiere a la unidad de corte delantera derecha (Figura 33)

Puede utilizar el InfoCenter para establecer los ajustes siguientes de la máquina:
Demora de Apagado rápido; consulte Ajuste de la demora de Apagado rápido.
Velocidad del molinete durante la siega; consulte Ajuste de la velocidad de los molinetes para la siega.
Velocidad de bajada de la unidad de corte; consulte Ajuste de la velocidad de bajada de la unidad de corte.
Velocidad de los molinetes durante el autoafilado de las unidades de corte; consulte Ajuste de la velocidad de los molinetes para el autoafilado.
Control de corte; consulte Ajuste de la función de control de corte.
Altura de corte (ADC); consulte Ajuste de la altura de corte (ADC).
Número de cuchillas de las unidades de corte; consulte Ajuste del número de cuchillas de las unidades de corte.
Velocidad máxima de siega; consulte Ajuste de la velocidad máxima de siega.
Velocidad máxima de transporte; consulte Ajuste de la velocidad máxima de transporte.
Velocidad máxima hacia atrás; consulte Ajuste de la velocidad máxima hacia atrás.
Ralentizar y Girar; consulte Ajuste de la función Ralentizar y Girar.
Deshabilitación de un kit de tracción a 3 ruedas instalado; consulte Deshabilitación de un kit de tracción a 3 ruedas.
Capacidad de reserva de la batería; consulte Ajuste de la capacidad de reserva de la batería.
Note: Cada ajuste está protegido por contraseña. Puede ser necesario introducir una contraseña para editar los valores.
Navegue a la opción TAPOFF TIME (Tiempo de Apagado rápido) para ajustar la demora del Apagado rápido. La función de demora del Apagado rápido permite desactivar las unidades de corte sin elevarlas. La demora representa el tiempo máximo que el joystick de elevación/bajada debe permanecer en la posición trasera para activar esta función.
Consulte en la tabla siguiente las opciones de demora y los números de incremento correspondientes:
| Incremento número | Tiempo de demora (segundos) |
| 1 | Desconectado |
| 2 | 0,050 |
| 3 | 0,100 |
| 4 | 0,150 |
| 5 | 0,200 |
| 6 | 0,250 |
| 7 | 0,300 |
| 8 | 0,350 |
| 9 | 0,400 |
| 10 | 0,450 |
Note: El ajuste de fábrica es el 1, que deshabilita esta función.
Navegue a la opción REEL SPEED (Velocidad de los molinetes) para ajustar la velocidad de los molinetes durante la siega. Este valor puede ajustarse cuando el control de corte está DESACTIVADO; consulte Ajuste de la función de control de corte.
Consulte en la tabla siguiente las opciones de velocidad de los molinetes y los números de incremento correspondientes:
| Incremento número | Velocidad del molinete (RPM) |
| 1 | 800 |
| 2 | 950 |
| 3 | 1100 |
| 4 | 1250 |
| 5 | 1400 |
| 6 | 1550 |
| 7 | 1700 |
| 8 | 1850 |
| 9 | 2000 |
Note: El ajuste predeterminado de fábrica es de 2000 rpm (incremento número 9).
Desplácese hasta la opción VELOCIDAD DE BAJADA para ajustar la velocidad a la que las unidades corte se bajan al suelo para segar. Puede cambiar entre 1 (la velocidad más baja) y 9 (la velocidad más alta).
Pruebe la velocidad de bajada antes de segar. Ajuste la velocidad tal y como desee.
Note: El ajuste predeterminado de fábrica es 5.
Navegue a la BACKLAP RPM para ajustar la velocidad de los molinetes durante la operación de autoafilado.
Consulte en la tabla siguiente las opciones de velocidad de los molinetes y los números de incremento correspondientes:
| Incremento número | Velocidad del molinete (RPM) |
| 1 | 200 |
| 2 | 240 |
| 3 | 280 |
| 4 | 320 |
| 5 | 360 |
| 6 | 400 |
| 7 | 440 |
| 8 | 480 |
| 9 | 520 |
Note: El ajuste predeterminado de fábrica es de 200 rpm (incremento número 1).
Para obtener una calidad de corte uniforme y de alta calidad y un aspecto uniforme después del corte, la máquina está equipada con el sistema RDS (Radius Dependent Speed™ – Velocidad dependiente del radio) (patente pendiente). El sistema RDS es una función de control de corte y de control independiente de las velocidades de las ruedas que varía la velocidad de cada motor de molinete y de cada motor de tracción para mantener una frecuencia de corte constante y reducir los roces en el césped durante los giros.
Cuando la máquina gira durante la siega (por ejemplo, durante la pasada de limpieza), el molinete situado en el interior del giro girará a una velocidad más baja que el molinete del exterior del giro. El molinete central tiene una velocidad intermedia entre la de los molinetes interior y exterior, para que las tres unidades de corte tengan la misma frecuencia de corte. Cuanto más cerrado sea el giro, mayor será la diferencia entre las velocidades de los molinetes. Además, si la velocidad de la máquina cambia durante la siega, el sistema RDS ajusta la velocidad de los molinetes para mantener una frecuencia de corte constante. Esta característica reduce el corte excesivo del césped producido por el molinete interior (en comparación con otras segadoras de green de asiento), lo que puede reducir el “anillo de tripleta”.
El sistema RDS también ajusta la velocidad de cada motor de rueda durante un giro, de la misma manera en que varían las velocidades de los motores de los molinetes durante un giro. El motor de la rueda interior gira a una velocidad más baja que el motor de la rueda exterior. Esto minimiza el rozamiento de las ruedas en los giros y puede reducir el “anillo de tripleta”.
Navegue a la opción CLIP CONTROL (Control de corte) para ajustar la función RDS.
Control de corte ajustado a ON (Activado): La máquina utiliza los ajustes de las opciones HEIGHT OF CUT (HOC) (Altura de corte - ADC) y BLADE COUNT (Número de cuchillas) y las velocidades de las ruedas izquierda y derecha para determinar la velocidad de cada molinete.
Control de corte ajustado a OFF (Desactivado): La máquina utiliza el valor de la opción VELOCIDAD DE LOS MOLINETES. Los molinetes giran a una velocidad constante.
Note: El ajuste predeterminado de fábrica es ACTIVADO.
Navegue a la opción HEIGHT OF CUT (HOC) Altura de corte (ADC) para ajustar la altura de corte. La función de control de corte debe estar en ACTIVADO para utilizar esta característica; consulte Ajuste de la función de control de corte.
Note: El ajuste predeterminado de fábrica es de 3,2 mm.
Navegue a la opción BLADE COUNT (Número de cuchillas) para establecer el número de cuchillas de las unidades de corte. Determine el número de cuchillas de las unidades de corte instaladas, y seleccione el valor apropiado (5, 8, 11 o 14).
Note: El ajuste predeterminado de fábrica es 11.
Navegue a la opción MAX MOW (Máx siega) para ajustar la velocidad máxima de siega. Puede ajustar la velocidad entre 4,8 km/h y 8,0 km/h en incrementos de 0,3 km/h.
Note: El ajuste predeterminado de fábrica es de 6,1 km/h.
Navegue a la opción MAX TRANSPORT (Máx transporte) para ajustar la velocidad máxima de transporte. Puede ajustar la velocidad entre 8,0 km/h y 16,0 km/h en incrementos de 0,8 km/h.
Note: El ajuste predeterminado de fábrica es de 16,0 km/h.
Navegue a la opción MAX REVERSE (Máx atrás) para ajustar la velocidad máxima hacia atrás. Puede ajustar la velocidad entre 3,2 km/h y 8,0 km/h en incrementos de 0,8 km/h.
Note: El ajuste predeterminado de fábrica es de 4,0 km/h.
Note: Para las versiones de software de la máquina A a D, la velocidad máxima es 4,8 km/h. Actualice el software de la máquina para obtener la funcionalidad de ajustar la velocidad máxima a 8,0 km/h.
Navegue a la opción SLOW & TURN (Ralentizar y Girar) para establecer la función Ralentizar y Girar. La función Ralentizar y Girar reduce la velocidad de la máquina mientras realiza el giro para iniciar otra pasada de siega en un green.
Note: El ajuste predeterminado de fábrica es DESACTIVADO.
Navegue a la opción 3WD KIT para deshabilitar un kit de tracción a 3 ruedas instalado.
Si opta por deshabilitar esta opción, el kit se volverá a habilitar si acciona el interruptor de encendido (es decir, apaga y luego enciende la máquina) con un kit de tracción a 3 ruedas equipado.
Note: Cuando se instala el Kit de tracción a 3 ruedas, el kit se habilita automáticamente.
Desplácese hasta la opción RESERVA DE LA BATERíA para ajustar la cantidad de distancia necesaria para transportar la máquina al taller. De este modo, contará con suficiente alimentación de la batería (cuando el nivel llegue a ser demasiado bajo) para transportar la máquina al taller y recargarla; consulte Supervisión del nivel del carga del sistema de baterías.
Note: Puede ajustar la distancia desde 0,8 km a 8 km, en incrementos de 0,8 km.
Durante la calibración de la máquina aparecen mensajes de diálogo en el InfoCenter. Estos mensajes están diseñados para guiarle a través del proceso de calibración.
La tabla contiene una lista de todos los mensajes de diálogo:
| Número de mensaje | Texto del mensaje del InfoCenter |
| 1 | Mover pedal a punto muerto |
| 4 | Mover pedal a máx adelante y mantener |
| 5 | Calibración máx adelante superada |
| 9 | Calibración máx adelante no superada. Voltaje fuera de rango |
| 13 | Mover pedal a máx atrás y mantener |
| 14 | Calibración máx atrás superada |
| 16 | Calibración máx atrás no superada. Voltaje fuera de rango |
| 17 | Calibración no superada. Pedal en posición desconocida |
| 18 | Mover pedal a punto muerto. ¿Continuar? |
| 100 | Calibración en marcha |
| 101 | Calibración completa |
| 102 | Accione el interruptor de encendido |
| 110 | Inhibir calibración. El componente no responde |
| 111 | Inhibir calibración. El componente no está listo |
| 112 | Inhibir calibración. Fallo activo |
| 113 | Inhibir calibración. Fuera del asiento |
| 114 | Inhibir calibración. Fuera de punto muerto |
| 115 | Inhibir calibración. En punto muerto |
| 116 | Inhibir calibración. El freno de estacionamiento está puesto |
| 300 | Mover pedal a punto muerto |
| 301 | Centrar volante. ¿Continuar? |
| 302 | Centrar rueda trasera manualmente. ¿Continuar? |
| 303 | Rueda trasera máx izquierda. ¿Continuar? |
| 304 | Rueda trasera máx derecha. ¿Continuar? |
| 305 | Centrar rueda trasera fuera de rango |
| 306 | Ángulo rueda trasera fuera de rango |
| 400 | Precaución: La máquina debe estar sobre caballetes. ¿Continuar? |
| 401 | Inhibir calibración. Contactor abierto |
| 402 | Inhibir calibración. Pedal en punto muerto |
| 403 | Mover pedal a punto muerto |
| 404 | Esperar a que se detengan las ruedas |
| 405 | Mover pedal a máx adelante y mantener |
| 406 | Calibración activa. Mantener pedal |
| 500 | Elevar/bajar extender activo |
| 501 | Elevar/bajar retraer activo |
| 502 | Mover joystick a posición bajada |
| 503 | Mover joystick a posición elevación |
| 504 | ¿La unidad de corte está instalada? ¿Continuar? |
| 1100 | Mensajes diagnósticos de tracción habilitados |
| 1101 | Mensajes diagnósticos de la dirección habilitados |
| Intervalo de mantenimiento y servicio | Procedimiento de mantenimiento |
|---|---|
| Cada vez que se utilice o diariamente |
|
Antes de encender la máquina cada día, haga lo siguiente:
Compruebe el contacto entre molinete y contracuchilla; consulte Comprobación del contacto molinete-contracuchilla.
Compruebe la presión de los neumáticos; consulte Comprobación de la presión de los neumáticos.
Compruebe el sistema de interruptores de seguridad; consulte Comprobación del sistema de interruptores de seguridad.
Compruebe el funcionamiento del freno de estacionamiento accionando el freno de estacionamiento y asegurándose de que se activa; consulte Freno de estacionamiento.
El propietario/operador puede prevenir y es responsable de cualquier accidente que pudiera provocar lesiones personales o daños materiales.
Lleve ropa adecuada, incluida protección ocular, pantalones largos, calzado resistente y antideslizante y protección auricular. Si tiene el pelo largo, recójaselo, y no lleve prendas o joyas sueltas.
No utilice la máquina si está enfermo, cansado o bajo la influencia de alcohol o drogas.
Preste toda su atención al utilizar la máquina. No realice ninguna actividad que genere distracciones, de lo contrario pueden producirse lesiones o daños en la propiedad.
Antes de encender la máquina, asegúrese de que todas las transmisiones están en punto muerto, de que el freno estacionamiento está accionado y de que usted se encuentra en la posición del operador.
No lleve pasajeros en la máquina.
Mantenga a otras personas, especialmente a los niños, alejadas del área de operación. Si es necesario que estén presentes otros trabajadores, tenga cuidado y asegúrese de que los recogedores están instalados en la máquina.
Utilice la máquina únicamente con buena visibilidad para evitar agujeros y peligros ocultos.
Evite segar la hierba mojada. La reducción de la tracción podría hacer que la máquina se resbalara.
Mantenga las manos y los pies alejados de las unidades de corte.
Mire hacia atrás y hacia abajo antes de poner marcha atrás para asegurarse de que el camino está despejado.
Tenga cuidado al acercarse a esquinas ciegas, arbustos, árboles u otros objetos que puedan dificultar la visión.
Pare las unidades de corte si no está segando.
Vaya más despacio y tenga cuidado al girar y al cruzar calles y aceras con la máquina. Ceda el paso siempre.
No deje la máquina desatendida mientras esté activada.
Antes de abandonar la posición del operador, haga lo siguiente:
Aparque la máquina en una superficie nivelada.
Baje las unidades de corte al suelo y asegúrese de que están desengranadas.
Accione el freno de estacionamiento.
Apague el motor y retire la llave.
Espere a que se detenga todo movimiento.
Utilice la máquina únicamente si existen condiciones meteorológicas y de visibilidad adecuadas. No utilice la máquina cuando exista riesgo de caída de rayos.
No retire ninguno de los componentes del ROPS de la máquina.
Asegúrese de abrocharse el cinturón de seguridad y de que puede desabrocharlo rápidamente en caso de emergencia.
Lleve puesto siempre el cinturón de seguridad.
Compruebe detenidamente si hay obstrucciones sobre la máquina y no entre en contacto con ellas.
Mantenga el ROPS en condiciones seguras de funcionamiento, inspeccionándolo periódicamente en busca de daños y manteniendo bien apretados todas las fijaciones de montaje.
Sustituya todos los componentes del ROPS dañados. No los repare ni los modifique.
Las pendientes son una de las principales causas de accidentes por pérdida de control y vuelcos, que pueden causar lesiones graves o la muerte. Usted es responsable de la seguridad cuando trabaja en pendientes. La conducción de la máquina en pendientes requiere extremar la precaución.
Evalúe las condiciones del lugar de trabajo para determinar si es seguro trabajar en la pendiente con la máquina; puede ser necesario realizar un estudio detallado de la zona. Aplique siempre el sentido común y un buen criterio a la hora de realizar esta valoración.
Revise las instrucciones sobre pendientes, que se indican a continuación, para conducir la máquina en pendientes. Antes de utilizar la máquina, revise las condiciones del lugar de trabajo para determinar si la máquina puede utilizarse en las condiciones reinantes en un día y un lugar determinados. Los cambios en el terreno pueden producir un cambio en el funcionamiento de la máquina en pendientes.
Evite arrancar, parar o girar la máquina en cuestas o pendientes. Evite realizar cambios bruscos de velocidad o de dirección. Realice giros de forma lenta y gradual.
No utilice la máquina en condiciones que puedan comprometer la tracción, la dirección o la estabilidad de la máquina.
Retire o señale obstrucciones como terraplenes, baches, surcos, montículos, rocas u otros peligros ocultos. La hierba alta puede ocultar obstrucciones. Un terreno irregular podría hacer volcar la máquina.
Tenga en cuenta que conducir en hierba mojada, atravesar pendientes empinadas, o bajar cuestas puede hacer que la máquina pierda tracción. La pérdida de tracción de las ruedas motrices puede hacer que la máquina patine, así como sufrir pérdida de frenado o de dirección.
Extreme las precauciones cuando utilice la máquina cerca de terraplenes, fosas, taludes, obstáculos de agua u otros obstáculos. La máquina podría volcar repentinamente si una rueda pasa por el borde de un terraplén o fosa, o si se socava un talud. Establezca un área de seguridad entre la máquina y cualquier peligro.
Identifique peligros situados en la base de la pendiente. Si hay algún peligro, siegue la pendiente con una máquina controlada por un peatón.
Si es posible, mantenga las unidades de corte bajadas hasta el suelo al utilizar la máquina en pendientes. Si las unidades de corte se elevan en pendientes, la máquina puede desestabilizarse.
Extreme las precauciones cuando utilice sistemas de recogida de hierba u otros accesorios. Estos pueden cambiar la estabilidad de la máquina y causar pérdidas de control.
Se necesitan 8 horas de uso para completar el periodo de rodaje.
Puesto que las primeras horas de operación son de vital importancia para la futura fiabilidad de la máquina, usted debe vigilar de cerca su rendimiento y sus funciones para poder observar y corregir pequeñas dificultades que podrían convertirse en problemas importantes. Inspeccione la máquina con frecuencia durante el rodaje en busca de señales de fijaciones sueltas o cualquier otro funcionamiento indebido.
Note: Inspeccione las zonas de debajo de las unidades de corte para asegurarse de que están libres de residuos.
Siéntese en el asiento del operador y abroche el cinturón de seguridad.
Introduzca la llave en el interruptor y muévala a la posición de CONECTADO.
Mueva el interruptor de control de funciones a la posición de SIEGA.
Quite el freno de estacionamiento.
Mueva el joystick de elevación/bajada hacia adelante momentáneamente.
Las unidades de corte deben bajar y todos los molinetes deben girar.
Mueva el joystick de elevación/bajada hacia atrás.
Los molinetes deben dejar de rotar y las unidades de corte deben elevarse completamente hasta la posición de transporte.
| Intervalo de mantenimiento y servicio | Procedimiento de mantenimiento |
|---|---|
| Cada vez que se utilice o diariamente |
|
Si los interruptores de seguridad son desconectados o están dañados, la máquina podría ponerse en marcha inesperadamente, causando lesiones graves o la muerte.
No manipule los interruptores de seguridad.
Compruebe la operación de los interruptores de seguridad cada día, y sustituya cualquier interruptor dañado antes de utilizar la máquina.
El propósito del sistema de interruptores de seguridad es impedir la operación de la máquina cuando hay riesgo de lesiones para usted o daños a la máquina.
El sistema de interruptores de seguridad impide que la máquina se desplace, a menos que:
El freno de estacionamiento esté quitado.
Usted esté sentado en el asiento del operador.
La palanca de control de funciones esté en la posición de SIEGA o de TRANSPORTE.
Además, el sistema de interruptores de seguridad impide que los molinetes funcionen a menos que el interruptor de control de funciones esté en la posición de SIEGA (excepto cuando la máquina está en el modo de autoafilado).
Realice los pasos siguientes para comprobar el sistema de interruptores de seguridad:
Levántese del asiento, encienda la máquina, quite el freno de estacionamiento, mueva el interruptor de control de funciones a la posición de SIEGA o TRANSPORTE, y engrane el pedal de tracción.
La máquina no debe desplazarse porque usted no está sentado en el asiento. Esto indica que el sistema de seguridad funciona correctamente. Corrija el problema si el funcionamiento no es el correcto.
Siéntese en el asiento, encienda la máquina, accione el freno de estacionamiento, mueva el interruptor de control de funciones a la posición de SIEGA o TRANSPORTE y engrane el pedal de tracción.
La máquina no debe desplazarse porque el freno de estacionamiento está puesto. Esto indica que el sistema de seguridad funciona correctamente. Corrija el problema si el funcionamiento no es el correcto.
Siéntese en el asiento, encienda la máquina, quite el freno de estacionamiento, mueva el interruptor de control de funciones a la posición de PUNTO MUERTO y engrane el pedal de tracción.
La máquina no debe desplazarse porque el interruptor de control de funciones está en la posición de PUNTO MUERTO. Esto indica que el sistema de seguridad funciona correctamente. Corrija el problema si el funcionamiento no es el correcto.
Siéntese en el asiento, mueva el pedal de tracción a la posición de PUNTO MUERTO, mueva el interruptor de control de funciones a la posición de PUNTO MUERTO, accione el freno de estacionamiento, encienda la máquina y mueva el joystick de elevación/bajada hacia adelante para bajar las unidades de corte.
Las unidades de corte deben bajar pero no deben empezar a girar. Si empiezan a girar, el sistema de seguridad no funciona correctamente; corrija el problema antes de utilizar la máquina.
Asegúrese de que las unidades de corte estén totalmente elevadas.
Siéntese en el asiento, póngase el cinturón de seguridad, quite el freno de estacionamiento y mueva el interruptor de control de funciones a la posición de TRANSPORTE para conducir la máquina sin segar.
Acérquese a terrenos irregulares siempre a velocidad reducida y tenga cuidado al atravesar zonas muy onduladas.
Familiarícese con la anchura de la máquina. No intente pasar entre objetos que están muy juntos, para evitar costosos daños y tiempo de reparación.
Antes de segar greens, busque una zona despejada y practique las funciones básicas de la máquina (por ejemplo, encender y parar la máquina, elevar y bajar las unidades de corte y girar).
Inspeccione el green en busca de residuos, retire cualquier cosa que pudiera dañar las unidades de corte durante la siega, retire la bandera del hoyo y determine la mejor dirección de siega. La dirección dependerá de la dirección de siega anterior. Siegue siempre con un patrón opuesto al de la siega anterior; de esta manera es menos probable que las hojas de hierba queden aplanadas y es más probable que se corten.
Empiece en un borde del green para poder utilizar el procedimiento de corte en bandas.
Note: Esto reduce al mínimo la compactación y deja un dibujo atractivo y limpio en los greens.
Mueva el interruptor de control de funciones a la posición de SIEGA.
Mueva hacia adelante la palanca de elevación/bajada de las unidades de corte cuando los bordes delanteros de los recogedores crucen el borde exterior del green.
Note: Este procedimiento baja las unidades de corte al suelo y pone en movimiento los molinetes.
Important: La unidad de corte central se eleva y baja un poco después de las unidades de corte delanteras; por tanto, debe practicar para perfeccionar la sincronización necesaria a fin de minimizar los retoques necesarios después de la siega y evitar calvas en el perímetro del green.La elevación y la bajada de la unidad de corte central dependen de la velocidad de avance. Una velocidad de avance menor aumenta la demora de elevación o bajada; una velocidad mayor reduce la demora de elevación o bajada. La máquina monitoriza la velocidad de avance y actualiza esta demora para que las tres unidades de corte bajen en línea.
Debe haber un solape mínimo con las pasadas anteriores.
Note: Para ayudar a mantener una línea recta a través del green y mantener la máquina a la misma distancia de la pasada anterior, imagínese una línea que va desde un punto situado a 1,8–3 m aproximadamente por delante de la máquina, hasta el borde de la parte no segada del green (Figura 36). Incluya el borde exterior del volante como parte de la línea imaginaria, es decir, mantenga el borde del volante alineado con un punto que se mantiene siempre a la misma distancia de la parte delantera de la máquina.
Cuando el borde delantero de los recogedores cruce el borde exterior del green, mueva hacia atrás el joystick de elevación/bajada y manténgala en esa posición hasta que se hayan elevado todas las unidades de corte. De este modo se detienen los molinetes y se elevan las unidades de corte.
Important: Sincronice correctamente este paso para segar la mayor parte posible del green sin adentrarse en la zona que lo rodea, con el fin de minimizar la cantidad de hierba a recortar en la periferia del green.
Para ganar tiempo y facilitar la alineación correcta para la pasada siguiente, gire la máquina momentáneamente en la dirección opuesta, y luego gire hacia la parte que todavía no está cortada. Este movimiento es un giro en forma de lágrima (Figura 35), que permite alinear la máquina rápidamente para la pasada siguiente.
Note: Si la función Ralentizar y Girar está activada, la máquina se ralentiza durante el giro sin necesidad de reducir la presión sobre el pedal de tracción.

Note: Procure que el giro sea lo más corto posible, aunque si hace calor, un arco más amplio minimiza la posibilidad de dañar el césped.

Important: No pare la máquina nunca en el green, sobre todo con las unidades de corte engranadas; pueden producirse daños en el césped. Si detiene la máquina en un green, las ruedas pueden dejar señales o huecos.
Termine de segar el green cortando por la periferia. Cambie la dirección de siega respecto a la siega anterior.
Consulte Descripción del sistema Radius-Dependent-Speed (RDS) para mejorar el aspecto después del corte y reducir el “anillo de tripleta”.
Note: Tenga siempre en cuenta las condiciones climatológicas y las del césped, y asegúrese de cambiar la dirección de siega respecto a la siega anterior.
Cuando termine de segar la periferia, mueva el joystick de elevación/bajada momentáneamente hacia atrás para parar los molinetes (si está activada la demora de Apagado rápido), luego salga del green. Cuando todas las unidades de corte estén fuera del green, mueva el joystick de elevación/bajada hacia atrás para elevar las unidades de corte.
Note: Este paso minimiza la acumulación de recortes en el green.
Vuelva a colocar la bandera.
Vacíe todos los recortes de los recogedores antes de transportar la máquina al green siguiente.
Note: Los recortes de hierba mojados y pesados suponen un aumento de presión sobre los recogedores, las suspensiones y los actuadores. Esto añade un peso innecesario a la máquina, que reduce la eficiencia energética.
Consulte la pantalla de información principal en el InfoCenter para determinar el nivel de carga del sistema de baterías; consulte Uso de la pantalla del InfoCenter.
Cuando el nivel de las baterías llega a un porcentaje bajo, aparece un aviso de batería baja en el InfoCenter. Si está utilizando la máquina con este porcentaje de batería, acabe de segar el green actual y, a continuación, transporte la máquina a un área designada de carga de baterías para cargarlas; consulte Carga de las baterías de ion litio.
Si el nivel de las baterías es demasiado bajo (es decir, por debajo del 10 %) mientras está utilizando la máquina, aparece un aviso en el InfoCenter. Al utilizar la máquina con este porcentaje de batería, solo puede transportar la máquina a una velocidad más lenta; las unidades de corte no pueden engranarse. Transporte la máquina a un área designada de carga de baterías y cárguelas; consulte Carga de las baterías de ion litio.
Lleve la máquina a una superficie nivelada.
Mueva el interruptor de control de funciones a la posición de PUNTO MUERTO.
Accione el freno de estacionamiento.
Gire la llave a la posición de DESCONECTADO para apagar la máquina.
Retire la llave.
Accione el freno de estacionamiento, apague la máquina, retire la llave y espere a que se detenga todo movimiento antes de dejar el puesto del operador. Deje que la máquina se enfríe antes de realizar ajustes, tareas de mantenimiento y de limpieza o de guardarla.
Limpie la hierba y los residuos de la máquina, sobre todo de las unidades de corte y las transmisiones, para ayudar a prevenir incendios.
Desconecte los conectores eléctricos principales si va a guardar o a transportar la máquina.
Desengrane la transmisión al accesorio siempre que transporte la máquina o no la esté utilizando.
Espere a que se enfríe la máquina antes de guardarla en un recinto cerrado.
Realice el mantenimiento de los cinturones y límpielos cuando sea necesario.
No guarde la máquina en un lugar donde pudiera haber una llama desnuda, chispas o una llama piloto, por ejemplo en un calentador de agua u otro electrodoméstico.
ADVERTENCIA: Riesgo de incendio y descarga eléctrica - las baterías no tienen piezas reparables por el usuario.
Confirme el voltaje disponible en su país antes de usar el cargador.
No cargue la máquina en un entorno húmedo, manténgala protegida de la lluvia y la nieve.
El uso de accesorios no recomendados o no vendidos por Toro puede dar lugar a riesgos de incendio, descarga eléctrica o lesiones personales.
Para reducir el riesgo de explosión de la batería, siga estas instrucciones y las instrucciones de cualquier otro equipo que tenga pensado usar cerca del cargador. Para reducir el riesgo de explosión de la batería, siga estas instrucciones y las instrucciones de cualquier otro equipo que tenga pensado usar cerca del cargador.
Las baterías podrían emitir gases explosivos si se sobrecargan de forma importante.
Consulte a un distribuidor autorizado Toro para realizar tareas de mantenimiento o sustitución de una batería.
No deje nunca que el cargador lo utilicen o mantengan niños o personas que no hayan recibido la formación adecuada al respecto. La normativa local puede imponer límites sobre la edad del operador. El propietario es responsable de proporcionar formación a todos los operadores y mecánicos.
Lea, comprenda y siga todas las instrucciones del cargador y del manual antes de utilizar el cargador. Familiarícese con el uso correcto del cargador.
Mantenga a otras personas, especialmente niños, alejadas de la zona mientras realiza la carga.
Apague la máquina y espere hasta que la máquina se haya detenido por completo antes de cargarla. De lo contrario, puede provocar un arco eléctrico.
Asegúrese de que el área esté bien ventilada mientras se realiza la carga.
Utilice el cargador únicamente dentro del intervalo de tensión especificado en este Manual del operador y utilice solamente un cable de alimentación aprobado por Toro.
Póngase en contacto con su distribuidor Toro autorizado para obtener el cargador y el cable de alimentación adecuados.
No cargue una batería que esté congelada.
No maltrate el cable. No lleve el cargador nunca por el cable, ni tire bruscamente del cable para desenchufarlo. Guarde el cable en un lugar alejado del calor, de aceite y de bordes afilados.
Conecte el cargador directamente a una toma de corriente con toma de tierra. No utilice el cargador en una toma de corriente sin toma de tierra, ni siquiera con un adaptador que tenga toma de tierra.
No modifique el cable de alimentación o el enchufe suministrados.
Quítese los accesorios metálicos como anillos, pulseras, collares o relojes antes de trabajar con una batería de ion litio. Una batería de ion litio puede producir suficiente corriente para causar una quemadura grave.
Utilice un cable alargador que pueda soportar el amperaje de cable especificado en este Manual del operador. Si va a realizar la carga en exteriores, utilice un cable alargador apto para su uso en exteriores.
Si el cable de alimentación eléctrica sufre cualquier daño mientras está enchufado, desconecte el cable de la toma de corriente y póngase en contacto con un distribuidor autorizado Toro para adquirir un cable nuevo.
Desenchufe el cargador de la toma de corriente si no lo está utilizando, antes de trasladarlo a otro lugar o antes de realizar cualquier tarea de mantenimiento en el mismo.
Almacene el cargador en un lugar interior, seco y seguro, fuera del alcance de usuarios no autorizados.
No desmonte el cargador.
Lleve el cargador a un distribuidor autorizado Toro si necesita mantenimiento o reparación.
Desenchufe el cable de alimentación de la toma de corriente antes de iniciar cualquier tarea de mantenimiento o limpieza para reducir el riesgo de descarga eléctrica.
Revise o sustituya las calcomanías de seguridad e instrucciones cuando sea necesario.
No utilice el cargador con el cable o el enchufe dañado. Póngase en contacto con su distribuidor autorizado Toro para obtener un cable de sustitución.
Si el cargador está dañado, no lo use; llévelo a un distribuidor Toro autorizado.
Remolque únicamente si la máquina tiene un enganche diseñado para el remolcado. Enganche el equipo a remolcar únicamente en el punto de enganche.
Siga las recomendaciones del fabricante del apero sobre los límites de peso de los equipos remolcados y sobre remolcar en pendientes. En las pendientes, el peso del equipo remolcado puede causar una pérdida de tracción y de control.
No deje que suban niños u otras personas en los equipos remolcados.
Conduzca lentamente y deje una distancia de parada mayor mientras se realizan tareas de remolcado.
| Intervalo de mantenimiento y servicio | Procedimiento de mantenimiento |
|---|---|
| Cada vez que se utilice o diariamente |
|
Después de segar, lave a fondo la máquina con una manguera de jardín sin boquilla para evitar que la presión excesiva de agua pueda contaminar y dañar las juntas, los cojinetes y la electrónica. No lave las conexiones eléctricas con agua.
Important: No utilice agua reciclada o salada para limpiar la máquina.
Important: No utilice equipos de lavado a presión para lavar la máquina. Estos equipos pueden dañar el sistema eléctrico, hacer que se desprendan calcomanías importantes, o eliminar grasa necesaria en los puntos de fricción. Puede introducir agua a presión por debajo de las juntas, contaminando el aceite o la grasa de los alojamientos. Evite el uso excesivo de agua cerca del panel de control y las baterías.
Inspeccione los filos de las unidades de corte después de limpiar la máquina.
Tenga cuidado al cargar o descargar la máquina en/desde un remolque o un camión.
Utilice una rampa de ancho completo para cargar la máquina en un remolque o un camión.
Amarre la máquina firmemente con correas, cadenas, cables o cuerdas. Tanto la correa delantera como la trasera deben orientarse hacia abajo y hacia fuera respecto a la máquina (Figura 37).

Note: Consulte la Figura 38 para conocer el procedimiento.

Para remolcar la máquina, debe realizar el procedimiento siguiente para liberar el actuador del freno:
Accione el freno de estacionamiento.
Retire la llave y desconecte los conectores eléctricos principales.
Important: Si los conectores eléctricos principales están conectados durante el remolcado, pueden producirse daños eléctricos.
Si está instalado el Kit de tracción a 3 ruedas, desconecte los conectores del arnés de cables del kit del arnés de cables principal.
Important: Si los arneses de cables del kit y de la máquina están conectados durante el remolcado, pueden producirse daños eléctricos.
Calce ambos lados de las ruedas delanteras.
Alivie la tensión del muelle aflojando la tuerca que sujeta el cáncamo al soporte del muelle (Figura 38).
Retire el muelle.
Introduzca una llave de carraca (⅜") a través del taladro del soporte del brazo y empuje hacia dentro el eje del actuador.
Cuando el actuador quede libre del freno, las ruedas de la máquina pueden rotar libremente. Una máquina conducida a rueda libre puede causar lesiones graves a otras personas.
Si la máquina no se va a remolcar, ponga el freno de estacionamiento.
Haga que otra persona se siente en el asiento, abroche el cinturón de seguridad y utilice el freno mientras usted remolca la máquina.
Note: Esto garantiza que la máquina esté bajo control cuando se remolca.
Retire los calzos de los neumáticos.
Cuando la máquina esté preparada para ser remolcada, quite el freno de estacionamiento.
Utilice la horquilla de la rueda giratoria trasera para remolcar la máquina (Figura 39).
Important: No remolque la máquina a más de 5 km/h. Pueden dañarse los componentes eléctricos.

Después de remolcar la máquina al destino previsto, siga estos pasos:
Las baterías contienen altos voltajes que podrían causar quemaduras o descargas eléctricas.
No intente abrir las baterías.
Extreme la precaución al manejar una batería con la carcasa agrietada.
Utilice únicamente el cargador diseñado para las baterías.
Las baterías de ion litio contienen suficiente carga para realizar el trabajo previsto durante su vida útil. Durante los 4 primeros años de funcionamiento, el área total que puede segar con una sola carga es de 13.006 m2. Este rendimiento se basa en las condiciones siguientes:
Las cuchillas y contracuchillas de los molinetes están bien afiladas.
El contacto entre contracuchilla y molinete está ajustado según lo indicado en el Manual del operador.
El groomer está ajustado a la mitad de la altura de corte o más.
Los cepillos del rodillo trasero están ajustados al contacto más ligero posible.
Se necesita una distancia de transporte de 12,8 km.
El campo de golf en el que usted realiza trabajos está ligeramente ondulado.
Con el paso del tiempo, la cantidad total de trabajo que las baterías pueden completar con una sola carga disminuye paulatinamente.
Note: Los resultados pueden variar según la distancia que tenga que transportar la máquina, las ondulaciones que tenga que atravesar, el ajuste del contacto y el afilado de la contracuchilla y el molinete, y otros factores tratados en esta sección.
Para lograr la máxima duración y el máximo uso de las baterías, siga estas directrices:
No abra la batería.
Guarde/aparque la máquina en un garaje o almacén seco y limpio, alejado de la luz solar directa y otras fuentes de calor, la lluvia y la humedad en general. Consulte los requisitos de temperatura en Requisitos de almacenamiento de las baterías.
Si va a segar en condiciones de calor o con luz solar directa, la batería podría sobrecalentarse. Si esto ocurre, aparecerá una alerta de sobretemperatura en el InfoCenter. Con estas condiciones, la unidades de corte se desengranan y la máquina se ralentiza.
Lleve la máquina de inmediato a un lugar fresco, alejado del sol, apague la máquina y deje que las baterías se enfríen antes de reanudar la operación.
Ajuste el contacto de la contracuchilla y el molinete para que sea lo más ligero posible. Esto reduce la potencia necesaria para impulsar las unidades de corte y aumenta la cantidad de trabajo realizada por la máquina con cada carga. Consulte Comprobación del contacto molinete-contracuchilla.
Asegúrese de mantener bien afiladas las contracuchillas y los molinetes. Una cuchilla mal afilada aumenta el consumo de energía y reduce la cantidad de trabajo que realiza la máquina en cada carga.
Si está utilizando groomers, la altura de los groomers no debe ser superior a la mitad de la altura de corte. Si la altura de corte es superior a 1,27 cm, la altura del groomer no debe ser superior a 0,63 cm.
Ajuste el contacto del cepillo del rodillo trasero para que sea lo más ligero posible. Esto reduce la potencia necesaria para impulsar las unidades de corte y aumenta la cantidad de trabajo realizada por la máquina con cada carga.
Utilice las luces (si la máquina está equipada con el kit de luces) solo cuando sea necesario.
El Departamento de Transporte de EE. UU. y otras autoridades del transporte internacional requieren que las baterías de ion litio se transporten con un embalaje especial y a través de transportistas certificados para ello. En EE. UU., se permite transportar una batería si está instalada en la máquina como equipo a batería, con algunos requisitos legales. Póngase en contacto con el Departamento de Transporte de EE. UU. o con el organismo gubernamental correspondiente en su país para conocer las normativas detalladas sobre el transporte de las baterías o de la máquina con las baterías instaladas.
Para obtener información detallada sobre el transporte de una batería, póngase en contacto con su distribuidor autorizado Toro.
Consulte la Figura 40 para ver una descripción general de los cables y pantallas del cargador de la batería.

Para reducir el riesgo de descarga eléctrica, este cargador tiene una clavija de 3 patillas con toma de tierra (tipo B). Si la clavija no cabe en el receptáculo de la pared, se encuentran disponibles otros tipos de clavija con toma de tierra; póngase en contacto con un distribuidor autorizado Toro.
No modifique el cargador ni el enchufe del cable de alimentación de ninguna manera.
El contacto con agua mientras se carga la máquina podría causar descargas eléctricas y provocar lesiones o la muerte.
No manipule el enchufe ni el cargador con las manos mojadas o con los pies en contacto con el agua.
No cargue las baterías bajo la lluvia o en condiciones húmedas.
Important: Compruebe periódicamente el cable de fuente de alimentación por si presenta orificios o grietas en el aislamiento. No utilice un cable dañado. No deje que el cable pase por zonas de agua o hierba mojada.
Inserte el enchufe del cargador del cable de fuente de alimentación en el conector de entrada correspondiente en el cargador.
Un cable de cargador dañado puede producir una descarga eléctrica o un incendio.
Inspeccione detenidamente el cable de fuente de alimentación antes de usar el cargador. Si el cable está dañado, no utilice el cargador hasta que tenga un cable de repuesto.
Inserte el extremo del enchufe del cable de fuente de alimentación en una toma eléctrica con toma de tierra.
Intentar cargar las baterías con un cargador que no sea el suministrado por Toro puede producir un calor excesivo y otros funcionamientos deficientes del producto, lo que podría provocar daños en la propiedad y/o lesiones.
Utilice el cargador facilitado por Toro para cargar las baterías.
Intervalo de temperaturas recomendado para la carga: 0° a 45 °C
Important: Cargue las baterías únicamente a temperaturas que estén dentro del intervalo recomendado.
Note: El cargador no funcionará en temperaturas que no estén entre la temperatura mínima y la máxima.
Aparque la máquina en el lugar designado para la carga.
Accione el freno de estacionamiento y mueva el interruptor de control de funciones a la posición de PUNTO MUERTO.
Asegúrese de que las unidades de corte están desengranadas y bájelas al suelo.
Apague el motor y retire la llave.
Desconecte la alimentación de la máquina separando los conectores eléctricos principales; consulte Conectores eléctricos principales.
Asegúrese de que los conectores no tienen polvo ni residuos.
Levante la tapa del conector y enchufe el conector de salida del cargador en el conector del cargador de la máquina (Figura 41).
Note: El conector de la máquina está situado debajo del conector de alimentación principal que está fijado a la máquina.

Conecte el cable de alimentación del cargador a una fuente de alimentación; consulte Conexión a un suministro eléctrico
Observe el cargador para garantizar que las baterías se están cargando.
Note: Puede conectar los conectores eléctricos principales para ver en el InfoCenter el porcentaje de carga y el amperaje actual de la batería; consulte Supervisión del proceso de carga y solución de problemas.El cargador también se enciende con una luz verde durante la carga de la máquina.
Desconecte el cargador cuando la máquina llegue a un nivel suficiente; consulte Finalización del proceso de carga
El InfoCenter muestra el porcentaje de carga y el amperaje de la batería.
Primero se cargan las baterías con voltaje más bajo; una vez que alcanzan el voltaje de las demás baterías, todas las baterías se cargan simultáneamente.
Cuando la carga haya finalizado, la pantalla del InfoCenter de la máquina muestra 10 barras fijas.

Si hay un fallo, aparecerá un mensaje de error en el InfoCenter.
Para corregir un error, consulte el Manual de mantenimiento de la máquina. Si el problema no se corrige con ninguna de estas soluciones, póngase en contacto con un distribuidor autorizado Toro.
Cuando la carga está completa, el indicador de carga de la batería cambia a verde fijo y el indicador de salida de carga desaparece.
Desconecte el conector del cargador del conector de la máquina.
Coloque el conector del cargador y el cable en una posición de almacenamiento que evite daños.
Asegúrese de que los conectores eléctricos principales están limpios.
Conecte los conectores eléctricos principales; consulte Conectores eléctricos principales.
Encienda la máquina; consulte Encendido de la máquina.
Compruebe el nivel de carga; consulte Uso de la pantalla del InfoCenter.
Cualquier modificación de la máquina, las piezas o los accesorios originales puede afectar a la garantía, la capacidad de control y la seguridad de la máquina. La realización de modificaciones no autorizadas en la máquina original o el uso de piezas que no sean piezas genuinas Toro podría causar lesiones graves o la muerte.
No haga modificaciones no autorizadas a la máquina, las piezas o a los accesorios.
Utilice solamente piezas genuinas Toro.
Antes de dejar el puesto del operador, realice lo siguiente:
Aparque la máquina en una superficie nivelada.
Mueva el interruptor de control de funciones a la posición de PUNTO MUERTO.
Asegúrese de que las unidades de corte están desengranadas y bájelas al suelo.
Accione el freno de estacionamiento.
Apague el motor y retire la llave.
Espere a que se detenga todo movimiento.
Deje que los componentes de la máquina se enfríen antes de realizar el mantenimiento.
La máquina solo debe ser revisada o reparada por técnicos autorizados.
Desconecte los conectores eléctricos principales antes de realizar cualquier tarea de mantenimiento.
Si es posible, no realice tareas de mantenimiento con la máquina en marcha. Manténgase alejado de las piezas en movimiento.
Apoye la máquina con caballetes siempre que trabaje debajo de la máquina.
Alivie con cuidado la tensión de aquellos componentes que tengan energía almacenada.
Mantenga todas las piezas en buen estado de funcionamiento y todos los herrajes bien apretados.
Sustituya cualquier calcomanía desgastada o deteriorada.
Para garantizar un rendimiento seguro y óptimo de la máquina, utilice únicamente piezas de repuesto genuinas Toro. Las piezas de repuesto de otros fabricantes podrían ser peligrosas y su uso podría invalidar la garantía del producto.
| Intervalo de mantenimiento y servicio | Procedimiento de mantenimiento |
|---|---|
| Después de las primeras 8 horas |
|
| Cada vez que se utilice o diariamente |
|
| Cada 50 horas |
|
| Cada 200 horas |
|
| Cada 800 horas |
|
Duplique esta página para su uso rutinario.
| Elemento a comprobar | Para la semana de: | ||||||
|---|---|---|---|---|---|---|---|
| Lun. | Mar. | Miér. | Jue. | Vie. | Sáb. | Dom. | |
| Compruebe el funcionamiento de los interruptores de seguridad. | |||||||
| Compruebe la operación de los instrumentos. | |||||||
| Compruebe el funcionamiento de los frenos. | |||||||
| Compruebe la presión de los neumáticos. | |||||||
| Compruebe el contacto molinete-contracuchilla. | |||||||
| Compruebe el ajuste de altura de corte. | |||||||
| Retoque cualquier pintura dañada. | |||||||
| Lave la máquina. | |||||||
| Anotación para áreas problemáticas: | ||
| Inspección realizada por: | ||
| Elemento | Fecha | Información |
Los gatos mecánicos o hidráulicos pueden no aguantar el peso de la máquina y pueden dar lugar a lesiones graves.
Utilice caballetes para apoyar la máquina una vez elevada.
Utilice únicamente gatos mecánicos o hidráulicos para elevar la máquina.
Coloque un gato en el punto de apoyo deseado (Figura 43):
Peldaño en el lado izquierdo de la máquina
Soporte del gato en el lado derecho de la máquina
Horquilla de la rueda giratoria en la parte trasera de la máquina

Después de elevar la máquina, utilice un caballete apropiado debajo de las zonas siguientes para apoyar la máquina (Figura 44):
Soporte del gato en la parte trasera de la máquina
Soportes de giro de las unidades de corte en la parte delantera de la máquina

Desconecte los conectores eléctricos principales antes de reparar la máquina.
Cargue la batería en una zona abierta y bien ventilada, lejos de chispas y llamas. Desenchufe el cargador antes de conectar o desconectar la batería. Lleve ropa protectora y utilice herramientas aisladas.
Los conectores eléctricos principales proporcionan energía eléctrica desde las baterías a la máquina. Separe los conectores para desconectar la corriente; Junte los conectores para conectar la corriente. Consulte Conectores eléctricos principales.
Los fusibles del sistema eléctrico de 60 V están situados debajo del asiento (Figura 46).

Los fusibles del circuito de transmisión del molinete están situados debajo de la cubierta del lado izquierdo de la máquina. Para acceder al bloque de fusibles, retire la cubierta izquierda y la tapa del bloque de fusibles (Figura 49).

Consulte en la Figura 50 la descripción de cada fusible de la pegatina del bloque de fusibles:

El fusible que protege el programador de precarga se encuentra ubicado en su propio soporte en el arnés de cables de la máquina a la izquierda del conjunto de baterías central (trasero) (Figura 51).

Los fusibles del motor de la rueda derecha (60 A) están situados debajo del asiento (Figura 52).

El fusible del motor de la rueda izquierda (60 A) está situado debajo de la cubierta del lado izquierdo de la máquina, cerca de los fusibles del circuito de transmisión del molinete (Figura 53).

El fusible del sistema eléctrico está situado debajo de los conectores eléctricos principales (Figura 54).

Note: La máquina está equipada con 5 baterías de ion litio.
Una batería de ion litio debe eliminarse o reciclarse según las normativas locales y federales aplicables. Si es necesario reparar una batería, póngase en contacto con su distribuidor Toro autorizado para obtener asistencia.
Las únicas piezas de la batería susceptibles de mantenimiento por el usuario son las etiquetas. Si intenta abrir el compartimento principal de una batería, anulará la garantía. Si tiene problemas con una batería, póngase en contacto con su distribuidor Toro autorizado para obtener ayuda.
Important: Todas las reparaciones eléctricas deben ser realizadas únicamente por un concesionario autorizado Toro.
El cargador requiere poco mantenimiento aparte de protegerlo de daños y condiciones meteorológicas adversas.
Limpie los cables y la carcasa del cargador de baterías con un trapo ligeramente humedecido después de cada uso.
Note: No limpie la grasa dieléctrica de los terminales.
Enrolle los cables cuando no se estén utilizando.
Examine periódicamente los cables en busca de daños y sustitúyalos cuando sea necesario con piezas aprobadas por Toro.
| Intervalo de mantenimiento y servicio | Procedimiento de mantenimiento |
|---|---|
| Cada vez que se utilice o diariamente |
|
Varíe la presión de las 3 ruedas, dependiendo de las condiciones del césped, desde un mínimo de 0,83 bar a un máximo de 1,10 bar.
Important: Asegúrese de que la presión de los neumáticos en cada rueda es idéntica. Si la presión de los neumáticos en cada rueda es distinta, afectará al rendimiento de la máquina.
| Intervalo de mantenimiento y servicio | Procedimiento de mantenimiento |
|---|---|
| Después de las primeras 8 horas |
|
| Cada 200 horas |
|
Si no se mantienen correctamente apretadas las tuercas de las ruedas, podrían producirse lesiones personales.
Apriete las tuercas de las ruedas al par especificado en los intervalos especificados.
Especificación del par de apriete de las tuercas de las ruedas: 108–122 N·m
Para asegurar una distribución uniforme, apriete las tuercas de las ruedas en el patrón indicado en Figura 55.

| Intervalo de mantenimiento y servicio | Procedimiento de mantenimiento |
|---|---|
| Después de las primeras 8 horas |
|
| Cada 800 horas |
|
Especificación del fluido: SAE 80W90
Capacidad de aceite de la caja de engranajes: aproximadamente 384 ml
Eleve la máquina; consulte Elevación de la máquina.
Important: La máquina debe estar nivelada para poder añadir la cantidad correcta de fluido a la caja de engranajes.Asegúrese de que la máquina está nivelada sobre los caballetes.
Realice los pasos siguientes para retirar los neumáticos izquierdo y derecho:
Afloje y retire las tuercas de las ruedas (Figura 56).

Retire los neumáticos derecho e izquierdo.
Coloque un recipiente debajo del conjunto del motor de rueda (Figura 57).

Retire el tapón del orificio de vaciado (Figura 57).
Note: El orificio de vaciado está situado en la parte inferior de la caja de engranajes.
Note: Deje que el aceite se vacíe por completo de la caja de engranajes.
Limpie el tapón.
Instale el tapón de vaciado en el orificio de vaciado (Figura 57).
Retire la manguera de ventilación y el acoplamiento de la parte superior de la caja de engranajes (Figura 58).

Llene la caja de engranajes con 384 ml de fluido del tipo especificado a través del orificio de llenado.
Instale la manguera de ventilación y el acoplamiento en el orificio de llenado (Figura 58).
Realice los pasos siguientes para instalar los neumáticos:
Deslice los neumáticos derecho e izquierdo sobre los cubos de las ruedas.
Instale las tuercas de las ruedas (Figura 56).
Apriete las tuercas de las ruedas al par especificado indicado en Comprobación del par de apriete de las tuercas de las ruedas.
Si el freno no inmoviliza la máquina mientras está aparcada, puede ajustar los frenos; póngase en contacto con su distribuidor autorizado Toro o consulte el Manual de mantenimiento si desea más información.
Una cuchilla o una contracuchilla desgastada o dañada puede romperse, y un trozo de la cuchilla podría ser arrojado hacia usted u otra persona, lo que puede provocar lesiones personales graves o la muerte.
Inspeccione periódicamente las cuchillas y las contracuchillas, para asegurarse de que no presentan un desgaste excesivo ni daños.
Tenga cuidado al comprobar las cuchillas. Lleve guantes y extreme las precauciones durante su mantenimiento. Las cuchillas y las contracuchillas solo se pueden cambiar o afilar; no las enderece ni las suelde nunca.
En máquinas con múltiples unidades de corte, tenga cuidado al girar una unidad de corte, ya que puede hacer que giren los molinetes en las otras unidades de corte.
Note: Cuando las unidades de corte no están conectadas a la máquina, guarde los motores de los molinetes de las unidades de corte en su lugar de almacenamiento en la parte delantera de los brazos de suspensión para evitar dañarlos.
Important: No eleve la suspensión a la posición de transporte cuando los motores del molinete están en los soportes del bastidor de la máquina. Podrían dañarse los motores o los manguitos.
Important: Cuando sea necesario inclinar la unidad de corte, apoye la parte trasera de la unidad de corte para asegurarse de que las tuercas de los tornillos de ajuste de la barra de asiento no estén apoyadas en la superficie de trabajo (Figura 59).

Es necesario bajar la suspensión para instalar las unidades de corte. Realice los pasos siguientes para bajar la suspensión:
Aparque la máquina en una superficie limpia y nivelada.
Ponga el interruptor de control de funciones en la posición de PUNTO MUERTO.
Introduzca la llave en el interruptor y gírela a la posición de CONECTADO.
Baje la suspensión usando el joystick de elevación/bajada.
Accione el freno de estacionamiento, apague la máquina y retire la llave.
Realice los pasos siguientes para instalar las unidades de corte:
Desconecte los conectores eléctricos principales; consulte Conectores eléctricos principales.
Si no desconecta la corriente de la máquina, alguien podría arrancar accidentalmente las unidades de corte, causando graves lesiones en las manos y los pies.
Desconecte siempre los conectores eléctricos principales antes de trabajar en las unidades de corte.
Levante el reposapiés y gírelo hacia arriba, para tener acceso a la posición de la unidad de corte central (Figura 60).
El reposapiés puede atrapar los dedos si se cae y se cierra.
Mantenga los dedos alejados de la zona de asiento del reposapiés mientras esté abierto.

Coloque la unidad de corte debajo del brazo de suspensión central.
Abra los enganches de la barra del brazo de suspensión (Figura 61) y empuje hacia abajo el brazo de suspensión hasta que la barra encaje sobre ambos brazos de inclinación de la unidad de corte, y asegúrese de que los cierres pasan por debajo del travesaño de la unidad de corte (Figura 62).


Presione los enganches hacia abajo alrededor de la barra de la unidad de corte y bloquéelas (Figura 61).
Note: Puede escuchar y sentir un “clic” cuando los enganches se cierren y bloqueen correctamente.
Cubra el eje acanalado del motor de la unidad de corte con grasa limpia (Figura 63).
Introduzca el motor en el lado izquierdo de la unidad de corte (visto desde el puesto del operador) y tire de la barra de retención del motor en la unidad de corte hacia el motor hasta que oiga un “clic” en ambos lados del motor (Figura 63).

Monte un recogedor en los ganchos del brazo de suspensión.
Repita el procedimiento en las otras unidades de corte.
Conecte los conectores eléctricos principales; consulte Conectores eléctricos principales.
Aparque la máquina en una superficie limpia y nivelada, ponga el interruptor de control de funciones en la posición de PUNTO MUERTO y utilice el joystick de elevación/bajada para bajar las unidades de corte.
Accione el freno de estacionamiento, apague la máquina y retire la llave.
Desconecte los conectores eléctricos principales; consulte Conectores eléctricos principales.
Si no desconecta la corriente de la máquina, alguien podría arrancar accidentalmente las unidades de corte, causando graves lesiones en las manos y los pies.
Desenchufe siempre los conectores eléctricos principales antes de trabajar en las unidades de corte.
Retire la barra de retención del motor de las ranuras del motor, hacia la unidad de corte, y retire el motor de la unidad de corte.

Mueva el motor al lugar de almacenamiento en la parte delantera del brazo de suspensión (Figura 65).

Note: Antes de afilar, ajustar la altura de corte o realizar otros procedimientos de mantenimiento sobre las unidades de corte, guarde los motores de los molinetes de las unidades de corte en el lugar de almacenamiento situado en la parte delantera de los brazos de suspensión para evitar que se dañen.
Important: No eleve la suspensión a la posición de transporte cuando los motores del molinete están en los soportes del bastidor de la máquina. Podrían dañarse los motores o los cables. Si es necesario trasladar la unidad de tracción sin tener instaladas las unidades de corte, sujételas a los brazos de suspensión usando bridas.
Abra los enganches de la barra del brazo de suspensión de la unidad de corte que está retirando (Figura 61).
Desconecte los enganches de la barra de la unidad de corte.
Retire la unidad de corte de debajo del brazo de suspensión.
Repita los pasos 4 a 8 en las demás unidades de corte.
Conecte los conectores eléctricos principales; consulte Conectores eléctricos principales.
| Intervalo de mantenimiento y servicio | Procedimiento de mantenimiento |
|---|---|
| Cada vez que se utilice o diariamente |
|
Cada día, antes de usar la máquina, compruebe el contacto entre el molinete y la contracuchilla, aunque anteriormente la calidad de corte haya sido aceptable. Debe haber un contacto ligero en toda la longitud del molinete y la contracuchilla; consulte el Manual del operador de la unidad de corte.
Antes de comprobar los molinetes, desconecte los conectores eléctricos principales; consulte Conectores eléctricos principales. Cuando haya terminado, vuélvalos a conectar.
El contacto con las contracuchillas, las cuchillas de los molinetes u otras piezas en movimiento puede causar lesiones personales.
Mantenga los dedos, las manos y la ropa alejados de las contracuchillas, las cuchillas de los molinetes y las piezas en movimiento.
No intente nunca girar los molinetes con la mano o con el pie con la máquina en marcha.
Aparque la máquina en una superficie nivelada, baje las unidades de corte, mueva el interruptor de control de funciones a la posición de PUNTO MUERTO, accione el freno de estacionamiento, apague la máquina y retire la llave.
Realice los ajustes iniciales de molinete a contracuchilla apropiados para el autoafilado en todas las unidades de corte que se vayan a autoafilar; consulte el Manual del operador de la unidad de corte.
Introduzca la llave en el interruptor y encienda la máquina.
En el control de InfoCenter, en el menú MANTENIMIENTO, seleccione AUTOAFILADO.
Ajuste AUTOAFILADO en CONECTADO.
Vaya al Menú principal y desplácese hasta Ajustes.
En el menú AJUSTES, vaya a VELOCIDAD DE AUTOAFILADO y utilice el botón ± para establecer la velocidad de autoafilado que desee.
Con el interruptor de control de funciones en la posición de PUNTO MUERTO, mueva el joystick de elevación/bajada hacia adelante para iniciar la operación de autoafilado en los molinetes seleccionados.
Aplique pasta de autoafilado con un cepillo de mango largo. No utilice nunca una brocha de mango corto.
Si los molinetes se atascan o si la velocidad no es estable durante el autoafilado, seleccione una velocidad más alta hasta que la velocidad se estabilice.
Para ajustar las unidades de corte durante el autoafilado, pare los molinetes moviendo hacia atrás el joystick de elevación/bajada y, a continuación, apague la máquina. Una vez completados los ajustes, repita los pasos3 a 9.
Repita el procedimiento para todas las unidades de corte que desea autoafilar.
Cuando acabe, vuelva a ajustar en el InfoCenter el ajuste de AUTOAFILADO a DESCONECTADO o bien gire la llave a la posición de DESCONECTADO para que la máquina vuelva a la operación de corte hacia delante.
Lave las unidades de corte para eliminar toda la pasta de autoafilado. Ajuste el molinete de la unidad de corte a la contracuchilla según sea necesario. Mueva el control de velocidad de los molinetes de la unidad de corte a la posición de siega deseada.
Important: No utilice agua a alta presión para limpiar las unidades de corte. Pueden dañarse los cojinetes y las juntas.
Si desea almacenar la máquina durante un periodo de tiempo prolongado, realice los pasos indicados en Preparación de la máquina para el almacenamiento.
Baje las unidades de corte, accione el freno de estacionamiento, apague la máquina, retire la llave y espere a que se detenga todo movimiento antes de dejar el puesto del operador. Deje que la máquina se enfríe antes de realizar ajustes, tareas de mantenimiento y de limpieza o de guardarla.
No guarde la máquina en un lugar donde pudiera haber una llama desnuda, chispas o una llama piloto, por ejemplo en un calentador de agua u otro electrodoméstico.
Guarde la máquina en un lugar seco dentro de un edificio, fuera del alcance de los niños y alejada de la luz solar directa.
Apague siempre la máquina, retire la llave, espere a que se detengan todas las piezas en movimiento y deje que la máquina se enfríe antes de ajustarla, limpiarla, guardarla o repararla.
Retire cualquier acumulación de suciedad y recortes de hierba. Afile los molinetes y las contracuchillas, si es necesario; consulte el Manual del operador de la unidad de corte. Unte las contracuchillas y las cuchillas de los molinetes con un anticorrosivo.
Eleve y apoye la máquina para que su peso no descanse sobre los neumáticos.
Para un almacenamiento prolongado, observe los requisitos de almacenamiento de las baterías; consulte Requisitos de almacenamiento de las baterías.
Note: No es necesario retirar las baterías de la máquina para su almacenamiento.
Consulte en la tabla siguiente los límites de la temperatura de almacenamiento:
| Temperatura de almacenamiento: | Tiempo de almacenamiento indicado |
| 45 °C a 55 °C | 1 semana |
| 25 °C a 45 °C | 3 semanas |
| -20 °C a 25 °C | 52 semanas |
Important: Si la temperatura está fuera de estos rangos se dañarán las baterías.La temperatura de almacenamiento de las baterías afectará a su vida útil a largo plazo. Un almacenamiento durante periodos prolongados de tiempo a temperaturas extremas reducirá la vida de la batería. En temperaturas superiores a 25 °C, almacene la máquina únicamente durante el tiempo indicado en la tabla.
Antes de almacenar la máquina, cargue o descargue las baterías hasta que estén entre el 40 % y el 60 % (54,3 V a 57,3 V).
Note: Una carga del 50 % es óptima para asegurar la máxima vida de la batería. Si las baterías se cargan al 100 % antes del almacenamiento, se acorta su vida útil.Si se prevé un almacenamiento más largo de la máquina, cargue las baterías al 60 % aproximadamente.
Cada 6 meses de almacenamiento, compruebe el nivel de carga de la batería y asegúrese de que está entre el 40 % y el 60 %. Si la carga es inferior al 40 %, cargue las baterías entre el 40 % y el 60 %.
Puede utilizar un multímetro para comprobar el nivel de carga con la máquina apagada. La tabla siguiente muestra el voltaje que equivale a cada nivel de carga:
| Voltaje | Nivel de carga |
| 57,3 V | 60 % |
| 55,4 V | 50% |
| 54,3 V | 40 % |
Después de cargar las baterías, desconecte el cargador de baterías de la toma de corriente. Desconecte el conector eléctrico durante el almacenamiento para minimizar la descarga de las baterías.
Si se deja el cargador en la máquina, se apagará cuando las baterías estén completamente cargadas y no se encenderá de nuevo a menos que el cargador se desconecte y se vuelva a conectar.
Desconecte la alimentación eléctrica de la máquina; consulte Desconexión o conexión de la corriente eléctrica a la máquina.
Desconecte el cable de alimentación eléctrica del cargador y enróllelo firmemente.
Examine detenidamente el cable de alimentación eléctrica en busca de señales de desgaste o daños. Cámbielo si está desgastado o dañado.
Examine detenidamente el cargador en busca de piezas desgastadas, sueltas o dañadas. Para reparar o cambiar piezas, póngase en contacto con su distribuidor autorizado Toro si necesita ayuda.
Guarde el cargador junto con el cable de alimentación eléctrica en un lugar limpio y seco, protegido de golpes y daños y exento de vapores cáusticos.