Wartung
Note: Bestimmen Sie die linke und rechte Seite der Maschine anhand der normalen Sitz- und Bedienposition.
Wartungssicherheit
Achtung
Wenn Sie den Schlüssel im Zündschloss stecken lassen, könnte eine andere Person den Motor versehentlich starten und Sie und Unbeteiligte schwer verletzen.
Ziehen Sie den Schlüssel aus dem Zündschloss, bevor Sie Wartungsarbeiten durchführen.
-
Parken Sie die Maschine auf einer ebenen Fläche, kuppeln die Hilfshydraulik aus, senken das Anbaugerät ab, stellen Sie sicher, dass die Feststellbremse aktiviert ist, schalten Sie die Maschine aus und ziehen Sie den Schlüssel ab. Lassen Sie vor dem Einstellen, Reinigen, Einlagern und Reparieren alle beweglichen Teile zum Stillstand kommen und die Maschine abkühlen.
-
Die Maschine sollte nie von ungeschulten Personen gewartet werden.
-
Stützen Sie die Teile bei Bedarf mit Stützböcken ab.
-
Lassen Sie den Druck aus Maschinenteilen mit gespeicherter Energie vorsichtig ab, siehe Entlasten des Hydraulikdrucks.
-
Klemmen Sie vor dem Durchführen jeglicher Reparaturen die Batterie ab, siehe Verwenden des Batterietrennschalters.
-
Berühren Sie keine beweglichen Teile mit den Händen und Füßen. Bei eingeschalteter Maschine sollten keine Einstellungen vorgenommen werden.
-
Alle Teile müssen sich in gutem Zustand befinden, und alle Befestigungsteile müssen festgezogen sein. Ersetzen Sie abgenutzte und beschädigte Aufkleber.
-
Modifizieren Sie keine Sicherheitseinrichtungen.
-
Verwenden Sie nur Originalanbaugeräte von Toro. Anbaugeräte können die Stabilität und Betriebsmerkmale der Masche ändern. Wenn Sie die Maschine mit nicht zugelassenen Anbaugeräten verwenden, können Sie die Garantie ungültig machen.
-
Verwenden Sie nur Originalersatzteile von Toro.
-
Wenn die Hubarme für Wartungs- oder Reparaturarbeiten angehoben werden müssen, befestigen Sie die Hubarme in der angehobenen Stellung mit den Hydraulikzylinder-Schlössern.
-
Beachten Sie die örtlichen Vorschriften zur sicheren Wartung der Maschine und bringen Sie ein Warnschild am Bedienfeld an, um andere über die laufende Wartung zu informieren.
Empfohlener Wartungsplan
| Wartungsintervall | Wartungsmaßnahmen |
|---|---|
| Nach acht Betriebsstunden |
|
| Nach 50 Betriebsstunden |
|
| Bei jeder Verwendung oder täglich |
|
| Alle 25 Betriebsstunden |
|
| Alle 50 Betriebsstunden |
|
| Alle 100 Betriebsstunden |
|
| Alle 400 Betriebsstunden |
|
| Alle 500 Betriebsstunden |
|
| Alle 1000 Betriebsstunden |
|
| Alle 1500 Stunden oder 2 Jahre, je nachdem, was zuerst eintritt |
|
| Jährlich oder vor der Einlagerung |
|
Verfahren vor dem Ausführen von Wartungsarbeiten
Verwenden der Zylinderschlösser
Warnung:
Die Hubarme können sich bei angehobener Stellung absenken und Personen zerquetschen.
Installieren Sie die Zylinderschlösser, bevor Sie eine Wartungsarbeit durchführen, bei der die Hubarme angehoben sein müssen.
Montieren der Zylinderschlösser
-
Entfernen Sie das Anbaugerät.
-
Heben Sie die Hubarme ganz an.
-
Stellen Sie den Motor ab und ziehen den Zündschlüssel ab.
-
Bringen Sie über jeder Hubzylinderstange ein Zylinderschloss an.

-
Sichern Sie jedes Zylinderschloss mit zwei Stiften.
-
Senken Sie die Hubarme langsam ab, bis das Zylinderschloss das Zylindergehäuse und die Stangenenden berührt.
Entfernen und Lagern der Zylinderschlösser
Important: Nehmen Sie die Zylinderschlösser von der Stange ab und befestigen Sie sie in der Lagerungsstellung, bevor Sie die Maschine verwenden.
-
Starten Sie die Maschine.
-
Heben Sie die Hubarme ganz an.
-
Stellen Sie den Motor ab und ziehen den Zündschlüssel ab.
-
Entfernen Sie die Stifte, mit denen jedes Zylinderschloss gesichert ist.
-
Nehmen Sie die Zylinderschlösser ab.
-
Bringen Sie die Zylinderschlösser an den Streben an den Seiten der Maschine an und befestigen sie mit den Stiften.
-
Senken Sie die Hubarme ab.
Zugang zu internen Teilen
Warnung:
Wenn Sie Abdeckungen, Hauben oder Gitter öffnen oder abnehmen, während die Maschine in Betrieb ist, können Sie ggf. bewegliche Teile berühren und schwer verletzt werden.
Schalten Sie vor dem Öffnen der Abdeckungen, Hauben und Gitter die Maschine aus, ziehen Sie den Schlüssel aus dem Schalter ab und lassen Sie die Maschine abkühlen.
Lösen des hinteren Polsters
-
Stellen Sie die Maschine auf einer ebenen Fläche ab.
-
Stellen Sie die Maschine ab, ziehen Sie den Schlüssel ab und warten Sie, bis alle rotierenden Teile zum Stillstand gekommen sind.
-
Senken Sie die Plattform ab.
-
Lösen Sie die Knöpfe an jeder Seite des Polsters.

-
Senken Sie das Polster auf die Plattform ab.

-
Führen Sie die Wartungs- und Einstellarbeiten durch.
-
Heben Sie das Kissen an und schieben es an beiden Seiten der Maschine auf die Splints.
-
Ziehen Sie die Knöpfe fest.
Abnehmen der hinteren Abdeckung
-
Stellen Sie die Maschine auf einer ebenen Fläche ab.
-
Stellen Sie die Maschine ab, ziehen Sie den Schlüssel ab und warten Sie, bis alle rotierenden Teile zum Stillstand gekommen sind.
-
Senken Sie die Plattform ab.
-
Lösen Sie das hintere Polster.
-
Entfernen Sie die Schrauben, mit denen die hintere Abdeckung befestigt ist und entfernen die Abdeckung.

Schmierung
Einfetten der Maschine
| Wartungsintervall | Wartungsmaßnahmen |
|---|---|
| Bei jeder Verwendung oder täglich |
|
Schmierfettsorte: Allzweckschmierfett
-
Parken Sie die Maschine auf einer ebenen Fläche und senken Sie die Hubarme ab.
-
Stellen Sie den Motor ab und ziehen den Zündschlüssel ab.
-
Reinigen Sie die Schmiernippel mit einem Lappen.
-
Bringen Sie die Fettpresse an jedem Nippel an.

-
Pumpen Sie Fett in die Schmiernippel, bis das Fett beginnt, aus den Lagern auszutreten (ungefähr drei Pumpstöße).
-
Wischen Sie überflüssiges Fett ab.
Warten der elektrischen Anlage
Hinweise zur Sicherheit der Elektroanlage
-
Klemmen Sie vor dem Durchführen jeglicher Reparaturen die Batterie ab, siehe Verwenden des Batterietrennschalters.
-
Laden Sie die Batterie in offenen, gut gelüfteten Bereichen und nicht in der Nähe von Funken und offenem Feuer. Stecken Sie das Ladegerät aus, ehe Sie die Batterie anschließen oder abklemmen. Tragen Sie Schutzkleidung und verwenden Sie isoliertes Werkzeug.
-
Batteriesäure ist giftig und kann chemische Verbrennungen verursachen. Vermeiden Sie den Kontakt mit der Haut, mit Augen und Kleidungsstücken. Schützen Sie beim Umgang mit der Batterie das Gesicht, die Augen und Kleidung.
-
Batteriegase können explodieren. Halten Sie Zigaretten, Funken und offenes Licht von der Batterie fern.
Verwenden des Batterietrennschalters
-
Parken Sie die Maschine auf einer ebenen Fläche und senken Sie die Hubarme ab.
-
Stellen Sie den Motor ab und ziehen den Zündschlüssel ab.
-
Stellen Sie den Trennschalter der Batterie auf die EIN- oder AUS-Stellung.
-
Drehen Sie den Akkutrennschalter nach rechts in die EIN-Stellung, um die Maschine mit Strom zu versorgen.
-
Drehen Sie den Batterietrennschalter nach links in die AUS-Stellung, um die Stromzufuhr zur Maschine zu unterbrechen.

-
Wartung des Blei-Säure-Akkus
| Wartungsintervall | Wartungsmaßnahmen |
|---|---|
| Alle 50 Betriebsstunden |
|
Entfernen der Batterie
Warnung:
Das unsachgemäße Verlegen der Batteriekabel kann zu Schäden an der Maschine und den Kabeln führen und Funken erzeugen. Funken können zum Explodieren der Batteriegase führen, was zum Tod oder zu schweren Verletzungen führen kann.
Trennen Sie immer das Minuskabel (Schwarz) ab, bevor Sie das Pluskabel (Rot) abtrennen.
-
Parken Sie die Maschine auf einer ebenen Fläche und senken Sie die Hubarme ab.
-
Stellen Sie den Motor ab und ziehen den Zündschlüssel ab.
-
Entfernen Sie die obere Abdeckung.

-
Klemmen Sie das Minuskabel (schwarz, Masse) vom Batteriepol ab. Bewahren Sie die Befestigungen auf.

-
Schieben Sie die Gummiabdeckung vom Pluskabel (Rot).
-
Klemmen Sie das Pluskabel (Rot) vom Batteriepol ab. Bewahren Sie die Befestigungen auf.
-
Entfernen Sie die Akkuklemme.
-
Entfernen Sie die Batterie.
Aufladen der Batterie
Warnung:
Beim Aufladen der Batterie entstehen Gase, die explodieren können, was zum Tod oder zu schweren Verletzungen führen kann.
Rauchen Sie nie in der Nähe der Batterie und halten Sie Funken und offenes Feuer von der Batterie fern.
Important: Halten Sie die Batterie immer vollständig geladen (Dichte 1,265). Dies ist besonders wichtig zum Verhüten von Batterieschäden, wenn die Temperatur unter 0 °C fällt.
-
Nehmen Sie die Batterie aus der Maschine, siehe Entfernen der Batterie.
-
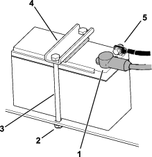
Laden Sie die Batterie für vier bis acht Stunden mit 3-4 Ampere auf (Bild 38). Überladen Sie die Batterie nicht.

-
Wenn die Batterie voll geladen ist, ziehen Sie den Stecker des Ladegeräts aus der Dose. Klemmen Sie dann die Klemmen des Ladegeräts von den Batteriepolen ab (Bild 38).
Reinigen der Batterie
Note: Halten Sie die Klemmen und das ganze Batteriegehäuse sauber, um die Lebensdauer der Batterie zu verlängern.
-
Parken Sie die Maschine auf einer ebenen Fläche, senken Sie die Hubarme ab und aktivieren Sie die Feststellbremse.
-
Stellen Sie den Motor ab und ziehen Sie den Schlüssel ab.
-
Nehmen Sie die Batterie aus der Maschine heraus; Entfernen der Batterie.
-
Reinigen Sie das ganze Gehäuse mit Natronlauge.
-
Spülen Sie die Batterie mit frischem Wasser nach.
-
Tragen Sie auf die Batteriepole und Kabelanschlüsse Grafo-112X-Fett oder Vaseline auf, um Korrosion vorzubeugen.
-
Setzen Sie die Batterie ein, siehe Einsetzen der Batterie.
Einsetzen der Batterie
Warnung:
Das unsachgemäße Verlegen der Batteriekabel kann zu Schäden an der Maschine und den Kabeln führen und Funken erzeugen. Funken können zum Explodieren der Batteriegase führen, was zum Tod oder zu schweren Verletzungen führen kann.
Schließen Sie immer das Pluskabel (Rot) an, bevor Sie das Minuskabel (Schwarz) anschließen.
-
Setzen Sie den Akku auf das Akkufach und befestigen sie ihn mit der Akkuklemme.

-
Befestigen Sie das Pluskabel (rot) der Batterie mit den vorher entfernten Befestigungen am Pluspol (+) der Batterie.
-
Schieben Sie die rote Polkappe über den Pluspol der Batterie.
-
Schließen Sie das Minuskabel (Schwarz) der Batterie mit den vorher entfernten Befestigungen am Minuspol (-) der Batterie an.
-
Montieren Sie die obere Abdeckung.

Warten oder Austauschen der Batterie
Die Originalbatterie ist wartungsfrei und muss nicht gewartet werden. Lesen Sie für die Wartung einer Ersatzbatterie die Anweisungen des Herstellers.
Wartung von Lithium-Ionen-Akkus
Note: Die Maschine ist mit 10 Lithium-Ionen-Akkus ausgestattet.
Ein Lithium-Ionen-Akku muss gemäß lokalen und bundesweiten Gesetzen entsorgt bzw. der Wiederverwertung zugeführt werden. Wenn ein Akku gewartet werden muss, wenden Sie sich an Ihren autorisierten Service-Vertragshändler.
Öffnen Sie den Akku nicht. Wenn Sie Probleme mit dem Akku haben, wenden Sie sich an Ihren autorisierten Service-Vertragshändler.
Warten von Lithium-Ionen-Akkus
Warnung:
Die Akkus stehen unter hoher Spannung, die zu Verbrennungen oder einem Stromschlag führen kann.
-
Versuchen Sie nie, den Akku zu öffnen.
-
Passen Sie besonders auf, wenn Sie einen Akku mit einem gerissenen Gehäuse handhaben.
-
Verwenden Sie nur das Ladegerät, das für die Akkus konzipiert ist.
Lithium-Ionen-Akkus haben eine ausreichende Ladung für die Durchführung beabsichtigter Arbeiten während der Nutzungsdauer.
Um das Meiste aus Ihrem Akku herauszuholen, befolgen Sie die folgenden Richtlinien:
-
Öffnen Sie den Akku nicht.
-
Lagern bzw. parken Sie das Fahrzeug in einer sauberen, trockenen Garage oder einem Abstellbereich ohne direkte Sonneneinstrahlung und Wärmequellen sowie fern von feuchten Witterungseinflüssen (Regen, Nebel, usw.). Bewahren Sie Akkus nicht an Orten, an dem die Temperaturen den unter Anforderungen für das Einlagern der Akkus angegebenen Bereiche über- bzw. unterschreitet.
Important: Temperaturen außerhalb dieses Bereichs beschädigen den Akku. Hohe Temperaturen während der Lagerung, besonders bei einem hohen Ladezustand des Akkus, verkürzen die Nutzungsdauer der Akkus.
-
Bei einer Einlagerung der Maschine von mehr als 10 Tagen sollten Sie sicherstellen, dass die Maschine an einem kühlen und trockenen Ort, ohne direkte Sonneneinstrahlung und fern von feuchten Witterungseinflüssen, abgestellt ist.
-
Wenn Sie die Maschine bei großer Hitze oder bei starker, direkter Sonneneinstrahlung verwenden, kann der Akku überhitzen. In diesem Fall wird auf dem InfoCenter eine Hochtemperaturwarnung angezeigt und die Maschinenfunktionalität kann eingeschränkt sein.
Fahren Sie die Maschine sofort an einen kühlen schattigen Ort, stellen Sie den Motor ab und lassen Sie die Akkus abkühlen, bevor Sie den Betrieb fortsetzen. Wenn die Akkus weiterhin überhitzen, wird eine weitere Warnung auf dem InfoCenter eingeblendet und die Maschine schaltet sich ab.
-
Verwenden Sie die Beleuchtung nur bei Bedarf.
Wartung des Ladegeräts
Important: Alle Reparaturen an der Elektrik der Maschine sollten nur von einem autorisierten Service-Vertragshändler ausgeführt werden.
Das Ladegerät erfordert nur geringe Wartung. Schützen Sie es vor Beschädigung und Witterungseinflüssen.
-
Wickeln Sie das Kabel auf und legen Sie es in das Staufach, wenn Sie es nicht benutzen.
-
Prüfen Sie die Kabel regelmäßig auf Schäden und ersetzen Sie sie bei Bedarf mit von Toro zugelassenen Ersatz.
Warten der Sicherungen
Die elektrische Anlage wird durch Sicherungen geschützt. Diese sind wartungsfrei. Informationen zum Prüfen und Warten der Einschraubsicherungen finden Sie im Servicehandbuch der Zugmaschine.

-
Parken Sie die Maschine auf einer ebenen Fläche und senken Sie die Hubarme ab.
-
Stellen Sie den Motor ab und ziehen Sie den Zündschlüssel ab.
-
Stellen Sie den Trennschalter der Batterie auf die AUS-Stellung.
-
Lösen Sie das hintere Polster und entfernen Sie die hintere Abdeckung, siehe Abnehmen der hinteren Abdeckung.
-
Ersetzen Sie die Sicherungen bei Bedarf.


-
Stellen Sie den Trennschalter der Batterie in die EIN-Stellung.
-
Bringen Sie die hintere Abdeckung und das Polster an.
Warten des Antriebssystems
Warten der Ketten
| Wartungsintervall | Wartungsmaßnahmen |
|---|---|
| Nach acht Betriebsstunden |
|
| Nach 50 Betriebsstunden |
|
| Bei jeder Verwendung oder täglich |
|
| Alle 50 Betriebsstunden |
|
Reinigen der Ketten
-
Stellen Sie das Fahrzeug auf einer ebenen Fläche ab.
-
Wenn die Ladeschaufel montiert ist und nach unten abgewinkelt ist, senken Sie sie auf den Boden ab, sodass die Vorderseite der Zugmaschine ein paar Zentimeter Bodenfreiheit hat.
-
Stellen Sie den Motor ab und ziehen Sie den Zündschlüssel ab.
-
Entfernen Sie Schmutz mit einem Wasserschlauch oder Hochdruckreiniger von jeder Kette.
Important: Waschen Sie die Ketten nur mit einem Hochdruckreiniger. Reinigen Sie die restliche Zugmaschine nicht mit einem Hochdruckreiniger. Verwenden Sie keinen Hochdruckreiniger zwischen dem Antriebsrad und der Zugmaschine, da die Motordichtungen beschädigt werden können. Hochdruckreiniger können die elektrische Anlage und die Hydraulikmagnetventile beschädigen oder Fett aus schmierungsbedürftigen Bereichen entfernen.
Important: Achten Sie darauf, dass Sie die Laufräder, das Vorderrad, das Hinterrad und das Antriebsritzel vollständig reinigen. Die Straßenräder sollten sich in sauberem Zustand ungehindert drehen.

Prüfen und Einstellen der Kettenspannung
Heben Sie eine Seite der Maschine an, und stützen Sie diese ab, und überprüfen Sie anhand des Gewichts der Kette, ob der Abstand zwischen der Unterseite der Laufradlippe und der Kette 19 mm beträgt. Stellen Sie sonst die Kettenspannung mit den folgenden Schritten ein.

-
Parken Sie die Maschine auf einer ebenen Fläche und senken Sie die Hubarme ab.
-
Stellen Sie den Motor ab und ziehen den Zündschlüssel ab.
-
Heben Sie die Seite der Maschine an, die Sie einstellen möchten, dass die Kette den Boden nicht mehr berührt.
-
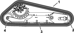
Lösen Sie die Schrauben der Abdeckung und nehmen Sie die Abdeckung ab.

-
Lösen Sie die Kontermutter und stellen Sie die Spannschraube ein, bis die Kettenauslenkung 19 mm beträgt.

-
Ziehen Sie dann die Klemmmutter fest.
-
Bringen Sie die Abdeckung an und ziehen Sie die Schrauben fest.
-
Wiederholen Sie diesen Schritt für die andere Kette.
-
Fahren Sie mit der Maschine und parken sie dann auf einer ebenen Fläche, stellen Sie die Maschine ab und ziehen Sie den Schlüssel ab.
-
Kontrollieren Sie, dass die Auslenkung der Kette 19 mm beträgt. Stellen Sie sie bei Bedarf ein.
Auswechseln der Ketten
Abbauen der Ketten
-
Entfernen Sie alle Anbaugeräte.
-
Stellen Sie die Maschine auf einer ebenen Fläche ab, achten Sie darauf, dass nur eine Kettenradhälfte in die Kette eingreift.

-
Senken Sie die Hubarme ab.
-
Stellen Sie den Motor ab und ziehen den Zündschlüssel ab.
-
Heben Sie die Maschine vom Boden ab, so dass sich die Unterseite der Kette mindestens 10,2 cm über dem Boden befindet. Stützen Sie die Maschine mit Achsständern ab.
Note: Stützen Sie die Maschine mit entsprechend ausgelegten Stützböcken ab.
Warnung:
Mechanische oder hydraulische Wagenheber können u. U. ausfallen und zu schweren Verletzungen führen.
Stützen Sie die Maschine mit Stützböcken ab.
-
Entfernen Sie die vier Schrauben, mit denen der Kotflügel am Rahmen befestigt ist, bewahren Sie die Schrauben auf und entfernen Sie den Kotflügel.

-
Lösen Sie die Schrauben der Abdeckung und nehmen Sie die Abdeckung ab.

-
Lösen Sie die Kontermutter und drehen Sie die Spannschraube, um die Spannung zu lösen.

-
Entfernen Sie das Segment des Antriebszahnrads, das nicht in die Kette eingreift.
Important: Wenn Sie das Kettenradsegment nicht entfernen, kann es schwierig sein, eine neue Kette zu installieren, ohne sie zu beschädigen.

-
Starten Sie die Maschine und aktivieren Sie den Fahrantrieb.
-
Schieben Sie den Fahrantriebshebel nach vorne, bis die andere Hälfte des Antriebszahnrads nicht mehr in die Kette eingreift.

-
Stellen Sie den Motor ab und ziehen Sie den Zündschlüssel ab.
-
Entfernen Sie die Kette vom Kettenrahmen, der Antriebsnabe und dem Vorderrad.
Einbau der Ketten
-
Wickeln Sie die neue Kette um das Vorderrad.

-
Schieben Sie die Kette unter und zwischen die Straßenräder und wickeln Sie diese um das Hinterrad.
-
Hebeln Sie die Raupenkette auf die Antriebsnabe.
-
Starten Sie die Maschine.
-
Schieben Sie den Fahrantriebshebel nach vorne, bis die eine Hälfte des Antriebsritzels in die Kette eingreift.

-
Stellen Sie den Motor ab und ziehen Sie den Zündschlüssel ab.
-
Tragen Sie Gewindesicherungslack auf die Schrauben der entfernten Antriebsritzelhälfte auf und setzen Sie die die Antriebsritzelhälfte ein. Ziehen Sie die Schrauben mit 80-99 N∙m an.

-
Stellen Sie die Spannschraube ein, bis die Auslenkung der Kette 19 mm beträgt.

-
Ziehen Sie dann die Klemmmutter fest.
-
Bringen Sie die Abdeckung an und ziehen Sie die Schrauben fest.

-
Befestigen Sie den Kotflügel mit den aufbewahrten Schrauben an der Maschine.

-
Wiederholen Sie diesen Schritt für den Austausch der anderen Kette.
-
Senken Sie die Maschine auf den Boden ab.
-
Fahren Sie mit der Maschine und parken sie dann auf einer ebenen Fläche, stellen Sie die Maschine ab und ziehen Sie den Schlüssel ab.
-
Prüfen Sie, ob die Kettenspannung korrekt ist, siehe Prüfen und Einstellen der Kettenspannung.
Spezifikationen Getriebeöl des Antriebsmotors
Öltyp: Mobil SHC 75W-90
Fassungsvermögen: 0,18 l pro Getriebe
Prüfen des Getriebeöls des Antriebsmotors
-
Entfernen Sie alle Anbaugeräte.
-
Stellen Sie die Maschine auf einer ebenen Fläche ab, achten Sie darauf, dass nur eine Kettenradhälfte in die Kette eingreift.

-
Stellen Sie den Motor ab und ziehen Sie den Zündschlüssel ab.
-
Heben Sie die Maschine soweit vom Boden ab, damit die Unterseite der Maschine zugänglich ist. Stützen Sie die Maschine mit Achsständern ab.
Note: Stützen Sie die Maschine mit entsprechend ausgelegten Stützböcken ab. Das Gewicht finden Sie unter Technische Daten.
Warnung:
Mechanische oder hydraulische Wagenheber können u. U. ausfallen und zu schweren Verletzungen führen.
Stützen Sie die Maschine mit Stützböcken ab.
-
Entfernen Sie das Segment des Antriebszahnrads, das nicht in die Kette eingreift.

-
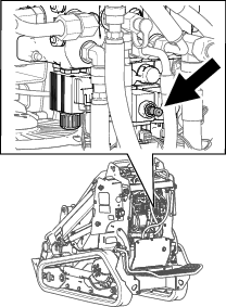
Entfernen Sie die Prüfschraube und überprüfen Sie, ob sich das Öl am unteren Rand der Öffnung befindet.

-
Wenn der Ölstand niedrig ist, füllen Sie Öl wie folgt nach:
-
Entfernen Sie die Kette, siehe Abbauen der Ketten.
-
Entfernen Sie das zweite Kettenrad.
-
Entfernen Sie die Füllschraube.

-
Füllen Sie den Antriebsmotor mit Getriebeöl, bis es den Boden der Kontrollöffnung erreicht.
-
Drehen Sie die Prüf- und Füllschraube wieder auf.
-
-
Wiederholen Sie die Schritte 5 bis 7 für den anderen Antriebsmotor.
-
Starten Sie die Maschine und lassen Sie sie mit eingekuppelten Fahrantrieb ein paar Minuten lang laufen.
-
Stellen Sie den Motor ab und ziehen Sie den Zündschlüssel ab.
-
Entfernen Sie die Prüfschrauben der Antriebsmotoren und prüfen Sie, ob der Ölstand am unteren Rand der Öffnung liegt.
-
Setzen Sie die Ablassschrauben wieder ein und ziehen Sie diese auf ein Anzugsmoment von 5 bis 6 N∙m an.
-
Tragen Sie Gewindesicherungslack auf die Schrauben am unteren Antriebsritzel auf und setzen Sie das Antriebsritzel ein. Ziehen Sie die Schrauben mit 80-99 N∙m an.
-
Bauen Sie Raupenketten ein, falls Sie diese zuvor entfernt haben, siehe Einbau der Ketten.
-
Senken Sie die Maschine auf den Boden ab.
Getriebeöl des Antriebsmotors wechseln
| Wartungsintervall | Wartungsmaßnahmen |
|---|---|
| Nach 50 Betriebsstunden |
|
| Alle 500 Betriebsstunden |
|
-
Entfernen Sie alle Anbaugeräte.
-
Lassen Sie den Motor an und fahren Sie ca. fünf Minuten mit der Maschine.
Note: Dadurch wird das Getriebeöl erwärmt und läuft besser ab.
-
Stellen Sie die Maschine auf einer ebenen Fläche ab, achten Sie darauf, dass nur eine Kettenradhälfte in die Kette eingreift.

-
Stellen Sie den Motor ab und ziehen Sie den Zündschlüssel ab.
-
Entfernen Sie die Kette, siehe Abbauen der Ketten.
-
Entfernen Sie das zweite Kettenrad.
-
Stellen Sie eine Auffangwanne unter den Antriebsmotor.
-
Entfernen Sie die Füll- und Ablassschrauben und lassen Sie das Getriebeöl ablaufen.

-
Setzen Sie die Ablassschraube wieder ein.
-
Entfernen Sie die Füllschraube und füllen Sie den Antriebsmotor mit Getriebeöl, bis das Öl aus der Kontrollöffnung tropft, siehe Spezifikationen Getriebeöl des Antriebsmotors.
-
Drehen Sie die Prüf- und Füllschraube wieder auf.
-
Wiederholen Sie diesen Vorgang für den anderen Antriebsmotor.
-
Starten Sie die Maschine und lassen Sie sie mit eingekuppelten Fahrantrieb ein paar Minuten lang laufen.
-
Stellen Sie den Motor ab und ziehen Sie den Zündschlüssel ab.
-
Entfernen Sie die Prüfschrauben der Antriebsmotoren und prüfen Sie, ob der Ölstand am unteren Rand der Öffnung liegt.
-
Setzen Sie die Ablassschrauben wieder ein und ziehen Sie diese auf ein Anzugsmoment von 5 bis 6 N∙m an.
-
Tragen Sie Gewindesicherungslack auf die Schrauben der unteren Antriebsritzelhälfte auf und setzen Sie die Antriebsritzelhälfte ein. Ziehen Sie die Schrauben mit 80-99 N∙m an.
-
Montieren Sie die Ketten, siehe Einbau der Ketten.
-
Senken Sie die Maschine auf den Boden ab.
Warten der Bedienelementanlage
Einstellen der Bedienelemente
Die Bedienelemente der Maschine werden vor dem Versand im Werk voreingestellt. Nach vielen Betriebsstunden müssen Sie ggf. die Fahrantriebsausrichtung, die NEUTRAL-Stellung des Fahrantriebs und die Spur des Fahrantriebs in der Stellung ganz nach vorne einstellen.
Wenden Sie sich an den offiziellen Händler, um die Bedienelemente der Maschine einzustellen.
Warten der Hydraulikanlage
Sicherheit der Hydraulikanlage
-
Suchen Sie beim Einspritzen unter die Haut sofort einen Arzt auf. In die Haut eingedrungene Flüssigkeit muss sie innerhalb weniger Stunden von einem Arzt entfernt werden.
-
Stellen Sie sicher, dass alle Hydraulikschläuche und -leitungen in gutem Zustand sind, und dass alle Hydraulikverbindungen und -anschlussstücke fest angezogen sind, bevor Sie die Hydraulikanlage unter Druck setzen.
-
Halten Sie Ihren Körper und Ihre Hände von Nadellöchern und Düsen fern, aus denen Hydrauliköl unter hohem Druck ausgestoßen wird.
-
Gehen Sie hydraulischen Undichtheiten nur mit Pappe oder Papier nach.
-
Lassen Sie den Druck in der Hydraulikanlage auf eine sichere Art und Weise ab, bevor Sie irgendwelche Arbeiten an der Anlage durchführen.
Entlasten des Hydraulikdrucks
Um den Hydraulikdruck bei eingeschalteter Maschine zu entlasten, deaktivieren Sie die Hilfshydraulik und senken die Laderarme vollständig ab; drehen Sie den Schlüsselschalter in die Stellung ENTLASTUNG DER HILFSHYDRAULIK und schalten Sie den Hilfshydraulikschalter hin und her.

Um den Hydraulikdruck bei ausgeschalteter Maschine zu entlasten, drehen Sie den Schlüsselschalter in die Stellung ENTLASTUNG DER HILFSHYDRAULIK und schalten Sie den Hilfshydraulikschalter mehrmals hin und her.
Absenken der Ladearme bei ausgeschalteter Maschine
-
Stellen Sie die Maschine auf einer ebenen Fläche ab.
-
Stellen Sie den Motor ab und ziehen Sie den Zündschlüssel ab.
-
Lösen Sie das Polster und entfernen Sie die hintere Abdeckung, siehe Abnehmen der hinteren Abdeckung.
-
Lösen Sie das Sicherheitsventil.

-
Senken Sie die Hubarme ab.
-
Schließen Sie das Sicherheitsventil.
-
Bringen Sie die hintere Abdeckung und das Polster an.
Hydrauliköl – technische Angaben
| Wartungsintervall | Wartungsmaßnahmen |
|---|---|
| Alle 100 Betriebsstunden |
|
Fassungsvermögen des Hydraulikbehälters: 22,7 Liter
Empfohlene Hydraulikflüssigkeit: Toro PX Extended Life Hydraulic Fluid
Note: An einer Maschine, die mit dem empfohlenen Ersatzhydrauliköl befüllt wird, muss weniger häufig ein Öl- oder Filterwechsel durchgeführt werden.
Ersatzölsorten: Wenn das Toro PX Extended Life Hydraulic Fluid nicht erhältlich ist, können Sie andere handelsübliche, auf Erdöl basierende, Hydraulikflüssigkeiten verwenden, dessen Spezifikationen für alle folgenden Materialeigenschaften im aufgeführten Bereich liegen und die Industrienormen erfüllen. Kein synthetisches Öl verwenden. Wenden Sie sich an den Ölhändler, um einen entsprechenden Ersatz zu finden.
Note: Toro haftet nicht für Schäden, die aus einer unsachgemäßen Substitution entstehen. Verwenden Sie also nur Erzeugnisse namhafter Hersteller, die für die Qualität ihrer Produkte garantieren.
| Materialeigenschaften: | ||
| Viskosität, ASTM D445 | cSt @ 40 °C, 44 bis 48 | |
| Viskositätsindex ASTM D2270 | 140 oder höher | |
| Stockpunkt, ASTM D97 | -34 °C bis -45 °C | |
| Branchenspezifikationen: | Eaton Vickers 694 (I-286-S, M-2950-S/35VQ25 oder M-2952-S) | |
Note: Viele Hydraulikölsorten sind fast farblos, was das Erkennen von undichten Stellen erschwert. Als Beimischmittel für das Hydrauliköl können Sie ein rotes Färbmittel in 20-ml-Flaschen kaufen. Eine Flasche reicht für 15-22 l Hydrauliköl. Sie können es mit der Bestellnummer 44-2500 über den autorisierten Service-Vertragshändler beziehen.
Prüfen des Hydraulikölstands
| Wartungsintervall | Wartungsmaßnahmen |
|---|---|
| Alle 25 Betriebsstunden |
|
Prüfen Sie den Hydraulikölstand vor dem ersten Starten der Maschine und danach alle 25 Betriebsstunden.
Siehe Hydrauliköl – technische Angaben.
Important: Verwenden Sie immer das richtige Hydrauliköl. Andere Flüssigkeiten können die Hydraulikanlage beschädigen.
-
Parken Sie die Maschine auf einer ebenen Fläche und senken Sie die Hubarme ab.
-
Schalten Sie die Maschine aus, ziehen den Schlüssel ab und lassen die Maschine abkühlen.
-
Schauen Sie in das Schauglas in der Nähe der Plattform. Wenn die Hydrauliköl weniger als die Hälfte des Schauglases füllt, fügen Sie Hydrauliköl wie folgt hinzu:

-
Nehmen Sie die hintere Abdeckung ab, siehe Abnehmen der hinteren Abdeckung.
-
Reinigen Sie den Bereich um den Einfüllstutzen und entfernen Sie den Fülldeckel.

-
Füllen Sie Hydrauliköl nach, bis es die Hälfte im Schauglas erreicht.
-
Setzen Sie den Fülldeckel auf.
-
Bringen Sie die hintere Abdeckung an.
-
Auswechseln des Hydraulikfilters
| Wartungsintervall | Wartungsmaßnahmen |
|---|---|
| Alle 500 Betriebsstunden |
|
-
Parken Sie die Maschine auf einer ebenen Fläche und senken Sie die Hubarme ab.
-
Schalten Sie die Maschine aus, ziehen den Schlüssel ab und lassen die Maschine abkühlen.
-
Nehmen Sie die hintere Abdeckung ab, siehe Abnehmen der hinteren Abdeckung.
-
Entfernen und entsorgen Sie den alten Filter.

-
Setzen Sie den Ersatzhydraulikfilter und den Fülldeckel ein und ziehen Sie die Schraube oben auf ein Anzugsmoment von 13-15,5 N·m an.
-
Wischen Sie verschüttetes Öl auf.
-
Starten Sie die Maschine und lassen ihn ca. zwei Minuten lang laufen, um die Anlage zu entlüften.
-
Schalten Sie die Maschine ab und prüfen Sie auf Undichtigkeiten.
-
Prüfen Sie den Hydraulikölstand im Hydrauliktank, siehe Prüfen des Hydraulikölstands. Füllen Sie Hydrauliköl nach, bis Sie das Öl im Schauglas sehen.
-
Bringen Sie die hintere Abdeckung an.
Wechseln des Hydrauliköls
| Wartungsintervall | Wartungsmaßnahmen |
|---|---|
| Alle 400 Betriebsstunden |
|
| Alle 1000 Betriebsstunden |
|
-
Parken Sie die Maschine auf einer ebenen Fläche und senken Sie die Hubarme ab.
-
Schalten Sie die Maschine aus, ziehen den Schlüssel ab und lassen die Maschine abkühlen.
-
Nehmen Sie die hintere Abdeckung ab, siehe Abnehmen der hinteren Abdeckung.
-
Stellen Sie eine große Auffangwanne unter die Maschine, die die in Hydrauliköl – technische Angabenangegebene Ölmenge aufnehmen kann.
-
Entfernen Sie die Ablassschraube von der Unterseite des Hydraulikölbehälters und lassen Sie das Öl vollständig ablaufen.

-
Setzen Sie die Ablassschraube wieder ein.
-
Füllen Sie den Hydraulikbehälter mit Hydrauliköl, siehe Hydrauliköl – technische Angaben.
Note: Entsorgen Sie das Altöl bei einer zugelassenen Recyclingeinrichtung.
-
Bringen Sie die hintere Abdeckung an.
Reinigung
Entfernen der Schmutzablagerungen
| Wartungsintervall | Wartungsmaßnahmen |
|---|---|
| Bei jeder Verwendung oder täglich |
|
Warnung:
Die unsachgemäße Verwendung von Druckluft zur Reinigung der Maschine kann zu schweren Verletzungen führen.
-
Tragen Sie entsprechende persönliche Schutzausrüstung wie Augenschutz, Gehörschutz und eine Staubmaske.
-
Richten Sie die Druckluft nicht auf irgendeinen Teil Ihres Körpers oder auf andere Personen.
-
Bedienungs- und Sicherheitshinweise finden Sie in der Herstelleranleitung des Luftkompressors.
-
Parken Sie die Maschine auf einer ebenen Fläche, entfernen Sie alle Anbaugeräte, heben die Ladearme an und bringen Sie die Zylinderschlösser an.
-
Stellen Sie den Motor ab und ziehen den Zündschlüssel ab.
-
Entfernen Sie Schmutz von der Maschine.
Important: Es ist besser, den Schmutz herauszublasen als ihn auszuspülen. Wenn Sie Wasser verwenden, lassen Sie es nicht mit stromführenden Teilen und Hydraulikventilen in Kontakt kommen. Reinigen Sie elektrische Anschlüsse mit Druckluft; verwenden Sie keinen Kontaktreiniger.
-
Nehmen Sie die Zylinderschlösser ab (bewahren Sie diese auf) und senken Sie die Hubarme ab.
Reinigen der Maschine
Gehen Sie beim Reinigen der der Maschine mit einem Hochdruckreiniger wie folgt vor:
Important: Reinigen Sie die Maschine nicht mit Wasser, während sie aufgeladen wird. Stellen Sie sicher, dass die Maschine vor dem Aufladen trocken ist.
-
Tragen Sie für die Reinigung mit einem Hochdruckreiniger eine geeignete persönliche Schutzausrüstung.
-
Belassen Sie alle Schutzvorrichtungen an der Maschine.
-
Richten Sie den Wasserstrahl nicht auf elektronische Bauteile.
-
Richten Sie den Wasserstrahl nicht auf die Kanten der Aufkleber.
-
Richten Sie den Wasserstrahl nur auf die Außenseiten der Maschine. Richten Sie den Wasserstrahl nicht direkt in die Öffnungen der Maschine.
-
Reinigen Sie mit dem Wasserstrahl nur die verschmutzten Bereiche der Maschine.
-
Verwenden Sie eine Strahldüse mit einem Sprühwinkel von 40 Grad oder mehr. 40-Grad-Düsen sind in der Regel weiß.
-
Halten Sie die Sprühspitze des Hochdruckreinigers mindestens 60 cm von der zu reinigenden Oberfläche entfernt.
-
Verwenden Sie nur Hochdruckreiniger mit einem Druck unter 137 bar und einem Durchfluss unter 7,6 l pro Minute.
-
Ersetzen Sie beschädigte oder abgelöste Aufkleber.
-
Nach dem Waschen alle Schmierstellen einfetten; siehe Einfetten der Maschine.


mit der Bedeutung Achtung, Warnung oder Gefahr
– Sicherheitsrisiko. Wenn diese Hinweise nicht beachtet werden,
kann es zu schweren bis tödlichen Verletzungen kommen.




















































, um auf das InfoCenter-Menüsystem
zuzugreifen. So kommen Sie zum Hauptmenü. In den folgenden Tabellen
sind die in den Menüs verfügbaren Optionen zusammengefasst:












