Onderhoud
Note: Bepaal vanuit de normale bedieningspositie de linker- en rechterzijde van de machine.
Veiligheid bij onderhoud
Voorzichtig
Als u het sleuteltje in het contact laat, bestaat de kans dat iemand de machine per ongeluk start, waardoor u en andere omstanders ernstig letsel kunnen oplopen.
Verwijder het sleuteltje uit het contact voordat u onderhoudswerkzaamheden uitvoert aan de machine.
-
Parkeer de machine op een egale ondergrond, schakel de hulphydrauliek uit, breng het werktuig omlaag, haal de parkeerrem aan, schakel de machine uit en verwijder het sleuteltje. Wacht totdat alle bewegende delen tot stilstand zijn gekomen en laat de machine afkoelen voordat u deze afstelt, reinigt, stalt of repareert.
-
Laat personeel dat niet bekend is met de instructies nooit onderhoudswerkzaamheden aan de machine uitvoeren.
-
Plaats de onderdelen op kriksteunen indien dit nodig is.
-
Haal voorzichtig de druk van onderdelen met opgeslagen energie; zie Hydraulische druk aflaten.
-
Maak de accukabels los voordat u reparatiewerkzaamheden uitvoert; zie De accu-ontkoppelingsschakelaar gebruiken.
-
Houd uw handen en voeten uit de buurt van de bewegende onderdelen. Stel indien mogelijk de machine niet af terwijl de machine ingeschakeld is.
-
Zorg ervoor dat alle onderdelen in goede staat verkeren en al het bevestigingsmateriaal stevig vastzit. Vervang versleten of beschadigde stickers.
-
Knoei niet met de veiligheidsvoorzieningen.
-
Gebruik uitsluitend door Toro goedgekeurde werktuigen. Werktuigen kunnen invloed hebben op de stabiliteit en de bediening van de machine. De garantie kan komen te vervallen als u de machine gebruikt met werktuigen die niet zijn goedgekeurd.
-
Gebruik alleen originele reserveonderdelen van Toro.
-
Als het voor onderhouds- of reparatiewerkzaamheden nodig is dat de laderarmen omhoog staan, kunt u de armen in de opgeheven stand vergrendelen met de hydraulische cilindervergrendeling(en).
-
Kijk de lokale regelgeving na in verband met veilig onderhoud van de machine en breng een waarschuwingslabel aan op het bedieningspaneel om anderen te informeren over lopend onderhoud.
Aanbevolen onderhoudsschema
| Onderhoudsinterval | Onderhoudsprocedure |
|---|---|
| Na de eerste 8 bedrijfsuren |
|
| Na de eerste 50 bedrijfsuren |
|
| Bij elk gebruik of dagelijks |
|
| Om de 25 bedrijfsuren |
|
| Om de 50 bedrijfsuren |
|
| Om de 100 bedrijfsuren |
|
| Om de 400 bedrijfsuren |
|
| Om de 500 bedrijfsuren |
|
| Om de 1000 bedrijfsuren |
|
| Om de 1500 bedrijfsuren of om de 2 jaar, waarbij de kortste periode moet worden aangehouden |
|
| Jaarlijks of vóór stalling |
|
Procedures voorafgaande aan onderhoud
De cilindervergrendelingen gebruiken
Waarschuwing
Als de armen van de lader in de opgeheven stand staan, kunnen deze omlaag komen waardoor iemand die eronder staat bekneld kan raken.
Plaats de cilindervergrendeling(en) voordat u onderhoudswerkzaamheden uitvoert waarbij de armen van de lader omhoog moeten staan.
Cilindervergrendelingen aanbrengen
-
Verwijder het werktuig.
-
Breng de armen van de lader volledig omhoog.
-
Zet de machine uit en verwijder het sleuteltje.
-
Plaats een cilindervergrendeling over elke hefcilinderstang.

-
Bevestig elke cilindervergrendeling met 2 pennen.
-
Breng langzaam de armen van de lader omlaag totdat de cilindervergrendelingen contact maken met de cilinderbehuizingen en de uiteinden van de stang.
De cilindervergrendelingen verwijderen en opslaan
Important: Verwijder de cilindervergrendelingen van de stangen en vergrendel ze volledig in de opslagstand voordat u de machine bedient.
-
Start de machine.
-
Breng de armen van de lader volledig omhoog.
-
Zet de machine uit en verwijder het sleuteltje.
-
Verwijder de pennen waarmee elke cilindervergrendeling bevestigd is.
-
Verwijder de cilindervergrendelingen.
-
Plaats de cilindervergrendelingen op de stangen aan de zijkanten van de machine en bevestig ze met de pennen.
-
Breng de armen van de lader omlaag.
Toegang krijgen tot inwendige onderdelen
Waarschuwing
Als u deksels, kappen of schermen openmaakt of verwijdert terwijl de machine ingeschakeld is, kunt u in contact komen met bewegende onderdelen en daarbij ernstig letsel oplopen.
Voordat u een deksel, kap of scherm opent: schakel de machine uit, verwijder het sleuteltje uit het contact en laat de machine afkoelen.
Het achterste kussen losmaken
-
Parkeer de machine op een horizontaal oppervlak.
-
Schakel de machine uit, verwijder het contactsleuteltje en wacht totdat alle bewegende onderdelen tot stilstand zijn gekomen.
-
Breng het platform omlaag.
-
Maak de knoppen aan weerszijden van het kussen los.

-
Laat het kussen neer op het platform.

-
Voer de onderhoudswerkzaamheden uit op de machine of pas de instellingen aan.
-
Breng het kussen omhoog en schuif het op de pennen aan beide zijden van de machine.
-
Maak de knoppen vast.
De achterste kap verwijderen
-
Parkeer de machine op een horizontaal oppervlak.
-
Schakel de machine uit, verwijder het contactsleuteltje en wacht totdat alle bewegende onderdelen tot stilstand zijn gekomen.
-
Breng het platform omlaag.
-
Maak het achterste kussen los.
-
Verwijder de bouten waarmee de achterste kap is bevestigd en verwijder de kap.

Smering
De machine smeren
| Onderhoudsinterval | Onderhoudsprocedure |
|---|---|
| Bij elk gebruik of dagelijks |
|
Type vet: vet voor algemene doeleinden
-
Parkeer de machine op een vlakke ondergrond en laat de laderarmen zakken.
-
Zet de machine uit en verwijder het sleuteltje.
-
Reinig de smeernippels met een doek.
-
Sluit een smeerpistool aan op elke smeernippel.

-
Pomp vet in de nippels totdat er wat vet bij de lagers naar buiten komt (ongeveer 3 maal pompen).
-
Overtollig vet wegvegen.
Onderhoud elektrisch systeem
Veiligheid van het elektrisch systeem
-
Maak de accukabels los voordat u reparatiewerkzaamheden uitvoert; zie De accu-ontkoppelingsschakelaar gebruiken.
-
Laad de accu op in een open, goed geventileerde ruimte, uit de buurt van vonken en open vuur. Haal de oplader uit het stopcontact voordat u de accu aan- of loskoppelt. Draag beschermende kleding en gebruik geïsoleerd gereedschap.
-
Accuzuur is giftig en kan brandwonden veroorzaken. Voorkom contact met de huid, ogen en kleding. Bescherm uw gezicht, ogen en kleding als u werkzaamheden verricht aan de accu.
-
Accugassen kunnen ontploffen. Houd sigaretten, vonken en open vuur uit de buurt van de accu.
De accu-ontkoppelingsschakelaar gebruiken
-
Parkeer de machine op een vlakke ondergrond en laat de laderarmen zakken.
-
Zet de machine uit en verwijder het sleuteltje.
-
Draai de afkoppelschakelaar van de accu op UIT of AAN.
-
Om het elektrische circuit van de machine te activeren, draait u de accu-ontkoppelingsschakelaar rechtsom naar de stand AAN.
-
Om de machine elektrisch te ontladen, draait u de accu-ontkoppelingsschakelaar linksom naar de stand UIT.

-
Onderhoud van de loodzuuraccu
| Onderhoudsinterval | Onderhoudsprocedure |
|---|---|
| Om de 50 bedrijfsuren |
|
De accu verwijderen
Waarschuwing
Als accukabels verkeerd worden verbonden, kan dit schade aan de machine en de kabels tot gevolg hebben en vonken veroorzaken. Hierdoor kunnen accugassen tot ontploffing komen, wat ernstig of dodelijk letsel tot gevolg kan hebben.
Maak altijd de minkabel (zwart) van de accu los voordat u de pluskabel (rood) losmaakt.
-
Parkeer de machine op een vlakke ondergrond en laat de laderarmen zakken.
-
Zet de machine uit en verwijder het sleuteltje.
-
Verwijder de bovenste kap.

-
Maak de minkabel (zwart) los van de accupool. Bewaar de bevestigingsmiddelen.

-
Schuif het rubberen kapje van de pluskabel (rood).
-
Maak de pluskabel (rood) los van de accupool. Bewaar de bevestigingsmiddelen.
-
Verwijder de accuklem.
-
De accu verwijderen.
De accu opladen
Waarschuwing
Bij het opladen produceert de accu gassen die tot ontploffing kunnen komen, wat ernstig of dodelijk letsel tot gevolg kan hebben.
Rook nooit in de buurt van de accu en zorg ervoor dat er geen vonken of vlammen vlakbij de accu komen.
Important: Zorg ervoor dat de accu altijd volledig geladen is (soortelijk gewicht 1,265). Dit is vooral belangrijk om beschadiging van de accu te voorkomen bij temperaturen onder 0 °C.
-
Verwijder de accu van de machine; raadpleeg De accu verwijderen.
-
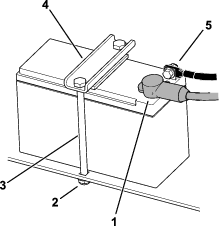
Laad de accu 4 tot 8 uur op bij 3 tot 4 A (Figuur 38). De accu niet te ver opladen.

-
Zodra de accu volledig is opgeladen, haalt u de acculader uit het stopcontact en maakt u vervolgens de oplaadkabels los van de accuklemmen (Figuur 38).
De accu reinigen
Note: Zorg ervoor dat de accuklemmen en de gehele accubehuizing schoon zijn; dit helpt de levensduur van de accu te verlengen.
-
Plaats de machine op een horizontaal vlak, laat de laadarmen zakken en stel de parkeerrem in werking.
-
Zet de motor af en haal het sleuteltje uit het contact.
-
Haal de accu uit de machine; De accu verwijderen.
-
Was de hele accubak met een oplossing van natriumbicarbonaat en water.
-
Spoel de accu met schoon water.
-
Smeer een dun laagje Grafo 112X-vet of vaseline op de accupolen en de kabelklemmen om corrosie te voorkomen.
-
Monteer de accu; zie Accu monteren.
Accu monteren
Waarschuwing
Als accukabels verkeerd worden verbonden, kan dit schade aan de machine en de kabels tot gevolg hebben en vonken veroorzaken. Hierdoor kunnen accugassen tot ontploffing komen, wat ernstig of dodelijk letsel tot gevolg kan hebben.
Sluit altijd de pluskabel (rood) van de accu aan voordat u de minkabel (zwart) aansluit.
-
Plaats de accu op de accubak en bevestig hem met de klem.

-
Gebruik de eerder verwijderde bevestigingsmiddelen om de pluskabel (rood) op de pluspool (+) van de accu aan te sluiten.
-
Schuif het rode stofkapje voor de accupool op de pluspool van de accu.
-
Gebruik de eerder verwijderde bevestigingsmiddelen om de minkabel (zwart) op de minpool (–) van de accu aan te sluiten.
-
Monteer de bovenste kap.

Onderhoud van een reserveaccu
De oorspronkelijke accu heeft geen onderhoud nodig. Raadpleeg voor het onderhoud van een reserveaccu de instructies van de fabrikant.
Onderhoud van de lithiumionaccu's
Note: De machine is uitgerust met 10 lithiumionaccu's.
Een lithiumionaccu moet worden afgevoerd of gerecycled in overeenstemming met de plaatselijke en nationale regelgeving. Vraag een erkende servicedealer om hulp als uw accu onderhoud nodig heeft.
Open de accu niet. Neem contact op met een erkende servicedealer voor hulp als u problemen ondervindt met een accu.
Onderhoud van de lithiumionaccu's
Waarschuwing
De accu's staan onder een hoge spanning, die u kan verbranden of schokken kan geven.
-
Probeer de accu's niet te openen.
-
Wees uiterst voorzichtig bij het behandelen van een accu met een gebarsten behuizing.
-
Gebruik alleen de lader die ontworpen is voor de accu's.
De lithiumionaccu’s hebben voldoende spanning om de arbeid waarvoor ze bedoeld zijn gedurende hun levensduur uit te voeren.
Om uw accu's een maximale levensduur te geven en deze zo lang mogelijk te gebruiken, dient u de volgende richtlijnen te volgen:
-
Open de accu niet.
-
Stal/parkeer de machine in een schone, droge garage of stalruimte. Vermijd direct zonlicht, hittebronnen, regen en vochtige omgevingen. Stal de machine niet op een plaats waar de temperatuur buiten het bereik vermeld in Voorschriften voor het bewaren van de accu valt.
Important: Temperaturen buiten deze limieten brengen schade toe aan uw accu's. Hoge temperaturen tijdens de stallingsperiode verkorten de levensduur van de accu, vooral als deze onder grote spanning staat.
-
Als u de machine gedurende langer dan 10 dagen wilt stallen, moet u de machine op een koele en droge plaats zetten, buiten het bereik van zonlicht, regen en vochtige omgevingen.
-
Als u de machine gebruikt in warme omstandigheden of in sterk, direct zonlicht, kan de accu oververhit raken. Als dit gebeurt, verschijnt een temperatuurwaarschuwing op het InfoCenter en kan de functionaliteit van de machine verminderd zijn.
Rijd de machine onmiddellijk naar een koele plaats buiten rechtstreeks zonlicht, schakel de machine uit en laat de accu’s volledig afkoelen voordat u terug aan het werk gaat. Als de accu's blijven oververhit raken, verschijnt er een andere waarschuwing op het InfoCenter en zal de machine worden uitgeschakeld.
-
Gebruik de lichten alleen wanneer dit nodig is.
Onderhoud van de acculader
Important: Elektrische herstellingen mogen alleen worden uitgevoerd door een erkende servicedealer.
De lader vereist weinig onderhoud. Hij moet enkel worden beschermd tegen beschadiging en de weerselementen.
-
Rol het snoer op en leg het in de opbergruimte wanneer u het niet gebruikt.
-
Controleer het snoer regelmatig op schade en vervang indien nodig met erkende Toro-onderdelen.
Onderhoud van de zekeringen
De elektrische installatie is beveiligd door middel van zekeringen. Deze behoeft geen onderhoud. Raadpleeg de Onderhoudshandleiding van de tractie-eenheid voor meer informatie over het testen en onderhoud van de schroefzekeringen.

-
Parkeer de machine op een vlakke ondergrond en laat de laderarmen zakken.
-
Zet de machine uit en verwijder het sleuteltje.
-
Draai de afkoppelschakelaar van de accu op UIT.
-
Maak het achterste kussen los en verwijder het achterdeksel; zie De achterste kap verwijderen.
-
Plaats de nodige zekeringen terug.


-
Draai de afkoppelschakelaar van de accu op AAN.
-
Monteer de achterste kap en het kussen.
Onderhoud aandrijfsysteem
Onderhoud van de rupsbanden
| Onderhoudsinterval | Onderhoudsprocedure |
|---|---|
| Na de eerste 8 bedrijfsuren |
|
| Na de eerste 50 bedrijfsuren |
|
| Bij elk gebruik of dagelijks |
|
| Om de 50 bedrijfsuren |
|
De rupsbanden reinigen
-
Parkeer de machine op een horizontaal oppervlak.
-
Laat de gemonteerde, naar beneden gerichte bak in de grond zakken zodat de voorzijde van de tractie-eenheid een paar centimeter van de grond komt.
-
Zet de machine uit en verwijder het sleuteltje.
-
Gebruik een waterslang of een hogedrukreiniger om de rupsbanden te reinigen.
Important: Gebruik alleen waterdruk voor het reinigen van de rupsbanden. De rest van de tractie-eenheid mag niet met een hogedrukreiniger behandeld worden. Gebruik geen hogedrukreiniging tussen de tandwielaandrijving en de tractie-eenheid omdat de motorafdichtingen hierdoor beschadigd kan raken. Hogedrukreiniging kan het elektrische en hydraulische systeem beschadigen of de smering aantasten.
Important: Zorg ervoor dat u de wegwielen, het voorwiel, het achterwiel en de tandwielaandrijving grondig reinigt. De wegwielen moeten vrij kunnen draaien als deze schoon zijn.

De spanning van de rupsbanden controleren en afstellen
Hef/ondersteun 1 zijde van de machine en gebruik het gewicht van de rupsband om na te gaan of de ruimte tussen de onderkant van de lip van het wegwiel en de rupsband 19 mm bedraagt. Als dit niet het geval is, stel dan de spanning van de rupsbanden af met behulp van de volgende procedure.

-
Parkeer de machine op een vlakke ondergrond en laat de laderarmen zakken.
-
Zet de machine uit en verwijder het sleuteltje.
-
Breng de kant van de machine die u aan het afstellen bent omhoog zodat de rupsband van de grond is.
-
Draai de bouten op de kap los en verwijder de kap.

-
Draai de contramoer los en stel de spanschroef zodanig af dat de speling van de rupsband 19 mm bedraagt.

-
Draai de contramoer vast.
-
Plaats de kap en maak de bouten vast.
-
Herhaal de procedure voor de andere rupsband.
-
Rijd met de machine en parkeer ze op een horizontaal oppervlak, zet de machine uit en verwijder het sleuteltje.
-
Controleer of de rupsband 19 mm doorbuigt. Indien nodig instellen.
Rupsbanden vervangen
Verwijderen van de rupsbanden
-
Verwijder eventuele aangekoppelde werktuigen.
-
Parkeer de machine op een horizontaal oppervlak en zorg er hierbij voor dat slechts 1 tandwielhelft aangrijpt op de rupsband.

-
Breng de armen van de lader omlaag.
-
Zet de machine uit en verwijder het sleuteltje.
-
Krik de machine op zodat de onderkant van de rupsband zich minstens 10,2 cm van de grond bevindt. Ondersteun de machine met assteunen.
Note: Gebruik steunen met voldoende capaciteit voor uw machine.
Waarschuwing
Het kan gebeuren dat een mechanische of hydraulische krik een machine niet ondersteunt. Als de machine dan valt, kan dit ernstig letsel veroorzaken.
Plaats de machine altijd op kriksteunen.
-
Verwijder de 4 bouten waarmee het spatbord aan het frame bevestigd is en neem het spatbord eraf (bewaar de bouten).

-
Draai de bouten op de kap los en verwijder de kap.

-
Draai de contramoer los en draai aan de spanschroef om de spanning op te heffen.

-
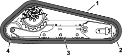
Verwijder het gedeelte van de tandwielaandrijving dat niet met de rupsband is verbonden.
Important: Als u dit gedeelte niet verwijdert, kan het moeilijk zijn om een nieuwe rupsband te plaatsen zonder deze te beschadigen.

-
Start de machine en schakel de tractiebediening in.
-
Zet de tractiebediening naar voren tot de andere helft van de tandwielaandrijving niet aangrijpt op de rupsband.

-
Zet de machine uit en verwijder het sleuteltje.
-
Verwijder de rupsband van het rupsbandframe, de aandrijfspil en dan het voorwiel.
De rupsband plaatsen
-
Leg de nieuwe rupsband rond het voorwiel.

-
Duw de rupsband onder en tussen de wegwielen en leg hem rond het achterste wiel.
-
Wrik de rupsband op de aandrijfspil.
-
Start de machine.
-
Beweeg de tractiebediening naar voren tot de tandwielaandrijvinghelft aangrijpt op de rupsband.

-
Zet de machine uit en verwijder het sleuteltje.
-
Breng schroefdraadborgmiddel aan op de bouten van de tandwielaandrijvinghelft die u hebt verwijderd en monteer de tandwielhelft. Draai de bouten vast met een torsie van 80 tot 99 N·m.

-
Stel de spanschroef af tot de rupsband 19 mm doorbuigt.

-
Draai de contramoer vast.
-
Plaats de kap en maak de bouten vast.

-
Gebruik de bouten die u bewaard hebt om het spatbord op de machine te monteren.

-
Herhaal de procedure om de andere rupsband te vervangen.
-
Laat de machine neer op de grond.
-
Rijd met de machine en parkeer ze op een horizontaal oppervlak, zet de machine uit en verwijder het sleuteltje.
-
Verifieer of de spanning van de rupsband correct is; zie De spanning van de rupsbanden controleren en afstellen.
Specificaties voor aandrijfmotorolie
Olietype: Mobil SHC 75W-90
Capaciteit: 0,18 liter per tandwielkast
De olie in de tandwielkast van de aandrijfmotor controleren
-
Verwijder eventuele aangekoppelde werktuigen.
-
Parkeer de machine op een horizontaal oppervlak en zorg er hierbij voor dat slechts 1 tandwielhelft aangrijpt op de rupsband.

-
Zet de machine uit en verwijder het sleuteltje.
-
Krik de machine op zodat de rupsbanden de grond niet meer raken. Ondersteun de machine met assteunen.
Note: Gebruik steunen met voldoende capaciteit voor uw machine. Raadpleeg Specificaties voor het gewicht.
Waarschuwing
Het kan gebeuren dat een mechanische of hydraulische krik een machine niet ondersteunt. Als de machine dan valt, kan dit ernstig letsel veroorzaken.
Plaats de machine altijd op kriksteunen.
-
Verwijder het gedeelte van de tandwielaandrijving dat niet met de rupsband is verbonden.

-
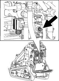
Verwijder de controleplug en controleer of het oliepeil zich onderaan de opening bevindt.

-
Als het peil te laag is, moet u als volgt vloeistof toevoegen:
-
Verwijder de rupsband; zie Verwijderen van de rupsbanden.
-
Verwijder het tweede tandwiel.
-
Verwijder de vulplug.

-
Giet tandwielolie in de aandrijfmotor tot de olie de onderkant van de controleopening bereikt.
-
Plaats de vul- en controlepluggen terug.
-
-
Herhaal stap 5 tot 7 voor de andere aandrijfmotor.
-
Start de machine en schakel de tractiebediening enkele minuten in.
-
Zet de machine uit en verwijder het sleuteltje.
-
Verwijder de controlepluggen van de beide tractiemotoren en controleer of het oliepeil zich onderaan de opening bevindt.
-
Breng de pluggen aan en draai ze vast met een torsie van 5 tot 6 N∙m.
-
Breng schroefdraadborgmiddel aan op de bouten van het onderste aandrijftandwiel en monteer het tandwiel. Draai de bouten vast met een torsie van 80 tot 99 N·m.
-
Monteer de rupsbanden indien deze verwijderd zijn; zie De rupsband plaatsen.
-
Laat de machine neer op de grond.
De tandwielkastolie van de aandrijfmotor verversen
| Onderhoudsinterval | Onderhoudsprocedure |
|---|---|
| Na de eerste 50 bedrijfsuren |
|
| Om de 500 bedrijfsuren |
|
-
Verwijder eventuele aangekoppelde werktuigen.
-
Start de motor en laat de machine 5 minuten rijden.
Note: Warme tandwielkastolie kan beter worden afgetapt.
-
Parkeer de machine op een horizontaal oppervlak en zorg er hierbij voor dat slechts 1 tandwielhelft aangrijpt op de rupsband.

-
Zet de machine uit en verwijder het sleuteltje.
-
Verwijder de rupsband; zie Verwijderen van de rupsbanden.
-
Verwijder het tweede tandwiel.
-
Plaats een opvangbak onder de aandrijfmotor.
-
Verwijder de vul- en aftapplug en laat de olie uit de tandwielkast lopen.

-
Plaats de aftapplug.
-
Verwijder de vulplug en vul de aandrijfmotor met tandwielkastolie tot de olie uit de controleopening begint te lopen; zie Specificaties voor aandrijfmotorolie.
-
Plaats de vul- en controlepluggen terug.
-
Herhaal de procedure voor de andere aandrijfmotor.
-
Start de machine en schakel de tractiebediening enkele minuten in.
-
Zet de machine uit en verwijder het sleuteltje.
-
Verwijder de controlepluggen van de beide tractiemotoren en controleer of het oliepeil zich onderaan de opening bevindt.
-
Breng de pluggen aan en draai ze vast met een torsie van 5 tot 6 N∙m.
-
Breng schroefdraadborgmiddel aan op de bouten van de onderste aandrijftandwielhelft en monteer de tandwielhelft. Draai de bouten vast met een torsie van 80 tot 99 N·m.
-
Monteer de rupsbanden; zie De rupsband plaatsen.
-
Laat de machine neer op de grond.
Onderhoud bedieningsysteem
De bedieningsorganen afstellen
De bedieningsorganen worden in de fabriek afgesteld voordat de machine wordt verzonden. Na vele bedrijfsuren moet u echter mogelijk de uitlijning van de tractiebediening, de NEUTRAALSTAND van de tractiebediening en de sporing van de tractiebediening in de stand volledig vooruit opnieuw afstellen.
Neem contact op met uw erkende servicedealer om de bedieningsorganen van uw machine af te stellen.
Onderhoud hydraulisch systeem
Veiligheid van het hydraulische systeem
-
Waarschuw onmiddellijk een arts als er hydraulische vloeistof is geïnjecteerd in de huid. Geïnjecteerde vloeistof moet binnen enkele uren operatief worden verwijderd door een arts.
-
Controleer of alle hydraulische slangen en leidingen in goede staat verkeren en alle hydraulische aansluitingen en fittings stevig vastzitten voordat u druk zet op het hydraulische systeem.
-
Houd lichaam en handen uit de buurt van kleine lekgaten of spuitmonden waaruit onder hoge druk hydraulische vloeistof ontsnapt.
-
U kunt lekken in het hydraulische systeem opsporen met behulp van karton of papier.
-
Hef alle druk in het hydraulische systeem op veilige wijze op, voordat u werkzaamheden gaat verrichten aan het hydraulische systeem.
Hydraulische druk aflaten
Om hydraulische druk af te laten terwijl de machine ingeschakeld is, moet u de hulphydrauliek uitschakelen en de laderarmen volledig laten zakken; zet de sleutelschakelaar in de stand DRUKONTLASTING VAN DE HULPHYDRAULIEK en druk de schakelaar van de hulphydrauliek naar voren en naar achteren.

Om hydraulische druk af te laten terwijl de machine uitgeschakeld is, moet u de sleutelschakelaar in de stand DRUKONTLASTING VAN DE HULPHYDRAULIEK zetten en de schakelaar van de hulphydrauliek naar voren en naar achteren drukken.
Het laderarmen omlaagbrengen zonder vermogen
-
Parkeer de machine op een horizontaal oppervlak.
-
Zet de machine uit en verwijder het sleuteltje.
-
Maak het kussen los en verwijder het achterdeksel; zie De achterste kap verwijderen.
-
Open de omloopklep.

-
Breng de armen van de lader omlaag.
-
Sluit de omloopklep.
-
Monteer de achterste kap en het kussen.
Specificaties hydraulische vloeistof
| Onderhoudsinterval | Onderhoudsprocedure |
|---|---|
| Om de 100 bedrijfsuren |
|
Capaciteit hydraulische tank: 22,7 liter
Aanbevolen hydraulische vloeistof: Toro PX Extended Life Hydraulic Fluid
Note: Een machine waarin de aanbevolen bijvulvloeistof wordt gebruikt, moet minder vaak bijgevuld worden en het filter moet minder vaak worden vervangen.
Andere hydraulische vloeistoffen: Als de Toro PX Extended Life hydraulische vloeistof niet verkrijgbaar is, kunt u een andere conventionele, petroleumgebaseerde hydraulische vloeistof gebruiken die aan de volgende materiaaleigenschappen en de industrienormen voldoet. Gebruik geen synthetische vloeistof. Vraag uw smeermiddelenleverancier naar een geschikt product.
Note: Toro aanvaardt geen enkele aansprakelijkheid voor schade die wordt veroorzaakt door gebruik van verkeerde vervangende vloeistoffen. Gebruik daarom uitsluitend producten van gerenommeerde fabrikanten die garant staan voor de door hen aanbevolen vloeistoffen.
| Materiaaleigenschappen: | ||
| Viscositeit, ASTM D445 | cSt bij 40 °C 44 tot 48 | |
| Viscositeitsindex ASTM D2270 | 140 of hoger | |
| Stolpunt, ASTM D97 | -37 °C tot -45 °C | |
| Industriespecificaties: | Eaton Vickers 694 (I-286-S, M-2950-S/35VQ25 of M-2952-S) | |
Note: Veel hydraulische vloeistoffen zijn bijna kleurloos, zodat het moeilijk is lekkages op te sporen. Er is een rode kleurstof voor de hydraulische vloeistof verkrijgbaar in flesjes van 20 ml. Eén flesje is voldoende voor 15 tot 22 l hydraulische vloeistof. U kunt deze kleurstof bestellen bij een erkende servicedealer, onderdeelnr. 44-2500.
Het peil van de hydraulische vloeistof controleren
| Onderhoudsinterval | Onderhoudsprocedure |
|---|---|
| Om de 25 bedrijfsuren |
|
Controleer het peil van de hydraulische vloeistof voordat de machine voor het eerst gestart wordt en vervolgens om de 25 bedrijfsuren.
Zie Specificaties hydraulische vloeistof.
Important: Gebruik altijd de juiste hydraulische vloeistof. Vloeistoffen voor algemeen gebruik brengen schade toe aan het hydraulische systeem.
-
Parkeer de machine op een vlakke ondergrond en laat de laderarmen zakken.
-
Schakel de machine uit, verwijder het sleuteltje en laat de machine afkoelen.
-
Controleer het glaskoepeltje nabij het platform. Als de hydraulische vloeistof minder dan de helft van het koepeltje vult, dan moet u vloeistof toevoegen. Ga daarbij als volgt te werk:

-
Verwijder de achterste kap; zie De achterste kap verwijderen.
-
Maak schoon rond de dop van de vulbuis en verwijder deze.

-
Vul hydraulische vloeistof bij tot het peil de helft van het glaskoepeltje bereikt.
-
Plaats de vuldop terug.
-
Monteer de achterste kap.
-
Hydraulisch filter vervangen
| Onderhoudsinterval | Onderhoudsprocedure |
|---|---|
| Om de 500 bedrijfsuren |
|
-
Parkeer de machine op een vlakke ondergrond en laat de laderarmen zakken.
-
Schakel de machine uit, verwijder het sleuteltje en laat de machine afkoelen.
-
Verwijder de achterste kap; zie De achterste kap verwijderen.
-
Verwijder het oude filter en gooi het weg.

-
Monteer het vervangfilter en de vuldop en draai de bout bovenaan vast tot 13 à 15,5 N∙m.
-
Neem gemorste vloeistof op.
-
Start de machine en laat deze ongeveer 2 minuten lopen om lucht uit het systeem te verwijderen.
-
Schakel de machine uit en controleer op lekkages.
-
Controleer het peil van de vloeistof in de hydraulische tank; zie Het peil van de hydraulische vloeistof controleren. Vul hydraulische vloeistof bij tot u deze in het glaskoepeltje kunt zien.
-
Monteer de achterste kap.
Hydraulische vloeistof verversen
| Onderhoudsinterval | Onderhoudsprocedure |
|---|---|
| Om de 400 bedrijfsuren |
|
| Om de 1000 bedrijfsuren |
|
-
Parkeer de machine op een vlakke ondergrond en laat de laderarmen zakken.
-
Schakel de machine uit, verwijder het sleuteltje en laat de machine afkoelen.
-
Verwijder de achterste kap; zie De achterste kap verwijderen.
-
Plaats een grote opvangbak onder de machine die de vloeistofinhoud kan bevatten die vermeld is in Specificaties hydraulische vloeistof.
-
Verwijder de aftapplug uit de onderkant van de hydraulische tank en laat alle vloeistof weglekken.

-
Plaats de aftapplug.
-
Vul de hydraulische tank met hydraulische vloeistof; zie Specificaties hydraulische vloeistof.
Note: Geef de oude vloeistof af bij een erkend recyclingcentrum.
-
Monteer de achterste kap.
Reiniging
Vuil verwijderen
| Onderhoudsinterval | Onderhoudsprocedure |
|---|---|
| Bij elk gebruik of dagelijks |
|
Waarschuwing
Het verkeerde gebruik van perslucht om de machine te reinigen kan ernstig letsel veroorzaken.
-
Draag geschikte persoonlijke beschermingsmiddelen, zoals een veiligheidsbril, gehoorbescherming en een stofmasker.
-
U mag perslucht nooit op enig deel van uw lichaam of op iemand anders richten.
-
Raadpleeg de instructies van de fabrikant van de luchtcompressor voor alle gebruiks- en veiligheidsinformatie.
-
Parkeer de machine op een horizontaal vlak, verwijder alle werktuigen, breng de armen van de lader omhoog en breng de cilindervergrendelingen aan.
-
Zet de machine uit en verwijder het sleuteltje.
-
Verwijder vuil van de machine.
Important: Het is beter om het vuil eruit te blazen dan het eruit te wassen. Als u toch water gebruikt, zorg er dan voor dat er geen water in de buurt van het elektrische en het hydraulische systeem komt. Maak de elektrische connectors schoon met perslucht; gebruik geen contactreiniger.
-
Verwijder de cilindervergrendelingen en bewaar ze. Breng de armen van de lader naar beneden.
De machine schoonmaken
Als u de machine onder hoge druk moet wassen, doe dan het volgende:
Important: Maak de machine niet schoon met water terwijl ze aan het opladen is. Zorg ervoor dat de machine droog is voordat u ze oplaadt.
-
Draag geschikte beschermende uitrusting voor de hogedrukreiniger.
-
Laat alle beveiligingen op hun plaats zitten.
-
Vermijd spuiten op elektronische onderdelen.
-
Vermijd spuiten op de randen van stickers.
-
Spuit enkel op de buitenkant van de machine. Spuit niet rechtstreeks in openingen in de machine.
-
Spuit enkel op de vuile delen van de machine.
-
Gebruik een spuitdop van 40 graden of meer. Spuitdoppen van 40 graden zijn meestal wit.
-
Hou het uiteinde van de hogedrukreiniger minstens 61 cm verwijderd van het oppervlak dat gereinigd wordt.
-
Gebruik enkel hogedrukreinigers met een druk onder 137,89 bar en een debiet onder 7,6 liter per minuut.
-
Vervang afpellende of beschadigde stickers.
-
Smeer alle smeerpunten na het schoonmaken; zie De machine smeren.


te letten, dat betekent Voorzichtig, Waarschuwing
of Gevaar – instructie voor persoonlijke veiligheid. Niet-naleving
van deze instructies kan leiden tot lichamelijk of dodelijk letsel.




















































om naar het menusysteem
van InfoCenter te gaan. U gaat naar het hoofdmenu. Raadpleeg de volgende
tabellen voor een overzicht van de opties die u hebt in de menu's:












